JP5776318B2 - 乳化分散体及びその製造方法 - Google Patents
乳化分散体及びその製造方法 Download PDFInfo
- Publication number
- JP5776318B2 JP5776318B2 JP2011107188A JP2011107188A JP5776318B2 JP 5776318 B2 JP5776318 B2 JP 5776318B2 JP 2011107188 A JP2011107188 A JP 2011107188A JP 2011107188 A JP2011107188 A JP 2011107188A JP 5776318 B2 JP5776318 B2 JP 5776318B2
- Authority
- JP
- Japan
- Prior art keywords
- water
- dispersion
- reaction
- fine particles
- plate
- Prior art date
- Legal status (The legal status is an assumption and is not a legal conclusion. Google has not performed a legal analysis and makes no representation as to the accuracy of the status listed.)
- Expired - Fee Related
Links
Images
Landscapes
- Polymerisation Methods In General (AREA)
- Graft Or Block Polymers (AREA)
Description
しかし、コロイダルシリカによって表面を覆われたりした複合エマルジョン調製のためにはコロイダルシリカとアクリルポリマーの連結のために特殊な連結コモノマーを必要としたり、乳化剤を必要としたりした。また、シリカ以外の無機コロイドとの複合分散体は殆ど例が無く、あっても安定性が悪かったりし、例えば、化粧品用途では、紫外線遮蔽性を有する酸化亜鉛微粒子の表面を樹脂で被覆して、直接人体と触れることがなく、化学的に不活性な紫外線遮蔽剤を得るような技術も提案されているが、乳化分散体としては、安定性が悪かったり、粒子が凝集したりして、均一な分散体を得ることが困難であった。
本発明における無機微粒子としては、無機コロイドの分散体に含まれる無機微粒子が好ましく用いられる。
無機コロイドの分散体としては、Li、Na、Cu、Ca、Sr、Ba、Zn、B、Al、Ga、Y、Si、Ge、Pb、P、Sb、V、Ta、W、La、Nd、Si、Ti、Zrといった金属、或いは、これらの金属酸化物、ガラス粉末、雲母、タルク、クレー、アロフェン等の非晶物質コロイドなどのコロイド分散体が挙げられる。
ここで、金属酸化物のコロイドとしては、ゾル−ゲル法によって合成された金属酸化物微粒子を分散質とするものであって、平均一次粒子径が10nm〜1μmの金属酸化物コロイドが好ましい。このような金属酸化物コロイドのうち、シリカコロイド(コロイダルシリカ)としては、日本化学工業(株)製のシリカドール(登録商標)、(株)ADEKA製のアデライト(登録商標)AT、触媒化成工業(株)製のカタロイド(登録商標)、日産化学工業(株)製のスノーテックス(登録商標)等を挙げることができる。チタンコロイドとしては、石原産業(株)製酸化チタン、テイカ(株)製酸化チタン等を挙げることができる。さらに、アルミニウムコロイドとしては、川研ファインケミカル(株)製アルミナゾル、日産化学工業(株)製のアルミナゾル等を挙げることができる。また、ジルコニアコロイドとしては日産化学工業(株)製のナノユース(登録商標)等を挙げることができる。
シランカップリング剤の例としてはビニルトリメトキシシラン、ビニルトリエトキシシラン、2−(3,4−エポキシシクロヘキシル)エチルトリメトキシシラン、3−グリシドキシプロピルメチルジメトキシシラン、3−グリシドキシプロピルトリメトキシシラン、3−グリシドキシプロピルメチルジエトキシシラン、3−グリシドキシプロピルトリエトキシシラン、p−スチリルトリメトキシシラン、3−メタクリロキシプロピルメチルジメトキシシラン、3−メタクリロキシプロピルトリメトキシシラン、3−メタクリロキシプロピルメチルジエトキシシラン、3−メタクリロキシプロピルトリエトキシシラン、3−アクリロキシプロピルトリメトキシシランなどが挙げられる。予めシランカップリング剤等との反応によりラジカル重合性単量体と反応しうる官能基を修飾することにより、無機微粒子、水溶性ラジカル開始剤を含む水媒体中において、ラジカル重合性単量体を反応率0.1〜50%まで重合反応させた後、得られた重合反応液を攪拌装置を備えた反応釜を用いて反応率95%以上まで重合反応させることにより、無機微粒子表面に修飾されたラジカル重合性単量体と反応しうる官能基とラジカル重合性単量体が反応し、無機粒子と複合化することが可能となる。
例えば、スチレン,メチルスチレン,ジメチルスチレン,トリメチルスチレン,エチルスチレン,ジエチルスチレン,トリエチルスチレン,プロピルスチレン,ブチルスチレン,ヘキシルスチレン,ヘプチルスチレン及びオクチルスチレン等のアルキルスチレン;フロロスチレン,クロルスチレン,ブロモスチレン,ジブロモスチレン,クロルメチルスチレン等のハロゲン化スチレン;ニトロスチレン,アセチルスチレン,メトキシスチレン、α−メチルスチレン,ビニルトルエン等のスチレン系不飽和単量体;
(メタ)アクリル酸、イタコン酸またはそのモノエステル、マレイン酸またはそのモノエステル、フマル酸またはそのモノエステル、イタコン酸またはそのモノエステル、クロトン酸、p−ビニル安息香酸などのカルボン酸基含有不飽和単量体およびこれらの塩;2−(メタ)アクリルアミド−2−メチルプロパンスルホン酸、ビニルスルホン酸、スチレンスルホン酸、(メタ)アリルスルホン酸、スルホエチル(メタ)アクリレート、スルホプロピル(メタ)アクリレート、α−メチルスチレンスルホン酸などのスルホン酸基含有不飽和単量体およびこれらの塩;
ジメチルアミノエチル(メタ)アクリレート、ジエチルアミノエチル(メタ)アクリレート、ビニルピロリドン、N−メチルビニルピリジウムクロライド、(メタ)アリルトリエチルアンモニウムクロライド、2−ヒドロキシ−3−(メタ)アクリロイルオキシプロピルトリメチルアンモニウムクロライド等の第3級または第4級アミノ基含有不飽和単量体;ヒドロキシエチル(メタ)アクリレート、ヒドロキシプロピル(メタ)アクリレート、ポリエチレングリコールモノ(メタ)アクリレート等の水酸基含有不飽和単量体;(メタ)アクリルアミド、N−ヒドロキシアルキル(メタ)アクリルアミド、N−アルキル(メタ)アクリルアミド、N、N−ジアルキル(メタ)アクリルアミド、ビニルラクタム類などアミド基含有不飽和単量体;
マレイン酸、フマル酸、イタコン酸等の不飽和二塩基酸のジエステル類、スチレン、p−メチルスチレン、α−メチルスチレン、p−クロロスチレン、クロルメチルスチレン、ビニルトルエン等の芳香族不飽和単量体、アクリロニトリル、メタクリロニトリル等のニトリル系不飽和単量体;ブタジエン、イソプレン等の共役ジオレフィン不飽和単量体;
ジビニルベンゼン、エチレングリコールジアクリレート、エチレングリコールジメタクリレート、ジエチレングリコールジメタクリレート、メタクリル酸アリル、フタル酸ジアリル、トリメチロールプロパントリアクリレート、グリセリンジアリルエーテル、ポリエチレングリコールジメタクリレート、ポリエチレングリコールジアクリレート等の多官能不飽和単量体;
エチレン、プロピレン、イソブチレン等のビニル系不飽和単量体;
酢酸ビニル、プロピオン酸ビニル、オクチルビニルエステル、ベオバ9、ベオバ10、ベオバ11〔ベオバ:シェルケミカルカンパニー(株)商標〕等のビニルエステル不飽和単量体;エチルビニルエーテル、プロピルビニルエーテル、ブチルビニルエーテル、シクロヘキシルビニルエーテル等のビニルエーテル不飽和単量体;エチルアリルエーテル等のアリルエーテル不飽和単量体;
塩化ビニル、臭化ビニル、塩化ビニリデン、フッ化ビニリデン、クロロトリフルオロエチレン、テトラフルオロエチレン、ヘキサフルオロプロピレン、ペンタフルオロプロピレン、パーフルオロ(プロピルビニルエーテル)、パーフルオロアルキルアクリレート、フルオロメタクリレート等のハロゲン含有不飽和単量体等;
(メタ)アクリル酸グリシジル、メタクリル酸グリシジルなどのエポキシ基含有不飽和単量体;ビニルトリクロロシラン、ビニルトリエトキシシラン、ビニルトリス(β−メトキシエトキシ)シラン、γ−メタクリロキシプロピルトリメトキシシラン等のビニルシラン系不飽和単量体;
アクロレイン、ダイアセトンアクリルアミド、ビニルメチルケトン、ビニルブチルケトン、ダイアセトンアクリレート、アセトニトリルアクリレート、アセトアセトキシエチル(メタ)アクリレート、ビニルアセトフェノン、ビニルベンゾフェノン等のカルボニル基含有不飽和単量体等が挙げられる。
本発明に用いる乳化分散体は、微小管状流路内において、無機微粒子、水溶性ラジカル開始剤を含む水媒体中において、ラジカル重合性単量体を反応率0.1〜50%まで重合反応させた後、得られた重合反応液を攪拌装置を備えた反応釜を用いて反応率95%以上まで重合反応させることにより製造することができる。
無機微粒子は予めシランカップリング剤等との反応によりラジカル重合性単量体と反応しうる官能基を修飾することにより重合途中で複合化されることになる。
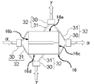
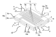
以下、本発明に用いる乳化分散体の製造方法として用いる好ましい形態の流路が設けられてなる化学反応用デバイス1、および、化学反応用デバイス2について具体的に説明する。図1は、ラジカル重合性単量体含む流体が通る微小管状流路を配置したプレートと、水溶性ラジカル開始剤を含む流体が通る微小管状流路を配置したプレート、および、熱交換が行われる流体を流す流路を設置したプレートが積層してなる反応装置の概略構成例である。図2は、図1のデバイスにて合一した混合液を流す微小管状流路を配置したプレートと熱交換が行われる流体を流す流路を設置したプレートが積層してなる化学反応用デバイス1の概略構成例である。
前記化学反応用デバイス1は、例えば前記図1において同一の長方形板状からなる第1プレート(前記図1中の5)と第2プレート(前記図1中の8)とが複数交互に積層されて構成されている。さらに必要に応じ第3プレート(前記図1中の3)が図2に示すように積層されて構成されている。各1枚の第1プレートにはラジカル重合性単量体含む流体が通る流路が設けられている。また第2プレートには無機微粒子、水溶性ラジカル開始剤を含む流体が通る流路(以下、反応流路という)が設けられている(以下、反応流路が設けられたプレートをプロセスプレートという)。また、第3プレートには温調流体用の流路(以下、温調流路という)が設けられている(以下、温調流路が設けられたプレートを温調プレートという)。
化学反応用デバイス1の平面視形状は図示のような長方形とは限定されず、正方形状、または端面15b、15c間よりも側面15d、15e間が長い長方形状としてもよいが、以下では簡単のために図示形状に即して、端面15bから端面15cに向かう方向を、化学反応用デバイス1のプロセスプレートと温調プレートの長手方向と称し、側面15dから側面15eに向かう方向を化学反応用デバイス1のプロセスプレートと温調プレートの短手方向と称することにする。
前記化学反応用デバイス2は、例えば前記図4において同一の長方形板状からなる第4プレート(前記図4中の14)、必要に応じ温調プレート(前記図4中の3)が図5に示すように積層されて構成されている。各1枚の第4プレートには化学反応用デバイス1にて混合された流体が通る流路が設けられている。
そして、図6に示すようにそれらの供給口および排出口が、化学反応用デバイス2の端面16b、16c、側面16d、16eの各領域に分散して配置され、それら領域に、ラジカル重合性単量体を含む流体と無機微粒子、水溶性ラジカル開始剤を含む流体(図5においてαが液流体を示す)、さらに必要に応じて温調流体(図5においてγが温調流体を示す)を流すためのコネクタ30とジョイント部31とからなる継手部32がそれぞれ連結されている。
化学反応用デバイス2の平面視形状は図示のような長方形とは限定されず、正方形状、または端面16b、16c間よりも側面16d、16e間が長い長方形状としてもよいが、以下では簡単のために図示形状に即して、端面16bから端面16cに向かう方向を、化学反応用デバイス2のプロセスプレートと温調プレートの長手方向と称し、側面16dから側面16eに向かう方向を化学反応用デバイス2のプロセスプレートと温調プレートの短手方向と称することにする。
本発明に用いる乳化分散体は、前記マイクロミキサーによりラジカル重合性単量体を、無機微粒子、水溶性ラジカル開始剤を含む水媒体中に微分散させた後、内部に微小管状流路が形成された反応容器中でラジカル重合性単量体の反応率0.1〜50%まで乳化重合させた後、攪拌羽根を備えた反応釜において反応率95%以上まで反応させることにより製造することができる。
本発明に用いる乳化分散体は、微小管状流路において、ラジカル重合性単量体を温度70℃〜200℃の範囲において乳化重合することにより、微粒子核の発生と安定化を促進し、均一で通常バッチ反応で得られるより小さな粒径の単分散微粒子の核形成と成長を実現することができる。
E:活性化エネルギー(J/mol)、R:気体定数(=8.314J/mol・K)
T:絶対温度(K)
反応温度は70℃〜200℃であることが好ましく、90℃〜180℃であることがさらに好ましく、110℃〜160℃であることが最も好ましい。70℃以下である場合バッチとの差がなくなり、200℃以上の高温域の場合開始剤の分解が速すぎるため、効果に差が殆ど無くなる。70℃〜200℃において上記した効果を最も得ることが可能になる。
本発明に用いる乳化分散体の製造方法として用いる反応装置としては、流路が伝熱性反応容器に設置された反応装置が好ましく、前記流路としては、微小管状であるものが加熱の迅速な制御が可能なことから好ましい。微小管状流路としては、重合反応温度までに到達する時間を短時間に調整することが可能で、かつ閉塞が起こりにくい充分な大きさであることが好ましく、流体断面積が0.1〜4.0mm2となる空隙サイズを有する流路が、重合反応温度までに到達する時間を短時間に調整することが容易で閉塞が起こりにくい充分な大きさであることから好ましい。なお、本発明において「断面」とは、流路中の流れ方向に対して垂直方向の断面を意味し、「断面積」はその断面を意味する。
本発明に用いる乳化分散体を得るための、内部に微小管状流路が形成された反応容器としては、表面に複数の溝部が形成された伝熱性プレート状構造体を積層してなる構造を有する反応装置を用いることができる。
内部に微小管状流路が形成された反応容器としては、熱交換機能を有し、且つ、微小管状流路内を液密状に流通する流体断面積が0.1〜4.0mm2となる空隙サイズを有する微小管状流路を有するものが好ましく、その他の要件については特に制限はない。このような反応容器としては、例えば、化学反応用デバイスとして用いられる部材中に前記流路(以下、単に「微小流路」ということがある)が設けられた反応容器等が挙げられる。
以下、本発明で用いる内部に微小管状流路が形成された反応容器について、具体的に説明する。図7は、混合液を流す微小管状流路を配設したプレートと、混合液との間で熱交換が行われる流体を流す流路を配設したプレートが交互に積層してなる反応容器で、微小管状流路内を液密状に流通する流体断面積が0.1〜4.0mm2となる空隙サイズを有する微小管状流路を有する反応容器(化学反応用デバイス3)の概略構成例である。
これらの官能基を有するラジカル重合性単量体としては、具体的には、アミド基、アミノ基、水酸基、テトラメチルアンモニウム基、シラノール基、エポキシ基などを有するラジカル重合性単量体が挙げられ、なかでもアミド基を有するラジカル重合性単量体が好ましい。
シラノール基を有するラジカル重合性単量体の具体例としては、γ−メタクリロキシプロピルトリメトキシシラン、γ−メタクリロキシプロピルメチルジメトキシシランをアルコキシル基が水による加水分解によりシラノール基に変化することにより用いることができる。
本実施例では流路の出口に設けられた合流部で混合するものであるマイクロミキサーとして図1に示す構造のプロセスプレート5、8をマイクロミキサーとして用いた。また、流れ方向で流路断面積が縮小された流路により混合を促進するものであるマイクロミキサーとしては図4に示す構造のプロセスプレート14をマイクロミキサーとして用いた。マイクロミキサーの構造としては、プレート8の上にプレート5を積層したマイクロミキサー積層体の上下に温調プレート3を積層した化学反応用デバイスと、プレート14の上下に温調プレート3を積層した化学反応用デバイスとを直列につないだ構造を用いた。具体的には、水溶性ラジカル開始剤を溶解した水流体をプレート5の流路20にラジカル重合性単量体プレート8の流路21に導入しそれぞれの流体をプレート出口で合一させた。その後、更に、プレート14の流路22を通過させることでラジカル重合性単量体を水溶性ラジカル開始剤を溶解した水流体中に微分散させた。プロセスプレート5,8,14、温調プレート3の材質はSUS304であり、板厚はプレート5、14が0.4mm、プレート8が1mmである。反応流路21の断面寸法は幅1.0mm×深さ0.5mm、温調流路6の断面寸法は幅1.2mm×深さ0.5mm、反応流路20の断面寸法は幅6mm×深さ0.2mm、反応流路22の断面寸法は幅広部で幅4mm×深さ0.2mm、縮流部で幅0.2mm×深さ0.2mmである。
本実施例では図7に示す構造の反応容器用デバイスを用いた。構造としては、プロセスプレート2と温調プレート3とを交互に積層した構造である。プロセスプレートには流路4が形成されており、また、温調プレートには温調流路6が形成されている。
反応容器用デバイスはドライエッチング加工により反応流路4が5本形成されたプロセスプレート2枚と同じくエッチング加工により温調流路6が5本形成された温調プレート3枚が交互に積層されている。プロセスプレート2と温調プレート3の材質はSUS304であり、板厚は1mmである。反応流路4と温調流路6の断面寸法はともに幅1.2mm×深さ0.5mmである。
金属シャーレに乳化分散液1gを精密天秤にて秤量し、イオン交換水1gにて希釈した後、110℃に設定した乾燥機において2時間乾燥を行った。乾燥後シャーレに残存した樹脂固形分と最初に秤量した乳化分散液の量から、乳化分散体中のポリマー固形分の測定を行った。
日機装株式会社製マイクロトラック粒度分布計UPA−ST150を用い測定を行った。乳化分散体と無機材料の配合液を100倍程度希釈しセルに入れ測定を行った。なお、本発明に係る単分散微粒子の粒径分布の変動係数(CV)は、測定により求められる粒子の平均粒子径(d)と粒径分布の標準偏差(SD)において、下記式で定義されるものであり、例えば、上記の粒度分布計の測定によって得られる。
<フィルム状態、フィルム強度の測定方法>
NV10%の乳化分散体と無機材料の配合液18gを基板(膜厚350μmのPETフィルムを貼り付け、その上に縦10cm、横6cmの枠を設けたガラス板)上に流し込み、2日間室温乾燥、その後140℃で1分間熱乾燥することにより、膜厚100−200μmのキャストフィルムを作成した。フィルム状態はキャストフィルムを基板から剥がし目視により透明性と、割れを判断した。割れが無い場合フィルム強度の測定を行った。フィルム強度はキャストフィルムを幅5mm、長さ7cmに加工し、株式会社島津製作所製オートグラフAGS−1kNGにより測定を行った。
NV10%の乳化分散体と無機材料の配合液3.6gを基板(膜厚350μmのPETフィルムを貼り付け、その上に縦10cm、横6cmの枠を設けたガラス板)上に流し込み、2日間室温乾燥、その後140℃で1分間熱乾燥することにより、膜厚約20μmのキャストフィルムを作成した。キャストフィルムの透明性をヘイズメーターで測定することにより測定を行った。
NV10%の乳化分散体と無機材料の配合液をコロナ処理をした膜厚50μmのPETフィルムに10番バーコーターで塗布し、80℃で5分間乾燥することにより、計算膜厚1.2μmのフィルムを作成した。酸素透過性(cc/m2・day・atm)はフィルムバリア性評価装置(DELTAPERM)を用い、温度30℃、湿度0%の条件で測定を行った。
攪拌機、反応釜内温度を測定するための温度センサーを備えた0.5リットル反応釜にコロイダルシリカ水溶液(スノーテックスC、日産化学工業(株)製)250g、イオン交換水150gを投入後、攪拌しながら、40℃に昇温を行った。温度が安定した後、3−メタクリロキシプロピルメチルジエトキシシラン(KBM−503、信越化学工業(株)製シランカップリング剤)を0.5g添加し、2時間反応を行った。反応後温度を室温に下げた後、2N硫酸水溶液でpHを7.5に調製することによりシランカップリング剤処理を行ったコロイダルシリカ水溶液を得た。
(実施例で用いたシランカップリング剤処理を行ったアルミナゾルの製造例2)
攪拌機、反応釜内温度を測定するための温度センサーを備えた0.5リットル反応釜にアルミナゾル水溶液(アルミナゾル520、日産化学工業(株)製)500g、イオン交換水300gを投入後、攪拌しながら、40℃に昇温を行った。温度が安定した後、3−メタクリロキシプロピルメチルジエトキシシランを1.0g添加することによりシランカップリング剤処理を行ったアルミナゾル水溶液を得た。
攪拌機、反応釜内温度を測定するための温度センサーを備えた0.5リットル反応釜にジルコニアゾル水溶液(ナノユースZR−30BF、日産化学工業(株)製)333g、イオン交換水500gを投入後、攪拌しながら、40℃に昇温を行った。温度が安定した後、3−メタクリロキシプロピルメチルジエトキシシランを1.0g添加することによりシランカップリング剤処理を行ったジルコニアゾル水溶液を得た。
シリンジポンプ2台、各シリンジの出口に圧力計、安全弁、フィルター、逆止弁を介し2.17mmのチューブの接続を行った。それぞれのチューブを同じく図1に示す出口に設けられた合流部で混合するものであるマイクロミキサー、図4に示す流路断面積が縮小された流路を介し、図7に示す反応容器用デバイスを10個連結した反応容器に接続した。反応容器用デバイスには150℃の熱媒を送り込み温調を行った。さらに冷却用デバイスを接続した。冷却用デバイスの温調プレートには水を送り込み冷却できるようにした。最後に、背圧弁を接続し、吐出された反応混合物を受け容器にて受け取ることができるようにした。
一方のシリンジに過硫酸ナトリウム0.075gをイオン交換水100gに溶解させた水溶液を調製し仕込んだ。もう一方のシリンジにメタクリル酸メチル(MMA)、アクリル酸ブチル(BA)(50/50)混合モノマー溶液を仕込んだ。反応混合物を流速20g/分(以下、g/minと記す。)になるように、反応容器用デバイスに導入した。吐出された液を受け容器にて受け取ることにより乳化分散液の製造を行った。このとき、管内の圧力は排圧弁にて2.0MPaに調整した。
得られた乳化分散液の分析を行ったところ粒径160nm、固形分18.6%、CV=8.0%であった。
シリンジポンプ2台、各シリンジの出口に圧力計、安全弁、フィルター、逆止弁を介し2.17mmのチューブの接続を行った。それぞれのチューブを同じく図1に示す出口に設けられた合流部で混合するものであるマイクロミキサー、図4に示す流路断面積が縮小された流路を介し、図7に示す反応容器用デバイスを10個連結した反応容器に接続した。反応容器用デバイスには150℃の熱媒を送り込み温調を行った。さらに冷却用デバイスを接続した。冷却用デバイスの温調プレートには水を送り込み冷却できるようにした。最後に、背圧弁を接続し、吐出された反応混合物を受け容器にて受け取ることができるようにした。
一方の2,2‘−アゾビス(2−メチルプロピオンアミジン)ジハイドロクロライド(和光純薬(株)製、V−50)0.1gをイオン交換水100gに溶解させた水溶液を調製し仕込んだ。もう一方のシリンジにメタクリル酸メチル(MMA)、アクリル酸ブチル(BA)(50/50)混合モノマー溶液を仕込んだ。反応混合物を流速20g/分(以下、g/minと記す。)になるように、反応容器用デバイスに導入した。吐出された液を受け容器にて受け取ることにより乳化分散液の製造を行った。このとき、管内の圧力は排圧弁にて2.0MPaに調整した。
得られた乳化分散液の分析を行ったところ粒径253nm、固形分21.0%、CV=9.4%であった。
シリンジポンプ2台、各シリンジの出口に圧力計、安全弁、フィルター、逆止弁を介し2.17mmのチューブの接続を行った。それぞれのチューブを同じく内径2.17mmのT−コネクターで接続した後、さらに図7に示す流路断面積が縮小された流路を介し、2.17mm×12mのチューブに接続した。2.17mm×12mチューブは恒温槽に浸しており、加温できるようにした。さらに2.17mm×2mチューブを接続しこれを水に浸し冷却できるようにした。最後に、背圧弁を接続し、吐出された反応混合物を受け容器にて受け取ることができるようにした。
このとき得られたシリカ比率20%の有機・無機複合組成物乳化分散体の透過型顕微鏡TEM観察結果を図11に示す。有機・無機複合組成物乳化分散体はポリマー微粒子の表面をシリカ微粒子が覆ったモロフォロジーをしていることが分かる。また、得られた乳化分散体のキャストフィルムを作成し膜強度の測定を行った。結果を図15に示す。シリカ複合分散体の場合シリカ比率を高めていくと、伸度が変化せず、強度が若干増大することがわかる。
シリンジポンプ2台、各シリンジの出口に圧力計、安全弁、フィルター、逆止弁を介し2.17mmのチューブの接続を行った。それぞれのチューブを同じく内径2.17mmのT−コネクターで接続した後、さらに図7に示す流路断面積が縮小された流路を介し、2.17mm×12mのチューブに接続した。2.17mm×12mチューブは恒温槽に浸しており、加温できるようにした。さらに2.17mm×2mチューブを接続しこれを水に浸し冷却できるようにした。最後に、背圧弁を接続し、吐出された反応混合物を受け容器にて受け取ることができるようにした。
得られた乳化分散のうち、アルミナ比率40%の有機・無機複合組成物乳化分散体の透過型顕微鏡TEM観察結果を図12に示す。有機・無機複合組成物乳化分散体はポリマー微粒子の表面をアルミナ微粒子が覆ったモロフォロジーをしていることが分かる。また、得られた乳化分散体のキャストフィルムを作成し透明性の測定を行った。結果を図16に示す。アルミナ複合分散体の場合アルミナ比率を高めていってもヘイズ値がそれ程上昇しないことがわかる。
シリンジポンプ2台、各シリンジの出口に圧力計、安全弁、フィルター、逆止弁を介し2.17mmのチューブの接続を行った。それぞれのチューブを同じく内径2.17mmのT−コネクターで接続した後、さらに図7に示す流路断面積が縮小された流路を介し、2.17mm×12mのチューブに接続した。2.17mm×12mチューブは恒温槽に浸しており、加温できるようにした。さらに2.17mm×2mチューブを接続しこれを水に浸し冷却できるようにした。最後に、背圧弁を接続し、吐出された反応混合物を受け容器にて受け取ることができるようにした。
攪拌機、反応釜内温度を測定するための温度センサー、窒素導入管を備えた0.5リットル反応釜に製造例1で調製を行ったシランカップリング剤処理を行ったコロイダルシリカ水溶液60g、イオン交換水60g、MMA15g、BA15gの混合モノマー30gを、窒素を導入しつつ仕込んだ後、攪拌しながら過塩素酸ナトリウム0.12gをイオン交換水2gに溶解させた水溶液を添加し、反応釜の内温を80℃に昇温した。昇温後20分で系内の状態が急激に増加し、凝集をおこした。
攪拌機、反応釜内温度を測定するための温度センサー、窒素導入管を備えた0.5リットル反応釜に製造例1で調製を行ったシランカップリング剤処理を行ったコロイダルシリカ水溶液60g、イオン交換水60g、ドデシル硫酸ナトリウム0.6gを添加し、攪拌することによりドデシル硫酸ナトリウムを溶解させた後MMA15g、BA15gの混合モノマー30gを、窒素を導入しつつ仕込んだ。攪拌しながら過塩素酸ナトリウム0.12gをイオン交換水2gに溶解させた水溶液を添加し、反応釜の内温を80℃に昇温した。昇温後2時間反応を行った。得られた乳化分散液の分析を行ったところ粒径66nm、固形分20.0%であった。乳化分散液をキャストすることにより膜厚100−200μmのフィルムを作成した。得られたフィルムは不透明であった。
製造例4で得られたソープフリー乳化分散体とコロイダルシリカ水溶液(スノーテックスC、日産化学工業(株)製)をブレンドすることによりシリカ比率20%、25%、33.3%のブレンド分散体を作成した。このとき得られたシリカ比率20%の有機・無機ブレンド物の透過型顕微鏡TEM観察結果を図14に示す。ブレンド分散体の場合はポリマー微粒子とシリカ微粒子が独立に存在することがわかる。また、得られた乳化分散体のキャストフィルムを作成し膜強度の測定を行った。結果を図15に示す。ブレンド分散体の場合シリカ比率を高めていくと、伸度、強度とも低下することがわかる。
製造例5で得られたソープフリー乳化分散体とアルミナゾル水溶液(アルミナゾル520、日産化学工業(株)製)をブレンドすることによりアルミナ比率20%、25%、33.3%、40%のブレンド分散体を作成した。このとき得られたブレンド分散体のキャストフィルムを作成し透明性の測定を行った。結果を図16に示す。ブレンド分散体の場合はアルミナ比率を上げるとそれに伴ってHAZE値が上昇し透明性が極端に悪くなることがわかる。
図16の結果、アルミナ複合分散体の場合アルミナ比率を高めていってもヘイズ値がそれ程上昇しないのに対し、ブレンドの場合アルミナ比率とともにヘイズ値が上昇することがわかる。
製造例4で得られたソープフリー乳化分散体とジルコニアゾル水溶液(ナノユースZR−30BF、日産化学工業(株)製)をブレンドすることによりアルミナ比率20%、25%、33.3%、40%、45のブレンド分散体を作成した。このとき得られたブレンド分散体のキャストフィルムを作成し透明性の測定を行った。結果を図17に示す。ブレンド分散体の場合はジルコニア比率を上げるとそれに伴ってHAZE値が上昇し透明性が極端に悪くなることがわかる。
図17の結果から、ジルコニア複合分散体の場合ジルコニア比率を高めていってもヘイズ値がそれ程上昇しないのに対し、ブレンドの場合ジルコニア比率とともにヘイズ値が上昇することがわかる。
ε・・・・・ラジカル重合性単量体を含有する流体
γ・・・・・温調流体
5・・・・・・第1プレート(プロセスプレート)
5a・・・・・第1プレートの面
5b・・・・・第1プレートの端面
5c・・・・・第1プレートの端面
5d・・・・・第1プレートの側面
5e・・・・・第1プレートの側面
3・・・・・・第3プレート(温調プレート)
3a・・・・・第3プレートの面
3b・・・・・第3プレートの端面
3c・・・・・第3プレートの端面
3d・・・・・第3プレートの側面
3e・・・・・第3プレートの側面
6・・・・・・断面凹溝形状の温調流路
6a・・・・・断面凹溝形状の主流路
6b・・・・・断面凹溝形状の供給側流路
6c・・・・・断面凹溝形状の排出側流路
8・・・・・・第2プレート(プロセスプレート)
8a・・・・・第2プレートの面
8b・・・・・第2プレートの端面
8c・・・・・第2プレートの端面
8d・・・・・第2プレートの側面
8e・・・・・第2プレートの側面
14・・・・・第4プレート(プロセスプレート)
14a・・・・第4プレートの面
14b・・・・第4プレートの端面
14c・・・・第4プレートの端面
14d・・・・第4プレートの側面
14e・・・・第4プレートの側面
15・・・・・化学反応用デバイス1
15b・・・・化学反応用デバイス1の端面
15c・・・・化学反応用デバイス1の端面
15d・・・・化学反応用デバイス1の側面
15e・・・・化学反応用デバイス1の側面
16・・・・・化学反応用デバイス2
16b・・・・化学反応用デバイス2の端面
16c・・・・化学反応用デバイス2の端面
16d・・・・化学反応用デバイス2の側面
16e・・・・化学反応用デバイス2の側面
1・・・・・化学反応用デバイス3
1b・・・・化学反応用デバイス3の端面
1c・・・・化学反応用デバイス3の端面
1d・・・・化学反応用デバイス3の側面
1e・・・・化学反応用デバイス3の側面
2・・・・・第1プレート(プロセスプレート)
2a・・・・第1プレートの面
2b・・・・第1プレートの端面
2c・・・・第1プレートの端面
2d・・・・第1プレートの側面
2e・・・・第1プレートの側面
3・・・・・第2プレート(温調プレート)
3a・・・・第2プレートの面
3b・・・・第2プレートの端面
3c・・・・第2プレートの端面
3d・・・・第2プレートの側面
3e・・・・第2プレートの側面
4・・・・・断面凹溝形状の流路
p0・・・・所定間隔
w0・・・・・幅
d0・・・・・深さ
L・・・・・・流路長さ
30・・・・・コネクタ
31・・・・・ジョイント部
32・・・・・継手部
40・・・・・反応容器(化学反応デバイス3)
61・・・・・化合物(A)(水溶性ラジカル開始剤を含む流体)
62・・・・・第1のタンク
63・・・・・化合物(B)(ラジカル重合性単量体を含む流体)
64・・・・・第2のタンク
65・・・・・プランジャーポンプ
66・・・・・プランジャーポンプ
67・・・・・マイクロミキサー
68・・・・・温調装置
69・・・・・冷却用熱交換器
70・・・・・温調装置
71・・・・・排圧弁
72・・・・・受け容器
73・・・・・マイクロミキサー
79・・・・・実施例で用いた樹脂の製造装置を模式的に示す概略構成図
Claims (8)
- 分散安定剤と界面活性剤とを含まないラジカル重合体と無機微粒子の複合化微粒子から構成される乳化分散体であって、前記無機微粒子が分散安定剤と界面活性剤とを含まないラジカル重合体微粒子の表面近傍に結合し複合化した構造であることを特徴とする有機・無機複合組成物乳化分散体。
- 前記無機微粒子が、シリカ、アルミナ、ジルコニア、酸化チタン、酸化亜鉛からなる群から選ばれる1種以上の無機微粒子である請求項1記載の有機・無機複合組成物乳化分散体。
- 分散安定剤と界面活性剤とを含まないラジカル重合体の粒径分布の変動係数(CV)が15%以下であり、粒径が50〜300nmである請求項1記載の有機・無機複合組成物乳化分散体。
- 請求項1記載の有機・無機複合組成物乳化分散体の製造方法であって、微小管状流路内において、無機微粒子分散体及び下記に示す水溶性有機過酸化物、水溶性アゾ化合物、レドックス系開始剤及び過硫酸塩からなる群から選ばれる水溶性ラジカル開始剤の存在下、ラジカル重合性単量体を反応率0.1〜50%まで重合反応させた後、得られた重合反応液を攪拌装置を備えた反応釜を用いて反応率95%以上まで重合反応させることを特徴とする有機・無機複合組成物乳化分散体の製造方法。
(1)水溶性有機過酸化物:t−ブチルヒドロペルオキシド、クメンヒドロペルオキシド、ジイソプロピルベンゼンヒドロペルオキシド、p−メンタンヒドロペルオキシド、2,5−ジメチルヘキサン−2,5−ジヒドロペルオキシド、1,1,3,3−テトラメチルヒドロペルオキシド
(2)水溶性アゾ化合物:2,2’−ジアミジニル−2,2’−アゾプロパン・一塩酸塩、2,2’−ジアミジニル−2,2’−アゾブタン・一塩酸塩、2,2’−ジアミジニル−2,2’−アゾペンタン・一塩酸塩、2,2’−アゾビス(2−メチル−4−ジエチルアミノ)ブチロニトリル・塩酸塩
(3)レドックス系開始剤:過酸化水素と還元剤との組み合わせ
(4)過硫酸塩:過硫酸アンモニウム、過硫酸カリウム、過硫酸ナトリウム - 前記微小管状流路がその内部にマイクロミキサーと伝熱性反応容器とを有するものである請求項4記載の有機・無機複合組成物乳化分散体の製造方法。
- 前記マイクロミキサーが、水溶性ラジカル開始剤を含む水媒体と、ラジカル重合性単量体とが混合可能な構造を有し、且つ、混合後の流体の流れ方向で流路径が縮小された構造とを有する請求項5記載の有機・無機複合組成物乳化分散体の製造方法。
- 微小管状流路における前記伝熱性反応容器が、水溶性ラジカル開始剤を含む水媒体とラジカル重合性単量体とを混合した流体を温度70℃〜200℃の範囲において重合する請求項5または6記載の有機・無機複合組成物乳化分散体の製造方法。
- 前記水溶性ラジカル開始剤を含む水媒体とラジカル重合性単量体とを混合した流体をレイノルズ数0.25〜300で連続的に供給する請求項4〜7のいずれか一項に記載の有機・無機複合組成物乳化分散体の製造方法。
Priority Applications (1)
| Application Number | Priority Date | Filing Date | Title |
|---|---|---|---|
| JP2011107188A JP5776318B2 (ja) | 2011-05-12 | 2011-05-12 | 乳化分散体及びその製造方法 |
Applications Claiming Priority (1)
| Application Number | Priority Date | Filing Date | Title |
|---|---|---|---|
| JP2011107188A JP5776318B2 (ja) | 2011-05-12 | 2011-05-12 | 乳化分散体及びその製造方法 |
Publications (3)
| Publication Number | Publication Date |
|---|---|
| JP2012236922A JP2012236922A (ja) | 2012-12-06 |
| JP2012236922A5 JP2012236922A5 (ja) | 2014-04-24 |
| JP5776318B2 true JP5776318B2 (ja) | 2015-09-09 |
Family
ID=47460120
Family Applications (1)
| Application Number | Title | Priority Date | Filing Date |
|---|---|---|---|
| JP2011107188A Expired - Fee Related JP5776318B2 (ja) | 2011-05-12 | 2011-05-12 | 乳化分散体及びその製造方法 |
Country Status (1)
| Country | Link |
|---|---|
| JP (1) | JP5776318B2 (ja) |
Family Cites Families (15)
| Publication number | Priority date | Publication date | Assignee | Title |
|---|---|---|---|---|
| JP3435209B2 (ja) * | 1994-03-29 | 2003-08-11 | 三菱重工業株式会社 | 親水化処理組成物、親水化処理方法及び親水化処理熱交換器フィン |
| JPH07265686A (ja) * | 1994-03-29 | 1995-10-17 | Kansai Shin Gijutsu Kenkyusho:Kk | 均一粒径粒子及びその製造方法 |
| JP3980721B2 (ja) * | 1997-10-23 | 2007-09-26 | 株式会社日本触媒 | 複合微粒子、その用途 |
| DE19816886C2 (de) * | 1998-04-17 | 2001-06-07 | Axiva Gmbh | Verfahren und Vorrichtung zur kontinuierlichen Herstellung von Polymerisaten |
| DE19920794A1 (de) * | 1999-05-06 | 2000-11-09 | Merck Patent Gmbh | Verfahren zur Herstellung von Perlpolymerisaten |
| JP4809993B2 (ja) * | 2001-04-27 | 2011-11-09 | 宇部日東化成株式会社 | コアシェル型微粒子およびその製造方法 |
| JP3635575B2 (ja) * | 2002-08-09 | 2005-04-06 | 俊郎 樋口 | 単分散樹脂粒子の製造方法および製造装置 |
| JP4139315B2 (ja) * | 2003-11-17 | 2008-08-27 | 株式会社日本触媒 | ポリマーエマルションの製造方法 |
| US7195820B2 (en) * | 2003-12-09 | 2007-03-27 | Arkema Inc. | Core-shell polymers having hydrophilic shells for improved shell coverage and anti-blocking properties |
| JP2005194425A (ja) * | 2004-01-08 | 2005-07-21 | Sekisui Chem Co Ltd | 微粒子の製造方法及び微粒子 |
| JP2007533798A (ja) * | 2004-04-23 | 2007-11-22 | クマチェヴァ、ユージニア | 特定の粒径、形状、形態および組成を有するポリマー粒子の製造方法 |
| JP2006257139A (ja) * | 2005-03-15 | 2006-09-28 | Osaka Prefecture | コア−シェル型高分子微粒子及びその製造方法 |
| JP5116334B2 (ja) * | 2006-06-29 | 2013-01-09 | 三洋化成工業株式会社 | 高単分散微粒子の製造方法 |
| JP2009040613A (ja) * | 2007-08-06 | 2009-02-26 | Kaneka Corp | ポリマー被覆金属酸化物超微粒子、それを含む硬化性組成物、及びその硬化物 |
| JP5594077B2 (ja) * | 2010-11-15 | 2014-09-24 | Dic株式会社 | 有機無機複合組成物乳化分散体の製造方法 |
-
2011
- 2011-05-12 JP JP2011107188A patent/JP5776318B2/ja not_active Expired - Fee Related
Also Published As
| Publication number | Publication date |
|---|---|
| JP2012236922A (ja) | 2012-12-06 |
Similar Documents
| Publication | Publication Date | Title |
|---|---|---|
| JP5623387B2 (ja) | ラジカル重合によってポリマーを連続的に製造するための方法及び装置 | |
| EP1952881B1 (en) | Process for producing heat-expandable microspheres | |
| TWI432457B (zh) | 製造聚合物粒子之裝置及製造聚合物粒子之方法 | |
| EP3164422A1 (en) | Synthesis of an acrylic polymer in flow reactor | |
| US8921444B2 (en) | Process for the modification of polymers, in particular polymer nanoparticles | |
| KR20100126372A (ko) | 관형 플로우 반응 장치, 고분자 수지 미립자의 제조 방법 | |
| JP5594077B2 (ja) | 有機無機複合組成物乳化分散体の製造方法 | |
| JP5875027B2 (ja) | 乳化分散体の製造方法 | |
| JP5776318B2 (ja) | 乳化分散体及びその製造方法 | |
| JP5541481B2 (ja) | ラジカル重合体の製造方法 | |
| JP6248385B2 (ja) | 重合体の製造方法 | |
| JP2012012550A (ja) | 乳化分散体、および乳化分散体の製造方法 | |
| US20050080209A1 (en) | Continuous production of crosslinked polymer nanoparticles | |
| CN105777978A (zh) | 一种单分散聚合物/SiO2纳米复合粒子的制备方法 | |
| JP2014172924A (ja) | 重合体微粒子の製造方法、及び分散体 | |
| CN113004457A (zh) | 一种聚合物纳米粒子及其制备方法和应用 | |
| DE102009054532A1 (de) | Verfahren zur Herstellung von Partikeln umfassend wasserlösliche Polymere | |
| JP6190316B2 (ja) | 反応器及び反応生成物の生成方法 | |
| JP2010248498A (ja) | ラジカル重合体の製造方法 | |
| Schoumacker et al. | Cerium Oxide‐Armored Composite Latex Particles by Visible Light Emulsion Photopolymerization: From Synthesis to Film Properties | |
| KR101943473B1 (ko) | 폴리머 입자의 제조방법 | |
| EP2111419A2 (de) | Radikalisches polymerisationsverfahren | |
| JP2012144674A (ja) | ラジカル重合体の製造方法 | |
| JP5297846B2 (ja) | 懸濁液の製造方法及び重合体粒子の製造方法 | |
| Donescu et al. | Formation and dissolution of silver nanoparticles |
Legal Events
| Date | Code | Title | Description |
|---|---|---|---|
| A521 | Written amendment |
Free format text: JAPANESE INTERMEDIATE CODE: A523 Effective date: 20140310 |
|
| A621 | Written request for application examination |
Free format text: JAPANESE INTERMEDIATE CODE: A621 Effective date: 20140310 |
|
| A977 | Report on retrieval |
Free format text: JAPANESE INTERMEDIATE CODE: A971007 Effective date: 20140827 |
|
| A131 | Notification of reasons for refusal |
Free format text: JAPANESE INTERMEDIATE CODE: A131 Effective date: 20140902 |
|
| A131 | Notification of reasons for refusal |
Free format text: JAPANESE INTERMEDIATE CODE: A131 Effective date: 20150324 |
|
| A521 | Written amendment |
Free format text: JAPANESE INTERMEDIATE CODE: A523 Effective date: 20150515 |
|
| TRDD | Decision of grant or rejection written | ||
| A01 | Written decision to grant a patent or to grant a registration (utility model) |
Free format text: JAPANESE INTERMEDIATE CODE: A01 Effective date: 20150609 |
|
| A61 | First payment of annual fees (during grant procedure) |
Free format text: JAPANESE INTERMEDIATE CODE: A61 Effective date: 20150622 |
|
| R150 | Certificate of patent or registration of utility model |
Ref document number: 5776318 Country of ref document: JP Free format text: JAPANESE INTERMEDIATE CODE: R150 |
|
| R250 | Receipt of annual fees |
Free format text: JAPANESE INTERMEDIATE CODE: R250 |
|
| LAPS | Cancellation because of no payment of annual fees |
