JP2012144674A - ラジカル重合体の製造方法 - Google Patents
ラジカル重合体の製造方法 Download PDFInfo
- Publication number
- JP2012144674A JP2012144674A JP2011005839A JP2011005839A JP2012144674A JP 2012144674 A JP2012144674 A JP 2012144674A JP 2011005839 A JP2011005839 A JP 2011005839A JP 2011005839 A JP2011005839 A JP 2011005839A JP 2012144674 A JP2012144674 A JP 2012144674A
- Authority
- JP
- Japan
- Prior art keywords
- liquid
- microchannel
- iii
- radical polymer
- flow path
- Prior art date
- Legal status (The legal status is an assumption and is not a legal conclusion. Google has not performed a legal analysis and makes no representation as to the accuracy of the status listed.)
- Pending
Links
Images
Landscapes
- Polymerisation Methods In General (AREA)
Abstract
【課題】マイクロリアクター(微小流路を有する反応装置)を用いたラジカル重合体の製造方法において、高い反応率で反応させる方法を提供する。
【解決手段】液体(i)と液体(ii)を、少なくとも2つの微小流路(I)と微小流路(II)とが合流して、1つの微小流路(III)を形成している構造体からなる反応装置に連続的に導入しつつ、液体(i)と液体(ii)とを液体(i)と液体(ii)とを前記流路(I)の流速(V1)と前記流路(II)の流速(V2)とが〔V1≦V2〕となるように供給して接触させ、液体(i)と液体(ii)を流路(III)に導入してラジカル重合体を製造するラジカル重合体の製造方法。
【選択図】なし
【解決手段】液体(i)と液体(ii)を、少なくとも2つの微小流路(I)と微小流路(II)とが合流して、1つの微小流路(III)を形成している構造体からなる反応装置に連続的に導入しつつ、液体(i)と液体(ii)とを液体(i)と液体(ii)とを前記流路(I)の流速(V1)と前記流路(II)の流速(V2)とが〔V1≦V2〕となるように供給して接触させ、液体(i)と液体(ii)を流路(III)に導入してラジカル重合体を製造するラジカル重合体の製造方法。
【選択図】なし
Description
本発明はマイクロリアクターを用いたラジカル重合体の製造方法に関するものである。
近年、石油エネルギーの高騰から化学製品の製造方法の抜本的な見直しが迫られてきている。その中で、マイクロリアクターに対する関心が高まってきている。マイクロリアクターは狭い空間で反応を行う装置であり大掛かりな装置の導入も不必要で、投資コスト、製造コストの削減も期待される。また、マイクロリアクターは狭い空間で反応を行うため単位体積あたりの比表面積が大きく、このため反応温度の制御が容易であるという特長を有することが知られている。
マイクロリアクターを用いたラジカル重合体の製造方法はこれまで多く開示されている(例えば、特許文献1参照)。この場合、ラジカル重合開始剤とラジカル重合性単量体とを、内径2mm以下の反応菅に導入し、均一状態で反応させるものであり、連続生産可能である利点は有するもののも、一液流で重合するため滞留時間に分布ができて反応率が高くならなかったり、高粘度の樹脂を合成する場合、流路が閉塞したりする場合があり、高い反応率にはならなかった、
従って、本発明が解決する課題は、マイクロリアクター(微小流路を有する反応装置)を用いたラジカル重合体の製造方法において、高い反応率で反応させる方法を提供することにある。
本発明者は、上記の課題を解決すべく鋭意検討の結果、マイクロリアクター中を流通する反応液と該反応液と混和しない流体を交互に流通させる(所謂、スラグ流)と、一液流を流通させるときよりも、反応が進みやすいことを見出し発明を完成させた。
即ち、本発明は、液体(i)と液体(ii)を、少なくとも2つの微小流路(I)と微小流路(II)とが合流して、1つの微小流路(III)を形成している構造体からなる反応装置に連続的に導入しつつ、液体(i)と液体(ii)とを接触させ、液体(i)と液体(ii)を流路(III)に導入してラジカル重合体を製造するラジカル重合体の製造方法であって、
前記流路(I)に流通する液体(i)がラジカル重合性開始剤とラジカル重合性単量体とを含有する液体であり、前記流路(II)に流通する液体(ii)が液体(i)と混和しない液体であり、
液体(i)と液体(ii)とを前記流路(I)の流速(V1)と前記流路(II)の流速(V2)とが〔V1≦V2〕となるように供給し、液体(i)中のラジカル重合性単量体の重合反応を行なうことを特徴とするラジカル重合体の製造方法を提供する。
前記流路(I)に流通する液体(i)がラジカル重合性開始剤とラジカル重合性単量体とを含有する液体であり、前記流路(II)に流通する液体(ii)が液体(i)と混和しない液体であり、
液体(i)と液体(ii)とを前記流路(I)の流速(V1)と前記流路(II)の流速(V2)とが〔V1≦V2〕となるように供給し、液体(i)中のラジカル重合性単量体の重合反応を行なうことを特徴とするラジカル重合体の製造方法を提供する。
本発明によれば、滞留時間の分布の影響が少なく、無理なく反応率を向上させることができる。
<ラジカル重合体の製造方法>
本発明のラジカル重合体の製造方法は、液体(i)と液体(ii)を、微小流路を有した構造体に連続的に導入しつつ、液体(i)と液体(ii)とを接触させ、液体(i)と液体(ii)を流路(III)に導入してラジカル重合体を製造する方法である。なお、液体(i)は、流路(I)を、また、液体(ii)は流路(II)をそれぞれ、液密状態で流通しているものである。
本発明のラジカル重合体の製造方法は、液体(i)と液体(ii)を、微小流路を有した構造体に連続的に導入しつつ、液体(i)と液体(ii)とを接触させ、液体(i)と液体(ii)を流路(III)に導入してラジカル重合体を製造する方法である。なお、液体(i)は、流路(I)を、また、液体(ii)は流路(II)をそれぞれ、液密状態で流通しているものである。
ここで、本発明で用いる液体(i)とは、例えば、アクリル系モノマー、スチレンなどのラジカル重合性単量体とラジカル重合性開始剤等のラジカル重合体用原料を含む媒体を指す。ここで液体(i)としては、本発明がラジカル重合体を効率的に製造させることを目的としており、この目的を達成させるためであれば微小流路構造体の流路を送液できるものであれば特に制限されず、さらにラジカル重合体を製造させることができるのであればその成分も特に制限されない。
本発明において用いられる液体(ii)とは、前記微小流路構造体により液体(i)よりラジカル重合体を製造するために用いられる液状物であり、例えば水などの媒体を指す。ここで液体(ii)としては液体(i)と同様に、微小流路構造体中の流路を送液できるものであれば特に制限されず、ポリビニルアルコールといった成分が溶解していてもよい。
さらに、液体(i)と液体(ii)とはラジカル重合体を製造するために、実質的に交じり合わないあるいは相溶性がないことが必要であり、例えば液体(i)としてスチレン等のラジカル重合体用原料を含む媒体の場合には、液体(ii)としては、実質的に溶解しない水が用いられることになる。また液体(i)としてN,N−ジメチルアクリルアミド等のラジカル重合体用原料を含む媒体の場合には、液体(ii)としては、実質的に溶解しないヘキサン等の有機溶剤が用いられることになる。
本発明においては、これら液体(i)と液体(ii)とを下記に説明するように、微小流路構造体に連続的に導入しつつ、両者が合流する合流部で接触させ、液体(i)と液体(ii)とを流路(III)に導入し、ラジカル重合体を製造する方法である。
微小流路構造体に液体(i)、液体(ii)を導入し、両者を合流させると、流量が大きいときには慣性力の作用で2層流が形成される。流量を小さくし、慣性力が小さくなると2層流よりも界面積を小さくし、より安定な状態とするため、液体(i)、液体(ii)が交互に排出される液状状態となる。これをスラグ流という。この結果排出される液体は液体の進行方向に対して液体(i)、液体(ii)が交互に排出される不均一な液状状態となる。
また、液体(i)の流量を液体(ii)に比較して少なくしていくと液体(ii)中に液体(i)の液滴が形成される。この結果排出される液体は、液体(ii)中に液体(i)の液滴が浮遊した不均一な液状状態となる。このような不均一な液状状態も本発明のスラグ流に含まれるものとする。
本発明におけるラジカル重合体を製造する方法において、流路(III)に導入される液体(i)と液体(ii)の液状状態としては、液体(i)と液体(ii)が不均一な液状状態であればよく、液体(ii)中に液体(i)の液滴が浮遊した不均一な液状状態でもよく、液体(i)、液体(ii)が交互に排出される不均一な液状状態が特に好ましい。このような不均一な液状状態を形成するためには液体(i)の流速(V1)と液体(ii)の流速(V2)とが〔V1≦V2〕となるように供給する。液体(i)、液体(ii)の粘度、表面張力等の液体の特性、各流速の大きさ、流路の大きさなどの影響で不均一な液状状態の形成条件は変わるが、液体(i)の流速(V1)と液体(ii)の流速(V2)との流速の比〔V1/V2〕が1以下、より好ましくは0.01〜1となるように供給すればよく、更に好ましくは0.1〜1となるように供給すればよい。液体(i)の流速(V1)と液体(ii)の流速(V2)との流速の比〔V1/V2〕が0.01〜0.1の場合は液体(ii)中に液体(i)の液滴が浮遊した不均一な液状状態となり易く、流速の比〔V1/V2〕が0.1〜1の場合は液体(i)、液体(ii)が交互に排出される不均一な液状状態となり易い。
この不均一な液状状態の液体(i)と液体(ii)は、流路(III)に導入される。液体(i)のラジカル重合体用原料に重合開始剤等を含んでおけば、これに光照射処理や加熱処理することで重合させてラジカル重合体を製造することができ、このような手法は公知の方法を用いることができる。
この不均一な液状状態の液体(i)と液体(ii)は、流路(III)に導入される。液体(i)のラジカル重合体用原料に重合開始剤等を含んでおけば、これに光照射処理や加熱処理することで重合させてラジカル重合体を製造することができ、このような手法は公知の方法を用いることができる。
この不均一な液状状態、液体(i)と液体(ii)がスラグ流を形成すると、液体(i)、液体(ii)の微小な液滴の中には、壁面とのせん断応力に伴う循環流が発生する。微小流路にスラグ流が形成されると、液滴体積あたりの壁面との界面積が大きいことと液滴の絶対量が小さいことから、循環流による循環速度が極めて速い。すなわちこの液滴の中を迅速に混合することが可能で、更には液滴内を迅速に均一な液状状態とすることができる。
一液流にて微小流路に流体を送液した場合、微小流路内には層流が形成され、流路断面方向に速度分布が形成される。すなわち微小流路内に流体の放物線状の滞留時間の分布が形成され、流体を均一、かつ充分な反応を起こす時間がとれない状態となり、流体の反応率を高めることが出来ない。一方スラグ流を形成すると液滴内に循環流を形成しながら、押し出されながら微小流路内を流れるため、層流の欠点であった放物線状の滞留時間分布がなく、均一かつ厳密な滞留時間をとることが出来る。
すなわちスラグ流の微小な液滴内は常に混合された均一な流体の状態を形成することができ、流体の反応率を向上させることが可能となる。以上の効果から、スラグを形成してラジカル重合体の製造を行うと、ラジカル重合体の製造に必要な重合時間を厳密に制御し、無理無く反応率を向上させることが可能となる。つまり、スラグ流にすれば、前述のような一液流で送液して、反応時間が取れないような条件であっても、反応を完結することが出来る。
また微小流路内で液滴を形成しているため、界面を通じた熱移動も迅速に行うことが可能となる。すなわちラジカル重合体の製造に必要な重合温度を厳密に制御することも可能となる。
<微小流路構造体>
スラグ流を形成する方法としては液体(i)を導入するための導入口及びそれに連通する液体(i)の導入流路と、液体(ii)を導入するための導入口及びそれに連通する液体(ii)導入流路と、液体(i)と液体(ii)を排出させるための微小流路からなる排出流路(III)及びそれに連通する排出口とを備えた構造をしたものであれば良い。
スラグ流を形成する方法としては液体(i)を導入するための導入口及びそれに連通する液体(i)の導入流路と、液体(ii)を導入するための導入口及びそれに連通する液体(ii)導入流路と、液体(i)と液体(ii)を排出させるための微小流路からなる排出流路(III)及びそれに連通する排出口とを備えた構造をしたものであれば良い。
ここで、液体(i)を導入するための導入口は液体(i)を入れるための開口部を意味し、さらに、この導入口に適当なコネクタとジョイント部とからなる継手部を備えて、液体(i)を連続的に導入する機構としてもよい。同様に液体(ii)を導入するための導入口についても、液体(ii)を入れるための開口部を意味し、さらにこの導入口に適当なコネクタとジョイント部とからなる継手部を備えて液体(ii)を連続的に導入する機構としてもよい。
液体(i)を導入するための液体(i)導入流路は導入口と連通しており、液体(i)が導入され、この液体(i)導入流路に沿って送液される。同様に、液体(ii)を導入するための液体(ii)導入流路についても、導入口と連通しており、液体(ii)が導入され、この液体(ii)導入流路に沿って送液される。
これら液体(i)導入流路、液体(ii)導入流路の、断面形状は、正方形、長方形を含む矩形、台形や平行四辺形、三角形、五角形などを含む多角形状(これらの角が丸められた形状、アスペクト比の高い、すなわちスリット形状を含む)、星形状、半円、楕円状を含む円状などであってもよい。流路の断面形状は一定である必要はない。
排出流路(III)は上記2つの導入流路及び排出口と連通しており、液体(i)と液体(ii)が合流後、この排出流路に沿って送液され、排出口より排出される。
排出流路(III)の断面形状は正方形、長方形を含む矩形、台形や平行四辺形、三角形、五角形などを含む多角形状(これらの角が丸められた形状、アスペクト比の高い、すなわちスリット形状を含む)、星形状、半円、楕円状を含む円状などであってもよい。流路の断面形状は一定である必要はない。排出口に適当なコネクタとジョイント部とからなる継手部を備えて生成されたスラグ流を連続的に排出する機構としてもよい。
本発明の製造方法で用いる流路としては液体(i)と液体(ii)を接触させ、不均一な液状状態、すなわちスラグ流を形成し、排出される流路(III)が形成できれば特に制限は無い。単なる管やパイプ形状のものを微小流路として用いても構わない。また少なくとも2つの部材を組み合わせて、部材間に形成された空間を流路とすることもできる。
微小流路が形成された部材、管やパイプの材質としては、微小流路の形成加工が可能であって、耐薬品性に優れ、適度な剛性を備えたものが望ましい。例えば、ガラス、石英、セラミック、シリコン、あるいは金属や樹脂等であっても良い。部材の加工には、化学的に、機械的に、あるいはレーザー照射やイオンエッチングなどの各種の手段によって可能とされる。
排出流路(III)の断面形状は正方形、長方形を含む矩形、台形や平行四辺形、三角形、五角形などを含む多角形状(これらの角が丸められた形状、アスペクト比の高い、すなわちスリット形状を含む)、星形状、半円、楕円状を含む円状などであってもよい。流路の断面形状は一定である必要はない。排出口に適当なコネクタとジョイント部とからなる継手部を備えて生成されたスラグ流を連続的に排出する機構としてもよい。
本発明の製造方法で用いる流路としては液体(i)と液体(ii)を接触させ、不均一な液状状態、すなわちスラグ流を形成し、排出される流路(III)が形成できれば特に制限は無い。単なる管やパイプ形状のものを微小流路として用いても構わない。また少なくとも2つの部材を組み合わせて、部材間に形成された空間を流路とすることもできる。
微小流路が形成された部材、管やパイプの材質としては、微小流路の形成加工が可能であって、耐薬品性に優れ、適度な剛性を備えたものが望ましい。例えば、ガラス、石英、セラミック、シリコン、あるいは金属や樹脂等であっても良い。部材の加工には、化学的に、機械的に、あるいはレーザー照射やイオンエッチングなどの各種の手段によって可能とされる。
さらに、本発明に用いる微小流路構造体においては、液体(i)導入流路と液体(ii)導入流路とが任意の角度で交わると共に、これら導入流路が任意の角度で排出流路(III)へと繋がる構造であることが好ましい。また流路幅及び深さの設定については目的とするスラグ流を形成可能な大きさに適宜決めればよく、各交差角度の設定についてもスラグ流を形成可能な角度に適宜決めればよい。
導入流路、排出流路の断面積としては、その流路断面積を円に換算した場合、直径4mm以下が好ましく、さらに直径3mm以下がより好ましく、直径2.5mm以下であればより一層好ましい。
微小流路(III)の断面積は、微小流路(I)の断面積と微小流路(II)の断面積の合計した断面積の10倍以下が好ましい。
スラグ流を形成する簡易的な方法としては、チューブで連結されたT字管(T字路)やY字管(Y字路)を使用する方法がある。T字管やY字管内で二つの流体、液体(i)と液体(ii)を接触させ、不均一な液状状態を形成し、スラグ流を形成するものである。
また表面に溝を有する部材(X)、表面に貫通した穴を有する部材(Y)、さらに表面に溝を有する部材(Z)を積層、接合等により固着し、微小流路構造体を形成することもできる。部材(X)に形成された溝は、部材(Y)の穴と連通している。また部材(Z)に形成された溝も、部材(Y)の穴と連通するよう積層構造を形成する。部材(X)に形成された溝を液体(i)の導入する導入流路とし、部材(Z)に形成された溝を液体(ii)の導入流路とする。部材(Y)に形成された穴を経由して液体(i)と液体(ii)を合流し、接触させ、合流した液体(i)と液体(ii)を排出させる流路(III)を形成する構造とすれば、このような積層構造体を用いてもよい。
導入流路、排出流路の断面積としては、その流路断面積を円に換算した場合、直径4mm以下が好ましく、さらに直径3mm以下がより好ましく、直径2.5mm以下であればより一層好ましい。
微小流路(III)の断面積は、微小流路(I)の断面積と微小流路(II)の断面積の合計した断面積の10倍以下が好ましい。
スラグ流を形成する簡易的な方法としては、チューブで連結されたT字管(T字路)やY字管(Y字路)を使用する方法がある。T字管やY字管内で二つの流体、液体(i)と液体(ii)を接触させ、不均一な液状状態を形成し、スラグ流を形成するものである。
また表面に溝を有する部材(X)、表面に貫通した穴を有する部材(Y)、さらに表面に溝を有する部材(Z)を積層、接合等により固着し、微小流路構造体を形成することもできる。部材(X)に形成された溝は、部材(Y)の穴と連通している。また部材(Z)に形成された溝も、部材(Y)の穴と連通するよう積層構造を形成する。部材(X)に形成された溝を液体(i)の導入する導入流路とし、部材(Z)に形成された溝を液体(ii)の導入流路とする。部材(Y)に形成された穴を経由して液体(i)と液体(ii)を合流し、接触させ、合流した液体(i)と液体(ii)を排出させる流路(III)を形成する構造とすれば、このような積層構造体を用いてもよい。
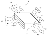
以下、本発明で用いる好ましい形態の流路が設けられてなる積層構造体1の概略構成例を図1に記載する。
<積層構造体>
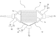
前記積層構造体1は、例えば前記図1において同一の長方形板状からなる第1プレート(前記図1中の2)と第2プレート(前記図1中の3)と第3プレート(前記図中1の4)が積層されて構成されている。第1プレートには流路が設けられている。また第2プレートには穴が設けられている。第3プレートには流路が設けられている。第1プレートの流路と第2プレートの穴は連通している。第3プレートの流路と第2プレートの穴も連通しており、第2プレートの穴を経由して第1プレートの流路と第3プレートの流路が連通している。そして、図2に示すようにそれらの供給口が積層構造体1の端面1b、側面1d、排出口が端面1cに分散して配置され、それら領域に、液体(ii)と液体(i)を流すためのコネクタ30とジョイント部31とからなる継手部32がそれぞれ連結されている。
前記積層構造体1は、例えば前記図1において同一の長方形板状からなる第1プレート(前記図1中の2)と第2プレート(前記図1中の3)と第3プレート(前記図中1の4)が積層されて構成されている。第1プレートには流路が設けられている。また第2プレートには穴が設けられている。第3プレートには流路が設けられている。第1プレートの流路と第2プレートの穴は連通している。第3プレートの流路と第2プレートの穴も連通しており、第2プレートの穴を経由して第1プレートの流路と第3プレートの流路が連通している。そして、図2に示すようにそれらの供給口が積層構造体1の端面1b、側面1d、排出口が端面1cに分散して配置され、それら領域に、液体(ii)と液体(i)を流すためのコネクタ30とジョイント部31とからなる継手部32がそれぞれ連結されている。
これらの継手部を介して、前記図1中のF1で示された液体(ii)が端面1bから供給されて、前記図1中のF2で示された液体(i)が側面1dから供給され、液体(i)と液体(ii)が接触して、液体(i)と液体(ii)が、前記図1中F3で示されたように端面1cに排出されるようになっている。
積層構造体1の平面視形状は図示のような長方形とは限定されず、正方形状、または端面1b、1c間よりも側面1d間が長い長方形状としてもよいが、以下では簡単のために図示形状に即して、端面1bから端面1cに向かう方向を、積層構造体1の第1プレート、第2プレート、第3プレートの長手方向と称し、側面1dから側面1eに向かう方向を積層構造体1の第1プレート、第2プレート、第3プレートの短手方向と称することにする。
第1プレートは、図3に示すように、一方の面2aに断面凹溝形状の流路5を第1プレートの長手方向に貫通して延し、1本配列したものである。流路5の長さをLとする。断面形状は、幅w0、深さd0とする。
流路5の断面形状は、流体の種類、流量や流路長さLに応じて適宜設定することができるが、幅w0、深さd0は、それぞれ0.1〜500〔mm〕、0.1〜5〔mm〕の範囲に設定している。なお、幅、深さの記載は図面を参照した場合である。
液体(ii)は流路5内に流され、図1ないし図3に矢印で示すように、一方の端面2b側から供給されて他方の端面2c側へ排出される。
第2プレートは、図3に示すように、第2プレートを貫通するように穴6が設けられている。穴6の直径はR0とする。穴6の形状は、流体の種類、流量や流路5の形状に応じて設定することができるが、R0は0.1〜500mmの範囲に設定している。図3に示した穴6は第2プレートの真ん中に開いている。
第3プレートは、図3に示すように、一方の面4aに断面凹溝形状の流路7を第3プレートの短手方向に延し、第2プレート、第3プレートを積層した際、流路7を穴6と連通する様1本配列したものである。流路7の長さをL‘とする。断面形状は、幅w’0、深さd‘0とする。
流路7の断面形状は、流体の種類、流量、流路長さL‘や流路5の形状、穴6の形状に応じて適宜設定することができるが、幅w’0、深さd‘0は、それぞれ0.1〜500〔mm〕、0.1〜5〔mm〕の範囲に設定している。なお、幅、深さの記載は図面を参照した場合である。
液体(i)は流路7内に流され、流路7に連通した第2プレートの穴6に流され、第1プレートの流路5に流される。液体(i)は流路5において液体(ii)と接触し、図1ないし図3に矢印で示すように、一方の側面1d側から供給されて端面1c側へ排出される。図3に示した穴6の上下に伸びた破線は、流路5、穴6、流路7が連通することを示している。
第1プレート、第2プレート、第3プレートは、図1に示すように重ねて積層され、互いに固着、積層されている。
そのため、積層構造体1の形態において、流路5は凹溝の開口面が下に積層されるプレートの上面により覆われ両端が開口する長方形断面のトンネル形状とされる。流路7は凹溝の開口面が上に積層されるプレートの下面により覆われ、片端が開口する長方形断面のトンネル形状とされる。
このような各第1プレート、第2プレート、第3プレートは、適宜の金属材料を用いることができるが、例えばステンレス鋼板にエッチング加工を施すことにより流路5、穴6、流路7などを形成し、流路面を電解研磨仕上げするなどして製作することができる。
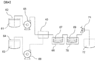
本発明の製造方法で用いる流路が設けられてなる積層構造体を有する装置としては、例えば、図4に記載のある製造装置を例示できる。具体的には、例えば、以下の積層構造体を有する製造装置を例示できる。
<積層構造体を有する製造装置>
積層構造体は図1に示す構造であり、構造としては、第1プレートと第2プレートと第3プレートが積層している。第1プレートには流路5が形成されおり、第2プレートには穴6が形成されており、また、第3プレートには流路7が形成されている。
積層構造体は図1に示す構造であり、構造としては、第1プレートと第2プレートと第3プレートが積層している。第1プレートには流路5が形成されおり、第2プレートには穴6が形成されており、また、第3プレートには流路7が形成されている。
図4に記載のある製造装置に用いられる積層構造体40はドライエッチング加工により流路5が1本形成された第1プレート1枚と同じくエッチング加工により穴6が1個形成された第2プレート1枚と同じくエッチング加工により流路7が1本形成された第3プレートが積層されている。第1プレート2と第2プレート3と第3プレート4の材質はSUS304であり、板厚は1mmである。流路5と流路7の断面寸法はともに幅1.2mm×深さ0.5mmであり、穴6の直径は1.2mmである。
図4において、液体(ii)の流体(61)を入れるタンク62(第1のタンク)の流出口とプランジャーポンプ65の流入口とが、液体(ii)の流体が通る配管を介して接続されている。また、液体(i)を入れるタンク64(第2のタンク)の流出口とプランジャーポンプ66の流入口とが、液体(i)の流体(63)が通る配管を介して接続されている。プランジャーポンプ65の流出口及びプランジャーポンプ66の流出口からは、それぞれプランジャーポンプ65またはプランジャーポンプ66を通して液体(ii)の流体又は液体(i)の流体が通る配管が伸びており、これらの配管は積層構造体40の流入口1b、1dに接続されている。
この積層構造体40で液体(i)と液体(ii)とが接触し、不均一な液状状態が形成される。この不均一な液状状態の流体は積層構造体40の流出口1cに接続された配管を通して、チューブ67へと移動する。チューブ67は温調装置を備えたオイルバス68に浸漬されている。このチューブ内を移動していくことによりラジカル重合体が重合反応する。その後、チューブ流出口に接続された配管を通してチューブ69へと移動する。チューブ69は水槽70に浸漬されている。
チューブ69の流入口へと移動した重合反応物を含有する流体はチューブ69中を移動しながら冷却され、チューブ69の流出口へと到達する。流出口に接続された配管を通してチューブ69から流体は排出され、排圧弁71を通して受け容器72へと排出される。
また、マイクロミキサーとして市販されている微小構造体でも、液体(i)と液体(ii)を接触させて不均一な液状状態、すなわちスラグ流を形成できるマイクロミキサーであれば、前記積層構造体のように用いることが可能である。例えばインターディジタルチャンネル構造を備えるマイクロリアクター、インスティチュート・フュール・マイクロテクニック・マインツ(IMM)社製シングルミキサーおよびキャタピラーミキサー;ミクログラス社製ミクログラスリアクター;CPCシステムス社製サイトス;山武社製YM−1、YM−2型ミキサー;島津GLC社製ミキシングティーおよびティー(T字コネクタ);マイクロ化学技研社製IMTチップリアクター;東レエンジニアリング開発品マイクロ・ハイ・ミキサー等が挙げられ、液体(i)と液体(ii)を接触させて不均一な液状状態、すなわちスラグ流を形成できる工夫を施せば、いずれも本発明で使用することができる。
本発明においてラジカル重合体は、マイクロリアクター中で、ラジカル重合開始剤とラジカル重合性単量体とを含有する流体と、該流体が混和しない液体からなる流体とを、交互に流通するように反応菅に導入して、反応させる方法であって、さらに詳しくは、
少なくとも2つの流路(I)と流路(II)とが合流して、1つの流路(III)を形成している反応装置であって、
前記流路(I)にラジカル重合性開始剤とラジカル重合性単量体とを含有する液体(i)と、前記液体(i)と混和しない液体(ii)とを、前記流路(I)の流速(V1)と前記流路(II)の流速(V2)とが〔V1≦V2〕となるように供給し、
且つ、前記流路(III)を液体(i)と液体(ii)が通過する間に、液体(i)中のラジカル重合性単量体の重合反応を行なうことを特徴とするラジカル重合体の製造方法である。
少なくとも2つの流路(I)と流路(II)とが合流して、1つの流路(III)を形成している反応装置であって、
前記流路(I)にラジカル重合性開始剤とラジカル重合性単量体とを含有する液体(i)と、前記液体(i)と混和しない液体(ii)とを、前記流路(I)の流速(V1)と前記流路(II)の流速(V2)とが〔V1≦V2〕となるように供給し、
且つ、前記流路(III)を液体(i)と液体(ii)が通過する間に、液体(i)中のラジカル重合性単量体の重合反応を行なうことを特徴とするラジカル重合体の製造方法である。
本発明において使用されるラジカル重合開始剤としては特に制限はなく、従来ラジカル重合において使用されている種々のラジカル重合開始剤の中から、原料のラジカル重合性単量体や重合溶媒の種類などに応じて適宣選択して用いることができる。このようなラジカル重合開始剤としては、例えば有機過酸化物、アゾ化合物、ジスルフィド化合物、レドックス系開始剤、過硫酸塩などが挙げられる。一般的には、重合溶媒が水性媒体である場合には、水溶性有機過酸化物、水溶性アゾ化合物、レドックス系開始剤、過硫酸塩などが好ましく用いられ、重合溶媒が有機溶媒である場合には、油溶性有機過酸化物及び油溶性アゾ化合物などが好ましく用いられる。
上記水溶性有機過酸化物の例としては、t−ブチルヒドロペルオキシド、クメンヒドロペルオキシド、ジイソプロピルベンゼンヒドロペルオキシド、p−メンタンヒドロペルオキシド、2,5−ジメチルヘキサン−2,5−ジヒドロペルオキシド、1,1,3,3−テトラメチルヒドロペルオキシドなどが挙げられる。また、水溶性アゾ化合物の例としては、2,2’−ジアミジニル−2,2’−アゾプロパン・一塩酸塩、2,2’−ジアミジニル−2,2’−アゾブタン・一塩酸塩、2,2’−ジアミジニル−2,2’−アゾペンタン・一塩酸塩、2,2’−アゾビス(2−メチル−4−ジエチルアミノ)ブチロニトリル・塩酸塩などが挙げられる。
レドックス系開始剤としては、例えば過酸化水素と還元剤との組合わせなどを挙げることができる。この場合、還元剤としては、二価の鉄イオンや銅イオン、亜鉛イオン、コバルトイオン、バナジウムイオンなどの金属イオン、アスコルビン酸、還元糖などが用いられる。過硫酸塩としては、例えば過硫酸アンモニウム、過硫酸カリウムなどが挙げられる。
一方、油溶性有機過酸化物の例としては、アセチルシクロヘキシルスルホニルパーオキサイド、イソブチリルパーオキサイド、ジイソプロピルパーオキシジカーボネート、ジ−2−エチルヘキシルパーオキシジカーボネート、2,4−ジクロロベンゾイルパーオキサイド、t−ブチルパーオキシビバレート、3,5,5−トリメチルヘキサノニルパーオキサイド、オクタノイルパーオキサイド、デカノイルパーオキサイド、ラウロイルパーオキサイド、ステアロイルパーオキサイド、プロピオニトリルパーオキサイド、サクシニックアシッドパーオキサイド、アセチルパーオキサイド、t−ブチルパーオキシ−2−エチルヘキサノエート、ベンゾイルパーオキサイド、パラクロロベンゾイルパーオキサイド、t−ブチルパーオキシイソブチレート、t−ブチルパーオキシマレイックアシッド、t−ブチルパーオキシラウレート、シクロヘキサノンパーオキサイド、t−ブチルパーオキシイソプロピルカーボネート、2,5−ジメチル−2,5−ジベンゾイルパーオキシヘキサン、t−ブチルパーオキシアセテート、t−ブチルパーオキシベンゾエート、ジイソブチルジパーオキシフタレート、メチルエチルケトンパーオキサイド、ジクミルパーオキサイド、2,5−ジメチル−2,5−ジt−ブチルパーオキシヘキサン、t−ブチルクミルパーオキサイド、t−ブチルヒドロパーオキサイド、ジt−ブチルパーオキサイド、ジイソプロピルベンゼンヒドロパーオキサイド、パラメンタンヒドロパーオキサイド、ピナンヒドロパーオキサイド、2,5−ジメチルヘキサン−2,5−ジヒドロパーオキサイド、クメンパーオキサイドなどが挙げられる。また、油溶性アゾ化合物の例としては、2,2’−アゾビスイソブチロニトリル、1,1’−アゾビスシクロヘキサン1−カーボニトリル、2,2’−アゾビス−4−メトキシ−2,4−ジメチルバレロニトリル、2,2’−アゾビス−2,4−ジメチルバレロニトリル、ジメチル−2,2’−アゾビス(2−メチルプロピオネート)、1,1’−アゾビス(1−アセトキシ−1−フェニルエタン)、2,2’−アゾビス(4−メトキシ−2,4−ジメチルバレロニトリル)などが挙げられる。これらの油溶性ラジカル重合開始剤は一種を単独で用いてもよく、二種以上を組み合わせて用いてもよい。
本発明においては、前記ラジカル重合開始剤の使用量は、目的とするラジカル重合体の分子量などに応じて適宜選定されるため一概に使用量を限定することはできないが、通常ラジカル重合性単量体100重量部に対し、好ましくは0.001〜20重量部、さらに好ましくは0.01〜10重量部である。
また、本発明におけるラジカル重合体の製造方法においては光重合開始剤からなるラジカル重合開始剤を使用することもできる。光重合させるための流路(III)としては、紫外光を透過し得る流路であれば用いることが可能であり、ガラス、石英、カーボンといった材質のチューブのほか、流路の一部が紫外光を透過するガラス、石英、カーボンといった材質からなる流路であってもよい。
光重合させるための光重合開始剤としては、例えば、ベンゾイン誘導体、ベンジルケタール類、α−ヒドロキシアセトフェノン類、α−アミノアセトフェノン類、アシルフォスフィンオキサイド類、o−アシルオキシム類等が挙げられる。また、光重合開始剤は、種々の製品が市販されている。具体例としては、ベンゾフェノン/アミン、ミヒラーケトン/ベンゾフェノン、チオキサントン/アミンなどの組み合わせ(商品名:イルガキュアやダロキュアなど、チバガイギー社製)等が挙げられる。
上記光重合開始剤の含有量は、任意の適切な値に設定され得る。上記光硬化性モノマー100重量部に対して、好ましくは0.1〜7重量部、さらに好ましくは1〜6重量部、特に好ましくは4〜5重量部である。
紫外光照射手段の具体例としては、超高圧水銀ランプ、フラッシュUVランプ、高圧水銀ランプ、低圧水銀ランプ、ディープUVランプ、キセノンランプ、キセノンフラッシュランプ、メタルハライドランプ、発光ダイオード等が挙げられる。
上記紫外光照射手段の設置位置は、少なくとも光重合させることが可能であれば、特に限定されない。
本発明の製造方法で使用されるラジカル重合性単量体としては、ラジカル重合性不飽和基を持つ化合物であれば特に限定されるものではないが、例えば、メチル(メタ)アクリレート、エチル(メタ)アクリレート、ブチル(メタ)アクリレート、ヘキシル(メタ)アクリレート、シクロヘキシル(メタ)アクリレート、2−エチルヘキシル(メタ)アクリレート、オクチル(メタ)アクリレート、ノニル(メタ)アクリレート、ラウリル(メタ)アクリレート、ステアリル(メタ)アクリレート等の炭素数1〜30のアルキル(メタ)アクリレート類のアクリル系不飽和単量体;
(メタ)アクリル酸、イタコン酸またはそのモノエステル、マレイン酸またはそのモノエステル、フマル酸またはそのモノエステル、イタコン酸またはそのモノエステル、クロトン酸、p−ビニル安息香酸などのカルボン酸基含有不飽和単量体およびこれらの塩;2−(メタ)アクリルアミド−2−メチルプロパンスルホン酸、ビニルスルホン酸、スチレンスルホン酸、(メタ)アリルスルホン酸、スルホエチル(メタ)アクリレート、スルホプロピル(メタ)アクリレート、α−メチルスチレンスルホン酸などのスルホン酸基含有不飽和単量体およびこれらの塩;
ジメチルアミノエチル(メタ)アクリレート、ジエチルアミノエチル(メタ)アクリレート、ビニルピロリドン、N−メチルビニルピリジウムクロライド、(メタ)アリルトリエチルアンモニウムクロライド、2−ヒドロキシ−3−(メタ)アクリロイルオキシプロピルトリメチルアンモニウムクロライド等の第3級または第4級アミノ基含有不飽和単量体;ヒドロキシエチル(メタ)アクリレート、ヒドロキシプロピル(メタ)アクリレート、ポリエチレングリコールモノ(メタ)アクリレート等の水酸基含有不飽和単量体;(メタ)アクリルアミド、N−ヒドロキシアルキル(メタ)アクリルアミド、N−アルキル(メタ)アクリルアミド、N、N−ジアルキル(メタ)アクリルアミド、ビニルラクタム類などアミド基含有不飽和単量体;
マレイン酸、フマル酸、イタコン酸等の不飽和二塩基酸のジエステル類、スチレン、p−メチルスチレン、α−メチルスチレン、p−クロロスチレン、クロルメチルスチレン、ビニルトルエン等の芳香族不飽和単量体、アクリロニトリル、メタクリロニトリル等のニトリル系不飽和単量体;ブタジエン、イソプレン等の共役ジオレフィン不飽和単量体;ジビニルベンゼン、エチレングリコールジアクリレート、エチレングリコールジメタクリレート、ジエチレングリコールジメタクリレート、メタクリル酸アリル、フタル酸ジアリル、トリメチロールプロパントリアクリレート、グリセリンジアリルエーテル、ポリエチレングリコールジメタクリレート、ポリエチレングリコールジアクリレート等の多官能不飽和単量体;エチレン、プロピレン、イソブチレン等のビニル系不飽和単量体;酢酸ビニル、プロピオン酸ビニル、オクチルビニルエステル、ベオバ9、ベオバ10、ベオバ11〔ベオバ:シェルケミカルカンパニー(株)商標〕等のビニルエステル不飽和単量体;エチルビニルエーテル、プロピルビニルエーテル、ブチルビニルエーテル、シクロヘキシルビニルエーテル等のビニルエーテル不飽和単量体;エチルアリルエーテル等のアリルエーテル不飽和単量体;塩化ビニル、臭化ビニル、塩化ビニリデン、フッ化ビニリデン、クロロトリフルオロエチレン、テトラフルオロエチレン、ヘキサフルオロプロピレン、ペンタフルオロプロピレン、パーフルオロ(プロピルビニルエーテル)、パーフルオロアルキルアクリレート、フルオロメタクリレート等のハロゲン含有不飽和単量体等;
(メタ)アクリル酸グリシジル、メタクリル酸グリシジルなどのエポキシ基含有不飽和単量体;ビニルトリクロロシラン、ビニルトリエトキシシラン、ビニルトリス(β−メトキシエトキシ)シラン、γ−メタクリロキシプロピルトリメトキシシラン等のビニルシラン系不飽和単量体;アクロレイン、ダイアセトンアクリルアミド、ビニルメチルケトン、ビニルブチルケトン、ダイアセトンアクリレート、アセトニトリルアクリレート、アセトアセトキシエチル(メタ)アクリレート、ビニルアセトフェノン、ビニルベンゾフェノン等のカルボニル基含有不飽和単量体等が挙げられる。
また、ラジカル重合単量体としてフッ素化アルキル基含有エチレン性不飽和単量体を用いることも可能である。
フッ素化アルキル基含有エチレン性不飽和単量体は、フッ素化アルキル基とエチレン性不飽和基を有する化合物であれば制限なく用いることができる。
なお、本発明に用いるフッ素化アルキル基を含有する重合性単量体において、フッ素化アルキル基とは、アルキル基中の全ての水素原子がフッ素原子に置換されたもの(パーフルオロアルキル基)と、アルキル基中の一部の水素原子がフッ素原子で置換されたもの〔例えば、−(CF2)6H等〕との総称であり、直鎖状でも分岐状であっても良い。更に、該フッ素化アルキル基中に酸素原子を含むもの〔例えば−OCF2CF2(OCF(CF3)CF2)2CF2CF3、−(OCF2CF2)8−等〕も本定義中に含めるものとする。
Rfとしては、例えば、−C4F9、−C7F15、−C8F17、−(CF2)4H、−(CF2)6CF(CF3)2、−(OCF2CF2)4OCF2CF3、−(OCF2CF(CF3))3C3F7等が挙げられる。
フッ素化アルキル基含有エチレン性不飽和単量体の具体例として以下の如きものが挙げられる。
a−1 :CH2=CHCOOCH2CH2C8F17
a−2 :CH2=C(CH3)COOCH2CH2C8F17
a−3 :CH2=CHCOOCH2CH2C12F25
a−4 :CH2=CHCOOCH2CH2C6F13
a−5 :CH2=CHCOOCH2CH2C4F9
a−6 :CH2=CFCOOCH2CH2C6F13
a−7 :CH2=CHCOOCH2CF3
a−8 :CH2=C(CH3)COOCH2CF(CF3)2
a−9 :CH2=C(CH3)COOCH2CFHCF3
a−10:CH2=CHCOOCH2(CF2)6H
a−11:CH2=CHCOOCH2CH(OH)CH2C8F17
a−12:CH2=CHCOOCH2CH2N(C3H7)SO2C8F17
a−13:CH2=CHCOOCH2CH2N(C2H5)COC7F15
a−14:CH2=CHCOOC2H4(CF(CF3)OCF2)3C2F5
a−15:CH2=CHCOOCH2(CF(CF3)OCF2)2C2F5
a−16:CH2=CHCOOCH2CH2NHSO2C4F9
a−17:CH2=CHCOOCH2CH2N(CH3)SO2C4F9
a−18:CH2=CHCOOCH2CH2N(C2H5)SO2C4F9
a−19:CH2=CHCOOCH2CH2N(C3H7)SO2C4F9
a−20:CH2=C(CH3)COOCH2CH2N(CH3)SO2C4F9
a−1 :CH2=CHCOOCH2CH2C8F17
a−2 :CH2=C(CH3)COOCH2CH2C8F17
a−3 :CH2=CHCOOCH2CH2C12F25
a−4 :CH2=CHCOOCH2CH2C6F13
a−5 :CH2=CHCOOCH2CH2C4F9
a−6 :CH2=CFCOOCH2CH2C6F13
a−7 :CH2=CHCOOCH2CF3
a−8 :CH2=C(CH3)COOCH2CF(CF3)2
a−9 :CH2=C(CH3)COOCH2CFHCF3
a−10:CH2=CHCOOCH2(CF2)6H
a−11:CH2=CHCOOCH2CH(OH)CH2C8F17
a−12:CH2=CHCOOCH2CH2N(C3H7)SO2C8F17
a−13:CH2=CHCOOCH2CH2N(C2H5)COC7F15
a−14:CH2=CHCOOC2H4(CF(CF3)OCF2)3C2F5
a−15:CH2=CHCOOCH2(CF(CF3)OCF2)2C2F5
a−16:CH2=CHCOOCH2CH2NHSO2C4F9
a−17:CH2=CHCOOCH2CH2N(CH3)SO2C4F9
a−18:CH2=CHCOOCH2CH2N(C2H5)SO2C4F9
a−19:CH2=CHCOOCH2CH2N(C3H7)SO2C4F9
a−20:CH2=C(CH3)COOCH2CH2N(CH3)SO2C4F9
本発明においては、必要に応じ重合溶媒を用いることができる。この重合溶媒は使用するラジカル重合性単量体の種類に応じて適宜選択して用いられる。有機溶媒としては、トルエン、キシレン、エチルベンゼン、テトラリン等の芳香族炭化水素系溶剤;n−ヘキサン、n−ヘプタン、ミネラルスピリット、シクロヘキサン等の脂肪族または脂環式炭化水素系溶剤;塩化メチル、臭化メチル、ヨウ化メチル、メチレンジクロライド、四塩化炭素、トリクロロエチレン、パークロロエチレンなどのハロゲン系溶剤;酢酸エチル、酢酸ブチル、プロピオン酸メチル、プロピオン酸エチル、メトキシブチルアセテート、メチルセロソルブアセテート、エチルセロソルブアセテートなどのエステル系またはエステルエーテル系溶剤;ジエチルエーテル、テトラヒドロフラン、ジオキサン、エチルセロソルブ、ブチルセロソルブ、プロピレングリコールモノメチルエーテルなどのエーテル系溶剤;アセトン、メチルエチルケトン、メチルイソブチルケトン、ジ−n−ブチルケトン、シクロヘキサノンなどのケトン系溶剤;メタノール、エタノール、n−プロパノール、イソプロパノール、n−ブタノール、イソブタノール、t−ブタノール、2−エチルヘキシルアルコール、ベンジルアルコールなどのアルコール系溶剤;ジメチルホルムアミド、ジメチルアセトアミドなどのアミド系溶剤;ジメチルスルホキシドなどのスルホキシド系溶剤、N−メチルピロリドンなどの複素環式化合物系溶剤、ならびにこれらの2種以上の混合溶剤が挙げられる。
以下本発明を実施例によって更に詳細に説明する。また、文中に「部」「%」とあるのは、重量基準を示すものである。
<収率の測定>
合成した樹脂を1g計量し、トルエン/メタノール混合液(7/3重量比)を5g加えて攪拌し、120℃の乾燥機に1時間入れ、含有する有機溶媒を除去した。有機溶媒除去後の重量から樹脂の固形分を計算した。合成に使用したラジカル重合開始剤とラジカル重合性単量体の濃度と算出された固形分の値から収率を計算した。
合成した樹脂を1g計量し、トルエン/メタノール混合液(7/3重量比)を5g加えて攪拌し、120℃の乾燥機に1時間入れ、含有する有機溶媒を除去した。有機溶媒除去後の重量から樹脂の固形分を計算した。合成に使用したラジカル重合開始剤とラジカル重合性単量体の濃度と算出された固形分の値から収率を計算した。
<残存モノマー量の測定方法>
ラジカル重合体に含まれる残存モノマー量はガスクロマトグラフ質量分析計GC−MS−QP5050A(株式会社島津製作所製)を用いて行った。ラジカル重合体をアセトン溶解し、15mg/mlの濃度に調整し測定を行った。使用したラジカル重合性単量体の各濃度を算出して合計し、ラジカル重合体に含まれる残存モノマー量とした。
ラジカル重合体に含まれる残存モノマー量はガスクロマトグラフ質量分析計GC−MS−QP5050A(株式会社島津製作所製)を用いて行った。ラジカル重合体をアセトン溶解し、15mg/mlの濃度に調整し測定を行った。使用したラジカル重合性単量体の各濃度を算出して合計し、ラジカル重合体に含まれる残存モノマー量とした。
<重量平均分子量分布の測定>
合成した樹脂の分子量分布の測定は、HLC8220(分子量測定装置、東ソー)にて測定し、標準ポリスチレン換算で重量平均分子量を計算した。
合成した樹脂の分子量分布の測定は、HLC8220(分子量測定装置、東ソー)にて測定し、標準ポリスチレン換算で重量平均分子量を計算した。
(実施例1)
シリンジポンプのシリンジの出口に圧力計、安全弁、フィルター、逆止弁を介し内径2.17mmのチューブの接続を行った。その後内径1.09mmのチューブに接続した(微小流路(I))。このように接続したシリンジポンプをもう一台作製した(微小流路(II))。それぞれのチューブをT−コネクター(ユニオンティー)で接続して合流する合流点を作製し、合流後流体が内径1.09mmのチューブに排出されるようにした。その後内径2.17mm、長さ30mのチューブに接続してチューブを延長し、恒温槽に浸し、加温できるようにした(微小流路(III))。同様に微小流路(II)も恒温槽に浸し、加温できるようにした。更にそのチューブの先に内径2.17mm、長さ1mのチューブを接続した。このチューブは水に浸して冷却できるようにした。最後に背圧弁を接続し、吐出された反応混合物を受け容器にて受け取ることができるようにした。
メタクリル酸メチル(MMA)80g、メタクリル酸ブチル(BMA)120g、トルエン100g、n−ブタノール100g、t−ブチルパーオキシ−2−エチルヘキサノエート 6gをよく混合して調製した(アクリルモノマー液1)。このアクリルモノマー液1をシリンジポンプに仕込んだ。もう一方のシリンジポンプにイオン交換水を仕込んだ。アクリルモノマー液1を流速2g/分にて微小流路(I)に導入し、イオン交換水を6g/分にて微小流路(II)に導入して、混合液の流速が8g/分となるように微小流路(III)に導入した。恒温槽の温度は110℃とした。吐出された液を受け容器に受け取ることにより、ラジカル重合体の製造を行った。このとき、管内の圧力は1.0MPaに調整した。得られたラジカル重合体の分析を行ったところ、固形分46.1%、収率90.9%、残存モノマー68655ppm、重量平均分子量(Mw)は13481であった。
シリンジポンプのシリンジの出口に圧力計、安全弁、フィルター、逆止弁を介し内径2.17mmのチューブの接続を行った。その後内径1.09mmのチューブに接続した(微小流路(I))。このように接続したシリンジポンプをもう一台作製した(微小流路(II))。それぞれのチューブをT−コネクター(ユニオンティー)で接続して合流する合流点を作製し、合流後流体が内径1.09mmのチューブに排出されるようにした。その後内径2.17mm、長さ30mのチューブに接続してチューブを延長し、恒温槽に浸し、加温できるようにした(微小流路(III))。同様に微小流路(II)も恒温槽に浸し、加温できるようにした。更にそのチューブの先に内径2.17mm、長さ1mのチューブを接続した。このチューブは水に浸して冷却できるようにした。最後に背圧弁を接続し、吐出された反応混合物を受け容器にて受け取ることができるようにした。
メタクリル酸メチル(MMA)80g、メタクリル酸ブチル(BMA)120g、トルエン100g、n−ブタノール100g、t−ブチルパーオキシ−2−エチルヘキサノエート 6gをよく混合して調製した(アクリルモノマー液1)。このアクリルモノマー液1をシリンジポンプに仕込んだ。もう一方のシリンジポンプにイオン交換水を仕込んだ。アクリルモノマー液1を流速2g/分にて微小流路(I)に導入し、イオン交換水を6g/分にて微小流路(II)に導入して、混合液の流速が8g/分となるように微小流路(III)に導入した。恒温槽の温度は110℃とした。吐出された液を受け容器に受け取ることにより、ラジカル重合体の製造を行った。このとき、管内の圧力は1.0MPaに調整した。得られたラジカル重合体の分析を行ったところ、固形分46.1%、収率90.9%、残存モノマー68655ppm、重量平均分子量(Mw)は13481であった。
(実施例2)
アクリルモノマー液1を調製し、シリンジポンプに仕込んだ。もう一方のシリンジポンプにイオン交換水を仕込んだ。アクリルモノマー液1を流速2g/分にて微小流路(I)に導入し、イオン交換水を6g/分にて微小流路(II)に導入して、混合液の流速が8g/分となるように微小流路(III)に導入した。恒温槽の温度を120℃とした他は実施例1と同様の操作によりラジカル重合体の製造を行った。
アクリルモノマー液1を調製し、シリンジポンプに仕込んだ。もう一方のシリンジポンプにイオン交換水を仕込んだ。アクリルモノマー液1を流速2g/分にて微小流路(I)に導入し、イオン交換水を6g/分にて微小流路(II)に導入して、混合液の流速が8g/分となるように微小流路(III)に導入した。恒温槽の温度を120℃とした他は実施例1と同様の操作によりラジカル重合体の製造を行った。
得られたラジカル重合体の分析を行ったところ、固形分50.7%、収率99.9%、残存モノマー73938ppm、Mw10737であった。
(実施例3)
アクリルモノマー液1を調製し、シリンジポンプに仕込んだ。もう一方のシリンジポンプにイオン交換水を仕込んだ。アクリルモノマー液1を流速2g/分にて微小流路(I)に導入し、イオン交換水を6g/分にて微小流路(II)に導入して、混合液の流速が8g/分となるように微小流路(III)に導入した。恒温槽の温度を130℃とした他は実施例1と同様の操作によりラジカル重合体の製造を行った。
アクリルモノマー液1を調製し、シリンジポンプに仕込んだ。もう一方のシリンジポンプにイオン交換水を仕込んだ。アクリルモノマー液1を流速2g/分にて微小流路(I)に導入し、イオン交換水を6g/分にて微小流路(II)に導入して、混合液の流速が8g/分となるように微小流路(III)に導入した。恒温槽の温度を130℃とした他は実施例1と同様の操作によりラジカル重合体の製造を行った。
得られたラジカル重合体の分析を行ったところ、固形分44.2%、収率87.1%、残存モノマー120545ppm、Mw9220であった。
(実施例4)
アクリルモノマー液1を調製し、シリンジポンプに仕込んだ。もう一方のシリンジポンプにイオン交換水を仕込んだ。アクリルモノマー液1を流速5g/分にて微小流路(I)に導入し、イオン交換水を15g/分にて微小流路(II)に導入して、混合液の流速が20g/分となるように微小流路(III)に導入した。恒温槽の温度を120℃とした他は実施例1と同様の操作によりラジカル重合体の製造を行った。
アクリルモノマー液1を調製し、シリンジポンプに仕込んだ。もう一方のシリンジポンプにイオン交換水を仕込んだ。アクリルモノマー液1を流速5g/分にて微小流路(I)に導入し、イオン交換水を15g/分にて微小流路(II)に導入して、混合液の流速が20g/分となるように微小流路(III)に導入した。恒温槽の温度を120℃とした他は実施例1と同様の操作によりラジカル重合体の製造を行った。
得られたラジカル重合体の分析を行ったところ、固形分46.8%、収率92.2%、残存モノマー78422ppm、Mw11218であった。
(実施例5)
MMA30g、アクリル酸ブチル(BA)170g、トルエン100g、n−ブタノール100g、t−ブチルパーオキシ−2−エチルヘキサノエート 10gをよく混合して調製した(アクリルモノマー液2)。このアクリルモノマー液2をシリンジポンプに仕込んだ。もう一方のシリンジポンプにイオン交換水を仕込んだ。アクリルモノマー液2を流速2g/分にて微小流路(I)に導入し、イオン交換水を6g/分にて微小流路(II)に導入して、混合液の流速が8g/分となるように微小流路(III)に導入した。恒温槽の温度は110℃とした。実施例1と同様の操作によりラジカル重合体の製造を行った。得られたラジカル重合体の分析を行ったところ、固形分49.9%、収率97.4%、残存モノマー589ppm、Mw18952であった。
MMA30g、アクリル酸ブチル(BA)170g、トルエン100g、n−ブタノール100g、t−ブチルパーオキシ−2−エチルヘキサノエート 10gをよく混合して調製した(アクリルモノマー液2)。このアクリルモノマー液2をシリンジポンプに仕込んだ。もう一方のシリンジポンプにイオン交換水を仕込んだ。アクリルモノマー液2を流速2g/分にて微小流路(I)に導入し、イオン交換水を6g/分にて微小流路(II)に導入して、混合液の流速が8g/分となるように微小流路(III)に導入した。恒温槽の温度は110℃とした。実施例1と同様の操作によりラジカル重合体の製造を行った。得られたラジカル重合体の分析を行ったところ、固形分49.9%、収率97.4%、残存モノマー589ppm、Mw18952であった。
(実施例6)
アクリルモノマー液2を調製し、シリンジポンプに仕込んだ。もう一方のシリンジポンプにイオン交換水を仕込んだ。アクリルモノマー液2を流速2g/分にて微小流路(I)に導入し、イオン交換水を6g/分にて微小流路(II)に導入して、混合液の流速が8g/分となるように微小流路(III)に導入した。恒温槽の温度を120℃とした他は実施例1と同様の操作によりラジカル重合体の製造を行った。
アクリルモノマー液2を調製し、シリンジポンプに仕込んだ。もう一方のシリンジポンプにイオン交換水を仕込んだ。アクリルモノマー液2を流速2g/分にて微小流路(I)に導入し、イオン交換水を6g/分にて微小流路(II)に導入して、混合液の流速が8g/分となるように微小流路(III)に導入した。恒温槽の温度を120℃とした他は実施例1と同様の操作によりラジカル重合体の製造を行った。
得られたラジカル重合体の分析を行ったところ、固形分49.9%、収率97.4%、残存モノマー241ppm、Mw14406であった。
(実施例7)
アクリルモノマー液2を調製し、シリンジポンプに仕込んだ。もう一方のシリンジポンプにイオン交換水を仕込んだ。アクリルモノマー液2を流速2g/分にて微小流路(I)導入し、イオン交換水を6g/分にて微小流路(II)に導入して、混合液の流速が8g/分となるように微小流路(III)に導入した。恒温槽の温度を130℃とした他は実施例1と同様の操作によりラジカル重合体の製造を行った。
アクリルモノマー液2を調製し、シリンジポンプに仕込んだ。もう一方のシリンジポンプにイオン交換水を仕込んだ。アクリルモノマー液2を流速2g/分にて微小流路(I)導入し、イオン交換水を6g/分にて微小流路(II)に導入して、混合液の流速が8g/分となるように微小流路(III)に導入した。恒温槽の温度を130℃とした他は実施例1と同様の操作によりラジカル重合体の製造を行った。
得られたラジカル重合体の分析を行ったところ、固形分49.9%、収率97.3%、残存モノマー854ppm、Mw13567であった。
(実施例8)
アクリルモノマー液1を調製し、シリンジポンプに仕込んだ。もう一方のシリンジポンプにイオン交換水を仕込んだ。アクリルモノマー液1を流速2g/分にて微小流路(I)に導入し、イオン交換水を6g/分にて微小流路(II)に導入して、混合液の流速が8g/分となるように微小流路(III)に導入した。微小流路(II)は恒温槽から取り出し、加温しなかった。微小流路(III)の内径1.09mmのチューブも恒温槽から取り出し、内径2.17mm、長さ30mのチューブのみ恒温槽に浸した。恒温槽の温度を120℃とした他は実施例1と同様の操作によりラジカル重合体の製造を行った。
アクリルモノマー液1を調製し、シリンジポンプに仕込んだ。もう一方のシリンジポンプにイオン交換水を仕込んだ。アクリルモノマー液1を流速2g/分にて微小流路(I)に導入し、イオン交換水を6g/分にて微小流路(II)に導入して、混合液の流速が8g/分となるように微小流路(III)に導入した。微小流路(II)は恒温槽から取り出し、加温しなかった。微小流路(III)の内径1.09mmのチューブも恒温槽から取り出し、内径2.17mm、長さ30mのチューブのみ恒温槽に浸した。恒温槽の温度を120℃とした他は実施例1と同様の操作によりラジカル重合体の製造を行った。
得られたラジカル重合体の分析を行ったところ、固形分50.6%、収率99.7%、残存モノマー59437ppm、Mw10285であった。
(実施例9)
アクリルモノマー液1を調製し、シリンジポンプに仕込んだ。もう一方のシリンジポンプにイオン交換水を仕込んだ。アクリルモノマー液1を流速2g/分にて微小流路(I)に導入し、イオン交換水を6g/分にて微小流路(II)に導入して、混合液の流速が8g/分となるように微小流路(III)に導入した。恒温槽の温度を130℃とした他は実施例8と同様の操作によりラジカル重合体の製造を行った。
アクリルモノマー液1を調製し、シリンジポンプに仕込んだ。もう一方のシリンジポンプにイオン交換水を仕込んだ。アクリルモノマー液1を流速2g/分にて微小流路(I)に導入し、イオン交換水を6g/分にて微小流路(II)に導入して、混合液の流速が8g/分となるように微小流路(III)に導入した。恒温槽の温度を130℃とした他は実施例8と同様の操作によりラジカル重合体の製造を行った。
得られたラジカル重合体の分析を行ったところ、固形分45.7%、収率90.0%、残存モノマー80209ppm、Mw10171であった。
(実施例10)
微小流路(I)、微小流路(II)を内径2.17mmのチューブに変更し、それぞれのチューブをT−コネクター(ユニオンティー)で接続して合流する合流点を作製した。合流後の流体が通過する微小流路(III)のチューブは、内径2.17mm、長さ30mのチューブに変更した。この微小流路(III)のチューブのみ恒温槽に浸し、加温できるようにした。アクリルモノマー液1を調製し、シリンジポンプに仕込んだ。もう一方のシリンジポンプにイオン交換水を仕込んだ。アクリルモノマー液1を流速1g/分にて微小流路(I)に導入し、イオン交換水を7g/分にて微小流路(II)に導入して、混合液の流速が8g/分となるように微小流路(III)に導入した。恒温槽の温度を110℃とした他は実施例8と同様の操作によりラジカル重合体の製造を行った。
微小流路(I)、微小流路(II)を内径2.17mmのチューブに変更し、それぞれのチューブをT−コネクター(ユニオンティー)で接続して合流する合流点を作製した。合流後の流体が通過する微小流路(III)のチューブは、内径2.17mm、長さ30mのチューブに変更した。この微小流路(III)のチューブのみ恒温槽に浸し、加温できるようにした。アクリルモノマー液1を調製し、シリンジポンプに仕込んだ。もう一方のシリンジポンプにイオン交換水を仕込んだ。アクリルモノマー液1を流速1g/分にて微小流路(I)に導入し、イオン交換水を7g/分にて微小流路(II)に導入して、混合液の流速が8g/分となるように微小流路(III)に導入した。恒温槽の温度を110℃とした他は実施例8と同様の操作によりラジカル重合体の製造を行った。
得られたラジカル重合体の分析を行ったところ、固形分48.4%、収率95.4%、残存モノマー56437ppm、Mw12747であった。
(実施例11)
アクリルモノマー液1を調製し、シリンジポンプに仕込んだ。もう一方のシリンジポンプにイオン交換水を仕込んだ。アクリルモノマー液1を流速3g/分にて微小流路(I)に導入し、イオン交換水を5g/分にて微小流路(II)に導入して、混合液の流速が8g/分となるように微小流路(III)に導入した。他は実施例10と同様の操作によりラジカル重合体の製造を行った。
アクリルモノマー液1を調製し、シリンジポンプに仕込んだ。もう一方のシリンジポンプにイオン交換水を仕込んだ。アクリルモノマー液1を流速3g/分にて微小流路(I)に導入し、イオン交換水を5g/分にて微小流路(II)に導入して、混合液の流速が8g/分となるように微小流路(III)に導入した。他は実施例10と同様の操作によりラジカル重合体の製造を行った。
得られたラジカル重合体の分析を行ったところ、固形分48.0%、収率94.6%、残存モノマー85231ppm、Mw13437であった。
(実施例12)
アクリルモノマー液1を調製し、シリンジポンプに仕込んだ。もう一方のシリンジポンプにイオン交換水を仕込んだ。アクリルモノマー液1を流速2g/分にて微小流路(I)に導入し、イオン交換水を6g/分にて微小流路(II)に導入して、混合液の流速が8g/分となるように微小流路(III)に導入した。恒温槽の温度を120℃とした他は実施例10と同様の操作によりラジカル重合体の製造を行った。
アクリルモノマー液1を調製し、シリンジポンプに仕込んだ。もう一方のシリンジポンプにイオン交換水を仕込んだ。アクリルモノマー液1を流速2g/分にて微小流路(I)に導入し、イオン交換水を6g/分にて微小流路(II)に導入して、混合液の流速が8g/分となるように微小流路(III)に導入した。恒温槽の温度を120℃とした他は実施例10と同様の操作によりラジカル重合体の製造を行った。
得られたラジカル重合体の分析を行ったところ、固形分46.4%、収率91.5%、残存モノマー73849ppm、Mw9800であった。
(実施例13)
アクリルモノマー液1を調製し、シリンジポンプに仕込んだ。もう一方のシリンジポンプにイオン交換水を仕込んだ。アクリルモノマー液1を流速3g/分にて微小流路(I)に導入し、イオン交換水を5g/分にて微小流路(II)に導入して、混合液の流速が8g/分となるように微小流路(III)に導入した。恒温槽の温度を120℃とした他は実施例10と同様の操作によりラジカル重合体の製造を行った。
アクリルモノマー液1を調製し、シリンジポンプに仕込んだ。もう一方のシリンジポンプにイオン交換水を仕込んだ。アクリルモノマー液1を流速3g/分にて微小流路(I)に導入し、イオン交換水を5g/分にて微小流路(II)に導入して、混合液の流速が8g/分となるように微小流路(III)に導入した。恒温槽の温度を120℃とした他は実施例10と同様の操作によりラジカル重合体の製造を行った。
得られたラジカル重合体の分析を行ったところ、固形分43.2%、収率85.1%、残存モノマー82641ppm、Mw9275であった。
(実施例14)
アクリルモノマー液2を調製し、シリンジポンプに仕込んだ。もう一方のシリンジポンプにイオン交換水を仕込んだ。アクリルモノマー液2を流速2g/分にて微小流路(I)に導入し、イオン交換水を6g/分にて微小流路(II)に導入して、混合液の流速が8g/分となるように微小流路(III)に導入した。恒温槽の温度を120℃とした他は実施例8と同様の操作によりラジカル重合体の製造を行った。
アクリルモノマー液2を調製し、シリンジポンプに仕込んだ。もう一方のシリンジポンプにイオン交換水を仕込んだ。アクリルモノマー液2を流速2g/分にて微小流路(I)に導入し、イオン交換水を6g/分にて微小流路(II)に導入して、混合液の流速が8g/分となるように微小流路(III)に導入した。恒温槽の温度を120℃とした他は実施例8と同様の操作によりラジカル重合体の製造を行った。
得られたラジカル重合体の分析を行ったところ、固形分49.8%、収率97.3%、残存モノマー1126ppm、Mw15823であった。
(実施例15)
アクリルモノマー液2を調製し、シリンジポンプに仕込んだ。もう一方のシリンジポンプにイオン交換水を仕込んだ。アクリルモノマー液2を流速2g/分にて微小流路(I)に導入し、イオン交換水を6g/分にて微小流路(II)に導入して、混合液の流速が8g/分となるように微小流路(III)に導入した。恒温槽の温度を130℃とした他は実施例8と同様の操作によりラジカル重合体の製造を行った。
アクリルモノマー液2を調製し、シリンジポンプに仕込んだ。もう一方のシリンジポンプにイオン交換水を仕込んだ。アクリルモノマー液2を流速2g/分にて微小流路(I)に導入し、イオン交換水を6g/分にて微小流路(II)に導入して、混合液の流速が8g/分となるように微小流路(III)に導入した。恒温槽の温度を130℃とした他は実施例8と同様の操作によりラジカル重合体の製造を行った。
得られたラジカル重合体の分析を行ったところ、固形分49.9%、収率97.3%、残存モノマー854ppm、Mw13567であった。
(実施例16)
メチルイソブチルケトン240g、パーフロオロ(C6)アルキルエチルアクリレート30g、ポリプロピレングリコールモノメタクリレート70g、t−ブチルパーオキシ−2−エチルヘキサノエート8gをよく混合して調製した(アクリルモノマー液3)。このアクリルモノマー液3をシリンジポンプに仕込んだ。もう一方のシリンジポンプにイオン交換水を仕込んだ。アクリルモノマー液3を流速2g/分にて微小流路(I)に導入し、イオン交換水を6g/分にて微小流路(II)に導入して、混合液の流速が8g/分となるように微小流路(III)に導入した。恒温槽の温度は120℃とした。実施例1と同様の操作によりラジカル重合体の製造を行った。得られたラジカル重合体の分析を行ったところ、固形分29.7%、収率95.7%、残存モノマー1259ppm、Mw6488であった。
メチルイソブチルケトン240g、パーフロオロ(C6)アルキルエチルアクリレート30g、ポリプロピレングリコールモノメタクリレート70g、t−ブチルパーオキシ−2−エチルヘキサノエート8gをよく混合して調製した(アクリルモノマー液3)。このアクリルモノマー液3をシリンジポンプに仕込んだ。もう一方のシリンジポンプにイオン交換水を仕込んだ。アクリルモノマー液3を流速2g/分にて微小流路(I)に導入し、イオン交換水を6g/分にて微小流路(II)に導入して、混合液の流速が8g/分となるように微小流路(III)に導入した。恒温槽の温度は120℃とした。実施例1と同様の操作によりラジカル重合体の製造を行った。得られたラジカル重合体の分析を行ったところ、固形分29.7%、収率95.7%、残存モノマー1259ppm、Mw6488であった。
(実施例17)
メチルイソブチルケトン180g、パーフロオロ(C6)アルキルエチルアクリレート50g、ポリプロピレングリコールモノメタクリレート110g、t−ブチルパーオキシ−2−エチルヘキサノエート12gをよく混合して調製した(アクリルモノマー液4)。このアクリルモノマー液4をシリンジポンプに仕込んだ。もう一方のシリンジポンプにイオン交換水を仕込んだ。アクリルモノマー液4を流速2g/分にて微小流路(I)に導入し、イオン交換水を6g/分にて微小流路(II)に導入して、混合液の流速が8g/分となるように微小流路(III)に導入した。恒温槽の温度は130℃とした。実施例1と同様の操作によりラジカル重合体の製造を行った。得られたラジカル重合体の分析を行ったところ、固形分44.0%、収率90.1%、残存モノマー6023ppm、Mw6655であった。
メチルイソブチルケトン180g、パーフロオロ(C6)アルキルエチルアクリレート50g、ポリプロピレングリコールモノメタクリレート110g、t−ブチルパーオキシ−2−エチルヘキサノエート12gをよく混合して調製した(アクリルモノマー液4)。このアクリルモノマー液4をシリンジポンプに仕込んだ。もう一方のシリンジポンプにイオン交換水を仕込んだ。アクリルモノマー液4を流速2g/分にて微小流路(I)に導入し、イオン交換水を6g/分にて微小流路(II)に導入して、混合液の流速が8g/分となるように微小流路(III)に導入した。恒温槽の温度は130℃とした。実施例1と同様の操作によりラジカル重合体の製造を行った。得られたラジカル重合体の分析を行ったところ、固形分44.0%、収率90.1%、残存モノマー6023ppm、Mw6655であった。
(実施例18)
アクリルモノマー液1を調製し、シリンジポンプに仕込んだ。もう一方のシリンジポンプにイオン交換水を仕込んだ。アクリルモノマー液1を流速2g/分にて微小流路(I)に導入し、イオン交換水を6g/分にて微小流路(II)に導入して、図1に示す積層構造体に導入した。積層構造体からの排出液の流速が8g/分となるようにし、微小流路(III)の内径2.17mm、長さ30mのチューブに導入した。恒温槽の温度を120℃とした他は実施例1と同様の操作によりラジカル重合体の製造を行った。
アクリルモノマー液1を調製し、シリンジポンプに仕込んだ。もう一方のシリンジポンプにイオン交換水を仕込んだ。アクリルモノマー液1を流速2g/分にて微小流路(I)に導入し、イオン交換水を6g/分にて微小流路(II)に導入して、図1に示す積層構造体に導入した。積層構造体からの排出液の流速が8g/分となるようにし、微小流路(III)の内径2.17mm、長さ30mのチューブに導入した。恒温槽の温度を120℃とした他は実施例1と同様の操作によりラジカル重合体の製造を行った。
得られたラジカル重合体の分析を行ったところ、固形分50.5%、収率99.5%、残存モノマー75422ppm、Mw10811であった。
(比較例1)
シリンジポンプのシリンジの出口に圧力計、安全弁、フィルター、逆止弁を介し内径2.17mmのチューブの接続を行った。その後内径1.09mmのチューブに接続した(微小流路(I))。このチューブをストレート型コネクター(ユニオン)に接続し、内径1.09mmのチューブに排出されるようにした。その後内径2.17mm、長さ30mのチューブに接続した(微小流路(III))。この微小流路(III)のチューブは恒温槽に浸し、加温できるようにした。更に内径2.17mm、長さ1mのチューブを接続した。このチューブは水に浸して冷却できるようにした。最後に背圧弁を接続し、吐出された反応混合物を受け容器にて受け取ることができるようにした。
アクリルモノマー液1を調製し、このアクリルモノマー液1をシリンジポンプに仕込んだ。アクリルモノマー液1を流速8g/分にて微小流路(I)に導入した。恒温槽の温度は110℃とした。吐出された液を受け容器に受け取ることにより、ラジカル重合体の製造を行った。このとき、管内の圧力は1.0MPaに調整した。得られたラジカル重合体の分析を行ったところ、固形分41.1%、収率81.0%、残存モノマー98768ppm、Mw13974であった。
シリンジポンプのシリンジの出口に圧力計、安全弁、フィルター、逆止弁を介し内径2.17mmのチューブの接続を行った。その後内径1.09mmのチューブに接続した(微小流路(I))。このチューブをストレート型コネクター(ユニオン)に接続し、内径1.09mmのチューブに排出されるようにした。その後内径2.17mm、長さ30mのチューブに接続した(微小流路(III))。この微小流路(III)のチューブは恒温槽に浸し、加温できるようにした。更に内径2.17mm、長さ1mのチューブを接続した。このチューブは水に浸して冷却できるようにした。最後に背圧弁を接続し、吐出された反応混合物を受け容器にて受け取ることができるようにした。
アクリルモノマー液1を調製し、このアクリルモノマー液1をシリンジポンプに仕込んだ。アクリルモノマー液1を流速8g/分にて微小流路(I)に導入した。恒温槽の温度は110℃とした。吐出された液を受け容器に受け取ることにより、ラジカル重合体の製造を行った。このとき、管内の圧力は1.0MPaに調整した。得られたラジカル重合体の分析を行ったところ、固形分41.1%、収率81.0%、残存モノマー98768ppm、Mw13974であった。
(比較例2)
アクリルモノマー液1を調製し、このアクリルモノマー液1をシリンジポンプに仕込んだ。アクリルモノマー液1を流速8g/分にて微小流路(I)に導入した。恒温槽の温度は120℃とした他は比較例1と同様の操作によりラジカル重合体を製造した。
アクリルモノマー液1を調製し、このアクリルモノマー液1をシリンジポンプに仕込んだ。アクリルモノマー液1を流速8g/分にて微小流路(I)に導入した。恒温槽の温度は120℃とした他は比較例1と同様の操作によりラジカル重合体を製造した。
得られたラジカル重合体の分析を行ったところ、固形分41.7%、収率82.2%、残存モノマー90920ppm、Mw9995であった。
(比較例3)
アクリルモノマー液1を調製し、このアクリルモノマー液1をシリンジポンプに仕込んだ。アクリルモノマー液1を流速8g/分にて微小流路(I)に導入した。恒温槽の温度は130℃とした他は比較例1と同様の操作によりラジカル重合体を製造した。
アクリルモノマー液1を調製し、このアクリルモノマー液1をシリンジポンプに仕込んだ。アクリルモノマー液1を流速8g/分にて微小流路(I)に導入した。恒温槽の温度は130℃とした他は比較例1と同様の操作によりラジカル重合体を製造した。
得られたラジカル重合体の分析を行ったところ、固形分37.8%、収率74.5%、残存モノマー131073ppm、Mw9394であった。
(比較例4)
アクリルモノマー液1を調製し、このアクリルモノマー液1をシリンジポンプに仕込んだ。アクリルモノマー液1を流速20g/分にて微小流路(I)に導入した。恒温槽の温度は120℃とした他は比較例1と同様の操作によりラジカル重合体を製造した。
アクリルモノマー液1を調製し、このアクリルモノマー液1をシリンジポンプに仕込んだ。アクリルモノマー液1を流速20g/分にて微小流路(I)に導入した。恒温槽の温度は120℃とした他は比較例1と同様の操作によりラジカル重合体を製造した。
得られたラジカル重合体の分析を行ったところ、固形分35.6%、収率70.2%、残存モノマー140462ppm、Mw9964であった。
(比較例5)
アクリルモノマー液2を調製し、このアクリルモノマー液2をシリンジポンプに仕込んだ。アクリルモノマー液2を流速8g/分にて微小流路(I)に導入した。恒温槽の温度は120℃とした他は比較例1と同様の操作によりラジカル重合体を製造した。
アクリルモノマー液2を調製し、このアクリルモノマー液2をシリンジポンプに仕込んだ。アクリルモノマー液2を流速8g/分にて微小流路(I)に導入した。恒温槽の温度は120℃とした他は比較例1と同様の操作によりラジカル重合体を製造した。
得られたラジカル重合体の分析を行ったところ、固形分48.4%、収率94.5%、残存モノマー16272ppm、Mw8756であった。
(比較例6)
アクリルモノマー液1を調製し、このアクリルモノマー1をシリンジポンプに仕込んだ。アクリルモノマー液1を流速8g/分にて微小流路(I)に導入した。微小流路(III)の流路の内径1.09mmのチューブは恒温槽から取り出し、加温しなかった。その後の内径2.17mm、長さ30mのチューブを恒温槽に浸した。恒温槽の温度は130℃とした他は比較例1と同様の操作によりラジカル重合体を製造した。
アクリルモノマー液1を調製し、このアクリルモノマー1をシリンジポンプに仕込んだ。アクリルモノマー液1を流速8g/分にて微小流路(I)に導入した。微小流路(III)の流路の内径1.09mmのチューブは恒温槽から取り出し、加温しなかった。その後の内径2.17mm、長さ30mのチューブを恒温槽に浸した。恒温槽の温度は130℃とした他は比較例1と同様の操作によりラジカル重合体を製造した。
得られたラジカル重合体の分析を行ったところ、固形分38.2%、収率75.3%、残存モノマー100871ppm、Mw8949であった。
(比較例7)
アクリルモノマー液2を調製し、このアクリルモノマー液2をシリンジポンプに仕込んだ。アクリルモノマー液2を流速8g/分にて微小流路(I)に導入した。恒温槽の温度は130℃とした他は比較例6と同様の操作によりラジカル重合体を製造した。
アクリルモノマー液2を調製し、このアクリルモノマー液2をシリンジポンプに仕込んだ。アクリルモノマー液2を流速8g/分にて微小流路(I)に導入した。恒温槽の温度は130℃とした他は比較例6と同様の操作によりラジカル重合体を製造した。
得られたラジカル重合体の分析を行ったところ、固形分46.9%、収率91.0%、残存モノマー31448ppm、Mw7165であった。
(比較例8)
微小流路(I)を内径2.17mmのチューブに変更した。微小流路(III)のチューブも内径2.17mm、長さ30mに変更し、微小流路(I)とストレート型コネクター(ユニオン)で接続した。この微小流路(III)のチューブのみ恒温槽に浸し、加温できるようにした。アクリルモノマー液1を調製し、このアクリルモノマー液1をシリンジポンプに仕込んだ。アクリルモノマー液1を流速8g/分にて微小流路(I)を経て微小流路(III)の流路に導入した。恒温槽の温度は110℃とした他は比較例1と同様の操作によりラジカル重合体を製造した。
微小流路(I)を内径2.17mmのチューブに変更した。微小流路(III)のチューブも内径2.17mm、長さ30mに変更し、微小流路(I)とストレート型コネクター(ユニオン)で接続した。この微小流路(III)のチューブのみ恒温槽に浸し、加温できるようにした。アクリルモノマー液1を調製し、このアクリルモノマー液1をシリンジポンプに仕込んだ。アクリルモノマー液1を流速8g/分にて微小流路(I)を経て微小流路(III)の流路に導入した。恒温槽の温度は110℃とした他は比較例1と同様の操作によりラジカル重合体を製造した。
得られたラジカル重合体の分析を行ったところ、固形分40.4%、収率79.6%、残存モノマー126776ppm、Mwで12444あった
(比較例9)
アクリルモノマー液4を調製し、このアクリルモノマー液4をシリンジポンプに仕込んだ。アクリルモノマー液4を流速8g/分にて微小流路(I)に導入した。恒温槽の温度は130℃とした他は比較例1と同様の操作によりラジカル重合体を製造した。
アクリルモノマー液4を調製し、このアクリルモノマー液4をシリンジポンプに仕込んだ。アクリルモノマー液4を流速8g/分にて微小流路(I)に導入した。恒温槽の温度は130℃とした他は比較例1と同様の操作によりラジカル重合体を製造した。
得られたラジカル重合体の分析を行ったところ、固形分43.2%、収率89.2%、残存モノマー13392ppm、Mw7101であった。
前記実施例、比較例で得られた樹脂の製造条件、性状について、表1に示す。
1:積層構造体1
1b:積層構造体1の左端
1c:積層構造体1の右端
1d:積層構造体1の下側面部
1e:積層構造体1の下側面部1dから短手方向にある端
2:第1プレート
2a:第1プレートの下面部
2b:第1プレートの左端
2c:第1プレートの右端
2d:第1プレートの下側面部
2e:第1プレートの下側面部2dから短手方向にある端
3:第2プレート
3b:第2プレートの左端
3c:第2プレートの右端
3d:第2プレートの下側面部
3e:第2プレートの下側面部3dから短手方向にある端
4:第3プレート
4a:第3プレートの上面部
4b:第3プレートの左端
4c:第3プレートの右端
4d:第3プレートの下側面部
4e:第3プレートの下側面部4dから短手方向にある端
5:第1プレートの微小管状流路
6:第2プレートを貫通する穴
7:第3プレートの微小管状流路
30:コネクタ
31:ジョイント部
32:継手部
40:積層構造体
61:液体(ii)
62:液体(ii)を入れる第1のタンク
63:液体(i)
64:液体(i)を入れる第2のタンク
65:プランジャーポンプ
66:プランジャーポンプ
67:チューブリアクター
68:オイルバス
69:チューブリアクター
70:水槽
71:排圧弁
72:受け容器
F1:液体(ii)の流体
F2:液体(i)の流体
F3:液体(i)と液体(ii)の混合流体
1b:積層構造体1の左端
1c:積層構造体1の右端
1d:積層構造体1の下側面部
1e:積層構造体1の下側面部1dから短手方向にある端
2:第1プレート
2a:第1プレートの下面部
2b:第1プレートの左端
2c:第1プレートの右端
2d:第1プレートの下側面部
2e:第1プレートの下側面部2dから短手方向にある端
3:第2プレート
3b:第2プレートの左端
3c:第2プレートの右端
3d:第2プレートの下側面部
3e:第2プレートの下側面部3dから短手方向にある端
4:第3プレート
4a:第3プレートの上面部
4b:第3プレートの左端
4c:第3プレートの右端
4d:第3プレートの下側面部
4e:第3プレートの下側面部4dから短手方向にある端
5:第1プレートの微小管状流路
6:第2プレートを貫通する穴
7:第3プレートの微小管状流路
30:コネクタ
31:ジョイント部
32:継手部
40:積層構造体
61:液体(ii)
62:液体(ii)を入れる第1のタンク
63:液体(i)
64:液体(i)を入れる第2のタンク
65:プランジャーポンプ
66:プランジャーポンプ
67:チューブリアクター
68:オイルバス
69:チューブリアクター
70:水槽
71:排圧弁
72:受け容器
F1:液体(ii)の流体
F2:液体(i)の流体
F3:液体(i)と液体(ii)の混合流体
Claims (5)
- 液体(i)と液体(ii)を、少なくとも2つの微小流路(I)と微小流路(II)とが合流して、1つの微小流路(III)を形成している構造体からなる反応装置に連続的に導入しつつ、液体(i)と液体(ii)とを接触させ、液体(i)と液体(ii)を流路(III)に導入してラジカル重合体を製造するラジカル重合体の製造方法であって、
前記流路(I)に流通する液体(i)がラジカル重合性開始剤とラジカル重合性単量体とを含有する液体であり、前記流路(II)に流通する液体(ii)が液体(i)と混和しない液体であり、
液体(i)と液体(ii)とを前記流路(I)の流速(V1)と前記流路(II)の流速(V2)とが〔V1≦V2〕となるように供給し、液体(i)中のラジカル重合性単量体の重合反応を行なうことを特徴とするラジカル重合体の製造方法。 - 前記流路(III)へ排出される不均一な液状状態が、液体(i)と液体(ii)が交互に排出されたものである請求項1記載のラジカル重合体の製造方法。
- 前記液体(ii)が水である請求項1または2記載のラジカル重合体の製造方法。
- 前記流路(III)の温度が100℃以上である請求項1または2記載の製造方法。
- 微小流路(I)と微小流路(II)とが合流して、1つの微小流路(III)を形成している構造体からなる反応装置で、微小流路(III)の断面積が、微小流路(I)の断面積と微小流路(II)の断面積を合計した断面積の10倍以下となるような積層構造体を経由して前記流路(III)に排出する請求項1または2記載のラジカル重合体の製造方法。
Priority Applications (1)
| Application Number | Priority Date | Filing Date | Title |
|---|---|---|---|
| JP2011005839A JP2012144674A (ja) | 2011-01-14 | 2011-01-14 | ラジカル重合体の製造方法 |
Applications Claiming Priority (1)
| Application Number | Priority Date | Filing Date | Title |
|---|---|---|---|
| JP2011005839A JP2012144674A (ja) | 2011-01-14 | 2011-01-14 | ラジカル重合体の製造方法 |
Publications (1)
| Publication Number | Publication Date |
|---|---|
| JP2012144674A true JP2012144674A (ja) | 2012-08-02 |
Family
ID=46788574
Family Applications (1)
| Application Number | Title | Priority Date | Filing Date |
|---|---|---|---|
| JP2011005839A Pending JP2012144674A (ja) | 2011-01-14 | 2011-01-14 | ラジカル重合体の製造方法 |
Country Status (1)
| Country | Link |
|---|---|
| JP (1) | JP2012144674A (ja) |
Cited By (1)
| Publication number | Priority date | Publication date | Assignee | Title |
|---|---|---|---|---|
| CN117085612A (zh) * | 2023-09-15 | 2023-11-21 | 贵州大学 | 一种纳米β-MnO2制备用连续流微反应流速控制系统及制备方法 |
-
2011
- 2011-01-14 JP JP2011005839A patent/JP2012144674A/ja active Pending
Cited By (1)
| Publication number | Priority date | Publication date | Assignee | Title |
|---|---|---|---|---|
| CN117085612A (zh) * | 2023-09-15 | 2023-11-21 | 贵州大学 | 一种纳米β-MnO2制备用连续流微反应流速控制系统及制备方法 |
Similar Documents
| Publication | Publication Date | Title |
|---|---|---|
| US9534062B2 (en) | Synthesis of an acrylate polymer in flow reactor | |
| JP5693598B2 (ja) | 水性ポリアクリル酸溶液の製造方法 | |
| TWI884925B (zh) | 聚合物之製造方法 | |
| RU2678304C2 (ru) | Непрерывный способ получения высокоразветвленных полимеров на основе моноэтиленненасыщенной моно- или дикарбоновой кислоты, содержащей от 3 до 8 атомов углерода, или ее ангидридов и ее солей | |
| KR20100126372A (ko) | 관형 플로우 반응 장치, 고분자 수지 미립자의 제조 방법 | |
| JP5201419B2 (ja) | 少なくとも1つのハロゲン化ポリマーブロックを含むブロックコポリマーを調製するための水性分散液におけるフリーラジカル重合方法 | |
| JP5541481B2 (ja) | ラジカル重合体の製造方法 | |
| US7465771B2 (en) | Process for producing radical polymer and microapparatus for chemical reaction | |
| JP6248385B2 (ja) | 重合体の製造方法 | |
| JPH11240904A (ja) | ポリマーの連続的製造方法 | |
| JP2012144674A (ja) | ラジカル重合体の製造方法 | |
| US20050080209A1 (en) | Continuous production of crosslinked polymer nanoparticles | |
| JP5875027B2 (ja) | 乳化分散体の製造方法 | |
| JP5594077B2 (ja) | 有機無機複合組成物乳化分散体の製造方法 | |
| JP2010248498A (ja) | ラジカル重合体の製造方法 | |
| JP2014172924A (ja) | 重合体微粒子の製造方法、及び分散体 | |
| JP2012012550A (ja) | 乳化分散体、および乳化分散体の製造方法 | |
| JP2006199767A (ja) | ラジカル重合体の製造方法及び微細化学反応装置 | |
| JP2008063409A (ja) | 親水性ポリマー粒子の製造法 | |
| JP2004149793A (ja) | 架橋ポリマーナノ粒子の連続生成 | |
| JP5776318B2 (ja) | 乳化分散体及びその製造方法 | |
| TW553957B (en) | Continuous process for preparing polymers | |
| TW202528741A (zh) | 微流體系統、使用微流體系統之處理方法及聚合物的製造方法 | |
| TW200540386A (en) | A continuous process for preparing polymers | |
| TW202535536A (zh) | 微流體系統、使用微流體系統的反應方法及聚合物的製造方法 |
