JP5773537B2 - 封止された薄膜デバイス、並びに当該薄膜デバイスに堆積された封止層を修理する方法及びシステム - Google Patents

封止された薄膜デバイス、並びに当該薄膜デバイスに堆積された封止層を修理する方法及びシステム Download PDF

Info

Publication number
JP5773537B2
JP5773537B2 JP2012512491A JP2012512491A JP5773537B2 JP 5773537 B2 JP5773537 B2 JP 5773537B2 JP 2012512491 A JP2012512491 A JP 2012512491A JP 2012512491 A JP2012512491 A JP 2012512491A JP 5773537 B2 JP5773537 B2 JP 5773537B2
Authority
JP
Japan
Prior art keywords
thin film
film device
sealing layer
local
repair
Prior art date
Legal status (The legal status is an assumption and is not a legal conclusion. Google has not performed a legal analysis and makes no representation as to the accuracy of the status listed.)
Active
Application number
JP2012512491A
Other languages
English (en)
Other versions
JP2012528441A (ja
Inventor
アー フェルスフーレン,クーン
アー フェルスフーレン,クーン
リフカ,ヘルベルト
アー エム ヒクメット,リファト
アー エム ヒクメット,リファト
Current Assignee (The listed assignees may be inaccurate. Google has not performed a legal analysis and makes no representation or warranty as to the accuracy of the list.)
Nederlandse Organisatie voor Toegepast Natuurwetenschappelijk Onderzoek TNO
Original Assignee
Nederlandse Organisatie voor Toegepast Natuurwetenschappelijk Onderzoek TNO
Priority date (The priority date is an assumption and is not a legal conclusion. Google has not performed a legal analysis and makes no representation as to the accuracy of the date listed.)
Filing date
Publication date
Application filed by Nederlandse Organisatie voor Toegepast Natuurwetenschappelijk Onderzoek TNO filed Critical Nederlandse Organisatie voor Toegepast Natuurwetenschappelijk Onderzoek TNO
Publication of JP2012528441A publication Critical patent/JP2012528441A/ja
Application granted granted Critical
Publication of JP5773537B2 publication Critical patent/JP5773537B2/ja
Active legal-status Critical Current
Anticipated expiration legal-status Critical

Links

Images

Classifications

    • HELECTRICITY
    • H10SEMICONDUCTOR DEVICES; ELECTRIC SOLID-STATE DEVICES NOT OTHERWISE PROVIDED FOR
    • H10KORGANIC ELECTRIC SOLID-STATE DEVICES
    • H10K50/00Organic light-emitting devices
    • H10K50/80Constructional details
    • H10K50/84Passivation; Containers; Encapsulations
    • H10K50/844Encapsulations
    • H10K50/8445Encapsulations multilayered coatings having a repetitive structure, e.g. having multiple organic-inorganic bilayers
    • HELECTRICITY
    • H10SEMICONDUCTOR DEVICES; ELECTRIC SOLID-STATE DEVICES NOT OTHERWISE PROVIDED FOR
    • H10KORGANIC ELECTRIC SOLID-STATE DEVICES
    • H10K50/00Organic light-emitting devices
    • H10K50/80Constructional details
    • H10K50/84Passivation; Containers; Encapsulations
    • HELECTRICITY
    • H10SEMICONDUCTOR DEVICES; ELECTRIC SOLID-STATE DEVICES NOT OTHERWISE PROVIDED FOR
    • H10KORGANIC ELECTRIC SOLID-STATE DEVICES
    • H10K59/00Integrated devices, or assemblies of multiple devices, comprising at least one organic light-emitting element covered by group H10K50/00
    • H10K59/80Constructional details
    • H10K59/87Passivation; Containers; Encapsulations
    • H10K59/871Self-supporting sealing arrangements
    • H10K59/8722Peripheral sealing arrangements, e.g. adhesives, sealants
    • HELECTRICITY
    • H10SEMICONDUCTOR DEVICES; ELECTRIC SOLID-STATE DEVICES NOT OTHERWISE PROVIDED FOR
    • H10KORGANIC ELECTRIC SOLID-STATE DEVICES
    • H10K71/00Manufacture or treatment specially adapted for the organic devices covered by this subclass
    • H10K71/861Repairing

Landscapes

  • Physics & Mathematics (AREA)
  • Optics & Photonics (AREA)
  • Chemical & Material Sciences (AREA)
  • Inorganic Chemistry (AREA)
  • Electroluminescent Light Sources (AREA)

Description

本発明は封止された薄膜デバイスに関する。
本発明はまた、封止層を修理する方法、封止層を修理するシステム、及びコンピュータプログラム製品に関する。
薄膜デバイスとは、一体となって電気回路、電気光学素子、又は光学素子を構成する複数の積層された層で構成されるデバイスである。係る電気回路は一般的に、導体層、半導体層、及び絶縁層の積層体を有する小型化された電気回路−集積回路(IC)としても知られている−である。電気光学素子は積層体を有し、前記積層体はたとえば、発光ダイオード、有機発光ダイオード、又はレーザーダイオードを構成するので、典型的には、たとえば有機発光層で構成することができる発光層と結合したダイオード回路に等しい電気回路を有する。ダイオード回路と結合した発光層が有機発光層で構成される場合には、有機発光ダイオード(OLEDとも呼ばれる)が形成される。光学素子は、たとえば導光体及び光ゲートを有する光学回路を構成する複数の光学層を有して良い。係る光学素子は通常、集積回路と同様の機能を実行するように設計することが可能で、かつ集積回路を置き換えるように設計される。
これらの薄膜デバイスは全て、外界の影響から当該デバイスを保護するためにある種の封止を必要とする。当該薄膜デバイスに供される封止の品質は通常、当該薄膜デバイスの動作寿命を決定する。特に当該薄膜デバイスがOLEDデバイスであるときには、当該OLEDデバイスの封止は重要である。なぜなら水が当該OLEDデバイス内部で引き起こす腐食効果は通常、当該OLEDデバイス内で局所的に黒点を発生させるからである。長時間にわたって、腐食効果は、人の目にも見えるようになる。この効果は、当該OLEDデバイスが照明目的に用いられるときには一般的に許容できないようなものである。結局腐食効果は、当該OLEDデバイス全体を破壊してしまい、当該OLEDデバイスは、光を生成できなくなってしまう。
既知の薄膜デバイスでは、封止は、当該薄膜デバイスが設けられる封止チャンバによって行われて良い。しかし、当該薄膜デバイスの厚さを減少させ、かつ当該薄膜デバイスの製造コストを削減するため、封止は、当該薄膜デバイスに直接堆積された封止層によって実現されることが好ましい。係る封止層は周知であり、特にOLEDデバイスに堆積される。既知の封止層はたとえば、シリコン窒化物−有機材料−シリコン窒化物を有する複数の層の積層体を有して良い。有機層は相対的に薄く(数百nm)であって良く、周辺の窒化物層内での複数のピンホールを実効的に分離することができる。あるいはその代わりに、有機層は相対的に厚いことで、任意の層内に存在しうる粒子をも平坦化することができる。係る封止層を構成する積層体は、黒点の発生を防止するのではなく、水が当該OLEDデバイスへ入り込む経路を曲がりくねったものにすることで黒点の成長を遅らせる。
あるいはその代わりに封止層は、複数の無機層で構成されて良く、又は電気化学メッキにより構築された層であっても良い。無機層はたとえば、シリコン窒化物−シリコン酸化物−シリコン窒化物又はシリコン窒化物−シリコン酸窒化物−シリコン窒化物を有する積層体−NON積層体とも呼ばれる−を有する。係るNON積層体は一般的に、この基本積層体を複数回−たとえば約8層(つまりNONONON。ここでNはシリコン窒化物を表し、Oはシリコン酸化物を表す)−繰り返したものを有して良い。これらの代替封止層では、生じる黒点の数は顕著に減少する。しかし、係る代替封止層内の残りの局所的な裂け目は、黒点を相対的に速く(湿った環境中では約1時間以内に可視となる)連続的に成長させてしまう。そのような局所的な裂け目の発生は、歩留まり問題(表面積当たりの局所的な裂け目)であり、小さなデバイスにとっては不利益だが、大きなデバイスの製造にとっては、よりはるかに深刻な問題である。
従って既知の封止された薄膜デバイスの欠点とは、当該薄膜デバイスの動作寿命が依然として短すぎることである。
本発明の目的は、薄膜デバイスの動作寿命を改善することである。
本発明の第1態様によると、上記目的は、請求項1に記載の封止された薄膜デバイスによって実現される。本発明の第2態様によると、上記目的は、請求項6に記載の、薄膜デバイスに堆積された封止層を修理することで封止された薄膜デバイスを作製する方法によって実現される。本発明の第3態様によると、上記目的は、請求項13に記載の、薄膜デバイスに堆積された封止層を修理することで封止された薄膜デバイスを作製するシステムによって実現される。本発明の第4態様によると、上記目的は、請求項18に記載のコンピュータプログラム製品によって実現される。
本発明の第1態様による封止された薄膜デバイスは、薄膜デバイス、及び、前記薄膜デバイス上に設けられることで環境の影響から前記薄膜デバイスを保護する封止層を有する。当該封止された薄膜デバイスは、前記封止層内の局所的な裂け目を封止するために局所的に堆積された修繕材料をさらに有する。
局所的な裂け目とは、有害な周囲の物質が当該薄膜デバイスへ入り込むことで、当該薄膜デバイスに損傷を与え(始め)ることを可能にする、前記封止層内での局所的な変形と定義される。この点では、裂け目という語は特別な意味に用いられている。なぜなら裂け目(breach)とは、「予定された作用又は義務を実行する上での不具合」と定義されるからである。前記封止層の予定された作用とは、有害な周辺物質から当該薄膜デバイスを封止することである。前記局所的な裂け目の位置では前記作用は起こらない。よって本発明によると、前記封止層の局所的な裂け目は、前記封止層内のピンホール及び/又はギャップ及び/又は決壊を含む。それに加えて、本発明による局所的な裂け目はまた、たとえ前記封止層が存在する場合であっても、たとえば前記封止層が局所的に薄すぎることで封止作用に失敗する局所領域、又は、局所的に有孔性であることで、有害な周辺物質が前記封止層を通り抜けて徐々に当該薄膜デバイスへ拡散する恐れのある局所領域をも含んで良い。
本発明による封止された薄膜デバイスの効果は、前記修繕材料を局所的に堆積することによって局所的な裂け目が封止されることである。その結果、前記修繕材料は、前記封止材料を封止し、かつ有害な周辺物質の侵入を止めることで、当該薄膜デバイスの動作寿命を改善する。
本発明による封止された薄膜デバイスの他の利点は、封止された薄膜デバイスの製造歩留まりが実質的に増大することである。修繕材料が局所的に設けられなければ、封止層を有する当該薄膜デバイス上の局所的な裂け目は、実質的に許容できないものになると考えられる。特に相対的に大きな薄膜デバイスを製造する−たとえば当該薄膜デバイスがOLEDである−とき、製造歩留まりは非常に低くなる。修繕材料を局所的に堆積することによって、局所的な裂け目が存在するため、これまでは認められなかった前記封止層を有する薄膜デバイスを修理することが可能となった。それにより封止された薄膜デバイスの製造歩留まりは顕著に改善される。
本発明による封止された薄膜デバイスのさらなる利点は、前記局所的な裂け目を封止するのに、ほんのわずかな修繕材料しか必要としないことである。典型的には、封止されなければならない薄膜デバイス表面のほとんどは、当該薄膜デバイス上に堆積された封止層によって実際に封止されている。高品質の封止層は依然として、多少の残された局所的裂け目−たとえば典型的には100個/m2−を有することがあり得る。これらの残された局所的裂け目は通常、数μmのサイズを有する。しかしOLEDデバイス内にそのような小さな局所的裂け目を有するとき、その結果として生じた黒点は、最終的に前記黒点が当該OLEDデバイスの動作寿命を終了させるまで、実際に成長し続ける。これらの相対的に小さな残りの裂け目を局所的に封止するには、修繕材料をほとんど必要としないことが明らかに要求される。
本発明による封止された薄膜デバイスのさらなる利点は、修繕材料として使用される材料として選ばれた材料を相対的に大きくできることである。局所的な裂け目は既に比較的早期に検出可能だが、たとえば当該OLEDデバイス内の裂け目によって生じる黒点は、裸眼で知覚可能な寸法よりもはるかに小さい。前記局所的に堆積された修繕材料もまた典型的には、裸眼で知覚可能な寸法よりも小さな寸法で堆積することができる。局所的な裂け目が、当該薄膜デバイスの発光面に存在し、かつ実際に放出される光の一部を遮断するときでさえ、前記局所的な裂け目を封止するのに実質的に不透明な材料が用いられて良い。前記不透明な修繕材料は、その寸法及び光の一部を遮断する特性ゆえに、ほとんど目に見えない。
本願発明者らは、さらに封止層を堆積することは、埃粒子が前記封止層内に埋め込まれることで、前記封止層内での局所的な裂け目を生じさせる危険性を常に有していることに気づいた。係る局所的な裂け目は、前記封止層を介して有害な周辺物質を漏らすことで、その物質は、当該薄膜デバイスに害を及ぼし、かつ当該薄膜デバイスの動作寿命を減少させることができる。さらに封止層を加えて、既に封止された薄膜デバイスを封止しても、問題のほんの一部しか解決していない。なぜなら他の封止層の各々は、埃粒子を内部に埋め込ませる危険性を再度有することで、前記他の封止層の局所的な裂け目を再度生成してしまう恐れがあるからである。他の封止層を加えることは、さらなる負の効果を有する。そのさらなる負の効果とは、他の封止層の各々が、当該封止された薄膜デバイスに製造コストを加えることで、動作寿命の改善は顕著及び/又は十分でないにもかかわらず、当該封止された薄膜デバイスのコストを増大させることである。本発明により、修繕材料を局所的に堆積することによって、前記修繕材料内にさらなる埃粒子が埋め込まれる危険性は大幅に減少する。なぜなら前記修繕材料は非常に局所的にしか設けられないからである。さらに典型的には、前記局所的な裂け目を閉じるために前記修繕材料を封止材料に局所的に堆積して、複数の製造工程を加えずに前記封止層を封止することで、残りの局所的な裂け目の機会を減少させるのに、一の製造工程の追加しか必要とされない。本願発明者らはさらに、自動検出手段及び自動修繕手段は、封止された薄膜デバイスを製造する一列に並んだ製造ラインにおいて比較的容易に実装できることを理解した。多くのことなる既知のカメラシステムは、細かな局所的な裂け目も検出及び識別する製造設備内で一列に並んだ状態で設けられて良い。従って、前記修繕材料を局所的に堆積するのに、多くの異なる既知の堆積方法を採用することが比較的容易に可能である。前記多くの異なる既知の堆積方法とはたとえば、液化した修繕材料のプリント方法である。前記方法では、前記液化した修繕材料は、続いて前記局所的な裂け目を封止するように硬化されて良い。これらの検出及びプリント法もまた、製造プロセスをほとんど中断させることなく一列に並んだ製造施設内に設けられて良い。そのため、製造された当該封止された薄膜デバイスの動作寿命及び当該封止された薄膜デバイスの製造歩留まりは顕著に改善されるにもかかわらず、当該封止された薄膜デバイスについての製造時間及びコストはわずかにしか増大しない。
封止された薄膜デバイスの実施例では、当該薄膜デバイスは発光薄膜デバイスである。この実施例の利点は、前記封止層内での局所的な裂け目の位置の検出が比較的容易なことである。比較的容易である理由は、前記裂け目は一般的には、当該発光薄膜デバイスからの発光の局所的な減少またさらには局所的な故障を生じさせるためである。そのような発光の減少又は故障は、カメラを用いることによって比較的容易に検出され、かつ自動プロセスによって比較的容易に識別される。従って、前記カメラに関連する座標系に対する位置が識別され、かつ、前記局所的な裂け目が識別される。その後修理装置が、前記の識別された局所的な裂け目を封止するために修繕材料を局所的に堆積するように指示されて良い。既知の画像登録装置を用いることによって、前記発光の局所的な減少又は故障が裸眼で識別可能となる前に、前記発光の局所的な減少又は故障を識別することができる。そのため、当該発光薄膜デバイスが使用不能となる前に前記局所的な裂け目を識別することが可能である。そのため当該発光薄膜デバイスの製造歩留まりが改善される。
発光材料はたとえば、有機発光材料であって良い。有機発光ダイオードデバイスは一般的に、アルミニウム電極を損傷させる水に対する感受性が高い。前記のアルミニウム電極の損傷は所謂黒点を引き起こす。前記黒点は、前記封止層内の局所的な裂け目から放射状に成長し続ける。このような黒点の放射状の成長は、前記水が前記封止層へ侵入又は拡散する位置を封止することによって止めることのできる連続的なプロセスである。特に前記有機発光ダイオードデバイスが一般的に比較的大きな面積の発光面を有するため、たとえば前記比較的大きな面積の発光面上のどこかに存在する埃粒子が拡大して可視の黒点となる機会は非常に高い。このことは、前記有機発光ダイオードデバイスの製造歩留まりを深刻に制限してしまう。前記有機発光ダイオードデバイスを密閉する他の手段も可能である。しかし、前記有機発光ダイオードデバイスの厚さを減少させたいとき、及び/又は、製造コストを減少させたいときには、前記有機発光ダイオードデバイス全体にわたって封止層を堆積することによる単純な密閉が好ましい。可撓性の有機発光ダイオードデバイスを作製するため、前記有機発光ダイオードデバイス上に封止層を堆積することによる封止が重要である。そのため、前記封止層内での裂け目は、前記有機発光ダイオードデバイスの歩留まり及び/又は動作寿命を明らかに制限する上述の効果を有する。本願発明は、修繕材料を局所的に堆積させることによって、封止層を有する前記有機発光ダイオードデバイスの歩留まり及び/又は動作寿命を増大させる解決法を提供する。
当該封止された薄膜デバイスの実施例では、前記の局所的に堆積された修繕材料は、前記局所的な裂け目を封止し、かつ局所的に堆積される無機材料を有する。
局所的に堆積されることを可能にするため、前記修繕材料はたとえば溶媒中で可溶であって良い。前記溶媒中に修繕材料が溶けた後、前記溶媒はたとえばインクジェットプリントによって塗布されて良い。あるいはその代わりに、前記修繕材料は、前記封止層を局所的に封止することが可能なペーストそして堆積されても良い。さらにあるいはその代わりに、前記修繕材料の粒子は帯電して良い。その後これらの帯電した粒子は、複写技術及び/又はレーザー印刷技術と同様に、前記封止層の反対符号に帯電した部分へ局所的に堆積されることが可能である。この無機材料を修繕材料として利用することの利点は、係る無機材料は一般的に不活性で、かつ本質的には良好なバリア特性を有することである。
当該封止された薄膜デバイスの実施例では、前記の局所的に堆積された修繕材料は、前記局所的な裂け目を封止し、かつ局所的に堆積される金属材料を有する。この実施例の利点は、良好なバリア特性に次いで、高品質の堆積を行うのに、様々な堆積法及び前駆体材料が利用可能であることである。
当該封止された薄膜デバイスの実施例では、前記の局所的に堆積された修繕材料は、前記局所的な裂け目を封止するため、前記封止層を局所的に硬化させた材料を含む。前記の局所的な硬化はたとえば、熱硬化、又は、紫外光若しくは他の前記封止材料を硬化する手段による硬化を有して良い。前記封止材料を硬化する前に、前記封止材料は局所的に軟化されて良い。それにより前記封止材料は、流れて、前記局所的な裂け目を閉じることができる。熱硬化はたとえば、前記封止層の残りの部分を損傷させず、かつ当該薄膜デバイスを損傷させることなく、レーザー硬化技術を用いることによって局所的に行われて良い。
当該封止された薄膜デバイスの実施例では、前記の局所的に堆積された修繕材料は2種類の異なる材料を有する。前記2種類の異なる材料は、前記封止層内での局所的な裂け目を封止するように1つになる。封止層内の局所的な裂け目を封止する2工程プロセスは、より複雑であり、かつより費用を要するが、用いられる材料の選択がさらに拡張されることで、たとえば前記局所的な裂け目の封止の改善、及び/又は、相対的に高価な1種類の材料の使用と比較して、1つとなるように用いることで、より費用対効果良く使用できる複数の材料の使用が可能となる。そのため、この二材料修理プロセスは、本発明による封止された薄膜デバイスにとって有利となりうる。
当該封止された薄膜デバイスの実施例では、前記修繕材料は2種類の異なる材料を有する。前記2種類の異なる材料は接合材料及び閉口材料を有する。前記接合材料は、前記閉口材料の接合を改善することで前記局所的な裂け目を封止するため、前記封止層に堆積される。前記接合層が、前記封止層全体にわたって均一かつ簡便に堆積されて良い。なぜなら前記接合層は、前記閉口材料の接合を保証することで前記局所的な裂け目を封止するのにしか用いられないからである。前記接合層中に存在する別な粒子は実質的に害をもたらさない。一般的には環境からの有害物質が前記封止層を貫通するマイグレーションが、前記接合層を介して起こることはないためである。さらに係る別な粒子が、前記局所的な裂け目の厳密な位置に位置する可能性は非常に低いため、このことは、当該封止された薄膜デバイスの製造歩留まりにほとんど影響しない。実際の閉口材料は、前記の識別された局所的な裂け目で前記封止層を封止するように局所的に堆積される。あるいはその代わりに、前記接合層と閉口材料のいずれもが、前記局所的な裂け目を封止するように局所的に堆積される。
当該封止された薄膜デバイスの実施例では、前記修繕材料は2種類の異なる材料を有する。前記2種類の異なる材料は金属の基本材料、及び、該金属の基本材料内のさらに別な局所的な裂け目を封止するための金属の閉口材料を有する。前記金属の基本材料は、前記封止層に堆積される。前記金属の閉口材料は、相対的に厚く堆積されて良い。この実施例の利点は、厚い金属の閉口材料を無電解堆積により堆積することが可能となる結果、相対的に集積が容易な低コストの解決法となることである。
当該封止された薄膜デバイスの実施例では、前記修繕材料は2種類の異なる材料を有する。前記2種類の異なる材料は、実質的に液滴形状すなわち実質的に球状の第1材料及び閉口材料を有する。前記実質的に液滴形状すなわち実質的に球状の第1材料は、前記封止層と45°未満の接触角をなす。前記閉口材料は、前記局所的な裂け目を完全に封止するため、前記実質的に液滴形状すなわち実質的に球状の第1材料を覆う。この実施例の利点は、低コストでさらには浸透性の第1材料が使用可能なため、たとえば粒子の裂け目及び/又は破損を有効に覆うための広範な手法を用いることで、低コストで高速な堆積が可能となることである。従って薄い閉口材料しか必要とされない。
当該封止された薄膜デバイスの実施例では、前記修繕材料は2種類の異なる材料を有する。前記2種類の異なる材料は、ゲッター材料を含む第1材料、及び閉口材料を有する。前記第1材料は、前記局所的な裂け目へ入り込む水を減少させる。前記閉口材料は、前記局所的な裂け目を封止するため、前記第1材料上に堆積される。薄膜デバイスにとって最も一般的な有害物質は、当該薄膜デバイスに入り込む水である。ゲッター材料は水を吸収する。前記ゲッター材料を有する第1材料を堆積することで、存在する水すなわち湿気は、前記局所的な裂け目を介して当該薄膜デバイスへ向かうマイグレーションを起こすよりはむしろ、前記ゲッター材料によって吸収される。そのため、前記第1材料は、一種の水に対するバリアとして機能するので、当該薄膜デバイスの動作寿命を増大させる。その結果として前記閉口材料は、前記局所的な裂け目を封止し、かつ前記第1材料全体にわたって堆積される。そのため前記閉口材料を貫通する残りの水すなわち湿気の漏れは、前記第1材料中のゲッター材料によって吸収される。
当該封止された薄膜デバイスの実施例では、前記の局所的に堆積された修繕材料は、当該薄膜デバイスにとって放出される光の少なくとも一部に対して透明である。この実施例では、当該薄膜デバイスは発光薄膜デバイスである。この実施例の利点は、前記の少なくとも一部に対して透明な修繕材料が、前記有機発光層から放出される光を阻止しないため、前記の堆積された修繕材料が視認されないことである。それに加えて、有機発光層の典型的なランバート発光特性に起因して、前記の堆積された修繕材料に隣接する領域で放出される光の一部は、前記の堆積された修繕材料を通り抜けて、前記局所的な裂け目の存在及に該裂け目に起因する黒点の存在に起因する局所的な強度の変化を緩和する。さらに当該OLEDデバイスによって放出される光の一部が、内部反射により、当該OLEDデバイス内部で捕獲されるため、前記の実質的に透明な修繕材料が存在することで、さらなる光が前記の堆積された修繕材料によって取り出されることで、前記の封止された裂け目の位置での強度の変化がさらに緩和される。
当該封止された薄膜デバイスの実施例では、前記の局所的に堆積された修繕材料の寸法は、裸眼では実質的に不可視となるように構成される。
このことは一般的には、前記寸法が、裸眼で知覚可能な最小の部位サイズ及び/又は裸眼で知覚可能な最小の強度変化よりも小さくなければならないことを意味する。このことはたとえば、当該OLEDの発光特性及び/又は前記封止層上部での拡散器の存在及び/又は像を生成する当該OLEDの処理に起因して異なって良い。たとえば当該OLEDが典型的には、部屋の天井に設けられ、かつ前記部屋の照明に用いられるとき、可視である最小の強度変化は、知覚可能な最小寸法よりも重要となりうる。他の用途では、前記知覚可能な最小寸法が重要となりうる。
本発明の第2態様による、封止された薄膜デバイスを生成するために薄膜デバイスに堆積された封止層を修理する方法は、前記封止層内の局所的な裂け目を検出する工程、及び、前記局所的な裂け目を封止するために修繕材料を局所的に堆積することで、当該封止された薄膜デバイスを作製する工程を有する。
当該修理方法の実施例では、当該方法は、前記封止層内の局所的な裂け目を検出する工程の前又は間に、前記封止層を有する当該薄膜デバイスを、所定期間の間、所定の環境中に維持する工程をさらに有する。特に当該薄膜デバイスがOLEDデバイスであるとき、前記封止層内の局所的な裂け目を通過する水によって引き起こされる当該OLEDデバイス内での欠陥−黒点としても知られている−は、徐々に成長し続ける。所定の期間の間当該薄膜デバイスを所定の環境にすることによって、前記黒点の連続的な成長は、制御され、かつ、前記の成長は、前記欠陥が裸眼で検出可能となるには小さすぎるサイズとなるようにすることが可能となる。その一方で、自動化された像取得及び解析システムは、黒点の位置、すなわち前記封止層内の局所的な裂け目の位置を特定することができる。前記所定の期間は、当該薄膜デバイスが維持される環境−たとえば当該薄膜が維持される温度及び湿度−に依存する。前記所定の期間はまた、当該方法で用いられる像取得装置によって検出可能な最小寸法、及び、前記封止層の修理方法によって封止されなければならない局所的な裂け目の寸法にも依存する。
当該修理方法の実施例では、当該方法は、当該薄膜デバイスの機械的に弱い領域内に局所的な裂け目を生成するため、当該薄膜デバイスに機械的応力を印加する工程をさらに有する。前記機械的応力のため、機械的に弱い領域には局所的な裂け目が生じうる。続いて係る局所的な裂け目は、本発明による修繕材料を堆積することによって封止されて良い。機械的応力を印加することで、機械的に弱い領域での局所的な裂け目は、本発明による方法によってこれらの局所的な裂け目の検出及び封止を可能にする製造プロセス中に既に発生せざるを得ない状態にする。機械的に弱い領域は、検出されないときには、後で当該薄膜の信頼性問題となってしまう。従って前記製造方法中に応力を印加することによって、これらの信頼性問題は、当該封止された薄膜デバイスの製造中に解決又は緩和することができる。機械的な応力は、たとえば温度変化及び/若しくは温度差又は当該薄膜デバイスの変形によって、当該薄膜デバイス内に誘起されて良い。
当該修理方法の実施例では、前記局所的な裂け目を検出する工程は、前記封止層内の局所的な裂け目を光学的に検出する工程を有する。前述したように、多くの像取得システムが、前記封止層内の局所的な裂け目が裸眼で可視となる前に、これらの局所的な裂け目の像を取得するのに用いられて良い。光学検出はたとえば、比較的コリメートされたビームによって当該薄膜デバイス上に光を照射することによって行われることで、反射光又は散乱光が検出されて良い。前記の局所的な反射又は散乱強度の変化は、局所的な裂け目によって引き起こされることがある。そのような実施例では、前記コリメートされたビームは、前記反射光又は散乱光を検出しながら、前記封止層全体にわたって掃引されて良い。そのため、光学検出法の利用は、比較的容易に実施することができる。さらなる利点は、光学検出が一般的に、当該薄膜デバイスと接触することなく行うことができることである。
当該修理方法の実施例では、前記局所的な裂け目を検出する工程は、当該薄膜デバイスを起動して発光させる工程、及びそれに続いて、たとえば黒点を検出することによって、前記封止層内の局所的な裂け目を光学的に検出する工程を有する。当該薄膜デバイスが発光薄膜デバイスである実施例では、当該薄膜デバイスを起動させることで、当該薄膜デバイスは発光を開始する。前記発光における局所的な変化はカメラによって検出されて良い。前記カメラは、前記局所的な裂け目の位置を決定し、かつこの位置情報を修繕手段に供する、前記修繕手段は、続いて前記の検出された位置に前記修繕材料を堆積する。当該薄膜デバイスを照射するのに追加の光源は必要とされないので、前記局所的な裂け目の検出は単純化される。さらに当該薄膜デバイスによって放出される光の強度はたとえば、検出系の要件に合致するように、すなわち局所的な裂け目の検出を最適化するように適合されて良い。
当該薄膜デバイスが起動される修理方法のさらなる利点は、局所的な裂け目を検出するために当該薄膜デバイスに光が照射される外部からの光学的手法が、実質的に全ての構造上の欠陥−本来の封止層によって既に封止されたもの又はこれまでの同様の修理方法で既に封止されたものを含む−を検出する一方で、実際の局所的な裂け目しか検出されないことである。
当該修理方法の実施例では、前記修繕材料を局所的に堆積する工程は、前記局所的な裂け目を封止するための無機材料を局所的に堆積する工程を有する。当該修理方法の実施例では、前記修繕材料を局所的に堆積する工程は、前記局所的な裂け目を封止するための金属材料を局所的に堆積する工程を有する。これらの実施例の利点は、無機材料及び金属が一般的には、不活性で、かつ本質的に良好なバリア特性を有することである。これらの実施例のさらなる利点は、修繕材料を比較的速く堆積する方法を供し、かつ、封止するための比較的厚い修繕材料を(局所的に)堆積すること−これは、当該デバイスの全領域にわたって行われなければならない場合には、相対的に時間を消費し、かつ高価となってしまう−を可能にすることである。
当該修理方法の実施例では、前記修繕材料を局所的に堆積する工程は、接合材料を前記封止層へ堆積することで閉口材料の接合を改善する工程、及び、それに続いて前記閉口材料を局所的に堆積することで、前記局所的な裂け目を封止する工程を有する。前記接合層を堆積する工程は、前記封止層全体にわたって均一かつ簡便に前記接合層を堆積する工程を有することができる。なぜなら前記接合層は、前記閉口材料の接合を保証することで、前記局所的な裂け目を封止することにしか用いられないからである。前述したように、前記接合層中に存在する別な粒子は実質的に害をもたらさない。一般的には環境からの有害物質が前記封止層を貫通するマイグレーションが、前記接合層を介して起こることはないためである。さらに係る別な粒子が、前記局所的な裂け目の厳密な位置に位置する可能性は非常に低いため、このことは、当該封止された薄膜デバイスの製造歩留まりにほとんど影響しない。実際の閉口材料は、前記の識別された局所的な裂け目で前記封止層を封止するように局所的に堆積される。あるいはその代わりに、前記接合層と閉口材料のいずれもが、前記局所的な裂け目を封止するように局所的に堆積される。
当該修理方法の実施例では、前記修繕材料を局所的に堆積する工程は、前記封止層へ金属の基本材料を堆積する工程、及び、それに続いて、前記金属の基本材料内のさらなる局所的な裂け目を封止するために金属の閉口材料を局所的に堆積する工程を有する。
当該修理方法の実施例では、前記修繕材料を局所的に堆積する工程は、実質的に液滴形状すなわち実質的に球状の第1材料及び閉口材料を局所的に堆積する工程、及び、それに続いて閉口材料を堆積することで、前記実質的に液滴形状すなわち実質的に球状の第1材料を覆う工程を有する。前記実質的に液滴形状すなわち実質的に球状の第1材料は、前記封止層と45°未満の接触角をなす。
当該修理方法の実施例では、前記修繕材料を局所的に堆積する工程は、ゲッター材料を含む第1材料を堆積する工程、及び、それに続いて閉口材料を局所的に堆積することで前記局所的な裂け目を封止する工程を有する。前記第1材料は、前記局所的な裂け目へ入り込む水を減少させる。前述したように、ゲッター材料は水を吸収する。前記ゲッター材料を有する第1材料を堆積することで、存在する水すなわち湿気は、前記局所的な裂け目を介して当該薄膜デバイスへ向かうマイグレーションを起こすよりはむしろ、前記ゲッター材料によって吸収される。そのため、前記第1材料は、一種の水に対するバリアとして機能するので、当該薄膜デバイスの動作寿命を増大させる。その結果として前記閉口材料は、前記局所的な裂け目を封止し、かつ前記第1材料全体にわたって堆積される。そのため前記閉口材料を貫通する残りの水すなわち湿気の漏れは、前記第1材料中のゲッター材料によって吸収される。
当該修理方法の実施例では、前記修繕材料を局所的に堆積する工程は、前記修繕材料を、レーザーで移すことによって局所的に堆積する工程を有する。この実施例の利点は、これらの手法が、当該薄膜デバイスへの接触により生じる恐れのある当該薄膜デバイスへの損傷を防止する非接触手法であることである。さらに前記修繕材料の堆積手法は、前記修繕材料が局所的に迅速に堆積されるので、製造プロセス全体へ影響が相対的に小さな手法であり得る。
当該修理方法の実施例では、前記修繕材料を局所的に堆積する工程は、前記修繕材料の液体前駆体をプリントすることによって、前記修繕材料を局所的に堆積する工程を有する。前記修繕材料の液体前駆体は、プリント後、前記局所的な裂け目を封止する修繕材料に変換される。この実施例の利点は、前記修繕材料の堆積を迅速に行うことができること、及び、この手法がロール・トゥ・ロール及び関連の堆積手法との相性がよいことである。
当該修理方法の実施例では、前記修繕材料を局所的に堆積する工程は、前記修繕材料を、電解メッキ法により局所的に堆積する工程を有する。電解メッキを生成するための電流は、局所的に印加されるだけで良いので、相対的に厚い層の成長を相対的に高速で行うことが可能である。そのため電解メッキによる前記修繕材料の局所的な堆積は、当該封止された薄膜デバイスの製造時間を大きく増加させることなく可能である。
当該修理方法の実施例では、前記修繕材料を局所的に堆積する工程は、前記封止層からの封止材料を局所的に硬化させることで、前記局所的な裂け目を封止する工程を有する。局所的な硬化を用いる工程は、前記封止層を熱硬化させることで前記裂け目を封止する工程、又は、たとえば前記封止層へ局所的に照射されるUV放射線による硬化によって前記裂け目を封止する工程を有して良い。この実施例の利点は、前記修繕材料の堆積を迅速に行うことが可能で、かつこの手法が相対的に低コストの硬化を可能にすることである。
当該修理方法の実施例では、前記修繕材料を局所的に堆積する工程は、当該薄膜デバイスによって放出される光の少なくとも一部を透過する修繕材料を局所的に堆積する工程を有する。あるいは前記修繕材料を局所的に堆積する工程は、実質的に裸眼では不可視となるように、前記局所的に堆積された修繕材料の寸法を生成する工程を有する。少なくとも一部を透過する修繕材料の使用と、実質的に裸眼では不可視となるような寸法を有する修繕材料の使用の利点は、既に述べた。
本発明の第3態様は、封止された薄膜デバイスを生成するため、薄膜デバイスに堆積される封止層を修理するシステムを有する。前記封止層は、当該薄膜デバイスを、環境の影響から保護するため、当該薄膜デバイスに堆積される。当該システムは、
− 前記封止層内の局所的な裂け目を検出する検出手段、
− 前記検出手段による検出後に前記局所的な裂け目を特定し、その後に位置情報を修繕手段に供する解析手段、及び、
− 前記解析手段からの位置情報を受け取り、かつ前記修繕材料を局所的に堆積することで、前記封止層内の局所的な裂け目を封止する修繕手段、
を有する。
当該薄膜デバイスに堆積される封止層を修理するシステムは、当該薄膜デバイスの製造ライン中に有利となるように設置されることで、製造された薄膜デバイスの動作寿命が改善されることを保証することができる。当該薄膜デバイスが製造される一方で、当該薄膜デバイスは、製造プロセスの一の部分から他の部分へ搬送されながら、前記検出手段によって走査されてよい。この走査は、書類の走査に用いられる操作技術と同様であって良い。従って修繕手段は、プリント装置として構成されて良い。続いて前記プリント装置は、前記検出手段からの位置情報を利用し、かつ前記修繕材料を局所的に堆積する。その一方で、当該薄膜デバイスは、前記製造プロセスの一の部分から他の部分へ搬送され続けている。そのため当該システムは、通常の製造の流れを大きく妨害することなく、製造プロセス中に相対的に容易に統合することができる。
あるいはその代わりに、当該封止層を修理するシステムは、製造ラインから分離して設けられても良いし、又は前記製造ラインの様々な位置に分配されても良い。たとえば各薄膜デバイスが前記封止層内の局所的な裂け目についてチェックされるように、前記検出手段は、当該薄膜デバイスの製造ライン内に設けられて良い。前記局所的な裂け目が許容可能で、かつ修理の必要としないものである場合、当該薄膜デバイスは単純に通常の製造プロセスを継続する。しかし前記局所的な裂け目が許容不可能で、かつ修理の必要とするものである場合、当該薄膜デバイスは、前記局所的な裂け目を封止するために前記修繕材料を堆積する当該システムの修繕手段へ移動する。そのため、当該システムの様々な構成部品は、前記製造プロセス内の様々な部分に設けられて良い。
あるいはその代わりに、当該修理するシステムはたとえば、当該薄膜デバイスの標準的な製造プロセス内にはなくて良く、拒否された薄膜デバイスの修理にのみ用いられる。そのような前記製造プロセスから分離したシステムはまた、既に前記封止層の修理プロセスを経たが、この最初の修理プロセスが成功しなかった薄膜デバイスの封止層を修理するのに用いられても良い。
当該システムの実施例では、当該システムは、タイミング手段及び環境制御手段をさらに有する。前記タイミング手段は前記環境制御手段と一体となって、前記検出手段が前記封止層内の局所的な裂け目の検出を開始する前又は該検出中に、前記封止層を有する薄膜デバイスを、所定期間の間、所定の環境に維持するように構成される。前述したように、当該薄膜デバイスがOLEDデバイスであるとき、当該OLEDデバイス内での欠陥−黒点としても知られている−は、徐々に成長し続ける。所定の期間の間当該薄膜デバイスを所定の環境にすることによって、前記黒点の連続的な成長は、制御され、かつ、前記の成長は、前記欠陥が裸眼で検出可能となるには小さすぎるサイズとなるようにすることが可能となる。その一方で、自動化された像取得及び解析システムは、黒点の位置、すなわち前記封止層内の局所的な裂け目の位置を特定することができる。前記所定の期間は、当該薄膜デバイスが維持される環境−たとえば当該薄膜が維持される温度及び湿度−に依存する。前記所定の期間はまた、当該方法で用いられる像取得装置によって検出可能な最小寸法、及び、前記封止層の修理方法によって封止されなければならない局所的な裂け目の寸法にも依存する。
あるいはその代わりに当該システムはさらに、さらに他のタイミング手段及びさらに他の環境制御手段をも有して良い。前記さらに他のタイミング手段及びさらに他の環境制御手段は、当該封止された薄膜デバイスを維持するように構成される。前記さらに他のタイミング手段及びさらに他の環境制御手段はたとえば、前記封止層の堆積による修理が成功したか否かをチェックするのに用いられて良い。前記修理が十分良好ではない場合、前記の識別された黒点は前記さらに他の環境制御手段内で成長し続ける。前記識別された黒点は、当該薄膜デバイスを連続的に監視することによって、又は、前記の検出された局所的な裂け目と、前記修理前に前記検出手段によって取得された情報とを比較することによって検出されて良い。前記局所的な裂け目の封止は、さらなる環境制御手段を用いることによって得ることができる。当該システムでは、さらなる検出手段が好ましいようにも思える。前記検出手段によって検出される2つの画像の解析は、前記解析手段又はさらなる解析手段によって行われて良い。
当該システムの実施例では、当該システムはさらに、当該薄膜デバイスの機械的に弱い領域内に局所的な裂け目を生成する応力誘起手段を有する。前記応力誘起手段は、後で当該薄膜の信頼性問題となってしまう恐れのある機械的に弱い領域の修理を可能にする。応力誘起手段は、たとえば温度変化及び/若しくは温度差又は当該薄膜デバイスの変形によって、当該薄膜デバイス内に応力を誘起して良い。
当該システムの実施例では、当該システムはさらに、当該薄膜デバイスを起動することで発光させる起動手段をさらに有する。これらの起動手段は、たとえば当該薄膜デバイスと電気的に接触するコンタクト、又は、たとえば当該薄膜デバイスが発光するように制御することが可能な電源を有して良い。
当該薄膜デバイスから光が放出されるので、前記の放出された光の局所的な変化はカメラによって検出されて良い。前記カメラは、前記局所的な裂け目の位置を決定し、かつこの位置情報を修繕手段に供する、前記修繕手段は、続いて前記の検出された位置に前記修繕材料を堆積する。当該薄膜デバイスを照射するのに追加の光源は必要とされないので、前記局所的な裂け目の検出は単純化される。さらに当該薄膜デバイスによって放出される光の強度はたとえば、検出系の要件に合致するように、すなわち局所的な裂け目の検出を最適化するように、当該薄膜デバイスと接続する電源によって制御されて良い。たとえば、当該薄膜デバイスから放出される光の光強度が高すぎるときには、小さな黒点による強度変化は、前記検出系によっては実質的に検出不可能である。その一方で、当該薄膜デバイスによって放出される光の強度が減少するときには、同一の検出系は同一の黒点を容易に検出することができる。そのため、最適な照射状況は実験的に発見されて良い。
当該システムの実施例では、前記修繕手段は、レーザー照射によって前記修繕材料を移動させることで前記局所的な裂け目を封止するレーザー移動手段を有する。当該システムの実施例では、前記修繕手段は、前記修繕材料の液体前駆体をプリントするプリント手段を有する。前記修繕材料の液体前駆体は、プリント後、前記局所的な裂け目を封止する修繕材料に変換される。当該システムの実施例では、前記修繕手段は、電解メッキによって前記修繕材料を移動させることで前記局所的な裂け目を封止する電解メッキ手段を有する。当該システムの実施例では、前記修繕手段は、前記封止層の封止材料を局所的に硬化することで前記局所的な裂け目を封止する硬化手段を有する。
本発明の第4態様は、封止された薄膜デバイスを作製するため、処理システムに、薄膜デバイスに堆積された封止層を修理する方法の工程を実行させるための命令を有するコンピュータプログラム製品を有する。
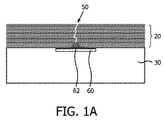
封止層及び局所的な裂け目を有する薄膜デバイスを図示している。 本発明による封止された薄膜デバイスの概略的断面図を表している。 本発明による封止された薄膜デバイスの概略的断面図を表している。 本発明による封止された薄膜デバイスの概略的断面図を表している。 局所的な裂け目を有する封止層の走査電子顕微鏡像を図示している。 薄膜デバイスに堆積された封止層を修理することで、封止された薄膜デバイスを生成するシステムの概略図を表している。 薄膜デバイスに堆積された封止層を修理する方法における可能な工程を表す流れ図を示している。
図1Aは、封止層20及び局所的な裂け目50を有する薄膜デバイス30を図示している。薄膜デバイス30は一般的に、一体となって電気回路30、電気光学素子30、又はたとえば光学素子30を構成する複数の積層された層(図示されていない)を有する。係る電気回路30は一般的に、小型化された電気回路−ICとしても知られている−である。電気光学素子30はたとえば、発光ダイオード30、有機発光ダイオード30、又はレーザーダイオード30を有するので、典型的には、たとえば有機発光層で構成することができる発光層と結合したダイオード回路に等しい電気回路を有する。ダイオード回路と結合した発光層が有機発光層で構成される場合には、有機発光ダイオード30(OLEDとも呼ばれる)が形成される。光学素子30は、たとえば導光体(図示されていない)及び光ゲート(図示されていない)を有する光学回路を構成する複数の光学層を有して良い。係る光学素子30は通常、集積回路と同様の機能を実行するように設計することが可能で、かつ集積回路を置き換えるように設計される。
これらの薄膜デバイス30の各々は、外界の影響から当該デバイスを保護するためにある種の封止層20を必要とする。当該薄膜デバイス30に供される封止の品質は通常、当該薄膜デバイス30の動作寿命を決定する。特に当該薄膜デバイス30がOLEDデバイス30であるときには、当該OLEDデバイス30の封止は重要である。なぜなら水が当該OLEDデバイス内部で引き起こす腐食効果は通常、当該OLEDデバイス30内で局所的に黒点60を発生させるからである。腐食効果に起因する黒点60は、たとえば封止層20内の局所的な裂け目50を起点として放射状に成長し続ける。そのような局所的な裂け目50は、封止層20が薄膜デバイス30に堆積される間又はその前に埃粒子が存在することで生じると考えられる。長時間にわたって、腐食効果は、人の目にも見えるようになる。この効果は、当該OLEDデバイス30が照明目的に用いられるときには一般的に許容できないようなものである。結局腐食効果は、当該OLEDデバイス全体を破壊してしまい、当該OLEDデバイスは、光を生成できなくなってしまう。
当該薄膜デバイス30の厚さを減少させ、かつ当該薄膜デバイス30の製造コストを削減するため、封止は、当該薄膜デバイス30に直接堆積された封止層20によって実現されることが好ましい。係る封止層20は周知であり、特にOLEDデバイス30に堆積される。既知の封止層20はたとえば、シリコン窒化物−有機材料−シリコン窒化物を有する複数の層の積層体を有して良い。有機層は相対的に厚いことで、任意の層内に存在しうる粒子をも平坦化することができる。この積層体で構成される封止層20は、黒点の発生を防止するのではなく、水が当該OLEDデバイスへ入り込む経路を曲がりくねったものにすることで黒点の成長を遅らせる。
あるいはその代わりに封止層20は、複数の無機層及び/又は電気化学メッキにより構築された層で構成されて良い。封止層20はたとえば、シリコン窒化物−シリコン酸化物−シリコン窒化物又はシリコン窒化物−シリコン酸窒化物−シリコン窒化物を有する積層体−NON積層体とも呼ばれる−を有する。係るNON積層体は一般的に、この基本積層体を複数回−たとえば約8層−繰り返したものを有して良い。これらの代替封止層20では、生じる黒点60の数は顕著に減少する。しかし、係る代替封止層20内の残りの局所的な裂け目50は、黒点60を相対的に速く(湿った環境中では約1時間以内に可視となる)連続的に成長させてしまう。
本願発明者らは、他の封止層20を加えて前記薄膜デバイス30を封止すること又は前記封止層20を構成する積層体にさらに層を加えることは、問題のほんの一部しか解決していない。なぜなら他の封止層20の各々は、埃粒子62を内部に埋め込ませる危険性を再度有することで、前記他の封止層20の局所的な裂け目50を再度生成してしまう恐れがあるからである。他の封止層20を加えることは、さらなる負の効果を有する。そのさらなる負の効果とは、他の封止層20の各々が、当該封止された薄膜デバイスに製造コストを加えることで、動作寿命の改善は顕著及び/又は十分でないにもかかわらず、当該封止された薄膜デバイスのコストを増大させることである。
図1B〜図1Dは、本発明による封止された薄膜デバイス10,12,14の概略的断面図を表している。封止された薄膜デバイス10,12,14は、薄膜デバイス30及び該薄膜デバイス30を保護するために前記薄膜デバイス30上に堆積された封止層20を有する。封止された薄膜デバイス10,12,14は、封止層20内の局所的な裂け目50を封止する局所的に堆積された修繕材料40,42,44をさらに有する。その結果、局所的な裂け目50は、修繕材料40,42,44を局所的に堆積することによって封止されることで、有害な周辺物質が薄膜デバイス30に接触するのを防止し、よって当該薄膜デバイス30の動作寿命が改善される。さらに、本発明による、薄膜デバイス30に堆積された封止層20を修理する方法は一般的に、局所的な裂け目50を封止するのに、ほんのわずかな修繕材料40,42,44しか必要としない。
局所的な裂け目50とは、有害な周囲の物質が当該薄膜デバイス30へ入り込むことで、当該薄膜デバイス30に損傷を与え(始め)ることを可能にする、前記封止層20内での局所的な変形と定義される。この点では、「裂け目」(breach)という語は、ギャップ、決壊、及びピンホールを網羅するように選ばれている。それに加えて「裂け目」という語は、封止層20が実際に壊れているわけではないが、裂け目50の位置での封止層が、たとえば有害周辺物質に対して有孔性であるために封止を行うことができない状況をも網羅するように選ばれる。
図1Bは、封止された薄膜デバイス10の実施例を図示している。1種類の修繕材料40が封止層20に設けられることで、封止された薄膜デバイス10が生成される。この1種類の修繕材料40はたとえば、無機材料40、封止層20上で局所的に堆積されている金属材料40を有して良い。このような修繕材料40の局所的な堆積は、周知の堆積方法−たとえばレーザー堆積法及びプリント堆積法−を用いることによって行われて良い。そのような堆積法の利点は、比較的よく知られていること、及び、修繕材料40又は液化した修繕材料45(図3を参照のこと)を、封止層20上で局所的に堆積するのに、プリント法に対してわずかに適合させることしか求められないことである。あるいはその代わりに、前記修繕材料は、局所的に硬化した封止材料40をも有して良い。また封止層20は局所的に軟化されても良い。それに続き、軟化された封止材料は、たとえば重力、毛管力、及び/若しくは表面張力の影響下で、裂け目50付近まで流れるか、又は、他の方法によって裂け目50へ入り込む。それに続く軟化した封止材料の硬化は、局所的な裂け目50を封止するのに用いることのできる局所的に硬化した封止材料40を生成する。
局所的に堆積された修繕材料40は、薄膜デバイス30によって放出される光の少なくとも一部に対して透明であって良い。この実施例では、薄膜デバイス30は当然のこととして、発光薄膜デバイス−たとえばOLED30−である。このような少なくとも一部に対して透明な修繕材料40は、発光薄膜デバイス30の発光層から放出される光を遮断せず、堆積された修繕材料40を見えない状態にする。それに加えて、有機発光層の典型的なランベルト発光特性に起因して、堆積された修繕材料40に隣接する領域で放出される光の一部は、前記堆積された修繕材料40を通り抜けることで、局所的な裂け目50の存在及び局所的な裂け目50を起源とする黒点60の存在に起因する局所的な強度の変化が抑制される。最終的に、実質的に透明な材料が存在ことで、封止層20内で捕獲された光が、発光薄膜デバイス30から取り出される。よって堆積された修繕材料40の位置での強度変化が抑制される。
あるいはその代わりに、局所的に堆積された修繕材料40の寸法は、裸眼で実質的に視認できないほど十分小さい。このことは一般的に、寸法が、人間の目で知覚可能な最小部位サイズよりも小さいこと、及び/又は、修繕材料40の存在に起因する強度変化は人間の目では視認されないことを意味する。
図1Cは、封止された薄膜デバイス12の実施例を図示している。この実施例では、続いて、2つの異なる種類の修繕材料42と44を組み合わせたものが、封止層20に堆積されることで、封止された薄膜デバイス10が生成される。第1材料44はたとえば、封止材料20への後続の閉口材料42の接合を改善する接合材料44であって良い。第1材料44はまた、金属の閉口材料42が金属の基本材料44上に配置された後の金属の基本材料44であって良い。それにより、前記金属の基本材料44内の別な局所的裂け目(図示されていない)は閉じられる。第1材料44はまた、局所的な裂け目50の隣の水を吸収するゲッター材料をも有して良く、かつ、そのゲッター材料は、該ゲッター材料を含む第1材料上部に堆積された閉口材料42を通過できる水を吸収する。
第1材料44は、実質的に液滴形状又は実質的に球体形状を有して良い。前記形状内では、第1材料44と封止層20との間の接触角は45°未満である。そのような第1材料44は、局所的な裂け目50の良好な封止を保証するため、封止層20と第1材料44との間で良好な接触を有するように選ばれる。続いて閉口材料42は、薄膜デバイスを密閉することを保証して、封止された薄膜デバイス12を作製するため、第1材料44上に堆積される。
図1Dは封止された薄膜デバイス14を図示している。封止された薄膜デバイス14では、第1材料44は、封止層20全体にわたって実質的に均一の層として堆積される接合層44である。封止層20全体にわたる均一な層として接合層44を堆積することは便利であると考えられる。接合層44内に存在するさらなる粒子(図示されていない)は実質的に害を及ぼさない。なぜなら一般的には、周辺からの有害物質は、封止層44を通り抜けるマイグレーションを起こさないからである。さらに、そのようなさらなる粒子が、局所的裂け目50の厳密な位置に位置する可能性はあまりに小さいので、このことは、封止された薄膜デバイス14の製造歩留まりにほとんど影響しない。実際の閉口材料42は、識別された局所的な裂け目50で封止層220を局所的に封止するように堆積される。あるいはその代わりに、接合材料44と閉口材料42のいずれも、図1Cと同様に、局所的な裂け目50を封止するように局所的に堆積される。
図2は、局所的な裂け目50を有する封止層20の走査電子顕微鏡像を図示している。NON積層体20(図2では”TFE”で表されている)の形態をとる封止層20は粒子62をも覆っている。その結果、封止層20は、薄膜デバイス30を完全に封止せず、局所的な裂け目50を有する。この裂け目50を通って、水は、OLEDデバイス30へ入り込み、かつ、OLEDデバイス30が(ほとんど)光を放出しない場所で局所的に黒点が生じさせる恐れがある。
図3は、薄膜デバイス30に堆積された封止層20を修理して、封止された薄膜デバイス10,12,14を作製するシステム200の概略図を表している。当該システム200は、薄膜デバイス30に堆積された封止層20内の局所的な裂け目50を検出する検出手段210を有する。係る検出手段210はたとえば光学検出手段210−たとえばカメラ210−であって良い。しかし他の検出手段210−たとえば電気的検出(図示されていない)、音響的検出(図示されていない)、又は他の種類の検出手段−も用いられても良い。当該システム200は、検出手段210からの検出信号を解析して、位置情報を修繕手段220へ供する解析手段230をさらに有する。修繕手段240は、局所的な堆積手段220−たとえばレーザー堆積手段(図示されていない)又は、図2に図示されたインクジェットプリント手段220のような液体プリント堆積手段220−であって良い。一般的には、修繕材料40,42,44を堆積する任意の堆積手段220が用いられて良い。
当該システム200はまた、所定の期間中、封止層20と一つになった薄膜デバイス30を所定の条件に設定された環境中に維持する環境制御手段260をも有して良い。図3では、タイミング手段250及び環境制御手段260が、検出手段210、解析手段230、及び修繕手段220を取り囲むように図示されている。しかしタイミング手段250及び環境制御手段260は、実際の検出手段210及び修繕手段220とは異なる場所に設けられても良い。前述したように、薄膜デバイス30がOLEDデバイスであるときには、黒点60は放射状に成長し続ける。所定期間、薄膜デバイス30を所定環境にすることによって、欠陥の連続成長の制御は、黒点60が、裸眼で検出できないほど小さいサイズに成長することを可能にするようにされる一方で、自動画像取得210及び解析システム230が、封止層20内の局所的な裂け目50を十分に識別できる。所定期間は、薄膜デバイス30が維持される環境、並びに、たとえば薄膜デバイス30が維持される温度及び湿度に依存する。所定期間はまた、当該システム200において用いられる画像取得装置210によって検出可能な最小寸法、及び、封止層20を修理するシステム200によって封止されなければならない局所的な裂け目50の寸法にも依存する。
あるいはその代わりに、当該システム200はまた、さらなるタイミング手段(図示されていない)及びさらなる環境制御手段(図示されていない)をも有して良い。前記さらなる環境制御手段は、堆積された修繕材料40,42,44が封止層20を実際に封止したのか否かをチェックするため、封止された薄膜デバイス10,12,14を維持するように構成されている。修理が十分良好ではない場合、識別された黒点60は、前記さらなる環境制御手段内で成長し続ける。前記識別された黒点60は、薄膜デバイス30を連続的に監視することによって、又は、検出された局所的な裂け目50と、修理前に検出手段によって取得された情報とを比較することによって検出されて良い。局所的な裂け目50の封止は、前記さらなる環境制御手段を用いることによって得ることができる。係るシステムでは、さらなる検出手段が好ましいようにも思える。検出手段によって検出される(2つの)画像の解析は、解析手段230又はさらなる解析手段(図示されていない)によって行われて良い。
図3に図示されたシステム200はまた、検出手段210から修繕手段220へ、たとえば矢印の方向に、薄膜デバイス30を制御しながら移動させる輸送手段をも有する。輸送手段220は、検出手段210に対する輸送手段240の位置を測定する一種の定規(図3で0〜7の数字が表示されている)を有し、かつ、この信号を解析手段230へ供することで、検出された局所的な裂け目50がどこに存在するのかについての位置情報を決定する。さらに当該システム200は、薄膜デバイス30を起動する起動手段270を有して良い。薄膜デバイス30が発光薄膜デバイス30であるとき、発光薄膜デバイス30は、検出手段210によって利用可能な光の放出を開始することで、局所的な裂け目50を識別する。
図4は、薄膜デバイス30に堆積された封止層20を修理する方法100における可能な工程を表す流れ図を示している。
封止層20を修理する方法100は、任意の工程である「応力の印加」105、「条件設定された環境で待つ」110、及び「薄膜デバイスを起動させる」115で始まる。これらの工程は任意である。そのため、応力を印加する工程105は、封止層20内の局所的な裂け目を封止する前に薄膜デバイス30内の機械的に弱い領域を検出するために行われて良く、かつ、条件設定された環境で待つ工程110は、たとえばOLEDデバイス30内での黒点60の成長の制御を促進することができるが、封止層20内の局所的な裂け目50を識別するために絶対に必要という訳ではない。また薄膜デバイス30を起動させる起動工程115は、封止層20内の局所的な裂け目50の識別を容易にすることができる。しかし検出手段210が、発光薄膜デバイス30を切り換える必要なく裂け目を検出することができる場合には、起動工程115は省略されて良い。その後、局所的な裂け目50が検出される間、「局所的な裂け目を検出する」工程120が実行される。この検出は、封止層20内の局所的な裂け目50を識別及び特定するのに適した他の検出方法によって行われても良い。その後「修繕材料を堆積する」工程140が、修繕材料40,42,44を堆積するように実行される。この修繕材料を堆積する工程140は、修繕材料40,42,44を堆積することにより、又は封止材料20を局所的に硬化させることにより実行されて良く、それにより封止層20内の裂け目50を閉じる。「さらに材料を堆積する」工程142が図示されている。工程142は、修繕材料40,42,44が、裂け目50を封止するために、続けて封止層20に堆積されなければならない2種類の異なる修繕材料42,44で構成されるときに必要になると考えられる。最終的に、修理方法100は「チェック」工程150を有する。工程150の間、修理の品質がチェックされたか否かの選択を加えることができる。修理の品質がチェックされなければならない場合、当該方法100は、図3に図示されたのと同一の修理システム300によって、又は、図3のシステムと同様に機能するか、若しくは図3のシステムと同様である別な修理システム200によって再実行されなければならない。修理の品質のチェックは工程110で開始されて良い。工程110では、修理された薄膜デバイス30は、制御しながら黒点60を成長させるため、条件設定された環境に再度置かれる。あるいはその代わりに、修理の品質のチェックは、薄膜デバイスを起動する工程115、又は局所的な裂け目50を検出する工程120で開始されても良い。

Claims (14)

  1. 薄膜デバイス、及び、前記薄膜デバイス上に設けられることで環境の影響から前記薄膜デバイスを保護する封止層を有し、前記封止層内の局所的な裂け目を封止するために局所的に堆積された修繕材料をさらに有する、発光薄膜デバイスである封止された薄膜デバイスであって、
    前記修繕材料は、前記封止層内の局所的な裂け目を封止するために一つとなる2種類の異なる材料を有し、
    前記修繕材料は実質的に液滴形状すなわち実質的に球状の第1材料及び閉口材料を有し、前記実質的に液滴形状すなわち実質的に球状の第1材料は、前記封止層と45°未満の接触角をなし、前記閉口材料は、前記局所的な裂け目を完全に封止するため、前記実質的に液滴形状すなわち実質的に球状の第1材料を覆う、
    薄膜デバイス。
  2. 前記の局所的に堆積された修繕材料は、当該薄膜デバイスにとって放出される光の少なくとも一部に対して透明で、かつ
    前記の局所的に堆積された修繕材料の寸法は、裸眼では実質的に不可視となるように構成される、
    請求項1に記載の封止された薄膜デバイス。
  3. 封止された薄膜デバイスを生成するため、発光薄膜デバイスである薄膜デバイスを環境の影響から保護するために前記薄膜デバイスに堆積された封止層を修理する方法であって:
    前記封止層内の局所的な裂け目を検出する工程;及び、
    前記局所的な裂け目を封止するために修繕材料を局所的に堆積することで、当該封止された薄膜デバイスを作製する工程;
    を有し、
    さらに、
    実質的に液滴形状すなわち実質的に球状の第1材料及び閉口材料を局所的に堆積する工程、及び、該堆積する工程に続いて、前記局所的な裂け目を封止するため、閉口材料を堆積することで、前記実質的に液滴形状すなわち実質的に球状の第1材料を覆う工程であって、前記実質的に液滴形状すなわち実質的に球状の第1材料は、前記封止層と45°未満の接触角をなす、工程;
    有する方法。
  4. 前記封止層内の局所的な裂け目を検出する工程の前又は間に、前記封止層を有する当該薄膜デバイスを、所定期間の間、所定の環境中に維持する工程をさらに有する、請求項3に記載の方法。
  5. 当該薄膜デバイスの機械的に弱い領域内に局所的な裂け目を生成するため、当該薄膜デバイスに機械的応力を印加する工程をさらに有する、請求項3又は4に記載の方法。
  6. 前記局所的な裂け目を検出する工程が:
    前記封止層内の局所的な裂け目を光学的に検出する工程;及び
    当該薄膜デバイスを起動して発光させる工程、及び該起動して発光させる工程に続いて、前記封止層内の局所的な裂け目を光学的に検出する工程;
    を有する、
    請求項3乃至5のうちいずれか一項に記載の方法。
  7. 前記修繕材料を局所的に堆積する工程は:
    前記修繕材料を、レーザーで移すことによって局所的に堆積する工程;及び/又は、
    前記修繕材料の液体前駆体をプリントすることによって、前記修繕材料を局所的に堆積する工程であって、前記修繕材料の液体前駆体は、プリント後、前記局所的な裂け目を封止する修繕材料に変換される工程;及び/又は、
    前記修繕材料を、電解メッキ法により局所的に堆積する工程;及び/又は、
    前記封止層からの封止材料を局所的に硬化させることで、前記局所的な裂け目を封止する工程;
    を有する、請求項3乃至6のうちいずれか一項に記載の方法。
  8. 前記修繕材料を局所的に堆積する工程は、当該薄膜デバイスによって放出される光の少なくとも一部を透過する修繕材料を局所的に堆積する工程を有し、又は、
    前記修繕材料を局所的に堆積する工程は、実質的に裸眼では不可視となるように、前記局所的に堆積された修繕材料の寸法を生成する工程を有する、
    請求項3乃至7のうちいずれか一項に記載の方法。
  9. 封止された薄膜デバイスを生成するため、発光薄膜デバイスである薄膜デバイスを環境の影響から保護するために前記薄膜デバイスに堆積された封止層を修理するシステムであって:
    前記封止層内の局所的な裂け目を検出する検出手段;
    前記検出手段による検出後に前記局所的な裂け目を特定し、その後に位置情報を修繕手段に供する解析手段;及び、
    前記解析手段からの位置情報を受け取り、かつ修繕材料を局所的に堆積することで、前記封止層内の局所的な裂け目を封止する修繕手段;
    を有するシステムであって、
    前記修繕手段は:
    実質的に液滴形状すなわち実質的に球状の第1材料及び閉口材料を局所的に堆積する工程、及び、該堆積する工程に続いて、前記局所的な裂け目を封止するため、閉口材料を堆積することで、前記実質的に液滴形状すなわち実質的に球状の第1材料を覆う工程であって、前記実質的に液滴形状すなわち実質的に球状の第1材料は、前記封止層と45°未満の接触角をなす、工程;
    行うように構成される、システム。
  10. タイミング手段及び環境制御手段をさらに有する請求項9に記載のシステムであって、前記タイミング手段は前記環境制御手段と一体となって、前記検出手段が前記封止層内の局所的な裂け目の検出を開始する前又は該検出中に、前記封止層を有する薄膜デバイスを、所定期間の間、所定の環境に維持するように構成される、システム。
  11. 当該薄膜デバイスの機械的に弱い領域内に局所的な裂け目を生成する応力誘起手段をさらに有する、請求項9又は10に記載のシステム。
  12. 当該薄膜デバイスを起動することで発光させる起動手段をさらに有する、請求項9乃至11のうちいずれか一項に記載のシステム。
  13. 前記修繕手段が:
    レーザー照射によって前記修繕材料を移動させることで前記局所的な裂け目を封止するレーザー移動手段;及び/又は、
    前記修繕材料の液体前駆体をプリントするプリント手段であって、前記修繕材料の液体前駆体は、プリント後、前記局所的な裂け目を封止する修繕材料に変換される手段;及び/又は、
    電解メッキによって前記修繕材料を移動させることで前記局所的な裂け目を封止する電解メッキ手段;及び/又は、
    前記封止層の封止材料を局所的に硬化することで前記局所的な裂け目を封止する硬化手段;
    を有する、請求項9乃至12のうちいずれか一項に記載のシステム。
  14. 処理システムに、請求項3乃至8のうちいずれか一項に記載の方法の工程を実行させるための命令を有するコンピュータプログラム
JP2012512491A 2009-05-27 2010-05-20 封止された薄膜デバイス、並びに当該薄膜デバイスに堆積された封止層を修理する方法及びシステム Active JP5773537B2 (ja)

Applications Claiming Priority (3)

Application Number Priority Date Filing Date Title
EP09161241.6 2009-05-27
EP09161241 2009-05-27
PCT/IB2010/052233 WO2010136938A1 (en) 2009-05-27 2010-05-20 Sealed thin-film device, method of and system for repairing a sealing layer applied to a thin-film device

Publications (2)

Publication Number Publication Date
JP2012528441A JP2012528441A (ja) 2012-11-12
JP5773537B2 true JP5773537B2 (ja) 2015-09-02

Family

ID=42730663

Family Applications (1)

Application Number Title Priority Date Filing Date
JP2012512491A Active JP5773537B2 (ja) 2009-05-27 2010-05-20 封止された薄膜デバイス、並びに当該薄膜デバイスに堆積された封止層を修理する方法及びシステム

Country Status (5)

Country Link
US (1) US9034663B2 (ja)
EP (1) EP2436059B1 (ja)
JP (1) JP5773537B2 (ja)
CN (1) CN102484211B (ja)
WO (1) WO2010136938A1 (ja)

Families Citing this family (6)

* Cited by examiner, † Cited by third party
Publication number Priority date Publication date Assignee Title
EP2597697A1 (en) 2011-11-28 2013-05-29 Nederlandse Organisatie voor toegepast -natuurwetenschappelijk onderzoek TNO Sealed thin-film device as well as method of repairing, system for repairing and computer program product
DE102015204960A1 (de) * 2015-03-19 2016-09-22 Osram Oled Gmbh Elektronisches Bauelement und Verfahren zur Herstellung eines elektronischen Bauelements
CN108470841B (zh) * 2017-02-23 2020-10-09 上海和辉光电股份有限公司 显示器件、显示面板以及显示面板封装良率的测量方法
CN108807579B (zh) * 2018-06-08 2020-01-21 汉能新材料科技有限公司 薄膜封装方法和器件、薄膜封装系统、太阳能电池
CN112614959B (zh) * 2020-12-16 2022-10-04 武汉华星光电半导体显示技术有限公司 显示面板及其制备方法、显示装置
KR20240040311A (ko) * 2022-09-21 2024-03-28 엘지디스플레이 주식회사 전계 발광 표시 장치

Family Cites Families (15)

* Cited by examiner, † Cited by third party
Publication number Priority date Publication date Assignee Title
US6548895B1 (en) * 2001-02-21 2003-04-15 Sandia Corporation Packaging of electro-microfluidic devices
JP4701087B2 (ja) * 2004-01-21 2011-06-15 パイオニア株式会社 半導体装置およびその製造方法
JP2006004781A (ja) 2004-06-17 2006-01-05 Tohoku Pioneer Corp 有機el素子および有機el表示パネル
KR100623722B1 (ko) 2004-11-26 2006-09-19 삼성에스디아이 주식회사 유기전계발광표시장치 및 그 제조방법
JP2008097828A (ja) * 2005-01-21 2008-04-24 Pioneer Electronic Corp 有機el素子の製造方法およびこれにより得られた有機el素子
JP2007066656A (ja) 2005-08-30 2007-03-15 Toyota Industries Corp 有機エレクトロルミネッセンス素子及びその製造方法並びに有機エレクトロルミネッセンス素子の修理方法
KR100722100B1 (ko) 2005-10-31 2007-05-25 삼성에스디아이 주식회사 유기 발광소자 및 그 제조방법
JP5205724B2 (ja) * 2006-08-04 2013-06-05 日亜化学工業株式会社 発光装置
PL2082619T3 (pl) 2006-11-06 2023-03-13 Agency For Science, Technology And Research Nanocząstkowy enkapsulujący stos barierowy
JP4976116B2 (ja) 2006-12-06 2012-07-18 日本合成化学工業株式会社 ガスバリア積層体
US8174187B2 (en) * 2007-01-15 2012-05-08 Global Oled Technology Llc Light-emitting device having improved light output
WO2008099316A1 (en) 2007-02-13 2008-08-21 Philips Intellectual Property & Standards Gmbh Defect treatment apparatus
US8062085B2 (en) 2007-03-23 2011-11-22 Canon Kabushiki Kaisha Method of producing organic light emitting device
JP2008268880A (ja) * 2007-03-23 2008-11-06 Canon Inc 有機発光装置の製造方法
JP2008251292A (ja) 2007-03-29 2008-10-16 Fujifilm Corp 有機el発光装置

Also Published As

Publication number Publication date
EP2436059A1 (en) 2012-04-04
US9034663B2 (en) 2015-05-19
CN102484211A (zh) 2012-05-30
WO2010136938A1 (en) 2010-12-02
JP2012528441A (ja) 2012-11-12
CN102484211B (zh) 2015-01-28
US20120098027A1 (en) 2012-04-26
EP2436059B1 (en) 2017-03-29

Similar Documents

Publication Publication Date Title
US9379356B2 (en) Sealed thin-film device as well as method of repairing, system for repairing and computer program product
JP5773537B2 (ja) 封止された薄膜デバイス、並びに当該薄膜デバイスに堆積された封止層を修理する方法及びシステム
KR100721948B1 (ko) 유기 전계 발광 표시 장치 및 그의 제조 방법
JP5133228B2 (ja) 有機el表示装置の製造方法および有機el表示装置
CN102227952B (zh) 有源矩阵型有机电致发光显示器的制造方法
WO2018018985A1 (zh) Oled显示装置及其封装效果的检修方法
JP2006323032A (ja) フラットパネルディスプレイディバイスの欠陥画素リペア装置及びその欠陥画素リペア方法
CN108253898A (zh) 检测设备及使用该检测设备的检测方法
CN102738415A (zh) 有机电致发光显示器的制造方法
JP2005032576A (ja) 多色有機発光表示素子の修復方法および修復装置
JP2012216514A (ja) 発光装置、及び発光装置の作製方法
WO2014087282A1 (en) Electrical device, in particular organic light emitting device.
US8765494B2 (en) Method for fabricating organic EL device and method for evaluating organic EL device
CN105334217A (zh) 光学薄膜检测装置及缺陷检测方法
KR20110113089A (ko) 유기 발광 표시 장치의 리페어 방법
JP2011090840A (ja) 有機el装置、有機el装置の製造方法、及び、有機el装置の製造装置
KR102222724B1 (ko) 유기전자소자의 보호막 결함 검사 방법
KR20120004000A (ko) 유기 발광 표시 장치의 리페어 방법
TW552827B (en) Apparatus of repairing organic light-emitting element defect
US8974263B2 (en) Method of manufacturing organic light emitting diode arrays and system for eliminating defects in organic light emitting diode arrays
JP2007066656A (ja) 有機エレクトロルミネッセンス素子及びその製造方法並びに有機エレクトロルミネッセンス素子の修理方法
JP2010231928A (ja) 欠陥検査装置
JP2024079235A (ja) 発光素子の検査方法及び製造方法
JP2009199851A (ja) 有機elパネルのリペア装置およびリペア方法

Legal Events

Date Code Title Description
A621 Written request for application examination

Free format text: JAPANESE INTERMEDIATE CODE: A621

Effective date: 20130517

A977 Report on retrieval

Free format text: JAPANESE INTERMEDIATE CODE: A971007

Effective date: 20140127

A131 Notification of reasons for refusal

Free format text: JAPANESE INTERMEDIATE CODE: A131

Effective date: 20140204

A601 Written request for extension of time

Free format text: JAPANESE INTERMEDIATE CODE: A601

Effective date: 20140501

A602 Written permission of extension of time

Free format text: JAPANESE INTERMEDIATE CODE: A602

Effective date: 20140512

A521 Request for written amendment filed

Free format text: JAPANESE INTERMEDIATE CODE: A523

Effective date: 20140801

A02 Decision of refusal

Free format text: JAPANESE INTERMEDIATE CODE: A02

Effective date: 20141202

A521 Request for written amendment filed

Free format text: JAPANESE INTERMEDIATE CODE: A523

Effective date: 20150327

A911 Transfer to examiner for re-examination before appeal (zenchi)

Free format text: JAPANESE INTERMEDIATE CODE: A911

Effective date: 20150410

TRDD Decision of grant or rejection written
A01 Written decision to grant a patent or to grant a registration (utility model)

Free format text: JAPANESE INTERMEDIATE CODE: A01

Effective date: 20150602

RD02 Notification of acceptance of power of attorney

Free format text: JAPANESE INTERMEDIATE CODE: A7422

Effective date: 20150612

A61 First payment of annual fees (during grant procedure)

Free format text: JAPANESE INTERMEDIATE CODE: A61

Effective date: 20150629

R150 Certificate of patent or registration of utility model

Ref document number: 5773537

Country of ref document: JP

Free format text: JAPANESE INTERMEDIATE CODE: R150

S111 Request for change of ownership or part of ownership

Free format text: JAPANESE INTERMEDIATE CODE: R313117

R350 Written notification of registration of transfer

Free format text: JAPANESE INTERMEDIATE CODE: R350

R250 Receipt of annual fees

Free format text: JAPANESE INTERMEDIATE CODE: R250

R250 Receipt of annual fees

Free format text: JAPANESE INTERMEDIATE CODE: R250

R250 Receipt of annual fees

Free format text: JAPANESE INTERMEDIATE CODE: R250

R250 Receipt of annual fees

Free format text: JAPANESE INTERMEDIATE CODE: R250

R250 Receipt of annual fees

Free format text: JAPANESE INTERMEDIATE CODE: R250

R250 Receipt of annual fees

Free format text: JAPANESE INTERMEDIATE CODE: R250

R250 Receipt of annual fees

Free format text: JAPANESE INTERMEDIATE CODE: R250

R250 Receipt of annual fees

Free format text: JAPANESE INTERMEDIATE CODE: R250