JP5740397B2 - 電気機械式モーター - Google Patents

電気機械式モーター Download PDF

Info

Publication number
JP5740397B2
JP5740397B2 JP2012515363A JP2012515363A JP5740397B2 JP 5740397 B2 JP5740397 B2 JP 5740397B2 JP 2012515363 A JP2012515363 A JP 2012515363A JP 2012515363 A JP2012515363 A JP 2012515363A JP 5740397 B2 JP5740397 B2 JP 5740397B2
Authority
JP
Japan
Prior art keywords
actuator
interaction
electromechanical
electrical signal
interaction part
Prior art date
Legal status (The legal status is an assumption and is not a legal conclusion. Google has not performed a legal analysis and makes no representation as to the accuracy of the status listed.)
Expired - Fee Related
Application number
JP2012515363A
Other languages
English (en)
Other versions
JP2012531177A (ja
Inventor
ヨハンソン、 ステファン
ステファン ヨハンソン、
Original Assignee
ピエゾモーター ウプサラ エイビー
ピエゾモーター ウプサラ エイビー
Priority date (The priority date is an assumption and is not a legal conclusion. Google has not performed a legal analysis and makes no representation as to the accuracy of the date listed.)
Filing date
Publication date
Application filed by ピエゾモーター ウプサラ エイビー, ピエゾモーター ウプサラ エイビー filed Critical ピエゾモーター ウプサラ エイビー
Publication of JP2012531177A publication Critical patent/JP2012531177A/ja
Application granted granted Critical
Publication of JP5740397B2 publication Critical patent/JP5740397B2/ja
Expired - Fee Related legal-status Critical Current
Anticipated expiration legal-status Critical

Links

Images

Classifications

    • HELECTRICITY
    • H02GENERATION; CONVERSION OR DISTRIBUTION OF ELECTRIC POWER
    • H02NELECTRIC MACHINES NOT OTHERWISE PROVIDED FOR
    • H02N2/00Electric machines in general using piezoelectric effect, electrostriction or magnetostriction
    • H02N2/02Electric machines in general using piezoelectric effect, electrostriction or magnetostriction producing linear motion, e.g. actuators; Linear positioners ; Linear motors
    • H02N2/04Constructional details
    • H02N2/043Mechanical transmission means, e.g. for stroke amplification
    • HELECTRICITY
    • H02GENERATION; CONVERSION OR DISTRIBUTION OF ELECTRIC POWER
    • H02NELECTRIC MACHINES NOT OTHERWISE PROVIDED FOR
    • H02N2/00Electric machines in general using piezoelectric effect, electrostriction or magnetostriction
    • HELECTRICITY
    • H02GENERATION; CONVERSION OR DISTRIBUTION OF ELECTRIC POWER
    • H02NELECTRIC MACHINES NOT OTHERWISE PROVIDED FOR
    • H02N2/00Electric machines in general using piezoelectric effect, electrostriction or magnetostriction
    • H02N2/02Electric machines in general using piezoelectric effect, electrostriction or magnetostriction producing linear motion, e.g. actuators; Linear positioners ; Linear motors
    • H02N2/021Electric machines in general using piezoelectric effect, electrostriction or magnetostriction producing linear motion, e.g. actuators; Linear positioners ; Linear motors using intermittent driving, e.g. step motors, piezoleg motors
    • HELECTRICITY
    • H02GENERATION; CONVERSION OR DISTRIBUTION OF ELECTRIC POWER
    • H02NELECTRIC MACHINES NOT OTHERWISE PROVIDED FOR
    • H02N2/00Electric machines in general using piezoelectric effect, electrostriction or magnetostriction
    • H02N2/02Electric machines in general using piezoelectric effect, electrostriction or magnetostriction producing linear motion, e.g. actuators; Linear positioners ; Linear motors
    • H02N2/04Constructional details
    • HELECTRICITY
    • H02GENERATION; CONVERSION OR DISTRIBUTION OF ELECTRIC POWER
    • H02NELECTRIC MACHINES NOT OTHERWISE PROVIDED FOR
    • H02N2/00Electric machines in general using piezoelectric effect, electrostriction or magnetostriction
    • H02N2/02Electric machines in general using piezoelectric effect, electrostriction or magnetostriction producing linear motion, e.g. actuators; Linear positioners ; Linear motors
    • H02N2/06Drive circuits; Control arrangements or methods
    • HELECTRICITY
    • H02GENERATION; CONVERSION OR DISTRIBUTION OF ELECTRIC POWER
    • H02NELECTRIC MACHINES NOT OTHERWISE PROVIDED FOR
    • H02N2/00Electric machines in general using piezoelectric effect, electrostriction or magnetostriction
    • H02N2/02Electric machines in general using piezoelectric effect, electrostriction or magnetostriction producing linear motion, e.g. actuators; Linear positioners ; Linear motors
    • H02N2/06Drive circuits; Control arrangements or methods
    • H02N2/062Small signal circuits; Means for controlling position or derived quantities, e.g. for removing hysteresis
    • HELECTRICITY
    • H10SEMICONDUCTOR DEVICES; ELECTRIC SOLID-STATE DEVICES NOT OTHERWISE PROVIDED FOR
    • H10NELECTRIC SOLID-STATE DEVICES NOT OTHERWISE PROVIDED FOR
    • H10N30/00Piezoelectric or electrostrictive devices
    • H10N30/20Piezoelectric or electrostrictive devices with electrical input and mechanical output, e.g. functioning as actuators or vibrators
    • HELECTRICITY
    • H10SEMICONDUCTOR DEVICES; ELECTRIC SOLID-STATE DEVICES NOT OTHERWISE PROVIDED FOR
    • H10NELECTRIC SOLID-STATE DEVICES NOT OTHERWISE PROVIDED FOR
    • H10N30/00Piezoelectric or electrostrictive devices
    • H10N30/20Piezoelectric or electrostrictive devices with electrical input and mechanical output, e.g. functioning as actuators or vibrators
    • H10N30/202Piezoelectric or electrostrictive devices with electrical input and mechanical output, e.g. functioning as actuators or vibrators using longitudinal or thickness displacement combined with bending, shear or torsion displacement
    • H10N30/2023Piezoelectric or electrostrictive devices with electrical input and mechanical output, e.g. functioning as actuators or vibrators using longitudinal or thickness displacement combined with bending, shear or torsion displacement having polygonal or rectangular shape
    • HELECTRICITY
    • H10SEMICONDUCTOR DEVICES; ELECTRIC SOLID-STATE DEVICES NOT OTHERWISE PROVIDED FOR
    • H10NELECTRIC SOLID-STATE DEVICES NOT OTHERWISE PROVIDED FOR
    • H10N30/00Piezoelectric or electrostrictive devices
    • H10N30/20Piezoelectric or electrostrictive devices with electrical input and mechanical output, e.g. functioning as actuators or vibrators
    • H10N30/204Piezoelectric or electrostrictive devices with electrical input and mechanical output, e.g. functioning as actuators or vibrators using bending displacement, e.g. unimorph, bimorph or multimorph cantilever or membrane benders
    • H10N30/2041Beam type
    • H10N30/2042Cantilevers, i.e. having one fixed end

Description

この発明は、電気機械式アクチュエーター装置とそのような装置を駆動する方法に関する。
極めて小さくされたモーターに対するニーズを伴う数々の応用例が存在している。例えば、消費財において、極めて小さくされ、軽量で、低電力消費で、しかも高価でないモーターが典型的には求められている。この運動のレンジは、しばしばミリメートルオーダーで要求精度はマイクロメーターである。数々の性能特性が求められ、たとえば高速度、運動静粛性、低電力消費、位置決め容易性、及び高い位置決め精度などで、これらは幾らか互いに矛盾するものである。
高い位置決め精度と同時に比較的に制御の容易性を達成するために、ウォーキング機構、スティック−スリップ機構、「慣性」位置決め又はステップ機構など、異なる運動機構が選択される。このような原理で作動する大部分の装置に共通しているのは、アクチュエーターと被駆動の物体との高度の静的接触を伴うことである。位置決め精度は、この静的接触にかなり依存している。しかし、速度は、しばしば比較的遅く、装置はしばしば亜超音波周波数で動作し、騒音を出しパワー効率を低くする。このような典型例が、特許文献1である。
米国特許第6,798,117号
このような装置は、適切な駆動により、極めて滑らかで、それ故静粛運動を起こし、多くの高い性能要求の応用に向いている。この種の装置は、一般的に使用されるアクチュエーターの比較的に複雑な運動パターンに基づいている。これは、幾つかの異なる電圧信号が、良く制御された位相シフト及び/又は電圧カーブの形を伴うことを要求する。さらに、複雑な駆動パターンは、電気機械的に駆動しうる大きな体積を要求し、稼動中に熱を発生する。稼動中のアクチュエーターの変形は、異なる種類の材料応力を起こし、これが電極、端末及び/又は電気機械的に作用する材料自体のクラックを来たらせることもある。
ある応用例では、滑らかな運動が同じほど重要でない。その代わり、速度の改善、耐用性および複雑さの解消が高い関心を引く。
本発明の目的は、複雑でなく、妥当な速度と高耐用性でしかも高い位置決め精度を示すミニチュアモーターを提供することである。
上の目的は、添付の独立クレームによる装置、システム及び方法により達成される。好ましい実施態様は、従属クレームにより定義されている。一般的に、第一の態様によれば、電気機械式モーターは、アクチュエーターアセンブリと物体とを有しており、この物体に対して、アクチュエーターアセンブリが作用して、この物体を駆動方向に偏位させる。アクチュエーターアセンブリは、アクチュエーター基台と、第一と第二のアクチュエーターとを有している。第一アクチュエーターは単一の取付部により機械的に取付けられる。第一アクチュエーターの単一取付部は、アクチュエーター基台への第一取付部である。第一取付部は、第一アクチュエーターの第一端に設けられている。第一アクチュエーターは、第一アクチュエーターの第二端を構成する第一相互作用部を有している。第一アクチュエーターの第二端は、アクチュエーター方向に見て第一アクチュエーターの第一端と反対にある。第二アクチュエーターは、第二取付部と第二相互作用部と共に同様に配置されている。アクチュエーター方向は、駆動方向と交差している。第一相互作用部と第二相互作用部は、それぞれの接触エリヤにおいて物体の相互作用面と相互作用をするように配置されている。第一アクチュエーターと第二アクチュエーターは、第一アクチュエーターと第二アクチュエーター夫々の第一端と第二端との間に配置された電気機械的材料を有するユニモルフ部材を有している。ユニモルフ部材の各々は、それぞれに掛けられる電気信号の応答として接触エリヤの運動を起こすように配置されている。各運度はアクチュエーター方向にも、駆動方向にもさらに互いにも交差している。
第二の態様によれば、電気機械式モーターシステムは、第一の態様に従う電気機械式モーターと、該電気機械式モーターに接続され、このユニモルフ部材の励起のために設けられた少なくとも二つの同じでない電気信号を与える電源とを有している。
第三の態様によれば、物体と相互作用するように配置された第一相互作用部と第二相互作用部とを有する電気機械式モーターを駆動する方法は、第一相互作用部に取付られた電気機械的材料を有するユニモルフ部材を励起するための第一の電気信号を与えるステップと、第二相互作用部に取付られた電気機械的材料を有するユニモルフ部材を励起するための第二の電気信号を与えるステップとを有している。第一の電気信号は第二の電気信号と異なっている。該第一の電気信号は、該第一相互作用部の該ユニモルフ部材が、該第一相互作用部の接触エリヤを、駆動方向と交差するが直交しない第一の運動方向に運動させる。該駆動方向は、該第一相互作用部と該第二相互作用部に対する物体の所期の前進移動方向である。該第二の電気信号は、該第二相互作用部の該ユニモルフ部材が、該第二相互作用部の接触エリヤを、駆動方向と交差する第二の運動方向に運動させる。該第二の運動方向は、該第一の運動方向と交差している。第一の電気信号と第二の電気信号は、駆動の間、該第一相互作用部と該第二相互作用部の少なくとも一つが該物体と接触せしめるようにされている。
この発明の利点は、ステップ運動がかなり複雑さが軽減されたアクチュエーター構造により達成されることと同時に高速と高耐用性を与えることである。
この発明は、その目的と利点と共に、添付された図面と共に以下の説明を参照することにより最も良く理解であろう。図面において、
この発明による電気機械式モーターシステムの一実施例の側面概観図。 図2Aから図2Dは、繊毛運動の実施態様の概観説明図。 図3Aから図3Dは、繊毛運動を達成するための電圧シグナルの実施態様を示す線図。 この発明による電気機械式モーターのほかの実施態様の側面概観図。 この発明によるアクチュエーターのもう一つの実施態様の概観透視図。 図6Aから図6Bは、この発明によるアクチュエーターのもう一つの実施態様の概観透視図。 この発明による方法の実施態様のステップのフロー図。 この発明による電気機械式モーターの他の実施態様の側面概観図。 この発明による電気機械式モーターの他の実施態様の側面概観図。
図面全体を通して、同じ参照符号は、類似の対応要素のために用いられている。
用語「交差する」は、交差方向に横たわるという通常の広い意味で用いられ、つまり、他のものを横切るもので、必ずしも直交するものではない。多くの場合、この用語は「平行でない」と同じ意味であると取る事ができる。
一次元的に動くアクチュエーターのセットは、相対運動を起こすためにその自由端で、物体に作用できる。このタイプの駆動機構は、その性質が繊毛システムと類似している故にしばしば繊毛運動機構と呼ばれている。一次元運動は、典型的には、被駆動面に対して法線力を与えるために駆動方向に対して幾らか傾斜している。繊毛運動は、共鳴作用により又はステップ機構として用いられることもある。
繊毛運動を使用したミクロメカニカルシステムの多くの例が存在する。例えば、Journal of Microelectromechanical systems,vol. 2, No. 4 Dec 1993に掲載の M Atka外著、「Fabrication and Operation of Polyimide Bimorph Actuators for a Ciliary Motion System」の記事にバイモルフ熱アクチュエーターの繊毛運動に基づくミクロ運動システムが開示されている。また、T. Hatsuzawa 著のSensors and Actuators A 105(2003) pp. 183-189に掲載の「A linear actuator based on cilia vibration」という記事には、繊毛ファイバーが外部振動機により刺激されている。しかし、このようなシステムのほとんどは、位置決めの精度が限定される。
しかし、この発明によれば繊毛運動は、電気機械式のアクチュエーター、例ピエゾアクチュエーターにより実行されるのに適している。アクチュエーターを機構的に単一取り付け部材により支持部に取付けることで堅固なベースとする。アクチュエーターをこの単一取り付け部材を除いて自由に動けるようにすることと動かされる物体との相互作用により、求められる運動を起こすために、アクチュエーターの電気機械的に能動体積部の寸法変化を利用する可能性が生まれる。この寸法変化は本質的に直に作用し、反復されるので、非常に正確な運動パターンが得られる。
ユニモルフ部分を有する電気機械式アクチュエーターを使用することで、数々の利点が得られる。ユニモルフアクチュエーターは唯一つの電圧信号を必要とするのみであり、このことが電子制御の複雑さが極めて低いことを意味している。このユニモルフの作用が、類似のバイモルフ又はマルチモルフ構造に比較して発熱が少ない。このことは、過熱のリスクが無く速度を増すことができることを意味する。ユニモルフは、この能動体積部の小さい寸法変化をユニモルフの端部の大きな変位に変換するのにも有効である。同時にユニモルフは、アクチュエーターに沿う大きな力にも耐えるので、大きな法線力を加えることを可能とする。
繊毛運動に基づいたあるアクチュエーターシステムは、一方向にのみ運動を与えることが可能である。このことは典型的には、大部分の駆動システムは、駆動される物体に作用する押し付け又は圧縮力を利用しているという事実に起因する。他のタイプの力のための構造配置は、典型的には達成するのが複雑である。繊毛運動を用いて物体を前後の両方に動かす可能性を達成するためには、互いに交差することを狙った運動方向を有する少なくとも二つのアクチュエーターが求められる。
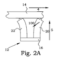
この発明による電気機械式モーター10の実施態様が図1に示めされている。電機機械式モーター10は、アクチュエーターアセンブリ12と物体14を有している。アクチュエーターアセンブリ12は、駆動方向4に物体14とアクチュエーターアセンブリ12との相対運動を起こさせるように物体14に作用するように配置されている。アクチュエーターアセンブリ12は、アクチュエーター基台16を有している。この実施例のアクチュエーターアセンブリ12は、第一アクチュエーター20と第二アクチュエーター22とを有している。アクチュエーター基台16は、この第一アクチュエーター20と第二アクチュエーター22の支持構造をなしている。
第一アクチュエーター20は、一つの取付部により機械的に取付られている。第一アクチュエーター20のこの取付部は基台16への第一取付部24である。換言すれば、第一アクチュエーター20は、アクチュエーターアセンブリの残りの部分に対して唯一の恒久的な機械的連結部である。この構成は、第一アクチュエーター20がこの第一取付部24を基準点として自由に動くのを許す。第一取付部24は第一アクチュエーター20の第一端25に設けられている。
第一アクチュエーター20は、アクチュエーター20の第二端31を構成する第一相互作用部30を有している。第一アクチュエーター20のこの第二端31は、アクチュエーターの方向5に見て、第一アクチュエーター20の第一端25と反対にある。第一相互作用部30は、接触エリヤ34において、物体34の作用面13と相互作用するように配置されている。このことは、アクチュエーター基台16への確実な連結部と物体14に対する接触エリヤ34が第一アクチュエーター20の互いに対抗する端に位置し、第一アクチュエーターがこれらの対抗端、即ち第一端25と第二端31の間において機械的接触がないよいうにする。アクチュエーター方向5は、駆動方向4に対して交差方向で、アクチュエーター方向5は好ましくは駆動方向4に対して直角又は実質的に直交している。
第一アクチュエーター20は、第一アクチュエーター20の第一端25と第二端31の間に、好ましくは第一端25と第二端31の距離全体又は実質的に全体に亘って配置された電気機械式材料ユニモルフ部材36を有している。この実施態様のユニモルフ部材36は、能動体積部40内に埋められた電極41に加えられる電気信号に応答して寸法変化を示す作動部分40を有している。この実施態様のユニモルフ部材36はさらに、アクチュエーター方向5に沿って能動体積部40に機械的に取付けられた受動体積部44を有している。能動体積部40と受動体積部44との接触面45がアクチュエーター方向5のユニモルフ部材36の全長に亘っても延びている。
能動体積部は、駆動電圧を低減するために、多層配置された電極とともに形成されている。標準的な配置は、図1に示されるように、電極にアクチュエーター方向5の表面を持たせることである。この配置は、大きなストロークを与える。これは、PZTのような圧電セラミックにおいては、圧電係数d33のこの方向の値が大きいからである。電極を他の方向、例えば、駆動方向4又は方向4および5と傾斜する方向に配置することも可能である。これらの場合には、係数d31はひずみを与え、この係数は係数d33より幾らか小さいが、壊れにくいとか製造が容易という利点がある。
大部分のアクチュエーター材料は、電気機械的材料とされるが、この開示においては、電圧か電流が加えられたなら形状を変える材料を意図している。電気機械的材料の典型例は、圧電材料、電歪材料、反強誘電材料であり、これらの材料は単結晶及び多結晶または非結晶でありうる。今日最も興味が持たれている材料は、大きな電気機械的ひずみを有する多結晶多層強誘電セラミック材料であるが、比肩しえる特性を備える現在発展中のポリマー及びポリマー複合材もある。圧電材料と電歪材料が現在はベストであると考えられる。
ユニモルフ部材36は、電極41に加えられた電気信号の反応としての接触エリヤ34の運動を起こさせるように配置される。そのような電気信号が加えられると、能動体積部40は、典型的にはアクチュエーター方向に寸法が変化するが、能動体積部40は、ユニモルフ部材36の長さに沿って受動体積部44にしっかりと連結されているので、このような寸法変化は、ユニモルフ部材36の曲げを来たらせる。寸法変化が収縮の場合は、ユニモルフ部材36は、(図1において)左に曲がるが、寸法変化が膨張の場合には、ユニモルフ部材36は右に曲がる。接触エリヤ34は、これに伴い移動し、第一の運動方向6に沿う移動パスを与える。この第一運動方向6はアクチュエーター方向5とも駆動方向4とも交差している。この第一運動方向6は、駆動方向4に対しても直交せず、このことは接触エリヤ34の運動は駆動方向4の成分を持つことを意味する。
第二のアクチュエーター22は同様に配置されており、この実施態様では、第一アクチュエーター20と第二アクチュエーター22は互いに鏡対称的に配置されている。第二アクチュエーター22は、それ故に単一取付部により機械的に取付けられている。第二アクチュエーター20の単一取付部は、アクチュエーター基台16に対する第二取付部26である。第二取付部26は、第二アクチュエーター22の第一端27に設けられている。第二アクチュエーター22は、第二アクチュエーター22の第二端33を構成する第二相互作用部32を有している。第二アクチュエーター20のこの第二端33は、アクチュエーター方向5に見て、第二アクチュエーター22の第一端27と対向している。第二相互作用部32は、物体14の作用面13が接触エリヤ35により、相互作用するように配置されている。
第二アクチュエーター20は、第二アクチュエーター22の第一端27と第二端33との間に配置された電気機械的材料を有するユニモルフ部材38を有している。この実施態様のユニモルフ部材38は、能動体積部42に埋め込まれた電極43に加えられた電気信号におうじて寸法変化を示す能動体積部42を有する。この実施態様のユニモルフ部材38は、さらにアクチュエーター方向5に沿って能動体積部42に機械的に取付けられた受動体積部46を有する。能動体積部42と受動体積部46との接触面47がアクチュエーター方向5のユニモルフ部材38の全長に亘っても延びている。
ユニモルフ部材38は、電極43に加えられた電気信号の反応としての接触エリヤ35の運動を起こさせるように配置される。電極43に加えられた電気信号の反応として、能動体積部42の寸法変化が収縮の場合には、ユニモルフ部材38は(図1に示されるように)右に曲がり、寸法変化が膨張の場合には、ユニモルフ部材38は左に曲がる。接触エリヤはそれに応じて運動し、第二運動方向7に沿う移動パスを与える。第二運動方向7は、アクチュエーター方向5にも駆動方向4に対しても交差している。第二運動方向7は、さらに駆動方向4に対しても非直角であり、このことは接触エリヤ35の運動は駆動方向4の成分を有することを意味する。
この実施態様においては、第一アクチュエーター20の能動体積部40は、駆動方向4において受動体積部44の前に位置し、第二アクチュエーター22の能動体積部42は駆動方向4において受動体積部46の後に位置している。このようにして、第一運動方向6は第二運動方向7と異なっている。換言すれば、第一運動方向6と第二運動方向7は互いに交差している。この実施態様においては、鏡対称により第二運動方向7は、アクチュエーター方向5に平行な鏡面に関して第一運動方向6の鏡方向となる。換言すれば、能動および受動体積部の相対位置は下に説明するように反対にできる。
上に述べたように、能動体積部40、42は電気信号を与えることにより作用させられる。この目的のために、電気機械式モーター10を有する電気機械式モーターシステム1は、電気機械式モーター10に連結され、ユニモルフ部材36、38を活性化するために少なくとも二つの同じでない電気信号を与えるようにされた給電装置99を有している。
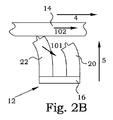
アクチュエーターの接触エリヤの一次元運動は、比較的簡単な電気信号により繊毛運動の原理、より厳密に言えば、二重繊毛運動原理で動作する配置へ結合することができる。図2A-Dは、このような駆動機構の実施態様を概観的に図示している。基本原理を明確に説明するために、図にはユニモルフの寸法変化が、それに伴い曲げストロークが極めて誇張されていることに注意されたい。実際は寸法変化と曲げストロークはアクチュエーターの全体の大きさに比べれば極めて小さい。
図2Aでは、両能動体積部がアクチュエーター方向に膨張させる電気信号が与えられている。これは、両アクチュエーター20,22を互いに外側に曲がらせる。物体14は、両アクチュエーター20、22と接触している。この位置から、第一アクチュエーター20は、後に曲げられる。第一アクチュエーター20の全長は小さくされ、即ち接触エリヤは矢印100で示される方向に移動する。これは第一アクチュエーター20の先端を物体14から開放するが、物体14は、第二アクチュエーター22に支持されているのでそれ自体は動かない。第一アクチュエーター20の能動体積部の収縮が終われば、第一アクチュエーターは図2Bに示されるように、左側により少ない長さだけ曲げられる。この状態から第二アクチュエーター22は曲げ返され、第二アクチュエーター22の接触エリヤは矢印101に沿って動く。物体14は第二アクチュエーター22のみに支持されているので、物体14は、その運動に従う。こうして矢印102に示される駆動方向の運動成分が与えられる。ここでは、物体14とアクチュエーターアセンブリ12を一緒にしておく法線方向の力の存在を前提としている。
第二アクチュエーター22の曲げ動作が終わると、図2Cに示された状況になる。物体14は再び両アクチュエーター20、22と接触する。第一アクチュエーター20に再び電気信号が与えられ、第一アクチュエーターのユニモルフがもう一度矢印103の方向に曲げられる。この運動は第二アクチュエーター22と物体14との接触を離す。物体はこれにより、第一アクチュエーター20の運動に追従し、駆動方向の運動成分が与えられる。ついで図2Dに示される状態に至る。ここで、第二アクチュエーター22は、運動105により、図2Aの元の位置を回復するために再び曲がる。図2Aに示される状態が再び得られるが、物体14は駆動方向にある距離移動している。
このようにして駆動作用が達成される。電気信号を反対に与えることで、駆動作用も反対方向に与えることができる。
図3Aには、第一アクチュエーターと第二アクチュエーターの駆動電圧がどのようになるかの実施態様として二つの電圧カーブが示されている。上のカーブは図2A−Dの第一アクチュエーターに掛けられた電圧を示し、下のカーブは第二アクチュエーターに掛けられた電圧を示す。ここでは、正の電圧は能動体積部の膨張を起こし、負の電圧は能動体積部の収縮を起こすと仮定している。時間軸の下の文字は図2A−Dの異なる状態を示す。二つのアクチュエーターの間で90度位相シフトした単一の電圧カーブがステップ動作を起こすために使用することができる。この実施態様の小さな不利といえば、物体が周期の半分(BとDとの間)だけ積極的に駆動され残りの期間(AとB,およびDとAの間)は静止していることである。
図3Bは、駆動電圧の他の実施態様を示す。ここでは物体が休止の時間が少なくなるように及び選択的に積極駆動の時間が増すようにA−Dの間の状態は変更されている。より早い又は少なくともより滑らかな物体の運動が達成できる。このようなケースでは、異なるアクチュエーターに同一波形の電圧を加えることはできない。このようなケースでは、異なる波形のカーブを与えなければならない。
図3Cは、駆動電圧のさらに別の実施態様を示す。これらの電圧は、上述のアクチュエーターを用いて二重繊毛運動を起こすが、図2A−Dに示されたのとは少し方法が異なる。図2Bと2Dに示された状態は実際には実現できない。この例では、第二アクチュエーターの収縮動作は第一アクチュエーターの収縮がスタートした後ほんの少し経った時間Eにスタートする。第一アクチュエーターが時間Fにおいて最も収縮した状態に至ると、第二アクチュエーターもほぼ完全に収縮する。図2Cに示される状態になるまで、物体はここでも第二アクチュエーターのみに接触している。第一アクチュエーターは膨張を開始し物体への接触を受け継ぐ。時間Gにおいて、第二アクチュエーターも膨張を開始し、時間Hにおいて、第一アクチュエーターが最も膨張した状態になると、第二アクチュエーターもほぼ完全に膨張する。物体が休止の時間は時間Hと次のサイクルの時間Eの間に限られる。
図3Dは、同じ課題の他の実施例を示す。ここでは、電圧は最小の休止時間となるように最適化されている。当業者なら、二重繊毛運動を得るためにどのように電圧を与えるかの数々の方法があることを悟る。位相シフトをした単純な波型、正弦波又は三角波の電圧カーブが使用できる。あるケースでは、物体の運動は、往復運動期間を持ち幾らか奇妙であるが、正味の予定方向運動を達成できる。
ここでは、上述の運動パターンがユニモルフを用いて、即ち、電気機械的に能動部分と同じように一体化された電気機械的に受動的な部材を用いて、達成できる。同じ種類の運動パターンが、機械的に連結された二つの能動部分をもつバイモルフのような、もっと精巧なアクチュエーターを用いて達成することも可能であろう。しかし、このような構成は駆動がより複雑でユニモルフが持つような安定性の利点は与えない。下の説明を参照。従って、ユニモルフは、現在好まれるこの発明の理念を完成する要素である。
アクチュエーター方向が、駆動方向と直交又は実質的に直交している場合には、ユニモルフの使用が利点を有している。アクチュエーターの受動部分が、アクチュエーターアセンブリと物体との間の比較的に高い法線力に対する堅固な支持部を与える。同時にこの同じ部材が、アクチュエーター方向とも駆動方向とも平行でない運動を起こす部材である。好ましいさらに別の実施態様のさらなる利点が以下に示される。
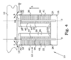
図1の実施態様においては、アクチュエーターの能動体積部は互いに向き合っており、このことは、能動体積部の膨張に伴う第一と第二の運動方向6、7は互いに離れるように向いていることを意味する。図4に示されるようにこの反対も勿論可能である。ここでは、アクチュエーター20、22の能動体積部40、42は互いから離れるように向いている。このことから、第一と第二の運動方向6、7は、図1に示された状態と比較して、鏡対称方向に向くことになる。
図4において、相互作用部30、32の接触エリヤ34、35は夫々のアクチュエーター20、22の外端に近接して設けられている。換言すれば、接触エリヤは、夫々のアクチュエーター20、22の中央線3から駆動方向4の方向に偏位して位置している。この配置は、てこ作用が増大されるという利点を有する。接触エリヤが位置する位置は中央線3に位置する接触エリヤより大きなストロークを与える。このようにして、各サイクルのステップサイズを増すことができ、得られる最大スピードを増すことができる。
この特性は図5においてさらに発展しており、ここでは相互作用部30、32はアクチュエーター断面のメイン部から外に延ばされている。第一相互作用部30は、延出部37を有し、駆動方向4に沿う方向、ここでは矢印4と反対の方向に第一アクチュエーター20の外に延びている。第一相互作用部30の接触エリヤ34はこの延出部37に設けられている。同様に、第二相互作用部32は、延出部39を有し、第二アクチュエーター22の外に駆動方向4に沿う方向、ここでは矢印4と反対の方向に延びている。第二相互作用部30の接触エリヤ35はこの延出部39に設けられている。この様な実施態様においては、てこ作用がさらに増大される。しかし同時に、法線方向の力は、アクチュエーターのメイン部の断面の外部において作用するので、法線方向の力に抗する能力は減る。
図5において、アクチュエーターの駆動方向4の幅は、比較的小さくされ、駆動方向4と直角の方向2とアクチュエーター方向5は比較的大きくされていることが見られる。このような形状はアクチュエーターの曲がりを増大させ、この曲がりは延出部37、39と相まって大きなステップを与える。
効率をさらに増すために利用できる他の特徴は、電極41、43のデザインである。例えば、バイモルフ構造を得るため、多層技術を使用した出願の多くにおいては、一つの電極、位相電極又は接地電極、に接続するために電極が能動体積部に「隠され」ており、端末電極は短絡を避けるようにされている。この構造はインターデジタル電極構造と通常呼ばれている。この構造の問題は、外部の不活性層の寸法変化が、アクチュエーター表面のクラックの危険性を増す大きな引張り応力を起こすことである。これらのクラックは端末が設けられている箇所に起きるので、アクチュエーター又は端末の不良を引起す。
これに反して、この開示においては、受動体積部44、46が、アクチュエーター20、22に利用できる実施態様では、受動体積部44、46の表面が、電極41,43の電気接続をする端末29を設けるのに利用できる。それで、クラックのリスクが低く、特に受動体積部の中間部の付近では低い。受動体積部44、46に端末29を設けることで、多くの利用例で、能動体積部の外表面の少なくともひとつ、好ましくはすべての外表面にまで電極41、43を延ばすことができる。特に、電極41、43は、対応する受動体積部44、46から反対に向かう能動体積部40,42の少なくとも一つの表面51まで延び、また駆動方向4に沿って延びる能動体積部40,42の表面50まで延びる。電極を能動体積部40、42の表面まで延ばすことは、二つの主な利点がある。第一は、より大きな体積の電気機械的に作用する材料が、運動を起こすために利用ができること。第二は、電極の外にある材料の不活性層は、能動体積部の形状変化に対応でき、これらのゾーンを低減するので運動をさらに効果的にする。
典型的な応用例においては、物体は、少なくとも部分的に何らかの支持構造に支えられている。両接触エリヤ34,35が物体14と接触している時に、接触エリヤを作用面13と良く整合させておくことは非常に重要なことである。このことは典型的には最小と最大のストロークにおいて起きる。もし、整合が不十分だと、接触エリヤ34、35の一つだけが物体と接触し、二つの接触エリヤの間での接触部の移動が意図した計画どおりに起きないというリスクがある。従って、物体14の相互作用面13の非常に正確な整合が一般的に必要とされる。
図6Aに示された実施態様においては、このような整合はそんなに厳密でなくてよい。この実施態様では、第一20と第二22の両アクチュエーターが、延出部37,39を有する夫々の相互作用部30、32を備えている。第一アクチュエーター20の相互作用部30の接触エリヤ34はここでは、第二アクチュエーター22の相互作用部32の接触エリヤ35と交差方向において整合している。もし、物体の相互作用面13が、意図した直角構成からいくらか傾斜していると、同じ高さの相違が両方の相互作用面において現れる。このことは、接触エリヤ34、35間の受け渡しが、支承なく計画通りに行われることを意味する。
図6Bは、接触エリヤ34,35の同じように丈夫な整合構造を示す別の実施態様を示している。ここでは、第一相互作用部30の接触エリヤ34と前記第二相互作用部32の接触エリヤ35は夫々の部分接触エリヤを有し、これらのエリヤは交差方向2において互いに差込にされている。
図7は、この発明による方法の一実施態様のステップのフロー図を示す。物体と相互作用するように配置された第一相互作用部と第二相互作用部とを有する電気機械式モーターを駆動する方法は、ステップ200からスタートする。ステップ210において、この第一相互作用部に取付けられたユニモルフ部材を励起するための第一電気信号が与えられる。ステップ212において、この第二相互作用部に取付けられたユニモルフ部材を励起するための第二電気信号が与えられる。ステップ210と212は、同時に実行され、典型的には共調して行われる。第一の電気信号は、第二電気信号と異なる。第一電気信号は、ステップ214において、第一相互作用部のユニモルフ部材が、第一相互作用部の接触エリヤを駆動方向と直交しない第一の運動方向に動くようにさせる。駆動方向は、第一相互作用部と第二相互作用部に対して物体が所期の前進運動をする方向である。同様に、第二の電気信号は、ステップ216において、第二相互作用部のユニモルフ部材が、第二相互作用部の接触エリヤを駆動方向と交差する第二の運動方向に動くようにさせる。第二の運動方向は第一運動方向に対しても交差している。第一電気信号と第二電気信号は、ステップ218において、第一相互作用部と第二相互作用部の少なくとも一つが駆動の間、物体と接触するように配列されている。工程はステップ299で終了する。
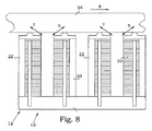
この開示には、可能な様々な多くの二重繊毛運動モーターが示されている。例えば、ただ二つのアクチュエーターに限定されない。多数のアクチュエーターの解決策も可能である。図8は、4個のアクチュエーターを有する電気機械式モーターの一実施態様を示す。この実施態様においては、アクチュエーターは電気的に二対になって接続され、上述の運動形態を与えている。協働するアクチュエーターは、互いに対してどんな形態も取りうるが、好ましくは意図された使用例に応じて選択される。この実施態様においては、4個のすべてのアクチュエーターが、直線上に並んでいる。しかし、異なる二次元位置に設けられたアクチュエーターの配置も可能である。異なるグループのアクチュエーターの対が互いに位相を異ならせて動作している時は、より滑らかな運動が得られる。
上の実施態様においては、アクチュエーターは、物体の相互作用面に対して直交するように示されている。上に述べたように、この配置は負荷の点で利点がある。しかし、他の応用では、例えば負荷が小さい場合には、その他の幾何学的形状も可能である。図9の実施態様は、非平行の二つのアクチュエーターを有する電気機械式モーターを示し、これらのアクチュエーターはさらに相互作用面13に対して直交していない。このようにして、接触エリヤ34、35の運動方向6,7と駆動方向4との間の傾斜角度を決めるための幾何学的デザインを利用することが可能である。
一対以上のアクチュエーターにアクセスできることで、ひとつ以上の方向の運動を得ることが可能である。一対のアクチュエーターは物体を一方向に駆動するのに使い、他の対のアクチュエーターを物体のそれと交差する方向に移動するのに使うことができる。ユニモルフはその場合目的の駆動方向に整合させる。
二次元運動を得る他の可能性は、バイモルフ構造を持つアクチュエーターを交差方向に設けることである。このような実施態様は図10に示されている。各アクチュエーターの能動体積部は、交差する方向2に向いた二つの能動体積部に分割されている。能動体積部の各パートは、別々の電気信号により励起されるように設けられる。もし、信号が異なれば、アクチュエーターが交差する方向2に曲がる。電気信号を調節することにより、駆動方向に交差する方向の運動が可能となる。
上に説明した実施態様は、この発明の幾つかの例示であると理解すべきである。当業者は、この発明の範囲から外れることなくこれらの実施態様に対して様々な修正、結合又は変更ができることを理解するであろう。特に、異なる実施態様における異なる部分の解決は、技術的に可能ならば他の組み合わせ形態においてもできる。この発明の範囲は添付された請求の範囲により決められる。

Claims (6)

  1. アクチュエーターアセンブリ(12)と、
    駆動方向(4)に変位を起こさせるように、該アクチュエーターアセンブリ(12)により作用される物体(14)とを有する電気機械式モーター(10)であって、
    該アクチュエーターアセンブリ(12)は、アクチュエーター基台(16)と第一アクチュエーター(20)と第二アクチュエーター(22)とを有し、
    該第一アクチュエーター(20)は、機械的に単一の取付部により取付けられ、
    該第一アクチュエーター(20)の単一の取付部(24)は、該アクチュエーター基台(16)に対する第一の取付部(24)であり、該第一取付部(24)は、該第一アクチュエーター(20)の第一端(25)に設けられており、
    該第一アクチュエーター(20)は、該第一アクチュエーター(20)の第二端(31)を成す第一の相互作用部(30)を有し、該第一アクチュエーター(20)の第二端(31)は、該第一アクチュエーター(20)の第一端(25)とアクチュエーター方向(5)において反対側にあり、
    該第二アクチュエーター(22)は機械的に単一取付部により取付けられ、
    該第二アクチュエーター(22)の単一の取付部は、該アクチュエーター基台(16)に対する第二の取付部(26)であり、該第二取付部(26)は、該第二アクチュエーター(22)の第一端(27)に設けられており、
    該第二アクチュエーター(22)は、該第二アクチュエーター(22)の第二端(33)を成す第二の相互作用部(32)を有し、該第二アクチュエーター(22)の第二端(33)は、該第二アクチュエーター(22)の第一端(27)とアクチュエーター方向(5)において反対側にあり、
    該アクチュエーター方向(5)は、駆動方向(4)と交差しており、
    該第一相互作用部(30)と該第二相互作用部(32)は、夫々の接触エリヤ(34、35)により該物体(14)の相互作用面(13)と相互作用するように配置された電気機械式モーター(10)において、
    該第一アクチュエーター(20)と第二アクチュエーター(22)は、夫々が、該第一アクチュエーター(20)と第二アクチュエーター(22)の夫々の第一端(25,27)と該第二端(31、33)との間に配置された電気機械的材料を有する部材(36、38)を有しており、
    電気機械的材料を有する該部材(36,38)の各々が、夫々に加えられる単一の電気信号の応答として各接触エリヤ(34,35)の1次元の前後運動(6,7)を起こすように配置され、
    該各1次元の前後運動(6,7)は該アクチュエーター方向(5)に対しても、該駆動方向(4)に対してもさらに互いに対しても交差するようにされ、
    電気機械的材料を有する該部材(36,38)の各々が、これに加えられる単一の電気信号に応じて寸法変化を起こす能動体積部(40、42)と、該アクチュエーター方向に沿って該各能動体積部(40,42)に機械的に取付られた受動体積部(44、46)とを有しており、
    該第一アクチュエーター(20)の能動体積部(40)は、該駆動方向(4)に見て、該第一アクチュエーター(20)の該受動体積部(44)の前方に位置しており、
    該第二アクチュエーター(22)の能動体積部(42)は、該駆動方向(4)に見て、該第二アクチュエーター(22)の該受動体積部(46)の後方に位置しており、
    該第一相互作用部(30)と該第二相互作用部(32)が、これら相互作用部の各々が取付けられた該各アクチュエーター(20、22)の外に該駆動方向(4)に沿う方向に延出する延出部(37、39)を有し、
    該第一相互作用部(30)と該第二相互作用部(32)の該それぞれの接触エリヤ(34、35)が、該延出部(37、39)に設けられ、
    該第一相互作用部(30)の接触エリヤ(34)が、該駆動方向(4)と直交する交差方向(2)において該第二相互作用部(32)の接触エリヤ(35)と整合している
    ことを特徴とする電気機械式モーター(10)。
  2. 該第一アクチュエーター(20)の能動体積部(40)と該第二アクチュエーター(22)の能動体積部(42)の少なくとも一つが、該能動体積部(40、42)を励起するために該能動体積部(40、42)に埋め込まれた電極(41、43)を有しており、
    該電極(41,43)は、
    該能動体積部(40、42)に取付けられた受動体積部(44、46)から離れる方に向かう能動体積部(40、42)の面(51)と
    該能動体積部(40、42)の該駆動方向(4)に沿う面(50)のうちの少なくとも一つの外へ延びていることを特徴とする請求項1に記載の電気機械式モーター。
  3. 該電極(41、43)は、該受動体積部(44、46)の面に設けられた端末(29)に電気的に接続されていることを特徴とする請求項2に記載の電気機械式モーター。
  4. 該第一相互作用部(30)の接触エリヤ(34)と該第二相互作用部(32)の接触エリヤ(35)が、部分接触エリヤを有し、それらが互いに差しこまれていることを特徴とする請求項1〜3のいずれか一項に記載の電気機械式モーター。
  5. 請求項1ないしのいずれかに一項に記載の電気機械式モーター(10)と、
    該電気機械式モーター(10)に接続され、電気機械的材料を有する該部材(36,38)を励起するための少なくとも二つの異なる電気信号を与えるようにされた電源(99)とを有する電気機械式モーターシステム(1)。
  6. 物体(14)と相互作用するように配置された第一相互作用部(30)と第二相互作用部(32)とを有する電気機械式モーター(10)を駆動する方法であって、該方法は、
    該第一相互作用部(30)に取付られた電気機械的材料を有する部材(36)を励起するための第一の電気信号を与えるステップ(210)と、
    該第二相互作用部(32)に取付られた電気機械的材料を有する部材(38)を励起するための第二の電気信号を与えるステップ(212)とを有しており、
    該第一の電気信号は該第二の電気信号と異なっており、
    該第一の電気信号と該第二の電気信号は、駆動の間、該第一相互作用部(30)と該第二相互作用部(32)の少なくとも一つが該物体(14)と接触せしめる(218)ようにされ、
    電気機械的材料を有する該部材(36、38)の各々が、これらに加えられる前記第一の及び第二の電気信号に応じて寸法変化を起こす能動体積部(40、42)と、該アクチュエーター方向(5)に沿って該各能動部(40、42)に機械的に取り付けられた受動堆積部(44、46)とを有しており、
    該第一の電気信号は、該第一相互作用部(30)の電気機械的材料を有する該部材(36)が、該第一相互作用部(30)の接触エリヤ(34)を、駆動方向(4)と交差するが直交しない、第一の1次元の前後運動方向(6)に運動させ(214)、該駆動方向(4)は、該第一相互作用部(30)と該第二相互作用部(32)に対する物体(14)の所期の前進移動方向であり、
    該第二の電気信号は、該第二相互作用部(32)の電気機械的材料を有する該部材(38)が、該第二相互作用部(30)の接触エリヤ(35)を、駆動方向(4)と交差する第二の1次元の前後運動方向(7)に運動させ(216)、該第二の1次元の前後運動方向(7)は、該第一の1次元の前後運動方向(6)と交差し
    該第一相互作用部(30)の接触エリヤ(34)が、該駆動方向(4)と直交する交差方向(2)において該第二相互作用部(32)の接触エリヤ(35)と整合している
    ことを特徴とする、
    電気機械式モーター(10)を駆動する方法。
JP2012515363A 2009-06-22 2009-06-22 電気機械式モーター Expired - Fee Related JP5740397B2 (ja)

Applications Claiming Priority (1)

Application Number Priority Date Filing Date Title
PCT/EP2009/057735 WO2010149199A1 (en) 2009-06-22 2009-06-22 Electromechanical motor

Publications (2)

Publication Number Publication Date
JP2012531177A JP2012531177A (ja) 2012-12-06
JP5740397B2 true JP5740397B2 (ja) 2015-06-24

Family

ID=41666431

Family Applications (1)

Application Number Title Priority Date Filing Date
JP2012515363A Expired - Fee Related JP5740397B2 (ja) 2009-06-22 2009-06-22 電気機械式モーター

Country Status (4)

Country Link
US (1) US8912708B2 (ja)
JP (1) JP5740397B2 (ja)
KR (1) KR20120112354A (ja)
WO (1) WO2010149199A1 (ja)

Families Citing this family (3)

* Cited by examiner, † Cited by third party
Publication number Priority date Publication date Assignee Title
DE112010006073T5 (de) * 2010-12-20 2013-10-10 Piezomotor Uppsala Ab Elektromechanischer Motor
US10777730B2 (en) * 2017-12-26 2020-09-15 Santosh Kumar BEHERA Scalable piezoelectric linear actuator
DE102018212897A1 (de) * 2018-08-02 2020-02-06 Zf Friedrichshafen Ag Ziliares Verbindungselement

Family Cites Families (17)

* Cited by examiner, † Cited by third party
Publication number Priority date Publication date Assignee Title
US4769570A (en) 1986-04-07 1988-09-06 Toshiba Ceramics Co., Ltd. Piezo-electric device
JPH044775A (ja) * 1990-04-20 1992-01-09 Toyota Central Res & Dev Lab Inc 物体の移動装置
US6392329B1 (en) * 1999-10-12 2002-05-21 Face International Corp. Piezoelectric vibrating apparatus
IL137206A0 (en) * 1999-10-31 2001-07-24 Nanomotion Ltd Piezoelectric motors and motor driving configurations
US6307301B1 (en) * 2000-02-02 2001-10-23 The Boeing Company Buckling resistant piezoelectric actuator
GB2369489B (en) * 2000-11-23 2004-03-10 Khaled Karrai Inertial rotation device
JP3830027B2 (ja) * 2001-08-23 2006-10-04 セイコーエプソン株式会社 ワイヤーアクチュエータ
US6798117B2 (en) * 2002-07-10 2004-09-28 Piezomotor Uppsala Ab Fine control of electromechanical motors
US7061158B2 (en) * 2002-07-25 2006-06-13 Nanomotion Ltd. High resolution piezoelectric motor
JP4062692B2 (ja) * 2003-03-13 2008-03-19 東レエンジニアリング株式会社 ウォーキング動作駆動ユニットおよびそれを用いたアライメント装置
JP4723199B2 (ja) * 2003-06-19 2011-07-13 日本碍子株式会社 筒形圧電アクチュエータ並びに筒形圧電アクチュエータアレイ及び製造方法
JP4393180B2 (ja) * 2003-12-15 2010-01-06 Thk株式会社 一軸アクチュエータ
CN101040393A (zh) * 2004-02-25 2007-09-19 微动力有限公司 多向压电马达结构
JP2006332616A (ja) * 2005-04-28 2006-12-07 Brother Ind Ltd 圧電アクチュエータの製造方法
JP3824627B1 (ja) 2005-11-24 2006-09-20 株式会社キンセイ産業 廃アスベストの溶融処理方法
US7420321B2 (en) * 2006-03-03 2008-09-02 Piezomotor Uppsala Ab Heat efficient micromotor
US7355325B2 (en) * 2006-06-15 2008-04-08 Piezomotor Uppsala Ab Wide frequency range electromechanical actuator

Also Published As

Publication number Publication date
US20120098468A1 (en) 2012-04-26
US8912708B2 (en) 2014-12-16
JP2012531177A (ja) 2012-12-06
KR20120112354A (ko) 2012-10-11
WO2010149199A1 (en) 2010-12-29

Similar Documents

Publication Publication Date Title
JP5114476B2 (ja) 広周波数域電気機械式アクチュエータ
US6747394B2 (en) Near-resonance electromechanical motor
US6967430B2 (en) Flat resonating electromechanical drive unit
US7157830B2 (en) Near-resonance wide-range operating electromechanical motor
KR20110083600A (ko) 반-공진 구동 시스템들 및 이의 방법
JP4452275B2 (ja) 圧電電気機械式駆動装置
JP4188967B2 (ja) 変位拡大手段を有する圧電線形モータ
KR100559199B1 (ko) 이중 전기기계 요소
JP5740397B2 (ja) 電気機械式モーター
US7161278B2 (en) Peristaltic electromechanical actuator
US20110227454A1 (en) Vibrator in vibration type driving apparatus and manufacturing method thereof
US20140210311A1 (en) Noiseless Electromechanical Motor
WO2012041370A1 (en) Electromechanical actuator
JP3892183B2 (ja) 圧電アクチュエータ
JP2005102369A (ja) 駆動装置

Legal Events

Date Code Title Description
A131 Notification of reasons for refusal

Free format text: JAPANESE INTERMEDIATE CODE: A131

Effective date: 20130903

A521 Request for written amendment filed

Free format text: JAPANESE INTERMEDIATE CODE: A523

Effective date: 20131125

A131 Notification of reasons for refusal

Free format text: JAPANESE INTERMEDIATE CODE: A131

Effective date: 20140507

A601 Written request for extension of time

Free format text: JAPANESE INTERMEDIATE CODE: A601

Effective date: 20140728

A602 Written permission of extension of time

Free format text: JAPANESE INTERMEDIATE CODE: A602

Effective date: 20140804

A521 Request for written amendment filed

Free format text: JAPANESE INTERMEDIATE CODE: A523

Effective date: 20141030

TRDD Decision of grant or rejection written
A01 Written decision to grant a patent or to grant a registration (utility model)

Free format text: JAPANESE INTERMEDIATE CODE: A01

Effective date: 20150407

A61 First payment of annual fees (during grant procedure)

Free format text: JAPANESE INTERMEDIATE CODE: A61

Effective date: 20150427

R150 Certificate of patent or registration of utility model

Ref document number: 5740397

Country of ref document: JP

Free format text: JAPANESE INTERMEDIATE CODE: R150

R250 Receipt of annual fees

Free format text: JAPANESE INTERMEDIATE CODE: R250

R250 Receipt of annual fees

Free format text: JAPANESE INTERMEDIATE CODE: R250

R250 Receipt of annual fees

Free format text: JAPANESE INTERMEDIATE CODE: R250

R250 Receipt of annual fees

Free format text: JAPANESE INTERMEDIATE CODE: R250

R250 Receipt of annual fees

Free format text: JAPANESE INTERMEDIATE CODE: R250

R250 Receipt of annual fees

Free format text: JAPANESE INTERMEDIATE CODE: R250

LAPS Cancellation because of no payment of annual fees