JP5656706B2 - 電池温調装置 - Google Patents

電池温調装置 Download PDF

Info

Publication number
JP5656706B2
JP5656706B2 JP2011063311A JP2011063311A JP5656706B2 JP 5656706 B2 JP5656706 B2 JP 5656706B2 JP 2011063311 A JP2011063311 A JP 2011063311A JP 2011063311 A JP2011063311 A JP 2011063311A JP 5656706 B2 JP5656706 B2 JP 5656706B2
Authority
JP
Japan
Prior art keywords
heat exchanger
heat medium
heat
battery
pipes
Prior art date
Legal status (The legal status is an assumption and is not a legal conclusion. Google has not performed a legal analysis and makes no representation as to the accuracy of the status listed.)
Active
Application number
JP2011063311A
Other languages
English (en)
Other versions
JP2012199149A (ja
Inventor
慎太郎 渡▲辺▼
慎太郎 渡▲辺▼
藤 敬司
敬司 藤
英史 大石
英史 大石
豊 藤木
豊 藤木
尚也 横町
尚也 横町
斉礼 川田
斉礼 川田
誠二 松島
誠二 松島
Current Assignee (The listed assignees may be inaccurate. Google has not performed a legal analysis and makes no representation or warranty as to the accuracy of the list.)
Toyota Industries Corp
Resonac Holdings Corp
Original Assignee
Toyota Industries Corp
Showa Denko KK
Priority date (The priority date is an assumption and is not a legal conclusion. Google has not performed a legal analysis and makes no representation as to the accuracy of the date listed.)
Filing date
Publication date
Application filed by Toyota Industries Corp, Showa Denko KK filed Critical Toyota Industries Corp
Priority to JP2011063311A priority Critical patent/JP5656706B2/ja
Publication of JP2012199149A publication Critical patent/JP2012199149A/ja
Application granted granted Critical
Publication of JP5656706B2 publication Critical patent/JP5656706B2/ja
Active legal-status Critical Current
Anticipated expiration legal-status Critical

Links

Images

Classifications

    • YGENERAL TAGGING OF NEW TECHNOLOGICAL DEVELOPMENTS; GENERAL TAGGING OF CROSS-SECTIONAL TECHNOLOGIES SPANNING OVER SEVERAL SECTIONS OF THE IPC; TECHNICAL SUBJECTS COVERED BY FORMER USPC CROSS-REFERENCE ART COLLECTIONS [XRACs] AND DIGESTS
    • Y02TECHNOLOGIES OR APPLICATIONS FOR MITIGATION OR ADAPTATION AGAINST CLIMATE CHANGE
    • Y02EREDUCTION OF GREENHOUSE GAS [GHG] EMISSIONS, RELATED TO ENERGY GENERATION, TRANSMISSION OR DISTRIBUTION
    • Y02E60/00Enabling technologies; Technologies with a potential or indirect contribution to GHG emissions mitigation
    • Y02E60/10Energy storage using batteries

Landscapes

  • Secondary Cells (AREA)
  • Battery Mounting, Suspending (AREA)

Description

本発明は、電池温調装置に関するものである。
特許文献1には、車両用の電源装置が開示されている。この車両用の電源装置は、車両を走行させるモータに電力を供給する組電池と、この組電池を冷却する冷却機構とを備えている。組電池が、所定の隙間で互いに積層状態に配置されてなる複数の角型電池と、隣接する角型電池の対向面に挟まれて接触する角型電池を絶縁して冷却する絶縁冷却スペーサとを備えている。絶縁冷却スペーサは水密構造の冷却液通路を備えており、この冷却液通路は冷却機構に連結されて、冷却機構から供給される冷却液で絶縁冷却スペーサが冷却され、この絶縁冷却スペーサが角型電池を絶縁しながら対向面を冷却する。
特開2009−9853号公報
ところで、熱交換器に熱媒を流すことにより電池を温調するためには、熱交換器には熱媒の供給パイプと排出パイプが接続されている必要がある。このとき、熱交換器と、熱媒の供給・排出パイプとの連結構造として、熱交換器に形成した突部を熱媒の供給・排出パイプに形成した透孔に挿入してロウ付けすると、強度が不足しやすい。特に、熱交換器に対して熱媒の供給・排出パイプが片側に配置されていると、強度が不足しやすい。
本発明の目的は、内部に熱媒通路が形成された熱交換器と、熱交換器に接続されるパイプとの強度不足を回避することができる電池温調装置を提供することにある。
請求項1に記載の発明では、扁平で、かつ、内部に熱媒通路が形成され、電池との間で熱交換を行う熱交換器と、前記熱交換器の扁平面に垂直に接続され、熱媒を前記熱媒通路内に供給するための供給用パイプと、前記熱交換器の扁平面に垂直に接続され、熱媒を前記熱媒通路内から排出するための排出用パイプと、を備えた電池温調装置であって、前記供給用パイプおよび前記排出用パイプは、複数の前記熱交換器を貫通しており、複数の前記熱交換器は、それぞれ前記供給用パイプとの接続部および前記排出用パイプとの接続部を固定端として前記両パイプにより片持ち構造に支持され、前記両パイプは、前記熱交換器との接続部で前記両パイプの全周にわたり前記熱交換器と接合されてなることを要旨とする。
請求項1に記載の発明によれば、熱交換器は、扁平で、かつ、内部に熱媒通路が形成され、電池との間で熱交換を行う。供給用パイプが熱交換器の扁平面に垂直に接続され、熱媒を熱媒通路内に供給することでできる。排出用パイプは、熱交換器の扁平面に垂直に接続され、熱媒を熱媒通路内から排出することができる。熱交換器が、供給用パイプとの接続部および排出用パイプとの接続部を固定端として両パイプにより片持ち構造に支持される。ここで、両パイプは、熱交換器との接続部で両パイプの全周にわたり熱交換器と接合されているので、強度不足を回避することができる。
請求項2に記載の発明では、請求項1に記載の電池温調装置において、前記両パイプは丸パイプであることを要旨とする。
請求項2に記載の発明によれば、丸パイプであると、パイプの全周にわたり熱交換器を接合しやすい。
請求項3に記載の発明では、請求項1または2に記載の電池温調装置において、複数の前記熱交換器における前記両パイプとの接合部にはフランジ部が形成され、当該フランジ部で前記両パイプとロウ付けしてなることを要旨とする。
請求項3に記載の発明によれば、熱交換器における両パイプとの接合部に形成したフランジ部で両パイプと容易にロウ付けすることができる。
本発明によれば、内部に熱媒通路が形成された熱交換器と、熱交換器に接続されるパイプとの強度不足を回避することができる。
(a)は本実施形態における電池温調装置の平面図、(b)は(a)のA−A線での電池温調装置の縦断面図。 多段式熱交換装置の斜視図。 熱交換器の斜視図。 熱交換器のプレートの斜視図。 電池温調装置におけるパイプ接続部の斜視図。 電池温調装置におけるパイプの斜視図。 別例の熱交換器のプレートの斜視図。 別例の電池温調装置におけるパイプ接続部の斜視図。 別例の電池温調装置における熱媒の通路を説明するための平面図。 別例の熱交換器を模式的に示す断面図。 別例の電池温調装置におけるパイプ接続部の断面図。
以下、本発明を、走行用電池を搭載した車両(自動車)に具体化した一実施形態を図1〜図6に従って説明する。
なお、図面において、水平面を、直交するX,Y方向で規定するとともに、上下方向をZ方向で規定している。
図1に示すように、電池温調装置10は、電池ケース20,21を備えている。各電池ケース20,21は四角箱形(直方体形状)をなしている。電池ケース20の上に電池ケース21が重ねて配置されている。各電池ケース20,21は、樹脂、または、絶縁性コーティング膜が形成された金属、または、シリコン等よりなる。
電池ケース20の内部には、円筒形電池30がその軸線が水平になる状態で、水平方向に一列に並べて隣接して配置されている。また、円筒形電池30は電池ケース20の内部において上下2段に、かつ千鳥配置されている。即ち、円筒形電池30を、位相をずらして配置することにより千鳥配置されている。
同様に、電池ケース21の内部には、円筒形電池30がその軸線が水平になる状態で、水平方向に一列に並べて隣接して配置されている。また、円筒形電池30は電池ケース21の内部において上下2段に、かつ千鳥配置されている。即ち、円筒形電池30を、位相をずらして配置することにより千鳥配置されている。
各円筒形電池30は二次電池である。
なお、電池ケース20および電池ケース21の内部に、電池ケース内の各円筒形電池30の電極(正極、負極)をつなぐ端子プレート(正極端子プレート、負極端子プレート)が配置されている。また、電池ケース20および電池ケース21には、円筒形電池30と同じ径の座ぐり穴が設けられており、この座ぐり穴により円筒形電池30が位置決めされている。
電池温調装置10には多段式熱交換装置40が備えられている。多段式熱交換装置40により電池ケース20,21の内部の円筒形電池30を温調することができるようになっている。
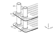
図2に示すように、多段式熱交換装置40は、扁平な長方形をなす下側熱交換器50と、扁平な長方形をなす上側熱交換器51を備えている。下側熱交換器50と上側熱交換器51には、熱媒供給パイプ60と熱媒排出パイプ61が接続されている。下側熱交換器50と上側熱交換器51は水平に、かつ互いに対向する状態で配置される。熱媒供給パイプ60と熱媒排出パイプ61は共に丸パイプであり、立設された状態で配置され、垂直方向に延びている。1本の熱媒供給パイプ60および1本の熱媒排出パイプ61は、上側熱交換器51および下側熱交換器50を貫通している。即ち、熱媒供給パイプ60および熱媒排出パイプ61は、熱交換器を多段にした多段式熱交換装置40の集合配管となっている。
また、熱媒供給パイプ60および熱媒排出パイプ61は、長尺状の下側熱交換器50および上側熱交換器51おける片側において接近して配置されている。よって、熱媒供給パイプ60および熱媒排出パイプ61は、下側熱交換器50および上側熱交換器51に対し片持ち構造にて連結されている。即ち、熱交換器50,51は、熱媒供給パイプ60との接続部および熱媒排出パイプ61との接続部を固定端として両パイプにより片持ち構造に支持されている。片持ち構造とすることにより電池ケース20,21の内部に下側熱交換器50および上側熱交換器51を配置した状態(図1参照)において省スペース化を図ることができる。下側熱交換器50と上側熱交換器51とは一定の間隔を保った状態で水平方向に延びている。
下側熱交換器50は、図1に示すように、電池ケース20の内部に挿入され、電池ケース20の内部において上下2段に配置された円筒形電池30の間に位置している。よって、下側熱交換器50の上下両面に円筒形電池30が配列され、円筒形電池30と下側熱交換器50の間で熱が移動する。またこのとき、円筒形電池30の隙間には高熱伝導性の樹脂等が注入(充填)されており、この樹脂等により熱伝導と円筒形電池30の保持が行われるようになっている。
同様に、上側熱交換器51は、図1に示すように、電池ケース21の内部に挿入され、電池ケース21の内部において上下2段に配置された円筒形電池30の間に位置している。よって、上側熱交換器51の上下両面に円筒形電池30が配列され、円筒形電池30と上側熱交換器51の間で熱が移動する。またこのとき、円筒形電池30の隙間には高熱伝導性の樹脂等が注入(充填)されており、この樹脂等により熱伝導と円筒形電池30の保持が行われるようになっている。
下側熱交換器50と上側熱交換器51とは同じ構成をなしている。図3に示すように、下側熱交換器50および上側熱交換器51は、扁平で、かつ、内部に熱媒通路が形成され、円筒形電池30との間で熱交換を行って温調する。
下側熱交換器50および上側熱交換器51は、図4に示すプレート70を2枚用いて構成され、上下一対のプレート70を重ね合わせてロウ付けすることにより内部に熱媒通路が形成される。つまり、下側の外殻プレートと上側の外殻プレートは外周縁部が鍔状に形成され、この外周縁部(鍔部)において接合され、下側の外殻プレートと上側の外殻プレートとの間に熱媒通路が形成される。
プレート70はX方向に延設されている。X方向における一端にはパイプ挿通孔71,72がY方向に離間して形成されている。パイプ挿通孔71からX方向に延びる熱媒通路80が形成されているとともにパイプ挿通孔72からX方向に延びる熱媒通路81が形成され、パイプ挿通孔71からX方向に延びる熱媒通路80と、パイプ挿通孔72からX方向に延びる熱媒通路81とは先端側で連通している。つまり、熱媒通路は1回折り返されている。よって、折り返された熱媒通路を流れる熱媒は対向流となり、各円筒形電池30は対向流となった熱媒との間で熱交換が行われることになる。
プレート70における熱媒通路80,81を構成する天板部(および底板部)にはX方向に延びるリブ(内部流路リブ)90a,90bが形成され、リブ90a,90bにより熱媒の流れが整流される。また、リブ90a,90bによりロウ付け面積を増大させることができるとともにプレート70の強度を向上させることができる。
図5に示すように、熱媒供給パイプ60は、上側熱交換器51および下側熱交換器50に熱媒通路と連通するように接続されている。同様に、熱媒排出パイプ61も、上側熱交換器51および下側熱交換器50に熱媒通路と連通するように接続されている。詳しくは、図6に示すように、熱媒供給パイプ60および熱媒排出パイプ61には貫通孔100,101が形成され、貫通孔100,101を介して熱媒供給パイプ60および熱媒排出パイプ61の内部と上側熱交換器51および下側熱交換器50の熱媒通路とが連通しており、熱媒を熱媒通路に供給するとともに熱媒を排出でき、熱媒通路を通して熱媒を流すことができるようになっている。即ち、下側熱交換器50および上側熱交換器51への熱媒の分配はパイプ60,61に穴をあけることにより行われる。熱媒としてクーラント(LLC)を用いることができる。
また、熱媒供給パイプ60および熱媒排出パイプ61の全周にわたり上側熱交換器51および下側熱交換器50とロウ付けにて接合されている。
ここで、図5に示すように、上側熱交換器51および下側熱交換器50における熱媒供給パイプ60および熱媒排出パイプ61との接合部にはフランジ部110が形成され、フランジ部110で熱媒供給パイプ60および熱媒排出パイプ61とロウ付けされている。つまり、フランジ部110の内側にパイプ60,61を配置し、外周部がロウ付けされる。下側熱交換器50を構成するプレート70同士、上側熱交換器51を構成するプレート70同士、熱媒供給パイプ60および熱媒排出パイプ61と下側熱交換器50および上側熱交換器51とは、一体で(一括で)ロウ付けされている。
図1(b)に示すようにフランジ部110は熱交換器51の一対のプレートの両側に設けられている。なお、フランジ部110は熱交換器の一対のプレートの片方だけに設けてもよい。
多段式熱交換装置40(下側熱交換器50、上側熱交換器51)と電池ケース20,21とは、接着剤、ボルト、ベルト等で固定されている。
次に、このように構成した電池温調装置10の作用について説明する。
熱媒が外部から熱媒供給パイプ60を通して供給される。この熱媒は上側熱交換器51および下側熱交換器50の内部に形成された熱媒通路に入る。熱媒は上側熱交換器51および下側熱交換器50の熱媒通路をX方向に流れて上側熱交換器51および下側熱交換器50の先端側において折り返してX方向に流れる。この熱媒は熱媒排出パイプ61に入り、熱媒排出パイプ61を通して外部に排出される。
電池ケース20,21の内部の配置された円筒形電池30は多段式熱交換装置40における下側熱交換器50および上側熱交換器51との熱交換により温調される。
より具体的には、始動時においては多段式熱交換装置40の上側熱交換器51および下側熱交換器50を用いて円筒形電池30を加熱する。始動後においては多段式熱交換装置40の上側熱交換器51および下側熱交換器50を用いて円筒形電池30を冷却する。
このようにして、図2に示すように、下側熱交換器50および上側熱交換器51における片側に入りと出の集合管としての熱媒供給パイプ60および熱媒排出パイプ61を配置し、多段式熱交換装置40の上側熱交換器51および下側熱交換器50における熱媒通路(流路)を折り返す構造となっている。そのため、一方向に熱媒を流す構成の場合には電池間に温度差ができてしまうが、熱媒通路を折り返して対向流とすることにより円筒形電池30の温度バラツキを低減できる。さらに、円筒形電池30の本数が増えた場合でも、多段式熱交換装置40の下側熱交換器50および上側熱交換器51を延長するだけで同様の効果を維持することが可能となる。
また、多段式熱交換装置40の下側熱交換器50および上側熱交換器51も、集合配管である熱媒供給パイプ60および熱媒排出パイプ61も、一体ロウ付けすることで、漏れを防ぎ、組付け作業効率を向上させることができる。
より詳しく説明する。
従来において、電池ケース内に液状媒体用の熱交換器の接続部が存在する場合、漏れが発生したときに電池がショートしてしまう虞がある。また、供給パイプおよび排出パイプ(集合配管)と熱交換器が別部品の場合、配管接続等の作業が発生する。さらに、熱交換器における両側に供給パイプと排出パイプを設け、熱交換器に熱媒を流した場合、電池間に温度差ができてしまう。
これに対し本実施形態では、多段式熱交換装置40の下側熱交換器50および上側熱交換器51も熱媒供給パイプ60および熱媒排出パイプ61(集合配管)も一体ロウ付けすることで、漏れを防ぎ、組付け作業効率を向上させることができる。また、円筒形電池30間の温度分布をなくすことができる。さらに、円筒形電池30の数の増減に対応可能な拡張性の高い構造となる。
以上のごとく本実施形態によれば、以下のような効果を得ることができる。
(1)電池温調装置10は、扁平で、かつ、内部に熱媒通路が形成され、電池30との間で熱交換を行う熱交換器50,51と、熱交換器50,51の扁平面に垂直に接続され、熱媒を熱媒通路内に供給するための供給用パイプとしての熱媒供給パイプ60と、熱交換器50,51の扁平面に垂直に接続され、熱媒を熱媒通路内から排出するための排出用パイプとしての熱媒排出パイプ61と、を備えている。熱交換器50,51は、熱媒供給パイプ60との接続部および熱媒排出パイプ61との接続部を固定端として両パイプ60,61により片持ち構造に支持されている。両パイプ60,61は、熱交換器50,51との接続部で両パイプ60,61の全周にわたり熱交換器50,51と接合されてなる。よって、熱交換器50,51と熱媒供給パイプ60および熱媒排出パイプ61との強度不足を回避することができる。
(2)熱媒供給パイプ60および熱媒排出パイプ61は丸パイプであるので、パイプの全周にわたり上側熱交換器51および下側熱交換器50を接合しやすい。
(3)下側熱交換器50および上側熱交換器51における熱媒供給パイプ60および熱媒排出パイプ61との接合部にはフランジ部110が形成され、フランジ部110で熱媒供給パイプ60および熱媒排出パイプ61とロウ付けしているので、フランジ部110でパイプと容易にロウ付けすることができる。
実施形態は前記に限定されるものではなく、例えば、次のように具体化してもよい。
・図4においては熱交換器の内部はリブ90a,90bにて整流したが、これに代わり、図7に示すように、熱交換器の内部は波板状のフィン120を設けてもよい。なお、図4のようにリブ90a,90bを用いた場合には、フィン120が不要となり、部品点数の削減を図ることができる。
・図5に代わり、図8に示すようにフランジ部110がない構成としてもよい。この場合、下側熱交換器50を構成するプレート70同士、および、上側熱交換器51を構成するプレート70同士をロウ付けした後に、熱媒供給パイプ60および熱媒排出パイプ61と下側熱交換器50および上側熱交換器51とをロウ付けすることになる。
・図4においては、熱交換器の内部に形成される熱媒通路は1回折り返したが、折り返しは1度でなくてもよい。例えば、図9に示すように、3回折り返してもよい(2本の対向流を形成してもよい)。折り返しの数が大きくなると、温度バラツキをさらに低減することができる。
・熱交換器は2枚のプレート70を用いてその内部に熱媒通路を形成したが、これに代わり図10に示すように中間プレートを含む3枚のプレート130,131,132により構成してもよい。つまり、中間プレート132を挟んで下側の外殻プレート130の外周縁部と上側の外殻プレート131の外周縁部を接合してその内部に熱媒通路を形成してもよい。
・図6においては、集合配管としての熱媒供給パイプ60および熱媒排出パイプ61は熱交換器を貫通していたが、図11に示すように集合配管としての熱媒供給パイプ60および熱媒排出パイプ61は熱交換器を貫通していなくてもよい。
・熱媒供給パイプ60および熱媒排出パイプ61は、丸パイプ以外でもよく、例えば角パイプでよい。
・上記実施形態では電池ケース20と電池ケース21を重ねて配置し、各電池ケース20,21の内部に上下2段に円筒形電池30を配置したが、これに代わり、電池ケースの内部に上下4段に円筒形電池30を配置し、下から1段目と2段目の間に熱交換器を挿入するとともに下から3段目と4段目の間に熱交換器を挿入してもよい。
・上記実施形態では下側熱交換器50と上側熱交換器51を有する2段式熱交換装置としたが、1段のみの熱交換器、あるいは、3段以上の熱交換器を備えた多段式熱交換装置としてもよい。
・上記実施形態では走行用電池を搭載した車両に具体化したが、これに限ることなく、例えば家庭用の電池温調装置に具体化してもよい。
10…電池温調装置、30…円筒形電池、50…下側熱交換器、51…上側熱交換器、60…熱媒供給パイプ、61…熱媒排出パイプ、80…熱媒通路、81…熱媒通路、110…フランジ部。

Claims (3)

  1. 扁平で、かつ、内部に熱媒通路が形成され、電池との間で熱交換を行う複数の熱交換器と、
    前記熱交換器の扁平面に垂直に接続され、熱媒を前記熱媒通路内に供給するための供給用パイプと、
    前記熱交換器の扁平面に垂直に接続され、熱媒を前記熱媒通路内から排出するための排出用パイプと、
    を備えた電池温調装置であって、
    前記供給用パイプおよび前記排出用パイプは、複数の前記熱交換器を貫通しており、
    複数の前記熱交換器は、それぞれ前記供給用パイプとの接続部および前記排出用パイプとの接続部を固定端として前記両パイプにより片持ち構造に支持され、
    前記両パイプは、前記熱交換器との接続部で前記両パイプの全周にわたり前記熱交換器と接合されてなることを特徴とする電池温調装置。
  2. 前記両パイプは丸パイプであることを特徴とする請求項1に記載の電池温調装置。
  3. 複数の前記熱交換器における前記両パイプとの接合部にはフランジ部が形成され、当該フランジ部で前記両パイプとロウ付けしてなることを特徴とする請求項1または2に記載の電池温調装置。
JP2011063311A 2011-03-22 2011-03-22 電池温調装置 Active JP5656706B2 (ja)

Priority Applications (1)

Application Number Priority Date Filing Date Title
JP2011063311A JP5656706B2 (ja) 2011-03-22 2011-03-22 電池温調装置

Applications Claiming Priority (1)

Application Number Priority Date Filing Date Title
JP2011063311A JP5656706B2 (ja) 2011-03-22 2011-03-22 電池温調装置

Publications (2)

Publication Number Publication Date
JP2012199149A JP2012199149A (ja) 2012-10-18
JP5656706B2 true JP5656706B2 (ja) 2015-01-21

Family

ID=47181165

Family Applications (1)

Application Number Title Priority Date Filing Date
JP2011063311A Active JP5656706B2 (ja) 2011-03-22 2011-03-22 電池温調装置

Country Status (1)

Country Link
JP (1) JP5656706B2 (ja)

Families Citing this family (8)

* Cited by examiner, † Cited by third party
Publication number Priority date Publication date Assignee Title
FR3009423B1 (fr) * 2013-07-30 2015-08-21 Blue Solutions Module de stockage d'energie comprenant une pluralite d'ensembles de stockage d'energie
EP3369512B1 (en) * 2015-10-26 2021-06-02 Nippon Light Metal Company, Ltd. Method for manufacturing cooling unit
JP2019192486A (ja) * 2018-04-25 2019-10-31 株式会社オートネットワーク技術研究所 蓄電ユニット
KR102391984B1 (ko) 2018-05-23 2022-04-27 주식회사 엘지에너지솔루션 전지 모듈용 냉각 부재 및 이를 포함하는 전지팩
JP7494453B2 (ja) 2019-09-04 2024-06-04 株式会社レゾナック 熱交換器
JP7094933B2 (ja) * 2019-11-20 2022-07-04 本田技研工業株式会社 冷却器、冷却構造および冷却器の製造方法
JP7306255B2 (ja) * 2019-12-18 2023-07-11 株式会社レゾナック 熱交換器
WO2022048294A1 (zh) * 2020-09-04 2022-03-10 欣旺达电动汽车电池有限公司 电池包及其汽车

Family Cites Families (4)

* Cited by examiner, † Cited by third party
Publication number Priority date Publication date Assignee Title
JP2007066647A (ja) * 2005-08-30 2007-03-15 Toyota Motor Corp 電池冷却構造および電池モジュール
JP5137480B2 (ja) * 2007-06-29 2013-02-06 三洋電機株式会社 車両用の電源装置
JP2011049137A (ja) * 2009-07-31 2011-03-10 Sanyo Electric Co Ltd 組電池
DE112011103339T5 (de) * 2010-10-04 2013-08-01 Dana Canada Corp. Konformer fluidgekühlter Wärmetauscher für Batterien

Also Published As

Publication number Publication date
JP2012199149A (ja) 2012-10-18

Similar Documents

Publication Publication Date Title
JP5656706B2 (ja) 電池温調装置
JP5617715B2 (ja) 電池温調装置
CN103201870B (zh) 用于冷却导热蓄电池的热交换器和蓄电池单元结构
KR101750066B1 (ko) 수냉식 이차전지
CN107864666B (zh) 热交换器和用于电动或混合动力车辆的热管理装置
KR101528007B1 (ko) 차량용 배터리 냉각 장치
JP6167023B2 (ja) 組電池の冷却構造
JP2013500570A (ja) 改善された冷却効率を有するバッテリ・モジュール
JP2008159440A (ja) 車両用バッテリ冷却システム
US20130045411A1 (en) Cooling device
US11629917B2 (en) Three-layer heat exchanger with internal manifold for battery thermal management
JP2010010418A (ja) 積層型冷却器
JP2014159945A (ja) 熱交換器
JP2014082047A (ja) 組電池の冷却構造
JP2020145116A (ja) 組電池
JP2011192730A (ja) 冷却器、積層冷却器および中間プレート
JP2009281696A (ja) 凝縮器
JP5699900B2 (ja) 電池モジュール
JP7582774B2 (ja) 熱交換器
JP6927169B2 (ja) 組電池
JP6331870B2 (ja) 積層式冷却器
JP2012195208A (ja) 電池温調装置
JP6750420B2 (ja) 積層型熱交換器
JP2012199147A (ja) 電池温調装置
JP7696756B2 (ja) 面接触型熱交換器

Legal Events

Date Code Title Description
A621 Written request for application examination

Free format text: JAPANESE INTERMEDIATE CODE: A621

Effective date: 20140205

A131 Notification of reasons for refusal

Free format text: JAPANESE INTERMEDIATE CODE: A131

Effective date: 20140826

A521 Request for written amendment filed

Free format text: JAPANESE INTERMEDIATE CODE: A523

Effective date: 20141024

TRDD Decision of grant or rejection written
A01 Written decision to grant a patent or to grant a registration (utility model)

Free format text: JAPANESE INTERMEDIATE CODE: A01

Effective date: 20141111

A61 First payment of annual fees (during grant procedure)

Free format text: JAPANESE INTERMEDIATE CODE: A61

Effective date: 20141125

R150 Certificate of patent or registration of utility model

Ref document number: 5656706

Country of ref document: JP

Free format text: JAPANESE INTERMEDIATE CODE: R150

R250 Receipt of annual fees

Free format text: JAPANESE INTERMEDIATE CODE: R250

R250 Receipt of annual fees

Free format text: JAPANESE INTERMEDIATE CODE: R250

R250 Receipt of annual fees

Free format text: JAPANESE INTERMEDIATE CODE: R250

R250 Receipt of annual fees

Free format text: JAPANESE INTERMEDIATE CODE: R250

R250 Receipt of annual fees

Free format text: JAPANESE INTERMEDIATE CODE: R250

R250 Receipt of annual fees

Free format text: JAPANESE INTERMEDIATE CODE: R250

S111 Request for change of ownership or part of ownership

Free format text: JAPANESE INTERMEDIATE CODE: R313115

R350 Written notification of registration of transfer

Free format text: JAPANESE INTERMEDIATE CODE: R350

R250 Receipt of annual fees

Free format text: JAPANESE INTERMEDIATE CODE: R250

S531 Written request for registration of change of domicile

Free format text: JAPANESE INTERMEDIATE CODE: R313531

R350 Written notification of registration of transfer

Free format text: JAPANESE INTERMEDIATE CODE: R350

R250 Receipt of annual fees

Free format text: JAPANESE INTERMEDIATE CODE: R250

R250 Receipt of annual fees

Free format text: JAPANESE INTERMEDIATE CODE: R250