JP5609894B2 - 電池パック - Google Patents
電池パック Download PDFInfo
- Publication number
- JP5609894B2 JP5609894B2 JP2012002602A JP2012002602A JP5609894B2 JP 5609894 B2 JP5609894 B2 JP 5609894B2 JP 2012002602 A JP2012002602 A JP 2012002602A JP 2012002602 A JP2012002602 A JP 2012002602A JP 5609894 B2 JP5609894 B2 JP 5609894B2
- Authority
- JP
- Japan
- Prior art keywords
- battery
- layer
- exterior material
- battery pack
- hard
- Prior art date
- Legal status (The legal status is an assumption and is not a legal conclusion. Google has not performed a legal analysis and makes no representation as to the accuracy of the status listed.)
- Active
Links
Images
Classifications
-
- Y—GENERAL TAGGING OF NEW TECHNOLOGICAL DEVELOPMENTS; GENERAL TAGGING OF CROSS-SECTIONAL TECHNOLOGIES SPANNING OVER SEVERAL SECTIONS OF THE IPC; TECHNICAL SUBJECTS COVERED BY FORMER USPC CROSS-REFERENCE ART COLLECTIONS [XRACs] AND DIGESTS
- Y02—TECHNOLOGIES OR APPLICATIONS FOR MITIGATION OR ADAPTATION AGAINST CLIMATE CHANGE
- Y02E—REDUCTION OF GREENHOUSE GAS [GHG] EMISSIONS, RELATED TO ENERGY GENERATION, TRANSMISSION OR DISTRIBUTION
- Y02E60/00—Enabling technologies; Technologies with a potential or indirect contribution to GHG emissions mitigation
- Y02E60/10—Energy storage using batteries
Landscapes
- Sealing Battery Cases Or Jackets (AREA)
- Battery Mounting, Suspending (AREA)
Description
これに対し、近年、アルミラミネートフィルム等のフィルム状外装材を用いて薄型の電池を作製することにより、上述のような薄型形状の電池を得ることが可能となることが報告されている(例えば、非特許文献1参照)。
この薄型電池1は、正極と負極とをセパレーターを介して積層し巻回して作製した扁平型の電池素子を、アルミラミネートフィルムで外装し、電池素子の周囲を封止して作製されたものである。
正極及び負極と接続された正極端子2a及び負極端子2bは、例えば薄型電池1の一辺から電池外部に導出されており、電池素子周囲の一辺を残して封止した後、封止していない開口から電解液を注液し、最後に正極端子2a及び負極端子2bの導出辺を封止することにより、上述のような薄型電池を得ることができる。
また、パック筐体を製作する際、プラスチックの薄肉成型の技術的限界や強度確保のため、おおよそ300μm以上の肉厚が必要となり、収容できる電池体積を大きくすることが困難であった。
熱接着層、金属層及び外装層を順次積層した構造を有する第一のラミネートフィルムから成り、電池素子を外装する軟質外装材と、を有し、
正極と負極の電極端子を外部に導出したまま、電池素子の周囲に沿って軟質外装材を封止して成る非水電解質二次電池と、
金属層及び外装層を順次積層した構造を有する第二のラミネートフィルムから成り、該第二のラミネートフィルムが、非水電解質二次電池の両サイド部をそれぞれ覆うか、または非水電解質二次電池の上面部および底面部をそれぞれ覆うように、非水電解質二次電池を軟質外装材ごと包みこむようにして外装する硬質外装材と、
非水電解質二次電池と硬質外装材との間に設けられる両面テープと、
この硬質外装材に収容され非水電解質二次電池の電圧及び電流を制御可能な保護回路基板と、を備え、
電池素子と軟質外装材とが密着しており、
非水電解質二次電池の上面部及び底面部または非水電解質二次電池の両サイド部に硬質外装材の合わせ目が設けられ、
軟質外装材と硬質外装材の金属層とが、両面テープのみにより軟質外装材と硬質外装材とが未溶着で接合されていることを特徴とする。
この実施形態では、外装材として4層構造の硬質ラミネートフィルムを用いる構成について説明する。
図2に、本発明の電池パックの一実施形態を表すリチウムイオンポリマー二次電池の電池パックの外観を示す。この電池パック40は、硬質外装材としての硬質ラミネートフィルム41に、非水電解質二次電池の一例であるリチウムイオンポリマー電池を収容し、両端開口部に樹脂成型カバーであるトップカバー42及びリアカバー43を嵌合したものであり、必要に応じて製品ラベル46が配設されている。
トップカバー42及びリアカバー43は、電池アセンブリ45の開口部に嵌合した後、熱融着等で電池アセンブリ45に接着される。トップカバー42は、上部ホルダー42a及び下部ホルダー42bが嵌合されてなり、上部ホルダー42aと下部ホルダー42bとの間には回路基板44が配置される。
なお、この電池パック40は、図示しない電気機器との接続端子を有しており、トップカバー42には、電気機器との接続端子を露出させた端子窓が設けられている。
図4は、この電池パック45に用いる電池素子59の構成を示す。
この電池素子59は、帯状の正極51と、セパレータ53aと、正極51に対向して配された帯状の負極52と、セパレータ53bとを順に積層し、長手方向に巻回されており、図示しないゲル状電解質が正極51及び負極52の両面に塗布されている。
また、電池素子59からは、正極51と接続された正極端子55a及び負極52と接続された負極端子55bが導出されており、正極端子55a及び負極端子55bのそれぞれの両面には後に外装するラミネートフィルムとの接着性を向上させるために樹脂片56a及び56bが被覆されている。なお、電解液を用いる場合は、後に電解液の注液工程を設ける。
正極51は、正極活物質を含有する正極活物質層51aが、正極集電体51bの両面上に形成されてなる。正極集電体51bとしては、例えばアルミニウム(Al)箔などの金属箔により構成されている。
なお、正極活物質、導電剤、結着剤及び溶剤は、均一に分散していればよく、その混合比は問われない。
また、遷移金属元素の一部を他の元素に置換した固溶体も使用可能である。LiNi0.5Co0.5O2、LiNi0.8Co0.2O2等がその例として挙げられる。これらのリチウム 複合酸化物は、高電圧を発生でき、エネルギー密度が優れたものである。さらに、正極活物質としてTiS2、MoS2、NbSe2、V2O5等のリチウムを有しない金属硫化物又は酸化物を使用してもよい。
正極端子55aの材料としては、例えばAl等が挙げられる。
負極52は、負極活物質を含有する負極活物質層52aが、負極集電体52bの両面上に形成されてなる。負極集電体52bとしては、例えば銅(Cu)箔,Ni箔及びステンレス箔などの金属箔により構成されている。
具体的に、リチウムをドープ・脱ドープ可能な炭素材料としては、グラファイト、難黒鉛化炭素、易黒鉛化炭素等が挙げられ、より具体的には、熱分解炭素類、コークス類(ピッチコークス、ニードルコークス、石油コークス)、黒鉛類、ガラス状炭素類、有機高分子化合物焼成体(フェノール樹脂、フラン樹脂等を適当な温度で焼成し炭素化したもの)、炭素繊維、活性炭等の炭素材料を使用することができる。更に、リチウムをドープ、脱ドープできる材料としては、ポリアセチレン、ポリピロール等の高分子やSnO2等の酸化物を使用することができる。
結着剤としては、例えばポリフッ化ビニリデン、スチレンブタジエンゴム等が用いられる。また、溶剤としては、例えばN−メチルピロリドン、メチルエチルケトン等が用いられる。
電解質、即ち非水電解質組成物は、リチウムイオン電池に一般的に使用される電解質塩と非水溶媒が使用可能である。
非水溶媒としては、具体的には、エチレンカーボネート(EC)、プロピレンカーボネート(PC)、γ−ブチロラクトン、ジメチルカーボネート、ジエチルカーボネート、エチルメチルカーボネート、ジプロピルカーボネート、エチルプロピルカーボネート、及びこれらの炭酸エステル類の水素をハロゲンに置換した溶媒等が挙げられる。
これらの溶媒については、その1種を単独で用いてもよいし、複数種を所定の組成で混合してもよい。
具体的には、LiPF6、LiBF4、LiN(CF3SO2)2、LiN(C2F5SO2)2、LiClO4等が挙げられる。電解質塩濃度としては、上記溶媒に溶解することができる濃度であれば問題ないが、リチウムイオン濃度が非水溶媒に対して0.4mol/kg以上、2.0mol/kg以下の範囲であることが好ましい。
マトリクスポリマは、非水溶媒に電解質塩が溶解されてなる非水電解液に相溶可能であり、ゲル化できるものであればよい。
このようなマトリクスポリマとしては、ポリフッ化ビニリデン、ポリエチレンオキサイド、ポリプロピレンオキサイド、ポリアクリロニトリル、ポリメタクリロニトリルを繰り返し単位に含むポリマーが挙げられる。このようなポリマーについては、その1種を単独で用いてもよいし、2種類以上を混合して用いてもよい。
セパレータは、例えばポリプロピレン(PP)やポリエチレン(PE)などのポリオレフィン系の材料から成る多孔質膜、又はセラミック製の不織布などの無機材料よりなる多孔質膜により構成されており、これら2種以上の多孔質膜を積層した構造とされていてもよい。中でも、ポリエチレン、ポリプロピレンの多孔質フィルムが最も有効である。
上述のようにして作製したゲル状電解質溶液を正極51及び負極52に均一に塗布し、正極活物質層51a及び負極活物質層52aに含浸させた後、常温で保存するか又は、乾燥工程を経てゲル状電解質層を形成する。次いで、ゲル状電解質層を形成した正極51及び負極52を用い、正極51、セパレータ53a、負極52、セパレータ53bの順に積層して巻回し、電池素子59とする。
ここで、軟質ラミネートフィルム57としては、図6で示す構成のラミネートフィルムを用いることができる。軟質ラミネートフィルム57は、符号61で示される金属箔が、樹脂フィルムから成る外装層62及び樹脂フィルムから成る熱接着層(以下、シーラント層と適宜称する)63に挟まれた、防湿性、絶縁性を有する多層フィルムから成る。
なお、外装層62、金属箔61、シーラント層63の厚みは、特に限定されるものではないが、それぞれ15μm程度、35μm程度、30μm程度である。
また、金属箔61と外装層62及びシーラント層63のそれぞれは接着剤層64及び65を介して貼り合わされている。
上記外装層62やシーラント層63が金属との熱接着性を有している場合や、金属表面に上記外装層63やシーラント層63との熱接着が可能な下地層を形成する場合は、上記接着剤層64は省略が可能である。
即ち、外装層/金属膜/シーラント層=Ny/Al/PE、PET/Al/CPP、PET/Al/PET/CPP、PET/Ny/Al/CPP、PET/Ny/Al/Ny/CPP、PET/Ny/Al/Ny/PE、Ny/PE/Al/LLDPE、PET/PE/Al/PET/LDPE、又はPET/Ny/Al/LDPE/CPPとすることができる。なお、金属箔としてはAl以外の金属を採用することができることは勿論である。
次いで、電池素子59の周辺部の三辺を減圧下で熱融着することにより封止して、電池50とする。かかる減圧下での熱融着によって、電池素子59は、軟質ラミネートフィルム57と密着する。
このようにして作製した電池を、硬質ラミネートフィルムで外装し、電池アセンブリを作製する。まず、硬質ラミネートフィルムの構成について説明する。
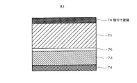
得られる強度を確保するため材質を硬質としているが、外装層72の厚みを115μm以下、金属箔71の厚みを330μm以下としたのは、熱伝導の抵抗が増大しないようにするためである。
接着層74としては、軟質ラミネートフィルム57の外装層として用いられるNy,PET、PEN等との接着性に優れ、その溶融温度が電池素子に影響を与えない程度である樹脂材料が用いられる。また、接着層74は、シーラント層73に用いる材料よりも低い融点の樹脂材料を用いる。
即ち、電池50の外装材である軟質ラミネートフィルム57と硬質ラミネートフィルム41を、接着層74を介して熱融着する際、ラミネートフィルムそれぞれが表面に微細な凹凸を有していることから接着性が良好でないことがある。25〜50μm程度の厚さを有するシーラント層73が設けられていることにより、シーラント層73がクッションの役割を果たし、表面の微細な凹凸を有するラミネートフィルム同士を良好に接着させることができる。
上述のように、本発明の電池パックにおいては、軟質外装材と硬質外装材とが、軟質外装材の外装層が融けず且つ硬質外装材の接着層が融けることにより、接合している、即ち、具体的には、軟質ラミネートフィルム57と硬質ラミネートフィルム41とが接着しているが、軟質ラミネートフィルム57の外装層62が融けておらず、且つ硬質ラミネートフィルム41の熱接着層(シーラント層73+接着層74)が融けた状態となっている。
これにより、本発明の電池パックは、適切な強度を有し、軟質外装材がダメージを受けない程度の落下時にはパック外観に欠陥を与えることなく連続使用を可能とし、且つ軟質外装材がダメージを負うような落下時には硬質外装が優先的に剥離ないしは外れ、使用不可能なことが視認できるので、軟質外装の破損よるガス発生や機器を破壊するような電池膨れを未然に防止し得る電池パックを実現するものである。
まず、互いに同種の材料を接合する場合は一般的に強度を強くでき、異種材料とすれば強度を一定レベル以下にすることが可能である。
また、接着対象の溶融温度よりも低い温度で溶融する材料を熱接着層として選択し、接着対象が溶融しない温度とすることで接着強度を所定のレベル以下にコントロールすることも可能である。
また、電池パックの製造に当たりヒーターの温度を調整した場合でも同様である。
接合時にシール界面を理想の温度に保持するには、加熱部からシール界面までに十分に速い熱伝達を実現することが必要で、且つ界面以降はある程度遅い熱伝達とし、蓄熱し易くなるようにすることが好ましい。
また、接合、具体的には熱溶着で用いる熱源に対し、シール界面、即ち硬質外装材の熱接着層と軟質外装材の外装層との界面より電池素子側では、熱伝導率1Wm-1K-1以下の材料を配置することで、シール界面を一定温度に保持することができる。
特に、硬質外装材の外装層の熱伝導が良くないため、熱伝達率が1050Wm -2 K -1 以
上の外装層を100μm以下の厚みを目安に選択し、熱伝達率が50000Wm -2 K -1 以上の硬質金属層を330μm以下の厚みを目安に選択し、両者を組み合わせることが望ましい。
なお、シール界面より電池素子側では、軟質外装材の外装層を熱伝導率1以下とすることで更にシール界面の熱量調整し易くなる。また、硬質外装材の熱接着よりも溶融温度が高い材料を軟質外装材の外装層として選択することが好ましい。
以上のような選択を行うことにより、本発明では、軟質外装材と硬質外装材やその複合層との密着性、一体化が実現される。
まず、図10Aに示すように、電池50を包みこむようにして硬質ラミネートフィルム41を曲げ、電池50の上面で硬質ラミネートフィルム41の端部が合うようにする。
次いで、電池50の上面及び底面からヒータブロックをあて、接着層74の樹脂材料が溶融する程度の温度で加圧しながら加熱する。樹脂材料は溶融して接着剤となり、硬質ラミネートフィルム41と電池50とを接着する。この際、軟質ラミネートフィルム57の外装層62が溶融しないようにする。これにより、断面を図10Bに示す電池アセンブリ45が作製される。
なお、粘着剤などによっても接合ないし接着させることができるが、熱を加えた接合の方が、連続的にかかる引き剥がし応力に対する耐性を高くできる。
例えば、電池素子に用いられるセパレータは、ポリエチレン(PE)を用いることが多いが、PEの融点が120℃程度であることから安全性や電池機能の低下を引き起こすことが考えられる。これより、ヒータブロックの温度は、110℃程度を上限として加熱する。
更に、電極、セパレーター間を固体状の非水電解質で連結させることによって、落下の衝撃に対し、電池素子の巻きズレや積層ズレといった現象が起こりにくい構造体に強化することができる。
また、本実施形態では、軟質ラミネートフィルムと硬質ラミネートフィルムを大気圧よりも強い接着強度で接合させることが可能であり、大気に打ち勝つので、軟質ラミネートフィルムが電池素子から浮き上がるような引き剥がし荷重が、硬質ラミネートフィルムにかからないような条件下では、硬質ラミネートフィルムも大気圧によって軟質ラミネートフィルム及び電池素子と一体化し、軽い落下時の挫屈などに対し耐性のある電池パック筐体として機能できる。
硬質ラミネートフィルムの接着層74を溶融させ、軟質ラミネートフィルムの外装層62が溶融しないようにすることは同様である。
次いで、回路基板44を正極端子55a及び負極端子55bと接続する(図3参照)。
所定の形状に成型された電池アセンブリ45のトップ部から導出された正極端子55a及び負極端子55bと、回路基板44上にあらかじめマウントされた保護回路とを抵抗溶接、超音波溶接等により固着する。
電池素子59と接続された回路基板44は、あらかじめ成型された上部ホルダー42a及び下部ホルダー42bを嵌合してなるトップカバー42に挿入される。
また、二次電池の監視とFETの制御を行うIC及び、充放電制御FETを含んだ保護回路は、二次電池の端子電圧が4.3V〜4.4Vを超えると、発熱・発火など危険な状態になる可能性があるので、二次電池の電圧を監視し、4.3V〜4.4Vを越えると充電制御FETをオフし、充電を禁止する。
さらに二次電池の端子電圧が放電禁止電圧以下まで過放電し、二次電池電圧が0Vになると二次電池が内部ショート状態となり再充電不可能となる可能性があるので、二次電池電圧を監視して放電禁止電圧を下回ると放電制御FETをオフし、放電を禁止する。
次いで、下部ホルダー42bが電池アセンブリ45に近い位置となるようにトップカバー42の方向を変え、、正極端子55a及び負極端子55bが電池アセンブリ45内で屈曲するようにして電池アセンブリ45のトップ部の開口部にトップカバー42を嵌合する。
移動する。
上述のとおり、接着層74にはシーラント層73に比して低い溶融温度の樹脂材料を用いているため、硬質ラミネートフィルム41と電池50との接着の際には、接着層74のみが溶融することになる。このため、トップカバー42と接着するために用いるシーラント層73を移動させることなく、接着層74を移動でき、シーラント層73を露出させることができる。
接着剤又はホットメルト樹脂を注入することにより、電池アセンブリ45とトップカバー42との接着性がより向上する。ただし、ホットメルト樹脂を注入する場合は、回路基板44が熱で変形したり損傷しないように対応が必要である。
この場合、図柄、文字等は反転して印刷する。また、図17に示すように、金属箔71の外側面にレーザ等による焼付け塗装78を施してもよい。この場合、硬質ラミネートフィルムの外装層72及び外装層72と金属箔71を接着する接着層を設けず、焼付け塗装78を施した金属箔71が露出するようにすることができる。
この実施形態2では、外装材として3層構造の硬質ラミネートフィルムを用いる電池パックについて説明する。
本実施形態による電池パックのパック構成は、図2及び図3で示す上述の実施形態1と同様である。また、電池素子及び電池についても、実施形態1と同様であるため、説明を省略する。
電池50を、図18で示す3層構造の硬質ラミネートフィルム80で外装し、電池アセンブリを作製する。まず、硬質ラミネートフィルム80の構成について説明する。
なお、金属箔81及び外装層82としては、第1の実施形態と同様の材料を用いることができる。
この実施形態2では、電池50の外装層62であるNy、PET,PEN等の樹脂、及びトップカバー42及びリアカバー43の材料となるPP等の樹脂のそれぞれとの接着性に優れた反応性に富む材料を熱接着層83として用いることにより、実施形態1で設けたシーラント層73を設けることなく電池パックを構成することができる。
次いで、電池50の上面及び底面からヒータブロックをあて、熱接着層83の樹脂材料が溶融する程度の温度で加熱するとともに加圧する。樹脂材料は溶融して接着剤となり、硬質ラミネートフィルム80と電池50とを接着する。この際、軟質ラミネートフィルムの外装層62が溶融しないようにすることは実施形態1と同様である。これにより、電池アセンブリ45が作製される
次いで、回路基板44を正極端子55a及び負極端子55bと接続する。回路基板44及び正極端子55a及び負極端子55bと回路基板44との接続方法は、実施形態1と同様であるため、説明を省略する。
本実施形態では、熱接着層83の樹脂材料としてトップカバー42及びリアカバー43との接着性に優れた樹脂材料を用いるため、トップカバー42は熱接着層83と接着される。また、リアカバー43もトップカバー42と同様に電池アセンブリ45と接着することができる
実施形態1の電池パックが有する落下時などにおける優れた機能の外、熱接着層83に用いる樹脂材料を好適に選択することにより、シーラント層を設けなくても対外部衝撃強度を確保するとともに、耐浸水性や放熱性を充分に備えたより安全な電池パックを提供することができる。
図19に、本発明の他の電池パックの一実施形態を示す。
図19A〜図19C及び図20A、図20Bは、本実施形態の電池パックにおける電池の製造途中の構成を示す模式図である。
次いで、硬質ラミネートフィルム32が電池素子35の残部、即ち電池素子35の1つの主面を、典型的には凹部31aの開口を覆うように配置し、軟質ラミネートフィルム31と硬質ラミネートフィルム32とが重なった電池素子35の周囲部分を封止する。この際、減圧下での熱融着により封止することは実施形態1と同様であり、かかる減圧下での熱融着によって、電池素子35は、軟質ラミネートフィルム31及び硬質ラミネートフィルム32と密着する。
これと同時に、硬質ラミネートフィルム32の熱接着層を溶融させ、折り返した軟質ラミネートフィルム31の熱接着層と接着させる。この際、軟質ラミネートフィルム31の外装層が溶融しないようにすることは実施形態1と同様である。なお、熱接着性樹脂テープ90には、基材が存在してよいのは勿論である。
図21は、本発明の他の電池パックの他の実施形態を示し、製造過程の状態を示す断面図である。
本実施形態の電池パックも、実施形態3の電池パックと同様の構成を有するが、軟質ラミネートフィルム31の両サイドが短くなっている(図21A)。
なお、本実施形態では、熱接着性樹脂テープ90の代わりに、いわゆる両面テープを用いることも可能であり、この場合は低温での接着が可能になる。
図22は、本発明の他の電池パックの更に他の実施形態を示し、製造過程の状態を示す断面図である。
本実施形態の電池パックも、実施形態3の電池パックと同様の構成を有するが、軟質ラミネートフィルム31の両サイドが短くなっている(図22A)。
なお、本実施形態では、 折り返した硬質ラミネートフィルム32の外装層と電池素子35を被覆している軟質ラミネートフィルム31の外装層との間に、アクリルエステル系、シリコーン系、ラテックス系などの粘着剤を用いることができ、この場合は低温での接着が可能になる。
以下の表1〜表4に示す仕様の電池パックを以上に説明した操作によって作製した。得られた各例の電池パックを以下の性能評価に供し、得られた結果を表5〜8に示した。
各実施例及び比較例の電池パックを1.5mの高さから10回自由な姿勢にて落下させた後、携帯機器に装填し違和感なく装填可能か、機能劣化無く充電と使用が可能か確認した。発電要素の素子、外装の設計上、ともに本来ダメージを追わない高さであり、パックとしても引き続き使用が可能であることが必要である。
各実施例及び比較例の電池パックを10mの高さから自由な姿勢にて落下させた後、携帯機器に装填不可能なこと。電池素子に損傷ないこと。電池外装に損傷なきこと。を確認する。
設計上電池内に外気が入り込まない限りはダメージが発生しない。外装は損傷を受ける可能性がある。パック筐体は衝撃を吸収し素子を衝撃から守ることが要求される。
本試験では電池パックが使用不可であっても電池本体、電池外装にダメージが無ければ合格、電池パックに不具合が無くても電池本体、電池外装に不具合が発生すると不合格とした。
実施例1群は、硬質外装材に種々の材料種を採用したものである。また、実施例2は実施例1−1における硬質外装材の金属層に種々の材料種を採用したもの、実施例3は実施例1−6において硬質外装材の外装層の厚みを大きくしたもの、実施例4は実施例3における硬質外装材の金属層をステンレスにして厚みを大きくしたもの、実施例5群は実施例1−1における硬質外装材の接着剤層に種々の材料を適用したもの、である(表1参照)。
また、比較例2は、電池素子を封止する際に軟質外装材内を脱着せずに封止したものであるが、電池素子と軟質外装材との密着性が不十分であり、電池素子と軟質外装材との一体感に欠け、1.5m落下試験時に強度不足のために変形し、機器への装着も不可能であった。また、10m落下試験時には電池素子及び外装材がともに損傷を受け、発熱やガス発生を引き起こした(表5参照)。
また、各実施例の電池パックは、ともに10m落下試験では電池パックの外装は変形し使用不可であったが電池本体や外装には不具合なく、ガス発生などの現象はなかった。
Claims (11)
- 正極と負極とをセパレータを介して巻回又は積層して成り、非水電解質組成物を有する電池素子と、
熱接着層、金属層及び外装層を順次積層した構造を有する第一のラミネートフィルムから成り、上記電池素子を外装する軟質外装材と、を有し、
上記正極と負極の電極端子を外部に導出したまま、上記電池素子の周囲に沿って上記軟質外装材を封止して成る非水電解質二次電池と、
金属層及び外装層を順次積層した構造を有する第二のラミネートフィルムから成り、該第二のラミネートフィルムが、上記非水電解質二次電池の両サイド部をそれぞれ覆うか、または上記非水電解質二次電池の上面部および底面部をそれぞれ覆うように、上記非水電解質二次電池を上記軟質外装材ごと包みこむようにして外装する硬質外装材と、
上記非水電解質二次電池と上記硬質外装材との間に設けられる両面テープと、
この硬質外装材に収容され上記非水電解質二次電池の電圧及び電流を制御可能な保護回路基板と、を備え、
上記電池素子と上記軟質外装材とが密着しており、
上記非水電解質二次電池の上面部及び底面部または上記非水電解質二次電池の両サイド部に上記硬質外装材の合わせ目が設けられ、
上記軟質外装材と上記硬質外装材の上記金属層とが、上記両面テープのみにより該軟質外装材と該硬質外装材とが未溶着で接合されている電池パック。 - 上記電池素子の周辺部を減圧下で熱融着することにより封止した構造を有する
請求項1に記載の電池パック。 - 上記電池素子は、電極、セパレータ間を固体状の非水電解質組成物で連結されて成る
請求項1に記載の電池パック。 - 上記軟質外装材の熱接着層が、無延伸のポリプロピレン及び/又は無延伸のポリエチレンから成る請求項1に記載の電池パック。
- 上記軟質外装材の外装層は、その熱伝導率が1Wm-2K-1以下である
請求項1に記載の電池パック。 - 上記軟質外装材の外装層は、ポリオレフィン、ポリアミド、ポリイミド及びポリエステルから成る群より選ばれた少なくとも1種の樹脂材料を延伸した延伸樹脂を、単独又は組み合わせて成る請求項1に記載の電池パック。
- 上記硬質外装材のうち、上記外装層と上記金属層を積層した層の熱伝達率が1000Wm-2K-1以上である請求項1に記載の電池パック。
- 上記硬質外装材は、熱伝達率が50000Wm-2K-1以上の金属層と、熱伝達率が1050Wm-2K-1以上の外装層との組み合わせを備える請求項1に記載の電池パック。
- 上記硬質外装材の金属層が、アルミニウム、銅、鉄、ステンレス及びニッケルから成る群より選ばれた少なくとも1種の金属、又はスズ、亜鉛及びニッケルから成る群より選ばれた少なくとも1種の金属をめっきした鉄から成り、厚みが330μm以下である請求項1に記載の電池パック。
- 上記硬質外装材の外装層が、ポリアミド、ポリエステル又はポリオレフィンから成り、
厚みが115μm以下である請求項1に記載の電池パック。 - 上記ポリアミドが延伸した6ナイロン、上記ポリエステルがポリブチレンテレフタレート、ポリエチレンテレフタレート及びポリエチレンナフタレートから成る群より選ばれた少なくとも1種の樹脂、上記ポリオレフィンが延伸したポリプロピレン又は延伸ポリエチレンである請求項10に記載の電池パック。
Priority Applications (1)
| Application Number | Priority Date | Filing Date | Title |
|---|---|---|---|
| JP2012002602A JP5609894B2 (ja) | 2012-01-10 | 2012-01-10 | 電池パック |
Applications Claiming Priority (1)
| Application Number | Priority Date | Filing Date | Title |
|---|---|---|---|
| JP2012002602A JP5609894B2 (ja) | 2012-01-10 | 2012-01-10 | 電池パック |
Related Parent Applications (1)
| Application Number | Title | Priority Date | Filing Date |
|---|---|---|---|
| JP2007104606A Division JP4954775B2 (ja) | 2007-04-12 | 2007-04-12 | 電池パック |
Publications (2)
| Publication Number | Publication Date |
|---|---|
| JP2012094535A JP2012094535A (ja) | 2012-05-17 |
| JP5609894B2 true JP5609894B2 (ja) | 2014-10-22 |
Family
ID=46387596
Family Applications (1)
| Application Number | Title | Priority Date | Filing Date |
|---|---|---|---|
| JP2012002602A Active JP5609894B2 (ja) | 2012-01-10 | 2012-01-10 | 電池パック |
Country Status (1)
| Country | Link |
|---|---|
| JP (1) | JP5609894B2 (ja) |
Families Citing this family (2)
| Publication number | Priority date | Publication date | Assignee | Title |
|---|---|---|---|---|
| KR102520538B1 (ko) * | 2017-12-05 | 2023-04-11 | 삼성에스디아이 주식회사 | 이차 전지 |
| KR102455471B1 (ko) * | 2019-02-18 | 2022-10-14 | 주식회사 엘지에너지솔루션 | 배터리 셀, 이를 포함하는 배터리 모듈, 배터리 랙 및 전력 저장 장치 |
Family Cites Families (4)
| Publication number | Priority date | Publication date | Assignee | Title |
|---|---|---|---|---|
| KR100553753B1 (ko) * | 2003-10-16 | 2006-02-20 | 삼성에스디아이 주식회사 | 파우치형 이차전지 |
| JP4720186B2 (ja) * | 2005-01-11 | 2011-07-13 | ソニー株式会社 | 電池パック |
| JP5044934B2 (ja) * | 2005-01-21 | 2012-10-10 | ソニー株式会社 | 電池パック |
| JP5105390B2 (ja) * | 2005-03-09 | 2012-12-26 | 日立ビークルエナジー株式会社 | 大電流放電用薄形二次電池及び電池モジュール |
-
2012
- 2012-01-10 JP JP2012002602A patent/JP5609894B2/ja active Active
Also Published As
| Publication number | Publication date |
|---|---|
| JP2012094535A (ja) | 2012-05-17 |
Similar Documents
| Publication | Publication Date | Title |
|---|---|---|
| JP4954775B2 (ja) | 電池パック | |
| JP5228360B2 (ja) | 電池パック | |
| JP4857742B2 (ja) | 電池パック | |
| KR101450891B1 (ko) | 리드용 실란트 필름 및 비수 전해질 전지 | |
| JP4458145B2 (ja) | 電池パックおよびその製造方法 | |
| JP5044934B2 (ja) | 電池パック | |
| JP5176374B2 (ja) | 電池パック | |
| JP2008262801A (ja) | 電池パック | |
| JP5482805B2 (ja) | 電池パック | |
| JP4720186B2 (ja) | 電池パック | |
| JP4797385B2 (ja) | 電池パック | |
| JP5609894B2 (ja) | 電池パック | |
| JP4639818B2 (ja) | 電池パック | |
| JP2011204604A (ja) | 電池パックおよびその製造方法 | |
| JP2008047331A (ja) | 電池パック | |
| JP2012048938A (ja) | 電池パック |
Legal Events
| Date | Code | Title | Description |
|---|---|---|---|
| A977 | Report on retrieval |
Free format text: JAPANESE INTERMEDIATE CODE: A971007 Effective date: 20131227 |
|
| A131 | Notification of reasons for refusal |
Free format text: JAPANESE INTERMEDIATE CODE: A131 Effective date: 20140121 |
|
| A521 | Request for written amendment filed |
Free format text: JAPANESE INTERMEDIATE CODE: A523 Effective date: 20140324 |
|
| TRDD | Decision of grant or rejection written | ||
| A01 | Written decision to grant a patent or to grant a registration (utility model) |
Free format text: JAPANESE INTERMEDIATE CODE: A01 Effective date: 20140805 |
|
| A61 | First payment of annual fees (during grant procedure) |
Free format text: JAPANESE INTERMEDIATE CODE: A61 Effective date: 20140818 |
|
| R151 | Written notification of patent or utility model registration |
Ref document number: 5609894 Country of ref document: JP Free format text: JAPANESE INTERMEDIATE CODE: R151 |
|
| R250 | Receipt of annual fees |
Free format text: JAPANESE INTERMEDIATE CODE: R250 |
|
| S111 | Request for change of ownership or part of ownership |
Free format text: JAPANESE INTERMEDIATE CODE: R313111 Free format text: JAPANESE INTERMEDIATE CODE: R313113 |
|
| R350 | Written notification of registration of transfer |
Free format text: JAPANESE INTERMEDIATE CODE: R350 |
|
| R360 | Written notification for declining of transfer of rights |
Free format text: JAPANESE INTERMEDIATE CODE: R360 |
|
| R371 | Transfer withdrawn |
Free format text: JAPANESE INTERMEDIATE CODE: R371 |
|
| S111 | Request for change of ownership or part of ownership |
Free format text: JAPANESE INTERMEDIATE CODE: R313113 |
|
| R360 | Written notification for declining of transfer of rights |
Free format text: JAPANESE INTERMEDIATE CODE: R360 |
|
| R360 | Written notification for declining of transfer of rights |
Free format text: JAPANESE INTERMEDIATE CODE: R360 |
|
| R371 | Transfer withdrawn |
Free format text: JAPANESE INTERMEDIATE CODE: R371 |
|
| S111 | Request for change of ownership or part of ownership |
Free format text: JAPANESE INTERMEDIATE CODE: R313113 |
|
| R360 | Written notification for declining of transfer of rights |
Free format text: JAPANESE INTERMEDIATE CODE: R360 |
|
| R360 | Written notification for declining of transfer of rights |
Free format text: JAPANESE INTERMEDIATE CODE: R360 |
|
| R371 | Transfer withdrawn |
Free format text: JAPANESE INTERMEDIATE CODE: R371 |
|
| S111 | Request for change of ownership or part of ownership |
Free format text: JAPANESE INTERMEDIATE CODE: R313113 |
|
| R350 | Written notification of registration of transfer |
Free format text: JAPANESE INTERMEDIATE CODE: R350 |
|
| R250 | Receipt of annual fees |
Free format text: JAPANESE INTERMEDIATE CODE: R250 |
|
| R250 | Receipt of annual fees |
Free format text: JAPANESE INTERMEDIATE CODE: R250 |
