JP5601544B2 - 浄水カートリッジを備えている水栓 - Google Patents

浄水カートリッジを備えている水栓 Download PDF

Info

Publication number
JP5601544B2
JP5601544B2 JP2012130263A JP2012130263A JP5601544B2 JP 5601544 B2 JP5601544 B2 JP 5601544B2 JP 2012130263 A JP2012130263 A JP 2012130263A JP 2012130263 A JP2012130263 A JP 2012130263A JP 5601544 B2 JP5601544 B2 JP 5601544B2
Authority
JP
Japan
Prior art keywords
adsorbent
water
faucet
cap
hollow fiber
Prior art date
Legal status (The legal status is an assumption and is not a legal conclusion. Google has not performed a legal analysis and makes no representation as to the accuracy of the status listed.)
Expired - Fee Related
Application number
JP2012130263A
Other languages
English (en)
Other versions
JP2012206118A (ja
Inventor
正昭 岡野
敬史 立川
Current Assignee (The listed assignees may be inaccurate. Google has not performed a legal analysis and makes no representation or warranty as to the accuracy of the list.)
Mitsubishi Chemical Corp
Original Assignee
Mitsubishi Chemical Corp
Mitsubishi Rayon Co Ltd
Priority date (The priority date is an assumption and is not a legal conclusion. Google has not performed a legal analysis and makes no representation as to the accuracy of the date listed.)
Filing date
Publication date
Application filed by Mitsubishi Chemical Corp, Mitsubishi Rayon Co Ltd filed Critical Mitsubishi Chemical Corp
Priority to JP2012130263A priority Critical patent/JP5601544B2/ja
Publication of JP2012206118A publication Critical patent/JP2012206118A/ja
Application granted granted Critical
Publication of JP5601544B2 publication Critical patent/JP5601544B2/ja
Anticipated expiration legal-status Critical
Expired - Fee Related legal-status Critical Current

Links

Images

Landscapes

  • Domestic Plumbing Installations (AREA)
  • Separation Using Semi-Permeable Membranes (AREA)
  • Water Treatment By Sorption (AREA)

Description

本発明は、キッチンや洗面台等に設置され、水道水中に含まれる残留塩素や赤錆等を取り除くことが可能な浄水器具に組み込まれる小型の浄水カートリッジを備えている水栓に関するものである。
飲用水としての水道水は、水質基準はあるものの、より安全で美味しい水とするために、さらに浄水器によって浄化される状況が増えている。通常、浄水器によって、水処理材として使用する活性炭等の吸着材により水道水中のカルキ臭、カビ臭、トリハロメタン等が、また、水処理材として併用される多孔質中空糸膜により水道水中の細菌、汚濁成分等が除去される。そして、浄水器には、水処理材の浄化能力が低下した際の水処理材の交換の容易さから、水処理本体部をカートリッジ化した浄水カートリッジが用いられている。
特開2001−17342号公報
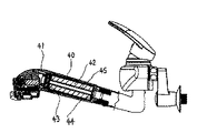
しかしながら、図4に一例を示す従来のシャワ−ヘッド付水栓41等に使用されている浄水カートリッジ40は、長さを10cm程度として取り扱いやすくし、太さについては、本体があまり太くならないよう、実用面から、直径を3cm、断面積を7cm程度に抑えている。しかしながら、それらはいずれも径を細くするため、通常ならば浄水カートリッジの約半分の容積をしめる中空糸膜を削除し、吸着材42のみを用いている。そのため、高いフィルタ−性能を確保するのが難しく、原水によっては、水中に含まれる鉄錆等の微粒子や細菌が捕捉されずそのまま浄水に含まれて流出してしまう可能性があり、飲用に用いる上で十分とはいえない問題がある。
また、従来のシャワ−ヘッド付水栓41等に使用されている浄水カートリッジ40には、吸着材42として繊維状活性炭等を円筒形に成形して用い、高性能化しているものがあるが、通常、水封性を重視し、それら吸着材42の両端をウレタン樹脂等の接着剤で容器内側の前端部43、後端部44に接着固定して使用している。そのため、接着に要する多大な製造コストが発生してしまい好ましいものではなく、一方、環境面から、浄水カートリッジ40を分解して吸着材42を取り出し、再利用または分別廃棄したくても、接着剤で接着固定しているため困難であるという問題がある。
また、吸着材42として繊維状活性炭等を用いて高性能化している前記浄水カートリッジ40には、浄水への吸着材微紛の混入を防ぐため、浄水出口となる吸着材42の円筒内側にプラスチック製の不織布45を別個に固定し、それを通水濾過して使用しているものがある。しかしながら、それだと高価な不織布45を円筒形に特別に成形して用いるため多大な製造コストがかかり好ましいものではなく、一方、性能面から、原水に含まれる濁質成分によっては、円筒内側で通水面積が少なく、かつ厚みのある不織布45が目詰まりして短期に流量低下が起きる可能性があるという問題がある。
本発明は、上記の問題点に鑑み、中空糸膜や吸着材等の部材の配置構造、形状・種類等を工夫して、浄水性能を高度かつ安定して発揮させるとともに、水栓等の器具のデザイン・使い勝手を低下させずに組込み可能な、中空糸膜を用いた、安価で構成可能な、小型の浄水カートリッジを備えている水栓を提供することを目的とする。
すなわち、本発明による水栓は、通水入口と通水出口とを有し、その途中に吸着材と中空糸膜を順に配置した浄水カートリッジであって、両端が開放された筒状の前記中空糸膜が充填された中空糸膜ケースと、筒状で内部に通水路を形成して水が外から内方向に向かって流れる前記吸着材が充填された吸着材ユニットを有し、前記吸着材ユニットは、前記吸着材の片端面が水密的に支持されるように穴付キャップが、もう一方の端面には水密的に支持されるようにキャップが、各々設けられ、かつ前記穴付キャップ側が前記中空糸膜ケース接続側となるように配されており、前記穴付キャップと前記キャップが前記吸着材の内部の通水路を通るスリット筒を介して連結されており、前記中空糸膜ケースと前記吸着材ユニットが各々略同一の断面積を有して直列かつ水密的に接続されて設けられている浄水カートリッジと、前記浄水カートリッジを組み込んだ水栓本体を備え、前記吸着材と前記水栓本体の間に通水路を備えていることを特徴とする。また、前記吸着材が前記キャップと前記穴付キャップの間に接着剤を用いずに固定されており、前記スリット筒に筒状のプラスチック製メッシュがインサ−ト成形されていることが好ましい。また、前記吸着材が、ブロック状又は繊維状の成形活性炭であり、前記吸着材が、嵩比重0.2〜0.25g/cm であることが好ましい。また、カートリッジ筒断面の面積が4〜10cm 、長さが7〜11cmであることが好ましい
本発明の請求項1記載の水栓によれば、従来のものに比べ、厚肉を有する外側ケースを浄水カートリッジのハウジングとして構成せず、内部通水路を設けないため非常にコンパクトであり、かつ耐圧円筒構造に拘束されないため断面形状を、組み込む器具に適宜合わすことが可能である。更に、高性能な中空糸膜を有し、かつ吸着材の周囲から中心に向かって通水するため、水の流れが均等となり吸着材全体の性能が充分発揮され、高水圧下でも同様に性能が発揮でき、一方、吸着材と組み込んだ器具本体との間の隙間がそのまま通水路として利用できるので、吸着材までに至る原水通路が長く広いスペースが確保できる利点がある。また吸着材内部の縦穴が小径の縦長管状であるため水溜まり容積が少なく、かつ通水出口に位置が近くなる向きで管状で連通されるため水または空気が抜けやすいという長所を有している。
本発明の請求項2記載の水栓によれば、請求項1記載の浄水カートリッジに加えて、更に、吸着材の両端を接着剤で容器に接着固定しないため、接着に要する多大な製造コストが節約でき、一方、環境面から、浄水カートリッジを分解して吸着材を取り出し、再利用または分別廃棄することが可能である。
本発明の請求項3記載の水栓によれば、請求項1〜2記載の浄水カートリッジに加えて、更に、高価で厚みのある不織布の代わりに安価で薄いメッシュを円筒形に成形して用いるため多大な製造コストが節約でき、一方、性能面から、原水に含まれる濁質成分により目詰まりして短期に流量低下が起きる可能性が少ない。
本発明の請求項4記載の水栓によれば、請求項1〜3記載の浄水カートリッジに加えて、更に、吸着材をブロック状又は繊維状の成形活性炭としたため、高性能で成形・組立加工性に優れ、フィルターとしての機能を付加できる。
本発明の請求項5記載の水栓によれば、請求項4記載の浄水カートリッジに加えて、更に、適度な圧損と低目詰まり性を確保しつつ、高度な吸着性能を発現させることが可能である。
本発明の請求項6記載の水栓によれば、請求項1〜5記載の浄水カートリッジに加えて、更に、一般的に使用される水栓やシャワ−ヘッド等本体のサイズを大きく増やすことなく利便性を損なわずに組み込み可能な、取り扱い性のよいサイズでかつ従来装備されなかった高性能な中空糸膜を有する浄水カートリッジを備えている水栓を提供可能とする。
本発明の水栓の浄水カートリッジにおける実施例の縦断面図である。 本発明の水栓の浄水カートリッジにおける実施例の部品展開図である。 本発明の水栓の実施例の概略図である。 従来の水栓の実施例の概略図である。
本発明の実施例を以下図面を元に説明する。
図1に本発明の浄水カートリッジの実施例としてその縦断面図を、図2に本発明の浄水カートリッジの実施例としてその部品展開図を、図3に本発明の浄水カートリッジを組み込んだ器具の実施例として水栓の概略図を示す。
図1ないし図2において、本発明の浄水カートリッジ1の主要材質は、強度、成形加工性、コストを考慮し、ABS樹脂、ポリプロピレン樹脂、ポリスルホン樹脂、ポリアセタ−ル樹脂、ポリカ−ボネ−ト樹脂、ポリフェニレンエーテル樹脂等のプラスチックが好ましい。形状としては、本実施例では略円筒形としたが、特にこれに限定されるものではなく、ハウジング密閉型の耐圧型構造でないため、耐圧性能に優れる円筒形に構成する必要がなく、断面を楕円形や四角形等に構成が可能であり、設計の自由度が広く、また組み込む水栓やシャワ−ヘッドの形状に適宜合わせられるという長所を有する。部材の肉厚は、あまり厚いと成形性が悪くなり、またコストが増し、あまり薄いと強度が悪くなるため、1〜3mmに設定するのが好ましい。
浄水カートリッジ1は主に、Oリング等の柔軟なパッキン3が装着された略円筒形を有する底蓋4と、中空糸膜6が縦方向に出水側端部を樹脂で固定されて充填された略円筒形を有する中空糸膜ケ−ス5と、スリット筒10及び通水穴8が略中央に設けられた穴付キャップ7と、略円筒形を有する吸着材12と、スリット筒10の端部に連結固定される略円形を有するキャップ13とを有する吸着材ユニット16から構成される。
水の流れは図1中矢印で示すとおり、原水は、吸着材12の周囲から中心に向かって流れ、スリット筒10内部に集水されて、その後、通水穴8を通り中空糸膜ケ−ス5に流入し、中空糸膜6を縦方向に通って浄水となり、浄水は底蓋4に設けられた通水出口2から外部に吐出される。
底蓋4は、中空糸膜ケ−ス5の端部に低コストで強力な接着性を有する超音波溶着法にて接着固定されており、浄水カートリッジ1を本体容器内に水封接続固定するためのアダプタ−として機能するものである。その構造については特に実施例のものに限定される必要はなく、例えば凹型の管で構成したり、低コストを重視し、パッキン3を削除して結合側に設ける等の構造をとることも可能である。また、更に低コストと小型化を重視し、浄水カートリッジ1を構成するにあたり底蓋4を削除して、中空糸膜ケ−ス5の端部に直接パッキン3を設けたり、端部を凸型の管で構成する等の工夫も可能である。
中空糸膜ケ−ス5は、内部の中空糸膜6の状態が目視できるよう少なくとも一部を透明部材で形成することが好ましく、その構成によって、使用者がフィルター機能における汚れ・目詰まり具合を瞬時に目視確認でき、浄水カートリッジ1の交換時期が容易に判断可能となる。中空糸膜6としては、従来使用される細菌の除去まで可能な多孔質中空糸膜を用いるのが好ましい。膜の材質や面積については適宜設計して用いることが可能である。中空糸膜6は、両端が開口した中空糸膜ケ−ス5内に片側をウレタン樹脂やエポキシ樹脂等により従来用いられる方法によって接着固定され、充填されている。中空糸膜6は細菌まで除去することが可能なため、配置することで衛生上安全性の最も高まる通水出口2直前に配置することが好ましく、すなわち吸着材12の後段に設けることが好ましい。
吸着材12は略円筒形を有しており、その両端を穴付キャップ7と、キャップ13とにより挟まれて端部が水封されるように圧着されており、ほぼ軸心を穴付キャップ7とキャップ13と同一にして固定されている。固定方法としては、組立コストや吸着材12の脱着再利用を重視し、圧着法が好ましい。
前記圧着法の詳細を説明すると、穴付キャップ7に突設されたスリット筒10の先に吸着材12の略中央に抜かれた穴を合わせて吸着材12を奥まで差し込み、その上に、キャップ13をスリット筒10の端部に設けられたかん合部14に合わせ、従来用いられる方法によってかん合固定する。その方法としては、ネジ式、圧入式、超音波溶着式等があるが、ネジ式、圧入式を用いた場合、輸送時の振動やショック、通水時の水圧等により、かん合固定が緩み、キャップ13が望まれる位置からずれてしまう可能性があるため、本実施例では、より強固な固定が可能な超音波溶着法を用いた。
超音波溶着されたキャップ13は、ペンチ等で挟んでスリット筒10からはがすことにより、吸着材12の脱着が可能である。吸着材12を固定する際、固定前の吸着材12の円筒長手方向の厚みを、穴付キャップ7とキャップ13の間の距離より1〜2mm程度大きくしておくことが肝要である。そうすることによって吸着材12が圧縮され、その際に弾性を発揮し、固定時の確かな水封性が得られる。前記圧縮範囲の理由として、厚みが少ないと確かな水封性が得られにくく、厚みが多いと吸着材12が変形してたわんだり、しわが入ったりして外観がみすぼらしくなるためである。
キャップ13には、吸着材12とキャップ13壁面との間の中心方向への水のスル−パスを遮断し、かつ吸着材12にめりこんで、ずれ等の発生しない確実な固定を行う、高さ0.5〜1mmの円状の三角突起15を設けるのが好ましい。前記高さ範囲の理由として、高さが少ないと確かな遮断性と強固な固定が得られにくく、高さが多いと吸着材12が変形したり割れが生じたりするためである。位置としては、吸着材12の厚みの中央付近にくるように設けるのが好ましい。また、この三角突起15は、穴付キャップ7の平面部に同様に設けた場合も同じ効果が得られるため、穴付キャップ7側にも出来る限り設けるのが好ましい。
吸着材12と中空糸膜6を用いた複数の水処理材による多段処理の場合、各水処理材を順次短絡なく通水させる必要があるが、本実施例では、穴付キャップ7を、中空糸膜ケ−ス5に接着固定しており、原水が吸着材12を通らず中空糸膜6に流入するのを防止している。接着方法としては低コストで強力な接着性を有する超音波溶着法が好ましい。
吸着材12内部の略中央には、集水のためのスリット孔が周壁に設けられた、吸着材12の形状保持機能を有するスリット筒10が円盤状の穴付キャップ7の略中央に突設されている。また、スリット筒10には、浄水への吸着材微紛の混入を防ぐため、筒状のプラスチック製メッシュ9が従来の方法を用いてインサ−ト成形されている。メッシュ9の種類としては、薄肉、高強度で成形性がよく、低コストであるナイロンやテトロンといったプラスチック製の100〜200メッシュが好ましい。前記メッシュ範囲の理由として、あまり目開きが細かいと圧損が高くなり流量が低下し、また目詰まりしやすくなり、目開きが荒いと前記微紛の捕捉性が落ちるためである。スリットの形状や筒の肉厚等については特に限定されず適宜設計して用いることが可能である。
吸着材12内部の縦穴は、空洞場所であるため水または空気が溜まりやすいので構造を工夫する必要が有り、本実施例では、直径5〜10mm程度の小径の縦長管状とした。直径があまり大きいと、その分溜まり量が大きくなってしまい、また吸着材の充填量が少なくなって性能低下となり、一方、あまり少ないと通水面積の低下により圧損を生じて流量低下が生じるので、この範囲に設定するのが好ましい。本発明では、溜まり部の容積が少なく、かつ通水出口2に位置が近くなるように向けて、管状で連通されるため、そこから水または空気が抜けやすいという長所を有するものであり、このことは、細菌の繁殖場所となることを防止するのに効果的であり、特にこの空洞場所の前段に配置する水処理材を、殺菌のために水中に入れてある残留塩素を除去する活性炭等にした場合は、よりいっそう効果的である。
吸着材12としては、残留塩素の除去を目的とした場合、従来使用される、粉、粒、固形の、亜硫酸カルシウム、活性炭、ビタミンC等の水処理材を用いればよく、中でも高性能で成形・組立加工性に優れ、フィルターとしての機能も有するブロック状または繊維状の成形活性炭を用いるのが好ましい。サイズや性能、寿命については適宜設計して用いることが可能である。嵩比重については、0.2〜0.25g/cm に設けるのが好ましい。その理由として、あまり多いと圧損が高くなり流量が低下し、また目詰まりしやすくなり、少ないと充填量の低下により吸着性能が低下してしまうためである。
吸着材12の外表面には、輸送時の摩擦や衝撃に対する保護と吸着材微紛の飛散防止、及びフィルター機能の向上を目的とし、従来使用されているPET等のプラスチック製の不織布11を貼り付けるのが好ましい。
浄水カートリッジ1のサイズは、取り扱いやすいサイズであり、かつ組み込む水栓やシャワ−ヘッド本体があまり太くならないよう、また長くなりすぎないよう、実用面から、カートリッジ筒断面の面積を4〜10cm (直径23〜35mm相当)、長さを7〜11cmとするのが好ましい。本実施例では、直径を3cm、つまり断面積を7cm 程度、長さを10cm程度として構成したため、一般的に使用される水栓やシャワ−ヘッド本体に好適に組み込むことが可能である。
図3は、図1ないし図2の浄水カートリッジ1を着脱自在に組み込んだ器具として、壁出しタイプの水栓30を例にとった場合の概略図である。図中、浄水カートリッジ1の脱着は、水栓前部31を反時計回りに回して水栓後部32から取り外し、浄水カートリッジ1を水栓前部31から引き抜けば可能であり、取り付けはその逆を行えばよい。尚、浄水カートリッジ1の組み込み方法、構造については特にこれに限定されるものではなく、適宜設計して用いればよい。
水の流れは図中矢印で示すとおりであり、水栓根元33から流入する原水は、水栓後部32と浄水カートリッジ1の間の1〜2mm程度の隙間を有する原水通路35を通って浄水カートリッジ1の吸着材12に流入し、その内部を通った後中空糸膜6に流入し、そこで濾過されて浄水となり、浄水は通水出口2から流出した後、水栓前部31内の空間を通って浄水出口34から下方に向かって吐出される。原水通路35は、幅があまり大きいと、その分水処理材の充填量が少なくなって性能低下となり、一方、あまり少ないと通水面積の低下により圧損を生じて、流量低下や水の回りが不充分となるので、前記範囲に設定するのが好ましい。
本発明の浄水カートリッジ1を組み込んだ場合、吸着材12と本体との間の隙間がそのまま通水路として利用できるので、吸着材12までに至る原水通路35が長く広いスペースが確保できるため、原水が原水通路35内を充分回り、スペースを満たしつつ吸着材12に連通され、吸着材12の周囲から中心に向かって通水されるため、水の流れが均等となり、吸着材12全体の性能が充分発揮され、性能面で優れた効果を発揮する。また、水圧が高くても、長く広いスペースがあるため水が局所的に流れることなく分散され、吸着材12全体に通水されて良好な性能が発揮される。
本発明の浄水カートリッジ1を組み込む水栓30の材質は、従来使用される青銅、黄銅、エンジニアリングプラスチック等を用いればよく、特に限定されない。また、形状や構造についても、本実施例に限らず適宜目的に応じて設計し、用いればよい。太さに関しては、あまり太くなってデザインが不格好になったり、水仕事の際邪魔になったり、握りにくくなったりして使い勝手が悪くならないよう設定するのが肝要である。すなわち、実用面から、カートリッジ筒断面の面積を最大10cm2(直径35mm相当)とした場合、水栓30の断面積は、原水通路35を2mm程度、本体肉厚を2mm程度とり、最大14.5cm2程度以下とするのが好ましい。
水栓30の更なる高機能化を考慮し、吐出水を浄水または原水に切り換える切換弁機構や、浄水カートリッジ1への熱水の進入を防止する熱水調節弁機構や、水栓30内の溜まり水を抜く水抜き機構等を付加することが好ましい。尚、これらの機構は、従来の浄水器に使用されるものをそのまま用いればよい。
浄水カートリッジ1を着脱自在に組み込んだ器具として、本実施例には水栓を例にとったが、その他、浄水シャワーヘッド、携帯用浄水器、握りバ−型浄水器等の断面積が少なくてコンパクトさが必要とされるものには本発明を好適に用いることが可能である。
1 浄水カートリッジ
2 通水出口
3 パッキン
4 底蓋
5 中空糸膜ケース
6 中空糸膜
7 穴付キャップ
8 通水穴
9 メッシュ
10 スリット筒
11 不織布
12 吸着材
13 キャップ
14 かん合部
15 三角突起
16 吸着材ユニット
30 水栓
31 水栓前部
32 水栓後部
33 水栓根元
34 浄水出口
35 原水通路
40 浄水カートリッジ
41 シャワ−ヘッド付水栓
42 吸着材
43 容器内側前端部
44 容器内側後端部
45 不織布

Claims (6)

  1. 通水入口と通水出口とを有し、その途中に吸着材と中空糸膜を順に配置した浄水カートリッジにおいて、両端が開放された筒状の前記中空糸膜が充填された中空糸膜ケースと、筒状で内部に通水路を形成して水が外から内方向に向かって流れる前記吸着材が充填され、その外周面に前記通水入口がある吸着材ユニットを有し、前記吸着材ユニットは、前記吸着材の片端面が水密的に支持されるように穴付キャップが、もう一方の端面には水密的に支持されるようにキャップが、各々設けられ、かつ前記穴付キャップ側が前記中空糸膜ケース接続側となるように配されており、前記穴付キャップと前記キャップが前記吸着材
    の内部の通水路を通るスリット筒を介して連結されており、前記中空糸膜ケースと前記吸着材ユニットが各々略同一の断面積を有して直列かつ水密的に接続されて設けられている浄水カートリッジと、前記浄水カートリッジを組み込んだ水栓本体を備え、前記吸着材と前記水栓本体の間に通水路を備えている水栓。
  2. 前記吸着材が前記キャップと前記穴付キャップの間に接着剤を用いずに固定されていることを特徴とする請求項1記載の水栓。
  3. 前記スリット筒はプラスチック製メッシュがインサ−ト成形されてなることを特徴とする請求項1又は2記載の水栓。
  4. 前記吸着材が、ブロック状又は繊維状の成形活性炭であることを特徴とする請求項1〜3いずれかに記載の水栓。
  5. 前記吸着材の嵩比重が0.2〜0.25g/cmであることを特徴とする請求項1〜4いずれかに記載の水栓。
  6. カートリッジの長さが7〜11cmであり、長手方向に垂直な断面の面積が4〜10cmである請求項1〜5いずれかに記載の水栓。
JP2012130263A 2012-06-07 2012-06-07 浄水カートリッジを備えている水栓 Expired - Fee Related JP5601544B2 (ja)

Priority Applications (1)

Application Number Priority Date Filing Date Title
JP2012130263A JP5601544B2 (ja) 2012-06-07 2012-06-07 浄水カートリッジを備えている水栓

Applications Claiming Priority (1)

Application Number Priority Date Filing Date Title
JP2012130263A JP5601544B2 (ja) 2012-06-07 2012-06-07 浄水カートリッジを備えている水栓

Related Parent Applications (1)

Application Number Title Priority Date Filing Date
JP2001153677A Division JP5090593B2 (ja) 2001-05-23 2001-05-23 浄水カートリッジ

Publications (2)

Publication Number Publication Date
JP2012206118A JP2012206118A (ja) 2012-10-25
JP5601544B2 true JP5601544B2 (ja) 2014-10-08

Family

ID=47186372

Family Applications (1)

Application Number Title Priority Date Filing Date
JP2012130263A Expired - Fee Related JP5601544B2 (ja) 2012-06-07 2012-06-07 浄水カートリッジを備えている水栓

Country Status (1)

Country Link
JP (1) JP5601544B2 (ja)

Families Citing this family (1)

* Cited by examiner, † Cited by third party
Publication number Priority date Publication date Assignee Title
JP6064811B2 (ja) * 2013-06-28 2017-01-25 株式会社明電舎 膜モジュール、膜ユニット

Family Cites Families (5)

* Cited by examiner, † Cited by third party
Publication number Priority date Publication date Assignee Title
JPS6283517U (ja) * 1985-11-15 1987-05-28
JPH0326391U (ja) * 1989-07-18 1991-03-18
JP3454756B2 (ja) * 1999-07-05 2003-10-06 有限会社寿通商 浄水機能付きシャワーヘッド
JP4307669B2 (ja) * 1999-07-13 2009-08-05 三ツ星ベルト株式会社 水処理器用フィルター
JP2001353486A (ja) * 2000-06-13 2001-12-25 Matsushita Electric Ind Co Ltd 浄水カートリッジ

Also Published As

Publication number Publication date
JP2012206118A (ja) 2012-10-25

Similar Documents

Publication Publication Date Title
CN102510836B (zh) 净水器
US7507338B2 (en) Universal water purifier unit assembly device
US20040245174A1 (en) Water purification cartridge, water purifier and method for cleaning water purifier
JP5090593B2 (ja) 浄水カートリッジ
CN103702944B (zh) 净水滤筒以及壶型净水器
JP5954346B2 (ja) 蛇口直結型浄水器
JP6679976B2 (ja) 浄水カートリッジの製造方法
JP6447239B2 (ja) 浄水カートリッジ
JP2018089613A (ja) 浄水器
JP5491249B2 (ja) 蛇口直結型浄水器
JP5601544B2 (ja) 浄水カートリッジを備えている水栓
CN214344674U (zh) 具有蓄水功能的滤芯
CN109982974B (zh) 净水器、净水器用支架及净水器用滤筒
JP5578272B2 (ja) 浄水カートリッジおよび浄水器
KR200390280Y1 (ko) 정수기용 필터 카트리지
JP6863272B2 (ja) 浄水カートリッジ
JP2002224665A (ja) 浄水カートリッジ及び水処理装置
JP2023060955A (ja) 浄水器用カートリッジおよび浄水器
JP2005000768A (ja) 浄水カートリッジ
JP4441271B2 (ja) 浄水カートリッジ及び浄水器
JP5640372B2 (ja) 水処理装置
JP4076848B2 (ja) 浄水器
CN113713494A (zh) 净水器
JP5629677B2 (ja) 携帯型浄水器
JP2003053336A (ja) 浄水器

Legal Events

Date Code Title Description
A621 Written request for application examination

Free format text: JAPANESE INTERMEDIATE CODE: A621

Effective date: 20120608

A131 Notification of reasons for refusal

Free format text: JAPANESE INTERMEDIATE CODE: A131

Effective date: 20131017

A521 Written amendment

Free format text: JAPANESE INTERMEDIATE CODE: A523

Effective date: 20131120

TRDD Decision of grant or rejection written
A01 Written decision to grant a patent or to grant a registration (utility model)

Free format text: JAPANESE INTERMEDIATE CODE: A01

Effective date: 20140724

A61 First payment of annual fees (during grant procedure)

Free format text: JAPANESE INTERMEDIATE CODE: A61

Effective date: 20140806

R250 Receipt of annual fees

Free format text: JAPANESE INTERMEDIATE CODE: R250

LAPS Cancellation because of no payment of annual fees