JP5598705B2 - 導電性ボール供給装置 - Google Patents

導電性ボール供給装置 Download PDF

Info

Publication number
JP5598705B2
JP5598705B2 JP2010128082A JP2010128082A JP5598705B2 JP 5598705 B2 JP5598705 B2 JP 5598705B2 JP 2010128082 A JP2010128082 A JP 2010128082A JP 2010128082 A JP2010128082 A JP 2010128082A JP 5598705 B2 JP5598705 B2 JP 5598705B2
Authority
JP
Japan
Prior art keywords
ball
conductive
suction
pocket
solder
Prior art date
Legal status (The legal status is an assumption and is not a legal conclusion. Google has not performed a legal analysis and makes no representation as to the accuracy of the status listed.)
Active
Application number
JP2010128082A
Other languages
English (en)
Other versions
JP2011254011A (ja
Inventor
貴善 英
Current Assignee (The listed assignees may be inaccurate. Google has not performed a legal analysis and makes no representation or warranty as to the accuracy of the list.)
Shibuya Corp
Original Assignee
Shibuya Corp
Priority date (The priority date is an assumption and is not a legal conclusion. Google has not performed a legal analysis and makes no representation as to the accuracy of the date listed.)
Filing date
Publication date
Application filed by Shibuya Corp filed Critical Shibuya Corp
Priority to JP2010128082A priority Critical patent/JP5598705B2/ja
Priority to KR1020110052611A priority patent/KR101830637B1/ko
Priority to TW100119590A priority patent/TWI542434B/zh
Publication of JP2011254011A publication Critical patent/JP2011254011A/ja
Application granted granted Critical
Publication of JP5598705B2 publication Critical patent/JP5598705B2/ja
Active legal-status Critical Current
Anticipated expiration legal-status Critical

Links

Images

Landscapes

  • Electric Connection Of Electric Components To Printed Circuits (AREA)
  • Engineering & Computer Science (AREA)
  • Computer Vision & Pattern Recognition (AREA)
  • Signal Processing (AREA)
  • Physics & Mathematics (AREA)
  • Health & Medical Sciences (AREA)
  • Life Sciences & Earth Sciences (AREA)
  • Chemical & Material Sciences (AREA)
  • Analytical Chemistry (AREA)
  • Biochemistry (AREA)
  • General Health & Medical Sciences (AREA)
  • General Physics & Mathematics (AREA)
  • Immunology (AREA)
  • Pathology (AREA)

Description

本発明は、被搭載物上面に所定パターンで形成されている搭載箇所に導電性ボールを搭載する導電性ボール搭載手段に対し導電性ボールを供給する導電性ボール供給装置に関するものである。
従来より、被搭載物上面に所定パターンで形成されている搭載箇所に導電性ボールを搭載する導電性ボール搭載手段として、例えば、特許文献1に示されるような下面開放の釣鐘型ボールカップ内部のボール吸着体に導電性ボールを吸着保持させ、配列治具上で導電性ボールの吸着を解除して落下させ、配列治具に対して導電性ボールを落とし込むことにより導電性ボールを搭載する手段や、特許文献2に示されるようなボックス型ボールカップの内部下面側に多数の導電性ボールを収容し、ボックス型ボールカップを移動させながらボックス型ボールカップ底面に開けられた下面開口部より配列治具に対して導電性ボールを落とし込むことにより導電性ボールを搭載する手段が知られていた。
特許文献1及び2に示されるような搭載手段のボールカップに導電性ボールを供給する供給装置としては、次のようなものがある。即ち、特許文献3に半田ボール補給装置として示されるような圧力気体方式の供給装置であり、半田ボール貯蔵タンクに貯蔵される半田ボールを圧力気体源からの圧力気体により、チューブから容器(ボールカップ)に押し出して供給するものである。
更に、上記釣鐘型ボールカップによる導電性ボール搭載手段に特許文献3に示されるような半田ボール供給装置(圧力気体方式の供給装置)を用いると、配列治具上の半田ボールに圧力気体が作用し、半田ボールが散逸し、効率的な半田ボールの供給ができないものであった。
又、特許文献2に示される導電性ボール搭載手段では、ボックス型ボールカップに対して作用する真空吸引装置を有しないため、通常、圧力気体方式の供給装置が採用されていた。このボックス型ボールカップに特許文献3に示されるような圧力気体方式の供給装置を用いると、ボックス型ボールカップ内で圧力気体により、半田ボールが攪拌され移動するため、ボックス型ボールカップ長手方向でボール分布に偏りが生じ、半田ボールの搭載ミスが発生する可能性がある。
又、圧力気体方式の供給装置は、圧力気体によって半田ボールを押し出すため、圧力気体を供給する時間や圧力をパラメータとしてコントロールする必要があるが、このパラメータは半田ボールの径に左右されるため、供給される半田ボールの径を変更する度に、該パラメータ調整を行う必要がある。
更に、半田ボール貯蔵タンクに貯蔵されているボール量(ボール残量)の多少によって、押し出される量が変動してしまい、ボールカップへの定量供給が困難であった。
特開2008−153336号公開特許公報 特開2007−299836号公開特許公報 特開平8−236916号公開特許公報
本発明は、圧力気体の残圧により発生する従来技術の問題点、即ち、ボール搭載手段の一部である配列マスク上での導電性ボールの散逸現象、ボール搭載手段の一部であるボールカップ内での攪拌による半田ボールの偏った集合現象等を解消し、ミスのないボール搭載を可能とする導電性ボール供給装置とするとともに、適正供給量である所定量の半田ボールの効率的供給が可能な導電性ボール供給装置とすることを目的とする。
上記課題を解決するため第1の発明は、被搭載物上面に所定パターンで形成されている搭載箇所に導電性ボールを搭載する導電性ボール搭載手段に対し導電性ボールを供給する導電性ボール供給装置に次の手段を採用する。
第1に、導電性ボールを貯留するボールホッパを備える。
第2に、所定量の導電性ボールを収容可能なボールポケットを備える。
第3に、前記ボールポケットに対しボール吸い込み阻止手段を介して接続される真空吸引手段を備える。
第4に、前記真空吸引手段による吸引状態のON及びOFFを切り換える真空切換手段を備える。
第5に、前記ボールホッパと前記ボールポケットとを接続するボール供給通路を備える。
第6に、前記ボールポケットとボール搭載手段の導電性ボール受取位置とを接続するボール排出通路を備える。
第7に、前記ボール供給通路の断面積を、前記ボールポケットの断面積より小さく、前記ボール排出通路の断面積より大きく設定することにより、前記真空吸引手段からの吸引による前記ボール供給通路の吸引力が、前記ボール排出通路の吸引力より強くなるよう設定する。
第8に、前記真空切換手段により、前記真空吸引手段による吸引状態をONとして、前記ボール供給通路から導電性ボールを導入して前記ボールポケットに所定量の導電性ボールを収容した後、前記真空吸引手段による吸引状態をOFFとして、導電性ボールを前記ボール排出通路から前記導電性ボール受取位置に排出する。
第2の発明は、第1の発明に、ボール排出通路を閉塞する閉塞手段を設けたことを付加した導電性ボール供給装置である。この付加は、第1の発明における真空吸引手段からの吸引によるボール供給通路の吸引力が、ボール排出通路の吸引力より強くなるよう設定する一例である。
第3の発明は、第1または第2の発明におけるボール供給通路は、ボールポケットに対して上り勾配を付けて接続されていることを付加した導電性ボール供給装置である。
本発明は、第1に、真空吸引手段による吸引状態をONとして、ボールポケットに所定量の導電性ボールを収容した後、吸引状態をOFFとして、導電性ボールをボール排出通路から導電性ボール受取位置に排出するという重力落下(自然落下)方式を採用する。従って、圧力気体の残圧により導電性ボールを配列マスク上で散逸してしまったり、ボールカップ内での攪拌により導電性ボールを偏って集合させてしまうことのない導電性ボール供給装置となった。
第2に、所定量の導電性ボールを収容可能なボールポケットを備えているので、導電性ボールを吸引する時間を必要以上に延ばしても、ボールポケットの体積以上の導電性ボールはボールポケット内に供給されず、ボール搭載手段へのボール供給量を一定とすることができるものとなった。
第3に、真空吸引手段の吸引圧力を、使用する最大の導電性ボール径に合わせた吸引圧力に設定しておくことにより、導電性ボール径を変更するに際して、煩雑なパラメータ調整が不要となった。
更に、本発明は、ボール供給通路の断面積を、ボールポケットの断面積より小さく、ボール排出通路の断面積より大きいものとしたので、ボール排出通路よりもボール供給通路により大きな吸引力を付与することができ、確実にボールホッパからボールポケットへと所定量の導電性ボールを導入することができるものとなった。
の発明の効果ではあるが、ボール排出通路を閉塞する閉塞手段を設けたので、より確実にボール供給通路へ大きな吸引力を付与することができるので、ボールホッパからボールポケットへの導電性ボールの導入がスムースになった。
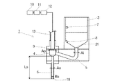
半田ボール供給装置を示す説明図 電磁開閉弁の開閉とボールポケット内半田ボールの関係を示す説明図で、(a)は電磁開閉弁を開いた状態を示し、(b)は電磁開閉弁を閉じた状態を示す。 電磁開閉弁及びシャッタの開閉とボールポケット内半田ボールの関係を示す説明図で、(a)はシャッタ閉、電磁開閉弁開の状態を示し、(b)は電磁開閉弁閉、シャッタ開の状態を示す。 釣鐘型ボールカップを用いた半田ボール搭載装置の説明図 ボックス型ボールカップを用いた半田ボール搭載装置の説明図
以下、図面に従って、実施例と共に本発明の実施の形態について説明する。本発明における導電性ボール搭載手段は、実施例では、図4及び図5に示されるような半田ボール搭載装置であり、図1は、本発明における導電性ボール供給装置の一実施例である半田ボール供給装置1である。先ず、半田ボール供給装置1の概要について説明する。
半田ボール供給装置1は、図4及び図5に示されるような半田ボール搭載装置において、搭載のため供給される多数の半田ボール2を貯留するボールホッパ3を有する。尚、ボールホッパ3は図1にも示されている。ボールホッパ3の内側の上方部にはボールホッパ3内の半田ボール2の量の満タンを検知する検知センサ7が取り付けられており、ボールホッパ3の内側の下方部にはボールホッパ3内の半田ボール2の量の不足を検知する検知センサ8が取り付けられている。検知センサ7、8によりボールホッパ3内の半田ボール2の残量を管理する。
半田ボール供給装置1は、1回の適正供給量(所定量)の半田ボール2を収容可能な大きさ(体積)のボールポケット4を有する。ボールポケット4は側方部でボール供給通路5が接続され、ボール供給通路5は他端でボールホッパ3と接続されている。図示の実施例でボールポケット4は、ボールホッパ3より低い位置に設置されているが、ボール供給通路5はボール移動方向に直交する断面が略円形形状であって、ボールホッパ3の接続位置31から一旦ボールポケット4の位置より低い位置を通過させてからボールポケット4の側方部に接続されている。即ち、ボール供給通路5はボールポケット4に対して上り勾配を付けて接続されている。
これにより、ボールホッパ3に収容されている半田ボール2が、自重によりボールポケット4へは移動しないようにされている。半田ボール2の自重での移動は、ボールポケット4より低い位置で停止する。尚、ボール供給通路5の上り勾配により、吸引がOFFとなった場合にも、余分な半田ボール2がボール供給通路5からボール排出通路6にこぼれ落ちないようになっている。
ボールポケット4は、鉛直方向の軸を有する略円柱形状の空間で構成され、ボール供給通路5を介して半田ボール2を吸引するため真空吸引手段である真空源10と接続されている。真空源10は、吸引状態のON及びOFFを切り換える真空切換手段としての電磁開閉弁12と吸引気体の圧力や流量を調整するためのレギュレータ11を有して、吸引通路13によりボールポケット4の上部と接続されている。
尚、ボールポケット4内の吸引通路13との接続口には、真空源10の吸引力により、半田ボール2が吸引通路13側にまで吸引されることを阻止するため、ボール吸い込み阻止手段となるメッシュ9が設けられている。該メッシュ9の存在によりボール供給量を一定量とすることができる。
ボールポケット4は下部で、水平断面が略円形形状であるボール排出通路6と接続されている。ボール排出通路6は、半田ボール搭載装置の半田ボール2の受取位置へと接続されている。該半田ボール2の受取位置は、図4では釣鐘型ボールカップ16の下面開放部の外側近傍のマスク17上であり、図5ではボックス型ボールカップ26の内部下面側のマスク17上である。実施例では、上記位置を受取位置としているが、この位置に限定されるものではない。
尚、半田ボール供給装置1においてボールホッパ3よりボール供給通路5を通過して半田ボール2をボールポケット4に導入できるようにするため、ボール供給通路5の断面積Aiは、ボールポケット4の略円柱形状空間の水平断面の断面積Apより小さく、ボール排出通路6の断面積Aoよりも大きく形成している。ボール供給通路5の断面積Aiが、ボール排出通路6の断面積Aoよりも大きく形成されていることにより、ボール供給通路5へ付与される吸引力がボール排出通路6へ付与される吸引力より増大する結果、ボール供給通路5に半田ボール2が満たされた状態でも、吸引して半田ボール2をボールポケット4に導入することができるようにされている。
好適には、上述のボール供給通路5の断面積Aiとボール排出通路6の断面積Aoの関係に加え、ボール排出通路6のボール排出方向長さLo(ボールポケット4下部との接続部からボール排出口19までの長さ)が、ボール排出通路直径Roの3倍以上であることが望ましい。かかる構成によれば、ボール供給通路5へ付与される吸引力をよりいっそう増大させることが可能となる。又、本実施例では、上記ボール供給通路5のボール移動方向に直交する断面の形状と、ボール排出通路6及びボールポケット4の水平断面の形状とを略円形として説明したが、これに限らずその他多角形状であっても良い。この場合も、ボール排出通路6のボール排出方向長さLoはボール排出通路の幅の3倍以上であることが望ましい。
以下、上記半田ボール供給装置1の動作について説明する。
先ず、レギュレータ11により真空源10での気体吸引の圧力や流量を調整し、電磁開閉弁12を開いて真空源10からの吸引状態をONにする。半田ボール2は、図2(a)に示されるように、真空源10の吸引力により、ボールホッパ3からボール供給通路5を介してボールポケット4内に収容(供給)される。この際、ボール供給通路5は、ボール排出通路6より断面積が大きく、吸引力が強いので、半田ボール2は、ボール供給通路5内を移動できる。又、メッシュ9の存在により、半田ボール2がボールポケット4を外れて、吸引通路13側まで吸引されることはない。
ボールポケット4内の半田ボール2が所定量に至ると、電磁開閉弁12を閉じて真空源10からの吸引状態をOFFにする。それにより半田ボール2は、真空源10方向への吸引力を失い、図2(b)に示されるように、半田ボール2の自重により、ボールポケット4からボール排出通路6を通り、半田ボール搭載装置の半田ボール2の受取位置へと排出され、半田ボール搭載装置に半田ボール2が供給される。
尚、ボール供給通路5をボールホッパ3の接続位置31から一旦ボールポケット4の高さより低い位置を通過させてから、上り勾配によりボール供給通路5より上方にあるボールポケット4に接続し、ボールホッパ3に収容されている半田ボール2が、自重によりボールポケット4に供給されないようにされているため、上記のように吸引状態をOFFにしても、ボールポケット4内の所定量の半田ボール2以外の余分な半田ボール2が、ボール供給通路5よりボール排出通路6にこぼれ落ちることはない。
尚、半田ボール2の消費量が多い搭載の場合は、ボールポケット4への半田ボール2の導入からボール排出通路6への半田ボール2の排出というサイクルを複数回行うか、ボールポケット4のサイズを大きくすることでボール供給量を増やすことにより対応する。
以上の実施例ではボール排出通路6の吸引力より、ボール供給通路5の吸引力を大きくし、半田ボール2の供給を行うため、ボール供給通路5の断面積Aiを、ボール排出通路6の断面積Aoよりも大きく形成していた。しかし、他の実施例として、図3(a)(b)に示されるように、ボール排出通路6を閉塞する閉塞手段であるシャッタ14を、ボール排出通路6の下端のボール排出口19に設けても良い。
シャッタ14は、半田ボール2をボールポケット4へ導いている間は閉塞されており、半田ボール2をボールポケット4よりボール排出通路6へ排出する間は開放されている。シャッタ14の開放タイミングは、電磁開閉弁12を閉じるのと、略同時であっても良く、又、電磁開閉弁12を閉じた所定時間経過後でも良い。
シャッタ14の閉塞により、ボール供給通路5へより大きな吸引力を付与することができる。この場合、ボール供給通路5の断面積Aiとボール排出通路6の断面積Aoとの関係は、特に限定されることはなく、Ai>Ao、Ai=Ao、Ai<Aoのいずれの場合でも良い。
尚、図3では、ボール排出通路6をソリッドな材質で構成しているのでシャッタ14の部材をボール排出口19に設置してるが、ゴム等の可撓性材質でボール排出通路6を構成した場合には、図示されていないが、ボール排出通路6をクランプして閉塞する閉塞手段を設けても良い。
このようなクランプによる場合には、いずれもボール排出通路6を完全に閉塞する必要はなく、ボール供給通路5に付与される吸引力が、ボール排出通路6に付与される吸引力よりも大きくなれば良いので、ボール排出通路6の一部が開放されている不完全閉塞であっても構わない。
以下、半田ボール搭載装置における半田ボール供給装置1の利用状態について説明する。図4は、釣鐘型ボールカップ16を用いた半田ボール搭載装置の説明図であり、該半田ボール搭載装置は、下面開放の釣鐘型ボールカップ16内部のボール吸着体20に、半田ボール供給装置1から供給された半田ボール2を、吸引装置21の吸引力により吸着保持させ、配列治具であるマスク17上で、吸引装置21をOFFし、半田ボール2の吸着を解除して落下させ、半田ボール2をマスク17の搭載用の貫通孔24に落とし込み、テーブル22上に載置されている基板23の電極上に半田ボール2を搭載するものである。
この場合、図4に示されるように、釣鐘型ボールカップ16と半田ボール供給装置1は一体的に設ける。半田ボール供給装置1のボール排出通路6のボール排出口19の下方にボールガイド15を設けて、釣鐘型ボールカップ16の下面開放部付近のマスク17上に半田ボール2が集まるようにガイドする。供給された半田ボール2は、ボールガイド15に導かれてマスク17上に溜まる。もちろん、ボールガイド15は必須の構成ではない。
尚、釣鐘型ボールカップ16に半田ボール供給装置1を取り付ける構成は必須ではない。半田ボール供給装置1を所定位置に固定設置し、その位置でマスク17上に半田ボール2を供給して、釣鐘型ボールカップ16が半田ボール2を取りに行くようにしても良い。
図5は、ボックス型ボールカップ26を用いた半田ボール搭載装置の説明図であり、ボックス型ボールカップ26の内部下面側に多数の半田ボール2を収容し、ボックス型ボールカップ26を移動させながらボックス型ボールカップ26底面に開けられた下面開口部より配列治具であるマスク17上に対して半田ボール2を供給して、半田ボール2をマスク17の搭載用の貫通孔24に落とし込み、テーブル22上に載置されている基板23の電極上に半田ボール2を搭載するものである。
ボックス型ボールカップ26は通常、進行方向と直交する方向を長手方向とする形状である。ボックス型ボールカップ26内に、均等に半田ボール2を供給するには、半田ボール供給装置1をボックス型ボールカップ26の長手方向(図5中手前より奥への方向)に往復移動させる移動機構(スライドレール18を用いた機構)を用いる。該移動機構を介して半田ボール供給装置1をボックス型ボールカップ26に取り付ける。もちろん、移動機構を設けず、半田ボール供給装置1を複数個設け、ボックス型ボールカップ26全域に半田ボール2を均等に供給できるようにしても良い。
尚、半田ボール供給装置1を固定設置し、半田ボール2の供給時にボックス型ボールカップ26を半田ボール供給装置1の下方に移動させ、半田ボール2をボックス型ボールカップ26内に供給しても良い。
1・・・・・・・・半田ボール供給装置
2・・・・・・・・半田ボール
3・・・・・・・・ボールホッパ
4・・・・・・・・ボールポケット
5・・・・・・・・ボール供給通路
6・・・・・・・・ボール排出通路
7、8・・・・・・検知センサ
9・・・・・・・・メッシュ
10・・・・・・・真空源
11・・・・・・・レギュレータ
12・・・・・・・電磁開閉弁
13・・・・・・・吸引通路
14・・・・・・・シャッタ
15・・・・・・・ボールガイド
16・・・・・・・釣鐘型ボールカップ
17・・・・・・・マスク
18・・・・・・・スライドレール
19・・・・・・・ボール排出口
20・・・・・・・ボール吸着体
21・・・・・・・吸引装置
22・・・・・・・テーブル
23・・・・・・・基板
24・・・・・・・貫通孔
26・・・・・・・ボックス型ボールカップ
31・・・・・・・接続位置
Ai・・・・・・・ボール供給通路の断面積
Ao・・・・・・・ボール排出通路の断面積
Ap・・・・・・・ボールポケットの断面積
Lo・・・・・・・ボール排出通路のボール排出方向長さ
Ro・・・・・・・ボール排出通路直径

Claims (3)

  1. 被搭載物上面に所定パターンで形成されている搭載箇所に導電性ボールを搭載する導電性ボール搭載手段に対し導電性ボールを供給する導電性ボール供給装置において、導電性ボールを貯留するボールホッパと、
    所定量の導電性ボールを収容可能なボールポケットと、
    前記ボールポケットに対しボール吸い込み阻止手段を介して接続される真空吸引手段と、
    前記真空吸引手段による吸引状態のON及びOFFを切り換える真空切換手段と、
    前記ボールホッパと前記ボールポケットとを接続するボール供給通路と、
    前記ボールポケットとボール搭載手段の導電性ボール受取位置とを接続するボール排出通路とを備え、
    前記ボール供給通路の断面積を、前記ボールポケットの断面積より小さく、前記ボール排出通路の断面積より大きく設定することにより、前記真空吸引手段からの吸引による前記ボール供給通路の吸引力が、前記ボール排出通路の吸引力より強くなるようし、
    前記真空切換手段により、前記真空吸引手段による吸引状態をONとして、前記ボール供給通路から導電性ボールを導入して前記ボールポケットに所定量の導電性ボールを収容した後、前記真空吸引手段による吸引状態をOFFとして、導電性ボールを前記ボール排出通路から前記導電性ボール受取位置に排出する
    ことを特徴とする導電性ボール供給装置。
  2. 上記ボール排出通路を閉塞する閉塞手段を設けたことを特徴とする請求項1記載の導電性ボール供給装置。
  3. 上記ボール供給通路は、ボールポケットに対して上り勾配を付けて接続されていることを特徴とする請求項1または2記載の導電性ボール供給装置。
JP2010128082A 2010-06-03 2010-06-03 導電性ボール供給装置 Active JP5598705B2 (ja)

Priority Applications (3)

Application Number Priority Date Filing Date Title
JP2010128082A JP5598705B2 (ja) 2010-06-03 2010-06-03 導電性ボール供給装置
KR1020110052611A KR101830637B1 (ko) 2010-06-03 2011-06-01 도전성 볼 공급장치
TW100119590A TWI542434B (zh) 2010-06-03 2011-06-03 導電性球供給裝置

Applications Claiming Priority (1)

Application Number Priority Date Filing Date Title
JP2010128082A JP5598705B2 (ja) 2010-06-03 2010-06-03 導電性ボール供給装置

Publications (2)

Publication Number Publication Date
JP2011254011A JP2011254011A (ja) 2011-12-15
JP5598705B2 true JP5598705B2 (ja) 2014-10-01

Family

ID=45417691

Family Applications (1)

Application Number Title Priority Date Filing Date
JP2010128082A Active JP5598705B2 (ja) 2010-06-03 2010-06-03 導電性ボール供給装置

Country Status (3)

Country Link
JP (1) JP5598705B2 (ja)
KR (1) KR101830637B1 (ja)
TW (1) TWI542434B (ja)

Families Citing this family (5)

* Cited by examiner, † Cited by third party
Publication number Priority date Publication date Assignee Title
KR101668960B1 (ko) * 2015-08-12 2016-11-10 주식회사 프로텍 도전성 볼 탑재 장치 및 그 제어 방법
CN108296591B (zh) * 2017-12-26 2020-07-14 武汉凌云光电科技有限责任公司 一种锡球焊接的自动化出锡装置及方法
CN108608085B (zh) * 2018-04-28 2020-07-10 歌尔股份有限公司 锡焊机的控制方法、锡焊机及存储介质
KR102600162B1 (ko) * 2021-06-28 2023-11-08 (주)오엠티 볼 로딩장치
WO2025054967A1 (en) * 2023-09-15 2025-03-20 Texas Instruments Incorporated Ball mounting apparatus with ball attach volume control

Family Cites Families (7)

* Cited by examiner, † Cited by third party
Publication number Priority date Publication date Assignee Title
JP2000062940A (ja) * 1998-08-26 2000-02-29 Hitachi Via Mechanics Ltd 導電性ボール搭載装置の導電性ボール供給装置
JP2006175471A (ja) * 2004-12-22 2006-07-06 Athlete Fa Kk ボール供給方法、ボール供給装置及びボール振込装置
JP2008041812A (ja) * 2006-08-03 2008-02-21 Matsushita Electric Ind Co Ltd 導電ボールの配列装置及び配列方法
JP4247919B2 (ja) * 2006-09-25 2009-04-02 Tdk株式会社 導電性材料の供給装置及び供給方法
JP4899125B2 (ja) * 2006-12-15 2012-03-21 澁谷工業株式会社 導電性ボールの搭載方法及び搭載装置
JP2009010038A (ja) * 2007-06-26 2009-01-15 Nec Electronics Corp 導電性ボール供給装置
JP2010027765A (ja) * 2008-07-17 2010-02-04 Shibuya Kogyo Co Ltd ボール搭載装置

Also Published As

Publication number Publication date
TWI542434B (zh) 2016-07-21
TW201206609A (en) 2012-02-16
JP2011254011A (ja) 2011-12-15
KR101830637B1 (ko) 2018-02-21
KR20110132992A (ko) 2011-12-09

Similar Documents

Publication Publication Date Title
JP5598705B2 (ja) 導電性ボール供給装置
JP5294204B2 (ja) ワーク挿入機構及びワーク挿入方法
CN105848825B (zh) 元件供给系统
JP6194609B2 (ja) 布接着装置
CN102975890A (zh) 一种移液枪头自动排序装置
NO20082081L (no) Apparatus and method for separating solids from a solids laden fluid
KR20220157473A (ko) 분립체 공급장치
EP2671833A2 (en) Automatic winder
US10669071B2 (en) Powder container systems for additive manufacturing
US9862191B2 (en) Liquid holding container
JP6637336B2 (ja) 播種装置
CN209201456U (zh) 应用于贴片机的散料供料器
CN215853629U (zh) 一种振动盘
JP2017065748A (ja) 容器クリーニング装置
EP2738126A2 (en) Bobbin accommodating device and automatic winder
JP7079065B2 (ja) 播種装置
KR20100124699A (ko) 전자부품 자동 공급장치
EP1030348A2 (en) Chip feeder
KR101027918B1 (ko) 전자부품 자동 공급장치
JPH08258989A (ja) チップ状部品供給装置
JP6819850B2 (ja) 枚葉紙持ち上げ装置および枚葉紙持ち上げ方法
JP7026929B2 (ja) 粉粒体の定量フィーダ装置
CN119329996A (zh) 送料装置
KR101408110B1 (ko) 칩 이송장치
CN211663870U (zh) 一种微粒种子储存罐

Legal Events

Date Code Title Description
A621 Written request for application examination

Free format text: JAPANESE INTERMEDIATE CODE: A621

Effective date: 20130422

A977 Report on retrieval

Effective date: 20140127

Free format text: JAPANESE INTERMEDIATE CODE: A971007

A131 Notification of reasons for refusal

Effective date: 20140304

Free format text: JAPANESE INTERMEDIATE CODE: A131

A521 Written amendment

Free format text: JAPANESE INTERMEDIATE CODE: A523

Effective date: 20140430

TRDD Decision of grant or rejection written
A01 Written decision to grant a patent or to grant a registration (utility model)

Effective date: 20140701

Free format text: JAPANESE INTERMEDIATE CODE: A01

A61 First payment of annual fees (during grant procedure)

Free format text: JAPANESE INTERMEDIATE CODE: A61

Effective date: 20140730

R150 Certificate of patent (=grant) or registration of utility model

Free format text: JAPANESE INTERMEDIATE CODE: R150

Ref document number: 5598705

Country of ref document: JP