JP5589509B2 - 光学ユニットおよび撮像装置 - Google Patents
光学ユニットおよび撮像装置 Download PDFInfo
- Publication number
- JP5589509B2 JP5589509B2 JP2010084288A JP2010084288A JP5589509B2 JP 5589509 B2 JP5589509 B2 JP 5589509B2 JP 2010084288 A JP2010084288 A JP 2010084288A JP 2010084288 A JP2010084288 A JP 2010084288A JP 5589509 B2 JP5589509 B2 JP 5589509B2
- Authority
- JP
- Japan
- Prior art keywords
- lens
- lens element
- lens group
- imaging
- object side
- Prior art date
- Legal status (The legal status is an assumption and is not a legal conclusion. Google has not performed a legal analysis and makes no representation as to the accuracy of the status listed.)
- Expired - Fee Related
Links
Images
Classifications
-
- G—PHYSICS
- G02—OPTICS
- G02B—OPTICAL ELEMENTS, SYSTEMS OR APPARATUS
- G02B13/00—Optical objectives specially designed for the purposes specified below
- G02B13/001—Miniaturised objectives for electronic devices, e.g. portable telephones, webcams, PDAs, small digital cameras
- G02B13/0015—Miniaturised objectives for electronic devices, e.g. portable telephones, webcams, PDAs, small digital cameras characterised by the lens design
- G02B13/002—Miniaturised objectives for electronic devices, e.g. portable telephones, webcams, PDAs, small digital cameras characterised by the lens design having at least one aspherical surface
- G02B13/003—Miniaturised objectives for electronic devices, e.g. portable telephones, webcams, PDAs, small digital cameras characterised by the lens design having at least one aspherical surface having two lenses
-
- G—PHYSICS
- G02—OPTICS
- G02B—OPTICAL ELEMENTS, SYSTEMS OR APPARATUS
- G02B13/00—Optical objectives specially designed for the purposes specified below
- G02B13/001—Miniaturised objectives for electronic devices, e.g. portable telephones, webcams, PDAs, small digital cameras
- G02B13/0015—Miniaturised objectives for electronic devices, e.g. portable telephones, webcams, PDAs, small digital cameras characterised by the lens design
-
- G—PHYSICS
- G02—OPTICS
- G02B—OPTICAL ELEMENTS, SYSTEMS OR APPARATUS
- G02B13/00—Optical objectives specially designed for the purposes specified below
- G02B13/001—Miniaturised objectives for electronic devices, e.g. portable telephones, webcams, PDAs, small digital cameras
- G02B13/0055—Miniaturised objectives for electronic devices, e.g. portable telephones, webcams, PDAs, small digital cameras employing a special optical element
- G02B13/006—Miniaturised objectives for electronic devices, e.g. portable telephones, webcams, PDAs, small digital cameras employing a special optical element at least one element being a compound optical element, e.g. cemented elements
-
- G—PHYSICS
- G02—OPTICS
- G02B—OPTICAL ELEMENTS, SYSTEMS OR APPARATUS
- G02B7/00—Mountings, adjusting means, or light-tight connections, for optical elements
- G02B7/02—Mountings, adjusting means, or light-tight connections, for optical elements for lenses
- G02B7/021—Mountings, adjusting means, or light-tight connections, for optical elements for lenses for more than one lens
-
- G—PHYSICS
- G02—OPTICS
- G02B—OPTICAL ELEMENTS, SYSTEMS OR APPARATUS
- G02B9/00—Optical objectives characterised both by the number of the components and their arrangements according to their sign, i.e. + or -
- G02B9/04—Optical objectives characterised both by the number of the components and their arrangements according to their sign, i.e. + or - having two components only
-
- G—PHYSICS
- G03—PHOTOGRAPHY; CINEMATOGRAPHY; ANALOGOUS TECHNIQUES USING WAVES OTHER THAN OPTICAL WAVES; ELECTROGRAPHY; HOLOGRAPHY
- G03B—APPARATUS OR ARRANGEMENTS FOR TAKING PHOTOGRAPHS OR FOR PROJECTING OR VIEWING THEM; APPARATUS OR ARRANGEMENTS EMPLOYING ANALOGOUS TECHNIQUES USING WAVES OTHER THAN OPTICAL WAVES; ACCESSORIES THEREFOR
- G03B30/00—Camera modules comprising integrated lens units and imaging units, specially adapted for being embedded in other devices, e.g. mobile phones or vehicles
Landscapes
- Physics & Mathematics (AREA)
- General Physics & Mathematics (AREA)
- Optics & Photonics (AREA)
- Lenses (AREA)
- Lens Barrels (AREA)
Description
また、価格要求に対して、ウエハー状にレンズを形成しコストを削減するという技術が知られている。
ここで開示されているものは、ハイブリッド(HYBRID)方式と呼ばれる。
ハイブリッド方式では、ウエハー状のガラス板に多数個のレンズを形成すること、また、撮像素子ウエハーとこのレンズ素子をウエハー状態で張り合わせ、次に個片化して、同時に多数個のカメラモジュールを作製する。
CIF,VGA等については撮像エリアが小さく、そのことにより、ウエハー状に多数形成されたレンズ素子のフォーカス位置のばらつきが、大きく問題とならず、有利である。
しかしながら、このレンズは、別部品としてIRカットフィルタが必要であり、また絞り等が別部品であるために、部品点数が多いという不利益がある。
IRカットフィルタをレンズと撮像素子との間に入れる必要があることから、長いバックフォーカスが必要となり、レンズ設計上の制約となる。
45 ≦ νL1 ≦ 53.1 (1)
30 ≦ νL3 ≦ 41.6 (2)
57.3 ≦ νL1 ≦ 80 (1)
59.6 ≦ νL3 ≦ 67 (2)
45 ≦ νL1 ≦ 53.1 (1)
30 ≦ νL3 ≦ 41.6 (2)
57.3 ≦ νL1 ≦ 80 (1)
59.6 ≦ νL3 ≦ 67 (2)
なお、説明は以下の順序で行う。
1.第1の実施形態(光学ユニットを採用した撮像レンズの第1の構成例)
2.第2の実施形態(光学ユニットを採用した撮像レンズの第2の構成例)
3.第3の実施形態(光学ユニットを採用した撮像レンズの第3の構成例)
4.第4の実施形態(光学ユニットを採用した撮像レンズの第4の構成例)
5.第5の実施形態(ウエハーオプトの概念)
6.第6の実施形態(撮像レンズの第5の構成例)
7.第7の実施形態(撮像装置の構成例)
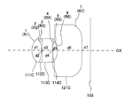
図1は、本発明の第1の実施形態に係る光学ユニットを採用した撮像レンズの構成例を示す図である。
この撮像レンズ100は、単焦点レンズとして形成されている。そして、第1レンズ群110および第2レンズ群120により光学ユニットが形成される。
第2レンズ群120は、ひとつのレンズエレメントのみで形成されている。
第1レンズ群110は、物体側OBJSから像面130側に向かって順番に配置された、第1レンズエレメント111、透明体112、および第2レンズエレメント113を含む接合体により形成されている。
ここで、第1レンズエレメント111は凸平形状でアッベ数が大きく、透明体(ガラス基板)112は、安価に製造するためにショット社のBK7相当のガラス板が使われ、第2レンズエレメント113は平凹レンズが形成される。
また、絞りはガラス基板の物体側にクロム膜等の透過がほとんど無い物質をあらかじめ付けて実現される。
第1面SF1は第1レンズエレメント111の物体側面により形成され、第2面SF2は第2レンズエレメント113の像面側面により形成される。
第3面SF3は第3レンズエレメント121の物体側面により形成され、第4面SF4は第3レンズエレメント121の像面側面により形成される。
また、第1レンズ群110の第2レンズエレメント113の像側面(第2面)と第2レンズ群120の第3レンズエレメント121の物体側面(第3面)は空気を挟んで向かい合っている。
そして、第2面および第3面の両者凹形状をしており、軸外の光束で上光線と下光線の空気を通る長さに大きな違いが出ることによりコマ収差と非点収差をうまく補正している。
ガラス基板上にレプリカレンズを上下に多数個形成し、それぞれ第1レンズ群110とする。次に、単一の硝材をウエハー状に多数個形成したものを第2レンズ群120とする。
この2枚のウエハー状のレンズ群を張り合わせ、多数個のレンズを一度に作製する。
ここで張り合わせのために、スペーサーを挟んだり、上や下にプロテクターや、スペーサーを貼ったりすることもある。
多くの場合、第1レンズ群110のガラス基板上にIRカットフィルタの機能をあらかじめ付加しておく。
これにより追加のIRカットフィルタが不必要になり、小型、低コストが可能になる。これらにより本開示のガラス基板にレプリカレンズを形成するハイブリッドと呼ばれるものと、同一硝材をレンズ形状に加工するキャスティングと呼ばれるものの組み合わせは、特性が優れていて、安価な光学ユニットを実現することが可能である。
図示しないカバーガラスが入れられてもよい。第4面SF4と像面130との間には、樹脂またはガラスで形成されるカバーガラスや赤外カットフィルタやローパスフィルタなどの他、光学部材が配置されていてもよい。
なお、本実施形態では、図1において、左側が物体側(前方)であり、右側が像面側(後方)である。
そして、物体側から入射した光束は像面130上に結像される。
第1レンズ群110において、第1レンズエレメント111は、物体側が凸状で像面側が平状の平凸レンズである。
また、第2レンズエレメント113は物体側が平状で像面側が凹状の平凹レンズである。
第2レンズ群120において、第3レンズエレメント121は物体側が凹状で、像面側が凸状の平凸レンズである。
たとえば、第3レンズエレメント121は、像面側が凸状および凹状が混合する平凸凹レンズである。
透明体113は、たとえばアッベ数νg1が小さく屈折率ng1が高い、平板状のガラス基板(透明基板)により形成される。
第2レンズエレメント113は、第2面SF2を形成する像面側の面が像面側が凹形状の非球面レンズにより形成される。
第1レンズ群110は、透明体(ガラス基板)112の物体側面に第1レンズエレメント111が形成されている。
そして、透明体(ガラス基板)112の像面側面に第2レンズエレメント113が接合して形成されている。
また、絞りは、透明体112の物体側にクロム膜等の遮光作用を有する物質として付けられている。
第1レンズ群110が、物体側から像面側に向かって、凸形状でアッベ数νs1が大きい非球面レンズの第1面SF1、アッベ数νg1が小さく屈折率ng1が高い透明体(ガラス基板)112、および凹形状の非球面レンズの第2面SF2により形成される。
第2レンズ群120が、物体側から像面側に向かって、凹形状の非球面レンズの第3面SF3、非球面レンズの第4面SF4により形成される。
45 ≦ νL1 ≦ 80 (1)
20 ≦ νL3 ≦ 67 (2)
0.4 ≦ fg1/f ≦ 2.5 (3)
上限を超えると光学全長が伸びてしまい小型化に向かなくなる。そのことにより、光軸方向に隙間が大きくなり、ウエハー状で製造しづらくなる。
−10 ≦ fg2/f ≦ −0.4 (4)
そのことにより、光軸方向に隙間が大きくなり、ウエハー状で製造しづらくなる。上限を超えるとパワーが強くなりすぎて、群間偏芯の製造トレランスが悪化して製造できなくなる。
0.4 ≦ R2/f ≦ 5.0 (5)
上限を超えると収差補正の力が弱くなり軸外でコマ収差と非点収差により光学特性が悪くなる。
−10 ≦ R3/f ≦ −0.3 (6)
上限を超えると曲率が強くなり軸外の光線に強い角度が付いてしまい、イメージャに入射する光線の角度が大きくなり混色や光量落ち等の問題が起こり、特性が劣化する。
ただし、Xは非球面頂点に対する接平面からの距離を、Aは4次の非球面係数を、Bは6次の非球面係数を、Cは8次の非球面係数を、Dは10次の非球面係数をそれぞれ表している。
透明体112の像面側面と第2レンズエレメント113の物体側面との境界面(接合面)に第3番の面番号が付与されている。
第2レンズエレメント113の像面側面(凹面)に第4番の面番号が付与されている。
第3レンズエレメント121の物体側面(凹面)に第5番、第3レンズエレメント121の像面側面に第6番の面番号が付与されている。
像面に第7番の面番号が付与されている。
第1レンズエレメント111の像面側面と透明体112の物体側面との境界面(接合面)2の中心曲率半径はR2に設定される。
透明体112の像面側面と第2レンズエレメント113の物体側面との境界面(接合面)3の中心曲率半径はR3に設定される。
第2レンズエレメント113の像面側面(凹面)4の中心曲率半径はR4に設定される。
第3レンズエレメント121の物体側面(凹面)5の中心曲率半径はR5に、第3レンズエレメント121の像面側面6の中心曲率半径はR6に設定される。
像面130の面7の中心曲率半径はR7に設定される。
なお、面2,3,7の中心曲率半径R2,R3,R7は無限(INFINITY)である。
第2レンズエレメント113の厚さとなる面3と面4間の光軸OX上の距離がd3、第2レンズエレメント113の像面側面4と第3レンズエレメント121の物体側面5間の光軸OX上の距離がd4に設定される。
第3レンズエレメント121の厚さとなる面5と面6間の光軸OX上の距離がd5に、第3レンズエレメント121の像面側面6と像面130の物体側面7間の光軸OX上の距離がd6に設定される。
表1、表2、表3、および表4に実施例1の各数値が示されている。実施例1の各数値は図1の撮像レンズ100に対応している。
実施例1は、1/5サイズ、1.4μmピッチの3メガピクセル(Mage pixel)CMOSイメージャ用の設計例である。
凸平形状でアッベ数57.3の第1レンズエレメント111がBK7相当のガラス板の物体側に貼り付けられており、アッベ数43.4で平凹形状の第2レンズエレメント113が反対側に貼り付けられている。
ここで絞りは、ガラス基板の物体側にクロム膜等の透過がほとんど無い物質をあらかじめ付けて実現される。
また、IRカットフィルタも付加される。
ここで第1レンズ群110は強い正のパワーを持ち、第2レンズ群120は強い負のパワーを持ち、光路長が短く、色収差がよく補正されたレンズユニットとなる。
また、第2面SF2と第3面SF3は空気を挟んで向かい合っており、両者凹形状をしており、軸外の光束で上光線と下光線の空気を通る長さに大きな違いが出ることによりコマ収差と非点収差をうまく補正している。
表2において、Kは円錐定数を、Aは4次の非球面係数を、Bは6次の非球面係数を、Cは8次の非球面係数を、Dは10次の非球面係数をそれぞれ表している。
ここで、焦点距離fは2.94[mm]に、開口数Fは2.8に、半画角ωは32.0degに、レンズ長Hは3.34[mm]に設定されている。
第2レンズ群120の第3レンズエレメント121のアッベ数νL3が29.0に設定され、条件式(2)で規定される条件を満足している。
第1レンズ群110の合成焦点距離fg1が0.71に設定され、条件式(3)で規定される条件を満足している。
第2レンズ群120の合成焦点距離fg2が−1.01に設定され、条件式(4)で規定される条件を満足している。
第2レンズエレメント113の像面側面、すなわち全体の第2面の曲率半径R2(図2ではR4)が1.07に設定され、条件式(5)で規定される条件を満足している。
第3レンズエレメント121の物体側面、すなわち、全体の第3面の曲率半径(図2ではR5)が−0.74に設定され、条件式(6)で規定される条件を満足している。
図3からわかるように、実施例1によれば、球面、非点、歪曲の諸収差が良好に補正され、結像性能に優れた光学ユニットを含む撮像レンズが得られる。
図4は、本発明の第2の実施形態に係る撮像レンズの構成例を示す図である。
したがって、ここでは、撮像レンズ100Aの詳細な説明は省略する。
以下に、撮像レンズの具体的な数値による実施例2を示す。なお、実施例2においては、撮像レンズ100Aの各レンズエレメント、ガラス基板(透明体)、撮像部を構成する撮像面130に対して、図2に示すような面番号が付与されている。
凸平形状でアッベ数53.1の第1レンズエレメント111がBK7相当のガラス板の物体側に貼り付けられており、アッベ数41.6で平凹形状の第2レンズエレメント113が反対側に貼り付けられている。
ここで絞りは、ガラス基板の物体側にクロム膜等の透過がほとんど無い物質をあらかじめ付けて実現される。
IRカットフィルタも付加される。
ここで、第1レンズ群110Aは強い正のパワーを持ち、第2レンズ群120Aは強い負のパワーを持ち、光路長が短く、色収差がよく補正されたレンズユニットとなる。
また、第2面SF2と第3面SF3は空気を挟んで向かい合っており、両者凹形状をしており、軸外の光束で上光線と下光線の空気を通る長さに大きな違いが出ることによりコマ収差と非点収差をうまく補正している。
表5、表6、表7、および表8に実施例2の各数値が示されている。実施例2の各数値は図5の撮像レンズ100Aに対応している。
実施例2は、1/5サイズ、1.4μmピッチの3メガピクセル(Mage pixel)CMOSイメージャ用の設計例である。
表6において、Kは円錐定数を、Aは4次の非球面係数を、Bは6次の非球面係数を、Cは8次の非球面係数を、Dは10次の非球面係数をそれぞれ表している。
ここで、焦点距離fは2.91[mm]に、開口数Fは2.8に、半画角ωは31.4degに、レンズ長Hは3.31[mm]に設定されている。
第2レンズ群120の第3レンズエレメント121のアッベ数νL3が41.6に設定され、条件式(2)で規定される条件を満足している。
第1レンズ群110の合成焦点距離fg1が0.70に設定され、条件式(3)で規定される条件を満足している。
第2レンズ群120の合成焦点距離fg2が−0.99に設定され、条件式(4)で規定される条件を満足している。
第2レンズエレメント113の像面側面、すなわち全体の第2面の曲率半径R2(図2ではR4)が0.97に設定され、条件式(5)で規定される条件を満足している。
第3レンズエレメント121の物体側面、すなわち、全体の第3面の曲率半径(図2ではR5)が−0.81に設定され、条件式(6)で規定される条件を満足している。
図5からわかるように、実施例2によれば、球面、非点、歪曲の諸収差が良好に補正され、結像性能に優れた光学ユニットを含む撮像レンズが得られる。
図6は、本発明の第3の実施形態に係る撮像レンズの構成例を示す図である。
したがって、ここでは、撮像レンズ100Bの詳細な説明は省略する。
以下に、撮像レンズの具体的な数値による実施例3を示す。なお、実施例3においては、撮像レンズ100Bの各レンズエレメント、ガラス基板(透明体)、撮像部を構成する撮像面130に対して、図2に示すような面番号が付与されている。
凸平形状でアッベ数53.1の第1レンズエレメント111がBK7相当のガラス板の物体側に貼り付けられており、アッベ数41.6で平凹形状の第2レンズエレメント113が反対側に貼り付けられている。
ここで絞りは、ガラス基板の物体側にクロム膜等の透過がほとんど無い物質をあらかじめ付けて実現される。
ここで、第1レンズ群110Bは強い正のパワーを持ち、第2レンズ群120Bは強い負のパワーを持ち、光路長が短く、色収差がよく補正されたレンズユニットとなる。
また、第2面SF2と第3面SF3は空気を挟んで向かい合っており、両者凹形状をしており、軸外の光束で上光線と下光線の空気を通る長さに大きな違いが出ることによりコマ収差と非点収差をうまく補正している。
表9、表10、表11、および表12に実施例3の各数値が示されている。実施例3の各数値は図7の撮像レンズ100Bに対応している。
実施例3は、1/5サイズ、1.4μmピッチの3メガピクセル(Mage pixel)CMOSイメージャ用の設計例である。
表10において、Kは円錐定数を、Aは4次の非球面係数を、Bは6次の非球面係数を、Cは8次の非球面係数を、Dは10次の非球面係数をそれぞれ表している。
ここで、焦点距離fは2.91[mm]に、開口数Fは2.8に、半画角ωは31.4degに、レンズ長Hは3.33[mm]に設定されている。
第2レンズ群120の第3レンズエレメント121のアッベ数νL3が30.0に設定され、条件式(2)で規定される条件を満足している。
第1レンズ群110の合成焦点距離fg1が0.74に設定され、条件式(3)で規定される条件を満足している。
第2レンズ群120の合成焦点距離fg2が−1.22に設定され、条件式(4)で規定される条件を満足している。
第2レンズエレメント113の像面側面、すなわち全体の第2面の曲率半径R2(図2ではR4)が1.05に設定され、条件式(5)で規定される条件を満足している。
第3レンズエレメント121の物体側面、すなわち、全体の第3面の曲率半径(図2ではR5)が−0.86に設定され、条件式(6)で規定される条件を満足している。
図7からわかるように、実施例3によれば、球面、非点、歪曲の諸収差が良好に補正され、結像性能に優れた光学ユニットを含む撮像レンズが得られる。
図8は、本発明の第4の実施形態に係る撮像レンズの構成例を示す図である。
第1レンズ群110Cは、第1レンズエレメント111C、第2レンズエレメント112C、透明体113C、および第3レンズエレメント114Cの接合体により形成されている。
第2レンズ群120Cは、ひとつの第4レンズエレメント121Cにより形成されている。
第1レンズ群110Cは、両凸形状でたとえばアッベ数57.3の第1レンズエレメント111Cと凹平形状でアッベ数29.6の第2レンズエレメント113CがBK7相当のガラス板の物体側に貼り付けられている。
平凹形状でアッベ数57.3の第3レンズエレメント114Cが反対側に貼り付けられている。
ここで絞りは、ガラス基板の物体側にクロム膜等の透過がほとんど無い物質をあらかじめ付けて実現される。
同様に、IRカットフィルタもガラス基板上に蒸着によってあらかじめ付着される。
ここでは、第1レンズエレメント111Cが両凸で大きいアッベ数のもので構成し、第2レンズエレメント11Cは凹平形状で第1レンズエレメントより小さいアッベ数のもので形成される。
そして、両者でダブレット構造を構成して、単一構造より、より色収差が消される構造になっている。
また、第1レンズ群110Cと第2レンズ群120Cは空気を挟んで向かい合っており、両者凹形状をしており、軸外の光束で上光線と下光線の空気を通る長さに大きな違いが出ることによりコマ収差と非点収差をうまく補正している。
たとえば、実施例1においては軸上色収差が7.5μmであるのに対し、本例では4.3μmまで抑えている。
これにより、通常の光学系で4枚構成に相当する性能を実現できる。
第2レンズエレメント112Cの像面側面と透明体113Cの物体側面との境界面(接合面)に第3番の面番号が付与されている。
透明体113Cの像面側面と第3レンズエレメント114Cの物体側面との境界面(接合面)に第4番の面番号が付与されている。
第3レンズエレメント114Cの像面側面(凹面)に第5番の面番号が付与されている。
第4レンズエレメント121Cの物体側面(凹面)に第6番、第4レンズエレメント121Cの像面側面に第7番の面番号が付与されている。
第1レンズエレメント111Cの像面側面と第2レンズエレメント112Cの物体側面との境界面(接合面)2の中心曲率半径はR2に設定される。
第2レンズエレメント112Cの像面側面と透明体113Cの物体側面との境界面(接合面)3の中心曲率半径はR3に設定される。
透明体113Cの像面側面と第3レンズエレメント114Cの物体側面との境界面(接合面)4の中心曲率半径はR4に設定される。
第3レンズエレメント114Cの像面側面(凹面)5の中心曲率半径はR5に設定される。
第4レンズエレメント121Cの物体側面(凹面)6の中心曲率半径はR6に、第4レンズエレメント121Cの像面側面7の中心曲率半径はR7に設定される。
なお、面3,4の中心曲率半径R3,R4は無限(INFINITY)である。
透明体113Cの厚さとなる面3と面4間の光軸OX上の距離がd3に設定される。
第3レンズエレメント114Cの厚さとなる面4と面5間の光軸OX上の距離がd4、第3レンズエレメント114Cの像面側面5と第4レンズエレメント121Cの物体側面6間の光軸OX上の距離がd5に設定される。
第4レンズエレメント121Cの厚さとなる面6と面7間の光軸OX上の距離がd6に、第4レンズエレメント121Cの像面側面7と像面130間の距離がd7に設定される。
表13、表14、表15、および表16に実施例4の各数値が示されている。実施例4の各数値は図8の撮像レンズ100Cに対応している。
実施例3は、1/5サイズ、1.4μmピッチの3メガピクセル(Mage pixel)CMOSイメージャ用の設計例である。
表14において、Kは円錐定数を、Aは4次の非球面係数を、Bは6次の非球面係数を、Cは8次の非球面係数を、Dは10次の非球面係数をそれぞれ表している。
ここで、焦点距離fは2.92[mm]に、開口数Fは2.8に、半画角ωは31.9degに、レンズ長Hは3.22[mm]に設定されている。
第2レンズ群120Cの第4レンズエレメント121Cのアッベ数νL3が59.6に設定され、条件式(2)で規定される条件を満足している。
第1レンズ群110の合成焦点距離fg1が0.68に設定され、条件式(3)で規定される条件を満足している。
第2レンズ群120の合成焦点距離fg2が−0.90に設定され、条件式(4)で規定される条件を満足している。
第2レンズエレメント113の像面側面、すなわち全体の第2面の曲率半径R2(図2ではR4)が2.17に設定され、条件式(5)で規定される条件を満足している。
第4レンズエレメント121Cの物体側面、すなわち、全体の第3面の曲率半径(図9ではR6)が−0.59に設定され、条件式(6)で規定される条件を満足している。
図10からわかるように、実施例4によれば、球面、非点、歪曲の諸収差が良好に補正され、結像性能に優れた光学ユニットを含む撮像レンズが得られる。
図11は、本発明の第5の実施形態に係るウエハーレベルオプティクスを概念的に示す図である。
次に、単一の硝材をウエハー状に多数個形成したものを第2群230とする。
この2枚のウエハー状レンズを張り合わせ、多数個のレンズを一度に作製する。
ここで張り合わせのために、スペーサーを挟んだり、上や下にプロテクターや、スペーターを貼ったりすることもある。多くの場合第1群のガラス基板上にIRカットフィルタを付けておく。
図12は、本発明の第6の実施形態に係る撮像レンズを概念的に示す図である。
第1レンズ1群110Dは、ガラス基板112上にIRカットフィルタと遮光手段を多数個施したものに、レプリカレンズを上下に多数個形成し、個片化したもので構成する。 第2レンズ群120Dは単一硝材より成型するモールドレンズ、もしくは、個片化後のキャスティング式ウエハーオプトで構成する。
ここで、第1レンズ群と第2レンズ群の接着時に位置出しを第1群、第2群間のレンズの有効面より外の形状による嵌合で行う。
たとえば、図12で示すように、第1レンズ群110Dの外側で段差を付けガラス基板がむき出しになるぐらいまで薄くして、段差部分で2群と嵌合するようにする。
第2レンズ群120Dは、光学有効系より外側の第1レンズ群110Dの段差部分より径が大きいところで盛り上がるように段差を付け、1群の受けを作る。
このようにして構造によりレンズの偏芯方向位置精度が保たれるようにしてから、外周部分に接着剤を塗布して接着を行う。これで、レンズ鏡筒が完成する。
上記2つの利点であるHYBRIDの部品点数が少ない、従来レンズの個々に調整できるという利点を持ち合わせ、高画素対応レンズ素子、また、高画素カメラモジュールとしてさらに安価で作ることができる。
3メガ以上の高画素では、軸上色収差ならびに諸収差を十分減らした光学設計が必要であるが、方式の開示と同時に、光学設計の具体例を開示する。
第1群のパワーを強い正、第2群を強い負にして、光学収差を極力抑えて光学長も短くした。同時に第1群に大きなアッベ数、第2群に小さなアッベ数の硝材を用いることにより色収差を小さくした。
第2面と第3面は空気を挟んで向かい合っており、両者凹形状をしており、軸外の光束で上光線と下光線の空気を通る長さに大きな違いが出ることによりコマ収差と非点収差をうまく補正している。
第4面の形状を像側に対しおおよそ凸形状にすることによりゴーストが発生しにくくした。
また、このことによりセンサに対する入射角度を緩くして最適な光学性能が得られ、十分なバックフォーカスを取れるようにした。
従来の3群3枚構成の光学系、たとえば、3枚プラスチック構成やガラス−プラスチック−プラスチックの3枚構成のものと比べると、この発明は同じ光学長の従来光学系よりも光学特性が優れている。
また、ウエハーオプトと違い、有効径ぎりぎりの円形に作ることができるので、小型化ができる。また、スクリュー鏡筒に入れることができるので、従来のモジュール組立が利用できて、容易に組み立てられる。
従来のようにレンズ組み立てのあとにフィルタを付ける必要が無く安価にでき、また、第2群はガラス基板等がいらないために安価にできる。
また、1群は2群に比べ、1/10程度の面積しか有効径が無いので、1群、2群で個片化後に組みたてた場合、1群の取り個数が10倍ほど多くなり、この点でも安価に製造できる。
これらのことにより、従来のモールドレンズ3枚構成や、ウエハーオプトよりも安価に製造できる。
同時に本発明は、材料の選択でリフロー可能レンズ素子としても、リフローはできないが非常に安くできるレンズ素子としても構成でき、さまざまな応用商品に展開できるので、有利である。
さらに、高性能にするには入射側第1レンズをダブレットにすることが有用であり、これにより、より色収差を小さくした光学系を構成でき、通常の光学系で4枚構成に相当する性能を実現できる。
図13は、本実施形態に係る光学ユニットを含む撮像レンズが採用される撮像装置の構成例を示すブロック図である。
光学系310は、撮像デバイス320の画素領域を含む撮像面に入射光を導き、被写体像を結像する。
撮像装置300は、さらに、撮像デバイス320を駆動する駆動回路(DRV)330、および撮像デバイス320の出力信号を処理する信号処理回路(PRC)340を有する。
信号処理回路340で処理された画像信号は、たとえばメモリなどの記録媒体に記録される。記録媒体に記録された画像情報は、プリンタなどによってハードコピーされる。また、信号処理回路340で処理された画像信号を液晶ディスプレイ等からなるモニターに動画として映し出される。
Claims (11)
- 物体側から像面側に向かって順番に配置された、
第1レンズ群と、
第2レンズ群と、のみから構成され、
上記第1レンズ群は、物体側から像面側に向かって順番に配置された、
第1レンズエレメントと、
透明体と、
第2レンズエレメントと、を含み、
上記第2レンズ群は、
第3レンズエレメントのみを含み、
上記第1レンズエレメントのアッベ数νL1と上記第3レンズエレメントのアッベ数νL3は下記の条件式を満足する
光学ユニット。
45 ≦ νL1 ≦ 53.1 (1)
30 ≦ νL3 ≦ 41.6 (2) - 上記第1レンズ群の焦点距離fg1と上記第2レンズ群の焦点距離fg2は下記の条件式を満足する
請求項1記載の光学ユニット。
0.4 ≦ fg1/f ≦ 2.5 (3)
−10 ≦ fg2/f ≦ −0.4 (4)
fは全体の焦点距離を示す。 - 第2面の曲率半径R2と第3レンズエレメント入射面の曲率半径R3は下記の条件式を満足する
請求項1または2記載の光学ユニット。
0.4 ≦ R2/f ≦ 5.0 (5)
−10 ≦ R3/f ≦ −0.3 (6)
fは全体の焦点距離を示す。 - 物体側から像面側に向かって順番に配置された、
第1レンズ群と、
第2レンズ群と、のみから構成され、
上記第1レンズ群は、物体側から像面側に向かって順番に配置された、
第1レンズエレメントと、
第2レンズエレメントと
透明体と、
第3レンズエレメントと、を含み、
上記第1レンズエレメントと上記第2レンズエレメントがダブレットレンズを形成し、
上記第2レンズ群は、
第4レンズエレメントのみを含み、
上記第1レンズエレメントのアッベ数νL1と上記第4レンズエレメントのアッベ数νL3は下記の条件式を満足する
光学ユニット。
57.3 ≦ νL1 ≦ 80 (1)
59.6 ≦ νL3 ≦ 67 (2) - 上記第1レンズ群の焦点距離fg1と上記第2レンズ群の焦点距離fg2は下記の条件式を満足する
請求項4記載の光学ユニット。
0.4 ≦ fg1/f ≦ 2.5 (3)
−10 ≦ fg2/f ≦ −0.4 (4)
fは全体の焦点距離を示す。 - 第2面の曲率半径R2と第4レンズエレメント入射面の曲率半径R3は下記の条件式を満足する
請求項4または5記載の光学ユニット。
0.4 ≦ R2/f ≦ 5.0 (5)
−10 ≦ R3/f ≦ −0.3 (6)
fは全体の焦点距離を示す。 - ダブレットを形成する第1レンズエレメントが両凸形状で第2レンズエレメントが凹平形状である
請求項6記載の光学ユニット。 - 撮像素子と、
撮像素子に被写体像を結像する光学ユニットと、を有し、
上記光学ユニットは、
物体側から像面側に向かって順番に配置された、
第1レンズ群と、
第2レンズ群と、のみから構成され、
上記第1レンズ群は、物体側から像面側に向かって順番に配置された、
第1レンズエレメントと、
透明体と、
第2レンズエレメントと、を含み、
上記第2レンズ群は、
第3レンズエレメントのみを含み、
上記第1レンズエレメントのアッベ数νL1と上記第3レンズエレメントのアッベ数νL3は下記の条件式を満足する
撮像装置。
45 ≦ νL1 ≦ 53.1 (1)
30 ≦ νL3 ≦ 41.6 (2) - 上記第1レンズ群の焦点距離fg1と上記第2レンズ群の焦点距離fg2は下記の条件式(3)、(4)を満足し、
第2面の曲率半径R2と第3レンズエレメント入射面の曲率半径R3は下記の条件式(5)、(6)を満足する
請求項8記載の撮像装置。
0.4 ≦ fg1/f ≦ 2.5 (3)
−10 ≦ fg2/f ≦ −0.4 (4)
0.4 ≦ R2/f ≦ 5.0 (5)
−10 ≦ R3/f ≦ −0.3 (6) - 撮像素子と、
撮像素子に被写体像を結像する光学ユニットと、を有し、
上記光学ユニットは、
物体側から像面側に向かって順番に配置された、
第1レンズ群と、
第2レンズ群と、のみから構成され、
上記第1レンズ群は、物体側から像面側に向かって順番に配置された、
第1レンズエレメントと、
第2レンズエレメントと
透明体と、
第3レンズエレメントと、を含み、
上記第1レンズエレメントと上記第2レンズエレメントがダブレットレンズを形成し、
上記第2レンズ群は、
第4レンズエレメントのみを含み、
上記第1レンズエレメントのアッベ数νL1と上記第4レンズエレメントのアッベ数νL3は下記の条件式を満足する
撮像装置。
57.3 ≦ νL1 ≦ 80 (1)
59.6 ≦ νL3 ≦ 67 (2) - 上記第1レンズ群の焦点距離fg1と上記第2レンズ群の焦点距離fg2は下記の条件式(3)、(4)を満足し、
第2面の曲率半径R2と第4レンズエレメント入射面の曲率半径R3は下記の条件式(5)、(6)を満足する
請求項10記載の撮像装置。
0.4 ≦ fg1/f ≦ 2.5 (3)
−10 ≦ fg2/f ≦ −0.4 (4)
0.4 ≦ R2/f ≦ 5.0 (5)
−10 ≦ R3/f ≦ −0.3 (6)
Priority Applications (7)
| Application Number | Priority Date | Filing Date | Title |
|---|---|---|---|
| JP2010084288A JP5589509B2 (ja) | 2009-12-28 | 2010-03-31 | 光学ユニットおよび撮像装置 |
| CN2010800574345A CN102656499A (zh) | 2009-12-28 | 2010-12-20 | 光学单元和摄像装置 |
| KR1020127016078A KR20120109515A (ko) | 2009-12-28 | 2010-12-20 | 광학 유닛 및 촬상 장치 |
| EP10840748A EP2520964A1 (en) | 2009-12-28 | 2010-12-20 | Optical unit and imaging device |
| US13/516,004 US20120249858A1 (en) | 2009-12-28 | 2010-12-20 | Optical unit and image pickup apparatus |
| PCT/JP2010/007378 WO2011080888A1 (ja) | 2009-12-28 | 2010-12-20 | 光学ユニットおよび撮像装置 |
| TW099145083A TW201140131A (en) | 2009-12-28 | 2010-12-21 | Optical unit and imaging device |
Applications Claiming Priority (3)
| Application Number | Priority Date | Filing Date | Title |
|---|---|---|---|
| JP2009298648 | 2009-12-28 | ||
| JP2009298648 | 2009-12-28 | ||
| JP2010084288A JP5589509B2 (ja) | 2009-12-28 | 2010-03-31 | 光学ユニットおよび撮像装置 |
Publications (2)
| Publication Number | Publication Date |
|---|---|
| JP2011154336A JP2011154336A (ja) | 2011-08-11 |
| JP5589509B2 true JP5589509B2 (ja) | 2014-09-17 |
Family
ID=44226316
Family Applications (1)
| Application Number | Title | Priority Date | Filing Date |
|---|---|---|---|
| JP2010084288A Expired - Fee Related JP5589509B2 (ja) | 2009-12-28 | 2010-03-31 | 光学ユニットおよび撮像装置 |
Country Status (7)
| Country | Link |
|---|---|
| US (1) | US20120249858A1 (ja) |
| EP (1) | EP2520964A1 (ja) |
| JP (1) | JP5589509B2 (ja) |
| KR (1) | KR20120109515A (ja) |
| CN (1) | CN102656499A (ja) |
| TW (1) | TW201140131A (ja) |
| WO (1) | WO2011080888A1 (ja) |
Families Citing this family (3)
| Publication number | Priority date | Publication date | Assignee | Title |
|---|---|---|---|---|
| JP2014219426A (ja) * | 2011-08-26 | 2014-11-20 | 富士フイルム株式会社 | 光学系及びこれを用いる撮像装置 |
| JP6217193B2 (ja) | 2013-07-09 | 2017-10-25 | 株式会社デンソー | 光学レンズ装置 |
| CN106052869B (zh) * | 2016-05-18 | 2018-10-09 | 中国电子科技集团公司第四十一研究所 | 一种基于渐变滤光片分光的红外光谱辐射计 |
Family Cites Families (14)
| Publication number | Priority date | Publication date | Assignee | Title |
|---|---|---|---|---|
| US4575195A (en) * | 1981-05-29 | 1986-03-11 | Jan Hoogland | Flat field lenses |
| JPH0422246A (ja) * | 1990-05-16 | 1992-01-27 | Matsushita Electric Ind Co Ltd | 回線端末装置 |
| JP3781394B2 (ja) * | 1997-12-02 | 2006-05-31 | オリンパス株式会社 | 撮影光学系 |
| KR100774775B1 (ko) | 2002-09-17 | 2007-11-07 | 앤터온 비.브이. | 카메라 디바이스, 카메라 디바이스 제조 방법, 웨이퍼스케일 패키지 및 광학 어셈블리 |
| KR100733258B1 (ko) * | 2003-04-17 | 2007-06-27 | 니혼 덴산 산쿄 가부시키가이샤 | 렌즈 구동장치,박형 카메라 및 카메라 부착 휴대 전화기 |
| JP2005352317A (ja) | 2004-06-11 | 2005-12-22 | Sony Corp | 撮像レンズ及び撮像装置 |
| JP4963187B2 (ja) * | 2006-04-05 | 2012-06-27 | 富士フイルム株式会社 | 撮像レンズおよび撮像装置 |
| EP2113800A4 (en) * | 2007-02-19 | 2012-03-07 | Konica Minolta Opto Inc | LENS AND IMAGING DEVICE, AND MOBILE TERMINAL |
| WO2008102773A1 (ja) * | 2007-02-19 | 2008-08-28 | Konica Minolta Opto, Inc. | 撮像レンズ、撮像装置、携帯端末、および撮像レンズの製造方法 |
| JP4022246B1 (ja) * | 2007-05-09 | 2007-12-12 | マイルストーン株式会社 | 撮像レンズ |
| WO2009004965A1 (ja) * | 2007-07-04 | 2009-01-08 | Konica Minolta Opto, Inc. | 撮像レンズ及び撮像装置並びに携帯端末 |
| JP2009098614A (ja) * | 2007-10-12 | 2009-05-07 | Komatsulite Mfg Co Ltd | 撮像レンズユニット |
| US8477437B2 (en) * | 2008-02-12 | 2013-07-02 | Konica Minolta Opto, Inc. | Lens unit, image capturing lens, image capturing device and portable terminal |
| JP2009251367A (ja) * | 2008-04-08 | 2009-10-29 | Konica Minolta Opto Inc | 撮像レンズ、撮像レンズの製造方法及び撮像装置 |
-
2010
- 2010-03-31 JP JP2010084288A patent/JP5589509B2/ja not_active Expired - Fee Related
- 2010-12-20 CN CN2010800574345A patent/CN102656499A/zh active Pending
- 2010-12-20 KR KR1020127016078A patent/KR20120109515A/ko not_active Withdrawn
- 2010-12-20 EP EP10840748A patent/EP2520964A1/en not_active Withdrawn
- 2010-12-20 US US13/516,004 patent/US20120249858A1/en not_active Abandoned
- 2010-12-20 WO PCT/JP2010/007378 patent/WO2011080888A1/ja not_active Ceased
- 2010-12-21 TW TW099145083A patent/TW201140131A/zh unknown
Also Published As
| Publication number | Publication date |
|---|---|
| EP2520964A1 (en) | 2012-11-07 |
| KR20120109515A (ko) | 2012-10-08 |
| US20120249858A1 (en) | 2012-10-04 |
| JP2011154336A (ja) | 2011-08-11 |
| CN102656499A (zh) | 2012-09-05 |
| WO2011080888A1 (ja) | 2011-07-07 |
| TW201140131A (en) | 2011-11-16 |
Similar Documents
| Publication | Publication Date | Title |
|---|---|---|
| JP5434457B2 (ja) | 光学ユニットおよび撮像装置 | |
| KR101794369B1 (ko) | 광학 유닛 및 촬상 장치 | |
| JP6209308B2 (ja) | 撮像装置および電子機器 | |
| JP5560699B2 (ja) | 光学ユニットおよび撮像装置 | |
| KR101863379B1 (ko) | 광학 유닛 및 촬상 장치 | |
| WO2011043023A1 (ja) | 光学ユニットおよび撮像装置 | |
| JP2011133600A (ja) | 光学ユニットおよび撮像装置 | |
| JP5519198B2 (ja) | 光学ユニットおよび撮像装置 | |
| US8922917B2 (en) | Optical unit and image pickup apparatus | |
| JP5589509B2 (ja) | 光学ユニットおよび撮像装置 | |
| JP5434450B2 (ja) | 光学ユニットおよび撮像装置 | |
| JP6288168B2 (ja) | 撮像装置および電子機器 |
Legal Events
| Date | Code | Title | Description |
|---|---|---|---|
| A621 | Written request for application examination |
Free format text: JAPANESE INTERMEDIATE CODE: A621 Effective date: 20130328 |
|
| A131 | Notification of reasons for refusal |
Free format text: JAPANESE INTERMEDIATE CODE: A131 Effective date: 20130723 |
|
| A521 | Request for written amendment filed |
Free format text: JAPANESE INTERMEDIATE CODE: A523 Effective date: 20130917 |
|
| A131 | Notification of reasons for refusal |
Free format text: JAPANESE INTERMEDIATE CODE: A131 Effective date: 20140401 |
|
| A521 | Request for written amendment filed |
Free format text: JAPANESE INTERMEDIATE CODE: A523 Effective date: 20140526 |
|
| TRDD | Decision of grant or rejection written | ||
| A01 | Written decision to grant a patent or to grant a registration (utility model) |
Free format text: JAPANESE INTERMEDIATE CODE: A01 Effective date: 20140701 |
|
| A61 | First payment of annual fees (during grant procedure) |
Free format text: JAPANESE INTERMEDIATE CODE: A61 Effective date: 20140714 |
|
| LAPS | Cancellation because of no payment of annual fees |
