JP5517563B2 - 燃料タンク内の支柱の締結構造 - Google Patents

燃料タンク内の支柱の締結構造 Download PDF

Info

Publication number
JP5517563B2
JP5517563B2 JP2009248620A JP2009248620A JP5517563B2 JP 5517563 B2 JP5517563 B2 JP 5517563B2 JP 2009248620 A JP2009248620 A JP 2009248620A JP 2009248620 A JP2009248620 A JP 2009248620A JP 5517563 B2 JP5517563 B2 JP 5517563B2
Authority
JP
Japan
Prior art keywords
strut
locking
ring
fuel tank
tank
Prior art date
Legal status (The legal status is an assumption and is not a legal conclusion. Google has not performed a legal analysis and makes no representation as to the accuracy of the status listed.)
Active
Application number
JP2009248620A
Other languages
English (en)
Other versions
JP2011093408A (ja
Inventor
恵美 宮崎
健一郎 金子
要次郎 入山
Current Assignee (The listed assignees may be inaccurate. Google has not performed a legal analysis and makes no representation or warranty as to the accuracy of the list.)
FTS Co Ltd
Original Assignee
FTS Co Ltd
Priority date (The priority date is an assumption and is not a legal conclusion. Google has not performed a legal analysis and makes no representation as to the accuracy of the date listed.)
Filing date
Publication date
Application filed by FTS Co Ltd filed Critical FTS Co Ltd
Priority to JP2009248620A priority Critical patent/JP5517563B2/ja
Publication of JP2011093408A publication Critical patent/JP2011093408A/ja
Application granted granted Critical
Publication of JP5517563B2 publication Critical patent/JP5517563B2/ja
Active legal-status Critical Current
Anticipated expiration legal-status Critical

Links

Images

Landscapes

  • Cooling, Air Intake And Gas Exhaust, And Fuel Tank Arrangements In Propulsion Units (AREA)

Description

本発明は、自動車用燃料タンク等の燃料タンク内に耐圧性と剛性を向上させるために取付けられる補強用の支柱の締結構造に関する。
自動車用燃料タンクの構造としては、従来、金属製のものが用いられていたが、近年車両の軽量化や、錆が発生しないこと、所望の形状に成形しやすいことなどによって熱可塑性樹脂製のものが用いられるようになってきた。
燃料タンクは中空形状を作りやすいため、ブロー成形で成形されることが多く、ブロー成形の場合には射出成形と比べて寸法精度が低いため、取付部を後加工により寸法精度を向上させる必要があった。また、燃料タンクの内部に部品を取付ける場合にも、制約が多かった。
そこで、近年、合成樹脂製燃料タンクを上下に分割して、アッパーシェル部とロアシェル部をそれぞれ別に射出成形等により成形して、その後、内部に部品を取付けて、そのアッパーシェル部とロアシェル部の接合周縁部を相互に融着して燃料タンクを形成する方法も行われている(例えば、特許文献1参照。)。
この場合に、燃料タンク1は、内部温度の変化や、内部の燃料の消費による燃料タンク1内の圧力の変化のため全体に膨張したり、収縮したりする。これ等の内圧変化による燃料タンク1の変化を防止するため燃料タンク1内に支柱110を設けることが行われている。
この支柱110の取付けは、例えば、図9と図10に示すように、支柱110の根元部分の支柱保持部111はロアシェル部に溶着し、先端部分の係止部112はアッパーシェル部2に孔2cを開けて、その孔2cに係止している(例えば、特許文献2参照。)。
即ち、円筒状に形成された支柱110の係止部112は、係止部112の先端部分には外周側に突出する係止突起部114を横方向に形成し、アッパーシェル部2の内面に当接する係止リップ113を支柱110の外面から斜め上方向に延設して形成する。その係止部112の先端部分をアッパーシェル部2の孔2cに挿入して、係止突起部114はアッパーシェル部2の外面に係止される。そのとき、係止リップ113はアッパーシェル部2の内面に撓んで当接して、係止リップ113と係止突起部114でアッパーシェル部2を挟持して、支柱110の先端の係止部112が係止される。
このとき、円筒状の係止部112の内部には補強のため、金属性の補強リング120が挿入される。また、アッパーシェル部2の孔2cを塞ぐために、蓋140が取付けられ、蓋140の下面から延設された脚部141がアッパーシェル部2の外面に溶着又は接着される。
このため、アッパーシェル部2の孔2cを開ける工程と、支柱110を製造し、組付ける工程と、蓋140を製造し、アッパーシェル部2の外面に溶着する工程と、が必用であり製造工手が増加するとともに、アッパーシェル部2の孔2cにきちんと挿入する必要があり、手探りの作業のため、作業性がよくない。また、係止リップ113と係止突起部114で係止するため、充分な係止強度を得ることが困難な場合があった。
特開平11−34180号公報 米国特許第6899248号公報
そこで本発明は、燃料タンクの内部に取付けられる支柱を容易に取付けることができるとともに、燃料タンクと係合してその強度を向上させる燃料タンク内の支柱の締結構造を提供しようとするものである。
上記課題を解決するために請求項1の本発明は、燃料タンク内に取付けられる支柱の締結構造において、
燃料タンクは、それぞれ分割して別々に成形されたアッパーシェル部とロアシェル部の接合周縁部が融合して一体に構成され、
支柱は、アッパーシェル部とロアシェル部のそれぞれの対向する内面を保持する長さを有し、支柱の一方の先端はアッパーシェル部又はロアシェル部の他方の内壁に固着されるとともに支柱を保持する支柱保持部が形成され、支柱の他方の先端はアッパーシェル部又はロアシェル部の一方の内壁に係止される支柱係止部が形成され、支柱係止部と支柱保持部は支柱胴部で一体的に連結され、
支柱係止部は、支柱胴部から長手方向に延出する支柱係止連結部と、支柱係止連結部の先端の外周側に突出する支柱係止突起部が形成され、支柱係止連結部は長手方向にスリットが形成され、支柱係止連結部の先端の内周側には弾性体のバックアップリングが嵌合され、バックアップリングは、半径方向に拡張可能なリングスリット部が形成され、
アッパーシェル部又はロアシェル部の支柱係止部と対向する内面には、タンク筒状部が内面方向に延出され、タンク筒状部の先端の内周面にタンク係止突起部が一体的に形成され、
支柱係止突起部とタンク係止突起部が係合され、支柱が燃料タンク内に取付けられることを特徴とする燃料タンク内の支柱の締結構造である。
請求項1の本発明では、燃料タンクは、それぞれ分割して別々に成形されたアッパーシェル部とロアシェル部の接合周縁部が融合して一体に構成されたため、アッパーシェル部とロアシェル部とを組み合わせて形成された燃料タンクは、寸法精度の高い精密な、かつ強度の高い製品を得ることができる。また、アッパーシェル部とロアシェル部の内部に、補強用の支柱やニップルを取付ける取付部や、部品取付リブを形成することができ、内蔵部品等を取付けることも、燃料タンクの強度を向上させることも容易にできる。また、アッパーシェル部とロアシェル部のそれぞれの接合周縁部は、強固に一体的に結合しており、アッパーシェル部とロアシェル部の接合部分の強度を大きくし、接合のための接着剤等が不要であるため、製造が容易である。また、接合周縁部のシール性も確保することができる。
支柱は、アッパーシェル部とロアシェル部のそれぞれの対向する内面を保持する長さを有するため、燃料タンクが膨張したり収縮したりしても、アッパーシェル部とロアシェル部の間に取付けられて、両穂の壁を保持して、変形を防止し、強度を向上させることができる。支柱を複数本取付けることにより、燃料タンクの剛性を向上させることができる。
支柱の一方の先端は、アッパーシェル部又はロアシェル部の一方の内壁に溶着や接着で固着されるとともに、支柱をその内壁に保持する支柱保持部が形成されるため、支柱がその内壁に溶着や接着等で強固に固定され、後述する支柱係止部が確実に、ロアシェル部又はアッパーシェル部に係合することができる。
支柱の他方の先端はアッパーシェル部又はロアシェル部の他方の内壁に係止される支柱係止部が形成されるため、アッパーシェル部とロアシェル部を一体に融合するときに、同時に支柱の他方の先端をアッパーシェル部又はロアシェル部の他方の内壁に形成されたタンク係止部に取り付けることができ、一体に融合するときにその壁を押圧するのみで、特別な工程を必要とせず、作業性がよい。
支柱係止部と支柱保持部は支柱胴部で一体的に連結されて、支柱全体としてアッパーシェル部とロアシェル部の内壁同士を保持して、燃料タンクの変形を防止し、強度を維持することができる。
支柱の先端に形成された支柱係止部は、支柱胴部から長手方向に延出する支柱係止連結部と、支柱係止連結部の先端の外周側に突出する支柱係止突起部が形成される。このため、アッパーシェル部とロアシェル部を一体に融合するときに、アッパーシェル部とロアシェル部の外壁を押圧することで、支柱係止突起部と後述するタンク係止突起部が係合して、支柱を燃料タンク内部に保持することができる。
支柱係止連結部は長手方向にスリットが形成されるため、支柱係止連結部は複数の部分に分割されるため、アッパーシェル部とロアシェル部を一体に融合するときに、支柱係止突起部とタンク係止突起部が係合するために、それぞれの支柱係止連結部は内側に向かって撓みやすくなり、確実に支柱係止突起部とタンク係止突起部が係合する。
支柱係止突起部とタンク係止突起部が係合後に、支柱係止連結部の先端の内周側には弾性体のバックアップリングが嵌合されたため、バックアップリングにより支柱係止連結部の先端の撓みが防止され、一旦係合された支柱係止連結部が撓んで、タンク係止突起部から係合が外れることがない。
バックアップリングは、半径方向に拡張可能なリングスリット部が形成されたため、燃料タンクを製造するときに、バックアップリングが半径方向に拡張したり収縮したりすることができ、リング保持凸部にバックアップリングを仮止めして、アッパーシェル部とロアシェル部の接合周縁部が融合して一体にするときに、確実にバックアップリングを支柱係止部の先端に取付けることができる。
アッパーシェル部又はロアシェル部の支柱係止部と対向する内面には、タンク筒状部が内面方向に延出され、タンク筒状部の先端の内周面にタンク係止突起部が一体的に形成されている。このため、アッパーシェル部とロアシェル部を一体に融合するときに、同時に、タンク係止突起部が支柱係止突起部と係合することができ、製造の工程が少なくなり、作業性が向上する。
支柱係止突起部とタンク係止突起部が係合され、支柱が燃料タンク内に取付けられるため、支柱が強固に燃料タンク内に保持されて、支柱により、アッパーシェル部とロアシェル部の対向する内壁が保持されて、燃料タンクの膨張や収縮が防止されるとともに、燃料タンクの強度を向上させることができる。
請求項2の本発明は、バックアップリングは、円筒状のリング胴部と、リング胴部の上端から外周方向に平板状に張出したフランジ部が形成された燃料タンク内の支柱の締結構造である。
請求項2の本発明では、バックアップリングは、円筒状のリング胴部と、リング胴部の上端から外周方向に平板状に張出したフランジ部が形成されたため、バックアップリングがリング保持凸部から支柱係止部に移動するときに、フランジ部が支柱係止部の先端の上面に当接して、それ以上は下方に移動せず、バックアップリングが所定の位置に取付けられ、リング胴部が支柱係止部の先端の内面に密着して、バックアップリングが支柱係止部に保持されることができる。
請求項3の本発明は、バックアップリングのリング胴部の外周面に、支柱係止部に当接するリング凹凸部が形成された燃料タンク内の支柱の締結構造である。
請求項3の本発明では、バックアップリングのリング胴部の外周面に、支柱係止部に当接するリング凹凸部が形成されたため、支柱係止部にバックアップリングを嵌め込んだときに、リング保持凸部から支柱係止部に移動し、リング胴部のリング凹凸部が支柱係止部の先端の内面に食い込んで、支柱係止部に強固に保持され、バックアップリングが支柱係止部から外れることがない。
請求項4の本発明は、タンク筒状部の内部に、バックアップリングを保持可能な円柱状のリング保持凸部が形成された燃料タンク内の支柱の締結構造である。
請求項4の本発明では、タンク係止部のタンク筒状部の内部に、バックアップリングを保持可能な円柱状のリング保持凸部が形成されたため、まず、最初に、リング保持凸部にバックアップリングを仮止めとして取付けて、アッパーシェル部とロアシェル部を一体に融合するときに、支柱係止突起部とタンク係止突起部を係合させた後に、支柱係止部の先端にバックアップリングを嵌め込んで、バックアップリングを支柱係止部に移動させて取付けることができ、特別な工程を必要とせずに、バックアップリングを取付けることができ、製造が容易である。
請求項5の本発明は、リング保持凸部の外径は、バックアップリングの内径よりも大きく、バックアップリングを保持可能に形成された燃料タンク内の支柱の締結構造である。
請求項5の本発明では、リング保持凸部の外径は、バックアップリングの内径よりも大きく、バックアップリングを保持可能に形成されたため、最初に、リング保持凸部にバックアップリングを取付けて、仮止めとして保持することができ、その後、支柱係止部12がバックアップリングの外面と当接したときに、バックアップリングを支柱係止部に移動させることができる。
支柱係止突起部とタンク係止突起部が係合され、支柱が燃料タンク内に取付けられるため、支柱により、アッパーシェル部とロアシェル部の内壁が保持されて、燃料タンクの強度を向上させることができる。
アッパーシェル部又はロアシェル部の支柱係止部と対向する内面には、タンク筒状部の先端の内周面にタンク係止突起部が一体的に形成されたため、アッパーシェル部とロアシェル部を一体に融合するときに、同時に、タンク係止突起部が支柱係止突起部と係合することができ、製造の工程が少なくなり、作業性が向上する。
支柱係止連結部の先端の内周側には金属製のバックアップリングが嵌合されたため、支柱係止突起部とタンク係止突起部が係合後に、支柱係止連結部が撓んで係合が外れることがない。
本発明の実施の形態を示すもので、燃料タンク内の支柱の先端がアッパーシェル部の内面に係止される部分の断面図である。 本発明の実施の形態を示すもので、燃料タンク内の支柱の先端がアッパーシェル部の内面に係止される部分の分解斜視図である。 本発明の実施の形態を示すもので、アッパーシェル部のタンク係止部の断面図である。 本発明の実施の形態を示すもので、バックアップリングの斜視図である。 本発明の実施の燃料タンク内の支柱の先端にバックアップリングを取付ける工程を示すもので、バックアップリングがアッパーシェル部のリング保持凸部に保持されている状態の断面図である。 本発明の実施の燃料タンク内の支柱の先端にバックアップリングを取付ける工程を示すもので、支柱の支柱係止突起部とアッパーシェル部のタンク係止突起部が係合した状態の断面図である。 本発明の実施の燃料タンク内の支柱の先端にバックアップリングを取付ける工程を示すもので、支柱が上昇し、バックアップリングの外面に支柱保持部の先端の内面が当接した状態の断面図である。 本発明の実施の燃料タンク内の支柱の先端にバックアップリングを取付ける工程を示すもので、支柱が下降して、バックアップリングが支柱保持部の先端の内面に保持された状態の断面図である。 燃料タンクの断面図である。 従来の燃料タンクの支柱の取付部の断面図である。
本発明の実施の形態を図1〜図9に基づき説明する。
図9に示すように、燃料タンク1は、分割して成形されたアッパーシェル部2とロアシェル部3から構成される。アッパーシェル部2とロアシェル部3は、耐燃料透過性の合成樹脂の1層で形成される。なお、アッパーシェル部2とロアシェル部3は、それぞれ、射出成形で形成される内側樹脂層と、耐燃料透過性多層樹脂シートから構成される外側シート層の2層から形成されてもよい。この耐燃料透過性多層樹脂シートは、内側樹脂層の成形後に、又は、成形前に賦形されて、金型に取付けられた後に、外側に接着又は融着される。
燃料タンク1の分割はアッパーシェル部2とロアシェル部3の2個ばかりでなく3個以上に分割することも可能である。
アッパーシェル部2には、カットオフバルブ6やブリーザポート取付部7が形成されている。ブリーザポート取付部7は、燃料給油時に燃料タンク1内のガスをタンク外に逃がすためブリーザホース7aを取付けるものである。また、アッパーシェル部2には、給油口(図示せず)から燃料を燃料タンク1に注入するインレットパイプ8が取付けられている。
なお、アッパーシェル部2の上面には、燃料移送用ホース等の各種のホースを取付けるニップル(図示せず)や、保持するホースクランプ(図示せず)を設けてもよい。
ロアシェル部3の内面は、サブタンク5が形成され、サブタンク5内に燃料ポンプユニット4が取付けられている。サブタンク5は、車両が傾いたり振動したりしたときに、燃料タンク1内の燃料を燃料ポンプユニット4が確実にエンジンに送り出すことができるように設けられている。燃料ポンプユニット4からパイプが延びて、アッパーシェル部2に接続し、アッパーシェル部2の外面からエンジンに燃料を送る燃料パイプ9が接続されている。
アッパーシェル部2とロアシェル部3の開口の全周には、図9に示すように、アッパーシェル部2の接合周縁部2aとロアシェル部3の接合周縁部3aが形成され、その接合周縁部2a、3aには、全周に亘りそれぞれ外面から略直角に外側に張り出したフランジ部が形成されている。接合周縁部2a、3aは、それぞれ相互に対向して融着されている。
燃料タンク1のアッパーシェル部2とロアシェル部3は、衝撃や摩耗に強いポリエチレン(PE)や、高密度ポリエチレン(HDPE)から形成されることができ、この場合は、燃料タンク1の強度を増加させ、燃料タンク1内部の燃料の透過を防止できる。また、燃料透過防止性をさらに向上させるために、アッパーシェル部2とロアシェル部3の内部に耐燃料透過性多層樹脂シートを使用することもできる。
次に、図1〜図9に基づき、燃料タンク1の支柱の締結構造について説明する。
図9に示すように、燃料タンク1の内部には、膨張や収縮を防止して、燃料タンク1の剛性を増加するために支柱10が取付けられている。
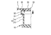
燃料タンク1のアッパーシェル部2の内面には、図1に示すように、支柱10を係止するタンク係止部30が形成されている。タンク係止部30はアッパーシェル部2の内面の替わりにロアシェル部3の内面に形成することができるが、本実施の形態では、アッパーシェル部2の内面にタンク係止部30を形成した場合について説明する。
図1と図3に示すように、タンク係止部30の構成は、アッパーシェル部2の内面から下方垂直方向に円筒状に形成されるタンク筒状部32と、タンク筒状部32の先端の内面側から中心方向に向かって横方向に鉤状に演出されるタンク係止突起部31と、タンク筒状部32の内部のアッパーシェル部2の内面から下方垂直方向にバックアップリング20を保持可能な円柱状に形成されるリング保持凸部33から形成される。
タンク筒状部32は、後述する支柱10の支柱係止部12が内部に挿入可能な直径を有する。リング保持凸部33の外径は、後述するバックアップリング20を組付け時に仮保持するため、バックアップリング20の内径よりも若干大きく形成されている。リング保持凸部33の外面は、バックアップリング20を仮保持できるようにリング保持面34が形成される。リング保持面34の上部のアッパーシェル部2の内面には、タンク溝部35が形成される。
燃料タンク1内に取付けられる支柱10の全体の形状は、図9に示すように、ロアシェル部3の内面に溶着又は接着等で固着される支柱保持部11と、アッパーシェル部2の内面に係止する支柱係止部12と、支柱保持部11と支柱係止部12を連結して、アッパーシェル部2とロアシェル部3のそれぞれの対向する内面を保持する長さを有する支柱胴部13から構成されている。
支柱係止部12と支柱保持部11は支柱胴部13で一体的に連結されて、支柱全体としてアッパーシェル部2とロアシェル部3を保持して、変形を防止し、強度を維持することができる。支柱胴部13は、円筒状に形成しても、図2に示すように、4方向に延びる板状(断面形状が十字形)に形成してもよい。
支柱係止部12は、後述するバックアップリング20の外周を保持するように円筒形の支柱係止連結部15と、支柱係止突起部14と、内側に撓むことができるように、長手方向にスリットとしての支柱係止切欠き部16と、が設けられている。アッパーシェル部2とロアシェル部3が一体に融合されるときに、支柱係止連結部15が撓んで、支柱係止突起部14とタンク係止突起部31が係合して、支柱10とタンク係止部30が係合される。
支柱10の両端がアッパーシェル部2とロアシェル部3のそれぞれの対向する内面に固着されるとともに係止されるため、燃料タンク1が振動したり、膨張したり収縮したりしても、アッパーシェル部2とロアシェル部3の壁を保持して、変形を防止し、強度を向上させることができる。
次に、支柱10の支柱係止部12に取付けられるバックアップリング20について説明する。図4に示すように、バックアップリング20は、円筒状のリング胴部22と、リング胴部22の上端から外周方向に平板状に張出したフランジ部21から形成されている。そして、リング胴部22とフランジ部21の両方に連続して半径方向に拡張可能なリングスリット部23が、図4における縦方向に形成されている。
このため、バックアップリング20がリング保持凸部33から支柱係止部12に移動するときも、アッパーシェル部2とロアシェル部3が一体に融合した後も、バックアップリング20のフランジ部21が支柱係止部12の先端の上面に当接して、リング胴部22が支柱係止部12の内面を下方に移動することがなく、バックアップリング20が所定の位置に取付けられることができる。
バックアップリング20は、半径方向に拡張可能なリングスリット部23が形成されたため、後述する燃料タンク1を製造するときに、バックアップリング20が撓んで半径方向に拡張することができ、確実にバックアップリング20をリング保持凸部33に取付けることができる。
また、支柱係止部12に取付けられた後は、バックアップリング20が収縮してリングスリット部23が狭まって当接しても、それ以上にバックアップリング20が半径方向に収縮することがなく、支柱係止部12の支柱係止連結部15が内側に撓むことがない。
バックアップリング20のリング胴部22の外周面に、支柱係止部12に装着されたときに、支柱係止部12の内面に当接するリング凹凸部24を形成することができる。リング凹凸部24は、多数の凹凸部として形成しても、円周状の溝として形成してもよい。リング凹凸部24を形成すると、リング胴部22のリング凹凸部24が支柱係止部12の先端の内面に食い込んで、バックアップリング20が強固に保持され、バックアップリング20が支柱係止部12から外れることがない。
次に、燃料タンク1を製造するときに、バックアップリング20を支柱係止部12に取付け、支柱10を燃料タンク1に取付ける方法について、図5〜図8に基づき説明する。
まず、図5に示すように、アッパーシェル部2のタンク係止部30のリング保持凸部33にバックアップリング20を取付ける。この取付けは、燃料タンク1を製造するときにバックアップリング20が支柱10の支柱係止部12に移動して組付けられるために、仮保持させるためである。
リング保持凸部33の外周面であるリング保持面34に、バックアップリング20のリング胴部22の内面が当接して保持される。バックアップリング20のフランジ部21は、タンク係止部30の内面に当接して保持される。バックアップリング20は、リングスリット部23を有するため、若干半径方向に拡張されてリング保持凸部33に取付けられることができる。
次に、支柱10の支柱保持部11がロアシェル部3の内面に、溶着又は接着で固着される。そして、アッパーシェル部2とロアシェル部3の接合周縁部2a、3aは、それぞれ相互に対向して融着される。そのとき、図6に示すように、下の矢印(黒塗り)の位置から上の矢印(点線)の位置まで移動し、支柱10の先端の支柱係止部12は、タンク係止部30に向かって接近して、タンク係止突起部31に支柱係止突起部14が当接して、支柱係止切欠き部16が設けられているため、支柱係止連結部15が内側に撓んで、タンク係止突起部31と支柱係止突起部14が係合する。
さらに、支柱係止部12は、タンク係止部30の奥に向かって接近して、図7に示すように、上から2番目の矢印(点線)の位置から1番上の矢印(点線)の位置まで移動し、支柱係止部12の内面がリング保持凸部33に取付けられたバックアップリング20の外面に当接するように押し込まれる。このとき、支柱係止部12の先端は支柱係止切欠き部16があるため、半径方向の外側に撓むことができる。
さらに、リング保持凸部33の外径よりも支柱係止部12の内径のほうが小さいため、バックアップリング20は強く支柱係止部12に固定される。
また、バックアップリング20のリング胴部22の表面には、多数の凹凸であるリング凹凸部24が形成されているので、リング凹凸部24が支柱係止部12の内面に食い込んで、バックアップリング20は、より強く支柱係止部12に固定される。そのため、その後、支柱係止部12が下降しても、バックアップリング20は支柱係止部12から外れることがない。
バックアップリング20は、リング胴部22の上端から外周方向に平板状に張出したフランジ部21が形成されたため、支柱係止部12がバックアップリング20に押し込まれたときに、フランジ部21が支柱係止部12の先端の上面に当接して、それ以上、支柱係止部12が進入することがなく、バックアップリング20が支柱係止部12の先端に取付けられることができる。このため、リング胴部22が支柱係止部12の先端の内面の所定位置に密着して、バックアップリング20が支柱係止部12に保持されることができる。
そして、完全にアッパーシェル部2とロアシェル部3が融合して一体に取付けられ、燃料タンク1の外壁の押圧がなくなると、図8に示すように、支柱10が若干下がり、支柱係止突起部14とタンク係止突起部31が係合して、支柱10の支柱係止部12がタンク係止部30に係合される。このとき、バックアップリング20は支柱係止部12の先端内部に取付けられているため、支柱係止連結部15が内側に撓み難く、支柱係止突起部14とタンク係止突起部31が外れることがないため、支柱10が燃料タンク1の補強効果を充分に発揮することができる。
バックアップリング20は、弾性体で形成されており、金属製や硬質合成樹脂等で形成される。金属製のバックアップリング20の場合は、支柱係止連結部15の先端の内周側には金属製のバックアップリング20が嵌合されたため、燃料タンク1内に取付けられても燃料タンク1内の燃料により膨潤することがなく、強度も低下しない。また、バックアップリング20をステンレススチール等の錆びない素材で形成すればより好ましい。
上記の工程により、バックアップリング20を支柱10の支柱係止部12に取付けることができるため、アッパーシェル部とロアシェル部を一体に融合するときに、同時に、支柱10の取り付けとバックアップリング20の取付でき、特別な工程を必要とせず、作業性がよい。
1 燃料タンク
2 アッパーシェル部
3 ロアシェル部
10 支柱
11 支柱保持部
12 支柱係止部
14 支柱係止突起部
20 バックアップリング
21 フランジ部
22 リング胴部
30 タンク係止部
31 タンク係止突起部
33 リング保持凸部

Claims (5)

  1. 燃料タンク内に取付けられる支柱の締結構造において、
    上記燃料タンクは、それぞれ分割して別々に成形されたアッパーシェル部とロアシェル部の接合周縁部が融合して一体に構成され、
    上記支柱は、上記アッパーシェル部とロアシェル部のそれぞれの対向する内面を保持する長さを有し、上記支柱の一方の先端は上記アッパーシェル部又はロアシェル部の一方の内壁に固着されるとともに上記支柱を保持する支柱保持部が形成され、上記支柱の他方の先端は上記アッパーシェル部又はロアシェル部の他方の内壁に係止される支柱係止部が形成され、該支柱係止部と支柱保持部は支柱胴部で一体的に連結され、
    上記支柱係止部は、上記支柱胴部から長手方向に延出する支柱係止連結部と、該支柱係止連結部の先端の外周側に突出する支柱係止突起部が形成され、上記支柱係止連結部は長手方向にスリットが形成され、上記支柱係止連結部の先端の内周側には弾性体のバックアップリングが嵌合され、上記バックアップリングは、半径方向に拡張可能なリングスリット部が形成され、
    上記アッパーシェル部又はロアシェル部の上記支柱係止部と対向する内面には、タンク筒状部が内面方向に延出され、該タンク筒状部の先端の内周面にタンク係止突起部が一体的に形成され、
    上記支柱係止突起部と上記タンク係止突起部が係合され、上記支柱が上記燃料タンク内に取付けられることを特徴とする燃料タンク内の支柱の締結構造。
  2. 上記バックアップリングは、円筒状のリング胴部と、該リング胴部の上端から外周方向に平板状に張出したフランジ部が形成された請求項1に記載の燃料タンク内の支柱の締結構造。
  3. 上記バックアップリングのリング胴部の外周面に、上記支柱係止部に当接するリング凹凸部が形成された請求項2に記載の燃料タンク内の支柱の締結構造。
  4. 上記タンク筒状部の内部に、上記バックアップリングを保持可能な円柱状のリング保持凸部が形成された請求項1乃至請求項3のいずれか1項に記載の燃料タンク内の支柱の締結構造。
  5. 上記リング保持凸部の外径は、上記バックアップリングの内径よりも大きく、上記バックアップリングを保持可能に形成された請求項4に記載の燃料タンク内の支柱の締結構造。
JP2009248620A 2009-10-29 2009-10-29 燃料タンク内の支柱の締結構造 Active JP5517563B2 (ja)

Priority Applications (1)

Application Number Priority Date Filing Date Title
JP2009248620A JP5517563B2 (ja) 2009-10-29 2009-10-29 燃料タンク内の支柱の締結構造

Applications Claiming Priority (1)

Application Number Priority Date Filing Date Title
JP2009248620A JP5517563B2 (ja) 2009-10-29 2009-10-29 燃料タンク内の支柱の締結構造

Publications (2)

Publication Number Publication Date
JP2011093408A JP2011093408A (ja) 2011-05-12
JP5517563B2 true JP5517563B2 (ja) 2014-06-11

Family

ID=44110835

Family Applications (1)

Application Number Title Priority Date Filing Date
JP2009248620A Active JP5517563B2 (ja) 2009-10-29 2009-10-29 燃料タンク内の支柱の締結構造

Country Status (1)

Country Link
JP (1) JP5517563B2 (ja)

Families Citing this family (8)

* Cited by examiner, † Cited by third party
Publication number Priority date Publication date Assignee Title
JP5117482B2 (ja) * 2009-12-24 2013-01-16 東レ株式会社 燃料タンク
DE102011117999B4 (de) * 2011-11-09 2013-06-13 Kautex Textron Gmbh & Co. Kg Behälter für ein Kfz, insbesondere Kraftstoff- oder Nebenflüssigkeitsbehälter für ein Kfz sowie Verfahren zur Herstellung eines solchen Behälters
US8991637B2 (en) * 2013-01-15 2015-03-31 Ti Automotive Technology Center Gmbh Molded reservoir support structure coupling
DE102013003247A1 (de) 2013-02-27 2014-09-11 Kautex Textron Gmbh & Co. Kg Kraftstoffbehälter
JP5807661B2 (ja) * 2013-06-14 2015-11-10 トヨタ自動車株式会社 燃料タンク
DE102013012687A1 (de) * 2013-07-31 2015-02-05 Kautex Textron Gmbh & Co. Kg Betriebsflüssigkeitbehälter mit Versteifungselement
DE102013017002A1 (de) * 2013-10-15 2015-04-30 Kautex Textron Gmbh & Co. Kg Betriebsflüssigkeitsbehälter mit Versteifungselement
JP6090176B2 (ja) * 2014-01-08 2017-03-08 トヨタ自動車株式会社 燃料タンク

Family Cites Families (2)

* Cited by examiner, † Cited by third party
Publication number Priority date Publication date Assignee Title
JPH10245898A (ja) * 1997-03-03 1998-09-14 Shintoku Kogyo Kk 円環継手及びその締付治具
JP4244763B2 (ja) * 2003-09-25 2009-03-25 トヨタ自動車株式会社 燃料タンク装置

Also Published As

Publication number Publication date
JP2011093408A (ja) 2011-05-12

Similar Documents

Publication Publication Date Title
JP5517563B2 (ja) 燃料タンク内の支柱の締結構造
JP5457721B2 (ja) 燃料タンクの開口構造
JP5107955B2 (ja) 自動車用燃料タンク
JP5270911B2 (ja) 自動車用燃料タンク
US20170151698A1 (en) Air duct cuff and method of manufacture
CN102099219B (zh) 汽车的燃油箱
JP6381450B2 (ja) 自動車用燃料タンクの内蔵部品の取付構造
JP5647104B2 (ja) 自動車用給油管
US8863976B2 (en) Seal structure for fuel tank and method for forming same
JP2015058715A (ja) 自動車用燃料タンク
JP2015089771A (ja) 自動車用燃料タンク
JP2009137488A (ja) 燃料タンク
JP5974780B2 (ja) フィラーネック
JP6219027B2 (ja) フィラーパイプ取付構造
JP2013119342A (ja) 燃料タンクの部品溶着構造
JP2005199885A (ja) 合成樹脂中空体、自動車用燃料タンクおよびその製造方法
JP6912958B2 (ja) パイプ構造
JP4561540B2 (ja) コネクタ
JP2019014292A (ja) 内蔵支柱の取付構造
JP2005029100A (ja) 自動車用燃料タンクのニップル取付構
JP6788939B2 (ja) フィラーパイプの取付方法
CN205871932U (zh) 车用零部件和车辆
JP6468097B2 (ja) 管体接続構造
JP2012192770A (ja) 燃料タンクのチューブの取付構造
JP2008168766A (ja) 燃料タンクのニップル取付構造

Legal Events

Date Code Title Description
A621 Written request for application examination

Free format text: JAPANESE INTERMEDIATE CODE: A621

Effective date: 20120921

A711 Notification of change in applicant

Free format text: JAPANESE INTERMEDIATE CODE: A711

Effective date: 20130228

A521 Written amendment

Free format text: JAPANESE INTERMEDIATE CODE: A821

Effective date: 20130301

A521 Written amendment

Free format text: JAPANESE INTERMEDIATE CODE: A523

Effective date: 20130419

A977 Report on retrieval

Free format text: JAPANESE INTERMEDIATE CODE: A971007

Effective date: 20130919

A711 Notification of change in applicant

Free format text: JAPANESE INTERMEDIATE CODE: A711

Effective date: 20131015

A521 Written amendment

Free format text: JAPANESE INTERMEDIATE CODE: A821

Effective date: 20131016

A072 Dismissal of procedure

Free format text: JAPANESE INTERMEDIATE CODE: A073

Effective date: 20131112

A131 Notification of reasons for refusal

Free format text: JAPANESE INTERMEDIATE CODE: A131

Effective date: 20131121

A521 Written amendment

Free format text: JAPANESE INTERMEDIATE CODE: A523

Effective date: 20140116

TRDD Decision of grant or rejection written
A01 Written decision to grant a patent or to grant a registration (utility model)

Free format text: JAPANESE INTERMEDIATE CODE: A01

Effective date: 20140401

A61 First payment of annual fees (during grant procedure)

Free format text: JAPANESE INTERMEDIATE CODE: A61

Effective date: 20140401

R150 Certificate of patent or registration of utility model

Ref document number: 5517563

Country of ref document: JP

Free format text: JAPANESE INTERMEDIATE CODE: R150

R250 Receipt of annual fees

Free format text: JAPANESE INTERMEDIATE CODE: R250