JP5484591B2 - プラントの診断装置及びプラントの診断方法 - Google Patents
プラントの診断装置及びプラントの診断方法 Download PDFInfo
- Publication number
- JP5484591B2 JP5484591B2 JP2012546576A JP2012546576A JP5484591B2 JP 5484591 B2 JP5484591 B2 JP 5484591B2 JP 2012546576 A JP2012546576 A JP 2012546576A JP 2012546576 A JP2012546576 A JP 2012546576A JP 5484591 B2 JP5484591 B2 JP 5484591B2
- Authority
- JP
- Japan
- Prior art keywords
- model
- state
- plant
- measurement signal
- predictive
- Prior art date
- Legal status (The legal status is an assumption and is not a legal conclusion. Google has not performed a legal analysis and makes no representation as to the accuracy of the status listed.)
- Expired - Fee Related
Links
Images
Classifications
-
- G—PHYSICS
- G05—CONTROLLING; REGULATING
- G05B—CONTROL OR REGULATING SYSTEMS IN GENERAL; FUNCTIONAL ELEMENTS OF SUCH SYSTEMS; MONITORING OR TESTING ARRANGEMENTS FOR SUCH SYSTEMS OR ELEMENTS
- G05B23/00—Testing or monitoring of control systems or parts thereof
- G05B23/02—Electric testing or monitoring
- G05B23/0205—Electric testing or monitoring by means of a monitoring system capable of detecting and responding to faults
- G05B23/0218—Electric testing or monitoring by means of a monitoring system capable of detecting and responding to faults characterised by the fault detection method dealing with either existing or incipient faults
- G05B23/0243—Electric testing or monitoring by means of a monitoring system capable of detecting and responding to faults characterised by the fault detection method dealing with either existing or incipient faults model based detection method, e.g. first-principles knowledge model
- G05B23/0254—Electric testing or monitoring by means of a monitoring system capable of detecting and responding to faults characterised by the fault detection method dealing with either existing or incipient faults model based detection method, e.g. first-principles knowledge model based on a quantitative model, e.g. mathematical relationships between inputs and outputs; functions: observer, Kalman filter, residual calculation, Neural Networks
Landscapes
- Physics & Mathematics (AREA)
- Engineering & Computer Science (AREA)
- Artificial Intelligence (AREA)
- Evolutionary Computation (AREA)
- Mathematical Physics (AREA)
- General Physics & Mathematics (AREA)
- Automation & Control Theory (AREA)
- Testing And Monitoring For Control Systems (AREA)
Description
本発明は、プラントの診断装置及びプラントの診断方法に関する。
プラントの診断装置は、プラントに異常な過渡事象や事故等が生じた際に、プラントからの計測信号を基にその異常や事故の発生を検知するものである。
公知例のプラントの診断装置として特開2005−165375号公報には、適応共鳴理論(Adaptive Resonance Theory:ART)を用いたプラントの診断装置が開示されている。ここで、ARTとは、多次元のデータをその類似度に応じてカテゴリーに分類する技術である。
この特開2005−165375号公報に記載されたプラントの診断装置の技術においては、まず、プラントの運転データを記録した過去の計測信号から、プラントの状態が正常と考えられる期間の信号を学習データとして抽出する。そして、ARTを用いて、学習データを複数のカテゴリー(正常カテゴリー)に分類して正常モデルを作成する。次に、プラントの現在の計測信号をARTでカテゴリーに分類する。この現在の計測信号が正常モデルと一致しない時、すなわち正常カテゴリーに分類できない時は、新しいカテゴリー(新規カテゴリー)が生成される。つまり、新規カテゴリーの発生は、計測信号の傾向が変化し、プラントの状態が変化したことを意味する。そこで、異常の発生を新規カテゴリーの発生で判断することとし、新規カテゴリーの発生割合が閾値を越えた場合に異常と診断する技術である。
プラントの診断装置には、異常の対策を検討する時間を確保するため、異常が発生するよりも前に、プラントの状態変化を検知することが求められる。これを実現するには、正常状態から異常状態に至る途中の、予兆状態を検知する必要がある。
通常、プラントの制御装置には、計測信号が予め定められた範囲を逸脱した時に警報を発生させる機能がある。異常に伴って警報が発生すれば、警報が発生している期間のデータを過去の計測信号から除外することで、異常状態のデータを除外した学習データを作成できる。
しかしながら、この学習データには、正常状態から警報が発生する異常状態に至る途中の予兆状態のデータが含まれる。そのため、この学習データを用いて正常モデルを構築すると、予兆状態を正常と診断してしまい、予兆状態を検知できないことになる。
本発明の目的は、プラントの状態が正常状態から異常状態に至る途中の予兆状態を検知可能にするプラントの診断装置及びプラントの診断方法を提供することにある。
本発明のプラントから状態量を計測した計測信号に基づいてプラントの運転状態を診断し、診断結果を画像表示装置に表示するプラントの診断装置は、プラントの診断装置にプラントの状態量を計測した計測信号を用いて診断に用いるモデルを構築する学習手段と、前記学習手段で構築したモデルを用いてプラントの運転状態を診断する診断手段を備え、前記学習手段に、類似の値を持つデータを同じカテゴリーに分類する分類部と、前記分類部でのカテゴリーの分類結果に基づいて計測信号の傾向の違いを評価して正常期間、予兆期間、異常期間を決定する期間決定部と、前記正常期間の計測信号を用いて正常モデルを構築するモデル構築部を備え、前記診断手段は、現時刻の計測信号が前記モデル構築部で構築される正常モデルに分類されるか否かを判定して、現時刻の計測信号が正常モデルに含まれる場合はプラントが正常状態であると診断して画像表示装置に表示し、現時刻の計測信号が正常モデルに含まれない場合はプラントが過去に経験したことのない未知状態であると診断して画像表示装置に表示するように構成し、前記学習手段に設けた前記期間決定部では、前記プラントの状態量を計測した前記計測信号が前記分類部によって予兆モデルに分類される予兆状態と異常モデルに分類される異常状態との境界時刻を、警報が発生した時刻に設定する処理と、前記プラントの状態量を計測した前記計測信号が前記分類部によって正常モデルに分類される正常状態と前記予兆モデルに分類される予兆状態との境界時刻を、正常状態と予兆状態との前記境界時刻から、予兆状態と異常状態の境界時刻の期間における正常状態にないカテゴリーの発生割合の最小値が予め定めた値より高くなる時刻に設定する処理をそれぞれ行うように構成されていることを特徴とする。
また、本発明のプラントから入力された計測信号に基づいてプラントの運転状態を診断し、診断結果を画像表示装置に表示するプラントの診断装置は、プラントの診断装置にプラントの状態量を計測した前記計測信号を用いて診断に用いるモデルを構築する学習手段と、前記学習手段で構築したモデルを用いてプラントの運転状態を診断する診断手段を備え、前記学習手段に、類似の値を持つデータを同じカテゴリーに分類する分類部と、前記分類部でのカテゴリーの分類結果に基づいて計測信号の傾向の違いを評価して正常期間、予兆期間、異常期間を決定する期間決定部と、前記正常期間の計測信号を用いて正常モデルを構築し、前記予兆期間の計測信号を用いて予兆モデルを構築し、前記異常期間の計測信号を用いて異常モデルを構築するモデル構築部を備え、前記診断手段は、現時刻の計測信号が正常モデル、予兆モデル、異常モデルのどのモデルに分類されるかを判定して、現時刻の計測信号が正常モデル、予兆モデル、異常モデルに含まれる場合はプラントが当該モデルに対応した正常、予兆、異常のうち該当する状態であると診断して画像表示装置に表示し、現時刻の計測信号が正常モデル、予兆モデル、異常モデルの何れにも含まれない場合はプラントが過去に経験したことのない未知状態であると診断して画像表示装置に表示するように構成し、
前記学習手段に設けた前記期間決定部では、
前記プラントの状態量を計測した前記計測信号が前記分類部によって予兆モデルに分類される予兆状態と異常モデルに分類される異常状態との境界時刻を、警報が発生した時刻に設定する処理と、
前記プラントの状態量を計測した前記計測信号が前記分類部によって正常モデルに分類される正常状態と前記予兆モデルに分類される予兆状態との境界時刻を、正常状態と予兆状態との前記境界時刻から、予兆状態と異常状態の境界時刻の期間における正常状態にないカテゴリーの発生割合の最小値が予め定めた値より高くなる時刻に設定する処理をそれぞれ行うように構成されていることを特徴とする。
前記学習手段に設けた前記期間決定部では、
前記プラントの状態量を計測した前記計測信号が前記分類部によって予兆モデルに分類される予兆状態と異常モデルに分類される異常状態との境界時刻を、警報が発生した時刻に設定する処理と、
前記プラントの状態量を計測した前記計測信号が前記分類部によって正常モデルに分類される正常状態と前記予兆モデルに分類される予兆状態との境界時刻を、正常状態と予兆状態との前記境界時刻から、予兆状態と異常状態の境界時刻の期間における正常状態にないカテゴリーの発生割合の最小値が予め定めた値より高くなる時刻に設定する処理をそれぞれ行うように構成されていることを特徴とする。
本発明のプラントから入力された計測信号に基づいてプラントの運転状態を診断し、診断結果を表示するプラントの診断方法は、プラントの診断装置としてプラントの状態量を計測した計測信号を用いて診断に用いるモデルを構築する学習手段と、前記学習手段で構築したモデルを用いてプラントの運転状態を診断する診断手段が備えられており、プラントの状態量を計測した計測信号を学習手段に入力させ、該学習手段にて前記計測信号のうち類似の値を持つデータを同じカテゴリーに分類し、このカテゴリーの分類結果に基づいて計測信号の傾向の違いを評価して正常期間、予兆期間、異常期間をそれぞれ決定し、前記正常期間の計測信号を用いて正常モデルを構築し、前記予兆期間の計測信号を用いて予兆モデルを構築し、前記異常期間の計測信号を用いて異常モデルを構築し、プラントの状態量を計測した計測信号を診断手段に入力させ、該診断手段にて現時刻の計測信号が正常モデル、予兆モデル、異常モデルのどのモデルに分類されるかを判定して、現時刻の計測信号が正常モデル、予兆モデル、異常モデルの何れかに含まれる場合は、プラントが当該モデルに対応した正常、予兆、異常のうち該当する状態であると診断して画像表示装置に表示し、現時刻の計測信号が正常モデル、予兆モデル、異常モデルの何れにも含まれない場合はプラントが過去に経験したことのない未知状態であると診断して画像表示装置に表示し、前記プラントの状態量を計測した前記計測信号が前記学習手段によって予兆モデルに分類される予兆状態と異常モデルに分類される異常状態との境界時刻を警報が発生した時刻に設定し、前記プラントの状態量を計測した前記計測信号が前記学習手段によって正常モデルに分類される正常状態と前記予兆モデルに分類される予兆状態との境界時刻を、正常状態と予兆状態との前記境界時刻から、予兆状態と異常状態の境界時刻の期間における正常状態にないカテゴリーの発生割合の最小値が予め定めた値より高くなる時刻に設定することを特徴とする。
また、本発明のプラントから入力された計測信号に基づいてプラントの運転状態を診断し、診断結果を表示するプラントの診断方法は、プラントの診断装置としてプラントの状態量を計測した計測信号を用いて診断に用いるモデルを構築する学習手段と、前記学習手段で構築したモデルを用いてプラントの運転状態を診断する診断手段が備えられており、プラントの状態量を計測した計測信号を学習手段に入力させ、該学習手段にて前記計測信号のうち類似の値を持つデータを同じカテゴリーに分類し、このカテゴリーの分類結果に基づいて計測信号の傾向の違いを評価して正常期間、予兆期間、異常期間をそれぞれ決定し、前記正常期間の計測信号を用いて正常モデルを構築し、前記予兆期間の計測信号を用いて予兆モデルを構築し、前記異常期間の計測信号を用いて異常モデルを構築し、プラントの状態量を計測した計測信号を診断手段に入力させ、該診断手段にて現時刻の計測信号が正常モデル、予兆モデル、異常モデルのどのモデルに分類されるかを判定して、現時刻の計測信号が正常モデル、予兆モデル、異常モデルの何れかに含まれる場合は、プラントが当該モデルに対応した正常、予兆、異常のうち該当する状態であると診断して画像表示装置に表示し、現時刻の計測信号が正常モデル、予兆モデル、異常モデルの何れにも含まれない場合はプラントが過去に経験したことのない未知状態であると診断して画像表示装置に表示し、
前記プラントの状態量を計測した前記計測信号が前記学習手段によって予兆モデルに分類される予兆状態と異常モデルに分類される異常状態の境界時刻を警報が発生した時刻に設定し、
前記プラントの状態量を計測した前記計測信号が前記学習手段によって正常モデルに分類される正常状態と前記予兆モデルに分類される予兆状態との境界時刻を、任意の時間間隔でデータを区間に分割して各区間のカテゴリー出現率の変化度が予め定めた値より高くなる時刻に設定することを特徴とする。
前記プラントの状態量を計測した前記計測信号が前記学習手段によって予兆モデルに分類される予兆状態と異常モデルに分類される異常状態の境界時刻を警報が発生した時刻に設定し、
前記プラントの状態量を計測した前記計測信号が前記学習手段によって正常モデルに分類される正常状態と前記予兆モデルに分類される予兆状態との境界時刻を、任意の時間間隔でデータを区間に分割して各区間のカテゴリー出現率の変化度が予め定めた値より高くなる時刻に設定することを特徴とする。
本発明によれば、プラントの状態が正常状態から異常状態に至る途中の予兆状態を検知できるプラントの診断装置及びプラントの診断方法を実現することができる。
この結果、プラントが異常状態に至る前にプラントの状態変化を早期に検知することが可能なプラントの診断装置及びプラントの診断方法が得られる。
次に、本発明の実施例であるプラントの診断装置について図面を参照して以下に説明する。
図1は、本発明の一実施例であるプラントの診断装置を説明するブロック図である。図1に示したプラントの診断装置においては、プラント100の状態を診断装置200により診断する。
診断装置200は、診断装置200を構成する演算装置として、学習手段400、及び診断手段800を備えている。この診断装置200は、データベースとして、計測信号データベース310、及び診断モデルデータベース320を備えている。なお、図1においては、データベースをDBと略記している。
診断装置200は、診断装置200を構成する演算装置として、学習手段400、及び診断手段800を備えている。この診断装置200は、データベースとして、計測信号データベース310、及び診断モデルデータベース320を備えている。なお、図1においては、データベースをDBと略記している。
前記計測信号データベース310及び診断モデルデータベース320のデータベースには、電子化された情報が記録されており、通常、電子ファイル(電子データ)と呼ばれる。
前記学習手段400は、プラント100の運転状態を計測した計測信号から、プラント100の過去の運転状態の計測信号を蓄積した蓄積データを基に、正常モデル、予兆モデル、及び異常モデルをそれぞれ作成する機能を有するものである。
また、診断手段800は、この学習手段400で作成した正常モデル、予兆モデル及び異常モデルと、計測したプラント100の計測信号のデータとを比較して、前記計測信号のデータがどのモデルに属しているのかを判定する機能を有するものである。
前記学習手段400には、分類部500、期間決定部600、及びモデル構築部700がそれぞれ備えられている。
前記学習手段400には、分類部500、期間決定部600、及びモデル構築部700がそれぞれ備えられている。
前記分類部500は、計測信号データベース310に蓄積されているプラント100の過去の運転状態の計測信号4である蓄積した蓄積データを、類似のグループに分類する機能を有するものである。
前記期間決定部600は、分類部500による分類結果5と計測信号4に基づいて、プラント100の運転状態が、正常の状態、予兆の状態、或いは異常の状態となっている期間を決定する機能を有するものである。
前記モデル構築部700は、前記した分類部500の分類結果5、期間決定部600の基幹情報6、及び計測信号4に基づいて、正常モデル、予兆モデル、或いは異常モデルを構築する機能を有するものである。
また、診断装置200は、外部とのインターフェイスとして外部入力インターフェイス210及び外部出力インターフェイス220を備えている。
また、診断装置200は、外部とのインターフェイスとして外部入力インターフェイス210及び外部出力インターフェイス220を備えている。
そして、外部入力インターフェイス210を介してプラント100の運転状態である各種状態量を計測した計測信号1と、運転管理室900に備えられているキーボード920及びマウス930で構成される外部入力装置910の操作で作成する外部入力信号2が診断装置200に取り込まれる。また、外部出力インターフェイス220を介して、画像表示情報10を運転管理室900に備えられている画像表示装置940に出力する。
なお、本実施例のプラントの診断装置においては、学習手段400、診断手段800、計測信号データベース310、診断モデルデータベース320が診断装置200の内部に備えられているが、これらの一部を診断装置200の外部に配置し、データのみをこれらの装置の間で通信するようにしてもよい。
また、本実施例のプラントの診断装置において診断対象とするプラント100は1基である場合を示しているが、1台の診断装置200で複数基のプラント100を診断することも可能である。
次に、本実施例のプラントの診断装置に備えられた診断装置200の動作を説明する。
図1に示した本実施例のプラントの診断装置において、プラント100の各種状態量を計測した計測信号1は外部入力インターフェイス210を介して取り込まれるが、この外部入力インターフェイス210からプラント100の計測信号3として、診断装置200に設置された計測信号データベース310に保存される。
診断装置200に設置された学習手段400には、分類部500、期間決定部600、及びモデル構築部700が備えられている。
学習手段400では、計測信号データベース310に保存されているプラント100の各種状態量を計測した計測信号1である過去の蓄積データを、正常データ、予兆データ、異常データに分け、それぞれのデータを用いて正常モデル、予兆モデル、異常モデルを構築する機能を有している。
前記正常モデル、予兆モデル、異常モデルの各モデルは、学習手段400に設置された分類部500、期間決定部600、モデル構築部700を動作させることによって作成する。
前記学習手段400に設置された分類部500では、計測信号データベース310に保存されている過去の蓄積データである計測信号4を、類似性を持つデータのまとまりに分類し、分類結果5として、学習手段400の期間決定部600に出力する。この分類部500の実装方法については、図3を用いて後述する。
前記学習手段400に設置された期間決定部600では、計測信号データベース310に保存されている過去の蓄積データである計測信号4と、分類部500による分類結果5の入力情報を用いて、計測信号4の傾向の違いを評価する。そして、この評価結果に基づいて、計測信号4のデータ期間を、正常期間、予兆期間、異常期間のいずれかに分ける。この結果は期間情報6として、学習手段400のモデル構築部700に出力する。期間決定部600の実装方法については、図5、図6を用いて後述する。
前記学習手段400に設置されたモデル構築部700では、前記正常期間、予兆期間、異常期間のこれらの期間についてそれぞれ正常モデル、予兆モデル、異常モデルを作成する。そして、作成したこれらの各モデルは、モデル情報7として診断モデルデータベース320に出力する。
前記診断装置200に設置された診断手段800では、計測信号4の入力に対して、診断モデルデータベース320の正常モデル、予兆モデル、異常モデルを参照することによってプラント100の運転状態を診断し、その診断結果9を出力する。
即ち、診断手段800では、プラント100の計測信号4が診断モデルデータベース320の正常モデル、予兆モデル、異常モデルのどのモデルに属するかを判定する。その結果、プラント100の現在の運転状態が正常、予兆、異常のどの状態であるかを診断し、その診断結果9を診断表示装置940に出力して表示する。
また、診断手段800における判定によって、プラント100の計測信号4が正常モデル、予兆モデル、異常モデルのいずれにも属さない時は、過去に経験したことのない未知状態と診断し、その診断結果9を診断表示装置940に出力して表示する。
また、診断手段800における診断においては、簡便な手段として、正常モデルのみを用いて、正常かそれ以外の未知状態と診断することも可能である。診断手段800の詳細は、図7を用いて後述する。
診断手段800が診断したプラント100の現在の運転状態に対する診断結果9は、外部出力インターフェイス220を介して、画像表示情報10として運転管理室900に設置した画像表示装置940に送信され、表示される。これにより、運転管理室900にいるオペレータに、プラント100の運転状態に対する診断結果を通知する。
このように、本実施例のプラントの診断装置200では、プラント100の各種状態量を計測した計測信号から診断モデルを作成するための正常データを適切に抽出し、正常モデルを構築する。正常モデルと異なる傾向のデータが入力されると、状態変化を検知できる。すなわち、異常発生前の予兆状態を検知し、プラントの状態が変化したことを、早期にオペレータに通知できる。
また、診断装置200に設置された計測信号データベース310、診断モデルデータベース320に保存されている診断装置情報50は、任意に運転管理室900の画像表示装置940に表示できるようになっている。また、これらの情報は、外部入力装置910を操作して生成する外部入力信号2で、修正することができる。
診断装置200の動作モードは、学習モードと診断モードの2種類ある。学習モードでは、学習手段400を動作させてモデル情報7を生成し、モデル情報7を診断モデルデータベース320に保存する。
診断モードは、診断手段800を動作させて診断結果9を生成し、診断結果9に含まれる画像表示情報10を運転管理室900の画像表示装置940送信することにより、プラントの運転状態を画像表示装置940に表示する。
次に、本実施例のプラントの診断装置の動作について説明する。以下に診断装置200の動作フローチャートを、図1に示したプラントの診断装置の基本動作を示すフローチャート図である図2(a)を用いて説明する。
図2(a)のフローチャート図に示すように、診断装置200の基本動作はステップ1000、1010、1020を組み合わせて実行する。
まず、ステップ1000では診断装置200の動作モードが学習モードか診断モードかを判定する。そして、学習モードの場合はステップ1010に進み、診断モードの時はステップ1020に進む。
ステップ1010では、学習手段400を動作させてモデル構築部700によってモデル情報7を生成し、作成したモデル情報7を診断モデルデータベース320に保存する。
また、ステップ1020では、診断手段800を動作させてプラント100の運転状態である計測信号4に対する診断結果9を生成し、生成した診断結果9の含まれる画像表示情報10を画像表示装置940送信することにより、プラント100の運転状態を画像表示装置940に表示する。
診断装置200の学習モードと診断モードを動作させるタイミングはオペレータによって任意に指定することができる。以下、図2(b)〜(d)を用いて、学習モードと診断モードを動作させるタイミングの各種の実施例をそれぞれ説明する。
図2(b)に示した実施例においては、計測信号のサンプリング周期毎に学習モードと診断モードの両方を動作させて診断する。
計測信号を取得する毎に診断モデルを更新することで、常に最新のモデルを用いた診断が可能である。
計測信号を取得する毎に診断モデルを更新することで、常に最新のモデルを用いた診断が可能である。
しかし、学習に用いるデータ量が多い時は、モデル構築に時間を要するため、サンプリング周期内に計算が終了しない可能性がある。
このような場合は、図2(c)に示した実施例のように、所定の設定期間毎に正常状態学習モードを動作させ、サンプリング周期毎に診断モードのみを動作させて診断することもできる。図2(b)及び図2(c)に示した実施例の方法では、サンプリング周期毎に診断モードが実行され、オンラインでプラントの状態を診断できる。
また、図2(d)に示した実施例のように、オペレータが学習、診断を実施する外部入力信号2を診断装置200に入力することで、任意のタイミングで学習モードと診断モードを動作できる。つまり、色々な条件を変えてプラント100の運転状態を診断することが可能となる。
次に、図3、図4を用いて本実施例のプラントの診断装置を構成する診断装置200を構成する学習手段400に備えた分類部500、及び診断手段800に備えた、プラント100の計測信号4を分類する機能を説明する。
本実施例のプラントの診断装置では、データ分類機能に適応共鳴理論(Adaptive Resonance Theory:ART)を適用した場合について述べる。尚、データ分類機能として、ベクトル量子化等、他のクラスタリング手法を用いることもできる。
図3(a)に図1に示したプラントの診断装置における学習手段を構築する分類部におけるデータ分類機能の実装例を示すように、データ分類機能はデータ前処理装置510とARTモジュール520で構成する。データ前処理装置510は、運転データをARTモジュール520の入力データに変換する。前記データ前処理装置510及びARTモジュール520は、学習手段400の分類部500に設置されているものである。
以下に、前記データ前処理装置510及びARTモジュール520によるそれらの手順(工程)について説明する。
まず、計測項目毎に最大値及び最小値を計算する。計算した最大値及び最小値を用いてデータを正規化する。
ここでは、正規化の方法についてプラントのプロセス量xiを例に説明する。
xiのデータ数がN個でn番目の計測値をxi(n)とする。また、N個のデータにおける最大値及び最小値をそれぞれMax_i、Min_iとすると、正規化したデータNxi(n)は、下記式(1)で表される。
Nxi(n)=α+(1−α)×(xi(n)−Min_i)/(Max_i−Min_i) …(1)
ここで、α(0≦α<0.5)の定数であり、上記式(1)によりデータは[α、1−α]の範囲に正規化される。
ここで、α(0≦α<0.5)の定数であり、上記式(1)によりデータは[α、1−α]の範囲に正規化される。
次に、正規化したデータの補数を計算し、入力データに加える。
正規化データNxi(n)の補数CNxi(n)は、下記式(2)で計算される。
CNxi(n)=1−Nxi(n) …(2)
尚、式(1)及び式(2)の演算式は前記データ前処理装置510に組み込まれている。
尚、式(1)及び式(2)の演算式は前記データ前処理装置510に組み込まれている。
次に、データNxi(n)及びCNxi(n)を含むデータを入力データIi(n)が、ARTモジュール520に入力される。
以上の手順が、データ前処理装置510において行われる運転データのARTモジュール520への入力データ変換処理に含まれる。
ARTモジュール520においては、入力データであるプラント100の計測信号4を複数のカテゴリーに分類する。
ARTモジュール520は、F0レイヤー521、F1レイヤー522、F2レイヤー523、メモリ524及び選択サブシステム525を備え、これらは相互に結合している。F1レイヤー522及びF2レイヤー523は、重み係数を介して結合している。重み係数は、入力データが分類されるカテゴリーのプロトタイプ(原型)を表している。ここで、プロトタイプとは、カテゴリーの代表値を表すものである。
次に、ARTモジュール520のアルゴリズムについて説明する。
ARTモジュール520に入力データが入力された場合のアルゴリズムの概要は、下記の処理1〜処理5のようになる。
処理1:F0レイヤー521により入力ベクトルを正規化し、ノイズを除去する。
処理2:F1レイヤー522に入力された入力データと重み係数との比較により、ふさわしいカテゴリーの候補を選択する。
処理3:選択サブシステム525で選択したカテゴリーの妥当性がパラメータρとの比により評価される。妥当と判断されれば、入力データはそのカテゴリーに分類され、処理4に進む。一方、妥当と判断されなければ、そのカテゴリーはリセットされ、他のカテゴリーからふさわしいカテゴリーの候補を選択する(処理2を繰り返す)。パラメータρの値を大きくするとカテゴリーの分類が細かくなり、ρの値を小さくすると分類が粗くなる。このパラメータρをビジランス(vigilance)パラメータと呼ぶ。
処理4:処理2において全ての既存のカテゴリーがリセットされると、入力データが新規カテゴリーに属すると判断され、新規カテゴリーのプロトタイプを表す新しい重み係数を生成する。
処理5:入力データがカテゴリーJに分類されると、カテゴリーJに対応する重み係数WJ(new)は、過去の重み係数WJ(old)及び入力データp(又は入力データから派生したデータ)を用いて下記式(3)により更新される。
WJ(new)=Kw・p+(1−Kw)・WJ(old) …(3)
ここで、Kwは、学習率パラメータ(0<Kw<1)であり、入力ベクトルを新しい重み係数に反映させる度合いを決定する値である。
WJ(new)=Kw・p+(1−Kw)・WJ(old) …(3)
ここで、Kwは、学習率パラメータ(0<Kw<1)であり、入力ベクトルを新しい重み係数に反映させる度合いを決定する値である。
尚、式(3)及び後述する式(4)乃至式(14)の各演算式は前記ARTモジュール520に組み込まれている。
ARTモジュール520のデータ分類アルゴリズムの特徴は、上記の処理4にある。
処理4においては、学習した時のパターンと異なる入力データが入力された場合、記録されているパターンを変更せずに新しいパターンを記録することができる。このため、過去に学習したパターンを記録しながら、新たなパターンを記録することが可能となる。
このように、入力データとして予め与えた運転データを与えると、ARTモジュール520は与えられたパターンを学習する。したがって、学習済みのARTモジュール520に新たな入力データが入力されると、上記アルゴリズムにより、過去におけるどのパターンに近いかを判定することができる。また、過去に経験したことのないパターンであれば、新規カテゴリーに分類される。
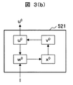
図3(b)は、F0レイヤー521の構成を示すブロック図である。F0レイヤー521では、入力データを各時刻で再度正規化し、F1レイヤー521、及び選択サブシステム525に入力する正規化ベクトルui 0を作成する。
始めに、入力データIiから、式(4)に従ってwi 0を計算する。
ここで、aは定数である。
図3(b)は、F0レイヤー521の構成を示すブロック図である。F0レイヤー521では、入力データを各時刻で再度正規化し、F1レイヤー521、及び選択サブシステム525に入力する正規化ベクトルui 0を作成する。
始めに、入力データIiから、式(4)に従ってwi 0を計算する。
ここで、aは定数である。
次に、wi 0を正規化したxi 0を、式(5)を用いて計算する。
ここで、記号|| ||はノルムを表す記号である。
ここで、記号|| ||はノルムを表す記号である。
そして、式(6)を用いて、xi 0からノイズを除去したvi 0を計算する。ただし、θはノイズを除去するための定数である。式(6)の計算により、微小な値は0となるため、入力データのノイズが除去される。
最後に、式(7)を用いて正規化入力ベクトルui 0を求める。ui 0はF1レイヤーの入力となる。
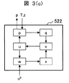
図3(c)は、F1レイヤー522の構成を示すブロック図である。F1レイヤー522では、式(7)で求めたui 0を短期記憶として保持し、F2レイヤー522に入力するpiを計算する。F2レイヤーの計算式をまとめて式(8)〜式(14)に示す。ただし、a、bは定数、f( )は式(6)で示した関数、TjはF2レイヤー522で計算する適合度である。
ただし、
次に、学習手段400の分類部500でプラント100の計測信号4をカテゴリーに分類する実例を説明する。まず、図4(a)を用いてプラント100の実施例を説明し、計測信号4に含まれる情報を述べる。次に、図4(b)及び図4(c)を用いて、計測信号4をカテゴリーに分類する様子を述べる。
図4(a)は、プラント100の実施例である火力発電プラントを示すブロック図である。
図4(a)において、火力発電プラント100は、ガスタービン発電機110、制御装置120及びデータ送信装置130を含む。ガスタービン発電機110は、発電機111、圧縮機112、燃焼器113及びタービン114を含む。
発電に際しては、圧縮機112にて吸い込んだ空気を圧縮して圧縮空気とし、この圧縮空気を燃焼器113に送り、燃料と混合して燃焼する。燃焼により発生した高圧ガスを用いてタービン114を回転させ、発電機111により発電を行う。
制御装置120においては、電力需要に応じてガスタービン発電機110の出力を制御する。また、制御装置120は、ガスタービン発電機110に設置されたセンサ(図示せず)で計測した運転データ102を入力データとしている。運転データ102は、吸気温度、燃料投入量、タービン排ガス温度、タービン回転数、発電機発電量、タービン軸振動などの状態量であり、サンプリング周期毎に計測している。また、大気温度などの気象情報も計測している。
制御装置120においては、これらの運転データ102を用いて、ガスタービン発電機110を制御するための制御信号101を算出する。また、制御装置120では、運転データ102の値が予め設定した範囲を逸脱した時に警報を発生させる処理を実施している。警報信号は、運転データ102が予め設定した範囲を逸脱した時に1、範囲内の時は0のデジタル信号として処理する。警報信号が1の時は、音や画面表示などで、警報の内容をオペレータに通知する。
信号データ送信装置130は、制御装置120で計測した運転データ102、及び制御装置120で算出した制御信号101、および警報信号を含む計測信号1を診断装置200に送信する。
図4(b)は、プラント100から取得した計測信号1を、カテゴリーに分類した結果を説明する図である。横軸は、時間、縦軸は計測信号、カテゴリー番号である。
図4(c)は、プラント100の計測信号1を、図4(b)に示すようにカテゴリーに分類した結果に基づいて、更に項目分けした結果の一例を示す図である。前記図4(c)では、一例として、計測信号のうちの2項目を表示したものであり、2次元のグラフで表記した。また、縦軸及び横軸は、それぞれの項目の計測信号を規格化して示した。
計測信号は、図3(a)のARTモジュール520によって複数のカテゴリー550(図4(c)に示す円)に分割される。1つの円が、1つのカテゴリーに相当する。
本実施例では、計測信号は4つのカテゴリーに分類されている。カテゴリー番号1は、項目Aの値が大きく、項目Bの値が小さいグループ、カテゴリー番号2は、項目A、項目Bの値が共に小さいグループ、カテゴリー番号3は項目Aの値が小さく、項目Bの値が大きいグループ、カテゴリー番号4は項目A、項目Bの値が共に大きいグループである。
このように、分類部500では、計測信号の類似性に着目して、計測信号をカテゴリーに分類する。
尚、本実施例においては、2項目の計測信号をカテゴリーに分類する例を述べたが、3項目以上の計測信号について多次元の座標を用いてカテゴリーに分類することもできる。
本実施例では、上述したように計測信号をカテゴリーに分類した結果に基づいて、正常状態、予兆状態、異常状態の期間を決定することを特徴としている。以下、これらの期間を決定する期間決定部600の動作を説明する。
図5(a)は、学習手段400を構成する期間決定部600の第1の実装例を説明する図である。
まず、図5(a)を用いて、プラント100の運転状態が、正常状態と予兆状態との境界と、予兆状態と異常状態との境界を決定する方法を説明する。
図5(a)のグラフ611はプラント100の計測信号の経時変化、グラフ612はプラント100の計測信号が分類されたカテゴリーの経時変化である。
グラフ613、614は、プラント100の運転状態が正常状態にないカテゴリーの発生割合の経時変化である。すなわち、グラフ613、614の値が大きいほど、プラント100の運転状態が変化したと判断できる。本実施例では、図5に示す閾値より大きい場合、プラント100の運転状態が変化したと判定することとする。
グラフ613では、プラント100の運転状態について、正常状態と予兆状態との境界を時刻t1に設定した時の結果である。すなわち、時刻t1より前に発生したカテゴリーの番号と、時刻t1以降に発生したカテゴリーの番号を比較し、その番号が異なる程度が大きいほど、値が大きくなる。また、グラフ614では、プラント100の運転状態について、正常状態と予兆状態との境界を時刻t2に設定した時の結果である。
正常状態と予兆状態の境界を時刻t1に設定した時(グラフ613参照)、時刻t1以降に正常状態にはない3番のカテゴリー615が発生しているが、その後、正常状態の2番のカテゴリー616が発生している。このような場合、3番のカテゴリーが発生した理由は、異常やその予兆の影響ではなく、計測値のノイズ等の影響であると考えられる。従って、時刻t1〜時刻t2の期間は正常状態にあると考えられる。
一方、プラント100の運転状態について、正常状態と予兆状態との境界を時刻t2に設定した時(グラフ614参照)は、時刻t2から異常の発生を知らせる警報が発生する時刻t3までの期間、正常状態にないカテゴリーの発生割合は閾値よりも高い状態で推移する。すなわち、時刻t2を境に、プラントの運転状態が変化したと考えられる。
従って時刻t2を正常状態と予兆状態との境界時刻とし、時刻t2よりも前の期間を正常状態、時刻t2から警報発生までの期間を予兆状態と考えられる。
そこで、本実施例の期間決定部600は時刻t2を正常状態と予兆状態との境界に決定するように動作する。また、警報が発生した時刻t3を、予兆状態と異常状態との境界と決定する。
図5(a)を用いて説明したプラント100の運転状態についての正常状態と予兆状態との境界時刻と、予兆状態と異常状態との境界時刻を決定するアルゴリズムは図5(b)に示されているので、この図5(b)に示されアルゴリズムを用いて前記境界時刻を決定する方法について以下に説明する。
図5(b)に示すように、本アルゴリズムはステップ601、602、603、604、605、606を組み合わせて実行する。
まず、学習手段400の期間決定部600における処理であるステップ601では、正常状態と予兆状態の境界時刻の初期値t(0)を設定する。この初期値は任意の時刻であり、例えば乱数を用いて決定する。また、警報が発生した時刻taを、予兆状態と異常状態の境界時刻とする。次に、ステップ602では、時刻t(0)から時刻taの期間における、正常状態にないカテゴリーの発生割合の最小値Nを計算する。
次に、ステップ603では、Nと閾値αを比較して、式(15)及び式(16)を用いて正常状態と予兆状態の境界時刻を更新する。ここで、nは、本フローチャートにおけるステップ603〜606の繰り返し回数、βは定数である。
N>α t(n+1) = t(n) - β×(N-α) ・・・(15)
N≦α t(n+1) = t(n) +β×(N-α) ・・・(16)
尚、式(15)及び式(16)の各演算式は学習手段400の前記期間決定部600に組み込まれている。
N≦α t(n+1) = t(n) +β×(N-α) ・・・(16)
尚、式(15)及び式(16)の各演算式は学習手段400の前記期間決定部600に組み込まれている。
ステップ604では、時刻t(n+1)から時刻taの期間における、正常状態にないカテゴリーの発生割合の最小値Nを計算する。
ステップ605では、N>αの時には、時刻t(n+1)を正常状態と予兆状態の境界時刻として保持する。
ステップ606では、繰り返し回数nが、予め定められた繰り返し回数の上限値以下であれば、nをn+1に変更してステップ603に進む。また、nが上限値を超えた場合は、終了とする。
本フローチャートを動作させることで、ステップ601で決定した予兆状態と異常状態の境界時刻taと、ステップ605で保持している正常状態と予兆状態の境界時刻tが得られる。この動作により、図5(a)で述べたような境界時刻が得られる。
また、もしN>αとなる時刻が存在しない場合は、時刻taを正常状態と予兆状態の境界時刻として、予兆状態の期間はないものとして処理する。
このようにして決定した時刻で構成する期間情報6が、期間決定部600からモデル構築部700に送信される。
図6(a)は、学習手段400を構成する期間決定部600の第2の実装例を説明する図であって、任意の時間間隔でデータを区間に分割する状況を示した説明図である。
本実施例では、学習手段400の期間決定部600によって、まず、図6(a)に示すように、任意の時間間隔でデータを区間に分割する。
図6(b)は、図6(a)に示された分割した区間毎にカテゴリーの出現率Eを表した説明図であり、次に、学習手段400の分類部500で分類した結果を用いて、データを分割した区間毎にカテゴリーの出現率Eを、図6(b)に示した如く求める。
そして、直前の区間と、カテゴリーの出現率Eを用いて式(17)で変化度Vを計算する。尚、E(p、m)は、区間pのカテゴリー番号mの出現率、Σはカテゴリー番号mを1からカテゴリー番号の最大値まで変化させた時の総和を計算することを意味する。
そして、直前の区間と、カテゴリーの出現率Eを用いて式(17)で変化度Vを計算する。尚、E(p、m)は、区間pのカテゴリー番号mの出現率、Σはカテゴリー番号mを1からカテゴリー番号の最大値まで変化させた時の総和を計算することを意味する。
V = Σ(E(p、m) - E(p-1、m))2 ・・・(17)
尚、式(17)の演算式は学習手段400の前記期間決定部600に組み込まれている。
尚、式(17)の演算式は学習手段400の前記期間決定部600に組み込まれている。
図6(c)は、図6(a)に示された分割した区間毎の変化度Vを計算した結果を示した説明図である。
図6(a)〜 図6(c)に示した説明図から理解できるように、計測信号の傾向が変化してカテゴリーの出現率が異なると、変化度Vが大きくなる。すなわち、変化度Vが大きいことは、プラントの運転状態が変化していることを意味する。従って、変化度Vを指標にプラント状態の変化を検知できる。
図6(a)〜 図6(c)に示した説明図から理解できるように、計測信号の傾向が変化してカテゴリーの出現率が異なると、変化度Vが大きくなる。すなわち、変化度Vが大きいことは、プラントの運転状態が変化していることを意味する。従って、変化度Vを指標にプラント状態の変化を検知できる。
そこで、本実施例では変化度Vが閾値を越えた時の時刻t13を、正常状態と予兆状態の境界時刻とする。また、予兆状態と異常状態の境界時刻は、図5(a)〜 図5(b)で説明した方法で決定する。
このように、本発明では自動的に正常状態と予兆状態の境界時刻と、予兆状態と異常状態の境界時刻を求め、正常期間、予兆期間、異常期間を決定する。オペレータがこれらの期間を設定する必要がないため、診断装置適用に要する労力は少なくてすむ。
図7は、図1に示した本実施例のプラントの診断装置における診断手段800の動作を説明する図である。
正常期間のデータをカテゴリーに分類した結果(=正常モデル、図中の点線で囲った円、カテゴリー760)、予兆期間のデータをカテゴリーに分類した結果(=予兆モデル、図中の二重線で囲った円、カテゴリー770)、異常期間のデータをカテゴリーに分類した結果(=異常モデル、図中の太線で囲った円、カテゴリー780)について、診断手段800では、計測信号が、どのモデルに属するかを判定し、プラントの運転状態を診断する。
図7において、計測信号をプロットした結果の例が、データ点791、792である。
例えば、データ点791は、予兆モデル770に属するので、「予兆状態」であると診断する。 一方、データ点792は、どのモデルにも属さないので、「過去に経験したことのない未知状態」と診断する。
このように、診断手段800では、プラントの運転状態を正常状態、予兆状態、異常状態、未知状態のいずれかに診断することができる。
また、診断手段800を動作させる際、正常モデルに属するかどうかのみを判定し、正常モデルに属さない場合は未知状態と診断することもできる。未知状態であることは、プラントの状態が正常ではないので、プラントの状態が変化したことを意味する。
この方法では、異常状態と予兆状態の期間のデータを除外した計測信号を用いて正常モデルを構築して診断する。そのため、異常の予兆が計測信号に現れれば新規カテゴリーが発生し、プラントの状態変化を検知できる。
未知状態である時は、各モデルの距離を計算し、その距離が一番短いモデルに分類することも可能である。つまり、データ点と最も近いモデルに分類する。
例えば、図7において、データ点と正常モデル760との距離792aと、予兆モデル770との距離792bと、異常モデル780との距離792cを比較する。そして、距離が最も短いモデル(予兆モデル770)に分類する。これにより、過去に経験したことのない未知状態であっても、どの状態に近いかを判定することができ、この情報をオペレータに提供できる。
図8(a)、図8(b)、図8(c)は、図1に示したプラントの診断装置における計測信号データベース310と、診断モデルデータベース320に保存される2種類のデータの態様をそれぞれ示したものである。これらの図は、図1の画像表示装置940に表示できる。
図8(a)に示すように、計測信号データベース310には、プラント100に対して計測した運転データである計測信号1(図では、データ項目A、B、Cを記載)の値が、サンプリング周期(縦軸の時刻)毎に保存される。
表示画面311において縦横に移動可能なスクロールボックス312及び313を用いることにより、広範囲のデータをスクロール表示することができる。
図8(b)、及び図8(c)は、図1の診断モデルデータベース320に保存されるデータの態様をそれぞれ説明する図である。
図8(b)には、診断モデルデータベース(1)におけるカテゴリー番号と重み係数との関係が、図8(c)には診断モデルデータベース(2)における時刻とその時刻におけるデータが分類されたカテゴリー番号との関係が保存されており、それぞれ画面321、325のように表示される。
ここで、重み係数とは、カテゴリーの中心座標のことである。重み係数は、図8(b)に示すように、正常モデル(322a、322b)、予兆モデル(322c)、異常モデル(322d)毎に作成される。
図9(a)及び図9(b)は、図1に示したプラントの診断装置における運転管理室900に設置された画像表示装置940に表示したプラントの診断結果の画面を説明する図である。
図9(a)は、画像表示装置940に診断結果(プラントの運転状態)を一覧で表示した説明図であり、この図9(a)に示すように、プラントの診断結果(プラントの運転状態)を一覧で表示してオペレータに診断結果を通知する。これにより、オペレータはプラントの運転状態を容易に把握でき、必要に応じて対策を講じることができる。
また、図9(b)は、図1に示したプラントの診断装置に設けた学習手段構成する期間決定部によって決定した正常状態と予兆状態の境界時刻tA、予兆状態と異常状態の境界時刻tBをデフォルト値として表示した説明図であり、この図9(b)に示すように、プラントの診断装置における学習手段400を構成する期間決定部600で決定した正常状態と予兆状態の境界時刻tA、予兆状態と異常状態の境界時刻tBをデフォルト値として表示する。正常状態、予兆状態、異常状態の期間と、計測信号、分類結果を同時に表示することで、期間決定部600の動作結果を容易に確認できる。
また、正常状態、予兆状態、異常状態の期間を、キーボード920とマウス930で構成される外部入力装置910を操作して発生させる外部入力信号2を用いて修正することもできる。すなわち、画面942上で、正常状態と予兆状態の境界時刻が表示される欄943a、予兆状態と異常状態の境界時刻が表示される欄944aに修正した時刻をキーボード920を用いて入力し、実行ボタンを押すことで、期間情報6を修正できる。
また、正常状態と予兆状態の境界ライン943b、予兆状態と異常状態の境界ライン943bをマウス930でドラッグしてラインの位置を修正し、実行ボタンを押すことにより、期間情報6を修正することもできる。オペレータの豊富な経験に基づいて期間情報6を決定することで、診断の確度を向上できる可能性がある。本実施例の診断装置は、上述した修正を実施できるようになっている。
なお、本発明は上記した実施例に限定されるものではなく、様々な変形例が含まれる。例えば、上記した実施例は本発明をわかりやすく説明するために詳細に記載したものであり、必ずしも説明したすべての構成を備えるものに限定されるものではない。
また、上記の各構成、機能、処理部、処理手段等は、それらの一部又は全部を集積回路で設計する等によりハードウェアで実現してもよい。また上記の各構成、機能等は、プロセッサがそれぞれの機能を実現するプログラムを解釈し、実行するソフトウェアで実現してもよい。各機能を実現するプログラム、テーブル、ファイル、計測値、算出情報等の情報は、メモリやハードディスク等の記憶装置、またはICカード、SDカード、DVD等の記憶媒体に置くことができる。よって、各処理、各構成は処理ユニットやプログラムモジュールとして実現可能である。
また、情報線は説明上必要と考えられるものを示しており、製品上必ずしもすべての制御線や情報線を示しているとは限らない。実際には、ほとんど全ての厚生が相互に接続されていると考えてもよい。
本実施例によれば、プラントの状態が正常状態から異常状態に至る途中の予兆状態を検知できるプラントの診断装置及びプラントの診断方法を実現することができる。この結果、プラントが異常状態に至る前にプラントの状態変化を早期に検知することが可能なプラントの診断装置及びプラントの診断方法が得られる。
本実施例によれば、プラントの状態が正常状態から異常状態に至る途中の予兆状態を検知できるプラントの診断装置及びプラントの診断方法を実現することができる。この結果、プラントが異常状態に至る前にプラントの状態変化を早期に検知することが可能なプラントの診断装置及びプラントの診断方法が得られる。
本発明は、プラントの診断装置及びプラントの診断方法として各種プラント等に広く適用可能である。
1:計測信号、2:外部入力信号、3:計測信号、4:計測信号、5:分類結果、6:期間情報、7:モデル情報、8:モデル情報、9:診断結果、10:画面表示情報、50:診断装置情報、100:プラント、200:診断装置、210:外部入力インターフェイス、220:外部出力インターフェイス、310:計測信号データベース、320:診断モデルデータベース、400:学習手段、500:分類部、600:期間決定部、700:モデル構築部、800:診断手段、900:運転管理室、910:外部入力装置、920:キーボード、930:マウス、940:画像表示装置。
Claims (6)
- プラントから入力された計測信号に基づいてプラントの運転状態を診断し、診断結果を画像表示装置に表示するプラントの診断装置において、
プラントの診断装置にプラントの状態量を計測した前記計測信号を用いて診断に用いるモデルを構築する学習手段と、前記学習手段で構築したモデルを用いてプラントの運転状態を診断する診断手段を備え、
前記学習手段に、類似の値を持つデータを同じカテゴリーに分類する分類部と、前記分類部でのカテゴリーの分類結果に基づいて計測信号の傾向の違いを評価して正常期間、予兆期間、異常期間を決定する期間決定部と、前記正常期間の計測信号を用いて正常モデルを構築し、前記予兆期間の計測信号を用いて予兆モデルを構築し、前記異常期間の計測信号を用いて異常モデルを構築するモデル構築部を備え、
前記診断手段は、現時刻の計測信号が正常モデル、予兆モデル、異常モデルのどのモデルに分類されるかを判定して、現時刻の計測信号が正常モデル、予兆モデル、異常モデルに含まれる場合はプラントが当該モデルに対応した正常、予兆、異常のうち該当する状態であると診断して画像表示装置に表示し、現時刻の計測信号が正常モデル、予兆モデル、異常モデルの何れにも含まれない場合はプラントが過去に経験したことのない未知状態であると診断して画像表示装置に表示するように構成し、
前記学習手段に設けた前記期間決定部では、
前記プラントの状態量を計測した前記計測信号が前記分類部によって予兆モデルに分類される予兆状態と異常モデルに分類される異常状態との境界時刻を、警報が発生した時刻に設定する処理と、
前記プラントの状態量を計測した前記計測信号が前記分類部によって正常モデルに分類される正常状態と前記予兆モデルに分類される予兆状態との境界時刻を、正常状態と予兆状態との前記境界時刻から、予兆状態と異常状態の境界時刻の期間における正常状態にないカテゴリーの発生割合の最小値が予め定めた値より高くなる時刻に設定する処理をそれぞれ行うように構成されていることを特徴とするプラントの診断装置。 - プラントから入力された計測信号に基づいてプラントの運転状態を診断し、診断結果を画像表示装置に表示するプラントの診断装置において、
プラントの診断装置にプラントの状態量を計測した前記計測信号を用いて診断に用いるモデルを構築する学習手段と、前記学習手段で構築したモデルを用いてプラントの運転状態を診断する診断手段を備え、
前記学習手段に、類似の値を持つデータを同じカテゴリーに分類する分類部と、前記分類部でのカテゴリーの分類結果に基づいて計測信号の傾向の違いを評価して正常期間、予兆期間、異常期間を決定する期間決定部と、前記正常期間の計測信号を用いて正常モデルを構築し、前記予兆期間の計測信号を用いて予兆モデルを構築し、前記異常期間の計測信号を用いて異常モデルを構築するモデル構築部を備え、
前記診断手段は、現時刻の計測信号が正常モデル、予兆モデル、異常モデルのどのモデルに分類されるかを判定して、現時刻の計測信号が正常モデル、予兆モデル、異常モデルに含まれる場合はプラントが当該モデルに対応した正常、予兆、異常のうち該当する状態であると診断して画像表示装置に表示し、現時刻の計測信号が正常モデル、予兆モデル、異常モデルの何れにも含まれない場合はプラントが過去に経験したことのない未知状態であると診断して画像表示装置に表示するように構成し、
前記学習手段に設けた前記期間決定部では、
前記プラントの状態量を計測した前記計測信号が前記分類部によって予兆モデルに分類される予兆状態と異常モデルに分類される異常状態との境界時刻を、警報が発生した時刻に設定する処理と、
前記プラントの状態量を計測した前記計測信号が前記分類部によって正常モデルに分類される正常状態と前記予兆状態との境界時刻を、任意の時間間隔でデータを区間に分割し、各区間のカテゴリー出現率の変化度が、予め定めた値より高くなる時刻に設定する処理をそれぞれ行うように構成されていることを特徴とするプラントの診断装置。 - 請求項1又は請求項2に記載したプラントの診断装置において、
前記プラントの診断装置に、プラントの状態量を計測した計測信号の経時変化と、 前記学習手段に設けた分類部によってカテゴリーに分類した結果の経時変化と、前記学習手段に設けた期間決定部によって設定された正常状態と予兆状態との境界時刻、及び予兆状態と異常状態との境界時刻を画面上にそれぞれ表示し、
マウスとキーボードからなる外部入力装置からの外部入力信号に基づいて正常状態と予兆状態との境界時刻と、予兆状態と異常状態との境界時刻を変更可能なように構成されていることを特徴とするプラントの診断装置。 - プラントから入力された計測信号に基づいてプラントの運転状態を診断し、診断結果を表示するプラントの診断方法において、
プラントの診断装置としてプラントの状態量を計測した計測信号を用いて診断に用いるモデルを構築する学習手段と、前記学習手段で構築したモデルを用いてプラントの運転状態を診断する診断手段が備えられており、
プラントの状態量を計測した計測信号を学習手段に入力させ、該学習手段にて前記計測信号のうち類似の値を持つデータを同じカテゴリーに分類し、このカテゴリーの分類結果に基づいて計測信号の傾向の違いを評価して正常期間、予兆期間、異常期間をそれぞれ決定し、前記正常期間の計測信号を用いて正常モデルを構築し、前記予兆期間の計測信号を用いて予兆モデルを構築し、前記異常期間の計測信号を用いて異常モデルを構築し、
プラントの状態量を計測した計測信号を診断手段に入力させ、該診断手段にて現時刻の計測信号が正常モデル、予兆モデル、異常モデルのどのモデルに分類されるかを判定して、現時刻の計測信号が正常モデル、予兆モデル、異常モデルの何れかに含まれる場合は、プラントが当該モデルに対応した正常、予兆、異常のうち該当する状態であると診断して画像表示装置に表示し、現時刻の計測信号が正常モデル、予兆モデル、異常モデルの何れにも含まれない場合はプラントが過去に経験したことのない未知状態であると診断して画像表示装置に表示し、
前記プラントの状態量を計測した前記計測信号が前記学習手段によって予兆モデルに分類される予兆状態と異常モデルに分類される異常状態との境界時刻を警報が発生した時刻に設定し、
前記プラントの状態量を計測した前記計測信号が前記学習手段によって正常モデルに分類される正常状態と前記予兆モデルに分類される予兆状態との境界時刻を、正常状態と予兆状態との前記境界時刻から、予兆状態と異常状態の境界時刻の期間における正常状態にないカテゴリーの発生割合の最小値が予め定めた値より高くなる時刻に設定することを特徴とするプラントの診断方法。 - プラントから入力された計測信号に基づいてプラントの運転状態を診断し、診断結果を表示するプラントの診断方法において、
プラントの診断装置としてプラントの状態量を計測した計測信号を用いて診断に用いるモデルを構築する学習手段と、前記学習手段で構築したモデルを用いてプラントの運転状態を診断する診断手段が備えられており、
プラントの状態量を計測した計測信号を学習手段に入力させ、該学習手段にて前記計測信号のうち類似の値を持つデータを同じカテゴリーに分類し、このカテゴリーの分類結果に基づいて計測信号の傾向の違いを評価して正常期間、予兆期間、異常期間をそれぞれ決定し、前記正常期間の計測信号を用いて正常モデルを構築し、前記予兆期間の計測信号を用いて予兆モデルを構築し、前記異常期間の計測信号を用いて異常モデルを構築し、
プラントの状態量を計測した計測信号を診断手段に入力させ、該診断手段にて現時刻の計測信号が正常モデル、予兆モデル、異常モデルのどのモデルに分類されるかを判定して、現時刻の計測信号が正常モデル、予兆モデル、異常モデルの何れかに含まれる場合は、プラントが当該モデルに対応した正常、予兆、異常のうち該当する状態であると診断して画像表示装置に表示し、現時刻の計測信号が正常モデル、予兆モデル、異常モデルの何れにも含まれない場合はプラントが過去に経験したことのない未知状態であると診断して画像表示装置に表示し、
前記プラントの状態量を計測した前記計測信号が前記学習手段によって予兆モデルに分類される予兆状態と異常モデルに分類される異常状態の境界時刻を警報が発生した時刻に設定し、
前記プラントの状態量を計測した前記計測信号が前記学習手段によって正常モデルに分類される正常状態と前記予兆モデルに分類される予兆状態との境界時刻を、任意の時間間隔でデータを区間に分割して各区間のカテゴリー出現率の変化度が予め定めた値より高くなる時刻に設定することを特徴とするプラントの診断方法。 - 請求項4又は請求項5に記載したプラントの診断方法において、
プラントの診断装置に、プラントの状態量を計測した計測信号の経時変化と、前記学習手段によってカテゴリーに分類した結果の経時変化と、前記学習手段によって設定された正常状態と予兆状態との境界時刻、及び予兆状態と異常状態との境界時刻を画面上にそれぞれ表示し、
マウスとキーボードからなる外部入力装置からの外部入力信号に基づいて正常状態と予兆状態との境界時刻と、予兆状態と異常状態との境界時刻を変更可能にしていることを特徴とするプラントの診断方法。
Applications Claiming Priority (1)
| Application Number | Priority Date | Filing Date | Title |
|---|---|---|---|
| PCT/JP2010/007025 WO2012073289A1 (ja) | 2010-12-02 | 2010-12-02 | プラントの診断装置及びプラントの診断方法 |
Publications (2)
| Publication Number | Publication Date |
|---|---|
| JP5484591B2 true JP5484591B2 (ja) | 2014-05-07 |
| JPWO2012073289A1 JPWO2012073289A1 (ja) | 2014-05-19 |
Family
ID=46171280
Family Applications (1)
| Application Number | Title | Priority Date | Filing Date |
|---|---|---|---|
| JP2012546576A Expired - Fee Related JP5484591B2 (ja) | 2010-12-02 | 2010-12-02 | プラントの診断装置及びプラントの診断方法 |
Country Status (2)
| Country | Link |
|---|---|
| JP (1) | JP5484591B2 (ja) |
| WO (1) | WO2012073289A1 (ja) |
Cited By (7)
| Publication number | Priority date | Publication date | Assignee | Title |
|---|---|---|---|---|
| KR20160006281A (ko) * | 2014-07-08 | 2016-01-19 | 주식회사 글로비즈 | 모니터링 방법 및 시스템 |
| US10281909B2 (en) | 2013-07-10 | 2019-05-07 | Globiz Co., Ltd. | Signal measuring/diagnosing system, and method for applying the same to individual devices |
| EP3454289A4 (en) * | 2016-05-04 | 2020-03-04 | Doosan Heavy Industries & Construction Co., Ltd. | METHOD AND SYSTEM FOR DETECTING ANOMALIES IN PLANTS |
| JP7166395B1 (ja) | 2021-06-23 | 2022-11-07 | セイコーソリューションズ株式会社 | 監視システム、監視方法、及び監視プログラム |
| CN115552345A (zh) * | 2020-05-28 | 2022-12-30 | 三菱电机株式会社 | 设备状态监视装置及设备状态监视方法 |
| JP2024100928A (ja) * | 2019-12-10 | 2024-07-26 | キヤノン株式会社 | 情報処理方法、情報処理装置、生産システム、物品の製造方法、プログラム、記録媒体 |
| JP2024114223A (ja) * | 2023-02-13 | 2024-08-23 | 横河電機株式会社 | 診断装置、診断プログラム、診断方法及び診断システム |
Families Citing this family (20)
| Publication number | Priority date | Publication date | Assignee | Title |
|---|---|---|---|---|
| EP3249483B1 (en) * | 2015-01-21 | 2020-05-20 | Mitsubishi Electric Corporation | Information processing device and information processing method |
| JP2016192000A (ja) * | 2015-03-31 | 2016-11-10 | 横河電機株式会社 | 業務支援装置及び業務支援方法 |
| US11107169B2 (en) * | 2015-11-18 | 2021-08-31 | General Electric Company | Systems and methods for controlling and monitoring power assets |
| JP6632941B2 (ja) * | 2016-07-20 | 2020-01-22 | 三菱電機ビルテクノサービス株式会社 | 設備監視装置及び設備監視方法 |
| JP6950727B2 (ja) * | 2016-11-11 | 2021-10-13 | 横河電機株式会社 | 情報処理装置、情報処理方法、情報処理プログラム及び記録媒体 |
| JP2018077757A (ja) | 2016-11-11 | 2018-05-17 | 横河電機株式会社 | 情報処理装置、情報処理方法、情報処理プログラム及び記録媒体 |
| JP6185206B1 (ja) * | 2017-05-31 | 2017-08-23 | オーナンバ株式会社 | 太陽光発電システムの異常または異常の予兆を検出するための方法及び装置 |
| JP7034874B2 (ja) * | 2018-09-26 | 2022-03-14 | 株式会社日立製作所 | プロセス状態解析装置及びプロセス状態表示方法 |
| TWI829807B (zh) | 2018-11-30 | 2024-01-21 | 日商東京威力科創股份有限公司 | 製造製程之假想測定裝置、假想測定方法及假想測定程式 |
| JP6950670B2 (ja) * | 2018-12-12 | 2021-10-13 | 横河電機株式会社 | 検出装置、検出方法、および、検出プログラム |
| JP2020119267A (ja) * | 2019-01-24 | 2020-08-06 | 株式会社荏原製作所 | 情報処理装置、情報処理プログラム、および情報処理方法 |
| JP7239354B2 (ja) * | 2019-03-12 | 2023-03-14 | 株式会社日立製作所 | データ分類装置 |
| JP7329753B2 (ja) | 2019-04-03 | 2023-08-21 | パナソニックIpマネジメント株式会社 | 情報処理装置、情報処理方法、および、学習装置 |
| JP6680934B1 (ja) * | 2019-06-25 | 2020-04-15 | 株式会社 日立産業制御ソリューションズ | 異常回避提案装置、異常回避提案方法及び異常回避提案プログラム |
| JP7517810B2 (ja) * | 2019-11-19 | 2024-07-17 | 旭化成株式会社 | 診断装置、診断方法及び診断プログラム |
| JP7189859B2 (ja) * | 2019-11-25 | 2022-12-14 | 株式会社日立製作所 | プラント運転支援システム |
| JP7452990B2 (ja) * | 2019-11-29 | 2024-03-19 | 東京エレクトロン株式会社 | 異常検知装置、異常検知方法及び異常検知プログラム |
| JP7590461B2 (ja) * | 2020-12-25 | 2024-11-26 | ファナック株式会社 | 異常分類装置 |
| JP7676986B2 (ja) * | 2021-06-23 | 2025-05-15 | オムロン株式会社 | 情報処理装置、モデル生成プログラムおよびモデル生成方法 |
| JP7552643B2 (ja) * | 2022-03-30 | 2024-09-18 | 横河電機株式会社 | データ処理装置、データ処理方法、及びプログラム |
Citations (4)
| Publication number | Priority date | Publication date | Assignee | Title |
|---|---|---|---|---|
| JPH0962340A (ja) * | 1995-08-24 | 1997-03-07 | Toshiba Corp | 可搬型プラント巡視点検データ判定装置 |
| JP2007123007A (ja) * | 2005-10-27 | 2007-05-17 | Hitachi Ltd | 燃料電池システムの診断方法および診断装置 |
| JP2009042997A (ja) * | 2007-08-08 | 2009-02-26 | Hitachi Ltd | データ分類方法および装置 |
| JP2010237893A (ja) * | 2009-03-31 | 2010-10-21 | Hitachi Ltd | プラントの異常診断装置及び異常診断方法 |
-
2010
- 2010-12-02 JP JP2012546576A patent/JP5484591B2/ja not_active Expired - Fee Related
- 2010-12-02 WO PCT/JP2010/007025 patent/WO2012073289A1/ja not_active Ceased
Patent Citations (4)
| Publication number | Priority date | Publication date | Assignee | Title |
|---|---|---|---|---|
| JPH0962340A (ja) * | 1995-08-24 | 1997-03-07 | Toshiba Corp | 可搬型プラント巡視点検データ判定装置 |
| JP2007123007A (ja) * | 2005-10-27 | 2007-05-17 | Hitachi Ltd | 燃料電池システムの診断方法および診断装置 |
| JP2009042997A (ja) * | 2007-08-08 | 2009-02-26 | Hitachi Ltd | データ分類方法および装置 |
| JP2010237893A (ja) * | 2009-03-31 | 2010-10-21 | Hitachi Ltd | プラントの異常診断装置及び異常診断方法 |
Cited By (11)
| Publication number | Priority date | Publication date | Assignee | Title |
|---|---|---|---|---|
| US10281909B2 (en) | 2013-07-10 | 2019-05-07 | Globiz Co., Ltd. | Signal measuring/diagnosing system, and method for applying the same to individual devices |
| KR20160006281A (ko) * | 2014-07-08 | 2016-01-19 | 주식회사 글로비즈 | 모니터링 방법 및 시스템 |
| KR101616072B1 (ko) * | 2014-07-08 | 2016-04-28 | 주식회사 글로비즈 | 모니터링 방법 및 시스템 |
| EP3454289A4 (en) * | 2016-05-04 | 2020-03-04 | Doosan Heavy Industries & Construction Co., Ltd. | METHOD AND SYSTEM FOR DETECTING ANOMALIES IN PLANTS |
| US11092952B2 (en) | 2016-05-04 | 2021-08-17 | Doosan Heavy Industries & Construction Co., Ltd. | Plant abnormality detection method and system |
| JP2024100928A (ja) * | 2019-12-10 | 2024-07-26 | キヤノン株式会社 | 情報処理方法、情報処理装置、生産システム、物品の製造方法、プログラム、記録媒体 |
| JP7771268B2 (ja) | 2019-12-10 | 2025-11-17 | キヤノン株式会社 | 情報処理方法、情報処理装置、生産システム、物品の製造方法、プログラム、記録媒体 |
| CN115552345A (zh) * | 2020-05-28 | 2022-12-30 | 三菱电机株式会社 | 设备状态监视装置及设备状态监视方法 |
| JP7166395B1 (ja) | 2021-06-23 | 2022-11-07 | セイコーソリューションズ株式会社 | 監視システム、監視方法、及び監視プログラム |
| JP2023003226A (ja) * | 2021-06-23 | 2023-01-11 | セイコーソリューションズ株式会社 | 監視システム、監視方法、及び監視プログラム |
| JP2024114223A (ja) * | 2023-02-13 | 2024-08-23 | 横河電機株式会社 | 診断装置、診断プログラム、診断方法及び診断システム |
Also Published As
| Publication number | Publication date |
|---|---|
| JPWO2012073289A1 (ja) | 2014-05-19 |
| WO2012073289A1 (ja) | 2012-06-07 |
Similar Documents
| Publication | Publication Date | Title |
|---|---|---|
| JP5484591B2 (ja) | プラントの診断装置及びプラントの診断方法 | |
| JP5544418B2 (ja) | プラントの診断装置、診断方法、及び診断プログラム | |
| CN102713777B (zh) | 诊断装置及诊断方法 | |
| JP5337853B2 (ja) | 発電プラントの診断装置、及び発電プラントの診断方法 | |
| JP7108417B2 (ja) | 異常検知システム | |
| JP5097739B2 (ja) | プラントの異常診断装置及び異常診断方法 | |
| JP5101396B2 (ja) | 健全性診断方法及びプログラム並びに風車の健全性診断装置 | |
| JP4995134B2 (ja) | 風車の監視装置及び方法並びにプログラム | |
| JP5199478B2 (ja) | プラント診断装置 | |
| JP5150590B2 (ja) | 異常診断装置及び異常診断方法 | |
| US20110106510A1 (en) | Methods, apparatus and computer readable storage mediums for model-based diagnosis | |
| JP6523815B2 (ja) | プラント診断装置及びプラント診断方法 | |
| JP7180985B2 (ja) | 診断装置および診断方法 | |
| CN112449696A (zh) | 时序数据诊断装置、追加学习方法及程序 | |
| JP4430384B2 (ja) | 設備の診断装置及び診断方法 | |
| JP2015162140A (ja) | プラントと制御装置の診断装置 | |
| JP2019008681A (ja) | 診断装置及び診断方法 | |
| JP6685124B2 (ja) | 診断装置及び診断方法 | |
| JP2013140495A (ja) | プラント状態監視装置、プラント状態監視方法 | |
| JP6347771B2 (ja) | 異常診断装置、異常診断方法及び異常診断プログラム | |
| JP2018055391A (ja) | セキュリティ診断装置およびセキュリティ診断方法 | |
| JP7814264B2 (ja) | 異音検知システム及び異音検知プログラム | |
| JP2021110977A (ja) | 診断装置、診断方法およびプログラム | |
| JP2019091128A (ja) | データ分類装置 | |
| CN119596856A (zh) | 一种基于虚拟量测预测数据的生产控制方法、设备、介质及产品 |
Legal Events
| Date | Code | Title | Description |
|---|---|---|---|
| TRDD | Decision of grant or rejection written | ||
| A01 | Written decision to grant a patent or to grant a registration (utility model) |
Free format text: JAPANESE INTERMEDIATE CODE: A01 Effective date: 20140204 |
|
| A61 | First payment of annual fees (during grant procedure) |
Free format text: JAPANESE INTERMEDIATE CODE: A61 Effective date: 20140218 |
|
| R150 | Certificate of patent or registration of utility model |
Ref document number: 5484591 Country of ref document: JP Free format text: JAPANESE INTERMEDIATE CODE: R150 |
|
| LAPS | Cancellation because of no payment of annual fees |
