JP5459397B2 - ポジトロンct装置およびタイミング補正方法 - Google Patents
ポジトロンct装置およびタイミング補正方法 Download PDFInfo
- Publication number
- JP5459397B2 JP5459397B2 JP2012515640A JP2012515640A JP5459397B2 JP 5459397 B2 JP5459397 B2 JP 5459397B2 JP 2012515640 A JP2012515640 A JP 2012515640A JP 2012515640 A JP2012515640 A JP 2012515640A JP 5459397 B2 JP5459397 B2 JP 5459397B2
- Authority
- JP
- Japan
- Prior art keywords
- detector
- time difference
- scintillator element
- detectors
- radiation
- Prior art date
- Legal status (The legal status is an assumption and is not a legal conclusion. Google has not performed a legal analysis and makes no representation as to the accuracy of the status listed.)
- Active
Links
Images
Classifications
-
- A—HUMAN NECESSITIES
- A61—MEDICAL OR VETERINARY SCIENCE; HYGIENE
- A61B—DIAGNOSIS; SURGERY; IDENTIFICATION
- A61B6/00—Apparatus or devices for radiation diagnosis; Apparatus or devices for radiation diagnosis combined with radiation therapy equipment
- A61B6/02—Arrangements for diagnosis sequentially in different planes; Stereoscopic radiation diagnosis
- A61B6/03—Computed tomography [CT]
- A61B6/037—Emission tomography
-
- A—HUMAN NECESSITIES
- A61—MEDICAL OR VETERINARY SCIENCE; HYGIENE
- A61B—DIAGNOSIS; SURGERY; IDENTIFICATION
- A61B6/00—Apparatus or devices for radiation diagnosis; Apparatus or devices for radiation diagnosis combined with radiation therapy equipment
- A61B6/42—Arrangements for detecting radiation specially adapted for radiation diagnosis
- A61B6/4266—Arrangements for detecting radiation specially adapted for radiation diagnosis characterised by using a plurality of detector units
-
- A—HUMAN NECESSITIES
- A61—MEDICAL OR VETERINARY SCIENCE; HYGIENE
- A61B—DIAGNOSIS; SURGERY; IDENTIFICATION
- A61B6/00—Apparatus or devices for radiation diagnosis; Apparatus or devices for radiation diagnosis combined with radiation therapy equipment
- A61B6/48—Diagnostic techniques
- A61B6/485—Diagnostic techniques involving fluorescence X-ray imaging
-
- G—PHYSICS
- G01—MEASURING; TESTING
- G01T—MEASUREMENT OF NUCLEAR OR X-RADIATION
- G01T1/00—Measuring X-radiation, gamma radiation, corpuscular radiation, or cosmic radiation
- G01T1/16—Measuring radiation intensity
- G01T1/161—Applications in the field of nuclear medicine, e.g. in vivo counting
- G01T1/164—Scintigraphy
- G01T1/1641—Static instruments for imaging the distribution of radioactivity in one or two dimensions using one or several scintillating elements; Radio-isotope cameras
- G01T1/1647—Processing of scintigraphic data
-
- G—PHYSICS
- G01—MEASURING; TESTING
- G01T—MEASUREMENT OF NUCLEAR OR X-RADIATION
- G01T1/00—Measuring X-radiation, gamma radiation, corpuscular radiation, or cosmic radiation
- G01T1/16—Measuring radiation intensity
- G01T1/17—Circuit arrangements not adapted to a particular type of detector
- G01T1/172—Circuit arrangements not adapted to a particular type of detector with coincidence circuit arrangements
-
- G—PHYSICS
- G01—MEASURING; TESTING
- G01T—MEASUREMENT OF NUCLEAR OR X-RADIATION
- G01T1/00—Measuring X-radiation, gamma radiation, corpuscular radiation, or cosmic radiation
- G01T1/16—Measuring radiation intensity
- G01T1/20—Measuring radiation intensity with scintillation detectors
- G01T1/208—Circuits specially adapted for scintillation detectors, e.g. for the photo-multiplier section
-
- G—PHYSICS
- G01—MEASURING; TESTING
- G01T—MEASUREMENT OF NUCLEAR OR X-RADIATION
- G01T1/00—Measuring X-radiation, gamma radiation, corpuscular radiation, or cosmic radiation
- G01T1/29—Measurement performed on radiation beams, e.g. position or section of the beam; Measurement of spatial distribution of radiation
- G01T1/2914—Measurement of spatial distribution of radiation
- G01T1/2985—In depth localisation, e.g. using positron emitters; Tomographic imaging (longitudinal and transverse section imaging; apparatus for radiation diagnosis sequentially in different planes, steroscopic radiation diagnosis)
Landscapes
- Health & Medical Sciences (AREA)
- Life Sciences & Earth Sciences (AREA)
- Physics & Mathematics (AREA)
- Molecular Biology (AREA)
- High Energy & Nuclear Physics (AREA)
- Medical Informatics (AREA)
- Engineering & Computer Science (AREA)
- Spectroscopy & Molecular Physics (AREA)
- General Physics & Mathematics (AREA)
- Biomedical Technology (AREA)
- General Health & Medical Sciences (AREA)
- Nuclear Medicine, Radiotherapy & Molecular Imaging (AREA)
- Optics & Photonics (AREA)
- Pathology (AREA)
- Biophysics (AREA)
- Radiology & Medical Imaging (AREA)
- Heart & Thoracic Surgery (AREA)
- Surgery (AREA)
- Animal Behavior & Ethology (AREA)
- Public Health (AREA)
- Veterinary Medicine (AREA)
- Nuclear Medicine (AREA)
- Measurement Of Radiation (AREA)
Description
この発明は、被検体内に投与されたポジトロン放射性薬剤から放出される放射線を検出するポジトロンCT装置およびタイミング補正方法に関する。
ポジトロンCT装置、すなわちPET(Positron Emission Tomography)装置は、陽電子(Positron)、すなわちポジトロンの消滅によって発生する複数本のγ線を検出して複数個の検出器でγ線を同時に検出したときのみ(つまり同時計数したときのみ)被検体の画像を再構成するように構成されている。
同時計数するには同時計数回路を用いる。ところが、各検出器から同時計数回路までの信号チャンネルでの信号の時間遅れが生じる。この時間遅れは、各信号チャンネルでバラツキがある。したがって、各信号チャンネルでの遅れ時間を調整してγ線が同時計数回路に到達するタイミングを一致させるタイミング補正を行う必要がある。
そこで、かかるタイミング補正を行うのに、校正用の放射線源(外部線源)や模擬信号を用いて校正データを取得し、その校正データに基づいて信号転送の時間的なバラツキを調整する(例えば、特許文献1〜3参照)。なお、近年では、ポジトロンの対消滅発生地点を限定する時間差情報(飛行時間)(TOF: Time Of Flight)を利用した技術が提案されている(例えば、特許文献4参照)。TOFは、消滅放射線が光速であることを用いて、対消滅発生地点から検出器に到達する時間差を、対消滅発生地点から検出器のシンチレータ素子による光源発生位置までの距離差に換算することで、対消滅発生地点を求める技術である。
上述の特許文献1に記載された信号のタイミング補正方法について述べる。放射線源から照射された放射線を検出器が検出し、放射線が検出器に入射された放射線入射タイミングを表すタイミング信号を、遅延調整回路を経て同時計数回路に入力する。このタイミング信号の入力を受けて同時計数回路の出力を測定して、各信号チャンネル毎に放射線の感度(すなわち計数)を測定する。この後、遅延調整回路で調整される遅延量を変えながら上述の感度を測定して、遅延量変化に対する感度分布を求める。測定された感度が最も高くなる遅延量を遅延調整回路に用いることで、信号の時間遅れを補正する。
上述の特許文献2に記載された信号のタイミング補正方法について述べる。校正用の放射線源(外部線源)をPET装置の視野(FOV: Field of View)内に設置する。ここで、複数の検出器をリング(環状)に並べる。ある検出器を基準とすると、その基準の検出器と共通の視野を有する複数の検出器のタイミング値を平均して、その平均されたタイミング値を基準の検出器に対する時間遅延値として求める。基準の検出器が隣接する検出器を新たに基準として、同様に時間遅延値を求め、最初に求められた時間遅延値と次に求められた時間遅延値との差分を基準補正値として求める。その基準補正値を用いて時間を揃えることでタイミング補正を行う。以下、順に隣接する検出器に同様の演算を行うことで、リング上を1周したときに全ての検出器に関するタイミング補正を行う。
上述の特許文献3に記載された信号のタイミング補正方法について述べる。模擬信号発生装置から出力された模擬信号を複数の信号処理装置(信号処理ユニット)にそれぞれ入力し、各信号処理装置の出力に基づいて校正データを生成して、タイミング補正を行う。
また、上述の特許文献4では、相互作用を起こした深さ方向の光源位置(DOI: Depth of Interaction)を弁別することができるDOI検出器をTOF型PET装置に組み込む。DOI検出器は、各々のシンチレータ素子を放射線(ここではγ線)の深さ方向に積層して構成されたものであり、相互作用を起こした深さ方向と横方向(入射面に平行な方向)との座標情報を重心演算により求める。この座標情報に対応する検出時刻補正情報をテーブルに書き込んで記憶し、その検出時刻補正情報を参照することにより、飛行時間差の情報精度を高めている。
特公平6−19436号公報
特許第3343122号明細書
特開2006−90827号公報
特開2008−51701号公報
しかしながら、上述の特許文献1の場合、遅延量を求めるために測定を繰り返さなければならない。また、上述の特許文献2の場合、基準の検出器と共通の視野を有する複数の検出器間では時間が揃っていない。したがって、それら検出器のタイミング値を平均して、その平均されたタイミング値を時間遅延値として用いて、リング上を1周しても時間が完全に揃わない。その結果、最適な時間遅延値を求めるまでにリング上を複数周(例えば2〜3周)分にわたって廻って上述の演算を繰り返す必要がある。
また、上述の特許文献3の場合、検出器以外に模擬信号発生装置が必要となる。また、信号処理装置での遅延のみを補正するので、上述の特許文献4のような相互作用を起こした深さ方向の光源位置を弁別するDOI検出器に対して消滅放射線とシンチレータ素子とが相互作用を起こした深さ方向および横方向の座標情報に対応する検出時刻補正情報が必要な場合に、検出時刻補正情報を求めることができない。
この発明は、このような事情に鑑みてなされたものであって、測定や演算を多数繰り返さずに、かつ正確に同時計数することができるポジトロンCT装置およびタイミング補正方法を提供することを目的とする。
この発明は、このような目的を達成するために、次のような構成をとる。
すなわち、この発明のポジトロンCT装置は、被検体内に投与されたポジトロン放射性薬剤から放出される放射線を検出する複数の検出器を備えたポジトロンCT装置であって、放射線を同時計数する各検出器の対ごとの時間差変化に対する計数値分布を表す時間差ヒストグラムに関して、同時計数する対象の検出器を2つ選択して、当該選択された2つの検出器のうち、一方の検出器を選択するとともに、他方の検出器とは別の検出器を選択し、その選択を繰り返し行った際に、過去に選択された2つの検出器に関する時間差ヒストグラムを基準として、当該基準に基づいて、今回で選択された2つの検出器に関する時間差ヒストグラムを補正し、当該補正された2つの検出器に関する時間差ヒストグラムを新たに基準とする作業を繰り返し行う演算手段と、前記演算手段で繰り返し補正された各検出器の対ごとの前記時間差ヒストグラムに基づいて、放射線を同時計数する同時計数回路とを備えることを特徴とするものである。
すなわち、この発明のポジトロンCT装置は、被検体内に投与されたポジトロン放射性薬剤から放出される放射線を検出する複数の検出器を備えたポジトロンCT装置であって、放射線を同時計数する各検出器の対ごとの時間差変化に対する計数値分布を表す時間差ヒストグラムに関して、同時計数する対象の検出器を2つ選択して、当該選択された2つの検出器のうち、一方の検出器を選択するとともに、他方の検出器とは別の検出器を選択し、その選択を繰り返し行った際に、過去に選択された2つの検出器に関する時間差ヒストグラムを基準として、当該基準に基づいて、今回で選択された2つの検出器に関する時間差ヒストグラムを補正し、当該補正された2つの検出器に関する時間差ヒストグラムを新たに基準とする作業を繰り返し行う演算手段と、前記演算手段で繰り返し補正された各検出器の対ごとの前記時間差ヒストグラムに基づいて、放射線を同時計数する同時計数回路とを備えることを特徴とするものである。
この発明のポジトロンCT装置によれば、放射線を同時計数する各検出器の対ごとの時間差変化に対する計数値分布を表す時間差ヒストグラムに関して、演算手段は以下の演算を行う。すなわち、同時計数する対象の検出器を2つ選択して、当該選択された2つの検出器のうち、一方の検出器を選択するとともに、他方の検出器とは別の検出器を選択し、その選択を繰り返し行った際に、過去に選択された2つの検出器に関する時間差ヒストグラムを基準として、当該基準に基づいて、今回で選択された2つの検出器に関する時間差ヒストグラムを補正する。そして、当該補正された2つの検出器に関する時間差ヒストグラムを新たに基準とする作業を繰り返し行う。このように、過去に選択された2つの検出器に関する時間差ヒストグラムを基準として、当該基準に基づいて、今回で選択された2つの検出器に関する時間差ヒストグラムを補正し、当該補正された2つの検出器に関する時間差ヒストグラムを新たに基準とする作業を繰り返し行うことで、例えば上述した特許文献2のように複数の検出器のタイミング値を平均した場合よりも、最適な時間差ヒストグラムを求める際に収束性がよい。したがって、測定や演算を多数繰り返さずに最適な時間差ヒストグラムを求めることができる。また、上述の繰り返し補正された各検出器の対ごとの時間差ヒストグラムに基づいて、同時計数回路は放射線を同時計数するので、正確に同時計数することができる。その結果、測定や演算を多数繰り返さずに、かつ正確に同時計数することができる。
また、この発明のタイミング補正方法は、被検体内に投与されたポジトロン放射性薬剤から放出される放射線を同時計数するために用いられるタイミング補正方法であって、放射線を同時計数する各検出器の対ごとの時間差変化に対する計数値分布を表す時間差ヒストグラムに関して、同時計数する対象の検出器を2つ選択して、当該選択された2つの検出器のうち、一方の検出器を選択するとともに、他方の検出器とは別の検出器を選択し、その選択を繰り返し行った際に、過去に選択された2つの検出器に関する時間差ヒストグラムを基準として、当該基準に基づいて、今回で選択された2つの検出器に関する時間差ヒストグラムを補正し、当該補正された2つの検出器に関する時間差ヒストグラムを新たに基準とする作業を繰り返し行うヒストグラム補正工程を備えることを特徴とするものである。
この発明のタイミング補正方法によれば、各検出器の対ごとの時間差ヒストグラムに関して、ヒストグラム補正工程では以下の補正を行う。すなわち、同時計数する対象の検出器を2つ選択して、当該選択された2つの検出器のうち、一方の検出器を選択するとともに、他方の検出器とは別の検出器を選択し、その選択を繰り返し行った際に、過去に選択された2つの検出器に関する時間差ヒストグラムを基準として、当該基準に基づいて、今回で選択された2つの検出器に関する時間差ヒストグラムを補正する。そして、当該補正された2つの検出器に関する時間差ヒストグラムを新たに基準とする作業を繰り返し行う。その結果、測定や演算を多数繰り返さずに、かつ正確にタイミング補正を行うことができる。
上述したこれらのポジトロンCT装置およびタイミング補正方法の一例は、上述の基準とした時間差ヒストグラムにおける総計数値が最大となる時間差を基準値とし、上述の基準値に基づいて時間差ヒストグラムの時間差を補正することである。時間差ヒストグラムにおける総計数値が最大となる時間的な箇所は、同時計数が最も起こりうるタイミングである。したがって、そのタイミングである基準値に基づいて時間差ヒストグラムの時間差を補正することで、そのタイミングで揃えることができる。
上述したこれらのポジトロンCT装置およびタイミング補正方法の他の一例は、上述の基準とした時間差ヒストグラムにおける総計数値が最大となる時間差と、総計数値が二番目に大きい時間差との中間値にある時間差を基準値とし、上述の基準値に基づいて時間差ヒストグラムの時間差を補正することである。後述するように、自己放射能を持つシンチレータ素子を検出器が備えた場合に、一方の検出器のシンチレータ素子の自己放射能からの放射線を他方の検出器のシンチレータ素子が最も多く検出したタイミング、および他方の検出器のシンチレータ素子の自己放射能からの放射線を一方の検出器のシンチレータ素子が最も多く検出したタイミングが、総計数値が最大となる時間的な箇所、あるいは総計数値が二番目に大きい時間的な箇所である。このことから、これらのタイミングである2つの時間差の中間値は、同時計数が最も起こりうるタイミングである。したがって、そのタイミングである中間値の基準値に基づいて時間差ヒストグラムの時間差を補正することで、そのタイミングで揃えることができる。
上述の検出器は、単数のシンチレータ素子を備えた構造の他に、複数のシンチレータ素子を備えた構造もある。後者の構造の場合には、複数のシンチレータ素子からなるシンチレータ素子群(すなわち検出器単位)ごとに補正を行ってもよいが、下記のように1つのシンチレータ素子からなるシンチレータ素子単位ごとに補正を行って、精度をより向上させてもよい。
例えば、放射線を同時計数する各検出器の1つのシンチレータ素子からなるシンチレータ素子単位の対ごとの時間差ヒストグラムに関して、以下の演算/補正を行う。すなわち、同時計数する対象の検出器のシンチレータ素子単位を2つ選択して、当該選択された2つのシンチレータ素子単位のうち、一方の検出器のシンチレータ素子単位を選択するとともに、他方の検出器のシンチレータ素子単位とは別のシンチレータ素子単位を選択し、その選択を繰り返し行った際に、過去に選択された2つの検出器のシンチレータ素子単位に関する時間差ヒストグラムを基準として、当該基準に基づいて、今回で選択された2つの検出器のシンチレータ素子単位に関する時間差ヒストグラムを補正する。そして、当該補正された2つの検出器のシンチレータ素子単位に関する時間差ヒストグラムを新たに基準とする作業を繰り返し行う。このようにシンチレータ素子単位ごとに補正を行うので、検出器単位ごとに補正を行うときと比較して精度をより向上させることができる。
また例えば、放射線を同時計数する各検出器のうち、一方の検出器の複数のシンチレータ素子からなるシンチレータ素子群と他方の検出器の1つのシンチレータ素子からなるシンチレータ素子単位との対ごとの時間差ヒストグラムに関して、以下の演算/補正を行う。すなわち、同時計数する対象の検出器のうち、一方の検出器のシンチレータ素子群と他方の検出器のシンチレータ素子単位とを選択して、当該選択されたシンチレータ素子群とシンチレータ素子単位とのうち、当該シンチレータ素子群を選択するとともに、他方の検出器のシンチレータ素子単位とは別のシンチレータ素子単位を選択し、その選択を繰り返し行った際に、過去に選択されたシンチレータ素子群とシンチレータ素子単位とに関する時間差ヒストグラムを基準として、当該基準に基づいて、今回で選択されたシンチレータ素子群とシンチレータ素子単位とに関する時間差ヒストグラムを補正する。そして、当該補正されたシンチレータ素子群とシンチレータ素子単位とに関する時間差ヒストグラムを新たに基準とする作業を繰り返し行う。このようにシンチレータ素子群およびシンチレータ素子単位ごとに補正を行うので、検出器単位ごとに補正を行うときと比較して精度をより向上させることができる。また、シンチレータ素子単位ごとに補正を行うときと比較して演算時間や負担を軽減させることができる。
また、ポジトロンCT装置において、上述の検出器は、各々のシンチレータ素子を放射線の深さ方向に積層して構成されたDOI検出器であってもよい。この発明をDOI検出器に適用することで、例えば上述の特許文献4のように相互作用を起こした深さ方向などの座標情報に対応する検出時刻補正情報が必要な場合に、検出時刻補正情報を求めることができる。
上述したこれらのポジトロンCT装置およびタイミング補正方法では、上述の放射性薬剤と同種の放射線を照射する外部線源、または放射性薬剤と同種の放射線を内部から照射するファントムを備え、上述の時間差ヒストグラムを外部線源またはファントムからの放射線に基づいて取得してもよいし、検出器は、自己放射能を持つシンチレータ素子を備え、上述の時間差ヒストグラムを自己放射能からの放射線に基づいて取得してもよい。
この発明に係るポジトロンCT装置およびタイミング補正方法によれば、同時計数する対象の検出器を2つ選択して、当該選択された2つの検出器のうち、一方の検出器を選択するとともに、他方の検出器とは別の検出器を選択し、その選択を繰り返し行った際に、過去に選択された2つの検出器に関する時間差ヒストグラムを基準として、当該基準に基づいて、今回で選択された2つの検出器に関する時間差ヒストグラムを補正する。そして、当該補正された2つの検出器に関する時間差ヒストグラムを新たに基準とする作業を繰り返し行う。その結果、測定や演算を多数繰り返さずに、かつ正確にタイミング補正を行うことができる。
10 … 同時計数回路
11 … データ収集・制御部
3 … γ線検出器
31 … シンチレータブロック
33 … 光電子増倍管(PMT)
RI … 外部線源
Ph … ファントム
S … 基準検出器、基準シンチレータ素子単位、基準シンチレータ素子群
C … 補正対象検出器、補正対象シンチレータ素子単位
O … 対向検出器
M … 被検体
11 … データ収集・制御部
3 … γ線検出器
31 … シンチレータブロック
33 … 光電子増倍管(PMT)
RI … 外部線源
Ph … ファントム
S … 基準検出器、基準シンチレータ素子単位、基準シンチレータ素子群
C … 補正対象検出器、補正対象シンチレータ素子単位
O … 対向検出器
M … 被検体
以下、図面を参照してこの発明の実施例1を説明する。図1は、実施例1に係るPET(Positron Emission Tomography)装置の側面図およびブロック図であり、図2は、γ線検出器の概略斜視図であり、図3は、PET装置におけるリング状に配置されたγ線検出器の正面図およびそれに関するブロック図である。
後述する実施例2〜4も含めて、本実施例1に係るPET装置は、図1に示すように、被検体Mを載置する天板1を備えている。この天板1は、上下に昇降移動、被検体Mの体軸Zに沿って平行移動するように構成されている。このように構成することで、天板1に載置された被検体Mは、後述するガントリ2の開口部2aを通って、頭部から順に腹部、足部へと走査されて、被検体Mの画像を得る。なお、走査される部位や各部位の走査順序については特に限定されない。
天板1の他に、本実施例1に係るPET装置は、開口部2aを有したガントリ2と、γ線検出器3とを備えている。γ線検出器3は、被検体Mの体軸Z周りを取り囲むようにしてリング状に配置されており、ガントリ2内に埋設されている。γ線検出器3は、この発明における検出器に相当する。
その他にも、本実施例1に係るPET装置は、天板駆動部4とコントローラ5と入力部6と出力部7とメモリ部8と検出器信号処理部9と同時計数回路10とデータ収集・制御部11と再構成処理部12とを備えている。天板駆動部6は、天板1の上述した移動を行うように駆動する機構であって、図示を省略するモータなどで構成されている。同時計数回路10は、この発明における同時計数回路に相当し、データ収集・制御部11は、この発明における演算手段に相当する。
コントローラ5は、本実施例1に係るPET装置を構成する各部分を統括制御する。コントローラ5およびデータ収集・制御部11は、中央演算処理装置(CPU)などで構成されている。
入力部6は、オペレータが入力したデータや命令をコントローラ5に送り込む。入力部6は、マウスやキーボードやジョイスティックやトラックボールやタッチパネルなどに代表されるポインティングデバイスで構成されている。出力部7はモニタなどに代表される表示部やプリンタなどで構成されている。
メモリ部8は、ROM(Read-only Memory)やRAM(Random-Access Memory)などに代表される記憶媒体で構成されている。本実施例1では、同時計数回路10で同時計数された計数値(カウント)や同時計数した2つのγ線検出器3からなる検出器対やLORといった同時計数に関するデータや、再構成処理部12で処理された画像などについてはRAMに書き込んで記憶し、必要に応じてRAMから読み出す。ROMには、各種の核医学診断を含めて撮像を行うためのプログラム等を予め記憶しており、そのプログラムをコントローラ5およびデータ収集・制御部11が実行することでそのプログラムに応じた核医学診断をそれぞれ行う。なお、LOR(Line Of Response)とは、同時計数する2つのγ線検出器3間で結ぶ仮想上の直線のことである。
再構成処理部12は、例えば上述したメモリ部8などに代表される記憶媒体のROMに記憶されたプログラムあるいは入力部6などに代表されるポインティングデバイスで入力された命令をコントローラ5が実行することで実現される。
放射性薬剤が投与された被検体Mから発生したγ線をγ線検出器3のシンチレータブロック31(図2を参照)が光に変換して、変換されたその光をγ線検出器3の光電子増倍管(PMT: Photo Multiplier Tube)33(図2を参照)は増倍させて電気信号に変換する。その電気信号を検出器信号処理部9を介して同時計数回路10に送り込む。
具体的には、被検体Mに放射性薬剤を投与すると、ポジトロン放出型のRIのポジトロンが消滅することにより、2本のγ線が発生する。同時計数回路10は、シンチレータブロック31(図2を参照)の位置とγ線の入射タイミングとをチェックし、被検体Mの両側にある2つのシンチレータブロック31でγ線が同時に入射したときのみ、送り込まれたイベントを適正なデータと判定する。一方のシンチレータブロック31のみにγ線が入射したときには、同時計数回路10は棄却する。つまり、同時計数回路10は、上述した電気信号に基づいて、2つのγ線検出器3においてγ線が同時観測されたことを検出する。
同時計数回路10に送り込まれた電気信号のうち、同時観測(すなわち同時計数)された電気信号を画像情報として判定し、その画像情報をデータ収集・制御部11を介して再構成処理部12に送り込む。再構成処理部12は順投影処理や逆投影処理による画像再構成を行って、被検体Mの画像を求める。画像を、コントローラ5を介して出力部7に送り込む。このようにして、再構成処理部12で得られた画像に基づいて核医学診断を行う。再構成処理部12での画像再構成については、DRAMA法(Dynamic Row-Action Maximum Likelihood Algorithm)などの公知の逐次近似法アルゴリズムを適用する。検出器信号処理部9およびデータ収集・制御部11の具体的な機能については後述する。
γ線検出器3は、図2に示すようにシンチレータブロック31と、そのシンチレータブロック31に対して光学的に結合されたライトガイド32と、そのライトガイド32に対して光学的に結合された光電子増倍管(以下、単に「PMT」と略記する)33とを備えている。シンチレータブロック31を構成する各シンチレータ素子は、γ線の入射に伴って発光することでγ線から光に変換する。この変換によってシンチレータ素子はγ線を検出する。シンチレータ素子において発光した光がシンチレータブロック31で十分に拡散されて、ライトガイド32を介してPMT33に入力される。PMT33は、シンチレータブロック31で変換された光を増倍させて電気信号に変換する。その電気信号は、上述したように検出器信号処理部9を介して同時計数回路10に送り込まれる。シンチレータブロック31は、この発明におけるシンチレータ素子に相当し、PMT33は、この発明における光電変換手段に相当する。
以上をまとめると、図2に示すγ線検出器3は、γ線の入射により蛍光する複数のシンチレータブロック31と、各シンチレータブロック31からの光を光電変換することでγ線を検出するPMT33とを備えている。また、図2に示すγ線検出器3は、各々のシンチレータブロック31をγ線の深さ方向に積層(図2では4層に積層)して構成されたDOI検出器である。
なお、同時計数回路10で同時計数するときには、上述したように各γ線検出器3から同時計数回路10までの信号チャンネルでの信号の時間遅れが生じて同時計数が正確に行えない。そこで、被検体Mを用いた核医学診断よりも前に予め外部線源あるいはファントムを用いて得られた補正用データを、図3に示すように検出器信号処理部9および同時計数回路10を介して、データ収集・制御部11に送り込んで、データ収集・制御部11がデータ収集を行う。そして、その収集された補正用データを検出器信号処理部9のタイミング補正テーブル9bに帰還制御(フィードバック制御)することで、データ収集・制御部11はタイミング補正を行う。
通常の被検体Mを用いた核医学診断での撮像では、放射性薬剤が投与された被検体Mから発生したγ線をγ線検出器3が検出して、検出器信号処理部9、同時計数回路10を経て、データ収集・制御部11を介して、タイミング補正されることなく、再構成処理部12に送り込む。一方、外部線源あるいはファントムを用いたデータ収集では、外部線源あるいはファントムからのγ線をγ線検出器3が検出して、検出器信号処理部9、同時計数回路10を経て、データ収集・制御部11に送り込んで、データ収集・制御部11が検出器信号処理部9のタイミング補正テーブル9bにフィードバック制御してタイミング補正を行って、各々の同時計数回路10での遅延量を調整する。
検出器信号処理部9は、γ線検出器3のPMT33から出力された電気信号に基づいて、γ線入射タイミングを表す信号(以下、「タイムスタンプ」とも呼ぶ)を作成するタイミング信号作成回路9aと、上述のタイミング補正テーブル9bとを備えている。上述したように、各々のγ線検出器3はリング状に配置されており、各γ線検出器3は検出器信号処理部9のタイミング信号作成回路9aに接続されている(図3では、タイミング信号作成回路9aを2つのみ図示)。タイミング信号作成回路9aはタイミング補正テーブル9bに接続され、タイミング補正テーブル9bは同時計数回路10に接続されている。同時計数回路10に接続されたデータ収集・制御部11をタイミング補正テーブル9bに接続することで、データ収集・制御部11はタイミング補正テーブル9bにフィードバック制御する。
次に、タイミング補正について、図4〜図8を参照して説明する。図4は、一連のタイミング補正方法の流れを示すフローチャートであり、図5は、外部線源あるいはファントムを設置したときのγ線検出器の正面図であり、図6は、時間差ヒストグラムの説明図であり、図7は、基準検出器と補正対象検出器との切り替えの一実施態様を示す正面図であり、図8は、図7とは別の実施態様で、基準検出器と補正対象検出器との切り替えの一実施態様を示す正面図である。
(ステップS1)補正用データの測定
図5(a)に示すように、放射性薬剤、すなわち放射性同位元素(RI)と同種の放射線(本実施例1ではγ線)を照射する外部線源RIをPET装置の視野内に設置する。好ましくは、外部線源RIを視野内の中央領域に設置することで、約180°対向した2つのγ線検出器3が外部線源RIからの放射線をほぼ同時に検出することができ、各γ線検出器3から同時計数回路10までの信号チャンネルでの信号の時間遅れのみがタイミング補正の対象となる。したがって、タイミング補正を行うのみでγ線が同時計数回路10に到達するタイミングを一致させることができる。なお、外部線源RI以外にも、図5(b)に示すように、放射性薬剤と同種の放射線を内部から照射するファントムPhをPET装置の視野内に設置してもよい。ファントムPhを設置する場合においても、好ましくは視野内の中央領域に設置する。外部線源RIは、この発明における外部線源に相当し、ファントムPhは、この発明におけるファントムに相当する。
図5(a)に示すように、放射性薬剤、すなわち放射性同位元素(RI)と同種の放射線(本実施例1ではγ線)を照射する外部線源RIをPET装置の視野内に設置する。好ましくは、外部線源RIを視野内の中央領域に設置することで、約180°対向した2つのγ線検出器3が外部線源RIからの放射線をほぼ同時に検出することができ、各γ線検出器3から同時計数回路10までの信号チャンネルでの信号の時間遅れのみがタイミング補正の対象となる。したがって、タイミング補正を行うのみでγ線が同時計数回路10に到達するタイミングを一致させることができる。なお、外部線源RI以外にも、図5(b)に示すように、放射性薬剤と同種の放射線を内部から照射するファントムPhをPET装置の視野内に設置してもよい。ファントムPhを設置する場合においても、好ましくは視野内の中央領域に設置する。外部線源RIは、この発明における外部線源に相当し、ファントムPhは、この発明におけるファントムに相当する。
外部線源RIまたはファントムPhからの放射線をγ線検出器3が検出して補正用データとして取得し、検出器信号処理部9を介して同時計数回路10に送り込む。図5に示すように全てのγ線検出器3で補正用データを測定して取得する。
(ステップS2)時間差ヒストグラムの作成
ステップS1で測定された補正用データに基づいて、放射線を同時計数する各γ線検出器3の対ごとに時間差ヒストグラムを作成する。図6に示すように、時間差ヒストグラムは、各γ線検出器3の対ごとにタイムスタンプの差分(すなわち時間差)(図6では「Difference Time」で表記)を横軸にとり、計数値(図6では「Event Counts」で表記)を縦軸にとったときの時間差変化に対する計数値分布である。
ステップS1で測定された補正用データに基づいて、放射線を同時計数する各γ線検出器3の対ごとに時間差ヒストグラムを作成する。図6に示すように、時間差ヒストグラムは、各γ線検出器3の対ごとにタイムスタンプの差分(すなわち時間差)(図6では「Difference Time」で表記)を横軸にとり、計数値(図6では「Event Counts」で表記)を縦軸にとったときの時間差変化に対する計数値分布である。
外部線源RIやファントムPhを視野の中央領域に設置すると、時間差ヒストグラムは、図6(a)に示すように“0”を中心とした度数分布として得られる。しかし、時間遅れによるズレがある場合には、時間差ヒストグラムは、図6(b)の実線に示すように左右にシフトする。そこで、時間差ヒストグラムを、図6(b)の実線から点線に示す“0”を中心とした度数分布に戻すようなシフト量を補正量と考える。
(ステップS3)基準検出器・補正対象検出器の設定
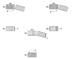
次に、基準検出器と補正対象検出器とをそれぞれ設定する。図7(a)に示すように、1つのγ線検出器3を基準として設定し、その基準として設定されたγ線検出器3(図7(a)の黒塗りを参照)を基準検出器Sとする。この基準検出器Sから見たPET装置の視野内になるそれぞれのγ線検出器3対を補正対象として設定し、その補正対象として設定されたγ線検出器3を補正対象検出器Cとする。
次に、基準検出器と補正対象検出器とをそれぞれ設定する。図7(a)に示すように、1つのγ線検出器3を基準として設定し、その基準として設定されたγ線検出器3(図7(a)の黒塗りを参照)を基準検出器Sとする。この基準検出器Sから見たPET装置の視野内になるそれぞれのγ線検出器3対を補正対象として設定し、その補正対象として設定されたγ線検出器3を補正対象検出器Cとする。
この補正対象検出器Cのうち、基準検出器Sに対して約180°対向したγ線検出器3を選択する。基準検出器Sを「1」番目のγ線検出器3として、時計回りに連番を付すると、図7に示すように全部で120個のγ線検出器3の場合には「61」番目のγ線検出器3が、基準検出器Sに180°対向したγ線検出器3となる。なお、全部で奇数個のγ線検出器の場合には180°対向したγ線検出器3が選択できないので、約180°対向したγ線検出器3を選択すればよい。基準検出器Sに対して約180°対向したγ線検出器3(図7(a)の灰色を参照)を対向検出器Oとする
このように同時計数する対象のγ線検出器3を2つ選択する場合に、図7に示す実施態様では、「1」番目のγ線検出器3である基準検出器Sと、それに180°対向した「61」番目のγ線検出器3(対向検出器O)とを選択する。当該選択された「1」番目のγ線検出器3である基準検出器Sと、それに180°対向した「61」番目のγ線検出器3(対向検出器O)とに関する時間差ヒストグラムを基準とする。この基準とした時間差ヒストグラムを、図6(a)に示すように“0”を中心とした度数分布とする。したがって、基準とした時間差ヒストグラムにおける総計数値が最大となる時間差を“0”として、この時間差“0”を基準値とする。
(ステップS4)補正対象となる時間差ヒストグラムの抽出
ステップS3で選択された基準検出器Sおよび対向検出器Oからなる2つのγ線検出器3のうち、一方のγ線検出器3として基準検出器Sを選択するとともに、他方のγ線検出器3である対向検出器Oとは別の補正対象検出器Cを選択する。つまり、対向検出器O以外の補正対象検出器Cと基準検出器Sとをそれぞれ選択して、補正対象となる時間差ヒストグラムを抽出する。図7(a)に示す場合には、ステップS3において「61」番目のγ線検出器3(対向検出器O)も含めて補正対象検出器Cは「49」番目〜「73」番目の合計25個のγ線検出器3であって、「1」番目のγ線検出器3である基準検出器Sと、「61」番目のγ線検出器3(対向検出器O)以外の「49」番目〜「60」番目および「62」番目〜「73」番目の各々の補正対象検出器Cとに関する時間差ヒストグラムを、今回で選択された2つのγ線検出器3に関する時間差ヒストグラムとして抽出する。
ステップS3で選択された基準検出器Sおよび対向検出器Oからなる2つのγ線検出器3のうち、一方のγ線検出器3として基準検出器Sを選択するとともに、他方のγ線検出器3である対向検出器Oとは別の補正対象検出器Cを選択する。つまり、対向検出器O以外の補正対象検出器Cと基準検出器Sとをそれぞれ選択して、補正対象となる時間差ヒストグラムを抽出する。図7(a)に示す場合には、ステップS3において「61」番目のγ線検出器3(対向検出器O)も含めて補正対象検出器Cは「49」番目〜「73」番目の合計25個のγ線検出器3であって、「1」番目のγ線検出器3である基準検出器Sと、「61」番目のγ線検出器3(対向検出器O)以外の「49」番目〜「60」番目および「62」番目〜「73」番目の各々の補正対象検出器Cとに関する時間差ヒストグラムを、今回で選択された2つのγ線検出器3に関する時間差ヒストグラムとして抽出する。
(ステップS5)補正量の算出
対向検出器O以外の補正対象検出器Cと基準検出器Sとに関する時間差ヒストグラムは、基準とした時間差ヒストグラムに対してズレが生じ、上述したように図6(b)の実線に示すように左右にシフトする。そこで、ステップS4において今回で選択された2つのγ線検出器3に関する時間差ヒストグラムを、図6(b)の実線から点線に示す“0”を中心とした度数分布に戻すようなシフト量を補正量としてデータ収集・制御部11は求める。
対向検出器O以外の補正対象検出器Cと基準検出器Sとに関する時間差ヒストグラムは、基準とした時間差ヒストグラムに対してズレが生じ、上述したように図6(b)の実線に示すように左右にシフトする。そこで、ステップS4において今回で選択された2つのγ線検出器3に関する時間差ヒストグラムを、図6(b)の実線から点線に示す“0”を中心とした度数分布に戻すようなシフト量を補正量としてデータ収集・制御部11は求める。
(ステップS6)全ての検出器の補正量の算出完了?
全てのγ線検出器3の補正量の算出が完了したか否かを判定する。完了していない場合には、ステップS7に進み、完了した場合には、ステップS8に進む。
全てのγ線検出器3の補正量の算出が完了したか否かを判定する。完了していない場合には、ステップS7に進み、完了した場合には、ステップS8に進む。
(ステップS7)補正量の適用
ステップS5で求められた補正量を適用して、今回で選択された2つのγ線検出器3に関する時間差ヒストグラムを補正量の分だけ“0”を中心とした度数分布に戻すようにシフトさせて、当該時間差ヒストグラムをそれぞれ補正する。つまり、基準値である時間差“0”に基づいて当該時間差ヒストグラムをそれぞれ補正する。図7(a)に示す場合には、「1」番目のγ線検出器3である基準検出器Sと、「49」番目〜「60」番目および「62」番目〜「73」番目の各々の補正対象検出器Cとに関する時間差ヒストグラムを、過去に選択された「1」番目のγ線検出器3である基準検出器Sと、それに180°対向した「61」番目のγ線検出器3(対向検出器O)とに関する時間差ヒストグラムに基づいて補正する。
ステップS5で求められた補正量を適用して、今回で選択された2つのγ線検出器3に関する時間差ヒストグラムを補正量の分だけ“0”を中心とした度数分布に戻すようにシフトさせて、当該時間差ヒストグラムをそれぞれ補正する。つまり、基準値である時間差“0”に基づいて当該時間差ヒストグラムをそれぞれ補正する。図7(a)に示す場合には、「1」番目のγ線検出器3である基準検出器Sと、「49」番目〜「60」番目および「62」番目〜「73」番目の各々の補正対象検出器Cとに関する時間差ヒストグラムを、過去に選択された「1」番目のγ線検出器3である基準検出器Sと、それに180°対向した「61」番目のγ線検出器3(対向検出器O)とに関する時間差ヒストグラムに基づいて補正する。
ステップS7で補正量を適用して補正を行ったら、ステップS3に戻って、ステップS7で補正された2つのγ線検出器3を新たに基準とする作業を行う。例えば、図7(a)に示す場合には、補正された「49」番目〜「60」番目および「62」番目〜「73」番目の各々の補正対象検出器Cのうち、補正対象検出器Cの両端にある「49」番目および「73」番目のγ線検出器3(図7(a)の斜線を参照)を新たに基準とする。
そして、ステップS3で、図7(b)に示すように、「49」番目のγ線検出器3および「73」番目のγ線検出器3(図7(b)の黒塗りを参照)を基準検出器Sとする。図7(a)と同様に、各々の基準検出器Sから見たPET装置の視野内になるそれぞれのγ線検出器3対を補正対象として設定し、その補正対象として設定されたγ線検出器3を補正対象検出器Cとする。ここでは、補正対象検出器Cは、「49」番目のγ線検出器3である基準検出器Sに対しては「97」番目〜「120」番目の合計24個のγ線検出器3であって、「73」番目のγ線検出器3である基準検出器Sに対しては「2」番目〜「25」番目の合計24個のγ線検出器3である。
「49」番目のγ線検出器3である基準検出器Sと、それに180°対向した「109」番目のγ線検出器3(対向検出器O)(図7(b)の灰色を参照)とを選択するとともに、「73」番目のγ線検出器3である基準検出器Sと、それに180°対向した「13」番目のγ線検出器3(対向検出器O)(図7(b)の灰色を参照)とを選択する。
図7(a)と同様に、ステップS4で「49」番目のγ線検出器3である基準検出器Sと、「109」番目のγ線検出器3(対向検出器O)以外の「97」番目〜「108」番目および「110」番目〜「120」番目の各々の補正対象検出器Cとに関する時間差ヒストグラムを、今回で選択された2つのγ線検出器3に関する時間差ヒストグラムとして抽出する。また、ステップS4で「73」番目のγ線検出器3である基準検出器Sと、「13」番目のγ線検出器3(対向検出器O)以外の「2」番目〜「12」番目および「14」番目〜「25」番目の各々の補正対象検出器Cとに関する時間差ヒストグラムを、今回で選択された2つのγ線検出器3に関する時間差ヒストグラムとして抽出する。
図7(a)と同様に、ステップS5で補正量を求め、ステップS6で補正量の算出完了の判定を行い、完了していない場合には、ステップS7に進む。そして、ステップS7で補正量を適用して補正を行い、ステップS3に戻って、ステップS7で補正された2つのγ線検出器3を新たに基準とする作業を行う。例えば、図7(b)に示す場合には、補正された各々の補正対象検出器Cのうち、補正対象検出器Cの合計4つの両端(図7(b)の斜線を参照)のうちの下側にある「25」番目および「97」番目のγ線検出器3を新たに基準とする。
そして、ステップS3で、図7(c)に示すように、「25」番目のγ線検出器3および「97」番目のγ線検出器3(図7(c)の黒塗りを参照)を基準検出器Sとする。各々の基準検出器Sから見たPET装置の視野内になるそれぞれのγ線検出器3対を補正対象として設定し、その補正対象として設定されたγ線検出器3を補正対象検出器Cとする。ここでは、補正対象検出器Cは、「25」番目のγ線検出器3である基準検出器Sに対しては「74」番目〜「96」番目の合計23個のγ線検出器3であって、「97」番目のγ線検出器3である基準検出器Sに対しては「26」番目〜「48」番目の合計23個のγ線検出器3である。
「25」番目のγ線検出器3である基準検出器Sと、それに180°対向した「85」番目のγ線検出器3(対向検出器O)(図7(c)の灰色を参照)とを選択するとともに、「97」番目のγ線検出器3である基準検出器Sと、それに180°対向した「37」番目のγ線検出器3(対向検出器O)(図7(c)の灰色を参照)とを選択する。
ステップS4で「25」番目のγ線検出器3である基準検出器Sと、「85」番目のγ線検出器3(対向検出器O)以外の「74」番目〜「84」番目および「86」番目〜「96」番目の各々の補正対象検出器Cとに関する時間差ヒストグラムを、今回で選択された2つのγ線検出器3に関する時間差ヒストグラムとして抽出する。また、ステップS4で「97」番目のγ線検出器3である基準検出器Sと、「37」番目のγ線検出器3(対向検出器O)以外の「26」番目〜「36」番目および「38」番目〜「48」番目の各々の補正対象検出器Cとに関する時間差ヒストグラムを、今回で選択された2つのγ線検出器3に関する時間差ヒストグラムとして抽出する。
ステップS5で補正量を求め、ステップS6で補正量の算出完了の判定を行い、完了していない場合には、ステップS7に進む。そして、ステップS7で補正量を適用して補正を行い、ステップS3に戻る。この3回目のステップS6、S7、S3〜S5の繰り返しループにより、「1」番目から「120」番目までの全てのγ線検出器3の補正量の算出が完了し、ステップS6において完了したと判断する。そして、ステップS8に進む。上述したこれらのステップS3〜S6は、この発明におけるヒストグラム補正工程に相当する。
(ステップS8)タイミング補正テーブルの設定
これらのステップS3〜S6(図7の実施形態の場合には3回の繰り返しループ)で求められた補正量を、データ収集・制御部11から検出器信号処理部9のタイミング補正テーブル9bに書き込むことで、タイミング補正テーブルを設定する。この設定された補正量を、通常の被検体Mを用いた核医学診断での撮像に適用することで、タイミング調整を高精度に行うことが可能となり、上述の撮像を行うときに画質の優れた画像を取得することができる。
これらのステップS3〜S6(図7の実施形態の場合には3回の繰り返しループ)で求められた補正量を、データ収集・制御部11から検出器信号処理部9のタイミング補正テーブル9bに書き込むことで、タイミング補正テーブルを設定する。この設定された補正量を、通常の被検体Mを用いた核医学診断での撮像に適用することで、タイミング調整を高精度に行うことが可能となり、上述の撮像を行うときに画質の優れた画像を取得することができる。
図7の実施形態では、全部で120個のγ線検出器3の場合であったが、γ線検出器の数については特に限定されない。例えば、全部で88個のγ線検出器3のときの基準検出器S・補正対象検出器Oの設定について概略を述べると、1回目のループでは、補正対象検出器Cは、「1」番目のγ線検出器3である基準検出器Sに対しては「36」番目〜「54」番目(対向検出器Oは「45」番目)の合計19個のγ線検出器3である。補正を行った後に補正対象検出器Cの両端にある「36」番目および「54」番目のγ線検出器3を新たに基準とする。
2回目のループでは、補正対象検出器Cは、「36」番目のγ線検出器3である基準検出器Sに対しては「71」番目〜「88」番目(対向検出器Oは「80」番目)の合計18個のγ線検出器3であって、「54」番目のγ線検出器3である基準検出器Sに対しては「2」番目〜「19」番目(対向検出器Oは「10」番目)である。補正を行った後に補正対象検出器Cの合計4つの両端のうちの下側にある「19」番目および「71」番目のγ線検出器3を新たに基準とする。
3回目のループでは、補正対象検出器Cは、「19」番目のγ線検出器3である基準検出器Sに対しては「55」番目〜「70」番目(対向検出器Oは「63」番目)の合計16個のγ線検出器3であって、「71」番目のγ線検出器3である基準検出器Sに対しては「20」番目〜「35」番目(対向検出器Oは「27」番目)である。
このように、全部で88個のγ線検出器3においても、3回目のステップS6、S7、S3〜S5の繰り返しループにより、「1」番目から「88」番目までの全てのγ線検出器3の補正量の算出が完了する。
また図7の実施形態では、ステップS6、S7、S3〜S5のループ回数は3回であったが、ループ回数についても特に限定されない。例えば、図8の実施形態における基準検出器S・補正対象検出器Oの設定について概略を述べると、1回目のループでは、図8(a)に示すように「1」番目のγ線検出器3である基準検出器Sと、それに180°対向した「61」番目のγ線検出器3(対向検出器O)を選択し、対向検出器Oに隣接した両隣の「60」番目および「62」番目のγ線検出器3を補正対象検出器Cとする。
そして、当該選択された「1」番目のγ線検出器3である基準検出器Sと、それに180°対向した「61」番目のγ線検出器3(対向検出器O)とに関する時間差ヒストグラムを基準とする。当該選択された「1」番目のγ線検出器3である基準検出器Sおよび「61」番目のγ線検出器3(対向検出器O)からなる2つのγ線検出器3のうち、一方のγ線検出器3として基準検出器Sを選択するとともに、他方のγ線検出器3である対向検出器Oとは別の上述の「60」番目および「62」番目の補正対象検出器Cを選択する。
過去に選択された「1」番目のγ線検出器3である基準検出器Sと、それに180°対向した「61」番目のγ線検出器3(対向検出器O)とに関する時間差ヒストグラムに基づいて、今回で選択された「1」番目のγ線検出器3である基準検出器Sと「60」番目の補正対象検出器Cとに関する時間差ヒストグラムを補正するとともに、同じく今回で選択された「1」番目のγ線検出器3である基準検出器Sと「62」番目の補正対象検出器Cとに関する時間差ヒストグラムを補正する。補正を行った後に補正対象検出器Cの「60」番目のγ線検出器3および「62」番目のγ線検出器3を新たに基準とする。
2回目のループでは、図8(b)に示すように、補正対象検出器Cは、「60」番目のγ線検出器3である基準検出器Sに対しては「120」番目の対向検出器Oに隣接した「119」番目のγ線検出器3であって、「62」番目のγ線検出器3である基準検出器Sに対しては「2」番目の対向検出器Oの隣接した「3」番目のγ線検出器3である。なお、「120」番目の対向検出器Oに隣接し、「2」番目の対向検出器Oの隣接した「1」番目のγ線検出器3については既に選択されているので除外する。補正を行った後に補正対象検出器Cの「3」番目および「119」番目のγ線検出器3を新たに基準とする。
3回目のループでは、図8(c)に示すように、補正対象検出器Cは、「3」番目のγ線検出器3である基準検出器Sに対しては「63」番目の対向検出器Oに隣接した「64」番目のγ線検出器3であって、「119」番目のγ線検出器3である基準検出器Sに対しては「59」番目の対向検出器Oに隣接した「58」番目のγ線検出器3である。なお、「59」番目の対向検出器Oに隣接した「60」番目のγ線検出器3、および「63」番目の対向検出器Oに隣接した「62」番目のγ線検出器3については既に選択されているので除外する。補正を行った後に補正対象検出器Cの「58」番目および「64」番目のγ線検出器3を新たに基準とする。
以下、「1」番目から「120」番目までの全てのγ線検出器3の補正量の算出が完了するまで、ステップS6、S7、S3〜S5の繰り返しループを行う。
なお、図4に示す一連のタイミング補正については、各チャンネルの時間遅れの経年変化に応じて定期的に行うのが好ましい。さらに、補正テーブルをファイル化して、データ収集・制御部11の記憶媒体あるいは上述のメモリ部8に書き込んで記憶し、PET装置の電源をオフして再度オンにして立ち上げるときに、記憶媒体あるいはメモリ部8から読み出してタイミング補正テーブル9bに再度書き込むようにするのが好ましい。
上述の構成を備えた本実施例1に係るPET装置およびタイミング補正方法によれば、放射線(本実施例1ではγ線)を同時計数する各γ線検出器3の対ごとの時間差変化に対する計数値分布を表す時間差ヒストグラムに関して、データ収集・制御部11は、以下の補正演算をステップS3〜S6では行う。すなわち、同時計数する対象のγ線検出器3を2つ選択して(図7(a)の場合には、「1」番目の基準検出器Sと、それに180°対向した「61」番目の対向検出器O)、当該選択された2つのγ線検出器3のうち、一方の検出器である基準検出器Sを選択するとともに、他方の対向検出器Oとは別のγ線検出器3(図7(a)の場合には、「49」番目〜「60」番目および「62」番目〜「73」番目の補正対象検出器C)を選択し、その選択を繰り返し行った際に、過去に選択された2つのγ線検出器3(図7(a)の場合には、「1」番目の基準検出器Sと、それに180°対向した「61」番目の対向検出器O)に関する時間差ヒストグラムを基準として、当該基準に基づいて、今回で選択された2つのγ線検出器3に関する時間差ヒストグラムを補正する。そして、当該補正された2つのγ線検出器3に関する時間差ヒストグラムを新たに基準とする作業を繰り返し行う(図4のステップS6、S7、S3〜S5の繰り返しループを参照)。
このように、過去に選択された2つのγ線検出器3に関する時間差ヒストグラムを基準として、当該基準に基づいて、今回で選択された2つのγ線検出器3に関する時間差ヒストグラムを補正し、当該補正された2つのγ線検出器3に関する時間差ヒストグラムを新たに基準とする作業を繰り返し行うことで、例えば上述した特許文献2のように複数の検出器のタイミング値を平均した場合よりも、最適な時間差ヒストグラムを求める際に収束性がよい。したがって、測定や演算を多数繰り返さずに最適な時間差ヒストグラムを求めることができる。
また、上述の繰り返し補正された各γ線検出器3の対ごとの時間差ヒストグラムに基づいて、同時計数回路10は放射線(本実施例1ではγ線)を同時計数するので、正確に同時計数することができる。その結果、測定や演算を多数繰り返さずに、かつ正確に同時計数やタイミング補正を行うことができる。
本実施例1では、上述の基準とした時間差ヒストグラムにおける総計数値が最大となる時間差を基準値とし、上述の基準値に基づいて時間差ヒストグラムの時間差を補正している。時間差ヒストグラムにおける総計数値が最大となる時間的な箇所は、同時計数が最も起こりうるタイミングである。したがって、そのタイミングである基準値に基づいて時間差ヒストグラムの時間差を補正することで、そのタイミングで揃えることができる。
本実施例1では、複数のシンチレータ素子(シンチレータブロック31)からなるシンチレータ素子群(すなわち検出器単位)ごとに補正を行っている。また、本実施例1のγ線検出器3は、各々のシンチレータブロック31をγ線の深さ方向に積層して構成されたDOI検出器である。本実施例1のようにこの発明をDOI検出器に適用することで、例えば上述の特許文献4のように相互作用を起こした深さ方向などの座標情報に対応する検出時刻補正情報が必要な場合に、検出時刻補正情報を求めることができる。すなわち、図4に示す一連のタイミング補正を行った後に、深さ方向の光源位置を重心演算により特定して、深さ方向などの座標情報に対応する検出時刻補正情報を求める。
本実施例1では、放射性薬剤と同種の放射線を照射する外部線源RI、または放射性薬剤と同種の放射線を内部から照射するファントムPhを備え、上述の時間差ヒストグラムを外部線源RIまたはファントムPhからの放射線に基づいて取得している。
次に、図面を参照してこの発明の実施例2を説明する。図9は、基準シンチレータ素子単位と補正対象シンチレータ素子単位との切り替えの一実施態様を示す正面図である。後述する実施例3、4も含めて、本実施例2に係るPET装置は、図1に示すブロック図である。また、上述した実施例1と共通する箇所については同じ符号を付して、その説明を省略する。
上述した実施例1では、複数のシンチレータ素子(シンチレータブロック31)からなるシンチレータ素子群(すなわち検出器単位)ごとに補正を行っているが、後述する実施例3も含めて、本実施例2では、下記のように1つのシンチレータ素子からなるシンチレータ素子単位ごとに補正を行って、精度をより向上させている。なお、図9ではシンチレータブロック31のみを図示し、その他の構造(ライトガイド32やPMT33)については図示を省略する。
同時計数するγ線検出器の基準シンチレータ素子単位と補正対象シンチレータ素子単位とをそれぞれ設定する。図9(a)に示すように、あるγ線検出器の1つのシンチレータブロック31を基準として設定し、その基準として設定された1つのシンチレータブロック31を基準シンチレータ素子単位Sとする。基準シンチレータ素子単位Sとは別のγ線検出器の1つのシンチレータブロック31を補正対象として設定し、その補正対象として設定された1つのシンチレータブロック31を補正対象シンチレータ素子単位Cとする。具体的なタイミング補正については、実施例1の検出器単位から、実施例2ではシンチレータ素子単位に変更されたのを除けば、同じ手法であるので、その説明を省略する。
補正後の補正対象シンチレータ素子単位Cを新たに基準として、図9(b)に示すように、基準シンチレータ素子単位Sとする。基準シンチレータ素子単位Sとは別のγ線検出器の1つのシンチレータブロック31を補正対象として設定し、その補正対象として設定された1つのシンチレータブロック31を補正対象シンチレータ素子単位Cとする。
そして、補正後の補正対象シンチレータ素子単位Cを新たに基準として、図9(c)に示すように、基準シンチレータ素子単位Sとする。基準シンチレータ素子単位Sとは別のγ線検出器の1つのシンチレータブロック31を補正対象として設定し、その補正対象として設定された1つのシンチレータブロック31を補正対象シンチレータ素子単位Cとする。このように、他の検出器のシンチレータ素子単位においても、タイミング補正を同様に行う。
上述の構成を備えた本実施例2に係るPET装置およびタイミング補正方法によれば、同時計数する対象のγ線検出器のシンチレータ素子単位を2つ選択して、当該選択された2つのシンチレータ素子単位のうち、一方のγ線検出器のシンチレータ素子単位(図9の場合には基準シンチレータ素子単位S)を選択するとともに、他方のγ線検出器のシンチレータ素子単位とは別のシンチレータ素子単位(図9の場合には補正対象シンチレータ素子単位C)を選択し、その選択を繰り返し行った際に、過去に選択された2つのγ線検出器のシンチレータ素子単位に関する時間差ヒストグラムを基準として、当該基準に基づいて、今回で選択された2つのγ線検出器のシンチレータ素子単位に関する時間差ヒストグラムを補正する。そして、当該補正された2つのγ線検出器のシンチレータ素子単位に関する時間差ヒストグラムを新たに基準とする作業を繰り返し行う。このようにシンチレータ素子単位ごとに補正を行うので、上述した実施例1のように検出器単位ごとに補正を行うときと比較して精度をより向上させることができる。
次に、図面を参照してこの発明の実施例3を説明する。図10は、基準シンチレータ素子群と補正対象シンチレータ素子単位との切り替えの一実施態様を示す正面図である。後述する実施例4も含めて、本実施例3に係るPET装置は、図1に示すブロック図である。また、上述した実施例1、2と共通する箇所については同じ符号を付して、その説明を省略する。
上述した実施例1では、複数のシンチレータ素子(シンチレータブロック31)からなるシンチレータ素子群(すなわち検出器単位)ごとに補正を行っているが、上述した実施例2と同様に、本実施例3では、下記のように1つのシンチレータ素子からなるシンチレータ素子単位ごとに補正を行って、精度をより向上させている。なお、実施例2の図9と同様に図10ではシンチレータブロック31のみを図示し、その他の構造(ライトガイド32やPMT33)については図示を省略する。
同時計数するγ線検出器の基準シンチレータ素子群と補正対象シンチレータ素子単位とをそれぞれ設定する。図10(a)に示すように、あるγ線検出器の複数のシンチレータブロック31を基準として設定し、その基準として設定された複数のシンチレータブロック31を基準シンチレータ素子群Sとする。基準シンチレータ素子群Sとは別のγ線検出器の1つのシンチレータブロック31を補正対象として設定し、その補正対象として設定された1つのシンチレータブロック31を補正対象シンチレータ素子単位Cとする。具体的なタイミング補正については、実施例1の検出器単位から、実施例3ではシンチレータ素子単位に変更されたのを除けば、同じ手法であるので、その説明を省略する。
補正対象シンチレータ素子単位Cが属するγ線検出器において、全てのシンチレータ素子単位の補正量の算出が完了するまでは、図10(b)に示すように、先に選択された基準シンチレータ素子群Sを基準とする。図10(a)に示す補正対象シンチレータ素子単位Cとは別のシンチレータブロック31を補正対象として設定し、その補正対象として設定された1つのシンチレータブロック31を補正対象シンチレータ素子単位Cとする。
補正対象シンチレータ素子単位Cが属するγ線検出器において、全てのシンチレータ素子単位の補正量の算出が完了したら、補正後の補正対象シンチレータ素子単位Cの全個数を1つにまとめて新たに基準として、図10(c)に示すように、基準シンチレータ素子群Sとする。基準シンチレータ素子単位Sとは別のγ線検出器(図9では、図9(a)および図9(b)での基準シンチレータ素子群Sのγ線検出器に隣接するγ線検出器)の1つのシンチレータブロック31を補正対象として設定し、その補正対象として設定された1つのシンチレータブロック31を補正対象シンチレータ素子単位Cとする。このように、他の検出器のシンチレータ素子単位においても、タイミング補正を同様に行う。
上述の構成を備えた本実施例3に係るPET装置およびタイミング補正方法によれば、同時計数する対象のγ線検出器のうち、一方のγ線検出器のシンチレータ素子群(図10の場合には基準シンチレータ素子群S)と他方のγ線検出器のシンチレータ素子単位(図10の場合には補正対象シンチレータ素子単位C)とを選択して、当該選択されたシンチレータ素子群とシンチレータ素子単位とのうち、当該シンチレータ素子群を選択するとともに、他方のγ線検出器のシンチレータ素子単位とは別のシンチレータ素子単位を選択し、その選択を繰り返し行った際に、過去に選択されたシンチレータ素子群とシンチレータ素子単位とに関する時間差ヒストグラムを基準として、当該基準に基づいて、今回で選択されたシンチレータ素子群とシンチレータ素子単位とに関する時間差ヒストグラムを補正する。そして、当該補正されたシンチレータ素子群とシンチレータ素子単位とに関する時間差ヒストグラムを新たに基準とする作業を繰り返し行う。このようにシンチレータ素子群およびシンチレータ素子単位ごとに補正を行うので、上述した実施例1のように検出器単位ごとに補正を行うときと比較して精度をより向上させることができる。また、上述した実施例2のようにシンチレータ素子単位ごとに補正を行うときと比較して演算時間や負担を軽減させることができる。
次に、図面を参照してこの発明の実施例4を説明する。図11は、自己放射能を持つシンチレータ素子のときの時間差ヒストグラムの説明図である。本実施例4に係るPET装置は、図1に示すブロック図である。また、上述した実施例1〜3と共通する箇所については同じ符号を付して、その説明を省略する。
上述した実施例1と相違して、本実施例4では、シンチレータブロックは、Lu−176などに代表される自己放射能(複数の放射線を同時に放出する元素)あるいは自己放射能が添加された物質(例えばLuを含むLYSO)で構成されている。すなわち、シンチレータブロックは、自己放射能を持つシンチレータ素子であって、検出器は、自己放射能を持つシンチレータ素子を備えている。なお、自己放射能が添加された物質からなる薄膜状のテープを、自己放射能を持たない結晶素子(例えばGSO)に貼り付けてシンチレータブロックを構成してもよいし、自己放射能が添加された物質からなる塗布剤を、自己放射能を持たない結晶素子に貼り付けてシンチレータブロックを構成してもよい。
自己放射能を持つシンチレータ素子は、αまたはβ−崩壊を起こし、そのαまたはβ−崩壊に伴ったγ線を放出する核種を含んでいる。図11では、時間差ヒストグラムを自己放射能からの放射線(ここではγ線)に基づいて取得している。
上述の実施例1の図6と同様に、図11に示すように、時間差ヒストグラムは、各検出器3の対ごとにタイムスタンプの差分(すなわち時間差)(図11では「Difference Time」で表記)を横軸にとり、計数値(図11では「Event Counts」で表記)を縦軸にとったときの時間差変化に対する計数値分布である。
自己放射能を持つシンチレータ素子のときには、時間差ヒストグラムは、図11(a)に示すように総計数値が最大となる時間的な箇所および総計数値が二番目に大きい時間的な箇所とが現れる。したがって、本実施例4では、基準とした時間差ヒストグラムにおける総計数値が最大となる時間差と、総計数値が二番目に大きい時間差との中間値にある時間差を基準値とする。この基準値を“0”とする。補正の対象となる時間差ヒストグラムは、基準とした時間差ヒストグラムに対してズレが生じ、図11(b)の実線に示すように左右にシフトする。そこで、補正の対象となる時間差ヒストグラムを、図11(b)の実線から点線に示す“0”を基準値に戻すようなシフト量を補正量として求める。そして、この補正量を適用することで、時間差ヒストグラムを補正する。
上述の構成を備えた本実施例4に係るPET装置およびタイミング補正方法によれば、基準とした時間差ヒストグラムにおける総計数値が最大となる時間差と、総計数値が二番目に大きい時間差との中間値にある時間差を基準値とし、上述の基準値に基づいて時間差ヒストグラムの時間差を補正している。
本実施例4のように、自己放射能を持つシンチレータ素子を検出器が備えた場合に、一方の検出器のシンチレータ素子の自己放射能からの放射線を他方の検出器のシンチレータ素子が最も多く検出したタイミング、および他方の検出器のシンチレータ素子の自己放射能からの放射線を一方の検出器のシンチレータ素子が最も多く検出したタイミングが、総計数値が最大となる時間的な箇所、あるいは総計数値が二番目に大きい時間的な箇所である。このことから、これらのタイミングである2つの時間差の中間値は、同時計数が最も起こりうるタイミングである。したがって、そのタイミングである中間値の基準値に基づいて時間差ヒストグラムの時間差を補正することで、そのタイミングで揃えることができる。
この発明は、上記実施形態に限られることはなく、下記のように変形実施することができる。
(1)上述した各実施例では、ポジトロンCT装置(PET装置)単独であったが、PET装置とCT装置とを組み合わせたPET−CT装置にも適用することができる。
(2)上述した各実施例では、放射線としてγ線を例に採って説明したが、α線やβ線などであってもよい。特に、実施例4のように自己放射能を持つシンチレータ素子を検出器が備えた場合には、αまたはβ−崩壊を起こしたシンチレータ素子の検出器自身でα線またはβ線を検出する場合においても時間差ヒストグラムを用いればよい。
(3)上述した各実施例では、DOI検出器であったが、深さ方向を弁別しない検出器にこの発明は適用することもできる。単数のシンチレータ素子を備えた構造の検出器にこの発明は適用することもできる。
(4)上述した各実施例では、リング状に配置された検出器に適用したが、リング状に設置されずに単に複数の検出器を備えた場合においても、この発明は適用することができる。
Claims (15)
- 被検体内に投与されたポジトロン放射性薬剤から放出される放射線を検出する複数の検出器を備えたポジトロンCT装置であって、
放射線を同時計数する各検出器の対ごとの時間差変化に対する計数値分布を表す時間差ヒストグラムに関して、同時計数する対象の検出器を2つ選択して、当該選択された2つの検出器のうち、一方の検出器を選択するとともに、他方の検出器とは別の検出器を選択し、その選択を繰り返し行った際に、過去に選択された2つの検出器に関する時間差ヒストグラムを基準として、当該基準に基づいて、今回で選択された2つの検出器に関する時間差ヒストグラムを補正し、当該補正された2つの検出器に関する時間差ヒストグラムを新たに基準とする作業を繰り返し行う演算手段と、
前記演算手段で繰り返し補正された各検出器の対ごとの前記時間差ヒストグラムに基づいて、放射線を同時計数する同時計数回路と
を備えることを特徴とするポジトロンCT装置。 - 請求項1に記載のポジトロンCT装置において、
前記基準とした前記時間差ヒストグラムにおける総計数値が最大となる時間差を基準値とし、
前記演算手段は、前記基準値に基づいて時間差ヒストグラムの時間差を補正することを特徴とするポジトロンCT装置。 - 請求項1に記載のポジトロンCT装置において、
前記基準とした前記時間差ヒストグラムにおける総計数値が最大となる時間差と、総計数値が二番目に大きい時間差との中間値にある時間差を基準値とし、
前記演算手段は、前記基準値に基づいて時間差ヒストグラムの時間差を補正することを特徴とするポジトロンCT装置。 - 請求項1から請求項3のいずれかに記載のポジトロンCT装置において、
前記検出器は、
放射線の入射により蛍光する複数のシンチレータ素子と、
各シンチレータ素子からの光を光電変換することで放射線を検出する光電変換手段と
を備え、
放射線を同時計数する各検出器の1つのシンチレータ素子からなるシンチレータ素子単位の対ごとの前記時間差ヒストグラムに関して、同時計数する対象の検出器のシンチレータ素子単位を2つ選択して、当該選択された2つのシンチレータ素子単位のうち、一方の検出器のシンチレータ素子単位を選択するとともに、他方の検出器のシンチレータ素子単位とは別のシンチレータ素子単位を選択し、その選択を繰り返し行った際に、過去に選択された2つの検出器のシンチレータ素子単位に関する時間差ヒストグラムを基準として、当該基準に基づいて、今回で選択された2つの検出器のシンチレータ素子単位に関する時間差ヒストグラムを補正し、当該補正された2つの検出器のシンチレータ素子単位に関する時間差ヒストグラムを新たに基準とする作業を前記演算手段は繰り返し行い、
前記演算手段で繰り返し補正された各検出器のシンチレータ素子単位の対ごとの前記時間差ヒストグラムに基づいて、前記同時計数回路は放射線を同時計数することを特徴とするポジトロンCT装置。 - 請求項1から請求項3のいずれかに記載のポジトロンCT装置において、
前記検出器は、
放射線の入射により蛍光する複数のシンチレータ素子と、
各シンチレータ素子からの光を光電変換することで放射線を検出する光電変換手段と
を備え、
放射線を同時計数する各検出器のうち、一方の検出器の複数のシンチレータ素子からなるシンチレータ素子群と他方の検出器の1つのシンチレータ素子からなるシンチレータ素子単位との対ごとの前記時間差ヒストグラムに関して、同時計数する対象の検出器のうち、一方の検出器のシンチレータ素子群と他方の検出器のシンチレータ素子単位とを選択して、当該選択されたシンチレータ素子群とシンチレータ素子単位とのうち、当該シンチレータ素子群を選択するとともに、前記他方の検出器のシンチレータ素子単位とは別のシンチレータ素子単位を選択し、その選択を繰り返し行った際に、過去に選択されたシンチレータ素子群とシンチレータ素子単位とに関する時間差ヒストグラムを基準として、当該基準に基づいて、今回で選択されたシンチレータ素子群とシンチレータ素子単位とに関する時間差ヒストグラムを補正し、当該補正されたシンチレータ素子群とシンチレータ素子単位とに関する時間差ヒストグラムを新たに基準とする作業を前記演算手段は繰り返し行い、
前記演算手段で繰り返し補正されたシンチレータ素子群とシンチレータ素子単位との対ごとの前記時間差ヒストグラムに基づいて、前記同時計数回路は放射線を同時計数することを特徴とするポジトロンCT装置。 - 請求項1から請求項5のいずれかに記載のポジトロンCT装置において、
前記検出器は、
放射線の入射により蛍光する複数のシンチレータ素子と、
各シンチレータ素子からの光を光電変換することで放射線を検出する光電変換手段と
を備え、
前記検出器は、各々の前記シンチレータ素子を放射線の深さ方向に積層して構成されたDOI検出器であることを特徴とするポジトロンCT装置。 - 請求項1から請求項6のいずれかに記載のポジトロンCT装置において、
前記放射性薬剤と同種の放射線を照射する外部線源、または前記放射性薬剤と同種の放射線を内部から照射するファントムを備え、
前記時間差ヒストグラムを前記外部線源または前記ファントムからの放射線に基づいて取得することを特徴とするポジトロンCT装置。 - 請求項1から請求項6のいずれかに記載のポジトロンCT装置において、
前記検出器は、自己放射能を持つシンチレータ素子を備え、
前記時間差ヒストグラムを前記自己放射能からの放射線に基づいて取得することを特徴とするポジトロンCT装置。 - 被検体内に投与されたポジトロン放射性薬剤から放出される放射線を同時計数するために用いられるタイミング補正方法であって、
放射線を同時計数する各検出器の対ごとの時間差変化に対する計数値分布を表す時間差ヒストグラムに関して、同時計数する対象の検出器を2つ選択して、当該選択された2つの検出器のうち、一方の検出器を選択するとともに、他方の検出器とは別の検出器を選択し、その選択を繰り返し行った際に、過去に選択された2つの検出器に関する時間差ヒストグラムを基準として、当該基準に基づいて、今回で選択された2つの検出器に関する時間差ヒストグラムを補正し、当該補正された2つの検出器に関する時間差ヒストグラムを新たに基準とする作業を繰り返し行うヒストグラム補正工程
を備えることを特徴とするタイミング補正方法。 - 請求項9に記載のタイミング補正方法において、
前記基準とした前記時間差ヒストグラムにおける総計数値が最大となる時間差を基準値とし、
前記ヒストグラム補正工程では、前記基準値に基づいて時間差ヒストグラムの時間差を補正することを特徴とするタイミング補正方法。 - 請求項9に記載のタイミング補正方法において、
前記基準とした前記時間差ヒストグラムにおける総計数値が最大となる時間差と、総計数値が二番目に大きい時間差との中間値にある時間差を基準値とし、
前記ヒストグラム補正工程では、前記基準値に基づいて時間差ヒストグラムの時間差を補正することを特徴とするタイミング補正方法。 - 請求項9から請求項11のいずれかに記載のタイミング補正方法において、
放射線を同時計数する各検出器の1つのシンチレータ素子からなるシンチレータ素子単位の対ごとの前記時間差ヒストグラムに関して、同時計数する対象の検出器のシンチレータ素子単位を2つ選択して、当該選択された2つのシンチレータ素子単位のうち、一方の検出器のシンチレータ素子単位を選択するとともに、他方の検出器のシンチレータ素子単位とは別のシンチレータ素子単位を選択し、その選択を繰り返し行った際に、前記ヒストグラム補正工程では、過去に選択された2つの検出器のシンチレータ素子単位に関する時間差ヒストグラムを基準として、当該基準に基づいて、今回で選択された2つの検出器のシンチレータ素子単位に関する時間差ヒストグラムを補正し、当該補正された2つの検出器のシンチレータ素子単位に関する時間差ヒストグラムを新たに基準とする作業を繰り返し行うことで、タイミング補正を行うことを特徴とするタイミング補正方法。 - 請求項9から請求項11のいずれかに記載のタイミング補正方法において、
放射線を同時計数する各検出器のうち、一方の検出器の複数のシンチレータ素子からなるシンチレータ素子群と他方の検出器の1つのシンチレータ素子からなるシンチレータ素子単位との対ごとの前記時間差ヒストグラムに関して、同時計数する対象の検出器のうち、一方の検出器のシンチレータ素子群と他方の検出器のシンチレータ素子単位とを選択して、当該選択されたシンチレータ素子群とシンチレータ素子単位とのうち、当該シンチレータ素子群を選択するとともに、前記他方の検出器のシンチレータ素子単位とは別のシンチレータ素子単位を選択し、その選択を繰り返し行った際に、前記ヒストグラム補正工程では、過去に選択されたシンチレータ素子群とシンチレータ素子単位とに関する時間差ヒストグラムを基準として、当該基準に基づいて、今回で選択されたシンチレータ素子群とシンチレータ素子単位とに関する時間差ヒストグラムを補正し、当該補正されたシンチレータ素子群とシンチレータ素子単位とに関する時間差ヒストグラムを新たに基準とする作業を繰り返し行うことで、タイミング補正を行うことを特徴とするタイミング補正方法。 - 請求項9から請求項13のいずれかに記載のタイミング補正方法において、
前記時間差ヒストグラムは、前記放射性薬剤と同種の放射線を照射する外部線源、または前記放射性薬剤と同種の放射線を内部から照射するファントムからの放射線に基づいて取得されたデータであることを特徴とするタイミング補正方法。 - 請求項9から請求項13のいずれかに記載のタイミング補正方法において、
前記時間差ヒストグラムは、自己放射能からの放射線に基づいて取得されたデータであることを特徴とするタイミング補正方法。
Applications Claiming Priority (1)
| Application Number | Priority Date | Filing Date | Title |
|---|---|---|---|
| PCT/JP2010/003340 WO2011145139A1 (ja) | 2010-05-18 | 2010-05-18 | ポジトロンct装置およびタイミング補正方法 |
Publications (2)
| Publication Number | Publication Date |
|---|---|
| JPWO2011145139A1 JPWO2011145139A1 (ja) | 2013-07-22 |
| JP5459397B2 true JP5459397B2 (ja) | 2014-04-02 |
Family
ID=44991267
Family Applications (1)
| Application Number | Title | Priority Date | Filing Date |
|---|---|---|---|
| JP2012515640A Active JP5459397B2 (ja) | 2010-05-18 | 2010-05-18 | ポジトロンct装置およびタイミング補正方法 |
Country Status (6)
| Country | Link |
|---|---|
| US (2) | US9360569B2 (ja) |
| EP (1) | EP2573588B1 (ja) |
| JP (1) | JP5459397B2 (ja) |
| CN (1) | CN102906595B (ja) |
| TW (1) | TWI444646B (ja) |
| WO (1) | WO2011145139A1 (ja) |
Families Citing this family (10)
| Publication number | Priority date | Publication date | Assignee | Title |
|---|---|---|---|---|
| JP5526435B2 (ja) * | 2011-08-03 | 2014-06-18 | 独立行政法人理化学研究所 | Pet装置およびそのイメージング方法 |
| CN102648856B (zh) * | 2012-04-28 | 2016-03-30 | 中国科学院高能物理研究所 | 正电子发射断层扫描仪及其中的符合判选方法 |
| US10379228B2 (en) * | 2014-10-17 | 2019-08-13 | Koninklijke Philips N.V. | Pet detector scintillator arrangement with light sharing and depth of interaction estimation |
| CN107110988B (zh) * | 2014-10-27 | 2019-04-02 | 皇家飞利浦有限公司 | Pet探测器定时校准 |
| US10527741B2 (en) | 2015-04-07 | 2020-01-07 | Siemens Medical Solutions Usa, Inc. | Setup of SIPM based PET detector using LSO background radiation |
| WO2017114267A1 (zh) * | 2015-12-29 | 2017-07-06 | 上海联影医疗科技有限公司 | 一种医疗设备的数据采集系统及其配置方法 |
| WO2019000389A1 (en) | 2017-06-30 | 2019-01-03 | Shanghai United Imaging Healthcare Co., Ltd. | SYSTEM AND METHOD FOR POSITRON EMISSION TOMOGRAPHY |
| JP7247745B2 (ja) * | 2019-05-21 | 2023-03-29 | 株式会社島津製作所 | 放射線検出装置の2次元位置マップの校正方法および放射線検出装置 |
| US11573339B2 (en) * | 2019-12-30 | 2023-02-07 | Canon Medical Systems Corporation | Timing calibration using internal radiation and external radiation source in time of flight positron emission tomography |
| JP7701143B2 (ja) * | 2020-09-08 | 2025-07-01 | キヤノンメディカルシステムズ株式会社 | 核医学診断装置 |
Citations (3)
| Publication number | Priority date | Publication date | Assignee | Title |
|---|---|---|---|---|
| JP2004151105A (ja) * | 2002-10-31 | 2004-05-27 | Ge Medical Systems Global Technology Co Llc | クリスタルベースの一致タイミング較正法 |
| JP2009540339A (ja) * | 2006-06-15 | 2009-11-19 | コーニンクレッカ フィリップス エレクトロニクス エヌ ヴィ | 飛行時間式pet用の集積複数チャネル時間−デジタル変換器 |
| JP2009281816A (ja) * | 2008-05-21 | 2009-12-03 | Shimadzu Corp | 断層撮影装置 |
Family Cites Families (10)
| Publication number | Priority date | Publication date | Assignee | Title |
|---|---|---|---|---|
| JPH0619436B2 (ja) | 1989-03-31 | 1994-03-16 | 株式会社島津製作所 | ポジトロンct装置 |
| US5272344A (en) * | 1992-11-10 | 1993-12-21 | General Electric Company | Automated coincidence timing calibration for a pet scanner |
| JP3717122B2 (ja) * | 2003-09-29 | 2005-11-16 | 株式会社日立製作所 | γ線の検出時刻決定方法、γ線の同時計数方法、及び核医学診断装置 |
| JP2006090827A (ja) * | 2004-09-24 | 2006-04-06 | Hitachi Ltd | 放射線検査装置及びそのタイミング補正方法 |
| JP2006334085A (ja) * | 2005-06-01 | 2006-12-14 | Shimadzu Corp | 放射線撮像装置および放射線検出信号処理方法 |
| JPWO2007043137A1 (ja) * | 2005-10-04 | 2009-04-16 | 株式会社島津製作所 | 核医学診断装置 |
| JP4614002B2 (ja) * | 2006-06-08 | 2011-01-19 | 株式会社島津製作所 | クロマトグラフ質量分析用データ処理装置 |
| JP4877766B2 (ja) | 2006-08-25 | 2012-02-15 | 独立行政法人放射線医学総合研究所 | 陽電子放射断層撮像装置及び放射線検出器 |
| JP5126049B2 (ja) * | 2007-12-28 | 2013-01-23 | 株式会社島津製作所 | 核医学診断装置、形態断層撮影診断装置、核医学用データ演算処理方法および形態断層画像演算処理方法 |
| US9134441B2 (en) * | 2008-03-26 | 2015-09-15 | Shimadzu Corporation | Tomographic equipment, imaging system provided therewith, and imaging data acquisition method |
-
2010
- 2010-05-18 EP EP10851704.6A patent/EP2573588B1/en not_active Not-in-force
- 2010-05-18 JP JP2012515640A patent/JP5459397B2/ja active Active
- 2010-05-18 US US13/698,971 patent/US9360569B2/en not_active Expired - Fee Related
- 2010-05-18 WO PCT/JP2010/003340 patent/WO2011145139A1/ja not_active Ceased
- 2010-05-18 CN CN201080066866.2A patent/CN102906595B/zh not_active Expired - Fee Related
-
2011
- 2011-05-17 TW TW100117139A patent/TWI444646B/zh not_active IP Right Cessation
-
2016
- 2016-04-29 US US15/142,904 patent/US9844351B2/en not_active Expired - Fee Related
Patent Citations (3)
| Publication number | Priority date | Publication date | Assignee | Title |
|---|---|---|---|---|
| JP2004151105A (ja) * | 2002-10-31 | 2004-05-27 | Ge Medical Systems Global Technology Co Llc | クリスタルベースの一致タイミング較正法 |
| JP2009540339A (ja) * | 2006-06-15 | 2009-11-19 | コーニンクレッカ フィリップス エレクトロニクス エヌ ヴィ | 飛行時間式pet用の集積複数チャネル時間−デジタル変換器 |
| JP2009281816A (ja) * | 2008-05-21 | 2009-12-03 | Shimadzu Corp | 断層撮影装置 |
Also Published As
| Publication number | Publication date |
|---|---|
| US20130062526A1 (en) | 2013-03-14 |
| EP2573588B1 (en) | 2017-09-27 |
| US9844351B2 (en) | 2017-12-19 |
| EP2573588A1 (en) | 2013-03-27 |
| JPWO2011145139A1 (ja) | 2013-07-22 |
| TW201200894A (en) | 2012-01-01 |
| US20160242706A1 (en) | 2016-08-25 |
| WO2011145139A1 (ja) | 2011-11-24 |
| EP2573588A4 (en) | 2015-10-14 |
| CN102906595B (zh) | 2014-12-31 |
| TWI444646B (zh) | 2014-07-11 |
| CN102906595A (zh) | 2013-01-30 |
| US9360569B2 (en) | 2016-06-07 |
Similar Documents
| Publication | Publication Date | Title |
|---|---|---|
| JP5459397B2 (ja) | ポジトロンct装置およびタイミング補正方法 | |
| US9029786B2 (en) | Nuclear medicine imaging apparatus, and nuclear medicine imaging method | |
| US9753146B2 (en) | Pixel identification for small pitch scintillation crystal arrays | |
| JP6009755B2 (ja) | 画像診断装置及び方法 | |
| EP3033637B1 (en) | A hybrid method based on simulation and experimental data to normalize pet data | |
| US8278625B2 (en) | Two-dimensional position map correcting method | |
| US10895651B2 (en) | PET device and method of acquiring gamma ray generation position using scattered coincidence with PET device | |
| KR102026737B1 (ko) | 영상 생성 장치 및 방법 | |
| CN108152849A (zh) | 放射线检测装置 | |
| US20130256536A1 (en) | Methods and systems for determining timing recovery information in a positron emission tomography (pet) system | |
| JP2024515639A (ja) | 陽電子放射断層撮影デバイスを修正するためのシステムおよび方法 | |
| JP6825706B2 (ja) | 放射線検出装置およびそれを備えた核医学診断装置 | |
| JP5310642B2 (ja) | 放射線断層撮影装置 | |
| JP2015017906A (ja) | 核医学診断装置および位置推定方法 | |
| JP7247745B2 (ja) | 放射線検出装置の2次元位置マップの校正方法および放射線検出装置 | |
| JP5794765B2 (ja) | 核医学イメージング装置および核医学イメージング装置の作動方法 |
Legal Events
| Date | Code | Title | Description |
|---|---|---|---|
| TRDD | Decision of grant or rejection written | ||
| A01 | Written decision to grant a patent or to grant a registration (utility model) |
Free format text: JAPANESE INTERMEDIATE CODE: A01 Effective date: 20131217 |
|
| A61 | First payment of annual fees (during grant procedure) |
Free format text: JAPANESE INTERMEDIATE CODE: A61 Effective date: 20131230 |
|
| R151 | Written notification of patent or utility model registration |
Ref document number: 5459397 Country of ref document: JP Free format text: JAPANESE INTERMEDIATE CODE: R151 |