JP5424911B2 - 切削工具 - Google Patents
切削工具 Download PDFInfo
- Publication number
- JP5424911B2 JP5424911B2 JP2010012655A JP2010012655A JP5424911B2 JP 5424911 B2 JP5424911 B2 JP 5424911B2 JP 2010012655 A JP2010012655 A JP 2010012655A JP 2010012655 A JP2010012655 A JP 2010012655A JP 5424911 B2 JP5424911 B2 JP 5424911B2
- Authority
- JP
- Japan
- Prior art keywords
- cutting edge
- cutting
- tip
- layer
- protrusions
- Prior art date
- Legal status (The legal status is an assumption and is not a legal conclusion. Google has not performed a legal analysis and makes no representation as to the accuracy of the status listed.)
- Expired - Fee Related
Links
Images
Landscapes
- Cutting Tools, Boring Holders, And Turrets (AREA)
Description
本発明は、切削工具に関し、特に難削材の加工に適した切削工具に関する。
金属等の切削に用いられる切削工具は最近要求が厳しくなっており、長寿命化はもちろんのこと切削工具が使用される切削条件も高速切削や難削材の加工等の厳しい条件で使用される傾向にある。このような切削工具においては、加工条件が厳しくなるにつれて切削時に切刃が高温になり、高温になった切刃を含むコーナー部分が熱衝撃によって大きく欠損することが発生している。特に、難削材として知られる金属チタン(Ti)を加工すると、切刃先端にて発生した切屑が急激に立ち上がって排出される傾向にあるので切刃先端のみに局所的な大きな負荷と熱がかかり、切刃先端が高温になって材料の劣化が進行しやすく、また、高温になったコーナー部の切刃とそれに続く温度が上がりにくい辺部切刃との間で大きな温度差ができる結果、熱衝撃によって切刃から近い位置にクラックが発生し、これが進展してコーナー部全体が欠損して大きく損傷してしまうという問題があった。
そこで、例えば、特許文献1には、ブレーカ溝の底面に切屑が接触しないような凹部を形成することによって、切屑のブレーカ溝への接触面積を小さくして切刃近傍のみが高温となるのを防止し、サーマルクラックの発生・進行を抑制できることが記載されている。また、特許文献2では、スローアウェイチップをクランプオン方式で保持するクランプ部材に冷媒供給孔を設けるとともに、ホルダ内にこの冷媒供給孔に通じる冷媒供給管を配設して、切刃に近いところから切刃を冷却する冷媒を供給する構成が開示されている。
さらに、特許文献3では、切刃に近い位置に複数の突起が並んだ突起列を設けて、切屑が切刃からブレーカにわたってベタ当たりして切刃の温度が上昇するのを抑制する構成が開示されている。また、特許文献4では、超硬合金またはサーメットからなる本体に、切刃をなすcBN焼結体を備えたスローアウェイチップにおいて、本体のcBN焼結体の近い位置にチップブレーカを設けるとともに、少なくともブレーカの切屑当たり面にチタン化合物系のコーティング層を形成したスローアウェイチップが開示されている。なお、特許文献3および特許文献4にはチップ全体の表面にコーティング層を形成する構成が記載されている。
しかしながら、特許文献1のようにブレーカ溝の底面に切屑が接触しないような凹部を形成する方法は、金属チタン(Ti)の加工のように切刃先端にて発生した切屑が急激に立ち上がって排出される形態には効果がなく、かえって切刃先端の強度低下につながって耐欠損性が低下することが多かった。また、特許文献2のように、切刃近傍に冷媒供給機構を設けた構成では、装置が複雑になって大型化することから、溝入チップのように切刃先端付近が小さいチップには適用できないとともに、クランプ部材のセットに手間がかかり作業性が悪いという問題があった。
さらに、特許文献3、4のようにブレーカ突起の表面を含むすくい面全面にコーティング層を形成するものにおいては、Ti化合物層やAl2O3層を形成した場合、基体の熱伝導率よりもコーティング層の熱伝導率が悪くて、切刃の温度上昇を抑制することができずに工具寿命を延ばすことができなかった。
したがって、本発明の目的は、金属チタンのような難削材の切削加工においても工具寿命を延命できる切削工具を提供することである。
本発明の切削工具は、超硬合金製の基体からなり、すくい面と逃げ面との交差稜線を切刃として、前記すくい面の前記切刃から近い位置に複数個の突起が並んだ突起群を設けるとともに、前記突起のみにAl2O3層を形成したものである。
ここで、前記複数個の突起はすくい面を平面視したとき円形であることが望ましい。
また、前記Al2O3層の下層としてTi系立方晶層を形成したものであっても良い。
さらに、先端切刃と側面切刃を具備する溝入加工用として使用するとともに、前記突起が前記先端切刃と平行に4つ並んだ構成であることが望ましい。
また、本発明の他の切削工具は、超硬合金製の基体からなり、すくい面と逃げ面との交差稜線を切刃として、前記すくい面の前記切刃から近い位置に複数個の突起が並んだ突起群を設けるとともに、前記突起は、前記基体の表面にAl2O3粒子の一部が埋め込まれ一部が突出したものからなる。
この構成によれば、突起が基体とは別体の球状体にて形成されているので、前記突起が切削中に脱落してしまっても、脱落した跡が孔になって油孔の役目を果たすので切屑のベタ当たりを抑制することができる。
本発明によれば、超硬合金製の基体の切刃近傍に突起を設けるとともに突起のみにAl2O3層を形成するか、またはAl2O3粒子が埋め込まれた突起を形成したことから、切刃にかかる衝撃の一部を突起が受けるとともに切屑がベタ当たりにならずに切刃の温度上昇を抑制できる。また、Al2O3層は基体に比べて熱伝導率が悪いことから、Al2O3層は切屑が激しく接触する突起のみに形成して、他の部分は熱伝導性の良い超硬合金基体にて切削工具の表面を構成する。この構成により、切削によって発生した熱は効率よく放熱されて、切刃先端が熱により劣化することも防止できる。
ここで、前記複数個の突起はすくい面を平面視したとき円形であることが、突起に切屑が接触する接触面積を小さくできる点で望ましい。また、前記Al2O3層の下層としてTi系立方晶層を形成したものであれば、被覆層全体の耐摩耗性がさらに向上する。
さらに、溝入加工、すなわち切削液や冷媒を切刃近傍まで送り込みにくい切削形態の切削工具として使用する場合であっても、本発明の効果は失われず有効に機能する。このとき、溝入加工用切削工具の形状については、突起が先端切刃と平行に4つ並んだ構成であることが、突起の耐久性と切刃の温度上昇防止とのバランスを取る点で望ましい。
なお、前記突起が基体11の表面にAl2O3粒子の一部が埋め込まれて一部が突出した構成からなる場合には、突起が基体とは別体の球状体にて形成されているので、前記突
起が切削中に脱落してしまっても、脱落した跡が孔になって油孔の役目を果たすので切屑のベタ当たりを抑制することができる。
起が切削中に脱落してしまっても、脱落した跡が孔になって油孔の役目を果たすので切屑のベタ当たりを抑制することができる。
本発明の切削工具の好適例である溝入加工用スローアウェイチップについて、その一例についての概略斜視図である図1、図1のチップを(a)上方から見た概略図、(b)先端方向から見た概略図である図2、図2(a)の(A)A−A断面図、(B)B−B断面図、(C)C−C断面図である図3を基に説明する。
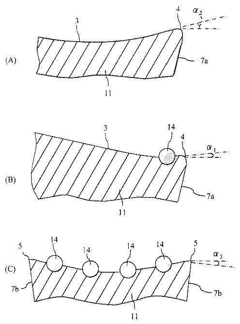
図1に示すように、溝入加工用スローアウェイチップ(以下、単にチップと称す。)1は、チップ本体2の端部上面に設けられたすくい面3と逃げ面7との交差稜線を切刃(すくい面3の先端縁および両端縁にそれぞれ設けられた先端切刃4および側面切刃5)として、すくい面3の先端切刃4から近い位置に複数個の突起13が並んだ突起群を設けるとともに、突起13のみにAl2O3層10aを形成したものである。
なお、チップ本体2をなす基体11は超硬合金からなる。また、先端切刃4と突起13の先端との距離は0.1〜0.7mmの範囲であることが、突起13がブレーカとしての効果を発揮する上で望ましい。さらに、突起13のサイズは切刃の形状や切削条件によって異なるが、例えば、刃幅3mmの溝入加工用スローアウェイチップの場合、突起13の幅が0.2〜0.6mm、高さが0.1〜0.3mmのサイズで形成することが、突起13がブレーカとしての効果を発揮する上で望ましい。
ここで、図1、2によれば、複数個の突起13はすくい面3を平面視したときに円形であり、この形状であれば、突起に切屑が接触する接触面積を小さくできる。また、Al2O3層10aの下層としてTi系立方晶層10bを形成したものであれば、被覆層10全体の耐摩耗性がさらに向上する。なお、Al2O3層10aの厚みは0.5〜3μm、Ti系立方晶層10bの厚みは0.5〜3μmであることが、被覆層10がチッピングすることなく耐摩耗性を高めるために望ましい。
さらに、図1〜3のスローアウェイチップは、溝入加工、すなわち切削液や冷媒を切刃近傍まで送り込みにくい切削形態の切削工具として使用する場合であっても、本発明の効果は失われず有効に機能する。このとき、溝入加工用切削工具の形状については、図1〜3に示すように、前端切刃4と平行に突起13が4つ並んだ構成であることが突起13の耐久性と先端切刃4の温度上昇防止とのバランスを取る点で望ましい。
なお、本発明における突起の構成としては、上記図3の構成に限定されるものではなく、図4に示すように、基体11の表面にAl2O3粒子の一部が埋め込まれて一部が突出した構成の突起14であってもよい。この場合には、突起14が基体11とは別体の球状体にて形成されているので、突起14が切削中に脱落してしまっても、脱落した跡が孔になって油孔の役目を果たすので切屑のベタ当たりを抑制することができるとともに切屑の流れが円滑になって先端切刃4の温度上昇を抑制できる点で望ましい。
また、先端切刃4は、図2に示すように、両側の角部から中央部側へ向かうに従って低くなるように凹状をなしていることが、切屑の流れを中央部に固定させて安定した切屑処理ができる点で望ましい。
(製造方法)
上記図1〜3の溝入加工用スローアウェイチップを製造する方法の一例について説明する。まず、原料を調合して混合し、プレス成形によって成形体を作製し、焼成後に研削加工することによって、超硬合金製の基体を作製する。そして、下記の方法のいずれかによって突起のみにAl2O3層を含む被覆層を形成することによって作製できる。
方法1
突起以外の基体表面をマスキングで覆ってコーティングする方法。
方法2
切削工具の全面をコーティングした後、突起をマスキングで覆って研磨加工する方法。方法3
基体の突起以外の表面にアルカリ金属成分を含む物質をコーティングしておき、このチップの全面にAl2O3層をコーティングし、その後にブラシ加工やブラスト加工等の研磨処理をして突起以外のAl2O3層を除去する方法。
上記図1〜3の溝入加工用スローアウェイチップを製造する方法の一例について説明する。まず、原料を調合して混合し、プレス成形によって成形体を作製し、焼成後に研削加工することによって、超硬合金製の基体を作製する。そして、下記の方法のいずれかによって突起のみにAl2O3層を含む被覆層を形成することによって作製できる。
方法1
突起以外の基体表面をマスキングで覆ってコーティングする方法。
方法2
切削工具の全面をコーティングした後、突起をマスキングで覆って研磨加工する方法。方法3
基体の突起以外の表面にアルカリ金属成分を含む物質をコーティングしておき、このチップの全面にAl2O3層をコーティングし、その後にブラシ加工やブラスト加工等の研磨処理をして突起以外のAl2O3層を除去する方法。
なお、基体11にAl2O3層10aおよびTi系立方晶層10bの被覆層10を成膜する方法としては、化学蒸着(CVD)法またはイオンプレーティング法等の物理蒸着(PVD)法が好適に適応可能である。
また、上記図1、2、4に記載された他の実施態様についての溝入加工用スローアウェイチップを製造する方法の一例について説明する。まず、原料を調合して混合する。そして、プレス成形によって成形体を作製した後、成形体に対して、Al2O3ビーズ等の球状のAl2O3粒子を所定の位置に埋め込むか、または成形する際に球状のAl2O3粒子を所定の位置に配置した状態でプレス成形することにより、所定の位置にAl2O3粒子が埋め込まれた成形体を得る。この成形体を焼成し、その後所望により研削加工することによって、Al2O3粒子が埋め込まれたスローアウェイチップを作製できる。
WC粉末、Co粉末、Cr3C2粉末およびVC粉末を混合し、これにバインダとしてパラフィンを添加、造粒して平均粒径100μmの造粒粉末を調整した。次に、図1の溝入加工用スローアウェイチップ(チップの厚み(成形体部の高さ)t1=4.3mm、刃幅=3.0mm、先端切刃逃げ角β1=4.5°、側面切刃逃げ角β2=6°、先端切刃の角部におけるすくい角α1=6.0°、先端切刃の中央部におけるすくい角α2=14.5°)を成形できる金型を用いてプレス成形にて成形体を得た。この成形体を脱バインダ処理して真空焼成して研削加工およびホーニング加工を行った後、表1に示す工程を経て表1に示す突起を形成したスローアウェイチップを作製した(試料No.1〜8)。なお、突起の直径が0.5mm以下の試料については図1〜3のように突起を先端切刃に対して並列に4個並べた形態とし、突起の直径が0.5mmを超える試料については突起を先端切刃に対して並列に2個並べた形態とした。
次に、得られたサーメット製の切削工具を用いて以下の切削条件にて切削試験を行った。結果は表1に併記した。
被削材:Ti−6Al−4V
切削速度:60m/分
送り:0.1mm/rev
切込み:1.5mmの片削り切削
切削状態:湿式(水溶性切削液使用)
評価方法:欠損するまで(継続加工不可になるまで)の時間(最大85分まで切削)
被削材:Ti−6Al−4V
切削速度:60m/分
送り:0.1mm/rev
切込み:1.5mmの片削り切削
切削状態:湿式(水溶性切削液使用)
評価方法:欠損するまで(継続加工不可になるまで)の時間(最大85分まで切削)
表1より、突起列を形成しない試料No.8では、切削時間5分でコーナーR全体が欠損するような損傷が発生してしまった。また、チップの全面に被覆層を形成した試料No.7では放熱性が低下して切削時間7分で突発欠損した。
これに対して、突起列を形成した試料No.1〜6では、いずれも突発欠損が発生しにくく工具寿命が長くなった。
1 溝入加工用スローアウェイチップ(チップ)
2 チップ本体
3 すくい面
4 先端切刃
5 側面切刃
7 逃げ面
7a 前逃げ面
7b 横逃げ面
8 着座面
10 被覆層
10a Al2O3層
10b Ti系立方晶層
11 基体
13、14 突起
2 チップ本体
3 すくい面
4 先端切刃
5 側面切刃
7 逃げ面
7a 前逃げ面
7b 横逃げ面
8 着座面
10 被覆層
10a Al2O3層
10b Ti系立方晶層
11 基体
13、14 突起
Claims (5)
- 超硬合金製の基体からなり、すくい面と逃げ面との交差稜線を切刃として、前記すくい面の前記切刃から近い位置に複数個の突起が並んだ突起群を設けるとともに、前記突起のみにAl2O3層を形成した切削工具。
- 前記複数個の突起はすくい面を平面視したとき円形である請求項1記載の切削工具。
- 前記Al2O3層の下層としてTi系立方晶層を形成したものである請求項1または2記載の切削工具。
- 先端切刃と側面切刃を具備する溝入加工用として使用され、前記突起が前記先端切刃と平行に4つ並んだ構成である請求項1乃至3のいずれか記載の切削工具。
- 超硬合金製の基体からなり、すくい面と逃げ面との交差稜線を切刃として、前記すくい面の前記切刃から近い位置に複数個の突起が並んだ突起群を設けるとともに、前記突起が基体11の表面にAl2O3粒子の一部が埋め込まれて一部が突出したものである切削工具。
Priority Applications (1)
| Application Number | Priority Date | Filing Date | Title |
|---|---|---|---|
| JP2010012655A JP5424911B2 (ja) | 2010-01-23 | 2010-01-23 | 切削工具 |
Applications Claiming Priority (1)
| Application Number | Priority Date | Filing Date | Title |
|---|---|---|---|
| JP2010012655A JP5424911B2 (ja) | 2010-01-23 | 2010-01-23 | 切削工具 |
Publications (2)
| Publication Number | Publication Date |
|---|---|
| JP2011148066A JP2011148066A (ja) | 2011-08-04 |
| JP5424911B2 true JP5424911B2 (ja) | 2014-02-26 |
Family
ID=44535545
Family Applications (1)
| Application Number | Title | Priority Date | Filing Date |
|---|---|---|---|
| JP2010012655A Expired - Fee Related JP5424911B2 (ja) | 2010-01-23 | 2010-01-23 | 切削工具 |
Country Status (1)
| Country | Link |
|---|---|
| JP (1) | JP5424911B2 (ja) |
Families Citing this family (3)
| Publication number | Priority date | Publication date | Assignee | Title |
|---|---|---|---|---|
| EP3195971B1 (en) * | 2014-08-27 | 2024-04-03 | Kyocera Corporation | Cutting insert, cutting tool, and method for manufacturing cut product |
| WO2021262664A1 (en) * | 2020-06-25 | 2021-12-30 | Milwaukee Electric Tool Corporation | Die for a pipe threader |
| USD1087188S1 (en) | 2022-10-19 | 2025-08-05 | Milwaukee Electric Tool Corporation | Pipe threading die |
Family Cites Families (3)
| Publication number | Priority date | Publication date | Assignee | Title |
|---|---|---|---|---|
| JPS6044203A (ja) * | 1983-08-22 | 1985-03-09 | Sumitomo Electric Ind Ltd | 被覆超硬合金工具 |
| JPH09267203A (ja) * | 1996-03-29 | 1997-10-14 | Ngk Spark Plug Co Ltd | スローアウェイチップ |
| DE112008000819B4 (de) * | 2007-03-27 | 2016-05-19 | Kyocera Corporation | Schneideinsatz, Schneidwerkzeug und Verfahren zum Schneiden von Arbeitsmaterial unter Verwendung des Schneidwerkzeugs |
-
2010
- 2010-01-23 JP JP2010012655A patent/JP5424911B2/ja not_active Expired - Fee Related
Also Published As
| Publication number | Publication date |
|---|---|
| JP2011148066A (ja) | 2011-08-04 |
Similar Documents
| Publication | Publication Date | Title |
|---|---|---|
| KR101720553B1 (ko) | 절삭 인서트, 절삭 공구 및 절삭 가공물의 제조 방법 | |
| JP4728256B2 (ja) | 高品位高能率加工用切削工具およびそれを用いた切削加工方法 | |
| JP6659676B2 (ja) | 切削インサートおよび切削工具、並びに切削加工物の製造方法 | |
| KR101591660B1 (ko) | 날끝 교환식 회전 공구 | |
| JP6267349B2 (ja) | 切削インサートおよび切削工具並びに切削加工物の製造方法 | |
| JP7304989B2 (ja) | 切削インサート、切削工具及び切削加工物の製造方法 | |
| CA2760600A1 (en) | Superhard insert | |
| KR20190077027A (ko) | 절삭 인서트 | |
| JP6420239B2 (ja) | 切削インサート、切削工具および切削加工物の製造方法 | |
| CN109396558A (zh) | 一种用于加工硬脆性难加工材料的金刚石切削刀具 | |
| JP2005111651A (ja) | チップおよびフライスカッタおよびそれらを用いた加工方法 | |
| CN109862983B (zh) | 切削刀片及可转位刀片式旋转切削工具 | |
| JP6228229B2 (ja) | 切削インサート、切削工具及び切削加工物の製造方法 | |
| JP5424911B2 (ja) | 切削工具 | |
| JP7295219B2 (ja) | インサートおよび切削工具 | |
| JP4728961B2 (ja) | 切削工具 | |
| CN108883474B (zh) | 切削刀片及切削工具 | |
| JP2018153900A (ja) | 工具 | |
| JP6776371B2 (ja) | 切削インサート | |
| JP5612382B2 (ja) | 切削インサート | |
| JP4721644B2 (ja) | ミーリング工具およびその検査方法 | |
| JP5094293B2 (ja) | 切削工具 | |
| JP2011167829A (ja) | チタン合金加工用切削工具 | |
| JP2024142744A (ja) | 切削工具 | |
| JP2024015617A (ja) | 切削工具 |
Legal Events
| Date | Code | Title | Description |
|---|---|---|---|
| A621 | Written request for application examination |
Free format text: JAPANESE INTERMEDIATE CODE: A621 Effective date: 20121015 |
|
| A977 | Report on retrieval |
Free format text: JAPANESE INTERMEDIATE CODE: A971007 Effective date: 20131023 |
|
| TRDD | Decision of grant or rejection written | ||
| A01 | Written decision to grant a patent or to grant a registration (utility model) |
Free format text: JAPANESE INTERMEDIATE CODE: A01 Effective date: 20131029 |
|
| A61 | First payment of annual fees (during grant procedure) |
Free format text: JAPANESE INTERMEDIATE CODE: A61 Effective date: 20131126 |
|
| R150 | Certificate of patent or registration of utility model |
Free format text: JAPANESE INTERMEDIATE CODE: R150 |
|
| LAPS | Cancellation because of no payment of annual fees |
