JP5383535B2 - 位置と負荷の検出可能な流体圧アクチュエータ - Google Patents

位置と負荷の検出可能な流体圧アクチュエータ Download PDF

Info

Publication number
JP5383535B2
JP5383535B2 JP2010019937A JP2010019937A JP5383535B2 JP 5383535 B2 JP5383535 B2 JP 5383535B2 JP 2010019937 A JP2010019937 A JP 2010019937A JP 2010019937 A JP2010019937 A JP 2010019937A JP 5383535 B2 JP5383535 B2 JP 5383535B2
Authority
JP
Japan
Prior art keywords
rod
piston
fluid pressure
spring
magnet
Prior art date
Legal status (The legal status is an assumption and is not a legal conclusion. Google has not performed a legal analysis and makes no representation as to the accuracy of the status listed.)
Expired - Fee Related
Application number
JP2010019937A
Other languages
English (en)
Other versions
JP2011158027A (ja
Inventor
宏三 京和泉
Original Assignee
サンテスト株式会社
Priority date (The priority date is an assumption and is not a legal conclusion. Google has not performed a legal analysis and makes no representation as to the accuracy of the date listed.)
Filing date
Publication date
Application filed by サンテスト株式会社 filed Critical サンテスト株式会社
Priority to JP2010019937A priority Critical patent/JP5383535B2/ja
Publication of JP2011158027A publication Critical patent/JP2011158027A/ja
Application granted granted Critical
Publication of JP5383535B2 publication Critical patent/JP5383535B2/ja
Expired - Fee Related legal-status Critical Current
Anticipated expiration legal-status Critical

Links

Images

Landscapes

  • Actuator (AREA)
  • Force Measurement Appropriate To Specific Purposes (AREA)
  • Measurement Of Length, Angles, Or The Like Using Electric Or Magnetic Means (AREA)

Description

本発明は、油圧・水圧・空圧などを媒体に用いた流体圧アクチュエータ、特にピストンロッドの変位と当該ピストンロッドに作用する負荷を検出できるセンサを備えた流体圧アクチュエータに関する。
従来、ピストンロッドの変位と当該ピストンロッドに作用する負荷を検出できるセンサを備えた流体圧アクチュエータが求められている。ピストンに作用する負荷については、ピストンロッドと工作物との間にロードセルなどを設けて、その負荷を検出し、ピストンロッドの変位は前記ロードセルとは別の変位センサを用いて検出するのが一般的であった。
ピストンロッドに作用する負荷の検出について開示された文献として、特許文献1がある。当該文献では、ロードセルに代えて、ロッドカバーに弾性変形が可能な薄肉の円筒部を形成し、この円筒部に貼り付けた歪みゲージで軸方向の荷重を検出する装置を提案している。しかし、この装置であっても、負荷以外に変位をも検出しようとすると、別の変位センサが必要になり、構造が複雑になると共に、高コストになる。
また、特許文献1では、ロッドカバーの円筒部には流体圧シリンダ装置を外部のフレームに取り付けるという機能が求められるので、円筒部には所定の剛性が必要であり、自由に薄肉に形成することができない。さらに、円筒部には軸方向荷重以外に曲げ荷重などの他の方向の荷重も作用するので、歪みと軸方向荷重とが精度よく対応するとは限らず、負荷の検出精度を高めることが難しいという問題があった。
特許第3291258号公報
本発明の目的は、ピストンロッドの変位と当該ピストンロッドに作用する負荷とを1台のセンサで検出しうる流体圧アクチュエータを提案することにある。
本発明の第1実施形態は、シリンダと、前記シリンダ内を摺動し、中心部に貫通孔を有するピストンと、前記ピストンの貫通孔を摺動自在に貫通し、一端部が前記シリンダの一端部を閉じるキャップ部を貫通して外部に突出し、内部に他端側へ開口する空洞部を有するロッドと、前記ロッドの空洞部に挿入され、前記ロッドの軸線方向に延びる磁歪線を有する磁歪式変位センサと、前記ロッド及びピストンに、前記変位センサの有効検出ストローク範囲内となるようにそれぞれ固定された第1と第2のマグネットと、前記ピストンとロッドとの間に配置され、前記ピストンに加わる流体圧を前記ロッドに軸方向力として伝え、変位に応じたばね力を発生するスプリングと、を備え、前記変位センサは、前記磁歪線の軸線方向にスタートパルスを流すことにより、前記マグネットの近接する磁歪線の部位で弾性波を発生させ、磁歪線の特定部位に設けた受信器までの弾性波の伝播時間を計測することにより、前記マグネットの機械的変位を検出するものであり、前記ロッドの位置を前記第1のマグネットの位置によって検出し、前記ロッドの軸方向負荷を前記第1と第2のマグネットの離間距離によって検出することを特徴とする、流体圧アクチュエータである。
本発明の第2実施形態は、シリンダと、前記シリンダの軸心部に固定され、内部に空洞部を有するガイドパイプと、前記シリンダの内周とガイドパイプの外周との間を摺動する第1ピストンと、一端が第1ピストンと連結され、他端が前記シリンダの一端部から外部へ突出し、当該端部が閉じられた円筒状のロッドと、前記ロッドの内周とガイドパイプの外周との間を摺動する第2ピストンと、前記ロッドの端部と第2ピストンとの間に形成された第1の流体圧室と、前記ガイドパイプの空洞部に挿入され、前記ガイドパイプの軸線方向に延びる磁歪線を有する磁歪式変位センサと、前記第1ピストン及び第2ピストンに、前記変位センサの有効検出ストローク範囲内となるようにそれぞれ固定された第1と第2のマグネットと、前記第2ピストンとガイドパイプとの間に配置され、前記第2ピストンを前記ロッドの突出方向に付勢し、変位に応じたばね力を発生するスプリングと、を備え、前記変位センサは、前記磁歪線の軸線方向にスタートパルスを流すことにより、前記マグネットの近接する磁歪線の部位で弾性波を発生させ、磁歪線の特定部位に設けた受信器までの弾性波の伝播時間を計測することにより、前記マグネットの機械的変位を検出するものであり、前記ロッドの位置を前記第1のマグネットの位置によって検出し、前記ロッドの軸方向負荷を前記第2のマグネットの位置によって検出することを特徴とする、流体圧アクチュエータである。
本発明の第1実施形態では、ロッドとピストンとの間に変位に応じて荷重が変化するスプリングを配置し、ピストンとロッドとにそれぞれマグネットを取り付け、磁歪式変位センサによってピストンとロッドとの軸方向距離及びロッドの軸方向位置を検出している。そのため、流体圧を受けてピストンが移動すると、ロッドにかかる負荷の大きさに応じてスプリングが圧縮される。ロッドの負荷はスプリングの圧縮量に関係し、その圧縮量はピストンとロッドとの軸方向距離に比例し、この軸方向距離を変位センサで検出するので、結局、ロッドの負荷を求めることができる。ロッドの位置は変位センサによって直接検出できる。このように1台の磁歪式変位センサを用いて、ロッドの負荷と位置とを同時に検出することができる。
本発明で使用する磁歪式変位センサは、その有効検出ストローク内に存在するマグネットの位置に応じた磁歪波形を発生させるので、マグネットの位置を正確に検出できる。そのため、ピストンとロッドとにそれぞれマグネットを取り付けることで、ピストンとロッドとの軸方向距離(負荷)及びロッドの軸方向位置を正確に把握できる。マグネットは非常に小さくできるので、ロッドやピストンの寸法増大を招かずに済む。また、変位センサの検出部は細長くできるので、変位センサをロッドの中心部に挿入することで、流体圧アクチュエータの外径寸法を増大させない。
スプリングとしては、変位と荷重との間に一定の関係がある任意のスプリングを使用できるが、変位と荷重とを高精度に比例させることができる点でコイルスプリングを用いるのが望ましい。本発明では、特許文献1のように構造材(ロッドカバー)の歪みを検出するのではなく、ロッドとピストンとの間に配置したスプリングのばね変形を利用するので、軸方向荷重以外の荷重の影響を受けにくく、ロッドの負荷を高精度で検出できる。
第1実施形態は、スプリングをピストンとロッドとの間に配置し、流体圧を受けてピストンがスプリングを介してロッドを押す例であるが、第2実施形態は、スプリングを第2ピストンとガイドパイプ(固定部)との間に配置し、流体圧を第2ピストンとロッドとの間に供給し、流体圧を受けて第2ピストンが後退する例である。ロッドに負荷が掛かっていない状態では第2ピストンは後退せず、ロッドだけが突出する。ロッドに負荷がかかると、その負荷に打ち勝つため圧力が高くなり第2ピストンが後退し、スプリングが圧縮される。スプリングの圧縮量はロッドにかかる負荷と相関関係にある。
第2実施形態の場合も、ロッドの変位は第1ピストンに取り付けられた第1のマグネットで検出されるが、ロッドの負荷はスプリングの圧縮量、つまり第2ピストンに取り付けられた第2のマグネットの位置で把握できる。これらマグネットの位置は、ガイドパイプの中に挿入された磁歪式変位センサで検出できる。
第2実施形態において、ロッドの内周とガイドパイプの外周と第1ピストンと第2ピストンとの間に第2の流体圧室が形成され、当該第2の流体圧室はロッドの外周壁に形成された連通孔を介して、ロッドの外周とシリンダの内周との間に形成された第3の流体圧室へ接続され、当該第3の流体圧室に面する第1ピストンの受圧面積と第1の流体圧室に面するガイドパイプの外径の基づく円の断面積とを等しくするのが望ましい。この場合には、第2ピストンの両面に作用する流体圧の有効受圧面積を等しくすることで、アクチュエータが動的な状態でも静的な状態でも、常にスプリングの圧縮量に応じた負荷を対象物に作用させることができる。
ガイドパイプの先端部にストッパ部が設けられ、当該ストッパ部と第2ピストンとの間に、第2ピストンに対して(第1の)スプリングと逆方向に付勢する第2のスプリングを設けてもよい。つまり、第2ピストンの両側にスプリングを配置することにより、ロッドが正逆いずれの方向に作動する場合でも負荷を検出することが可能になる。
以上のように、本発明によれば、ロッドとピストンとの間、又は第2ピストンとガイドパイプとの間にスプリングを配置し、ピストンとロッドとにそれぞれマグネットを取り付け、磁歪式変位センサによってピストンとロッドとの軸方向距離及びロッドの軸方向位置を検出するようにしたので、1台の磁歪式変位センサを用いて、ロッドの負荷と位置とを同時に検出することができる。
本発明に係る流体圧アクチュエータの第1実施例の初期状態における断面図である。 図1に示す流体圧アクチュエータの動作時における断面図である。 磁歪式変位センサの一例の原理図である。 磁歪式変位センサの検出信号の波形図である。 スプリングのばね長とばね荷重との関係を示す図である。 本発明に係る流体圧アクチュエータを用いた流体圧システムの一例を示す図である。 本発明に係る流体圧アクチュエータの第2実施例の断面図である。 本発明に係る流体圧アクチュエータの第3実施例の断面図である。
〔第1実施例〕
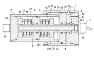
以下に、本発明の好ましい実施例を図面を参照して説明する。図1,図2は本発明に係る流体圧アクチュエータの第1実施例を示し、図1は初期時、図2は作動時を示す。
シリンダ1の両端はフロントキャップ5とエンドキャップ6で閉じられ、ピストン3がシリンダ1の内部を摺動自在に移動する。フロントキャップ5又はエンドキャップ6はシリンダ1と一体に形成されていてもよい。シリンダ1には流体圧P1、P2が供給される第1ポート1aと第2ポート1bとが形成されている。ロッド2は、ピストン3の中心部に設けられた貫通孔3aを摺動自在に貫通しており、始端部がシリンダ1のフロントキャップ5を貫通して外部に突出している。外部に突出したロッド2の操作部2aが工作物Wなどに連結される。エンドキャップ6とピストン3(及びロッド2)との間に形成された空間14に第1ポート1aが連通し、フロントキャップ5とピストン3との間に形成された空間15に第2ポート1bが連通している。ロッド2の中心部には、始端側が閉じられ終端側へ開口する軸方向に長い空洞部2bが形成されている。空洞部2bの長さは、フロントキャップ5とエンドキャップ6の軸方向距離とほぼ同等な長さに設定されている。
なお、各部をシールするためのシール部材(個々ではOリング)については自明のこととして番号を付けていないが、Oリングのみの記載は固定シールを意味し、Oリングの内周あるいは外周に示した長方形断面はフッ素樹脂などによる摺動自在なパッキンを意味する。固定シールにOリングを使用することは一般的であるが、摺動自在なパッキンについては、図示以外の他の方法でも良い。
ロッド2の中間部外周にはフランジ部2cが形成されており、このフランジ部2cとピストン3の間に圧縮タイプのスプリング4が配置されている。図1では角断面のコイルスプリングを示したが、通常の円断面のコイルスプリングでも良いし、複数の皿ばねの配列でも良く、変位量とばね反力の間に一定の関係があるスプリングであれば何でもよい。ピストン3を貫通したロッド2の終端部にはストッパ16が固定されており、このストッパ16により、ロッド2がピストン3から抜けるのを防止すると共に、スプリング4に対して所定の予荷重をかけた状態としている。予荷重をかける理由は、ばね反力と圧縮量とが比例関係にある状態でスプリング4を使用するためであり、必要に応じて設定される。
ロッド2のフランジ部2cとピストン3とには、それぞれリング状のマグネット8、9が固定されている。マグネット8,9の着磁方向は軸方向でも径方向でもよい。マグネット8,9の形状はリング状に限らない。ロッド2の中心の空洞部2bには、磁歪式変位センサ7の検出部7aが所定の隙間をもって挿入されている。マグネット8、9と検出部7aとの間に介在する部品つまりロッド2は非磁性体で形成する必要があるが、マグネット8、9の周囲の部品つまりピストン3やストッパ16等の部品も非磁性体で形成するのが望ましい。検出部7aの長さ(有効検出ストロークS)は、フロントキャップ5とエンドキャップ6との軸方向距離にほぼ等しく、2個のマグネット8,9の間隔は常に検出部7aの有効検出ストロークS内に設定されている。受信器(図示せず)を収容した磁歪センサ7の本体部7bは、エンドキャップ6の中心部に流体の漏洩防止のシールとともにねじ込まれている。なお、ねじ込みに限らず、フランジ取り付け等、任意の固定方法を用いることができる。
図3は磁歪式変位センサ7の検出原理を示す。当該センサ7の検出原理の詳細は、例えば特開平10−332433号公報などに開示されている通りであるから、以下にその概略だけを説明する。変位センサ7は、ベース70上に設けられた支持部材71,72によって両端部が支持された磁歪線73を備えている。磁歪線73としては中実線に限らず、中空線であってもよい。磁歪線73がロッド2の軸線方向と平行になるように、変位センサ7はエンドキャップ6に固定されている。一方の支持部材71の近傍にはコイルを有する受信器74が配置されており、コイルの中心部に磁歪線73が無接触で挿通されている。受信器74はコントローラ10と接続されている。磁歪線73の始端にはコントローラ10から電流パルス(スタートパルス)Rsが周期的に供給され、磁歪線73の終端はアースに接続されている。なお、磁歪線73の終端側の支持部材72を省略し、磁歪線73を直接アースに接続してもよい。
磁歪線73にマグネットM(ここでは2個)を近づけた状態で、スタートパルスRsが供給されると、ビーデマン効果によりマグネットMの近接する磁歪線73の部位で弾性波(磁歪波とも呼ぶ)が発生し、受信器74は逆磁歪効果を利用して磁歪線73を伝播する弾性波の到来を検出する。弾性波には縦波と横波とがあるが、いずれの波を検出してもよい。コントローラ10は、マグネットMから受信器74までの弾性波の伝播時間を計測することにより、マグネットMに与えられた機械的変位を検出できる。なお、受信器74はコイルを用いたものに限らず、例えば米国特許第3898555号公報、特開昭61−112923号公報のように接触式の受信器を用いてもよい。
図4は、図1のような流体圧アクチュエータに適用した場合の変位センサ7の検出信号の波形例である。時間Tは磁歪センサのサンプリング時間であって、(a)のようにスタートパルスRsがT時間ごとに磁歪線に与えられ、(b)のように各マグネット近傍で生じた磁歪波形G1(マグネット9に対応)とG2(マグネット8に対応)とが受信器で検出される。(c)は夫々の磁歪波形G1,G2を波形整形したストップパルスH1とH2を示し、t1がストップパルスH1の到達時間、t2がストップパルスH2の到達時間である。スプリング4の圧縮量は、ロッド2のフランジ部2cとピストン3との相対距離、つまりストップパルスH1とH2の時間差に比例するので、時間差(t2−t1)によって求める事ができる。また、ロッド2の位置はマグネット8の位置、つまり時間t2から明らかになる。
さて、本アクチュエータの動作を説明する。ピストン3を駆動する力は、シリンダ1の第1ポート1a又は第2ポート1bに供給される流体圧P1、P2によって発生する。第1ポート1a側のピストン3の受圧面積は、シリンダ1の内径とピストン3の貫通孔3aの内径で囲まれる環状面積A1であり、第2ポート1b側の受圧面積はシリンダ1の内径とロッド2の外径に囲まれる環状面積A2(但し、ピストン3の貫通孔3aの内径とロッド2の外径が同じであれば、A1=A2)である。ここで、ロッド2の断面積をA3とする。
P1>P2のとき、ロッド2はその断面積A3に圧力P1を掛けた力で図1の左方向に移動し、同時にピストン3は環状面積A1に差圧(P1−P2)を掛けた力で図1の左方向に動こうとし、その力はスプリング4を介してロッド2にも作用する。ピストン3はロッド2とシリンダ1に対して摺動自在であるから、スプリング4は圧縮されることになり、ロッド2の変位はマグネット8の位置で検出でき、スプリング4の圧縮量はマグネット8と9の距離の変化で検出できることになる。
図5はスプリング4のばね長とばね荷重との関係を示す。L0は図1の状態におけるばね長であり、L1は図2の状態におけるばね長である。F0は予荷重であり、スプリング4をL0からL1へ圧縮することにより、ばね荷重はF0からF1へ増大する。ΔL(=L0−L1)がスプリング4の圧縮量であり、マグネット8と9の距離の変化に相当する。マグネット8と9の距離の変化は、図1の状態で検出した時間差(t2−t1)と図2の状態で検出した時間差(t2−t1)との差によって求めることができる。
スプリング4の圧縮量ΔLは、ピストン3によって生じる力A1×(P1−P2)に比例する。即ち、
ΔL∝A1×(P1−P2) ・・・(1)
となる。ここで、(1)式の比例定数(スプリングのばね定数)は予め求めておく。一方、スプリング4の圧縮量ΔLは、上述のように変位センサ7が検出した時間差(t2−t1)の変化によって求めることができる。
ロッド2には、ピストン3によって生じる力以外に、ロッド2の受圧面積A3に対応した力A3×P1も作用するから、ロッド2の出力する力をFdとすると、
Fd=A1×(P1−P2)+A3×P1 ・・・(2)
となる。
流体圧アクチュエータの負荷制御の場合、定常状態ではロッド2の位置は一定値であり、一般的にP2はゼロ(又は大気圧)であって、その時のロッド2の工作物Wに与える負荷Fsは、
Fs=A1×P1+A3×P1
=(A1+A3)P1 ・・・(3)
となる。(1)式でP2=0にすると、スプリング4の圧縮量から圧力P1が分り、その圧力P1を用いて(3)式から負荷Fsを求めることができる(なお、A1,A2,A3等は既知である)。
図6は上述の流体圧アクチュエータを用いた制御システムの一例を示す。図6において、流体圧源(例えば油圧源)11から一定圧の流体が流量制御弁12,13へ供給されている。流量制御弁12,13は電磁弁であり、ソレノイド12a,13aに入力される電気信号に応じてシリンダ1の各ポート1a,1bへ供給される流量を制御している。なお、弁12、13は単なるON/OFF切替弁でもよいし、圧力制御弁でもよい。変位センサ7の検出信号はコントローラ10へ入力され、ここで図4に示す信号処理と上述の演算処理とを行い、時間t2及び時間差(t2−t1)からロッド2の位置と負荷とを求めることができる。なお、ロッド2の位置と負荷とに応じて、コントローラ10が流量制御弁12,13を制御してもよい。このようにして、ロッド2の位置と負荷とを制御することができる。
〔第2実施例〕
図7は本発明にかかる流体圧アクチュエータの第2実施例を示す。第1実施例では定常状態での負荷制御を例にして説明したが、シリンダのロッドが動いている時、換言するとロッドの動的制御の最中では、P2がゼロ(又は大気圧)であるとは限らない。図1の場合は、第1,第2ポートの有効受圧面積が異なり、第1ポート側ではA1+A3、第2ポート側ではA2(もしくはA1)である。(1)式に見るように、スプリング4の圧縮量は差圧(P1−P2)に比例するので、両ポートの圧力P1とP2の有効受圧面積を同じにするのが望まれる。
第2実施例は圧力P1とP2の有効受圧面積を同じにする実施例である。第1実施例と同じ機能を有するものには同じ番号を付けることを原則とした。圧力P3が供給されるポート1cは新たに追加したポートで、第1ピストン部25とエンドキャップ6との間に圧力P3が作用する。通常は、このポート1cは流体の戻りタンク(図示せず)又は大気に接続するものとする。
エンドキャップ6の中心部に円筒状のガイドパイプ20が固定されている。ガイドパイプ20の中心部には空洞部20aを有し、その空洞部20aに磁歪式変位センサ7の検出部7aが所定の隙間をあけて挿入されている。変位センサ7の本体部7bはガイドパイプ20の終端部に固定されている。シリンダ1の内周とガイドパイプ20の外周との間に第1ピストン25が摺動自在に配置され、この第1ピストン25の側面にロッド2の終端部が一体的に連結されている。ロッド2は円筒状のシリンダ部2fを備えており、その始端側は図示しない工作物と連結されるキャップ2gで閉じられている。ロッド2の内周とガイドパイプ20の外周との間には、第2ピストン3が摺動自在に配置されている。
ガイドパイプ20の外周にはフランジ部20bが形成され、このフランジ部20bと第2ピストン3との間に圧縮方式のスプリング4が配置されている。ガイドパイプ20の始端部外周には、第2ピストン3の移動を規制するストッパ21が固定されている。第1ピストン部25と第2ピストン3にはそれぞれマグネット8、9が固定されている。なお、ロッド2、第1ピストン25、第2ピストン3の材質は非磁性でなくても良いが、ガイドパイプ20は非磁性体で形成するのが望ましい。
エンドキャップ6には、圧力P1が供給されるポート6aが形成されている。ポート6aに供給された流体は、ガイドパイプ20の連通孔20cを経て空洞部20aへと入り、空洞部20aと変位センサ7の検出部7aとの隙間を流れて、第2ピストン3とロッド2のキャップ2gとの間の空間22に入るようになっている。一方、圧力P2が供給されるポート1bは、シリンダ1の内周とロッド2の外周との間の空間24と連通している。空間24は、ロッド2に形成された連通孔2hを介して、第1ピストン25と第2ピストン3との間に形成された空間23と連通している。
ポート6a(P1)を高圧側に、ポート1b(P2)を低圧側(もしくは大気圧)に接続すると、流体はポート6aからガイド20の連通孔20cを経て、ガイドパイプ20の空洞部20aを流れてロッド2を図7の左方向に押し出す。一方、低圧側は、第2ピストン3(ロッド2のシリンダ部内径とガイドイプ20の外径部の間を摺動)の環状面積A1で押し出される流体が、ロッド2の連通孔2hを通り、環状空間24(有効断面積A2)に流れ、ロッド2が左方向に移動すると、ロッド2の右端に設けられた第1ピストン25も左方向に動くから、A1とA2の面積に支配される流体が合算されてポート1bから外部に流出する。
ガイドパイプ20の外径から計算される断面積をA3とすれば、圧力P1とP2の有効受圧面積は、
P1側・・・A1+A3
P2側・・・A1+A2
となって、A2=A3になるように図7に示す各部の寸法を決めれば、P1とP2側の有効受圧面積を同じにすることが可能となる。アクチュエータが動的な状態、静的な状態のいずれでも、常にスプリング4の圧縮量に比例した負荷が工作物(図示せず)に作用する。
A1+A3=A1+A2=A0とすれば、(2)式から
Fd=A0(P1−P2) ・・・(4)
となり、スプリング4の圧縮量が分れば、(1)式から(P1−P2)が分り、次に(4)式からアクチュエータの出力する力が、アクチュエータの状態が動的であろうと静的であろうと、明らかになる。
ロッド2が動いている場合、ロッド2の慣性の影響で必ずしもP1=P2とは限らない。スプリング4の圧縮量は(1)式のように(P1−P2)に比例するから、第1実施例ではロッド2の位置決めが完了し、ポートP1に必要な圧力が加えられ、ポートP2の圧力がゼロ(又は大気圧)になるようにして、その時の負荷がスプリング4の圧縮量から分るようにしている。一方、第2実施例では、前記したように圧力P1とP2に関わる有効受圧面積が同じであるから、ロッド2に実際に作用している負荷を、ロッド2の位置決めが完了した時だけでなく、ロッド2が動いているときでも検出できる。
第1実施例では、ロッド2の位置をマグネット8の位置によって検出し、ロッド2の負荷をマグネット8と9の相対距離によって検出した。第2実施例では、ロッド2の位置を第1ピストン25に固定されたマグネット8で検出する点では同様であるが、ロッド2の負荷はマグネット8と9の相対距離ではなく、マグネット9の位置によって検出している。すなわち、無負荷状態では空間22に供給される流体圧を受けてロッド2だけが突出するので、スプリング4は圧縮されない。つまり、マグネット9の位置は一定であり、負荷が0であることがわかる。一方、ロッド2に負荷がかかると、第2ピストン3が後退し、スプリング4が圧縮される。スプリング4の圧縮量は、マグネット9の位置によって検出できるので、ロッド2の負荷を求めることができる。
第1,第2実施例の流体圧アクチュエータでは、いずれもロッド2が伸びる時にスプリング4が圧縮されて、その時のロッド2に作用する力を知ることができるが、ロッドが伸び状態から後退するときにはストッパ16,21にピストン3の動きが制せられ、スプリング4の状態からロッド2に作用する力は分からない。第1実施例でこれを改良するには、例えばスプリング4の両端をピストン3とロッド2のフランジ部2cに固定すれば、スプリング4の引張り方向でもロッド2に作用する力がわかるようになる。但し、この場合はストッパ16を図1の右方向にずらした設計にし、ピストン3がスプリング4を引張った状態でも摺動可能にしておけばよい。
〔第3実施例〕
図8は、前記のようにスプリング4を引張り状態でも有効に力が検出できる方法ではなく、スプリング4を常に圧縮状態で同じ目的を果たそうとするものである。そのために、第2ピストン3を間にしてその両側に2個のスプリング4aと4bを配置したものである。一方のスプリング4aは、第2ピストン3とガイドパイプ20のフランジ部20bとの間に配置され、他方のスプリング4bは第2ピストン3とガイドパイプ20の先端に固定されたストッパ21との間に配置される。その他の構造は第2実施例と同様であるため、同一番号を付して重複説明を省略する。
ポート6a(P1)から供給される流体は、ガイドパイプ20の連通孔20c、空洞部20aと変位センサ7の検出部7aによって構成される環状空間を流れて空間22に入り、第2ピストン3を右方向に押し、その結果ロッド2は伸び出すことになる。ロッド2に加わる負荷は、スプリング4aの圧縮量により検出できる。逆に、ロッド2が伸び状態から後退するときには、ポート1b(P2)から、空間24、連通孔2hを介して空間23へ流体を供給する。その結果、第2ピストン3を左方向に押し、ロッド2は後退する。ロッド2に加わる負荷は、スプリング4bの圧縮量により検出できる。
第1〜第3実施例は、本発明のほんの数例を示すに過ぎず、本発明の趣旨を逸脱しない範囲で任意に変更可能である。例えば第2、第3実施例において、空間22への流体圧を、ガイドパイプ20の空洞部20aと変位センサの検出部7aとの隙間を介して供給したが、ロッド2のシリンダ部2f又はキャップ2gを介して直接供給してもよい。
1 シリンダ
2 ロッド
2a 操作部
2b 空洞部
2c フランジ部
3 ピストン(第2ピストン)
4 スプリング
5 フロントキャップ
6 エンドキャップ
7 磁歪式変位センサ
7a 検出部
7b 本体部
8,9 マグネット
10 コントローラ
11 流体圧源
12,13 流量制御弁
16 ストッパ
20 ガイドパイプ
21 ストッパ
25 第1ピストン
73 磁歪線
74 受信器

Claims (4)

  1. シリンダと、
    前記シリンダ内を摺動し、中心部に貫通孔を有するピストンと、
    前記ピストンの貫通孔を摺動自在に貫通し、一端部が前記シリンダの一端部を閉じるエンドキャップ部を貫通して外部に突出し、内部に他端側へ開口する空洞部を有するロッドと、
    前記ロッドの空洞部に挿入され、前記ロッドの軸線方向に延びる磁歪線を有する磁歪式変位センサと、
    前記ロッド及びピストンに、前記変位センサの有効検出ストローク範囲内となるようにそれぞれ固定された第1と第2のマグネットと、
    前記ピストンとロッドとの間に配置され、前記ピストンに加わる流体圧を前記ロッドに軸方向力として伝え、変位に応じたばね力を発生するスプリングと、を備え、
    前記変位センサは、前記磁歪線の軸線方向にスタートパルスを流すことにより、前記マグネットの近接する磁歪線の部位で弾性波を発生させ、磁歪線の特定部位に設けた受信器までの弾性波の伝播時間を計測することにより、前記マグネットの機械的変位を検出するものであり、
    前記ロッドの位置を前記第1のマグネットの位置によって検出し、前記ロッドの軸方向負荷を前記第1と第2のマグネットの離間距離によって検出することを特徴とする、流体圧アクチュエータ。
  2. シリンダと、
    前記シリンダの軸心部に固定され、内部に空洞部を有するガイドパイプと、
    前記シリンダの内周とガイドパイプの外周との間を摺動する第1ピストンと、
    一端が第1ピストンと連結され、他端が前記シリンダの一端部から外部へ突出し、当該端部が閉じられた円筒状のロッドと、
    前記ロッドの内周とガイドパイプの外周との間を摺動する第2ピストンと、
    前記ロッドの端部と第2ピストンとの間に形成された第1の流体圧室と、
    前記ガイドパイプの空洞部に挿入され、前記ガイドパイプの軸線方向に延びる磁歪線を有する磁歪式変位センサと、
    前記第1ピストン及び第2ピストンに、前記変位センサの有効検出ストローク範囲内となるようにそれぞれ固定された第1と第2のマグネットと、
    前記第2ピストンとガイドパイプとの間に配置され、前記第2ピストンを前記ロッドの突出方向に付勢し、変位に応じたばね力を発生するスプリングと、を備え、
    前記変位センサは、前記磁歪線の軸線方向にスタートパルスを流すことにより、前記マグネットの近接する磁歪線の部位で弾性波を発生させ、磁歪線の特定部位に設けた受信器までの弾性波の伝播時間を計測することにより、前記マグネットの機械的変位を検出するものであり、
    前記ロッドの位置を前記第1のマグネットの位置によって検出し、前記ロッドの軸方向負荷を前記第2のマグネットの位置によって検出することを特徴とする、流体圧アクチュエータ。
  3. 前記ロッドの内周とガイドパイプの外周と第1ピストンと第2ピストンとの間に第2の流体圧室が形成され、当該第2の流体圧室はロッドの外周壁に形成された連通孔を介して、前記ロッドの外周と前記シリンダの内周との間に形成された第3の流体圧室へ接続され、当該第3の流体圧室に面する前記第1ピストンの受圧面積と前記第1の流体圧室に面する前記ガイドパイプの外径に基づく円の断面積とを等しくしたことを特徴とする、請求項2に記載の流体圧アクチュエータ。
  4. 前記ガイドパイプの先端部にストッパ部が設けられ、当該ストッパ部と第2ピストンとの間に、前記第2ピストンに対して前記スプリングと逆方向に付勢する第2のスプリングが設けられていることを特徴とする、請求項2又は3に記載の流体圧アクチュエータ。
JP2010019937A 2010-02-01 2010-02-01 位置と負荷の検出可能な流体圧アクチュエータ Expired - Fee Related JP5383535B2 (ja)

Priority Applications (1)

Application Number Priority Date Filing Date Title
JP2010019937A JP5383535B2 (ja) 2010-02-01 2010-02-01 位置と負荷の検出可能な流体圧アクチュエータ

Applications Claiming Priority (1)

Application Number Priority Date Filing Date Title
JP2010019937A JP5383535B2 (ja) 2010-02-01 2010-02-01 位置と負荷の検出可能な流体圧アクチュエータ

Publications (2)

Publication Number Publication Date
JP2011158027A JP2011158027A (ja) 2011-08-18
JP5383535B2 true JP5383535B2 (ja) 2014-01-08

Family

ID=44590152

Family Applications (1)

Application Number Title Priority Date Filing Date
JP2010019937A Expired - Fee Related JP5383535B2 (ja) 2010-02-01 2010-02-01 位置と負荷の検出可能な流体圧アクチュエータ

Country Status (1)

Country Link
JP (1) JP5383535B2 (ja)

Cited By (1)

* Cited by examiner, † Cited by third party
Publication number Priority date Publication date Assignee Title
CN104074832A (zh) * 2014-06-18 2014-10-01 哈尔滨工业大学 自保护碟簧式锁紧液压缸

Families Citing this family (13)

* Cited by examiner, † Cited by third party
Publication number Priority date Publication date Assignee Title
CN102562706B (zh) * 2012-02-23 2015-02-04 无锡亿利大机械有限公司 一体化伺服油缸
JP2013220273A (ja) * 2012-04-18 2013-10-28 Tokyo Institute Of Technology 外力算出方法
CN104236760B (zh) * 2014-09-10 2016-05-04 江苏科技大学 一种拉力试验机的弹簧力值传感器
CN104280158B (zh) * 2014-09-10 2016-06-29 舟山市质量技术监督检测研究院 一种用于拉力试验机的多层力值传感器及其测量方法
CN107044465A (zh) * 2017-06-19 2017-08-15 山东达睿智能设备股份有限公司 一种便于安装的气缸定位装置
WO2019107293A1 (ja) * 2017-11-30 2019-06-06 日本精機株式会社 ストロークセンサ
JP6960157B2 (ja) * 2017-11-30 2021-11-05 株式会社東和製作所 流体シリンダ
CN107975514B (zh) * 2017-12-27 2023-10-03 江苏徐工工程机械研究院有限公司 油缸和破碎机
KR102033687B1 (ko) * 2018-05-24 2019-10-17 재단법인대구경북과학기술원 레그 프레스 장치
CN109058219A (zh) * 2018-08-30 2018-12-21 哈尔滨工业大学 一种内置传感器式液压缸装置
KR102112637B1 (ko) * 2018-09-19 2020-05-19 김명구 선박용 엔진의 스트로크 측정장치
CN114193395B (zh) * 2021-12-31 2024-01-26 中国航空制造技术研究院 一种具有监测功能的安装工具
CN116654661B (zh) * 2023-07-28 2023-10-27 山西科为磁感技术有限公司 一种矿用物料输送机用铁磁材料检测系统

Family Cites Families (9)

* Cited by examiner, † Cited by third party
Publication number Priority date Publication date Assignee Title
JPS53117174A (en) * 1977-03-22 1978-10-13 Sakunao Tanaka Double cylinder structure and operating device thereof
JPS6285819A (ja) * 1985-10-11 1987-04-20 Sankyo Boeki Kk 変位検出装置
JPH0678899B2 (ja) * 1989-01-07 1994-10-05 サンテスト株式会社 変位検出装置
JPH0365002U (ja) * 1989-10-27 1991-06-25
JPH04191509A (ja) * 1990-11-26 1992-07-09 Hitachi Constr Mach Co Ltd シリンダ装置のストローク検出装置
JPH07269503A (ja) * 1994-03-30 1995-10-17 Nakamura Koki Kk ピストン型アキュムレータのピストン位置検出装置
JP2000337975A (ja) * 2000-01-01 2000-12-08 Mitsubishi Materials Corp スラスト力検出装置、トルク・スラスト力検出装置及び検出方法
JP2001295812A (ja) * 2000-04-14 2001-10-26 Koganei Corp シリンダの衝撃吸収装置
JP4733481B2 (ja) * 2005-09-09 2011-07-27 カヤバ工業株式会社 シリンダ装置

Cited By (2)

* Cited by examiner, † Cited by third party
Publication number Priority date Publication date Assignee Title
CN104074832A (zh) * 2014-06-18 2014-10-01 哈尔滨工业大学 自保护碟簧式锁紧液压缸
CN104074832B (zh) * 2014-06-18 2016-03-23 哈尔滨工业大学 自保护碟簧式锁紧液压缸

Also Published As

Publication number Publication date
JP2011158027A (ja) 2011-08-18

Similar Documents

Publication Publication Date Title
JP5383535B2 (ja) 位置と負荷の検出可能な流体圧アクチュエータ
JP5715161B2 (ja) 弁装置
US5514961A (en) Position detecting device for a linear drive including two magnets having like poles disposed facing each other for concentrating the flux at one point
JP6713457B2 (ja) 磁場生成器及び位置検出アセンブリ
US8555918B2 (en) Flow rate control valve and spool position detection device for the flow rate control valve
US7788983B2 (en) Sensor arrangement
US20130228401A1 (en) Vibration damper having a sensor device
US8485497B2 (en) Hydraulic valve device with associated spool displacement transducer
KR20060096358A (ko) 위치검출기구가 부착된 액츄에이터
CN104729446B (zh) 一种测量密封圈弹性变形极限位移和最大静摩擦力的装置
GB2591393A (en) Flow tube position sensor and monitoring for sub surface safety valves
WO2012039293A1 (ja) リニアアクチュエータ
US6267140B1 (en) Directional control valve having position detecting function
JP5711858B1 (ja) 衝撃緩衝機能付きシリンダ
CN209370577U (zh) 具有传感器功能的过程阀
EP2484949B1 (en) Hydraulic valve device with associated spool displacement transducer
JP2017009485A (ja) ストローク検出装置
JP2019519739A (ja) 油空圧式ピストン型アキュムレータ
JP2006508365A (ja) 移動部材用速度センサー
JP2017062146A (ja) スプール弁位置検出装置
US20190154164A1 (en) Piezoelectrically actuated quick-action hydraulic valve
US11313389B2 (en) Directly-controlled hydraulic directional valve
EP3483456A1 (en) Device for detecting position of a piston in a fluid pressure cylinder
CN205679186U (zh) 一种变量机构位移检测装置
RU102265U1 (ru) Измерительный преобразователь ускорений типа "сопло-заслонка"

Legal Events

Date Code Title Description
A621 Written request for application examination

Free format text: JAPANESE INTERMEDIATE CODE: A621

Effective date: 20121115

A977 Report on retrieval

Free format text: JAPANESE INTERMEDIATE CODE: A971007

Effective date: 20130913

TRDD Decision of grant or rejection written
A01 Written decision to grant a patent or to grant a registration (utility model)

Free format text: JAPANESE INTERMEDIATE CODE: A01

Effective date: 20131001

A61 First payment of annual fees (during grant procedure)

Free format text: JAPANESE INTERMEDIATE CODE: A61

Effective date: 20131001

R150 Certificate of patent or registration of utility model

Ref document number: 5383535

Country of ref document: JP

Free format text: JAPANESE INTERMEDIATE CODE: R150

Free format text: JAPANESE INTERMEDIATE CODE: R150

R250 Receipt of annual fees

Free format text: JAPANESE INTERMEDIATE CODE: R250

LAPS Cancellation because of no payment of annual fees