JP5380997B2 - ダイバーシティアンテナ装置と、これを用いた電子機器 - Google Patents
ダイバーシティアンテナ装置と、これを用いた電子機器 Download PDFInfo
- Publication number
- JP5380997B2 JP5380997B2 JP2008265984A JP2008265984A JP5380997B2 JP 5380997 B2 JP5380997 B2 JP 5380997B2 JP 2008265984 A JP2008265984 A JP 2008265984A JP 2008265984 A JP2008265984 A JP 2008265984A JP 5380997 B2 JP5380997 B2 JP 5380997B2
- Authority
- JP
- Japan
- Prior art keywords
- antenna element
- phase shifter
- variable
- variable phase
- antenna
- Prior art date
- Legal status (The legal status is an assumption and is not a legal conclusion. Google has not performed a legal analysis and makes no representation as to the accuracy of the status listed.)
- Expired - Fee Related
Links
Images
Classifications
-
- H—ELECTRICITY
- H01—ELECTRIC ELEMENTS
- H01Q—ANTENNAS, i.e. RADIO AERIALS
- H01Q21/00—Antenna arrays or systems
- H01Q21/24—Combinations of antenna units polarised in different directions for transmitting or receiving circularly and elliptically polarised waves or waves linearly polarised in any direction
-
- H—ELECTRICITY
- H04—ELECTRIC COMMUNICATION TECHNIQUE
- H04B—TRANSMISSION
- H04B7/00—Radio transmission systems, i.e. using radiation field
- H04B7/02—Diversity systems; Multi-antenna system, i.e. transmission or reception using multiple antennas
- H04B7/04—Diversity systems; Multi-antenna system, i.e. transmission or reception using multiple antennas using two or more spaced independent antennas
- H04B7/08—Diversity systems; Multi-antenna system, i.e. transmission or reception using multiple antennas using two or more spaced independent antennas at the receiving station
- H04B7/0837—Diversity systems; Multi-antenna system, i.e. transmission or reception using multiple antennas using two or more spaced independent antennas at the receiving station using pre-detection combining
- H04B7/0842—Weighted combining
- H04B7/0848—Joint weighting
- H04B7/0857—Joint weighting using maximum ratio combining techniques, e.g. signal-to- interference ratio [SIR], received signal strenght indication [RSS]
-
- H—ELECTRICITY
- H04—ELECTRIC COMMUNICATION TECHNIQUE
- H04B—TRANSMISSION
- H04B7/00—Radio transmission systems, i.e. using radiation field
- H04B7/02—Diversity systems; Multi-antenna system, i.e. transmission or reception using multiple antennas
- H04B7/10—Polarisation diversity; Directional diversity
Landscapes
- Engineering & Computer Science (AREA)
- Computer Networks & Wireless Communication (AREA)
- Signal Processing (AREA)
- Radio Transmission System (AREA)
- Variable-Direction Aerials And Aerial Arrays (AREA)
Description
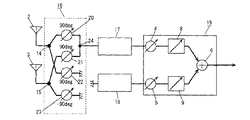
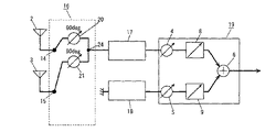
以下、本発明の実施の形態1について、図1を用いて説明する。図1は、本発明のダイバーシティアンテナ装置のブロック図である。
以下、本発明の実施の形態2について、図17〜図26を用いて説明する。
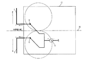
2 第1アンテナエレメント
3 第2アンテナエレメント
4 第1可変移相器
5 第2可変移相器
6 合成器
7 信号処理部
8 第1可変増幅器
9 第2可変増幅器
10 従来のダイバーシティアンテナ装置
11 第1給電部
12 第2給電部
13 グランド板
14 第1給電ポート
15 第2給電ポート
16 偶モード奇モード分波回路
17 第1チューナ
18 第2チューナ
19 ダイバーシティ合成器
20 第1移相器
21 第2移相器
22 第3移相器
23 第4位相器
24 第1交点
25 第2交点
28 対称面(線)
Claims (5)
- 第1アンテナエレメントと、第2アンテナエレメントと、
前記第1アンテナエレメントに電気的に接続された第1可変移相器と、
前記第2アンテナエレメントに電気的に接続された第2可変移相器と、
前記第1可変移相器の出力信号と前記第2可変移相器の出力信号とを合成する合成器と、
前記合成器の出力側に電気的に接続される信号処理部と、
前記第1可変位相器に直列に接続された第1可変増幅器と、
前記第2可変位相器に直列に接続された第2可変増幅器と、
を有し、
前記信号処理部は、前記信号処理部に入力される信号の信号品質値を導出し、この信号品質値に基づいて前記第1可変移相器と前記第2可変移相器の移相量を制御すると共に、
前記第1アンテナエレメントの入力インピーダンスと前記第2アンテナエレメントの入力インピーダンスとは概ね同一値であり、
前記第1アンテナエレメントと前記第2アンテナエレメントのそれぞれの偏波が共に直線偏波の場合は、
前記第1アンテナエレメントと前記第2アンテナエレメントのそれぞれの直線偏波が交差する点において、それぞれの直線偏波は所定の角度θを有しており、角度θ≠0度で且つ、θ≠90度であって、
前記信号処理部は、前記信号品質値に基づいて前記第1可変移相器の移相量と前記第2可変移相器の移相量と前記第1可変増幅器と前記第2可変増幅器の利得とを制御することにより、
直交する偏波から得られた2つの信号を前記合成器で合成することと同様の効果が得られるダイバーシティアンテナ装置。 - 第1アンテナエレメントと、第2アンテナエレメントと、
前記第1アンテナエレメントに電気的に接続された第1可変移相器と、
前記第2アンテナエレメントに電気的に接続された第2可変移相器と、
前記第1可変移相器の出力信号と前記第2可変移相器の出力信号とを合成する合成器と、
前記合成器の出力側に電気的に接続される信号処理部と、
前記第1可変位相器に直列に接続された第1可変増幅器と、
前記第2可変位相器に直列に接続された第2可変増幅器と、
を有し、
前記信号処理部は、前記信号処理部に入力される信号の信号品質値を導出し、この信号品質値に基づいて前記第1可変移相器と前記第2可変移相器の移相量を制御すると共に、
前記第1アンテナエレメントと前記第2アンテナエレメントは任意線において概ね線対称となる、又は、任意面において概ね面対称となり、
前記第1アンテナエレメントと前記第2アンテナエレメントのそれぞれの偏波が共に直線偏波の場合は、
前記第1アンテナエレメントと前記第2アンテナエレメントのそれぞれの直線偏波が交差する点において、それぞれの直線偏波は所定の角度θを有しており、
角度θ≠0度で且つ、θ≠90度であって、
前記信号処理部は、前記信号品質値に基づいて前記第1可変移相器の移相量と前記第2可変移相器の移相量と前記第1可変増幅器と前記第2可変増幅器の利得とを制御することにより、
直交する偏波から得られた2つの信号を前記合成器で合成することと同様の効果が得られるダイバーシティアンテナ装置。 - 前記信号処理部は、前記信号品質値が最良となるように前記第1可変移相器と前記第2可変移相器の移相量を制御することにより、
直交する偏波から得られた2つの信号を前記合成器で合成することと同様の効果が得られる、請求項1又は請求項2のいずれかに記載のダイバーシティアンテナ装置。 - 前記信号処理部は、前記信号品質値が最良となるように前記第1可変増幅器と前記第2可変増幅器の利得を制御することにより、
直交する偏波から得られた2つの信号を前記合成器で合成することと同様の効果が得られる請求項3に記載のダイバーシティアンテナ装置。 - 請求項1又は請求項2のいずれかのダイバーシティアンテナ装置と、
前記ダイバーシティアンテナ装置の出力側に電気的に接続された表示部とを有した電子機器。
Priority Applications (3)
| Application Number | Priority Date | Filing Date | Title |
|---|---|---|---|
| JP2008265984A JP5380997B2 (ja) | 2008-10-15 | 2008-10-15 | ダイバーシティアンテナ装置と、これを用いた電子機器 |
| EP09172540.8A EP2178170B1 (en) | 2008-10-15 | 2009-10-08 | Diversity antenna system and electronic apparatus using the same |
| CN200910207309A CN101728626A (zh) | 2008-10-15 | 2009-10-15 | 分集式天线装置及其电子设备 |
Applications Claiming Priority (1)
| Application Number | Priority Date | Filing Date | Title |
|---|---|---|---|
| JP2008265984A JP5380997B2 (ja) | 2008-10-15 | 2008-10-15 | ダイバーシティアンテナ装置と、これを用いた電子機器 |
Publications (2)
| Publication Number | Publication Date |
|---|---|
| JP2010098411A JP2010098411A (ja) | 2010-04-30 |
| JP5380997B2 true JP5380997B2 (ja) | 2014-01-08 |
Family
ID=41728371
Family Applications (1)
| Application Number | Title | Priority Date | Filing Date |
|---|---|---|---|
| JP2008265984A Expired - Fee Related JP5380997B2 (ja) | 2008-10-15 | 2008-10-15 | ダイバーシティアンテナ装置と、これを用いた電子機器 |
Country Status (3)
| Country | Link |
|---|---|
| EP (1) | EP2178170B1 (ja) |
| JP (1) | JP5380997B2 (ja) |
| CN (1) | CN101728626A (ja) |
Cited By (1)
| Publication number | Priority date | Publication date | Assignee | Title |
|---|---|---|---|---|
| US10218426B1 (en) | 2017-09-11 | 2019-02-26 | Kabushiki Kaisha Toshiba | Antenna device, wireless communication device and signal transmission method |
Families Citing this family (5)
| Publication number | Priority date | Publication date | Assignee | Title |
|---|---|---|---|---|
| US8766871B2 (en) | 2010-07-06 | 2014-07-01 | Panasonic Corporation | Antenna apparatus and display apparatus |
| WO2012125186A1 (en) | 2011-03-15 | 2012-09-20 | Intel Corporation | Conformal phased array antenna with integrated transceiver |
| US8849217B2 (en) | 2011-06-22 | 2014-09-30 | Broadcom Corporation | Antenna arrangement |
| GB2492122A (en) * | 2011-06-22 | 2012-12-26 | Renesas Mobile Corp | Diversity antenna system with de-correlation apparatus and method |
| WO2015161444A1 (zh) * | 2014-04-22 | 2015-10-29 | 华为终端有限公司 | 天线系统及终端 |
Family Cites Families (8)
| Publication number | Priority date | Publication date | Assignee | Title |
|---|---|---|---|---|
| GB2291271B (en) * | 1994-07-09 | 1998-05-13 | Northern Telecom Ltd | Communications antenna structure |
| JP2004242159A (ja) * | 2003-02-07 | 2004-08-26 | Ngk Spark Plug Co Ltd | 高周波アンテナモジュール |
| KR100631668B1 (ko) * | 2003-05-13 | 2006-10-09 | 엘지전자 주식회사 | 고속 데이터 전송 방식 이동 통신 시스템에서의 이동국수신 다이버시티 장치 및 방법 |
| GB0311361D0 (en) | 2003-05-19 | 2003-06-25 | Antenova Ltd | Dual band antenna system with diversity |
| JP4645061B2 (ja) * | 2004-05-11 | 2011-03-09 | ブラザー工業株式会社 | 無線タグ通信装置 |
| JP2005318407A (ja) * | 2004-04-30 | 2005-11-10 | Matsushita Electric Ind Co Ltd | 放送用受信機付き携帯電話 |
| CN101711462B (zh) * | 2006-03-15 | 2013-06-05 | 松下电器产业株式会社 | 自适应控制装置 |
| CN103401522A (zh) * | 2008-03-13 | 2013-11-20 | 松下电器产业株式会社 | 信号传输方法 |
-
2008
- 2008-10-15 JP JP2008265984A patent/JP5380997B2/ja not_active Expired - Fee Related
-
2009
- 2009-10-08 EP EP09172540.8A patent/EP2178170B1/en not_active Not-in-force
- 2009-10-15 CN CN200910207309A patent/CN101728626A/zh active Pending
Cited By (1)
| Publication number | Priority date | Publication date | Assignee | Title |
|---|---|---|---|---|
| US10218426B1 (en) | 2017-09-11 | 2019-02-26 | Kabushiki Kaisha Toshiba | Antenna device, wireless communication device and signal transmission method |
Also Published As
| Publication number | Publication date |
|---|---|
| CN101728626A (zh) | 2010-06-09 |
| EP2178170B1 (en) | 2014-10-01 |
| JP2010098411A (ja) | 2010-04-30 |
| EP2178170A1 (en) | 2010-04-21 |
Similar Documents
| Publication | Publication Date | Title |
|---|---|---|
| JP4695210B2 (ja) | 近接配置アンテナの結合消去の方法と装置 | |
| JP5380997B2 (ja) | ダイバーシティアンテナ装置と、これを用いた電子機器 | |
| JP5381150B2 (ja) | ダイバーシティアンテナ装置と、これを用いた電子機器 | |
| US7292195B2 (en) | Energy diversity antenna and system | |
| US7460071B2 (en) | Triple polarized patch antenna | |
| US20090318092A1 (en) | Multi-antenna system for differential wireless communication devices | |
| CN111987432A (zh) | 天线结构和电子设备 | |
| TWI813371B (zh) | 射頻接收器與用於接收射頻輸入訊號的方法 | |
| JPWO2014061381A1 (ja) | 減結合回路 | |
| CN101091289A (zh) | 三极化隙缝天线 | |
| JP2014093767A (ja) | 直交偏波共用・偏波面可変アンテナ | |
| US20220278465A1 (en) | An antenna device | |
| Ivrlac et al. | Transmit and receive array gain of uniform linear arrays of isotrops | |
| US9755601B1 (en) | Wireless receiver having improved phase shifting schemes with reduced number of phase shifters | |
| JP5338814B2 (ja) | アンテナ装置と、これを用いた通信機器 | |
| Ryu et al. | Design and beamforming performance of the compact ESPAR antenna for the beam space MIMO system | |
| JP2005198102A (ja) | アンテナ装置および無線装置 | |
| JP2011023931A (ja) | アンテナ装置と、これを用いた電子機器 |
Legal Events
| Date | Code | Title | Description |
|---|---|---|---|
| A621 | Written request for application examination |
Free format text: JAPANESE INTERMEDIATE CODE: A621 Effective date: 20111006 |
|
| RD01 | Notification of change of attorney |
Free format text: JAPANESE INTERMEDIATE CODE: A7421 Effective date: 20111114 |
|
| A977 | Report on retrieval |
Free format text: JAPANESE INTERMEDIATE CODE: A971007 Effective date: 20121024 |
|
| RD01 | Notification of change of attorney |
Free format text: JAPANESE INTERMEDIATE CODE: A7421 Effective date: 20121214 |
|
| A131 | Notification of reasons for refusal |
Free format text: JAPANESE INTERMEDIATE CODE: A131 Effective date: 20130402 |
|
| A521 | Written amendment |
Free format text: JAPANESE INTERMEDIATE CODE: A523 Effective date: 20130603 |
|
| TRDD | Decision of grant or rejection written | ||
| A01 | Written decision to grant a patent or to grant a registration (utility model) |
Free format text: JAPANESE INTERMEDIATE CODE: A01 Effective date: 20130903 |
|
| A61 | First payment of annual fees (during grant procedure) |
Free format text: JAPANESE INTERMEDIATE CODE: A61 Effective date: 20130916 |
|
| LAPS | Cancellation because of no payment of annual fees |
