JP5284489B2 - 面状照明装置およびそれを備えた表示装置 - Google Patents
面状照明装置およびそれを備えた表示装置 Download PDFInfo
- Publication number
- JP5284489B2 JP5284489B2 JP2011547370A JP2011547370A JP5284489B2 JP 5284489 B2 JP5284489 B2 JP 5284489B2 JP 2011547370 A JP2011547370 A JP 2011547370A JP 2011547370 A JP2011547370 A JP 2011547370A JP 5284489 B2 JP5284489 B2 JP 5284489B2
- Authority
- JP
- Japan
- Prior art keywords
- light
- guide plate
- planar illumination
- illumination device
- polarizing plate
- Prior art date
- Legal status (The legal status is an assumption and is not a legal conclusion. Google has not performed a legal analysis and makes no representation as to the accuracy of the status listed.)
- Active
Links
Images
Classifications
-
- G—PHYSICS
- G02—OPTICS
- G02F—OPTICAL DEVICES OR ARRANGEMENTS FOR THE CONTROL OF LIGHT BY MODIFICATION OF THE OPTICAL PROPERTIES OF THE MEDIA OF THE ELEMENTS INVOLVED THEREIN; NON-LINEAR OPTICS; FREQUENCY-CHANGING OF LIGHT; OPTICAL LOGIC ELEMENTS; OPTICAL ANALOGUE/DIGITAL CONVERTERS
- G02F1/00—Devices or arrangements for the control of the intensity, colour, phase, polarisation or direction of light arriving from an independent light source, e.g. switching, gating or modulating; Non-linear optics
- G02F1/01—Devices or arrangements for the control of the intensity, colour, phase, polarisation or direction of light arriving from an independent light source, e.g. switching, gating or modulating; Non-linear optics for the control of the intensity, phase, polarisation or colour
- G02F1/13—Devices or arrangements for the control of the intensity, colour, phase, polarisation or direction of light arriving from an independent light source, e.g. switching, gating or modulating; Non-linear optics for the control of the intensity, phase, polarisation or colour based on liquid crystals, e.g. single liquid crystal display cells
- G02F1/133—Constructional arrangements; Operation of liquid crystal cells; Circuit arrangements
- G02F1/1333—Constructional arrangements; Manufacturing methods
- G02F1/1335—Structural association of cells with optical devices, e.g. polarisers or reflectors
- G02F1/133509—Filters, e.g. light shielding masks
- G02F1/133512—Light shielding layers, e.g. black matrix
-
- G—PHYSICS
- G02—OPTICS
- G02B—OPTICAL ELEMENTS, SYSTEMS OR APPARATUS
- G02B6/00—Light guides; Structural details of arrangements comprising light guides and other optical elements, e.g. couplings
- G02B6/0001—Light guides; Structural details of arrangements comprising light guides and other optical elements, e.g. couplings specially adapted for lighting devices or systems
- G02B6/0011—Light guides; Structural details of arrangements comprising light guides and other optical elements, e.g. couplings specially adapted for lighting devices or systems the light guides being planar or of plate-like form
- G02B6/0033—Means for improving the coupling-out of light from the light guide
- G02B6/0056—Means for improving the coupling-out of light from the light guide for producing polarisation effects, e.g. by a surface with polarizing properties or by an additional polarizing elements
-
- G—PHYSICS
- G02—OPTICS
- G02B—OPTICAL ELEMENTS, SYSTEMS OR APPARATUS
- G02B6/00—Light guides; Structural details of arrangements comprising light guides and other optical elements, e.g. couplings
- G02B6/0001—Light guides; Structural details of arrangements comprising light guides and other optical elements, e.g. couplings specially adapted for lighting devices or systems
- G02B6/0011—Light guides; Structural details of arrangements comprising light guides and other optical elements, e.g. couplings specially adapted for lighting devices or systems the light guides being planar or of plate-like form
- G02B6/0081—Mechanical or electrical aspects of the light guide and light source in the lighting device peculiar to the adaptation to planar light guides, e.g. concerning packaging
- G02B6/0086—Positioning aspects
- G02B6/0088—Positioning aspects of the light guide or other optical sheets in the package
-
- G—PHYSICS
- G02—OPTICS
- G02F—OPTICAL DEVICES OR ARRANGEMENTS FOR THE CONTROL OF LIGHT BY MODIFICATION OF THE OPTICAL PROPERTIES OF THE MEDIA OF THE ELEMENTS INVOLVED THEREIN; NON-LINEAR OPTICS; FREQUENCY-CHANGING OF LIGHT; OPTICAL LOGIC ELEMENTS; OPTICAL ANALOGUE/DIGITAL CONVERTERS
- G02F1/00—Devices or arrangements for the control of the intensity, colour, phase, polarisation or direction of light arriving from an independent light source, e.g. switching, gating or modulating; Non-linear optics
- G02F1/01—Devices or arrangements for the control of the intensity, colour, phase, polarisation or direction of light arriving from an independent light source, e.g. switching, gating or modulating; Non-linear optics for the control of the intensity, phase, polarisation or colour
- G02F1/13—Devices or arrangements for the control of the intensity, colour, phase, polarisation or direction of light arriving from an independent light source, e.g. switching, gating or modulating; Non-linear optics for the control of the intensity, phase, polarisation or colour based on liquid crystals, e.g. single liquid crystal display cells
- G02F1/133—Constructional arrangements; Operation of liquid crystal cells; Circuit arrangements
- G02F1/1333—Constructional arrangements; Manufacturing methods
- G02F1/1335—Structural association of cells with optical devices, e.g. polarisers or reflectors
- G02F1/133528—Polarisers
- G02F1/133536—Reflective polarizers
-
- G—PHYSICS
- G02—OPTICS
- G02F—OPTICAL DEVICES OR ARRANGEMENTS FOR THE CONTROL OF LIGHT BY MODIFICATION OF THE OPTICAL PROPERTIES OF THE MEDIA OF THE ELEMENTS INVOLVED THEREIN; NON-LINEAR OPTICS; FREQUENCY-CHANGING OF LIGHT; OPTICAL LOGIC ELEMENTS; OPTICAL ANALOGUE/DIGITAL CONVERTERS
- G02F1/00—Devices or arrangements for the control of the intensity, colour, phase, polarisation or direction of light arriving from an independent light source, e.g. switching, gating or modulating; Non-linear optics
- G02F1/01—Devices or arrangements for the control of the intensity, colour, phase, polarisation or direction of light arriving from an independent light source, e.g. switching, gating or modulating; Non-linear optics for the control of the intensity, phase, polarisation or colour
- G02F1/13—Devices or arrangements for the control of the intensity, colour, phase, polarisation or direction of light arriving from an independent light source, e.g. switching, gating or modulating; Non-linear optics for the control of the intensity, phase, polarisation or colour based on liquid crystals, e.g. single liquid crystal display cells
- G02F1/133—Constructional arrangements; Operation of liquid crystal cells; Circuit arrangements
- G02F1/1333—Constructional arrangements; Manufacturing methods
- G02F1/1335—Structural association of cells with optical devices, e.g. polarisers or reflectors
- G02F1/1336—Illuminating devices
- G02F1/133615—Edge-illuminating devices, i.e. illuminating from the side
-
- G—PHYSICS
- G02—OPTICS
- G02B—OPTICAL ELEMENTS, SYSTEMS OR APPARATUS
- G02B6/00—Light guides; Structural details of arrangements comprising light guides and other optical elements, e.g. couplings
- G02B6/0001—Light guides; Structural details of arrangements comprising light guides and other optical elements, e.g. couplings specially adapted for lighting devices or systems
- G02B6/0011—Light guides; Structural details of arrangements comprising light guides and other optical elements, e.g. couplings specially adapted for lighting devices or systems the light guides being planar or of plate-like form
- G02B6/0013—Means for improving the coupling-in of light from the light source into the light guide
- G02B6/0023—Means for improving the coupling-in of light from the light source into the light guide provided by one optical element, or plurality thereof, placed between the light guide and the light source, or around the light source
- G02B6/0031—Reflecting element, sheet or layer
-
- G—PHYSICS
- G02—OPTICS
- G02B—OPTICAL ELEMENTS, SYSTEMS OR APPARATUS
- G02B6/00—Light guides; Structural details of arrangements comprising light guides and other optical elements, e.g. couplings
- G02B6/0001—Light guides; Structural details of arrangements comprising light guides and other optical elements, e.g. couplings specially adapted for lighting devices or systems
- G02B6/0011—Light guides; Structural details of arrangements comprising light guides and other optical elements, e.g. couplings specially adapted for lighting devices or systems the light guides being planar or of plate-like form
- G02B6/0033—Means for improving the coupling-out of light from the light guide
- G02B6/005—Means for improving the coupling-out of light from the light guide provided by one optical element, or plurality thereof, placed on the light output side of the light guide
- G02B6/0051—Diffusing sheet or layer
-
- G—PHYSICS
- G02—OPTICS
- G02B—OPTICAL ELEMENTS, SYSTEMS OR APPARATUS
- G02B6/00—Light guides; Structural details of arrangements comprising light guides and other optical elements, e.g. couplings
- G02B6/0001—Light guides; Structural details of arrangements comprising light guides and other optical elements, e.g. couplings specially adapted for lighting devices or systems
- G02B6/0011—Light guides; Structural details of arrangements comprising light guides and other optical elements, e.g. couplings specially adapted for lighting devices or systems the light guides being planar or of plate-like form
- G02B6/0033—Means for improving the coupling-out of light from the light guide
- G02B6/005—Means for improving the coupling-out of light from the light guide provided by one optical element, or plurality thereof, placed on the light output side of the light guide
- G02B6/0053—Prismatic sheet or layer; Brightness enhancement element, sheet or layer
Landscapes
- Physics & Mathematics (AREA)
- Nonlinear Science (AREA)
- General Physics & Mathematics (AREA)
- Optics & Photonics (AREA)
- Mathematical Physics (AREA)
- Chemical & Material Sciences (AREA)
- Crystallography & Structural Chemistry (AREA)
- Planar Illumination Modules (AREA)
- Liquid Crystal (AREA)
Description
本発明は、面状照明装置に関し、特に、液晶表示装置のバックライト等に用いられる面状照明装置に関する。
従来より、液晶表示装置に用いられるバックライト装置の1つとして、エッジライト型あるいはサイドライト型と呼ばれるバックライト装置が知られている。エッジライト型のバックライト装置では、一般に透明な樹脂で作製された導光板の一側面近傍あるいは互いに対面となる二側面近傍あるいは四側面近傍にLED(発光ダイオード)やCCFL(冷陰極管)などの発光体が配置され、発光体から出射され導光板に入射された光に基づいて、液晶パネルに向けた面発光が行われる。なお、以下においては、発光体としてLEDが用いられているものを例に挙げて説明する。
図13は、従来のエッジライト型のバックライト装置の一端部の構成を示す断面図である。このバックライト装置は、LED40と、LED40が実装された基板(不図示)を支持するシャーシ(以下、「側面側シャーシ」という。)51と、LED40から発せられた光を液晶パネルに向けて面状に出射させるための導光板20と、導光板20内で裏面側に向かう光を反射させるための反射シート30と、液晶パネルに向けて照射される光の効率を高めるための光学シート80と、光学シート80の上部に配置されるシャーシ(以下、「上面側シャーシ」という。)52とによって構成されている。なお、図13に示すように、光学シート80については、導光板20の発光面側に配置され、反射シート30については、導光板20の裏面側に配置されている。
図13に示すバックライト装置においては、光学シート80は、反射型偏光板81,プリズムシート82,および拡散シート83によって構成されている。拡散シート83は、光を拡散させて均一にする。プリズムシート82は、光の進行方向を液晶パネルに対して垂直方向成分が多くなるように集光する。反射型偏光板81は、一部の光(例えば、特定方向に振動する直線偏光)を透過して、残りの光(例えば、上記特定方向に対して垂直な方向に振動する直線偏光)を反射する。反射型偏光板81を透過した光は、液晶パネルの両面に設けられている偏光板のうちのバックライト装置側の偏光板に入射される。
上述のような構成において、LED40から発せられた光は、直接あるいは反射シート30で反射した後、導光板20に入射される。導光板20に入射された光は、導光板20内を反射しつつ伝搬し、光学シート80を介して発光面側に出射される。
ここで、図13の左右方向について光学シート80が導光板20よりも短くされている(光学シート80の端部が、上面側シャーシ52の中央側端面と導光板20の端面(端部)との中間付近にある)理由について説明する。仮に図14に示すように光学シート80の長さと導光板20の長さとが等しくされていれば、符号71で示す矢印の向きにLED40から出射された光は、符号72で示す矢印のように光学シート80内を伝搬する結果、表示領域のエッジ部からの光漏れの原因となる。そこで、そのような光が上面側シャーシ52で吸収されるよう、図13に示したように光学シート80は導光板20よりも短くされている。
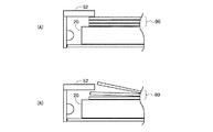
ところで、近年、液晶表示装置の狭額縁化が進められている。このため、バックライト装置についても狭額縁化が進められている。図15は、狭額縁化された従来のエッジライト型のバックライト装置の一端部の構成を示す断面図である。ここで、図13および図15の左右方向について、上面側シャーシ52の中央側端面と導光板20の端面との間の距離に着目すると、図15に示した構成における距離L9は、図13に示した構成における距離L8よりも短くなっている。一例を挙げると、40型の液晶パネルにおいて、距離L9は5mm程度となっている。このように上面側シャーシ52の中央側端面と導光板20の端面との間の距離が短くなっていることに起因して、図13に示した構成とは異なり、図15の左右方向について光学シート90の長さと導光板20の長さとは等しくされている。この理由は次のとおりである。バックライト装置の使用中においては、LED40の発光に伴って、光学シート90は熱により膨張する。このため、光学シート90のサイズについては、或る程度の公差を考慮して設計されている。従って、光学シート90は、シャーシ内で固定されているのではなく、公差の範囲内で動く(ずれる)ようになっている。このような前提下、仮に上面側シャーシ52の中央側端面から光学シート90の端部までの距離を図16Aに示すように短くした構成にすると、例えば液晶表示装置が輸送される時などにおいて、振動によって図16Bに示すように光学シート90がシャーシの外部に飛び出すおそれが生じる。そこで、近年のように狭額縁化されたバックライト装置においては、光学シート90がシャーシ内で保持されるよう、光学シート90上における上面側シャーシ52の中央側端面に相当する位置から当該光学シート90の端部までの距離は、上面側シャーシ52に(光学シート90が)覆われる長さが充分になるように定められている。例えば、図15に示したように光学シート90の長さと導光板20の長さとが等しくされている。
ところが、図15に示した構成によると、上述したように表示領域のエッジ部からの光漏れの発生が懸念される。詳しくは、図17で符号73で示す矢印の向きにLED40から出射された光は、符号74で示す矢印のように光学シート90内を伝搬する結果、光漏れの原因となる。そこで、図18に示すように、光漏れの原因となる光を吸収するための黒印刷60が光学シート90の表面または裏面の一部に施された構成のバックライト装置が提案されている。図18に示した構成のバックライト装置によれば、LED40から出射されて導光板20に入射されずに光学シート90に入射された光は、黒印刷60によって吸収される。このため、狭額縁化されたバックライト装置において、光漏れの発生が抑制される。
なお、本件発明に関連して、日本の特開2004−71167号公報には、導光板の発光面側の縁部の全部又は一部に遮光性テープを貼付することにより光漏れによる輝線や表示ムラの発生を抑制している面状光源装置の発明が開示されている。
ところが、図18に示したように光学シート90の一部に黒印刷60を施した構成にすると、本来的には図19Aで符号75で示す矢印のように導光板20内を伝搬する光が、図19Bで符号76で示す矢印のように黒印刷60によって吸収されてしまう。このため、光漏れの発生については上述したように抑制されるが、輝度の低下が生じる。
また、日本の特開2004−71167号公報に開示された面状光源装置によると、光源の周囲が反射構造体(ランプリフレクタ)で覆われているので導光板に入射される光の効率は高められるが、以下のような課題が挙げられる。まず、反射構造体が薄くなる(例えば500μm程度)ので強度不足が懸念される。また、反射構造体の存在により狭額縁化が困難となる。さらに、光学シートが熱によって膨張したときに、光学シートが伸びることのできる空間がないので、光学シートのたわみが生じる。
そこで本発明は、エッジライト型のバックライト装置において、光漏れの発生および輝度低下を抑制しつつ狭額縁化を実現することを目的とする。
本発明の第1の局面は、複数の光源と、前記光源から発せられた光を面状に出射させるための導光板と、前記導光板の発光面側に配置された複数の光学シートと、前記導光板の位置を基準にして前記導光板の発光面側とは反対側に配置された反射シートとを備えた面状照明装置であって、
前記複数の光学シートを固定するためのシャーシを有し、
前記複数の光学シートのうちの少なくとも1つの光学シートには、前記面状照明装置の非発光領域に相当する領域の一部に遮光部が設けられ、
前記複数の光学シートのうち前記導光板から最も離れた位置に配置されている光学シートは、一部の光を透過して残りの光を反射する反射型偏光板であって、
前記シャーシを形成する面のうち前記光源が設けられている面に対して垂直な方向である第1方向について、前記反射型偏光板の端部が前記導光板の端部よりも前記光源側に位置するように、前記反射型偏光板の長さが前記導光板の長さよりも長くされていることを特徴とする。
前記複数の光学シートを固定するためのシャーシを有し、
前記複数の光学シートのうちの少なくとも1つの光学シートには、前記面状照明装置の非発光領域に相当する領域の一部に遮光部が設けられ、
前記複数の光学シートのうち前記導光板から最も離れた位置に配置されている光学シートは、一部の光を透過して残りの光を反射する反射型偏光板であって、
前記シャーシを形成する面のうち前記光源が設けられている面に対して垂直な方向である第1方向について、前記反射型偏光板の端部が前記導光板の端部よりも前記光源側に位置するように、前記反射型偏光板の長さが前記導光板の長さよりも長くされていることを特徴とする。
本発明の第2の局面は、本発明の第1の局面において、
前記第1方向について、前記導光板の端部と前記反射型偏光板の端部との間の距離は、前記導光板の端部と前記光源が設けられているシャーシの面との間の距離の少なくとも3分の1にされていることを特徴とする。
前記第1方向について、前記導光板の端部と前記反射型偏光板の端部との間の距離は、前記導光板の端部と前記光源が設けられているシャーシの面との間の距離の少なくとも3分の1にされていることを特徴とする。
本発明の第3の局面は、本発明の第1の局面において、
前記第1方向について、前記導光板の端部と前記反射型偏光板の端部との間の距離は、少なくとも1ミリメートルにされていることを特徴とする。
前記第1方向について、前記導光板の端部と前記反射型偏光板の端部との間の距離は、少なくとも1ミリメートルにされていることを特徴とする。
本発明の第4の局面は、本発明の第1の局面において、
前記遮光部は、前記第1方向について、前記光学シート上における前記面状照明装置の発光領域の端部に相当する位置から前記反射型偏光板以外の前記光学シートの端部までの領域のうちの少なくとも3分の1の領域に設けられていることを特徴とする。
前記遮光部は、前記第1方向について、前記光学シート上における前記面状照明装置の発光領域の端部に相当する位置から前記反射型偏光板以外の前記光学シートの端部までの領域のうちの少なくとも3分の1の領域に設けられていることを特徴とする。
本発明の第5の局面は、本発明の第1の局面において、
前記遮光部は、前記光学シートに黒印刷が施されることによって形成されていることを特徴とする。
前記遮光部は、前記光学シートに黒印刷が施されることによって形成されていることを特徴とする。
本発明の第6の局面は、本発明の第1の局面において、
前記シャーシのうち前記光学シートよりも発光面側に配置されている部分は黒色であることを特徴とする。
前記シャーシのうち前記光学シートよりも発光面側に配置されている部分は黒色であることを特徴とする。
本発明の第7の局面は、本発明の第6の局面において、
前記シャーシのうち前記光学シートよりも発光面側に配置されている部分の厚さは1.5ミリメートル以下であることを特徴とする。
前記シャーシのうち前記光学シートよりも発光面側に配置されている部分の厚さは1.5ミリメートル以下であることを特徴とする。
本発明の第8の局面は、本発明の第1の局面において、
前記反射型偏光板は、互いに屈折率の異なる複数の薄膜によって構成され、特定の方向に振動する直線偏光を透過し、前記特定の方向に対して垂直な方向に振動する直線偏光を反射することを特徴とする。
前記反射型偏光板は、互いに屈折率の異なる複数の薄膜によって構成され、特定の方向に振動する直線偏光を透過し、前記特定の方向に対して垂直な方向に振動する直線偏光を反射することを特徴とする。
本発明の第9の局面は、本発明の第1の局面において、
前記反射型偏光板は、コレステリック液晶層と位相差板とによって構成され、
前記コレステリック液晶層は、特定の方向に回転する円偏光を透過し、前記特定の方向とは異なる方向に回転する円偏光を反射し、
前記位相差板は、前記コレステリック液晶層を透過した円偏光を直線偏光にすることを特徴とする。
前記反射型偏光板は、コレステリック液晶層と位相差板とによって構成され、
前記コレステリック液晶層は、特定の方向に回転する円偏光を透過し、前記特定の方向とは異なる方向に回転する円偏光を反射し、
前記位相差板は、前記コレステリック液晶層を透過した円偏光を直線偏光にすることを特徴とする。
本発明の第10の局面は、本発明の第1の局面において、
前記反射型偏光板は、複数の金属細線が形成された基材によって構成され、前記複数の金属細線の間隔よりも大きい波長の光について、前記金属細線に垂直な電界ベクトルを有する成分を透過し、前記金属細線に平行な電界ベクトルを有する成分を反射することを特徴とする。
前記反射型偏光板は、複数の金属細線が形成された基材によって構成され、前記複数の金属細線の間隔よりも大きい波長の光について、前記金属細線に垂直な電界ベクトルを有する成分を透過し、前記金属細線に平行な電界ベクトルを有する成分を反射することを特徴とする。
本発明の第11の局面は、表示装置であって、
表示パネルを更に含み、本発明の第1の局面に係る面状照明装置を備えたことを特徴とする。
表示パネルを更に含み、本発明の第1の局面に係る面状照明装置を備えたことを特徴とする。
本発明の第1の局面によれば、光源が設けられている(シャーシの)一面とその対面間の方向について、反射型偏光板の端部が導光板の端部よりも光源側にはみ出した構成となっている。このため、従来の構成によれば光源の上方のシャーシによって吸収されていた光の一部が、反射型偏光板で反射して導光板に入射される。これにより、光源から出射される光の利用効率が高まり、輝度が向上する。また、光学シートについては、非発光領域に相当する領域の一部に遮光部が設けられている。このため、光源から出射されて導光板に入射されずに光学シートに入射された光は、遮光部によって吸収される。これにより、発光領域と非発光領域との境界部近傍における光漏れの発生が抑制される。以上より、光漏れの発生および輝度低下を抑制しつつ、バックライト装置の狭額縁化が実現される。
本発明の第2の局面によれば、従来の構成において光源の上方のシャーシによって吸収されていた光が、より効率的に反射型偏光板で反射して導光板に入射される。これにより、効果的に輝度低下を抑制しつつ、バックライト装置の狭額縁化が実現される。
本発明の第3の局面によれば、本発明の第2の局面と同様、効果的に輝度低下を抑制しつつ、バックライト装置の狭額縁化が実現される。
本発明の第4の局面によれば、発光領域と非発光領域との境界部近傍における光漏れの原因となる光が、より効果的に遮光部によって吸収される。これにより、効果的に光漏れの発生を抑制しつつ、バックライト装置の狭額縁化が実現される。
本発明の第5の局面によれば、比較的簡易な構成によって発光領域と非発光領域との境界部近傍における光漏れの発生を抑制することができる。
本発明の第6の局面によれば、黒色は光を透過しにくいので、シャーシの部分からの光漏れの発生が抑制される。これにより、光漏れに起因する表示品位の低下が抑制される。
本発明の第7の局面によれば、薄型化されたバックライト装置において、本発明の第6の局面と同様の効果が得られる。
本発明の第8の局面によれば、薄膜積層方式によって実現されている反射型偏光板を用いた構成の面状照明装置において、本発明の第1の局面と同様の効果が得られる。
本発明の第9の局面によれば、コレステリック液晶方式によって実現されている反射型偏光板を用いた構成の面状照明装置において、本発明の第1の局面と同様の効果が得られる。
本発明の第10の局面によれば、ワイヤグリッド方式によって実現されている反射型偏光板を用いた構成の面状照明装置において、本発明の第1の局面と同様の効果が得られる。
本発明の第11の局面によれば、表示装置には、本発明の第1の局面に係る面状照明装置が設けられる。これにより、光漏れの発生および輝度低下を抑制しつつ、表示装置の狭額縁化が実現される。
以下、添付図面を参照しつつ、本発明の一実施形態について説明する。
<1.バックライト装置の構成>
図2は、本発明の一実施形態に係るエッジライト型のバックライト装置の分解斜視図である。また、図1は、図2で符号9で示す矢印の方向からこのバックライト装置を見たときの断面図である。このバックライト装置は、光源(発光体)としての複数個のLED40と、シャーシ50と、LED40から発せられた光を液晶パネルに向けて面状に出射させるための導光板20と、導光板20内で裏面側に向かう光を反射させるための反射シート30と、液晶パネルに向けて照射される光の効率を高めるための光学シート10とによって構成されている。LED40は例えば10mmピッチ(間隔)で基板に実装され、その基板が図2に示すようにシャーシ50の一方の辺58およびその対辺59に固定されている。また、各LED40は、図1で右方向に発光のピークがあるように配置されている。シャーシ50は、図1に示すように、LED40が実装されている基板を支持する側面側シャーシ51と光学シート10の上部に配置される上面側シャーシ52とから構成されている。
図2は、本発明の一実施形態に係るエッジライト型のバックライト装置の分解斜視図である。また、図1は、図2で符号9で示す矢印の方向からこのバックライト装置を見たときの断面図である。このバックライト装置は、光源(発光体)としての複数個のLED40と、シャーシ50と、LED40から発せられた光を液晶パネルに向けて面状に出射させるための導光板20と、導光板20内で裏面側に向かう光を反射させるための反射シート30と、液晶パネルに向けて照射される光の効率を高めるための光学シート10とによって構成されている。LED40は例えば10mmピッチ(間隔)で基板に実装され、その基板が図2に示すようにシャーシ50の一方の辺58およびその対辺59に固定されている。また、各LED40は、図1で右方向に発光のピークがあるように配置されている。シャーシ50は、図1に示すように、LED40が実装されている基板を支持する側面側シャーシ51と光学シート10の上部に配置される上面側シャーシ52とから構成されている。
図13等に示した従来のバックライト装置と同様、光学シート10は、反射型偏光板11,プリズムシート12,および拡散シート13によって構成されている。本実施形態においては、光学シート10のうちの拡散シート13の表面または裏面の一部の領域に、図1に示すように黒印刷60が施されている。この黒印刷60は、遮光部として機能する。反射型偏光板11については、従来のバックライト装置とは異なる構成となっている。詳しくは、図1の左右方向(第1の方向)について、反射型偏光板11は導光板20よりも長くされており、反射型偏光板11の端部は導光板20の端面(端部)よりもLED40側(側面側シャーシ51側)に位置している。なお、以下においては、導光板20の端面から反射型偏光板11の端部までの距離を「はみ出し量」といい、符号L2で示す(図1参照)。
なお、図1において符号L1〜L5で示す距離の一例は次のとおりである。
上面側シャーシ52の中央側端面と導光板20の端面との間の距離L1:5mm。
上記はみ出し量L2:1mm。
導光板20の端面と側面側シャーシ51との間の距離L3:3mm。
導光板20の端面とLED40の先端部との間の距離L4:1.6mm。
黒印刷60の幅L5:3mm。
上面側シャーシ52の中央側端面と導光板20の端面との間の距離L1:5mm。
上記はみ出し量L2:1mm。
導光板20の端面と側面側シャーシ51との間の距離L3:3mm。
導光板20の端面とLED40の先端部との間の距離L4:1.6mm。
黒印刷60の幅L5:3mm。
図3は、上記バックライト装置を含む液晶表示装置の一端部の構成を示す断面図である。バックライト装置は液晶表示装置のシャーシ2に固定される。その際、光学シート10の位置を基準とすると導光板20とは反対側に液晶パネル3が配置される。ここで、図3に示すように、液晶パネル3のアクティブエリア(実際に画像が表示される表示領域)はバックライト装置のアクティブエリア(光の照射が可能な領域)よりも狭くなっている。一例を挙げると、液晶パネル3のアクティブエリアの端部からバックライト装置のアクティブエリアの端部までの距離L6は2mmにされている。一般に、液晶パネル3を構成する2枚のガラス基板のうちの一方のガラス基板についての上記L6に相当する領域にはブラックマトリクスが形成されている。このため、当該領域は外部からは黒色に視認される。なお、本実施形態に係るバックライト装置は、典型的には大型の液晶パネル向けのバックライト装置として採用される。
<2.反射型偏光板について>
光学シート10のうち最も液晶パネル側(図1の発光面側)に配置されるシートには、反射型偏光板11が採用されている。反射型偏光板11は、一部の光を透過して、残りの光を反射する。そして、反射型偏光板11を透過した光は、液晶パネルの両面に設けられている偏光板のうちのバックライト装置側の偏光板に入射される。
光学シート10のうち最も液晶パネル側(図1の発光面側)に配置されるシートには、反射型偏光板11が採用されている。反射型偏光板11は、一部の光を透過して、残りの光を反射する。そして、反射型偏光板11を透過した光は、液晶パネルの両面に設けられている偏光板のうちのバックライト装置側の偏光板に入射される。
ところで、本実施形態においては、互いに屈折率の異なる複数の薄膜が積層された反射型偏光板11が採用されている。この反射型偏光板11では、上記複数の薄膜での多段階反射によって直線偏光が生成される。この反射型偏光板11としては、例えば住友スリーエム株式会社製のDBEF(Dual Brightness Enhancement Film)(「DBEF」は登録商標)が挙げられる。この反射型偏光板11は、特定の方向に振動する直線偏光(P波)のみを透過し、当該特定の方向に対して垂直な方向に振動する直線偏光(S波)を反射する。反射型偏光板11で反射したS波は、導光板20内を伝搬して反射シート30で再度反射し、P波とS波とに分離される。このようにして光の再利用が行われ、液晶パネルに照射される光の量が多くなる。なお、以下においては、本実施形態で採用している反射型偏光板11の実現方式を「薄膜積層方式」という。
図4Aおよび図4Bは、本実施形態における反射型偏光板11によって得られる効果を説明するための図である。なお、図4Aおよび図4Bにおいて、符号5,6,300,301,および302はそれぞれP波,S波,液晶層,液晶パネルの裏面側の偏光板,および液晶パネルの表面側の偏光板を示している。また、反射型偏光板11以外の光学シートについては省略している。反射型偏光板11を備えていない構成によれば、図4Aに示すように、導光板20から出射されたP波5およびS波6のうちS波6については液晶パネルの裏面側の偏光板301で吸収される。これに対して、反射型偏光板11を備えた構成によれば、図4Bに示すように、反射型偏光板11で反射したS波6は再度P波5およびS波6として導光板20から出射される。そして、P波5については液晶パネルの裏面側の偏光板301に与えられ、S波6については反射型偏光板11で反射して再利用がなされる。
以上のように、本実施形態においては、光学シート10のうちの最も液晶パネル側のシートに薄膜積層方式の反射型偏光板11を採用することによって、導光板20から出射される光の効率的な利用が行われている。
<3.反射型偏光板のはみ出し量および黒印刷の幅について>
次に、本実施形態において、(図1の左右方向についての)上述のはみ出し量L2および光学シート10上の黒印刷60の幅L5がどのようにして決定されたかについて説明する。
次に、本実施形態において、(図1の左右方向についての)上述のはみ出し量L2および光学シート10上の黒印刷60の幅L5がどのようにして決定されたかについて説明する。
図5は、或る40型の液晶パネル(上面側シャーシ52の中央側端面と導光板20の端面との間の距離L1を5mmとし、導光板20の端面と側面側シャーシ51との間の距離L3を3mmとする。)におけるはみ出し量L2と輝度との関係(実験結果)を示すグラフである。符号61の細実線は、光学シート10上に黒印刷60を施さなかったときのデータである。符号62の太点線は、光学シート10上に幅3mmの黒印刷60を施したときのデータである。符号63の太実線は、光学シート10上に幅5mmの黒印刷60を施したときのデータである。図5より、いずれの場合にも「はみ出し量を0mmから1mmに伸ばしたときには顕著な輝度上昇効果が得られるが、1mmから更に伸ばしても輝度上昇効果は緩やかになる」ということが把握される。すなわち、はみ出し量を1mmにすることによって導光板20に入射される光の量が効率的に高められると考えられる。また、黒印刷60の幅が3mmのときと5mmのときとで輝度を比較すると、はみ出し量にかかわらず5mmのときの輝度よりも3mmのときの輝度の方がわずかに高いのみである。なお、黒印刷60が施されていないときには黒印刷60が施されているときと比べて高い輝度が得られるが、黒印刷60が施されていないときには後述するように光漏れが顕著に発生するので、黒印刷60を施さないという構成を採用することはできない。
図6は、光学シート10上の黒印刷60の幅と光漏れとの関係(実験結果)を示すグラフである。図6において、横軸は黒印刷60の幅を表し、縦軸は液晶パネルの中央部での輝度に対する漏れ光の輝度の割合(すなわち相対値)を表している。図6より、黒印刷60の幅が3mmのときには黒印刷60が施されていない(黒印刷60の幅が0mm)ときと比べて光漏れが約2分の1となることが把握される。また、「黒印刷60の幅を0mmから3mmに伸ばしたときには顕著な光漏れ抑制効果が得られるが、3mmから更に伸ばしても光漏れ抑制効果は緩やかになる」ということが把握される。図7,図8,および図9は、それぞれ、光学シート10上に黒印刷60が施されていないとき,光学シート10上の黒印刷60の幅が3mmのとき,および光学シート10上の黒印刷60の幅が5mmのときの液晶パネル上の位置に応じた輝度(実験結果)を示すグラフである。図7,図8,および図9において、一端の位置は図2で符号58の矢印で示す位置に相当し、他端の位置は図2で符号59の矢印で示す位置に相当する。図7の符号K1,K2で示す部分から、黒印刷60が施されていないときには光漏れが顕著に生じることが把握される。また、図8の符号K3,K4で示す部分からは、黒印刷60の幅が3mmのときには光漏れが僅かに生じることが把握され、図9の符号K5,K6で示す部分からは、黒印刷60の幅が5mmのときには光漏れがほぼ生じないことが把握される。以上のことから、光学シート10上の黒印刷60の幅を3mmにすることによって効率的に光漏れが抑制されると考えられる。
以上より、本実施形態においては、40型の液晶パネルにおいて、はみ出し量L2は1mmとなっており、黒印刷60の幅L5は3mmとなっている。但し、これらの値は一例であって、本発明はこれらの値に限定されるものではない。なお、はみ出し量L2については、導光板20の端面と側面側シャーシ51との間の距離L3の少なくとも3分の1とすることが好ましい。また、黒印刷60の幅L5については、バックライト装置のアクティブエリア(図3参照)の端部に相当する(拡散シート13上の)位置と拡散シート13の端部との間の距離の少なくとも3分の1とすることが好ましい。
<4.シャーシについて>
次に、本実施形態における上面側シャーシ52について詳しく説明する。本実施形態においては、材質についてはポリカーボネートが採用されており、厚さについては1.0mm〜1.5mmとされている。また、色については黒色が採用されている。上述したように本実施形態に係るバックライト装置は典型的には大型の液晶パネル向けのものとして採用されるところ、以下、一般に白色のシャーシが採用される携帯電話等の小型の液晶パネル向けのバックライト装置と対比しつつ、本実施形態において上面側シャーシ52の色に黒色が採用される理由について説明する。
次に、本実施形態における上面側シャーシ52について詳しく説明する。本実施形態においては、材質についてはポリカーボネートが採用されており、厚さについては1.0mm〜1.5mmとされている。また、色については黒色が採用されている。上述したように本実施形態に係るバックライト装置は典型的には大型の液晶パネル向けのものとして採用されるところ、以下、一般に白色のシャーシが採用される携帯電話等の小型の液晶パネル向けのバックライト装置と対比しつつ、本実施形態において上面側シャーシ52の色に黒色が採用される理由について説明する。
一般に小型液晶パネル向けのバックライト装置においては、FPC(フレキシブルプリント基板)にLEDが実装されるとともに当該FPCに導光板が貼り付けられた構成となっている。従って、導光板が熱によって膨張しても、導光板およびシャーシによって物理的にLEDが圧迫されるということはない。また、小型液晶パネル向けのバックライト装置においては、大型液晶パネル向けの装置に比べて、導光板が小さいため、熱による膨張量が小さい。このため、熱によって導光板が膨張しても、導光板によってLEDが物理的に圧迫されるということはない。さらに、大型液晶パネル向けの装置に比べて、要求される輝度は低いため、導光板が受ける熱の量も少ない。以上のことから、LEDと導光板との間の距離をほぼ0mmにすることが可能となるので、LEDから出射され導光板に入射されない光に基づく光漏れの発生が抑制される。また、上述したように大型液晶パネル向けの装置と比べて要求される輝度は低く、少ない数のLEDで充分な光量が得られることから、仮に光漏れが生じても表示品位に与える影響は比較的小さい。
これに対して、大型液晶パネル向けのバックライト装置においては、一般に、LED40が実装されている基板は側面側シャーシ51に固定されており、LED40と導光板20とは一体化されていない。このため、導光板20が熱膨張することを考慮して、LED40と導光板20との間に空隙が設けられている。従って、小型液晶パネル向けバックライト装置と比較して、光漏れの原因となり得る光量が多くなる。また、大型液晶パネルでは、要求される輝度が高く、多数のLED40がシャーシに並べて配置される。このため、光漏れは輝線となって現れ、表示品位が著しく低下する。
以上のような前提下、上面側シャーシ52の色に白色が採用されると、白色は光を透過しやすいので、上面側シャーシ52の厚さが相当厚くない限り光漏れが生じる。これに対して、黒色は光を透過しにくいので、上面側シャーシ52の色に黒色を採用することによって、上面側シャーシ52の厚さを比較的薄くした大型液晶パネル向けのバックライト装置においても光漏れに起因する表示品位の低下が抑制される。
<5.効果>
本実施形態によれば、狭額縁化されたバックライト装置において、互いに対向するLED間の方向について、反射型偏光板11の長さは導光板20の長さよりも長くされている。すなわち、従来の構成と比較すると、反射型偏光板11の端部が導光板20の端面よりもLED40側にはみ出した構成となっている。このため、従来の構成によれば上面側シャーシ52によって吸収されていた光の一部が、図10で符号70で示す矢印のように反射型偏光板11で反射して導光板20に入射される。これにより、LED40から出射される光の利用効率が高まり、輝度が向上する。また、本実施形態によれば、光学シート10のうちの拡散シート13の一部の領域に遮光部としての黒印刷60が施されている。このため、LED40から出射されて導光板20に入射されずに光学シート10に入射された光は黒印刷60によって吸収される。これにより、表示領域のエッジ部(バックライト装置のアクティブエリア端部近傍)における光漏れの発生が抑制される。
本実施形態によれば、狭額縁化されたバックライト装置において、互いに対向するLED間の方向について、反射型偏光板11の長さは導光板20の長さよりも長くされている。すなわち、従来の構成と比較すると、反射型偏光板11の端部が導光板20の端面よりもLED40側にはみ出した構成となっている。このため、従来の構成によれば上面側シャーシ52によって吸収されていた光の一部が、図10で符号70で示す矢印のように反射型偏光板11で反射して導光板20に入射される。これにより、LED40から出射される光の利用効率が高まり、輝度が向上する。また、本実施形態によれば、光学シート10のうちの拡散シート13の一部の領域に遮光部としての黒印刷60が施されている。このため、LED40から出射されて導光板20に入射されずに光学シート10に入射された光は黒印刷60によって吸収される。これにより、表示領域のエッジ部(バックライト装置のアクティブエリア端部近傍)における光漏れの発生が抑制される。
ところで図14に示した構成(狭額縁化されているが光学シート10上への黒印刷60は施されていない構成)によれば、図5に示したグラフにおいて、輝度は符号P1で示す位置の値となる。これに対して、本実施形態によれば、図5に示したグラフにおいて、輝度は符号P2で示す位置の値となる。これらのことから、「光学シート10上に黒印刷60を施すことによる輝度の低下よりも、反射型偏光板11の端部が導光板20の端面よりもLED40側にはみ出した構成とすることによる輝度の上昇の方が大きい」ということが把握される。以上より、エッジライト型のバックライト装置において、光漏れの発生および輝度低下を抑制しつつ狭額縁化が実現される。
さらに、本実施形態によれば、上面側シャーシ52には黒色のシャーシが採用されている。仮に上面側シャーシ52に白色のシャーシが採用された場合、シャーシの厚さによっては光漏れが生じる(シャーシの厚さが薄いほど光の漏れ量が多くなる)。この点、本実施形態のように黒色のシャーシが採用されていると、当該シャーシによって光は吸収されるので、光漏れの発生は効果的に抑制される。これにより、光漏れに起因する表示品位の低下が抑制される。
<6.変形例など>
上記実施形態においては、薄膜積層方式の反射型偏光板11が採用されているが、本発明はこれに限定されない。例えば、以下に説明する方式(「コレステリック液晶方式」および「ワイヤグリッド方式」という。)で実現される反射型偏光板11が採用された構成であっても良い。
上記実施形態においては、薄膜積層方式の反射型偏光板11が採用されているが、本発明はこれに限定されない。例えば、以下に説明する方式(「コレステリック液晶方式」および「ワイヤグリッド方式」という。)で実現される反射型偏光板11が採用された構成であっても良い。
コレステリック液晶方式による反射型偏光板11は、コレステリック液晶層111と位相差板112とによって構成されている。図11に示すように、コレステリック液晶層111および位相差板112のうち、コレステリック液晶層111については導光板20側に配置され、位相差板112については液晶パネル3側に配置されている。なお、図11では反射型偏光板11以外の光学シートについては省略している。このような構成において、コレステリック液晶層111は、特定の方向に回転する円偏光を透過し、当該特定の方向とは異なる方向に回転する円偏光を反射する。また、位相差板112は、コレステリック液晶層111を透過した円偏光を直線偏光にする。以上より、コレステリック液晶層111を透過した光については液晶パネル3の裏面側の偏光板301に与えられ、コレステリック液晶層111で反射した光については再利用がなされる。
ワイヤグリッド方式による反射型偏光板11は、図12に示すように、複数の金属細線114が形成された基材(基板)113によって構成されている。このような構成において、反射型偏光板11は、複数の金属細線114が形成されている間隔L7よりも大きい波長の光について、金属細線114に垂直な電界ベクトルを有する成分を透過し、金属細線114に平行な電界ベクトルを有する成分を反射する。これにより、この反射型偏光板11を透過した光については液晶パネルの裏面側の偏光板に与えられ、この反射型偏光板11で反射した光については再利用がなされる。
また、上記実施形態においては、光学シート10は反射型偏光板11とプリズムシート12と拡散シート13とによって構成されているが、本発明はこれに限定されない。最も液晶パネル側に反射型偏光板11が配置された構成であれば、光学シートの枚数や種類については特に限定されない。
さらに、上記実施形態においては拡散シート13に黒印刷60が施されているが、本発明はこれに限定されず、拡散シート13以外のシートに黒印刷60が施された構成であっても良い。
さらにまた、上記実施形態においては、光学シート10上に黒印刷60を施すことによって遮光部が実現されているが、本発明はこれに限定されない。例えば、光学シート10上に黒色のテープを貼付することによって遮光部が実現されていても良いし、光学シート10上の一部をマーキングペンにて黒色で塗りつぶすことによって遮光部が実現されていても良い。
3…液晶パネル
5…P波
6…S波
10…光学シート
11…反射型偏光板
12…プリズムシート
13…拡散シート
20…導光板
30…反射シート
40…LED(発光ダイオード)
50…シャーシ
51…側面側シャーシ
52…上面側シャーシ
60…黒印刷
L2…はみ出し量
L5…黒印刷の幅
5…P波
6…S波
10…光学シート
11…反射型偏光板
12…プリズムシート
13…拡散シート
20…導光板
30…反射シート
40…LED(発光ダイオード)
50…シャーシ
51…側面側シャーシ
52…上面側シャーシ
60…黒印刷
L2…はみ出し量
L5…黒印刷の幅
Claims (11)
- 複数の光源と、前記光源から発せられた光を面状に出射させるための導光板と、前記導光板の発光面側に配置された複数の光学シートと、前記導光板の位置を基準にして前記導光板の発光面側とは反対側に配置された反射シートとを備えた面状照明装置であって、
前記複数の光学シートを固定するためのシャーシを有し、
前記複数の光学シートのうちの少なくとも1つの光学シートには、前記面状照明装置の非発光領域に相当する領域の一部に遮光部が設けられ、
前記複数の光学シートのうち前記導光板から最も離れた位置に配置されている光学シートは、一部の光を透過して残りの光を反射する反射型偏光板であって、
前記シャーシを形成する面のうち前記光源が設けられている面に対して垂直な方向である第1方向について、前記反射型偏光板の端部が前記導光板の端部よりも前記光源側に位置するように、前記反射型偏光板の長さが前記導光板の長さよりも長くされていることを特徴とする、面状照明装置。 - 前記第1方向について、前記導光板の端部と前記反射型偏光板の端部との間の距離は、前記導光板の端部と前記光源が設けられているシャーシの面との間の距離の少なくとも3分の1にされていることを特徴とする、請求項1に記載の面状照明装置。
- 前記第1方向について、前記導光板の端部と前記反射型偏光板の端部との間の距離は、少なくとも1ミリメートルにされていることを特徴とする、請求項1に記載の面状照明装置。
- 前記遮光部は、前記第1方向について、前記光学シート上における前記面状照明装置の発光領域の端部に相当する位置から前記反射型偏光板以外の前記光学シートの端部までの領域のうちの少なくとも3分の1の領域に設けられていることを特徴とする、請求項1に記載の面状照明装置。
- 前記遮光部は、前記光学シートに黒印刷が施されることによって形成されていることを特徴とする、請求項1に記載の面状照明装置。
- 前記シャーシのうち前記光学シートよりも発光面側に配置されている部分は黒色であることを特徴とする、請求項1に記載の面状照明装置。
- 前記シャーシのうち前記光学シートよりも発光面側に配置されている部分の厚さは1.5ミリメートル以下であることを特徴とする、請求項6に記載の面状照明装置。
- 前記反射型偏光板は、互いに屈折率の異なる複数の薄膜によって構成され、特定の方向に振動する直線偏光を透過し、前記特定の方向に対して垂直な方向に振動する直線偏光を反射することを特徴とする、請求項1に記載の面状照明装置。
- 前記反射型偏光板は、コレステリック液晶層と位相差板とによって構成され、
前記コレステリック液晶層は、特定の方向に回転する円偏光を透過し、前記特定の方向とは異なる方向に回転する円偏光を反射し、
前記位相差板は、前記コレステリック液晶層を透過した円偏光を直線偏光にすることを特徴とする、請求項1に記載の面状照明装置。 - 前記反射型偏光板は、複数の金属細線が形成された基材によって構成され、前記複数の金属細線の間隔よりも大きい波長の光について、前記金属細線に垂直な電界ベクトルを有する成分を透過し、前記金属細線に平行な電界ベクトルを有する成分を反射することを特徴とする、請求項1に記載の面状照明装置。
- 表示パネルを更に含み、請求項1に記載の面状照明装置を備えたことを特徴とする、表示装置。
Priority Applications (1)
| Application Number | Priority Date | Filing Date | Title |
|---|---|---|---|
| JP2011547370A JP5284489B2 (ja) | 2009-12-28 | 2010-10-01 | 面状照明装置およびそれを備えた表示装置 |
Applications Claiming Priority (4)
| Application Number | Priority Date | Filing Date | Title |
|---|---|---|---|
| JP2009296611 | 2009-12-28 | ||
| JP2009296611 | 2009-12-28 | ||
| PCT/JP2010/067244 WO2011080955A1 (ja) | 2009-12-28 | 2010-10-01 | 面状照明装置およびそれを備えた表示装置 |
| JP2011547370A JP5284489B2 (ja) | 2009-12-28 | 2010-10-01 | 面状照明装置およびそれを備えた表示装置 |
Publications (2)
| Publication Number | Publication Date |
|---|---|
| JPWO2011080955A1 JPWO2011080955A1 (ja) | 2013-05-09 |
| JP5284489B2 true JP5284489B2 (ja) | 2013-09-11 |
Family
ID=44226375
Family Applications (1)
| Application Number | Title | Priority Date | Filing Date |
|---|---|---|---|
| JP2011547370A Active JP5284489B2 (ja) | 2009-12-28 | 2010-10-01 | 面状照明装置およびそれを備えた表示装置 |
Country Status (6)
| Country | Link |
|---|---|
| US (1) | US8672528B2 (ja) |
| EP (1) | EP2520851A4 (ja) |
| JP (1) | JP5284489B2 (ja) |
| CN (1) | CN102597603B (ja) |
| RU (1) | RU2012132305A (ja) |
| WO (1) | WO2011080955A1 (ja) |
Families Citing this family (33)
| Publication number | Priority date | Publication date | Assignee | Title |
|---|---|---|---|---|
| JP5906595B2 (ja) | 2011-07-19 | 2016-04-20 | セイコーエプソン株式会社 | 液晶表示装置および電子機器 |
| TWI461798B (zh) * | 2011-12-05 | 2014-11-21 | Wistron Corp | 用來提供光源至顯示面板之背光模組與其顯示裝置 |
| CN102636906B (zh) * | 2012-05-09 | 2015-07-15 | 深圳市华星光电技术有限公司 | 一种液晶显示装置的光学膜片及液晶显示装置 |
| CN102855823A (zh) * | 2012-08-28 | 2013-01-02 | 李崇 | 具有良好视觉效果的全色led显示屏 |
| CN102840518A (zh) * | 2012-09-10 | 2012-12-26 | 深圳市华星光电技术有限公司 | 一种背光单元、液晶模组、液晶显示器 |
| CN102878525B (zh) * | 2012-09-21 | 2016-03-30 | 北京京东方光电科技有限公司 | 棱镜膜、侧光式背光模组及液晶显示装置 |
| KR102058054B1 (ko) * | 2012-10-12 | 2019-12-23 | 삼성전자주식회사 | 백라이트 유닛 및 이를 이용한 디스플레이 장치 |
| CN102943985B (zh) * | 2012-11-29 | 2016-04-13 | 深圳市华星光电技术有限公司 | 一种背光模组及其显示装置 |
| US20140177268A1 (en) * | 2012-12-20 | 2014-06-26 | Shenzhen China Star Optoelectronics Technology Co., Ltd. | Optical Film Layer, Backlight Module, and Display Device |
| CN103091767A (zh) * | 2013-01-24 | 2013-05-08 | 广州创维平面显示科技有限公司 | 液晶显示装置、led背光模组、导光板及其制造方法 |
| US9140845B2 (en) | 2013-07-02 | 2015-09-22 | Samsung Display Co., Ltd. | Display device having improved illumination characteristics |
| KR102015363B1 (ko) | 2013-07-24 | 2019-08-29 | 삼성디스플레이 주식회사 | 백라이트 유닛 및 그것을 포함하는 표시 장치 |
| JP6107514B2 (ja) * | 2013-07-30 | 2017-04-05 | 株式会社デンソー | 表示装置 |
| KR102128554B1 (ko) | 2013-09-25 | 2020-07-09 | 엘지디스플레이 주식회사 | 백라이트 유닛 및 이를 이용한 액정표시장치 |
| US9690036B1 (en) * | 2013-09-30 | 2017-06-27 | Amazon Technologies, Inc. | Controlling display lighting color and uniformity |
| US9316779B1 (en) | 2013-09-30 | 2016-04-19 | Amazon Technologies, Inc. | Shaping reflective material for controlling lighting uniformity |
| KR102253262B1 (ko) * | 2014-04-15 | 2021-05-20 | 삼성전자주식회사 | 디스플레이 유닛 및 이를 가지는 디스플레이 장치 |
| KR102240756B1 (ko) * | 2014-06-30 | 2021-04-15 | 현대모비스 주식회사 | 자동차용 램프 설계방법 |
| WO2016088596A1 (ja) * | 2014-12-01 | 2016-06-09 | シャープ株式会社 | 液晶表示装置 |
| CN104464534B (zh) * | 2014-12-10 | 2017-09-05 | 深圳市华星光电技术有限公司 | 显示模块及具有该显示模块的显示装置 |
| EP3121806A4 (en) * | 2015-02-26 | 2017-11-29 | Sony Corporation | Electronic device |
| CN105241887A (zh) * | 2015-09-25 | 2016-01-13 | 黄梦漪 | 注塑产品熔接痕检测仪 |
| US10274142B2 (en) | 2015-09-30 | 2019-04-30 | Sharp Kabushiki Kaisha | Lighting device and display device |
| EP3179161B1 (de) * | 2015-12-11 | 2019-02-06 | Glas Trösch Holding AG | Leuchtelement |
| KR102740164B1 (ko) * | 2016-11-14 | 2024-12-10 | 삼성전자주식회사 | 백 라이트 유닛 및 이를 포함하는 디스플레이 장치 |
| CN106654028A (zh) * | 2016-11-29 | 2017-05-10 | 天津市中环量子科技有限公司 | 一种主动增亮膜及其制备方法 |
| CN108254973A (zh) * | 2018-01-31 | 2018-07-06 | 广东欧珀移动通信有限公司 | 电子装置及其显示组件、背光模组 |
| CN108319075B (zh) * | 2018-01-31 | 2020-09-04 | Oppo广东移动通信有限公司 | 电子装置及其显示组件、背光模组 |
| CN110095835A (zh) * | 2018-01-31 | 2019-08-06 | 广东欧珀移动通信有限公司 | 一种背光模组及电子装置 |
| CN108153059B (zh) * | 2018-02-01 | 2023-08-04 | Oppo广东移动通信有限公司 | 背光模组、显示装置及电子设备 |
| CN208060755U (zh) * | 2018-05-10 | 2018-11-06 | 合肥鑫晟光电科技有限公司 | 一种扩散片、背光模组、液晶显示面板及显示装置 |
| CN112578590B (zh) * | 2019-09-29 | 2022-04-29 | 京东方科技集团股份有限公司 | 背光模组及显示装置 |
| CN113809056B (zh) * | 2021-08-30 | 2024-05-28 | 中国电子科技集团公司第五十五研究所 | 一种实现夜视兼容的超薄Mini-LED背光模组 |
Citations (3)
| Publication number | Priority date | Publication date | Assignee | Title |
|---|---|---|---|---|
| JPH1048629A (ja) * | 1996-07-29 | 1998-02-20 | Enplas Corp | サイドライト型面光源装置 |
| JP2004071167A (ja) * | 2002-08-01 | 2004-03-04 | Advanced Display Inc | 面状光源装置及びそれを用いた液晶表示装置並びにその製造方法 |
| JP2010079105A (ja) * | 2008-09-26 | 2010-04-08 | Citizen Electronics Co Ltd | 面発光装置及び表示装置 |
Family Cites Families (11)
| Publication number | Priority date | Publication date | Assignee | Title |
|---|---|---|---|---|
| EP0798507B1 (en) * | 1992-07-13 | 2004-03-03 | Seiko Epson Corporation | Surface-type illumination device and liquid crystal display |
| EP0735952B1 (en) * | 1993-12-21 | 2000-03-22 | Minnesota Mining And Manufacturing Company | Multilayered optical film |
| JP2945318B2 (ja) * | 1996-01-17 | 1999-09-06 | スタンレー電気株式会社 | 面光源装置 |
| JPH09282921A (ja) * | 1996-04-10 | 1997-10-31 | Canon Inc | バックライト装置及び該バックライト装置を備えた液晶表示装置 |
| JP3871176B2 (ja) * | 1998-12-14 | 2007-01-24 | シャープ株式会社 | バックライト装置および液晶表示装置 |
| US7030945B2 (en) * | 2001-08-22 | 2006-04-18 | Nitto Denko Corporation | Liquid-crystal display device |
| JP4255302B2 (ja) * | 2003-03-31 | 2009-04-15 | シャープ株式会社 | 液晶表示用照明装置および液晶表示装置 |
| EP1653149B1 (en) * | 2003-06-16 | 2011-10-19 | Mitsubishi Denki Kabushiki Kaisha | Planar light source device and display device using the same |
| CN101271201A (zh) * | 2007-03-23 | 2008-09-24 | 深圳Tcl工业研究院有限公司 | 可改变偏振光状态的光学组件及液晶显示装置 |
| CN101339321B (zh) * | 2007-07-06 | 2010-05-26 | 深圳Tcl工业研究院有限公司 | 液晶显示装置 |
| TWM334359U (en) * | 2007-12-18 | 2008-06-11 | Wintek Corp | Back light module and liquid crystal display |
-
2010
- 2010-10-01 WO PCT/JP2010/067244 patent/WO2011080955A1/ja not_active Ceased
- 2010-10-01 CN CN201080049511.2A patent/CN102597603B/zh not_active Expired - Fee Related
- 2010-10-01 JP JP2011547370A patent/JP5284489B2/ja active Active
- 2010-10-01 US US13/508,552 patent/US8672528B2/en active Active
- 2010-10-01 RU RU2012132305/07A patent/RU2012132305A/ru not_active Application Discontinuation
- 2010-10-01 EP EP10840814.7A patent/EP2520851A4/en not_active Withdrawn
Patent Citations (3)
| Publication number | Priority date | Publication date | Assignee | Title |
|---|---|---|---|---|
| JPH1048629A (ja) * | 1996-07-29 | 1998-02-20 | Enplas Corp | サイドライト型面光源装置 |
| JP2004071167A (ja) * | 2002-08-01 | 2004-03-04 | Advanced Display Inc | 面状光源装置及びそれを用いた液晶表示装置並びにその製造方法 |
| JP2010079105A (ja) * | 2008-09-26 | 2010-04-08 | Citizen Electronics Co Ltd | 面発光装置及び表示装置 |
Also Published As
| Publication number | Publication date |
|---|---|
| EP2520851A1 (en) | 2012-11-07 |
| JPWO2011080955A1 (ja) | 2013-05-09 |
| US8672528B2 (en) | 2014-03-18 |
| EP2520851A4 (en) | 2013-06-05 |
| WO2011080955A1 (ja) | 2011-07-07 |
| CN102597603A (zh) | 2012-07-18 |
| CN102597603B (zh) | 2014-09-03 |
| RU2012132305A (ru) | 2014-02-10 |
| US20120230008A1 (en) | 2012-09-13 |
Similar Documents
| Publication | Publication Date | Title |
|---|---|---|
| JP5284489B2 (ja) | 面状照明装置およびそれを備えた表示装置 | |
| KR101736986B1 (ko) | 디스플레이 장치 | |
| JP4640188B2 (ja) | 面状光源装置 | |
| JP5368562B2 (ja) | 照明装置、及び表示装置 | |
| US10424691B2 (en) | Display apparatus having quantum dot unit or quantum dot sheet and method for manufacturing quantum dot unit | |
| WO2013039001A1 (ja) | 照明装置、表示装置、及びテレビ受信装置 | |
| WO2010047151A1 (ja) | 照明装置、面光源装置、表示装置およびテレビ受信装置 | |
| WO2015136625A1 (ja) | 光源装置、表示装置、及び光源装置の製造方法 | |
| JP2012084303A (ja) | 光源モジュールおよび電子機器 | |
| JP2012212526A (ja) | 表示装置 | |
| WO2016169173A1 (zh) | 导光板、背光源和显示装置 | |
| US20130135843A1 (en) | Light guide plate structure and backlight module using the same | |
| JP2005321586A (ja) | 面光源ユニット及び液晶表示装置 | |
| JP2018181630A (ja) | バックライト | |
| JP4379077B2 (ja) | バックライトユニット及び液晶表示装置 | |
| TWI405102B (zh) | 背光模組與光學式觸控面板 | |
| WO2020237843A1 (zh) | 显示装置 | |
| JP2008277078A (ja) | バックライトユニットおよび表示装置 | |
| KR102253797B1 (ko) | 백라이트 유닛 및 이를 이용한 액정표시장치 | |
| JP2013134942A (ja) | 照明装置、表示装置、及びテレビ受信装置 | |
| JP2012154970A (ja) | 液晶モジュール | |
| TWI437327B (zh) | 背光模組 | |
| JP2012084304A (ja) | 光源モジュールおよび電子機器 | |
| US20150355504A1 (en) | Image display apparatus | |
| JP2010244902A (ja) | 面光源装置及びこの面光源装置を備えた液晶表示装置 |
Legal Events
| Date | Code | Title | Description |
|---|---|---|---|
| TRDD | Decision of grant or rejection written | ||
| A01 | Written decision to grant a patent or to grant a registration (utility model) |
Free format text: JAPANESE INTERMEDIATE CODE: A01 Effective date: 20130521 |
|
| A61 | First payment of annual fees (during grant procedure) |
Free format text: JAPANESE INTERMEDIATE CODE: A61 Effective date: 20130529 |
|
| R150 | Certificate of patent or registration of utility model |
Ref document number: 5284489 Country of ref document: JP Free format text: JAPANESE INTERMEDIATE CODE: R150 |