JP5183284B2 - 導光板及びその製造方法 - Google Patents

導光板及びその製造方法 Download PDF

Info

Publication number
JP5183284B2
JP5183284B2 JP2008103027A JP2008103027A JP5183284B2 JP 5183284 B2 JP5183284 B2 JP 5183284B2 JP 2008103027 A JP2008103027 A JP 2008103027A JP 2008103027 A JP2008103027 A JP 2008103027A JP 5183284 B2 JP5183284 B2 JP 5183284B2
Authority
JP
Japan
Prior art keywords
light
guide plate
wire grid
light guide
convex portion
Prior art date
Legal status (The legal status is an assumption and is not a legal conclusion. Google has not performed a legal analysis and makes no representation as to the accuracy of the status listed.)
Expired - Fee Related
Application number
JP2008103027A
Other languages
English (en)
Other versions
JP2009251544A (ja
Inventor
賢二 糸賀
昭正 結城
直子 岩崎
Current Assignee (The listed assignees may be inaccurate. Google has not performed a legal analysis and makes no representation or warranty as to the accuracy of the list.)
Mitsubishi Electric Corp
Original Assignee
Mitsubishi Electric Corp
Priority date (The priority date is an assumption and is not a legal conclusion. Google has not performed a legal analysis and makes no representation as to the accuracy of the date listed.)
Filing date
Publication date
Application filed by Mitsubishi Electric Corp filed Critical Mitsubishi Electric Corp
Priority to JP2008103027A priority Critical patent/JP5183284B2/ja
Publication of JP2009251544A publication Critical patent/JP2009251544A/ja
Application granted granted Critical
Publication of JP5183284B2 publication Critical patent/JP5183284B2/ja
Expired - Fee Related legal-status Critical Current
Anticipated expiration legal-status Critical

Links

Images

Landscapes

  • Liquid Crystal (AREA)
  • Planar Illumination Modules (AREA)
  • Light Guides In General And Applications Therefor (AREA)
  • Polarising Elements (AREA)

Description

本発明は、ワイヤーグリッド偏光子を備えた導光板及びその製造方法に関する。
従来のエッジライト型のバックライトとして、導光板上に直接ワイヤーグリッド偏光子を作製し、偏光方向を液晶パネルの偏光子の方向に揃え輝度を向上させる方法が、例えば特許文献1に提案されている。しかし、導光板の最表面に形成されているワイヤーグリッド偏光子を保護する方法については記載がない。
特許文献1のような光の出射表面にワイヤーグリッドを形成した導光板について、表面側に他の光学部材を設置すると、他の光学部材とこすれることによってワイヤーグリッドが破損し、導光板の性能が劣化する問題がある。
一方、ワイヤーグリッド偏光子を液晶表示装置の光学部材として用いる手段における、ワイヤーグリッドを保護する方法が特許文献2に提案されている。特許文献2によれば透明な第一の層上にワイヤーグリッド偏光子を形成後、透明な第二の層を上面に貼り合わせて保護する構造を形成する。
特開2005−259686号公報 特開2007−033560号公報
しかしながら、特許文献2の方法では第一の層とワイヤーグリッド偏光子との熱膨張率の差および第二の層とワイヤーグリッド偏光子との素材の違いによる熱膨張率の差に起因して、温度変化による圧縮・引っ張り応力が上下2箇所にかかることになる。また、パターン形成後に第2の層を形成する必要があり、層間に閉じ込めた空気が温度により膨張・収縮を繰り返した場合、剥離の問題が生じる。さらに、端部の切断処理により、第一の層と透明な第二の層との間に空気が封じ込められるような場合も、温度変化による空気の収縮・膨張による力が加わることが考えられる。液晶ディスプレイの電源をオンオフするたびにこれら応力が発生することとなり、長期使用時においてワイヤーグリッド偏光子としての機能劣化が考えられる。
この発明は上記のような問題点を解決するためになされたものであり、ワイヤーグリッド偏光子を用いた導光板について、温度変化のために導光板に応力が発生しワイヤーグリッド偏光子が劣化するのを抑制し、かつ耐擦傷性の高い導光板およびその製造方法を得ることを目的としている。
本発明に係る導光板は、基材上の光出射面に設置された凸部、凸部を除く凸部の頂点より低い光出射面に設置されたワイヤーグリッド偏光子と、凸部の底部に形成された反射ミラーと、を備えて構成される。
導光板の光出射面に凸部を設け、凸部を除く凸部の頂点より低い光出射面にワイヤーグリッド偏光子を設けることにより、擦傷によるワイヤーグリッド偏光子の破損を防止することが可能である。また、特許文献2のようにワイヤーグリッド偏光子を覆うことにより保護する層を用いないため、温度変化により応力が発生しワイヤーグリッド偏光子が劣化するのを抑制する。また、凸部の底部には反射ミラーが形成されるので、偏光されていない光が出射することを防ぐことが可能である。
以下、この発明をその実施の形態および参考形態を示す図面に基づいて具体的に説明する。
参考形態1>
(構成)
図1は、参考形態1による、ワイヤーグリッド偏光子を備える導光板を用いたバックライトの構成図である。
バックライト9は、光出射面にワイヤーグリッド偏光子4を備えた、略直方形上の導光板3を有し、導光板3の底面にはプリズム8が形成され、導光板3の上面側には液晶パネル7が配置される。また、導光板3の光出射面と略直交する一端面の近傍に、光源1と光源1の光を集光するリフレクタ2が設置される。光出射面と略直交するその他の端面の近傍には、λ/4位相差板6とその外側に反射板5が備えられる。
ここで光の経路について、リフレクタ2により集光された光源1からの光は、導光板3の一端面から導光板3内に導入される。導光板3の底面に形成されたプリズム8は光の進行方向を変え、ワイヤーグリッド偏光子4を配置した面から光が出射し、液晶パネル7を照明する。ワイヤーグリッド偏光子4は、ワイヤーに沿った電場成分を持つ光は反射し、ワイヤーと直交する電場成分を持つ光を透過する機能を持つ。ワイヤーグリッド偏光子4の向きは、取り出される光が液晶パネル7の偏光子を通過するように配置される。
また、ワイヤーグリッド偏光子4で反射された光は、λ/4位相差板6を介して反射板5で再びワイヤーグリッド偏光子4へと到達するが、このようにλ/4位相差板6を2回通過することにより、理想的には電場成分の向きを90°回転させることができ、ワイヤーグリッド偏光子4を通過できるようになる。
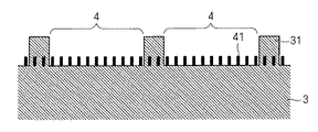
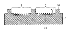
図2は、光取り出し面の断面図である。図において、導光板3の光出射面をブロックに区切る凸部31が形成され、凸部31よりも一段低い平面には微細構造体32が形成され、微細構造体32の側壁にワイヤーグリッド41が形成される。すなわち、導光板3は、導光板3の基材の光出射面に設置された凸部31と、凸部を除く凸部の頂点より低い光出射面に設置されたワイヤーグリッド偏光子4を備える。微細構造体32は片面がほぼ垂直、他方が傾斜面とされ、傾斜面にワイヤーグリッド41が形成される。凸部31の間隔は十数ミクロン〜数百ミクロン、微細構造体32の間隔は1ミクロン以下とする。
図4は分割した1つのブロックの1例を示す上面図である。図では簡単のため、ブロックを正方形とし、ワイヤーグリッド41を形成する領域と凸部31を形成する領域の面積比を示している。ブロックの一辺の長さをAとし、凸部31の幅をBとすると、例えばAが100ミクロンの場合、Bは5.5ミクロン以下とし、ブロックの中でワイヤーグリッド41を形成する領域が90%以上とすることが好ましい。
図5は導光板3全体を導光板3の光取り出し面から見た図である。分割したブロックを全面に敷き詰めることにより、ほぼ90%の領域から偏光した光を取り出すことができる。
(製法)
次に、本参考形態に係る導光板3の、特に光出射面の製法について説明する。
導光板3の基材としては、一般に導光板材料として用いられているアクリル系樹脂、ポリエステル系樹脂、ポリカーボネート系樹脂などである。このため、ナノインプリント等の型押しによる加熱成型により、一括でパターンを形成可能である。型押し法を用い、光出射面の表面に凸部と微細構造体とを同時に形成することにより、簡便かつ安価な方法で耐擦傷性を向上させた導光板を得ることができる。
上述したように凸部31と微細構造体32を同時形成した後、図3に示すように、斜めからスパッタリングあるいは蒸着を行い、微細構造体の表面にワイヤーグリッド41を薄膜形成させる。ワイヤーグリッド41の材料としては金属の他、シリコン、ゲルマニウム等の半導体材料でもよい。中でも、可視光領域で吸収端を持たない、また融点が比較的低い、という点でアルミニウムが最適である。
また、図3ではマスク42を介して、ワイヤーグリッド材料43を斜めに成膜している。マスク42を用いることにより、ワイヤーグリッド41を微細構造体の領域に選択的に薄膜形成させ、ワイヤーグリッド41が凸部31の最表面に積層することを防ぐ。このようにすることで、手や他の光学部材が当たった場合の擦傷によりワイヤーグリッド材料が剥離し、微細なゴミとなって付着することにより、光学的な機能低下を招くことを防止できる。
またワイヤーグリッド偏光子4としては、ワイヤーの周囲は屈折率1の空気層であることが一番効率がよく、微細構造体32に埋め込む形ではあまり効果を発揮しない。微細構造体32の片面のみにワイヤーグリッド41を形成することで、片側が空気層となり、ワイヤーグリッド偏光子4としての機能を著しく低下させることはない。よって、効率の低下を抑制できるため、省エネルギーの効果もある。
(効果)
このように凸部31を形成し、ワイヤーグリッド41を一段奥まった位置に配置することにより、擦傷によるワイヤーグリッド41の剥離等の損傷を防止することが可能である。また、ワイヤーグリッド偏光子を覆うことにより保護する層を用いないため、温度変化により応力が発生しワイヤーグリッド偏光子が劣化するのを抑制する。ワイヤーグリッド41の領域をブロックに分割していることにより、仮にあるブロックのワイヤーグリッド41が剥離したとしても、他のブロックのワイヤーグリッド41へ波及することがなく、欠陥領域を数百ミクロン以下とすることが可能である。
参考形態2>
(構成)
図6は、参考形態に係る導光板の、光取り出し面の断面図である。図のようにワイヤーグリッド41は、光取り出し面の表面に凸形状で形成される。また、ワイヤーグリッド41を含む形で、導光板表面をブロックに分割する凸部31が形成される。
その他の構成は参考形態1と同様であるので、ここでの詳細な説明は省略する。
(製法)
次に、本参考形態に係る導光板3の、特に光出射面の製法について、図6を基に説明する。
参考形態においては、参考形態1と異なり、ワイヤーグリッド41を先に形成し、その後光硬化樹脂を用いて凸部31を形成する。
まずUVナノインプリント等の光リソグラフィー的な方法で、光硬化樹脂により導光板3の光出射面の表面に凹形の溝状の微細構造体を形成する。光硬化樹脂の残渣が残らないように、酸素プラズマによる表面処理をした後、該微細構造体の溝にスパッタあるいは蒸着によりワイヤーグリッド材料を埋め込み、微細構造体の表面に埋め込まれた状態のワイヤーグリッド偏光子を形成する。次に、リフトオフにより光硬化樹脂と光硬化樹脂上のワイヤーグリッド材料を除去し、図のような凸形状のワイヤーグリッド41が光取り出し面の表面に形成される。
その後、さらに光リソグラフィー的な方法で、光硬化樹脂により凸部31を形成する。
(効果)
上述のような構成にすることにより、ワイヤーグリッド41の側壁に空気層を形成することができ、効率のよいワイヤーグリッド偏光子4を形成することが可能である。なお、凸部31に埋め込まれたワイヤーグリッド41は、ほとんど偏光機能を失うが、他に悪影響を及ぼすことは無い。
また光硬化樹脂で形成される凸部31は、四角いパッドやドット状の突起としてもよい。例えば図7のように四角いパッドを凸部31として均等に散りばめることにより、ワイヤーグリッド41を形成する領域の有効エリアをより広くすることが可能である。
<実施の形態
(構成)
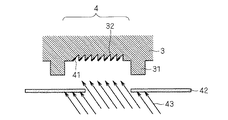
図8は、実施の形態に係る導光板3の、光取り出し面の断面図である。図において、導光板表面をブロックに分割する凸部31が形成され、凸部31よりも一段低い平面には微細構造体32が形成され、微細構造体32の側壁にワイヤーグリッド41が形成される。微細構造体32は片面がほぼ垂直、他方が傾斜面とされ、傾斜面にワイヤーグリッド41が形成される。また、本実施の形態においては、凸部31の底部等のワイヤーグリッドを形成していない部分に反射ミラー44を備える。凸部31は遮光性を有するように形成してもよい。
その他の構成は参考形態1と同様であるので、ここでの詳細な説明は省略する。
(製法)
次に、本実施の形態に係る導光板3の、特に光出射面の製法について説明する。
ナノインプリント等の手法を用いて、導光板3の光出射面の表面に微細構造体を形成した後、図9に示すようにマスク無しで蒸着し、平坦部にも金属膜を形成する。平坦部の金属膜は上述した反射ミラーの機能を果たす。従って、微細構造体32の表面にワイヤーグリッド偏光子4を形成すると同時に、微細構造体32を除く領域に反射ミラー44を形成する。その後、光リソグラフィー的な手法で、反射ミラー44を含む平坦部の領域に凸部31を形成し、図8に示す構成となる。凸部31に遮光性をもたせる場合は、凸部31を形成する際、遮光性の材料で形成する。
(効果)
本実施の形態において、凸部31の底部を含む微細構造体32を除く領域には、導光板3内からの光を再度導光板内側(図8の下側)に反射する反射ミラー44が形成されるので、偏光されていない光が出射することを防ぐことが可能である。導光板内側に反射された光は再び導光板3内を伝搬して、底面側で反射され、ワイヤーグリッド41が形成された表面から偏光されて出射するので、導光板3に入射した光を有効に利用できる。
また、凸部31を遮光性の材料で形成した場合、光出射面側から導光板3に入射した外光が凸部31の底部等の反射ミラーによって再び光出射面側に反射することを防止でき、導光板3から出射する偏光光に外光が混じることで、偏光の品質が劣化することを防止できる。
<実施の形態
(構成)
本実施の形態に係る導光板の構成を説明する。参考形態1においては、図5に示したように凸部31によって分割された複数のブロックを一定の面積かつ一定の周期で配置したが、本実施の形態においては複数のブロックは不規則なサイズよりなり、それに伴いブロックの配置についてもランダムになるように配置する。
その他の構成は参考形態1と同様であるので、ここでの詳細な説明は省略する。
(製法)
次に、本実施の形態に係る導光板3の、特に光出射面の製法について説明する。
まずナノインプリント等の手法を用いて、図2に示すように微細構造体32と凸部31を同時に形成する。このとき、凸部31によって分割された各ブロックの面積は不規則なサイズになるようにし、ブロックの配置もランダムになるように配置される。凸部31と微細構造体32を同時形成した後、図3に示すように、斜めからスパッタリングあるいは蒸着を行い、微細構造体の表面にワイヤーグリッド41を薄膜形成させる。
その他の製法は参考形態1と同様であるので、ここでの詳細な説明は省略する。
(効果)
各ブロックの面積を一定とせず、ブロックの配置についてもランダムになるように配置することにより、液晶パネルを配置した場合に、導光板3の表面をブロック化したことによるモアレの発生を抑制することが可能である。
参考形態1によるワイヤーグリッド偏光子を備えた導光板を用いたバックライトの構成図である。 参考形態1による導光板のワイヤーグリッド偏光子配置面の断面図である。 参考形態1によるワイヤーグリッドの作製方法を示す断面図である。 参考形態1による分割したワイヤーグリッド偏光子領域の一つのブロックを示す図である。 参考形態1による導光板のワイヤーグリッド偏光子配置面の上面図である。 参考形態2による導光板のワイヤーグリッド偏光子配置面の断面図である。 参考形態2による導光板のワイヤーグリッド偏光子領域の一つのブロックを示す図である。 本発明の実施の形態による導光板のワイヤーグリッド偏光子配置面の断面図である。 本発明の実施の形態によるワイヤーグリッド作製方法を示す断面図である。
符号の説明
1 光源、2 リフレクタ、3 導光板、4 ワイヤーグリッド偏光子、5 反射板、6 λ/4位相差板、7 液晶パネル、8 プリズム、9 バックライト、31 凸部、32 微細構造体、41 ワイヤーグリッド、42 マスク、43 ワイヤーグリッド材料、 44 反射ミラー。

Claims (6)

  1. 基材上の光出射面に設置された凸部と、
    前記凸部を除く前記凸部の頂点より低い前記光出射面に設置されたワイヤーグリッド偏光子と、
    前記凸部の底部に形成された反射ミラーと、を備える、
    導光板。
  2. 請求項1に記載の導光板の製造方法であって、
    (a)前記光出射面の表面に微細構造体を形成する工程と、
    (b)前記微細構造体の表面に前記ワイヤーグリッド偏光子を形成すると同時に前記微細構造体を除く領域に前記反射ミラーを形成する工程と、
    (c)前記反射ミラーの形成後に前記反射ミラーを含む領域に前記凸部を形成する工程と、
    を備える、導光板の製造方法。
  3. 前記凸部は遮光性を有する
    請求項に記載の導光板。
  4. 求項3に記載の導光板の製造方法であって、
    (a)前記光出射面の表面に微細構造体を形成する工程と、
    (b)前記微細構造体に前記ワイヤーグリッド偏光子を形成すると同時に前記微細構造体を除く領域に前記反射ミラーを形成する工程と、
    (c)前記反射ミラーの形成後に前記反射ミラーを含む領域に遮光性を有する前記凸部を形成する工程と、
    を備える、導光板の製造方法
  5. 前記凸部は前記光出射面の表面を複数のブロックに区切る、
    請求項1または請求項3に記載の導光板。
  6. 前記複数のブロックは不規則なサイズよりなる
    請求項に記載の導光板。
JP2008103027A 2008-04-11 2008-04-11 導光板及びその製造方法 Expired - Fee Related JP5183284B2 (ja)

Priority Applications (1)

Application Number Priority Date Filing Date Title
JP2008103027A JP5183284B2 (ja) 2008-04-11 2008-04-11 導光板及びその製造方法

Applications Claiming Priority (1)

Application Number Priority Date Filing Date Title
JP2008103027A JP5183284B2 (ja) 2008-04-11 2008-04-11 導光板及びその製造方法

Publications (2)

Publication Number Publication Date
JP2009251544A JP2009251544A (ja) 2009-10-29
JP5183284B2 true JP5183284B2 (ja) 2013-04-17

Family

ID=41312284

Family Applications (1)

Application Number Title Priority Date Filing Date
JP2008103027A Expired - Fee Related JP5183284B2 (ja) 2008-04-11 2008-04-11 導光板及びその製造方法

Country Status (1)

Country Link
JP (1) JP5183284B2 (ja)

Families Citing this family (7)

* Cited by examiner, † Cited by third party
Publication number Priority date Publication date Assignee Title
JP2013125102A (ja) * 2011-12-13 2013-06-24 Samsung Yokohama Research Institute Co Ltd 微細周期構造を用いた光学フィルタ、偏光素子及び光学シャッタ
JP5200271B1 (ja) * 2012-01-25 2013-06-05 ウシオ電機株式会社 偏光光照射装置
CN104459843B (zh) 2014-12-16 2016-11-16 京东方科技集团股份有限公司 扩散片及其制作方法、背光模组
WO2017099010A1 (ja) * 2015-12-11 2017-06-15 シャープ株式会社 表示装置
JP6401837B1 (ja) 2017-08-10 2018-10-10 デクセリアルズ株式会社 偏光板及び光学機器
JP2019109375A (ja) * 2017-12-19 2019-07-04 セイコーエプソン株式会社 偏光素子、偏光素子の製造方法
JP7227403B2 (ja) * 2019-04-28 2023-02-21 レイア、インコーポレイテッド 回折バックライト製造方法

Family Cites Families (5)

* Cited by examiner, † Cited by third party
Publication number Priority date Publication date Assignee Title
JP3664034B2 (ja) * 2000-03-29 2005-06-22 セイコーエプソン株式会社 面光源ユニットならびにそれを備えた表示装置および電子機器
JP4475501B2 (ja) * 2003-10-09 2010-06-09 インターナショナル・ビジネス・マシーンズ・コーポレーション 分光素子、回折格子、複合回折格子、カラー表示装置、および分波器
JP2005259686A (ja) * 2004-02-13 2005-09-22 Sumitomo Chemical Co Ltd 導光板本体、導光板、バックライト、及び、液晶表示装置
JP2007027044A (ja) * 2005-07-21 2007-02-01 Fujifilm Corp 導光板、これを備える面状照明装置および液晶表示装置
JP2007310250A (ja) * 2006-05-19 2007-11-29 Hitachi Maxell Ltd ワイヤグリッド偏光子の製造方法及びワイヤグリッド偏光子

Also Published As

Publication number Publication date
JP2009251544A (ja) 2009-10-29

Similar Documents

Publication Publication Date Title
JP5183284B2 (ja) 導光板及びその製造方法
JP4475501B2 (ja) 分光素子、回折格子、複合回折格子、カラー表示装置、および分波器
EP1580594B1 (en) Light source unit and projector
JP4985059B2 (ja) 液晶表示装置
KR20120045098A (ko) 백라이트 어셈블리 및 이를 갖는 액정 표시 장치
JP2010210824A (ja) 光学素子及び照明装置
WO2013046921A1 (ja) 偏光子、偏光光学素子、光源および画像表示装置
TWI395021B (zh) 液晶顯示器之背光模組
JP5966725B2 (ja) 投影装置
KR101740194B1 (ko) 표시 패널 유닛 및 표시 장치
KR20090086759A (ko) 정면 휘도가 개선된 길이방향 웨이브 패턴의 프리즘 산을갖는 프리즘 시트, 이를 채용한 백라이트 유니트, 및 상기백라이트 유니트를 구비한 액정표시장치
CN110941116B (zh) 背光模组及其制作方法、显示装置
JP2007140505A (ja) 輝度上昇フィルム及びバックライトモジュール
KR20090068859A (ko) 선격자 편광자를 구비한 편광 도광판 및 액정 디스플레이패널
TWI284235B (en) Back light unit
TWI281561B (en) Micro lens array and manufacturing method thereof
KR20100067252A (ko) 나노 와이어 그리드 편광판 및 그 제조 방법
JP2010160503A (ja) 液晶装置
JP2005010735A (ja) 液晶パネル及び液晶表示装置
KR20150102132A (ko) 표시장치용 복합 기판, 이를 갖는 표시장치 및 그 제조방법
JP2005010735A5 (ja)
JP4125198B2 (ja) 液晶表示素子
KR101279961B1 (ko) 길이방향 웨이브 패턴의 프리즘 산과 확산부를 갖는 프리즘시트, 이를 채용한 백라이트 유니트, 및 상기 백라이트유니트를 구비한 액정표시장치
US20080101759A1 (en) Prism matrix with random phase structures
JP2007256697A (ja) 液晶表示装置

Legal Events

Date Code Title Description
A621 Written request for application examination

Free format text: JAPANESE INTERMEDIATE CODE: A621

Effective date: 20101005

A977 Report on retrieval

Free format text: JAPANESE INTERMEDIATE CODE: A971007

Effective date: 20120502

A131 Notification of reasons for refusal

Free format text: JAPANESE INTERMEDIATE CODE: A131

Effective date: 20120508

A521 Written amendment

Free format text: JAPANESE INTERMEDIATE CODE: A523

Effective date: 20120705

TRDD Decision of grant or rejection written
A01 Written decision to grant a patent or to grant a registration (utility model)

Free format text: JAPANESE INTERMEDIATE CODE: A01

Effective date: 20121218

A61 First payment of annual fees (during grant procedure)

Free format text: JAPANESE INTERMEDIATE CODE: A61

Effective date: 20130115

R150 Certificate of patent or registration of utility model

Ref document number: 5183284

Country of ref document: JP

Free format text: JAPANESE INTERMEDIATE CODE: R150

Free format text: JAPANESE INTERMEDIATE CODE: R150

FPAY Renewal fee payment (event date is renewal date of database)

Free format text: PAYMENT UNTIL: 20160125

Year of fee payment: 3

R250 Receipt of annual fees

Free format text: JAPANESE INTERMEDIATE CODE: R250

R250 Receipt of annual fees

Free format text: JAPANESE INTERMEDIATE CODE: R250

R250 Receipt of annual fees

Free format text: JAPANESE INTERMEDIATE CODE: R250

R250 Receipt of annual fees

Free format text: JAPANESE INTERMEDIATE CODE: R250

LAPS Cancellation because of no payment of annual fees