JP5179556B2 - タップホルダ - Google Patents

タップホルダ Download PDF

Info

Publication number
JP5179556B2
JP5179556B2 JP2010239285A JP2010239285A JP5179556B2 JP 5179556 B2 JP5179556 B2 JP 5179556B2 JP 2010239285 A JP2010239285 A JP 2010239285A JP 2010239285 A JP2010239285 A JP 2010239285A JP 5179556 B2 JP5179556 B2 JP 5179556B2
Authority
JP
Japan
Prior art keywords
tap
tap holder
rear end
shank member
main body
Prior art date
Legal status (The legal status is an assumption and is not a legal conclusion. Google has not performed a legal analysis and makes no representation as to the accuracy of the status listed.)
Active
Application number
JP2010239285A
Other languages
English (en)
Other versions
JP2012091251A (ja
Inventor
正博 田口
英策 中井
進 三▲角▼
Original Assignee
株式会社日研工作所
Priority date (The priority date is an assumption and is not a legal conclusion. Google has not performed a legal analysis and makes no representation as to the accuracy of the date listed.)
Filing date
Publication date
Application filed by 株式会社日研工作所 filed Critical 株式会社日研工作所
Priority to JP2010239285A priority Critical patent/JP5179556B2/ja
Publication of JP2012091251A publication Critical patent/JP2012091251A/ja
Application granted granted Critical
Publication of JP5179556B2 publication Critical patent/JP5179556B2/ja
Active legal-status Critical Current
Anticipated expiration legal-status Critical

Links

Images

Landscapes

  • Gripping On Spindles (AREA)

Description

本発明は、工作機械の主軸に取り付けられる工具ホルダに、タップを取り付け固定するタップホルダないしタップコレットに関する。
金属製のワークに雌ねじ孔を設けるタップ加工にあっては、タップを回転させながらワークの孔に進行(送り)させて孔壁にねじ山を形成する。最も良好な雌ねじ孔を形成するために、タップの回転および進行(送り)は、タップのピッチに合わせて同期しなければならない。そこでNC装置において、主軸の回転と主軸の送りを同期させる同期制御を行う。ところが、かかる同期制御において、なんらかの原因により工作機械の主軸の回転と送り前進とが同期せず不一致になると、ねじ山の稜線が削れて雌ねじ孔の口径が大きくなったり、ねじ山が痩せたりするなどの不都合が生じる。特に、工作機械および工作物が大型化すれば、同期が若干量くずれ、タップの進行が遅れる懸念があった。
そこで、主軸の回転と軸送りとの同期誤差を吸収する技術としては従来、例えば、特開2008−12613号公報(特許文献1)に記載のごときタップホルダが知られている。特許文献1に記載のタップホルダは、一端にタップを保持するタップコレットと、このタップコレットを受け入れて回転不能に把持固定するタッパー本体とからなる。タッパー本体の透孔内には、弾性変形可能な樹脂製ボールがほとんど隙間のない状態で保持されている。そして、樹脂製ボールはタップコレットの凹溝内に突出し、凹溝に密着するよう押圧する。これによりタップコレットはタッパー本体と結合して、軸方向の移動が規制される。
また、タップコレットの他端には軸直角方向に延在する回り止め溝が形成されており、この回り止め溝にタッパー本体のピンが係合して、タッパー本体の回転運動をタップコレットへ伝達する。
樹脂製ボールはタッパー本体の軸移動をタップコレットに正確に伝達するので、特許文献1のタップホルダは同期してタップ加工を行うことができる。かかるタップ加工において、主軸の回転と軸送りの誤差などにより、タップコレットが引っ張り力によって軸先端のタップ側方向に移動しようとする場合、透孔内においてほとんど隙間のない状態で保持されている樹脂製ボールは、透孔の孔壁と凹部の表面とによって軸方向のせん断応力を受けて弾性変形し、その分タップコレットの軸方向への微小量の移動を許容する。この結果、軸送りの誤差を吸収するようタップコレットがタップのピッチに一致する方向に微小移動し、精度の高いタップ加工を行うことができるというものである。
特開2008−12613号公報(第5頁、第3図)
しかし、上記従来のようなタップホルダにあっては、以下に説明するような問題を生ずる。つまり、樹脂製ボールの弾性変形は極めて微小であることから、吸収することができる誤差範囲が小さかった。このため、大型化したタップ加工にあっては、誤差を吸収することができない。また、樹脂製ボールがタップコレットに嵌合するため、タップコレットはタッパー本体に固定されており、吸収できる誤差に限界があった。
本発明は、上述の実情に鑑み、大きな誤差量であっても吸収することができるタップホルダを提供することを目的とする。
この目的のため第1発明によるタップホルダは、略円筒形状であって軸線に沿って延びる中心孔を有し、工具ホルダにチャッキングされるためのシャンク部材と、軸線方向後端領域が外径一定のストレート形状にされ、軸線方向先端部にタップを把持するための把持部を有し、後端領域がシャンク部材の中心孔に挿通されることによりシャンク部材に前進および後退可能に支持されるタップホルダ本体と、シャンク部材とタップホルダ本体との間の第1の位置に設けられて基準位置よりも軸線方向後端側へ後退したタップホルダ本体を軸線方向先端側に付勢するコンプレッション用弾性部材と、シャンク部材とタップホルダ本体との間の第2の位置に設けられて基準位置よりも軸線方向先端側へ前進したタップホルダ本体を軸線方向後端側に付勢するテンション用弾性部材とを備える。そして、シャンク部材の中心孔の内周面は、相対的に大きな内径の部分と、相対的に小さな内径の部分であって後端領域の外周面に緊密に接触してタップの芯をシャンク部材の軸線に一致させるガイド部とを含む
かかる本発明によれば、後退したタップホルダ本体を基準位置へ復帰するよう軸線方向先端側に付勢するコンプレッション用弾性部材と、前進したタップホルダ本体を基準位置へ復帰するよう軸線方向後端側に付勢するテンション用弾性部材をそれぞれ備えることから、樹脂ボールがコンプレッション用弾性部材およびテンション用弾性部材を兼用する構成の従来技術と比較して、主軸の回転と軸送りの誤差を好適に吸収することができる。しかも、ガイド部を有することから、タップホルダ本体は、ガイド部を有さない従来技術よりも大きな距離を相対移動することができる。したがって、主軸の回転と軸送りの誤差が大きい場合であっても、誤差を十分に吸収して回転と軸送りとを同期させることができる。この結果、大型化したタップ加工にも適用することができる。
本発明は、シャンク部材をタップホルダ本体よりも軸線方向先端側に配置することを排除するものではない。また、本発明のタップホルダがコレットないしタップコレットとして利用されて工具ホルダにチャッキングされることを排除するものではない。本発明のガイド部は、特に限定されるものではなく、軸線の周りに周方向所定間隔で配置されて軸線方向に延びる軌道のようなものであってもよい。例えば、シャンク部材が有するガイド部はシリンダ形状であり、ピストン形状のタップホルダ本体を軸線方向に案内してもよい。あるいは、タップホルダ本体が有するガイド部はピストン形状であり、シリンダ形状のシャンク部材に軸線方向に案内されてもよい。第2発明によるタップホルダは工具ホルダにチャッキングされるためのシャンク部材と、シャンク部材に前進および後退可能に支持され、タップを軸線方向先端側で把持するための把持部を有するタップホルダ本体と、シャンク部材とタップホルダ本体との間の第1の位置に設けられて基準位置よりも軸線方向後端側へ後退したタップホルダ本体を軸線方向先端側に付勢するコンプレッション用弾性部材と、シャンク部材とタップホルダ本体との間の第2の位置に設けられて基準位置よりも軸線方向先端側へ前進したタップホルダ本体を軸線方向後端側に付勢するテンション用弾性部材とを備え、シャンク部材は、略円筒形状であって、軸線に沿って後端から先端側に向かって延びる中心孔と、軸線に沿って先端から後端に向かって延び中心孔と接続するタップ挿入孔とが形成され、中心孔にタップホルダ本体の先端領域を受け入れてタップホルダ本体を軸線方向に案内し、タップホルダ本体は、中心孔の内周面と摺接する先端領域の先端部外周面に、タップの芯をシャンク部材の軸線に一致させるガイド部を有する。
好ましい実施形態として、第1発明のガイド部は、後端領域の外周面と摺接する中心孔の先端部内周面である。
テンション用弾性部材が設けられる第2の位置は、特に限定されないが、好ましい実施形態として例えば、タップホルダ本体は、後端領域よりも先端側にあって外径側へ張り出した外向きフランジ部をさらに有し、シャンク部材は、該シャンク部材の外周に固定されて外向きフランジ部を越えて先端側へ延びる略円筒形状部と、円筒形状部の先端部から内径側に張り出した内向きフランジ部を含み、該内向きフランジ部が外向きフランジ部の先端面と対向してタップホルダ本体の前進距離を所定範囲に規制するストッパ部材をさらに有し、テンション用弾性部材は、ストッパ部材の内向きフランジ部と、タップホルダ本体の外向きフランジ部との間に設けられる。
コンプレッション用弾性部材が設けられる第1の位置は、特に限定されないが、好ましい実施形態として例えば、タップホルダ本体の外向きフランジ部とシャンク部材の先端部との間に設けられる。
タップを把持するタップホルダ本体の把持部の構成は、特に限定されないが、好ましい実施形態として例えば、タップホルダ本体の把持部は、タップを把持する際にタップの芯をタップホルダ本体の中心線に一致させる機構を有する。具体例として、テーパ穴と、このテーパ穴に押し込められて位置決めされるテーパ面を有するコレットである。
タップ加工の向上のためタップにはクーラントまたはエアを供給することが好ましい。1実施形態として、タップホルダ本体は、シャンク部材側から把持部へクーラントまたはエアを供給する本体通路をさらに有する。
ここで、クーラントまたはエアは高圧にされて、工作機械の主軸から工具ホルダを経てタップホルダへ供給されるため、通路の継ぎ目からクーラントまたはエアが漏れる懸念がある。このため、より好ましい実施形態として、シャンク部材は、タップホルダ本体の本体通路を工具ホルダに接続するためのアダプタと、アダプタとシャンク部材との隙間を封止する第1シール部材とを有し、アダプタは、タップホルダ本体の本体通路と連通して工具ホルダ側まで延びるアダプタ通路が形成され、アダプタとタップホルダ本体との隙間を封止する第2シール部材を有するとよい。かかる実施形態によれば、クーラントまたはエアが漏れることがなく、タップホルダ本体の後端側(コンプレッション側)への後退移動に影響を与えない。
1実施形態として、シャンク部材はその外径が一定のストレート形状のシャンクである。これにより、ストレートタイプの工具ホルダに本発明のタップホルダをチャッキングすることができる。
他の実施形態として、シャンク部材はその外径が後端に向かうに連れて細くなるテーパ形状のシャンクである。これにより、テーパタイプの工具ホルダに本発明のタップホルダをチャッキングすることができる。
このように本発明は、基準位置よりも軸線方向後端側へ後退したタップホルダ本体を軸線方向先端側に付勢するコンプレッション用弾性部材と、基準位置よりも軸線方向先端側へ前進したタップホルダ本体を軸線方向後端側に付勢するテンション用弾性部材を備えることから、主軸の回転と軸送りの誤差を吸収して回転と送りとを好適に同期させることができる。さらに、シャンク部材およびタップホルダ本体のいずれか一方は、残る他方を軸線方向に案内し、タップの芯をシャンク部材の軸線に一致させるガイド部を備えることから、前進距離および後退距離を大きくすることが可能となり、主軸の回転と軸送りの誤差を十分に吸収し得て、タップ加工の大型化に資する。さらにアダプタを有することにより、工作機械の主軸から供給される高圧のクーラントやエアがタップ刃先にかかり、切削条件の向上と刃物の長寿命が実現する。
本発明の一実施例になるタップホルダを示す縦断面図である。 本発明の変形例を一部拡大して示す縦断面図である。 本発明の他の実施例になるタップホルダを示す縦断面図である。 本発明のさらに他の実施例になるタップホルダを模式的に示す縦断面図である。
以下、本発明の実施の形態を、図面に示す実施例に基づき詳細に説明する。図1は、本発明の一実施例になるタップホルダを示す縦断面図である。タップホルダ10は、主な構成要素としてシャンク部材11およびタップホルダ本体21を備える。シャンク部材11は、略円筒形状であって、一点鎖線で表されるシャンク部材11の軸線に沿って延びる中心孔12を有するとともに、その外径が一定のストレート形状のシャンクであり、タップホルダ10の後端側に配置される。ストレート形状であるシャンク部材11の外周面13は、図示しない工具ホルダにチャッキングされる。中心孔12は、タップホルダ本体21の後端領域22aを受け入れて支持する。中心孔12の軸線方向後端部には、ロッド17が架設される。ロッド17は、シャンク部材11の軸線と直交して、中心孔12を横断する。ロッド17の両端は中心孔12の孔壁、つまりシャンク部材11、と強固に連結する。
タップホルダ本体21は、タップホルダ10の先端側に配置される。タップホルダ本体21は、その軸線方向後端領域22aが外径一定のストレート形状にされ、先端部にタップ(図示せず)を把持するための把持部23を有する。
タップホルダ本体21の軸線方向後端には軸線直角方向に延びる溝29が形成され、溝29は、シャンク部材11のロッド17を受け入れる。これによりタップホルダ本体21はシャンク部材11に対して回り止めされる。そしてタップ加工において、シャンク部材11の軸線周りの回転が、ロッド17を介してタップホルダ本体21に伝達される。また、溝29の軸線方向深さは、ロッド17の外径よりも大きい。これによりタップホルダ本体21は、シャンク部材11に対し、回り止めされたまま軸線方向に前進および後退することが可能である。
タップホルダ本体21の軸線方向先端部に設けられた把持部23につき簡単に説明すると、把持部23はタップの着脱作業が容易なワンタッチ式である。図示しないタップ根元部を受け入れる略円筒形状のタップスリーブ24は、タップホルダ本体21の先端部に形成された中心孔25に取り付け固定される。ワンタッチ式の構成は、タップスリーブ24に周方向に間隔を開けて配列されたボール26と、タップスリーブ24の後端と中心孔25の孔底25bとの間に縮設されたバネ27によって実現される。把持部23によって、タップの芯はタップホルダ本体21の中心線に固定される。
タップホルダ本体21は、その後端領域22aがシャンク部材11の軸線に沿って延びる中心孔12に挿通されることから、シャンク部材の軸線方向に摺動可能に支持される。具体的には、後端領域22aの外径が一定であるのに対し、中心孔12は、後端側の内周面である後端部12bと、後端部12bよりも先端側にある相対的にやや大きな内径の境界部12cと、境界部12cよりも先端側にあって後端部12bよりも小さな内径の内周面であるガイド部12gとを有する。そして、タップホルダ本体21の後端領域22aの外周面は、中心孔12の内周面であるガイド部12gに緊密に接触して摺動可能に支持される。かかるガイド部12gにより、タップの芯およびタップホルダ本体21の中心線がシャンク部材11の軸線と一致する。
特に本実施例では、後端領域22aがタップホルダ本体21の軸線方向後端からタップホルダ本体21の軸線方向中央部まで形成される。そしてシャンク部材の先端部にけられたガイド部12gが後端領域22aの先端側部位と摺接する。これにより、ガイド部12gはタップホルダ本体21の軸線方向中央部を案内することが可能となり、ガイド部12gは、タップの芯をシャンク部材11の軸線に精度よく一致させる。
シャンク部材11からみて、タップホルダ本体21は通常、基準位置Sにされる。ただし、主軸の回転と軸送りの誤差を吸収するため、タップホルダ本体21は矢印Cで示すようにシャンク部材11からみて軸線方向に後退し、または矢印Tで示すように軸線方向に前進する。このためタップホルダ10は、コンプレッション用弾性部材としてのコンプレッション用バネ31と、テンション用弾性部材としてのテンション用ウェーブスプリング32と、タップホルダ本体21の前進距離を所定範囲に規定して、シャンク部材11からタップホルダ本体21が抜け落ちることを防止するストッパ部材15とをさらに備える。
コンプレッション用バネ31は、シャンク部材11とタップホルダ本体21との間の第1の位置に設けられて基準位置Sよりも軸線方向後端側Cへ後退したタップホルダ本体21を軸線方向先端側に付勢する。このときコンプレッション用バネ31は、軸線方向の圧縮力をうけて弾性変形することから、自己の復元力によりタップホルダ本体21を軸線方向先端側に付勢するのである。シャンク部材11の先端部は、この先端部よりも後端側の外周面13よりも外径側へ張り出し、シャンク外向きフランジ部14を構成する。また、タップホルダ本体21には、後端領域22aよりも先端側で、後端領域22aの外周面よりも外径側へ張り出した本体外向きフランジ部28が形成される。本体外向きフランジ部28の後端面28bは、シャンク外向きフランジ部14の先端面14fと対向する。前述した第1の位置は、タップホルダ本体21の外向きフランジ部28とシャンク部材11の先端部との間、具体的には後端面28bと先端面14fとの間、である。
先端面14fには、軸線方向後端側へ窪んだ有底の小穴11hが穿設される。小穴11hは軸線の周りに、周方向に間隔を開けて複数設けられる。コンプレッション用バネ31は、コイルバネであり、各小穴11hにそれぞれ配設される。
ストッパ部材15は、略円筒形状であって、シャンク外向きフランジ部14の外周に嵌合する。なお本実施例の他、ストッパ部材15の内周面に雌ねじを形成し、シャンク外向きフランジ部14の外周に雄ねじを形成し、両者を螺合してもよい。またストッパ部材15は、シャンク外向きフランジ部14から本体外向きフランジ部28を越えて軸線方向先端側に延び、本体外向きフランジ部28の外周を包囲する。そして、ストッパ部材15は、その先端部から内径側に張り出した内向きフランジ部16を含む。かくして、内向きフランジ部16は、本体外向きフランジ部28と対向し、タップホルダ本体21の前進距離を所定範囲に規制する。また、タップホルダ本体21の本体外向きフランジ部28が、シャンク部材11のシャンク外向きフランジ部14およびシャンク部材11と嵌合する内径側に張り出した内向きフランジ部16の間に配置されることから、基準位置SからT方向の前進距離およびC方向の後退距離がそれぞれ規制される。
テンション用ウェーブスプリング32は、シャンク部材11とタップホルダ本体21との間の第2の位置に設けられて基準位置Sよりも軸線方向先端側Tへ前進したタップホルダ本体21を軸線方向後端側に付勢する。このときテンション用ウェーブスプリング32は、軸線方向の圧縮力をうけて弾性変形することから、自己の復元力によりタップホルダ本体21を軸線方向後端側に付勢するのである。本体外向きフランジ部28の先端面28fは、内向きフランジ部16の後端面16bと対向する。前述した第2の位置は、ストッパ部材15の内向きフランジ部16と、タップホルダ本体21の外向きフランジ部28との間、具体的には後端面16bと先端面28fとの間、である。
なお図示はしなかったが、テンション用弾性部材として、上述したウェーブスプリング32に代えて、コイルバネを用いてもよい。かかるコイルバネは、バネ31に倣い、軸線の周りに周方向に間隔を空けて複数個配設される。
タップホルダ本体21の中心孔25の孔底25bは、その中央で中心孔25よりも小さな断面寸法の角孔41と同軸に接続する。角孔41の先端は中心孔25と接続し、角孔41の後端は、相対的にさらに小さな直径の本体通路42と接続する。このように角孔41は中心孔25と本体通路42とを連通する連絡用の孔であり、断面形状が正方形などの矩形であって図示しないタップの後端角部を受け入れる。これら中心孔25、角孔41、および本体通路42は、相互に接続し、軸線に沿ってタップホルダ本体21の先端から後端まで一直線に延びる貫通孔を構成する。タップ加工において、図示しない工具ホルダから供給されるクーラントは、本体通路42、角孔41、中心孔25、および把持部23を順次流れて、図示しないタップに供給される。
本実施例の機能につき説明する。
本実施例のタップホルダ10は、主軸に装着された工具ホルダ(ともに図示せず)にチャッキングされて、図示しないタップのピッチに合わせて回転および軸送りが同期する。しかしながら、軸送りに誤差が生じ回転と軸送りとがわずかにずれる場合がある。すなわち、主軸の回転と送りの誤差などによりタップホルダ本体21が軸線方向先端側(T)へ向かう力を受ける場合、本体外向きフランジ部28よりも先端側のテンション用ウェーブスプリング32が本体外向きフランジ部28から軸線方向の圧縮力を受ける。テンション用ウェーブスプリング32は弾性部材であることから、所定以上の圧縮力によって圧縮変形し、タップホルダ本体21の先端方向(T)への微小変位を許容する。これにより、タップがタップ自身のピッチに合うよう微小前進し、誤差を吸収して同期させることができる。
あるいは、主軸の回転と送りの誤差などによりタップホルダ本体21が軸線方向後端側(C)へ向かう力を受ける場合、本体外向きフランジ部28よりも後端側のコンプレッション用バネ31が本体外向きフランジ部28から軸線方向の圧縮力を受ける。コンプレッション用バネ31は弾性部材であることから、所定以上の圧縮力によって圧縮変形し、タップホルダ本体21の後端方向(C)への微小変位を許容する。これにより、タップがタップ自身のピッチに合うよう微小後退し、誤差を吸収して同期させることができる。
そして、かかる微小前進および微小後退の間、タップの芯およびタップホルダ本体21の中心線は、シャンク部材11のガイド部12gによってシャンク部材11の軸線と一致する。
かくして本実施例によれば、タップホルダ10における回転と軸送りの誤差を吸収することができ、しかもタップの芯をシャンク部材の軸線に一致させて、精度の高いタップ加工をすることができる。
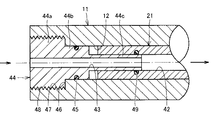
次に本発明の変形例を説明する。図2は本発明の変形例を示す縦断面図であり、この変形例では、シャンク部材11は、タップホルダ本体21の本体通路42を図示しない工具ホルダに接続するためのアダプタ44と、アダプタ44とシャンク部材11との隙間を封止する第1シール部材45を有する。アダプタ44は本体通路42と工具ホルダの通路(図示せず)との継ぎ目を好適な接続状態にするものである。
シャンク部材11の中心孔12の後端部の内径は、環状段差46を境界として先端側よりも拡径されており、かかる内周面には雌ねじ47が形成される。また、アダプタ44の後端部44aの外周面には雄ねじ48が形成され、アダプタ44はシャンク部材11の後端部に螺合する。
アダプタ44は、その後端部44aの外径が最も大きく、中央部44bの外径が後端部44aよりも小さく、先端部44cの外径が中央部44bよりもさらに小さく、軸線方向の途中2箇所に環状段差を伴った3段の先細形状である。中央部44bの外周面には周方向溝が刻設されており、かかる周方向溝に第1シール部材45が嵌合する。第1シール部材45は、例えばゴム製のOリングであり、中心孔12の内周面と中央部44bの外周面の環状隙間を封止する。
アダプタ44の先端部44cは、タップホルダ本体21の本体通路42に差し込まれる。ただしタップホルダ本体21はアダプタ44に対し微小な相対前進および後退が可能である。先端部44cの外周面には周方向溝が刻設されており、かかる周方向溝に第2シール部材49が嵌合する。第2シール部材49は、例えばゴム製のOリングであり、本体通路42の内周面と先端部44cの外周面の環状隙間を摺動可能に封止する。これにより、タップホルダ本体21は先端部44cに対して摺動することを妨げられない。
アダプタ44には、軸線に沿って延び、後端部44aから先端部44cまで貫通するアダプタ通路43が形成される。アダプタ通路43は、タップホルダ本体21の本体通路42と連通して工具ホルダ側まで延びる。
かかる変形例によれば、アダプタ通路43が形成されたアダプタ44と、第1シール部材45と、第2シール部材49を有することから、矢印の方向に、主軸および工具ホルダ側からタップホルダ10を経由してタップへクーラントを供給する際、高圧のクーラントが継ぎ目から漏れることを防止することができる。したがって継ぎ目から漏出したクーラントがタップホルダ本体21の後端側C(コンプレッション側)の動作に影響を与える懸念を解消することができ、タップホルダ本体21を基準位置Sへ確実に復帰させることができる。なお、アダプタ通路43および本体通路42は、クーラントに代えてエアを、タップへ供給することができる。
次に本発明の他の実施例を説明する。図3は、本発明の他の実施例になるタップホルダを示す縦断面図である。図3に示す実施例につき、上述した実施例と共通する構成については同一の符号を付して説明を省略し、異なる構成について以下に説明する。図3に示すタップホルダ50では、タップホルダ本体21の把持部23が、タップ101を把持する際にタップ101の芯をタップホルダ本体21の中心線に一致させる機構を有する。
当該機構として把持部23は、タップホルダ本体21の先端部に形成されたテーパ穴51と、テーパ穴51に嵌合してタップの根元部を把持するテーパコレット52と、タップホルダ本体21の先端部と螺合してテーパコレット52をテーパ穴51に押し込む筒状部材53を有する。
テーパ穴51は、その後端で連絡用の角孔41と接続し、タップホルダ本体21の中心線に沿って延び、先端側に向かうに連れて徐々に内径が大きくなる。テーパ穴51には、筒状のテーパコレット52が嵌合する。テーパコレット52の内周はタップ挿入孔54になっている。タップ挿入孔54はテーパコレット52の後端から先端まで軸線方向に貫通する。タップ挿入孔54には先端側からタップ101の根元部が挿入される。
テーパコレット52の外周後端領域は、後端側へ向かうにつれて小径となる主テーパ面55になっている。主テーパ面55は、上述したテーパ穴51と嵌合する。
主テーパ面55と隣接するテーパコレット52の外周先端部には、全周に亘って延びるリング溝56が形成されており、リング溝56には筒状部材53が係合する。リング溝56の先端側の側壁を含むテーパコレット52の先端部57は、筒状部材53の凹部58に収容される。テーパコレット52は、軸線と平行に延在するスリット状のスリ割り(図示せず)を有する。スリ割りを押し縮めることによって、テーパコレット52はその径が変化可能である。
タップホルダ本体21の先端部外周に形成された雄ねじ59には、筒状部材53の内周に形成された雌ねじ62が螺合する。筒状部材53の先端部には内向きフランジ部が形成されて、かかる内向きフランジ部の内縁部がリング溝56と係合する。かくして筒状部材53は、テーパコレット52を軸線方向に移動させることができる。内向きフランジの先端面の内径縁には、リング状の凹部58が形成されている。凹部58の内径は、テーパコレット先端部57の外径よりも大きく、凹部58の軸線方向深さは先端部57の軸線方向厚みより大きい。これにより、テーパコレット先端部57は凹部58に完全に収容される。
筒状部材53はタップホルダ本体21に螺合してテーパコレット52を軸線後端方向へ押し込むためのものであり、テーパコレット52はテーパ穴51に押し付けられてタップ挿入孔54が縮径する。したがって、筒状部材53を回転させて締め込むと、タップ101が把持されるとともに、タップ101の芯がタップホルダ本体21の中心線に一致するよう位置決めされる。
これとは反対に、筒状部材53を回転させて緩めると、テーパコレット52をテーパ穴51から軸線先端方向へ離隔して、タップ挿入孔54の内径が広がり、タップ101の把持を解放する。
次に本発明のさらに他の実施例を説明する。図4は本発明のさらに他の実施例になるタップホルダを模式的に示す縦断面図である。図4に示す実施例につき、上述した実施例と共通する構成については同一の符号を付して説明を省略し、異なる構成について以下に説明する。図4に示すタップホルダ70では、シャンク部材11がタップホルダ本体21よりも先端側に配置される。またシャンク部材11は、その外径が後端に向かうに連れて細くなるテーパ形状のシャンクである。
まずシャンク部材11につき説明すると、その外周面が軸線方向中央部から軸線方向後端に向かうにつれて細くなる先細形状のテーパ面72であることから、コレットとも称する。テーパ面72の先端側と隣接するコレット11の外周にはリング溝73が形成され、このリング溝73よりも先端側、つまりコレット11の先端部74は、リング溝73よりも相対的に大径に形成される。テーパ面72は、図示しない工具ホルダのテーパ穴に挿入される。そして、工具ホルダの先端部に螺合する筒状部材(図示せず)が、リング溝73に係合して、コレット11を軸線方向後端側に押し込む。この筒状部材を締め込むことにより、コレット11およびタップホルダ本体21の軸線は、工具ホルダにチャッキングされ、工具ホルダの軸線に一致するよう位置決めされる。なおコレット11にはスリ割りが形成されず、コレット11は縮径されないと理解されたい。
コレット11の軸線に沿って延びる中心孔12は、コレット11の後端から軸線方向中央部まで延び、中央孔12の孔底でタップ挿入孔75と接続する。タップ挿入孔75はコレット11の先端まで貫通し、タップ101の根元部102が挿通される。タップ挿入孔75の内径は中央孔12の内径よりも小さいことから、中央孔12の孔底は環状段差83に形成される。
次にタップホルダ本体21につき説明すると、タップホルダ本体21は軸線に沿って延びる貫通孔77が形成された略円筒形状の部材であり、先端部を除いた軸線方向中央領域および軸線方向後端部が外径一定である。そしてタップホルダ本体21の先端に相対的に大径のフランジ部78が形成されている。この先端フランジ部78の外周面はコレット11の中心孔12の内周面と摺接するガイド部78gである。
タップホルダ本体21の後端部には、軸線直角方向に延びてタップホルダ本体21に螺合する止めねじ79が四方に設けられる。この止めねじ79および貫通孔77は、タップ101をタップホルダ本体21の軸線方向先端側で把持するための把持部を構成する。すなわち、タップ挿入孔75を貫通して中心孔12内に達する根元部102は、タップホルダ本体21の貫通孔77に受け入れられる。根元部102の後端部には断面正方形の角部103が形成される、そして、四方から止めねじ79を締め込むと、止めねじ79の先端が角部103の側面を押圧する。これにより、タップ101はタップホルダ本体21に抜け止め固定される。
タップホルダ本体21の先端領域22bは、コレット11の中心孔12に受け入れられて支持される。コレット11の後端部にはストッパ部材85が取り付け固定される。ストッパ部材85はリング形状であって、その外周面に雄ねじが形成される。また、中心孔12の内周面には、雌ねじ12sが形成され、かかる雌ねじ12sにリング形状のストッパ部材85が螺合する。コレット11に固定されたストッパ部材85はタップホルダ本体21の先端フランジ部78よりも軸線方向後端側に位置し、ストッパ部材85および先端フランジ部78は軸線方向に間隔を開けて対向する。これにより、タップホルダ本体21の後退距離が所定範囲に規制される。ストッパ部材85および先端フランジ部78間にはコンプレッション用弾性部材としてのコンプレッション用バネ81が縮設される。コンプレッション用バネ81の作用機能は、前述したコンプレッション用バネ31と同様である。
コレット11の中心孔12内において、環状段差83および先端フランジ部78間にはテンション用弾性部材としてのテンション用バネ82が縮設される。テンション用バネ82の作用機能は、前述したテンション用ウェーブスプリング32と同様である。環状段差83は、間隔をあけて、中心孔12の軸線方向中程に位置する先端フランジ部78と対向する。これにより、タップホルダ本体21の前進距離が所定範囲に規制される。
図4に示すタップホルダ70では、タップホルダ本体21の先端フランジ部78のガイド部78gが中心孔12の内周面と摺接することから、タップホルダ本体21はコレット11の軸線方向に摺動可能に支持される。そして、中心孔12の内周面は、タップホルダ本体21の外周面であるガイド部12gに緊密に接触してタップホルダ本体21を摺動可能に支持する。かかるガイド部12gにより、タップの芯およびタップホルダ本体21の中心線がコレット11の軸線と一致する。
先端領域22bは、タップホルダ本体21の軸線方向先端からタップホルダ本体21の軸線方向中央部まで形成される。そしてタップホルダ本体21の軸線方向先端部に形成されたガイド部78gは、中心孔12のうちストッパ部材85よりも先端側の内周面と摺接することにより、タップホルダ本体21の軸線方向先端部を案内する。これによりガイド部78gは、タップ101の芯をコレット11の軸線に一致させる。
以上、図面を参照してこの発明の実施の形態を説明したが、この発明は、図示した実施の形態のものに限定されない。図示した実施の形態に対して、この発明と同一の範囲内において、あるいは均等の範囲内において、種々の修正や変形を加えることが可能である。
この発明になるタップホルダは、工作機械において有利に利用される。
11 シャンク部材(コレット)、12 中心孔、12g ガイド部、14 シャンク外向きフランジ部、15 ストッパ部材、16 内向きフランジ部、17 ロッド、21 タップホルダ本体、23 把持部、24 タップスリーブ、25 中心孔、26 ボール、27 バネ、28 本体外向きフランジ部、31 コンプレッション用バネ、32 テンション用ウェーブスプリング、41 角孔、42 本体通路、43 アダプタ通路、44 アダプタ、45 第1シール部材、46 環状段差、49 第2シール部材、50 タップホルダ、51 テーパ穴、52 テーパコレット、53 筒状部材、54 タップ挿入孔、55 主テーパ面、56 リング溝、57 テーパコレット先端部、70 タップホルダ、72 テーパ面、73 リング溝、74 コレット先端部、75 タップ挿入孔、77 貫通孔、78 先端フランジ部、78g ガイド部、79 止めねじ、81 コンプレッション用バネ、82 テンション用バネ、83 環状段差、85 ストッパ部材、101 タップ、102 根元部。

Claims (10)

  1. 略円筒形状であって軸線に沿って延びる中心孔を有し、工具ホルダにチャッキングされるためのシャンク部材と、
    軸線方向後端領域が外径一定のストレート形状にされ、軸線方向先端部にタップを把持するための把持部を有し、前記後端領域が前記シャンク部材の中心孔に挿通されることにより前記シャンク部材に前進および後退可能に支持されるタップホルダ本体と、
    前記シャンク部材と前記タップホルダ本体との間の第1の位置に設けられて基準位置よりも軸線方向後端側へ後退したタップホルダ本体を軸線方向先端側に付勢するコンプレッション用弾性部材と、
    前記シャンク部材と前記タップホルダ本体との間の第2の位置に設けられて基準位置よりも軸線方向先端側へ前進したタップホルダ本体を軸線方向後端側に付勢するテンション用弾性部材とを備え、
    前記シャンク部材の中心孔の内周面は、相対的に大きな内径の部分と、相対的に小さな内径の部分であって前記後端領域の外周面に緊密に接触して前記タップの芯を前記シャンク部材の軸線に一致させるガイド部とを含む、タップホルダ。
  2. 工具ホルダにチャッキングされるためのシャンク部材と、
    前記シャンク部材に前進および後退可能に支持され、タップを軸線方向先端側で把持するための把持部を有するタップホルダ本体と、
    前記シャンク部材と前記タップホルダ本体との間の第1の位置に設けられて基準位置よりも軸線方向後端側へ後退したタップホルダ本体を軸線方向先端側に付勢するコンプレッション用弾性部材と、
    前記シャンク部材と前記タップホルダ本体との間の第2の位置に設けられて基準位置よりも軸線方向先端側へ前進したタップホルダ本体を軸線方向後端側に付勢するテンション用弾性部材とを備え、
    前記シャンク部材は、略円筒形状であって、軸線に沿って後端から先端側に向かって延びる中心孔と、軸線に沿って先端から後端に向かって延び前記中心孔と接続するタップ挿入孔とが形成され、前記中心孔に前記タップホルダ本体の先端領域を受け入れて前記タップホルダ本体を軸線方向に案内し、
    前記タップホルダ本体は、前記中心孔の内周面と摺接する前記先端領域の先端部外周面に、前記タップの芯を前記シャンク部材の軸線に一致させるガイド部を有する、タップホルダ。
  3. 記ガイド部は、前記後端領域の外周面と摺接する前記中心孔の先端部内周面である、
    請求項1に記載のタップホルダ。
  4. 前記タップホルダ本体は、前記後端領域よりも先端側にあって外径側へ張り出した外向きフランジ部をさらに有し、
    前記シャンク部材は、該シャンク部材の外周に固定されて前記外向きフランジ部を越えて先端側へ延びる略円筒形状部と、前記円筒形状部の先端部から内径側に張り出した内向きフランジ部を含み、該内向きフランジ部が前記外向きフランジ部の先端面と対向して前記タップホルダ本体の前進距離を所定範囲に規制するストッパ部材をさらに有し、
    前記テンション用弾性部材は、前記ストッパ部材の内向きフランジ部と、前記タップホルダ本体の外向きフランジ部との間に設けられる、請求項3に記載のタップホルダ。
  5. 前記コンプレッション用弾性部材は、前記タップホルダ本体の外向きフランジ部と前記シャンク部材の先端部との間に設けられる、請求項4に記載のタップホルダ。
  6. 前記タップホルダ本体の把持部は、タップを把持する際にタップの芯をタップホルダ本体の中心線に一致させる機構を有する、請求項3〜5のいずれかに記載のタップホルダ。
  7. 前記タップホルダ本体は、前記シャンク部材側から前記把持部へクーラントまたはエアを供給する本体通路をさらに有する、請求項3〜6のいずれかに記載のタップホルダ。
  8. 前記シャンク部材は、前記タップホルダ本体の本体通路を工具ホルダに接続するためのアダプタと、前記アダプタと前記シャンク部材との隙間を封止する第1シール部材とを有し、
    前記アダプタは、前記タップホルダ本体の本体通路と連通して工具ホルダ側まで延びるアダプタ通路が形成され、アダプタと前記タップホルダ本体との隙間を封止する第2シール部材を有する、請求項7に記載のタップホルダ。
  9. 前記シャンク部材はその外径が一定のストレート形状のシャンクである、請求項1〜8のいずれかに記載のタップホルダ。
  10. 前記シャンク部材はその外径が後端に向かうに連れて細くなるテーパ形状のシャンクである、請求項1〜8のいずれかに記載のタップホルダ。
JP2010239285A 2010-10-26 2010-10-26 タップホルダ Active JP5179556B2 (ja)

Priority Applications (1)

Application Number Priority Date Filing Date Title
JP2010239285A JP5179556B2 (ja) 2010-10-26 2010-10-26 タップホルダ

Applications Claiming Priority (1)

Application Number Priority Date Filing Date Title
JP2010239285A JP5179556B2 (ja) 2010-10-26 2010-10-26 タップホルダ

Publications (2)

Publication Number Publication Date
JP2012091251A JP2012091251A (ja) 2012-05-17
JP5179556B2 true JP5179556B2 (ja) 2013-04-10

Family

ID=46385199

Family Applications (1)

Application Number Title Priority Date Filing Date
JP2010239285A Active JP5179556B2 (ja) 2010-10-26 2010-10-26 タップホルダ

Country Status (1)

Country Link
JP (1) JP5179556B2 (ja)

Families Citing this family (5)

* Cited by examiner, † Cited by third party
Publication number Priority date Publication date Assignee Title
JP6869536B2 (ja) 2017-05-17 2021-05-12 エヌティーツール株式会社 工具ホルダ
EP3628424A1 (en) 2018-09-17 2020-04-01 Korea Institute of Machinery & Materials Cutting head operated by centrifugal force and cutting apparatus including the same
KR102068526B1 (ko) * 2019-03-25 2020-01-21 한국기계연구원 정적 및 동적으로 안정된 절삭유닛
JP6573300B1 (ja) * 2019-03-29 2019-09-11 カトウ工機株式会社 加工工具
JP7261285B1 (ja) 2021-12-08 2023-04-19 株式会社日研工作所 タップホルダ

Family Cites Families (4)

* Cited by examiner, † Cited by third party
Publication number Priority date Publication date Assignee Title
JPS4947264Y1 (ja) * 1968-05-01 1974-12-25
JPS4719890U (ja) * 1971-02-08 1972-11-06
JPH0546812Y2 (ja) * 1986-05-30 1993-12-08
CN101479069A (zh) * 2007-02-23 2009-07-08 大昭和精机株式会社 丝锥夹头

Also Published As

Publication number Publication date
JP2012091251A (ja) 2012-05-17

Similar Documents

Publication Publication Date Title
JP5179556B2 (ja) タップホルダ
KR101828334B1 (ko) 홀더 장치
JP5420528B2 (ja) 回転切削工具の刃の位置を調整する装置
TWI574773B (zh) 筒夾夾頭、夾頭裝置及加工製品之製造方法
US8550755B2 (en) Tap driver for rigid/synchronous tapping
CN106964813B (zh) 一种精密小孔加工机构及手动加工精密小孔的方法
US20090206559A1 (en) Eccentric collet chuck for CNC lathe adjustment the concentricity and misalignment
WO2010090261A1 (ja) 工作機械の主軸装置
KR20160053924A (ko) 절삭 공구
JPWO2008105043A1 (ja) タップホルダ
US5284348A (en) Apparatus for cutting ocular lens materials
US2470218A (en) Toolholder
CN110678287A (zh) 刀柄
JP6851092B2 (ja) 工具ホルダの工具締付方法及び工具ホルダ
JP6762042B2 (ja) 工具用チャック並びに工具保持方法及び工具取り外し方法
CN212704824U (zh) 手动攻螺纹孔工装
JP7261285B1 (ja) タップホルダ
US20050280216A1 (en) Machine tool arbor fitted for tool-less chucking
JP2008012613A (ja) タップホルダ
TWM616042U (zh) 伸縮浮動攻牙刀桿
JP4331486B2 (ja) ワーク支持装置
JP5946570B1 (ja) 工具ホルダ
KR101434353B1 (ko) 미세 전극 척킹장치
CN115488762B (zh) 一种精密磨床轴向快速定位装置及方法
JP2007168003A (ja) 工具ホルダ

Legal Events

Date Code Title Description
A131 Notification of reasons for refusal

Free format text: JAPANESE INTERMEDIATE CODE: A131

Effective date: 20121016

A521 Request for written amendment filed

Free format text: JAPANESE INTERMEDIATE CODE: A523

Effective date: 20121210

RD03 Notification of appointment of power of attorney

Free format text: JAPANESE INTERMEDIATE CODE: A7423

Effective date: 20121210

TRDD Decision of grant or rejection written
A01 Written decision to grant a patent or to grant a registration (utility model)

Free format text: JAPANESE INTERMEDIATE CODE: A01

Effective date: 20130108

A61 First payment of annual fees (during grant procedure)

Free format text: JAPANESE INTERMEDIATE CODE: A61

Effective date: 20130109

R150 Certificate of patent or registration of utility model

Ref document number: 5179556

Country of ref document: JP

Free format text: JAPANESE INTERMEDIATE CODE: R150

R250 Receipt of annual fees

Free format text: JAPANESE INTERMEDIATE CODE: R250

R250 Receipt of annual fees

Free format text: JAPANESE INTERMEDIATE CODE: R250

R250 Receipt of annual fees

Free format text: JAPANESE INTERMEDIATE CODE: R250

R250 Receipt of annual fees

Free format text: JAPANESE INTERMEDIATE CODE: R250

R250 Receipt of annual fees

Free format text: JAPANESE INTERMEDIATE CODE: R250

R250 Receipt of annual fees

Free format text: JAPANESE INTERMEDIATE CODE: R250

R250 Receipt of annual fees

Free format text: JAPANESE INTERMEDIATE CODE: R250

R250 Receipt of annual fees

Free format text: JAPANESE INTERMEDIATE CODE: R250

R250 Receipt of annual fees

Free format text: JAPANESE INTERMEDIATE CODE: R250

R250 Receipt of annual fees

Free format text: JAPANESE INTERMEDIATE CODE: R250

R250 Receipt of annual fees

Free format text: JAPANESE INTERMEDIATE CODE: R250