JP5145012B2 - 配線・配管材の受具装置 - Google Patents

配線・配管材の受具装置 Download PDF

Info

Publication number
JP5145012B2
JP5145012B2 JP2007280063A JP2007280063A JP5145012B2 JP 5145012 B2 JP5145012 B2 JP 5145012B2 JP 2007280063 A JP2007280063 A JP 2007280063A JP 2007280063 A JP2007280063 A JP 2007280063A JP 5145012 B2 JP5145012 B2 JP 5145012B2
Authority
JP
Japan
Prior art keywords
wiring
opening
accommodation
path
roller
Prior art date
Legal status (The legal status is an assumption and is not a legal conclusion. Google has not performed a legal analysis and makes no representation as to the accuracy of the status listed.)
Expired - Fee Related
Application number
JP2007280063A
Other languages
English (en)
Other versions
JP2009112090A (ja
Inventor
昭八 清水
Current Assignee (The listed assignees may be inaccurate. Google has not performed a legal analysis and makes no representation or warranty as to the accuracy of the list.)
Mirai Kogyo KK
Original Assignee
Mirai Kogyo KK
Priority date (The priority date is an assumption and is not a legal conclusion. Google has not performed a legal analysis and makes no representation as to the accuracy of the date listed.)
Filing date
Publication date
Application filed by Mirai Kogyo KK filed Critical Mirai Kogyo KK
Priority to JP2007280063A priority Critical patent/JP5145012B2/ja
Publication of JP2009112090A publication Critical patent/JP2009112090A/ja
Application granted granted Critical
Publication of JP5145012B2 publication Critical patent/JP5145012B2/ja
Expired - Fee Related legal-status Critical Current
Anticipated expiration legal-status Critical

Links

Images

Landscapes

  • Details Of Indoor Wiring (AREA)

Description

この発明は、ケーブル等の配線・配管材が載置される配線・配管材の受具の改良に関するものであり、特に、配線・配管材の引き込みが容易になされる配線・配管材の受具に関する。
従来より、建物内や駅構内などにおいて、ケーブルなどの配線・配管材(以下代表して、「ケーブル」ともいう)を敷設するためにケーブルラックやダクトなどの受具装置が使用されている。
また受具装置への棚などの敷設方法には、上方開口した溝状の開口から順次ケーブルを入れてゆく方法の他、ケーブルを受具装置の断面開口から引き込むもの等がある。例えば受具装置が、図22に示すように、ケーブルが引き込まれるローラー320を備えた引込路315と、ケーブルを収容する収容路313とを平行に設け、これらが長手方向に沿った仕切部310によって区画されて並設される受具装置300がある(特許文献1参照)。この受具装置300では、ケーブルKの先端を牽引具400で引っ張られて牽引され、図23に示すようにケーブルKは、引込路315のローラー320の上を滑りながら受具装置300の全長へと敷設され、その後に図24に示すように、ローラー320から最終的な収納場所である収納路313に移されるのである。
特開2007−143393号
しかし図24に示すように、引込路315上のケーブルKを上に持ち上げながら仕切部310上方を通過させる作業は労力を要し、重量の大きなケーブルの場合は収容路313に移動させる作業が困難であった。長いケーブルはどこを持って移動させても、持った箇所の前後のケーブルに引っ張られる影響が比較的大きく、移動作業の妨げになっており、長い距離に亘り引込路から収納路へ移動させる作業が、結構な負担となっている。この様な負担は、ケーブルが多い場合には更に負担増となっている。
よって、本発明は、引込路から収容路まで移動させる作業を、少ない労力で行うことができる受具装置を提供することを課題とするものである。
以上の課題を解決するため、本願請求項1記載の配線・配管材の受具装置の発明は、配線・配管材が載置される底部と、該底部の両側から立設された側部とで配線・配管材の収容路が長手方向に沿って形成されると共に、前記収容路の上方には、配線・配管材を収容路に収容させるべく、該配線・配管材が通過可能な幅で長手方向の収容開口が形成される受具と、前記収容開口の長手方向に間隔をおいて、該収容開口の幅方向に架け渡され、前記収容路の上方に配線・配管材が引き込まれる引込路を形成するとともに、前記収容開口に架け渡された状態から上方に持ち上げることにより、架け渡された一端側を中心に他端側が上方に回動して、前記収容開口を開放させるとともに、落下により前記他端側が下方に回動して、前記収容開口に架け渡される元の状態に戻る複数の引込ローラーとからなる。そして該引込ローラーは、前記引込路に引き込まれた該引込ローラー上の配線・配管材を、片手で上方に持ち上げながら、もう一方の手で、持ち上げた配線・配管材の下を潜りぬけるように該引込ローラー上方に回動させて、前記収容開口を開放可能であることを特徴とする。
請求項2記載の発明は、請求項1記載の発明において、受具が線材で形成されると共に、収納開口が前記線材で縁取りされ、引込ローラーは、この引込ローラーの一端側に前記縁取りの線材を回動軸とする軸受けが設けられ、他端側にはこの他端側の収納開口を縁取る線材に載置される受け部が設けられたことを特徴とする。
請求項3記載の発明は、請求項2記載の発明において、軸受けは、回動軸となる線材を前記軸受けの内外へと通過させるための切り欠きを有して、前記線材への着脱が自在に設けられたことを特徴とする。
請求項4記載の発明は、請求項3記載の発明において、受具には、収容路上方で且つ側部の内側に、配線・配管材が載置される第2底部と、この第2底部の幅先端から立設される第2側部とで配線・配管材の第2収容路が長手方向に沿って形成されると共に、前記第2収容路の上方には、配線・配管材を収容路に収容させるべく、該配線・配管材が通過可能な幅で長手方向の第2収容開口が形成されている。そして前記第2収容路は収容開口を空けた配置で形成され、前記第2側部の上辺の線材が前記収納開口の縁取りとなるように形成されたことを特徴とする。
請求項5記載の発明は、請求項4記載の発明において、第2収容開口は線材で縁取りされると共に収納開口と略同幅に形成され、前記収容開口に架け渡された引込ローラーを前記第2収容開口に移して架け渡すことが可能に設けられている。そして、第2収容開口に架け渡された該引込ローラーは、前記第2引込路上に引き込まれた配線・配管材を前記第2収容路内に収容すべく、前記第2収容開口に架け渡された一端側を中心に他端側が上方に向けて回動することにより、前記架け渡された状態を解除して該第2収容開口を開放するように前記受具に取り付けられたことを特徴とする。
請求項6記載の発明は、請求項4記載の発明において、さらに、第2収容開口の長手方向に間隔をおいて、前記第2収容開口の幅方向に架け渡され、第2収容路の上方に配線・配管材が引き込まれる第2引込路を形成する複数の引込ローラーを有している。そして、第2収容開口に架け渡された該引込ローラーは、前記第2引込路上に引き込まれた配線・配管材を前記第2収容路内に収容すべく、前記第2収容開口に架け渡された一端側を中心に他端側が上方に向けて回動することにより、前記架け渡された状態を解除して該第2収容開口を開放するように前記受具に取り付けられたことを特徴とする。
本願請求項1記載の発明によれば、ローラー上を引き込まれた配線・配管材は、引込路となっている引込ローラーによる引込路から収容路までの移動が、引込ローラーの上方回動による架け渡しの解除により、収容開口内へ落とすなり下ろすなりすればよく、よって少ない労力で行うことができる。また収容後の引込ローラーは、手を離せば元の位置に落下し、次なる配線・配管材の引き込み作業に移ることができ、引き込み作業の簡便化に寄与する。
請求項2記載の発明によれば、受具が線材で形成され、収納開口の開口端がその線材で形成されているので、これを引込ローラーの回動軸を兼用させることができ、引込ローラーの上方回動が簡易な構造で実現できる。
請求項3記載の発明によれば、ローラー軸の一端に設けられた軸受けが、回動軸となる線材への着脱が自在に設けられるので、受具装置の現地での組み立て作業の簡便化が図られ、また引込ローラー同士の間隔調整などが適切に行える。
請求項4記載の発明によれば、第2収容路を設けたことにより、受具装置の収容量を増大させることができる。また収容量の増大は一般に受具装置の大型化を招き、その結果収容開口の幅拡大を招くので、ローラー軸の長大化を招き、ローラー軸の撓み対策の必要性が生じ、更には回動半径の長大化により配線・配管材を持ち上げる高さが高くなるなどの不具合が生じる。しかし第2収容路により収容開口の幅拡大を防ぐことができるので、これら不具合を避けることができる。
請求項5記載の発明によれば、収容路への収容作業に用いた引込ローラーを、第2収容路への収容作業にも転用することができる。
請求項6記載の発明によれば、収容開口と第2収容開口との双方に引込ローラーを設けたので、配線・配管材の引き込み作業・収容作業の作業効率が向上する。
次に本願発明の実施例を、図をもって説明する。
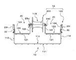
図1に示すのは、請求項1〜4に係る受具装置1Aであり、図2に示す受具100に、図3に示す引込ローラー200が、図4に示すように取り付けられている。
受具100は金属製の線材で構成されており、受具100の断面は図5に示すようになっている。この受具100は、図6に示す受具本体10に、図7に示す受具棚体20を装着したものである。
即ち受具本体10は、図1、6に示されている略コ字状に屈曲形成させた横線材10yが、受具100の長手となる方向に間隔をおいて配置されており、これら横線材10yに、配管の経路方向に向けた直線状の縦線材10tを溶接させたものである。そして受具100の底部111と、この底部111の両側から立設された側部112とが形成され、更には配線・配管材の収容路113を、長手方向に沿って形成しているのである。
また受具棚体20も、図1、7に示されているように、受具本体10よりは小さい略コ字状に屈曲形成させた横線材20yを用いており、これらをやはり受具100の長手となる方向にならべて、直線状の縦線材20tを溶接させてある。なおこの横線材20yの片端はフック20fが延長形成させてあり、これが受具本体10に装着する際の装着部となっている。
そして、このフック20fを受具本体10の側部112の上端となる縦線材10t’(図6)に掛けることにより装着させるのである。このように、受具棚体20を左右の側部112に2つ掛けることにより、受具100には、第2底部121と、この第2底部121の幅先端から立設される第2側部122とが形成され、更には配線・配管材を収納させるための長手の第2収容路123と、上方開口した第2収容開口124とが、受具100の左右にそれぞれ形成されるのである。
またの受具棚体20を左右に2つ掛ける際には、長手方向の収容開口114が該配線・配管材が通過可能な幅で、2つの受具棚体20の間隙として形成され、配線・配管材の収容路112への出入りをさせるようになっている。つまり左右2つの第2側部122が収納開口114を形成しており、また第2側部122の上辺の線材が、収納開口114の縁取りをなして、後述する引込ローラーの回転軸をなしている。
なお受具棚体20は、フック20fで掛けただけではグラつくので、図8に示すような可塑性を有する金属板の締め具30により、受具本体10に固定してある。つまり、受具棚体20の第2側部122の横線材20yと、受具本体10の側部112の縦線材10tとを束ねるようにして固定しているのである。この締め具30は、横長の中央が、横線材を収納するような縦向きの半円筒状に形成された横線材係止部31を有している。又この横線材係止部31の両端からは、左右に延ばした横向きの半円筒状に形成された縦線材係止部32を有している。
これを図9に示すように、受具棚体20の横線材20yと、受具本体10の縦線材10tとの交差する箇所の内側から宛がい、受具棚体20の横線材20yに横線材係止部31を嵌め、次に受具本体10の縦線材10tに縦線材係止部32を嵌め、最後に縦線材係止部32の開口をペンチなどの工具で閉じるように締めて、固定がなされているのである。
引込ローラー200(図3)は、図10に示す丸鋼棒によるローラー軸210と、このローラー軸210に回動可能に設けられたローラー体220とを有している。
ローラー軸210は収納開口に架け渡すことのできる長さであり、その一端側には、鋼板を屈曲形成させた軸受け230が溶接してある。即ちこの軸受け230は、鋼板を図11(a)に示すように折り返して断面を略逆U字状に屈曲させ、つまり頂板231とこの頂板231の両側から下方に屈曲された2つの側板232との3面になるように屈曲させてあり、その頂板231の上面には、屈曲させた折り目233と同方向に向けたローラー軸210の片端を溶接してある。
側板232には図11(b)に示すように、回転軸としての線材20tが収容できる幅の縦溝234が、頂板231との折れ目233から始まるようにして縦長に設けられて、軸受け孔234をなしている。また側板232には、この縦溝234の長手中央に連通する切り欠き235が、線材20tの通過ができる幅にて、ローラー軸210の終端側からの切り込まれている。これにより線材20tJ(図1)が、軸受け孔としての縦溝234の内外に、通過できるようになっている。これにより引込ローラーは、線材20tJへのローラー軸210の着脱が、自在となるように形成されているのである。
ローラー軸210は図11(c)に示すように、頂板231の幅中央ではなく、一方に偏在させて溶接してある。頂板231の偏在により広くなった側は、縦溝234に連通する頂孔236が設けられていて、収納開口114を構成している横線材20yの頂部20y’(図12)が頂板231に当たらないようにしてある。
つまり、軸受け230は収容開口114の長手のどこに取り付けてもいいが、ケーブルの引き込み時には引き込みの力でズレようとするので、このズレを防ぐために図12に示したように、軸受け230の側板232(2つ)が、横線材20yの頂部20y’を跨ぐような取り付け方が好適なのである。これにより横線材20yを跨ぐ2つの側板232が、その横線材20yに当たって、ズレ止めとして働くからである。
ただこの様に、横線材20yの頂部20y’を跨ぐようにして取り付けると、収納開口114を縁取りする縦線材20tよりも、取り付け箇所の横線材20yが突き出てしまっている場合もあり、これが軸受け230の頂板231に当たると軸受け230の取り付けに支障がでるので、図12〜13に示すように、その横線材20yの突き出しを逃がすために、頂孔236が設けられているのである。この頂孔236は縦溝234と連通しているが、連通していなくてもいい。
またローラー軸210の他端側には、この他端側の収納開口の縁取り線材に載置される受け部240が、鋼板を屈曲形成させて溶接されていて、他端側の収納開口からの脱落などを防いでいる。
ローラー体220はプラスチック製であり、略円柱体のローラー部221の両端にフランジ部222が一体成形にて設けられている。また略円柱体のローラー部221は、フランジ部222寄りを太めにしてあって、これにより引き込むケーブルなどがローラー部221の幅中央に寄るようにしてある。
このようにしてなる引込ローラー200は、収容開口114の長手方向に間隔をおいて、収容開口114の幅方向に架け渡されるのである。具体的には、軸受け230の切り欠き235を、収納開口114を縁取る線材20tJ(図1)に挿し入れ、他端側の受け部240(図4)を、その他端側の収納開口114の縁取る線材20tに載置させるのである。このようにして引込ローラー200が架け渡されることにより、収容路113の上方には、配線・配管材が引き込まれる引込路115(図4)が形成されるのである。
次に、受具装置1Aの使用方法を説明する。
まず、引込ローラー200の取り付けられていない長手の受具100を、工場内やその他の場所の、予定されている配線・配管材の配線経路に沿って、連設するのである。連設したら、収容開口114の長手方向に間隔をおいて、引込ローラー200を取り付けてゆくのである。取り付け間隔は75cm〜100cm程度が適切な例として挙げることができるが、これに限らない。取り付けは収納開口114の一方の縁取り線材20tJに、引込ローラー200の軸受け230の切り欠き235を挿し入れ、他方の収納開口114縁取り線材20tに、ローラー軸210他端の受け部240を乗せて架け渡しをするのである。
引込ローラー200の取り付け箇所は、収納開口114の長手方向のどこであってもいいが、一例として横線材20yの箇所が好適である。先に説明したように、引込ローラーの軸受け230の2つの側板232が、横線材20yを跨ぐようにして取り付ければ、跨がせた側板232が横線材20yに引っかかってズレ止めになるからである。
また軸受けの頂板231に頂孔236が設けられているので、図12〜13に示すように、跨いだ横線材20yの頂部20y’がこの頂孔236内に位置して、頂板231に当たることはない。なお、これによりローラー軸210は横線材20yをかわした位置になるので、ローラー軸210先端の受け部240も、横線材20yをかわした位置になっている。いずれにしても、この様にして受具装置1Aの全長に亘って引込ローラー200の取り付けができたら、ケーブル等の引き込み作業を行うのである。
引き込み作業は、ケーブルを巻き付けてあるロール(図示せず)を、配線経路の一端側に置いてここを始点とし、終点としての他端側にはロープを巻き取るウインチを設置しておくのである。そしてウインチ側からロープを引き出し、引込ローラー200上を引きながら、配線経路の始点まで届かせる。ロープが始点まで届いたら、ロープ先端に設けられているフックなどの係止具にケーブルの先端を係止させ、終点側のウインチでロープを巻き取りながら、図14に示すように、引込路115である引込ローラー200上でのケーブルKの引き込みを行う。引き込まれるケーブルKにより、これを載せている引込ローラー200もズレようとするが、軸受け230が上述したように横線材20yに引っかかってズレ止めがされているので、ズレることはない。
ケーブルKを終点まで引き込んだら、引込路115から収容路113への収容作業を行う。即ち引込ローラー200上に引き込まれたケーブルKは、図15に示すように、引込ローラー200付近のケーブルKを片手で持ち上げながら、もう一方の片手で収容開口114に架け渡されたその引込ローラー200の他端側を持ち上げ、回転軸を成す縦線材20tJを中心にして回動させるのである。引込ローラー200は、持ち上げたケーブルKの下をくぐり抜けるように回動させて、架け渡された状態を解除するのである。そしてケーブルKを、開放された収容開口114の上から下へと通過させて、収容路113に収容させるのである。
収容には、持ち上げたケーブルKを単に下ろす/落とすだけでよく、例えば左右方向に移すような収容のさせ方に較べて、作業が簡易になる。またケーブルKを収容させた後の引込ローラー200は、これも単に手放すだけで、落下して元の架け渡した状態に戻るのである。
ケーブルを多数収容させる場合には、以上の操作を本数分だけ繰り返すので、ケーブルを収容するたびに、引込ローラーを持ち上げたり、架け渡したりを繰り返すこととなるが、架け渡すには単に手放して載置するだけでよく、特段の操作も必要ないので作業性の面で優れる。
なお、実際に引込ローラー200を上方に回動させるときには、図16のように収納開口114の外側まで回動させ切って、側壁112にもたれ掛けたりもする。この様な場合、軸受け230の縦溝234(図11)が切り欠き235の溝と共にT字状をなしており、そのT字横棒の片端234a(図16)に、回転軸となる縦線材20tJが収納させた状態となるので、引込ローラー200の扱いが多少乱雑であっても、操作時に取り付けた縦線材20tJから外れるようなことが防がれる。
以上は一箇所の引込ローラーに関する収納作業であるが、この様な作業を、配線経路の始点または終点のいずれかから、全長に亘って取り付けられている引込ローラーについて行うのである。無論、配線経路の途中から経路終端に向けておのおの行ってもよい。
次に、受具の様々な形態を断面図的な略図で示し、それらの場合の引込ローラーの設け方などを略図で示す。
図17に示す受具装置1Bは請求項5に係る実施例2である。この受具装置1Bは、受具100が実施例1と類似する構造であるが、以下の点で相違している。即ち、上方開口した長手な第2収容開口124は、収納開口114と略同幅で形成されているのである。また第2収容開口124は線材で縁取れされている。したがって、収容開口114に架け渡された引込ローラー200を第2収容開口124に移して架け渡すことが可能である。このようにして第2収容開口124に架け渡された引込ローラー200は、実施例1と同様に、第2収容開口124を縁取る線材を回動軸として、引込ローラー200の他端側が上方に回動されて、ケーブルを第2収容路123に収容させる。
図18に示す受具装置1Cは、請求項6に係る実施例3である。この受具装置1Cも、受具100の構造が実施例1〜2に類似する構造であり、収容路113の上方の左右に、第2収容路123が1列づつ設けられていて、従って収容開口114の両側に第2収容開口124が併設された状態になっている。そして、これら3列の開口(収容開口及び第2収容開口)にはそれぞれ引込ローラー200が取り付けられている。引込ローラー200を他の開口に移す手間が不要となり、ケーブルの配線変更などの多い場所に適している。
図19に示す受具装置1Dは、請求項1〜3に係る実施例4である。即ち、請求項1における受具とは、図中の左右上方に2列もうけられている各々の受具100であり、それぞれに引込ローラー200が架け渡されている。
図20に示す受具装置1Eも、請求項1〜3に係る実施例5である。即ち、請求項1における受具とは、図中の左右半々に2列もうけられている各々の受具100であり、それぞれに引込ローラー200が架け渡されている。
図21に示す受具装置1Fも、請求項1〜3に係る実施例6である。これはもっとも簡易な構造の例であり、1つの受具100に、引込ローラー200が架け渡されたものである。
この図は、実施例1の受具装置1Aの図である。 この図は、受具の図である。 この図は、引込ローラーの図である。 この図は、受具装置の断面方向からの図である。 この図は、受具の断面方向からの図である。 この図は、受具本体の断面方向からの図である。 この図は、受具棚体の断面方向からの図である。 この図は、締め具の図である。 この図は、締め具を用い方を示す図である。 この図は、引込ローラーのローラー軸の図である。 この図は、引込ローラーのローラー軸の図である。 この図は、引込ローラーの軸受けと横線材との関わり方を示す図である。 この図は、引込ローラーの軸受けと横線材との関わり方を示す図である。 この図は、ケーブルを引き込む様子の図である。 この図は、ケーブルを収納路に収容する操作の説明図である。 この図は、ケーブルを収納路に収容する操作の説明図である。 この図は、実施例2の受具装置1Bの図である。 この図は、実施例3の受具装置1Cの図である。 この図は、実施例4の受具装置1Dの図である。 この図は、実施例5の受具装置1Eの図である。 この図は、実施例6の受具装置1Fの図である。 この図は、従来の受具装置の図である。 この図は、図22の受具装置の使用方法の図である。 この図は、図22の受具装置の使用方法の図である。
符号の説明
1A、1B、1C、1D、1E、1F 受具装置
100 受具
111 底部
112 側部
113 収容路
114 収容開口
115 引込路
121 第2底部
122 第2側部
123 第2収容路
124 第2収容開口
10 受具本体
10y 受具本体の横線材
10t 受具本体の縦線材
20 受具棚体
20y 受具棚体の横線材
20t 受具棚体の縦線材
20f 受具棚体のフックを形成する横線材
20tJ 引込ローラーの回転軸となる受具棚体の縦線材
200 引込ローラー
210 ローラー軸
220 ローラー体
230 軸受け
234 軸受け孔としての縦溝
240 受け部
30 締め具
K ケーブル

Claims (6)

  1. 配線・配管材が載置される底部と、該底部の両側から立設された側部とで配線・配管材の収容路が長手方向に沿って形成されると共に、前記収容路の上方には、配線・配管材を収容路に収容させるべく、該配線・配管材が通過可能な幅で長手方向の収容開口が形成される受具と、
    前記収容開口の長手方向に間隔をおいて、該収容開口の幅方向に架け渡され、前記収容路の上方に配線・配管材が引き込まれる引込路を形成するとともに、前記収容開口に架け渡された状態から上方に持ち上げることにより、架け渡された一端側を中心に他端側が上方に回動して、前記収容開口を開放させるとともに、落下により前記他端側が下方に回動して、前記収容開口に架け渡される元の状態に戻る複数の引込ローラーとからなり、
    前記引込ローラーは、前記引込路に引き込まれた該引込ローラー上の配線・配管材を、片手で上方に持ち上げながら、もう一方の手で、持ち上げた配線・配管材の下を潜りぬけるように該引込ローラーを上方に回動させて、前記収容開口を開放可能であることを特徴とする配線・配管材の受具装置。
  2. 受具が線材で形成されると共に、収納開口が前記線材で縁取りされ、
    引込ローラーは、この引込ローラーの一端側に前記縁取りの線材を回動軸とする軸受けが設けられ、他端側にはこの他端側の収納開口を縁取る線材に載置される受け部が設けられたことを特徴とする請求項1記載の配線・配管材の受具装置。
  3. 軸受けは、回動軸となる線材を前記軸受けの内外へと通過させるための切り欠きを有して、前記線材への着脱が自在に設けられたことを特徴とする請求項2記載の配線・配管材の受具装置。
  4. 受具には、収容路上方で且つ側部の内側に、配線・配管材が載置される第2底部と、この第2底部の幅先端から立設される第2側部とで配線・配管材の第2収容路が長手方向に沿って形成されると共に、前記第2収容路の上方には、配線・配管材を収容路に収容させるべく、該配線・配管材が通過可能な幅で長手方向の第2収容開口が形成され、
    前記第2収容路は収容開口を空けた配置で形成され、前記第2側部の上辺の線材が前記収納開口の縁取りとなるように形成されたことを特徴とする請求項3記載の配線・配管材の受具装置。
  5. 第2収容開口は線材で縁取りされると共に収納開口と略同幅に形成され、前記収容開口に架け渡された引込ローラーを前記第2収容開口に移して架け渡すことが可能に設けられ、
    第2収容開口に架け渡された該引込ローラーは、前記第2引込路上に引き込まれた配線・配管材を前記第2収容路内に収容すべく、前記第2収容開口に架け渡された一端側を中心に他端側が上方に向けて回動することにより、前記架け渡された状態を解除して該第2収容開口を開放するように前記受具に取り付けられたことを特徴とする請求項4記載の配線・配管材の受具装置。
  6. さらに、第2収容開口の長手方向に間隔をおいて、前記第2収容開口の幅方向に架け渡され、第2収容路の上方に配線・配管材が引き込まれる第2引込路を形成する複数の引込ローラーを有し、
    第2収容開口に架け渡された該引込ローラーは、前記第2引込路上に引き込まれた配線・配管材を前記第2収容路内に収容すべく、前記第2収容開口に架け渡された一端側を中心に他端側が上方に向けて回動することにより、前記架け渡された状態を解除して該第2収容開口を開放するように前記受具に取り付けられたことを特徴とする請求項4記載の配線・配管材の受具装置。
JP2007280063A 2007-10-29 2007-10-29 配線・配管材の受具装置 Expired - Fee Related JP5145012B2 (ja)

Priority Applications (1)

Application Number Priority Date Filing Date Title
JP2007280063A JP5145012B2 (ja) 2007-10-29 2007-10-29 配線・配管材の受具装置

Applications Claiming Priority (1)

Application Number Priority Date Filing Date Title
JP2007280063A JP5145012B2 (ja) 2007-10-29 2007-10-29 配線・配管材の受具装置

Publications (2)

Publication Number Publication Date
JP2009112090A JP2009112090A (ja) 2009-05-21
JP5145012B2 true JP5145012B2 (ja) 2013-02-13

Family

ID=40779976

Family Applications (1)

Application Number Title Priority Date Filing Date
JP2007280063A Expired - Fee Related JP5145012B2 (ja) 2007-10-29 2007-10-29 配線・配管材の受具装置

Country Status (1)

Country Link
JP (1) JP5145012B2 (ja)

Families Citing this family (1)

* Cited by examiner, † Cited by third party
Publication number Priority date Publication date Assignee Title
KR101125413B1 (ko) 2010-11-25 2012-03-27 한국전력공사 케이블 트레이 장치

Family Cites Families (7)

* Cited by examiner, † Cited by third party
Publication number Priority date Publication date Assignee Title
JPS5930614U (ja) * 1982-08-21 1984-02-25 三菱電機株式会社 ケ−ブル延線支持装置
JPH034097Y2 (ja) * 1985-09-26 1991-02-01
JPS63182620U (ja) * 1987-05-15 1988-11-24
JPH10309019A (ja) * 1997-05-02 1998-11-17 Nippon Telegr & Teleph Corp <Ntt> ケーブル排出機能付きパイプ
JP4264665B2 (ja) * 1997-12-26 2009-05-20 未来工業株式会社 配線・配管材の受具装置
JP3470162B2 (ja) * 1998-10-16 2003-11-25 未来工業株式会社 配線・配管材用受具及び配線・配管材用受具本体
JP3427159B2 (ja) * 1999-05-06 2003-07-14 未来工業株式会社 配線・配管材受具用のローラ部材及び配線・配管材受具装置

Also Published As

Publication number Publication date
JP2009112090A (ja) 2009-05-21

Similar Documents

Publication Publication Date Title
RU2521007C2 (ru) Способ и устройство для установки защитных сеток на стены тоннелей или потолки тоннелей
JP2007536179A (ja) ホース、ケーブル、またはその他を巻き取り、また解き放つための装置
EP2530042B1 (de) Aufzug
DE202015100203U1 (de) Aufhänge-Vorrichtung für Fahrräder
JP5145012B2 (ja) 配線・配管材の受具装置
EP3069967A1 (en) Device for parking bicycles
KR100929659B1 (ko) 케이블 포설 장치
KR20170055232A (ko) 전선 포설용 세선분배장치
JP2011122338A (ja) シャッター装置
DE202013101781U1 (de) Trag- und Transporteinheit
JP4725867B2 (ja) スライド式シャッタの補強構造
JP2005350228A (ja) 長尺物用収納棚
US10370225B2 (en) Load line guide
JP2012148048A (ja) ネット又はシート体の吊り張り装置、及びネット又はシート体の吊り張りシステム
AU2011318237A1 (en) Cable laying device and cable installation system
KR100982202B1 (ko) 케이블 권치장치
KR20140004818U (ko) 전선 풀림 장치
JP5367136B2 (ja) ケーブル余長処理具及びケーブルの余長部を処理する方法
JP5199902B2 (ja) ケーブル用収納箱及びこれを用いた余長収納方法
US11542116B2 (en) Hose holder
JPH0721478Y2 (ja) ケーブル巻取装置
JP6747725B1 (ja) パイプ仕分けラック
JPS5830963B2 (ja) 平行線ケ−ブルストランドのサドルへの移設方法及び装置
US327478A (en) spalding
JP2007168980A (ja) 棒材の格納方法

Legal Events

Date Code Title Description
A621 Written request for application examination

Free format text: JAPANESE INTERMEDIATE CODE: A621

Effective date: 20100526

A977 Report on retrieval

Free format text: JAPANESE INTERMEDIATE CODE: A971007

Effective date: 20110712

A131 Notification of reasons for refusal

Free format text: JAPANESE INTERMEDIATE CODE: A131

Effective date: 20120306

A521 Written amendment

Free format text: JAPANESE INTERMEDIATE CODE: A523

Effective date: 20120424

TRDD Decision of grant or rejection written
A01 Written decision to grant a patent or to grant a registration (utility model)

Free format text: JAPANESE INTERMEDIATE CODE: A01

Effective date: 20121030

A01 Written decision to grant a patent or to grant a registration (utility model)

Free format text: JAPANESE INTERMEDIATE CODE: A01

A61 First payment of annual fees (during grant procedure)

Free format text: JAPANESE INTERMEDIATE CODE: A61

Effective date: 20121126

FPAY Renewal fee payment (prs date is renewal date of database)

Free format text: PAYMENT UNTIL: 20151130

Year of fee payment: 3

R150 Certificate of patent (=grant) or registration of utility model

Free format text: JAPANESE INTERMEDIATE CODE: R150

LAPS Cancellation because of no payment of annual fees