JP5134792B2 - 地図情報更新支援装置、地図情報更新支援方法及び地図情報更新支援プログラム - Google Patents

地図情報更新支援装置、地図情報更新支援方法及び地図情報更新支援プログラム Download PDF

Info

Publication number
JP5134792B2
JP5134792B2 JP2006210168A JP2006210168A JP5134792B2 JP 5134792 B2 JP5134792 B2 JP 5134792B2 JP 2006210168 A JP2006210168 A JP 2006210168A JP 2006210168 A JP2006210168 A JP 2006210168A JP 5134792 B2 JP5134792 B2 JP 5134792B2
Authority
JP
Japan
Prior art keywords
road
map information
change
characteristic value
information update
Prior art date
Legal status (The legal status is an assumption and is not a legal conclusion. Google has not performed a legal analysis and makes no representation as to the accuracy of the status listed.)
Active
Application number
JP2006210168A
Other languages
English (en)
Other versions
JP2008039848A (ja
Inventor
崇志 野中
卓史 柴山
且 高岸
正 笹川
Current Assignee (The listed assignees may be inaccurate. Google has not performed a legal analysis and makes no representation or warranty as to the accuracy of the list.)
Pasco Corp
Original Assignee
Pasco Corp
Priority date (The priority date is an assumption and is not a legal conclusion. Google has not performed a legal analysis and makes no representation as to the accuracy of the date listed.)
Filing date
Publication date
Application filed by Pasco Corp filed Critical Pasco Corp
Priority to JP2006210168A priority Critical patent/JP5134792B2/ja
Priority to EP07791633A priority patent/EP2051224A4/en
Priority to CN2007800281022A priority patent/CN101496079B/zh
Priority to US12/309,595 priority patent/US8138960B2/en
Priority to PCT/JP2007/064948 priority patent/WO2008016034A1/ja
Publication of JP2008039848A publication Critical patent/JP2008039848A/ja
Application granted granted Critical
Publication of JP5134792B2 publication Critical patent/JP5134792B2/ja
Active legal-status Critical Current
Anticipated expiration legal-status Critical

Links

Images

Classifications

    • GPHYSICS
    • G01MEASURING; TESTING
    • G01SRADIO DIRECTION-FINDING; RADIO NAVIGATION; DETERMINING DISTANCE OR VELOCITY BY USE OF RADIO WAVES; LOCATING OR PRESENCE-DETECTING BY USE OF THE REFLECTION OR RERADIATION OF RADIO WAVES; ANALOGOUS ARRANGEMENTS USING OTHER WAVES
    • G01S7/00Details of systems according to groups G01S13/00, G01S15/00, G01S17/00
    • G01S7/02Details of systems according to groups G01S13/00, G01S15/00, G01S17/00 of systems according to group G01S13/00
    • G01S7/41Details of systems according to groups G01S13/00, G01S15/00, G01S17/00 of systems according to group G01S13/00 using analysis of echo signal for target characterisation; Target signature; Target cross-section
    • G01S7/411Identification of targets based on measurements of radar reflectivity
    • GPHYSICS
    • G01MEASURING; TESTING
    • G01CMEASURING DISTANCES, LEVELS OR BEARINGS; SURVEYING; NAVIGATION; GYROSCOPIC INSTRUMENTS; PHOTOGRAMMETRY OR VIDEOGRAMMETRY
    • G01C21/00Navigation; Navigational instruments not provided for in groups G01C1/00 - G01C19/00
    • G01C21/38Electronic maps specially adapted for navigation; Updating thereof
    • G01C21/3804Creation or updating of map data
    • G01C21/3807Creation or updating of map data characterised by the type of data
    • G01C21/3815Road data
    • GPHYSICS
    • G01MEASURING; TESTING
    • G01SRADIO DIRECTION-FINDING; RADIO NAVIGATION; DETERMINING DISTANCE OR VELOCITY BY USE OF RADIO WAVES; LOCATING OR PRESENCE-DETECTING BY USE OF THE REFLECTION OR RERADIATION OF RADIO WAVES; ANALOGOUS ARRANGEMENTS USING OTHER WAVES
    • G01S13/00Systems using the reflection or reradiation of radio waves, e.g. radar systems; Analogous systems using reflection or reradiation of waves whose nature or wavelength is irrelevant or unspecified
    • G01S13/88Radar or analogous systems specially adapted for specific applications
    • GPHYSICS
    • G01MEASURING; TESTING
    • G01SRADIO DIRECTION-FINDING; RADIO NAVIGATION; DETERMINING DISTANCE OR VELOCITY BY USE OF RADIO WAVES; LOCATING OR PRESENCE-DETECTING BY USE OF THE REFLECTION OR RERADIATION OF RADIO WAVES; ANALOGOUS ARRANGEMENTS USING OTHER WAVES
    • G01S13/00Systems using the reflection or reradiation of radio waves, e.g. radar systems; Analogous systems using reflection or reradiation of waves whose nature or wavelength is irrelevant or unspecified
    • G01S13/88Radar or analogous systems specially adapted for specific applications
    • G01S13/89Radar or analogous systems specially adapted for specific applications for mapping or imaging
    • G01S13/90Radar or analogous systems specially adapted for specific applications for mapping or imaging using synthetic aperture techniques, e.g. synthetic aperture radar [SAR] techniques
    • G01S13/9021SAR image post-processing techniques
    • G01S13/9027Pattern recognition for feature extraction
    • GPHYSICS
    • G06COMPUTING OR CALCULATING; COUNTING
    • G06TIMAGE DATA PROCESSING OR GENERATION, IN GENERAL
    • G06T7/00Image analysis
    • G06T7/20Analysis of motion
    • G06T7/254Analysis of motion involving subtraction of images
    • GPHYSICS
    • G09EDUCATION; CRYPTOGRAPHY; DISPLAY; ADVERTISING; SEALS
    • G09BEDUCATIONAL OR DEMONSTRATION APPLIANCES; APPLIANCES FOR TEACHING, OR COMMUNICATING WITH, THE BLIND, DEAF OR MUTE; MODELS; PLANETARIA; GLOBES; MAPS; DIAGRAMS
    • G09B29/00Maps; Plans; Charts; Diagrams, e.g. route diagram
    • G09B29/10Map spot or coordinate position indicators; Map reading aids
    • G09B29/106Map spot or coordinate position indicators; Map reading aids using electronic means
    • GPHYSICS
    • G06COMPUTING OR CALCULATING; COUNTING
    • G06TIMAGE DATA PROCESSING OR GENERATION, IN GENERAL
    • G06T2207/00Indexing scheme for image analysis or image enhancement
    • G06T2207/10Image acquisition modality
    • G06T2207/10016Video; Image sequence
    • GPHYSICS
    • G06COMPUTING OR CALCULATING; COUNTING
    • G06TIMAGE DATA PROCESSING OR GENERATION, IN GENERAL
    • G06T2207/00Indexing scheme for image analysis or image enhancement
    • G06T2207/10Image acquisition modality
    • G06T2207/10032Satellite or aerial image; Remote sensing
    • G06T2207/10044Radar image
    • GPHYSICS
    • G06COMPUTING OR CALCULATING; COUNTING
    • G06TIMAGE DATA PROCESSING OR GENERATION, IN GENERAL
    • G06T2207/00Indexing scheme for image analysis or image enhancement
    • G06T2207/30Subject of image; Context of image processing
    • G06T2207/30181Earth observation

Landscapes

  • Engineering & Computer Science (AREA)
  • Remote Sensing (AREA)
  • Radar, Positioning & Navigation (AREA)
  • Physics & Mathematics (AREA)
  • General Physics & Mathematics (AREA)
  • Theoretical Computer Science (AREA)
  • Computer Networks & Wireless Communication (AREA)
  • Electromagnetism (AREA)
  • Computer Vision & Pattern Recognition (AREA)
  • Artificial Intelligence (AREA)
  • Business, Economics & Management (AREA)
  • Educational Administration (AREA)
  • Educational Technology (AREA)
  • Multimedia (AREA)
  • Mathematical Physics (AREA)
  • Automation & Control Theory (AREA)
  • Image Processing (AREA)
  • Radar Systems Or Details Thereof (AREA)
  • Processing Or Creating Images (AREA)
  • Image Analysis (AREA)
  • Instructional Devices (AREA)

Description

本発明は、地図情報の更新を支援するための地図情報更新支援装置、地図情報更新支援方法及び地図情報更新支援プログラムに関する。
近年、カーナビゲーションの普及等により、地表の植生、構築物等といった地物の変化、特に道路の変化に関する情報を迅速に地図情報に反映させる要請がある。従来、このような更新作業は、光学画像を使用して変化箇所を目視で確認し、地図情報に反映させることにより行われていた。
例えば、下記特許文献1には、光学画像より全ての地物をエッジ抽出し、従来の地図と見比べて地図を更新する地図情報更新装置が開示されている。
特開2005−234603号公報
しかし、上記従来の技術においては、光学画像を使用するが、光学画像は晴天時にしか取得できないので、地図情報の更新に時間がかかるという問題があった。また、エッジ抽出によっては、全ての地物を抽出するのが困難であるという問題もあった。さらに、地図を更新する際に従来の地図と見比べる必要があるので、作業が煩雑になるという問題もあった。
本発明は、上記従来の課題に鑑みなされたものであり、その目的は、効率的な地図情報の更新作業を可能とする地図情報更新支援装置、地図情報更新支援方法及び地図情報更新支援プログラムを提供することにある。
上記目的を達成するために、本発明は、地図情報更新支援装置であって、異なる時刻にレーダ装置により取得された観測対象地物を含む周辺領域である観測範囲の時系列画像データの各々について所定の特性値を算出する特性値算出手段と、前記所定の特性値に基づいて前記観測範囲の地物変化域を抽出する地物変化域抽出手段と、前記地物変化域と予め記憶している観測範囲の地図情報とを合成し、観測対象地物の変化候補域を抽出する対象変化候補域抽出手段と、前記観測対象地物の変化候補域を含む地図情報を出力する出力手段と、を備えることを特徴とする。
また、上記地図情報更新支援装置において、前記特性値は散乱強度、相関を示す指標、地表面の高さ情報の何れかであるのが好適である。
また、上記地図情報更新支援装置において、前記レーダ装置は、合成開口レーダであるのが好適である。
また、上記地図情報更新支援装置において、前記観測対象地物は道路であるのが好適である。
また、本発明は、地図情報更新支援方法であって、異なる時刻にレーダ装置により取得された観測対象地物を含む周辺領域である観測範囲の時系列画像データの各々について所定の特性値を算出するステップと、前記所定の特性値に基づいて前記観測範囲の地物変化域を抽出するステップと、前記地物変化域と予め記憶している観測範囲の地図情報とを合成し、観測対象地物の変化候補域を抽出するステップと、前記観測対象地物の変化候補域を含む地図情報を出力するステップと、を備えることを特徴とする。
また、本発明は、地図情報更新支援プログラムであって、異なる時刻にレーダ装置により取得された観測対象地物を含む周辺領域である観測範囲の時系列画像データの各々について所定の特性値を算出し、前記所定の特性値に基づいて前記観測範囲の地物変化域を抽出し、前記地物変化域と予め記憶している観測範囲の地図情報とを合成して観測対象地物の変化候補域を抽出し、前記観測対象地物の変化候補域を含む地図情報を出力する処理をコンピュータに実行させることを特徴とする。
本発明によれば、変化箇所のみの確認により地図情報を更新することができ、大幅に労力を軽減できる。また、衛星に搭載した合成開口レーダ(SAR)を使用して変化個所を抽出することにより、更新頻度を高めることができる。
以下、本発明を実施するための最良の形態(以下、実施形態という)を、図面に従って説明する。なお、以下では、観測対象地物を道路とした場合を例に説明する。
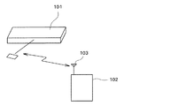
図1には、観測範囲の地物変化域を抽出するためのシステムの構成例が示される。図1において、人工衛星101に搭載された合成開口レーダ等のレーダ装置により、地表面の観測対象地物を含む周辺領域である観測範囲のレーダ画像データを取得し、このレーダ画像データを本実施形態の地図情報更新支援装置102に送信する。地図情報更新支援装置102では、アンテナ103を介して受信したレーダ画像データを処理して観測範囲の地表面の変化を解析する。この場合のレーダ画像データは、異なる時刻にレーダ装置により取得された時系列画像データとなっている。また、地図情報更新支援装置102は、例えばコンピュータ上で所定のプログラムを動作させることにより実現することができる。
なお、上記人工衛星101の数は1基に限らず、同一の撮影仕様である複数の人工衛星であってもよい。また、上記レーダ装置は、人工衛星101の他、航空機に搭載してもよい。
図2には、本実施形態にかかる地図情報更新支援装置102の構成例の機能ブロック図が示される。図2において、地図情報更新支援装置102は、通信インターフェース部10、レーダ画像保持部12、位置合わせ処理部14、前処理部16、特性値算出部18、道路変化候補域抽出部20及び出力部22を含んで構成されている。
通信インターフェース部10は、適宜な通信インターフェースにより構成されており、上記人工衛星101等と通信し、異なる時刻に取得されて時系列画像データとなっているレーダ画像データや撮影時刻、撮影時の入射角データを受信する。
レーダ画像保持部12は、磁気記憶装置等により形成され、通信インターフェース部10が受信したレーダ画像データや撮影時刻、入射角データを保持する。
また、例えば森林地域は季節により特性値に変化が生じるため、レーダ画像の取得枚数を増やし、特性値の変化を詳細に把握しておくことが好ましい。この場合には、後述する地図情報データベース24の土地被覆情報を元に、取得枚数を決めることも可能である。
位置合わせ処理部14は、異なる時刻に取得された同一観測範囲の複数のレーダ画像データを上記レーダ画像保持部12から読み出し、各レーダ画像データを相互に位置合わせする。この位置合わせは、後述する特性値算出処理において、各レーダ画像データの対応する画素を一致させる必要があるために実施される。この位置合わせは、例えばグランドコントロールポイント(GCP)を用いて行うことができる。また、この際に建物の倒れこみの補正(オルソ化)を行うのも好適である。
前処理部16は、上記レーダ画像データに含まれるノイズを除去するためのフィルタリング処理を行う。ここで、高解像度SARデータを用いる場合には、観測範囲の土地被覆、スケール(規模)によって、画素サイズを変更してもよい(リサンプリング処理)。このフィルタリング処理には、例えば平均化処理等を使用することができ、ハードウエア、ソフトウエアのいずれで実現してもよい。
特性値算出部18は、中央処理装置(CPU)と動作プログラムにより実現され、観測範囲の地表面の状態を表す特性値を算出する。この特性値は、例えば散乱強度とするのが好適である。また、異なる時刻に取得された同一観測範囲の複数のレーダ画像データ間の相関を示す指標(例えばコヒーレンス)または地表面の高さ情報等としてもよい。なお、複数の人工衛星を用いる場合には、各衛星に搭載されたレーダ装置を用いてインターフェロメトリ処理を行うことにより、精度良く高さ情報を得ることができる。
地物変化域抽出部19は、中央処理装置(CPU)と動作プログラムにより実現され、特性値算出部18が算出した特性値を使用して地表面の状態が時間の経過とともに変化した変化域を地物変化域として抽出する。合成開口レーダ等のレーダ装置により取得したレーダ画像データを使用する場合、例えば道路周辺の地物の散乱強度の変化から道路の変化を把握することができる。これは、建物からの電磁波の散乱には、建物からの直接の散乱以外にも建物と道路との間の複数の反射成分が含まれるからである。本実施形態では、このようなレーダ画像データの性質を利用して、道路変化候補域をその周辺の地物変化域として抽出している。
上記変化域(地物変化域)の抽出は、例えば特性値として散乱強度を使用する場合、異なる時刻に取得された同一地表面の複数のレーダ画像データ間の散乱強度の差分を求め、この差分が所定の閾値より大きいか否かを判定して行う。この際に使用する抽出条件としては、例えば上記差分が所定の閾値より大きい画素が所定数連続しているとき、あるいは上記差分が所定の閾値より大きい画素が所定面積以上となっているときに変化域として抽出するのが好適である。なお、この抽出条件は、観測範囲の地表面の地図のサイズ(縮尺)、道路の幅、地表面の状態等により適宜設定する。
次に、道路変化候補域抽出部20は、CPUと動作プログラムにより実現され、上記抽出した地物変化域を観測範囲の地図情報に合成し、道路変化候補域を抽出する。道路変化候補域抽出部20は、例えば地図情報から得られる知見(既存道路との連続性を満たすか、既存道路の延長線上にあるか、道路から所定範囲内にあるか等)を元に、前記地物変化域から道路変化の可能性が高い領域への絞込みを行った後、出力部22にわたす。この道路変化候補域抽出部20が、本発明の対象変化候補域抽出手段として機能する。なお、観測範囲の地図情報は、地図情報データベース24から取得する。
出力部22は、上記道路変化候補域抽出部20から渡された、道路変化候補域が合成された地図情報を出力する。出力方法としては、プリントアウト、画面表示等を採用することができる。
図3には、本実施形態にかかる地図情報更新支援装置102の動作例のフローが示される。図3において、通信インターフェース部10が、異なる時刻に取得された同一観測範囲の複数のレーダ画像データを取得してレーダ画像保持部12に格納する(S1)。位置合わせ処理部14は、上記複数のレーダ画像データをレーダ画像保持部12から読み出し、各レーダ画像データを相互に位置合わせする(S2)。
位置合わせ後のレーダ画像データは、前処理部16によりノイズが除去される。次に、ノイズ除去後のレーダ画像データを使用して特性値算出部18が観測範囲の地表面の状態を表す特性値を算出する(S3)。
地物変化域抽出部19は、上記特性値に基づいて観測範囲の地表面の状態が変化している変化域を地物変化域として抽出する(S4)。
次に、道路変化候補域抽出部20は、地図情報データベース24から取得した観測範囲の地図情報に上記抽出した地物変化域を合成し(S5)、道路変化候補域を抽出する(S6)。道路変化候補域抽出部20は、地図情報から得られる上述した知見等を元に、前記地物変化域から道路変化の可能性が高い領域を抽出し、道路変化候補域とする。
出力部22は、上記道路変化候補域抽出部20が出力した合成後の地図情報を、画面表示、プリントアウト等により出力する(S7)。
以上のようにして出力された地図には、道路の変化個所の候補である道路変化候補域が表示されているので、地図を更新する際には、当該道路変化候補域のみ光学画像あるいは現地調査により変化個所を特定すればよく、地図の更新作業の労力を大幅に軽減することができる。なお、田園地帯等といった地表面の高さの変化が少ない地域において、道路幅の広い道路の変化を抽出する際には、光学画像や現地調査を実施することなく、レーダ画像から道路変化候補域を抽出することもできる。この場合には、レーダ画像に対してエッジ抽出等の処理を行ってもよい。
本発明にかかる地図情報更新支援装置を使用した観測範囲の道路変化候補域抽出システムの構成例を示す図である。 本発明にかかる地図情報更新支援装置の構成例の機能ブロック図である。 本発明にかかる地図情報更新支援装置の動作例のフロー図である。
符号の説明
10 通信インターフェース部、12 レーダ画像保持部、14 位置合わせ処理部、16 前処理部、18 特性値算出部、19 地物変化域抽出部、20 道路変化候補域抽出部、22 出力部、24 地図情報データベース、101 人工衛星、102 地図情報更新支援装置、103 アンテナ。

Claims (5)

  1. 異なる時刻にレーダ装置により取得された道路を含む周辺領域である観測範囲の時系列画像データの各々について所定の特性値を算出する特性値算出手段と、
    前記所定の特性値に基づき、道路周辺の地物の特性値の変化から前記観測範囲の道路変化域を抽出する道路変化域抽出手段と、
    前記道路変化域と予め記憶している観測範囲の地図情報とを合成し、道路の変化候補域を抽出する道路変化候補域抽出手段と、
    前記道路の変化候補域を含む地図情報を出力する出力手段と、
    を備えることを特徴とする地図情報更新支援装置。
  2. 請求項1記載の地図情報更新支援装置において、前記特性値は散乱強度、相関を示す指標、地表面の高さ情報の何れかであることを特徴とする地図情報更新支援装置。
  3. 請求項1または請求項2記載の地図情報更新支援装置において、前記レーダ装置は、合成開口レーダであることを特徴とする地図情報更新支援装置。
  4. 特性値算出手段により、異なる時刻にレーダ装置により取得された道路を含む周辺領域である観測範囲の時系列画像データの各々について所定の特性値を算出するステップと、
    道路変化域抽出手段により、前記所定の特性値に基づき、道路周辺の地物の特性値の変化から前記観測範囲の道路変化域を抽出するステップと、
    道路変化候補域抽出手段により、前記道路変化域と予め記憶している観測範囲の地図情報とを合成し、道路の変化候補域を抽出するステップと、
    出力手段により前記道路の変化候補域を含む地図情報を出力するステップと、
    を備えることを特徴とする地図情報更新支援方法。
  5. 異なる時刻にレーダ装置により取得された道路を含む周辺領域である観測範囲の時系列画像データの各々について所定の特性値を算出し、
    前記所定の特性値に基づき、道路周辺の地物の特性値の変化から前記観測範囲の道路変化域を抽出し、
    前記道路変化域と予め記憶している観測範囲の地図情報とを合成し、道路の変化候補域を抽出し、
    前記道路の変化候補域を含む地図情報を出力する処理をコンピュータに実行させることを特徴とする地図情報更新支援プログラム。
JP2006210168A 2006-08-01 2006-08-01 地図情報更新支援装置、地図情報更新支援方法及び地図情報更新支援プログラム Active JP5134792B2 (ja)

Priority Applications (5)

Application Number Priority Date Filing Date Title
JP2006210168A JP5134792B2 (ja) 2006-08-01 2006-08-01 地図情報更新支援装置、地図情報更新支援方法及び地図情報更新支援プログラム
EP07791633A EP2051224A4 (en) 2006-08-01 2007-07-31 CARD INFORMATION UPDATE SUPPORT DEVICE, CARD INFORMATION INFORMATION UPDATE SUPPORT PROCEDURE, COMPUTER READABLE RECORDING MEDIUM
CN2007800281022A CN101496079B (zh) 2006-08-01 2007-07-31 地图信息更新辅助装置以及地图信息更新辅助方法
US12/309,595 US8138960B2 (en) 2006-08-01 2007-07-31 Map information update support device, map information update support method and computer readable recording medium
PCT/JP2007/064948 WO2008016034A1 (en) 2006-08-01 2007-07-31 Map information update supporting device, map information update supporting method, computer-readable recording medium

Applications Claiming Priority (1)

Application Number Priority Date Filing Date Title
JP2006210168A JP5134792B2 (ja) 2006-08-01 2006-08-01 地図情報更新支援装置、地図情報更新支援方法及び地図情報更新支援プログラム

Publications (2)

Publication Number Publication Date
JP2008039848A JP2008039848A (ja) 2008-02-21
JP5134792B2 true JP5134792B2 (ja) 2013-01-30

Family

ID=38997209

Family Applications (1)

Application Number Title Priority Date Filing Date
JP2006210168A Active JP5134792B2 (ja) 2006-08-01 2006-08-01 地図情報更新支援装置、地図情報更新支援方法及び地図情報更新支援プログラム

Country Status (5)

Country Link
US (1) US8138960B2 (ja)
EP (1) EP2051224A4 (ja)
JP (1) JP5134792B2 (ja)
CN (1) CN101496079B (ja)
WO (1) WO2008016034A1 (ja)

Cited By (3)

* Cited by examiner, † Cited by third party
Publication number Priority date Publication date Assignee Title
JPH0728085Y2 (ja) 1992-05-11 1995-06-28 有限会社エージーケー 自動開袋機
WO2015167537A3 (en) * 2014-04-30 2016-04-28 Halliburton Energy Services, Inc. Subterranean monitoring using enhanced video
US10227859B2 (en) 2014-04-30 2019-03-12 Halliburton Energy Services, Inc. Equipment monitoring using enhanced video

Families Citing this family (22)

* Cited by examiner, † Cited by third party
Publication number Priority date Publication date Assignee Title
JP4555884B1 (ja) * 2009-05-29 2010-10-06 株式会社パスコ 可動型情報収集装置
US8604963B1 (en) * 2010-09-28 2013-12-10 Rockwell Collins, Inc. Radar system and method
US8692704B1 (en) * 2011-09-23 2014-04-08 Sandia Corporation Registering coherent change detection products associated with large image sets and long capture intervals
US8525088B1 (en) * 2012-03-21 2013-09-03 Rosemont Aerospace, Inc. View-point guided weapon system and target designation method
US9830408B1 (en) * 2012-11-29 2017-11-28 The United States Of America As Represented By The Secretary Of The Army System and method for evaluating the performance of a weapon system
JP6292772B2 (ja) * 2013-06-05 2018-03-14 三菱電機株式会社 レーダ画像処理装置及びレーダ画像処理方法
US9081383B1 (en) * 2014-01-22 2015-07-14 Google Inc. Enhancing basic roadway-intersection models using high intensity image data
US9183222B2 (en) * 2014-01-28 2015-11-10 Gas Technology Institute Mapping and asset lifecycle tracking system
CN104036277A (zh) * 2014-06-03 2014-09-10 中国科学院电子学研究所 一种提取道路特征的方法和设备
LU92541B1 (en) * 2014-09-10 2016-03-11 Iee Sarl Radar sensing of vehicle occupancy
US10037477B2 (en) 2015-08-31 2018-07-31 Massachusetts Institute Of Technology Combined intensity and coherent change detection in images
CN105973245A (zh) * 2016-04-28 2016-09-28 百度在线网络技术(北京)有限公司 利用无人驾驶车辆更新在线地图的方法和装置
DE102016210495A1 (de) * 2016-06-14 2017-12-14 Robert Bosch Gmbh Verfahren und Vorrichtung zum Erstellen einer optimierten Lokalisierungskarte und Verfahren zum Erstellen einer Lokalisierungskarte für ein Fahrzeug
JP6889993B2 (ja) * 2016-09-08 2021-06-18 株式会社パスコ 地表変状可視化装置及び地表変状可視化プログラム
JP6779084B2 (ja) * 2016-09-30 2020-11-04 株式会社パスコ 関心領域における地表面変位の可視化装置及び関心領域における地表面変位の可視化プログラム
DE102016225631A1 (de) * 2016-12-20 2018-06-21 Robert Bosch Gmbh Verfahren und Vorrichtung zum Entfernen von zumindest einer Landmarkenposition einer Landmarke in einer Radarkarte
JP7102106B2 (ja) * 2017-05-16 2022-07-19 株式会社パスコ 機械学習方法、及び地表変動判定方法
DE102017216584A1 (de) * 2017-09-19 2019-03-21 Robert Bosch Gmbh Verfahren und Vorrichtung zum Erstellen einer Karte
US11255960B2 (en) * 2020-01-24 2022-02-22 The Boeing Company Synthetic aperture radar (SAR) based convolutional navigation
CN111427985B (zh) * 2020-03-25 2023-04-11 北京小马慧行科技有限公司 地图更新的方法及装置、存储介质、处理器
JP7694703B2 (ja) * 2021-12-02 2025-06-18 日本電気株式会社 状態判定装置、状態判定方法、及びプログラム
CN114925076A (zh) * 2022-05-13 2022-08-19 北京百度网讯科技有限公司 地图数据的更新方法、装置、电子设备和存储介质

Family Cites Families (22)

* Cited by examiner, † Cited by third party
Publication number Priority date Publication date Assignee Title
US5677693A (en) * 1994-05-26 1997-10-14 Hughes Aircraft Company Multi-pass and multi-channel interferometric synthetic aperture radars
US5719949A (en) * 1994-10-31 1998-02-17 Earth Satellite Corporation Process and apparatus for cross-correlating digital imagery
JP3622094B2 (ja) * 1995-10-05 2005-02-23 株式会社日立製作所 地図更新支援装置および地図情報の編集方法
JP3301297B2 (ja) * 1996-01-08 2002-07-15 三菱電機株式会社 レーダ装置を用いた地表変動観測方法並びにこの方法に用いる合成開口レーダ装置及びトランスポンダ
US6243483B1 (en) * 1998-09-23 2001-06-05 Pii North America, Inc. Mapping system for the integration and graphical display of pipeline information that enables automated pipeline surveillance
SE512532C2 (sv) * 1999-02-26 2000-03-27 Foersvarets Forskningsanstalt Sätt att med en SAR-radar detektera objekt som förändrar sig med tiden
JP4088386B2 (ja) * 1999-04-28 2008-05-21 株式会社日立製作所 地図情報更新方法
ITMI991154A1 (it) * 1999-05-25 2000-11-25 Milano Politecnico Procedimento per misure radar di spostamento di aere urbane e zone franose
US6650273B1 (en) * 2002-05-06 2003-11-18 Lockheed Martin Corporation Change subtraction of synthetic aperture radar data
JP4228745B2 (ja) * 2003-03-28 2009-02-25 株式会社日立製作所 多スペクトル撮像画像解析装置
JP4202184B2 (ja) * 2003-05-12 2008-12-24 三菱電機株式会社 グランドトゥルース支援装置およびグランドトゥルース支援プログラム
JP2005134601A (ja) * 2003-10-30 2005-05-26 Zenrin Co Ltd 地図画像の解析装置
US20050195096A1 (en) 2004-03-05 2005-09-08 Ward Derek K. Rapid mobility analysis and vehicular route planning from overhead imagery
US7270299B1 (en) * 2004-03-23 2007-09-18 Northrop Grumman Corporation Space based change detection using common ground track constellations
US7255308B1 (en) * 2004-03-23 2007-08-14 Northrop Grumman Corporation Solar dominated satellite constellations capable of having repeating common ground tracks
WO2006011141A2 (en) * 2004-07-25 2006-02-02 Israel Aerospace Industries Ltd. Method and system for the acquisition of data and for the display of data
US7961912B2 (en) * 2004-10-14 2011-06-14 Stevick Glen R Method and apparatus for dynamic space-time imaging system
JP4103898B2 (ja) 2005-04-12 2008-06-18 株式会社日立製作所 地図情報更新方法及び地図更新装置
JP4812415B2 (ja) * 2005-11-30 2011-11-09 富士通株式会社 地図情報更新システム、中央装置、地図情報更新方法、及びコンピュータプログラム
US7603208B2 (en) * 2006-01-10 2009-10-13 Harris Corporation Geospatial image change detecting system with environmental enhancement and associated methods
US7528938B2 (en) * 2006-01-10 2009-05-05 Harris Corporation Geospatial image change detecting system and associated methods
EP2036043A2 (en) * 2006-06-26 2009-03-18 Lockheed Martin Corporation Method and system for providing a perspective view image by intelligent fusion of a plurality of sensor data

Cited By (4)

* Cited by examiner, † Cited by third party
Publication number Priority date Publication date Assignee Title
JPH0728085Y2 (ja) 1992-05-11 1995-06-28 有限会社エージーケー 自動開袋機
WO2015167537A3 (en) * 2014-04-30 2016-04-28 Halliburton Energy Services, Inc. Subterranean monitoring using enhanced video
US10227859B2 (en) 2014-04-30 2019-03-12 Halliburton Energy Services, Inc. Equipment monitoring using enhanced video
US10323503B2 (en) 2014-04-30 2019-06-18 Halliburton Energy Services, Inc. Subterranean monitoring using enhanced video

Also Published As

Publication number Publication date
CN101496079A (zh) 2009-07-29
EP2051224A4 (en) 2011-04-06
WO2008016034A1 (en) 2008-02-07
EP2051224A1 (en) 2009-04-22
CN101496079B (zh) 2011-07-27
US8138960B2 (en) 2012-03-20
JP2008039848A (ja) 2008-02-21
US20090289837A1 (en) 2009-11-26

Similar Documents

Publication Publication Date Title
JP5134792B2 (ja) 地図情報更新支援装置、地図情報更新支援方法及び地図情報更新支援プログラム
JP5438263B2 (ja) レーダ画像処理装置及びレーダ画像処理方法
US10002407B1 (en) Method and apparatus for enhancing 3D model resolution
JP7077961B2 (ja) 画像解析装置、画像解析方法及びプログラム
CN110456352B (zh) 一种基于相干系数阈值的冰川识别方法
EP2207138B1 (en) House movement determining method, house movement determining program, house movement determining image generating method, and house movement determining image
Oh et al. Automated bias-compensation of rational polynomial coefficients of high resolution satellite imagery based on topographic maps
JP2011090309A (ja) 衛星搭載プラットフォーム内に位置された合成開口レーダを使用した干渉計測データと遠隔センサにより獲得された他の形式のデータとのデータ融合に基づいて空港障害物図を生成する方法
JP2011501301A (ja) 地理的情報の複数のソースを用いた地理空間モデリングシステム及び関連する方法
JP7191823B2 (ja) 画像から変状を検知する画像処理装置、画像処理方法及びプログラム
CN115060208A (zh) 基于多源卫星融合的输变电线路地质灾害监测方法及系统
JP5334606B2 (ja) レーダ画像信号処理装置
Sablina et al. An approach to the image superimposition problem in multispectral computer vision systems
CN107145828B (zh) 车辆全景图像处理方法及装置
JP4984261B2 (ja) 目標物検出システム
Jing et al. Efficient point cloud corrections for mobile monitoring applications using road/rail-side infrastructure
JP2010020417A (ja) 目標物検出システム
KR100981588B1 (ko) 특징점 픽셀의 크기와 방향 정보를 이용하는 벡터 변환에 기초한 도시공간 지리정보 생성 시스템
Meyer A parametric approach for the Geocoding of Airborne visible/infrared Imaging Spectrometer (AVIRIS) Data in rugged terrain
Chen et al. A wavelet transform based method for road centerline extraction
JP2009199250A (ja) 目標物検出システム
CN115861791B (zh) 一种公益诉讼线索的生成方法、生成装置及存储介质
JP7722453B2 (ja) 画像解析装置および画像解析方法
Du et al. Research on rapid mapping technology in the field of unmanned aerial vehicle (UAV) aerial survey
KR101016071B1 (ko) 이동측량장치의 이동경로에 따른 스테레오 영상으로부터 벡터변환을 이용하여 대응영역을 추출하는 도시공간 영상처리장치

Legal Events

Date Code Title Description
RD02 Notification of acceptance of power of attorney

Free format text: JAPANESE INTERMEDIATE CODE: A7422

Effective date: 20080117

RD04 Notification of resignation of power of attorney

Free format text: JAPANESE INTERMEDIATE CODE: A7424

Effective date: 20080118

A621 Written request for application examination

Free format text: JAPANESE INTERMEDIATE CODE: A621

Effective date: 20090713

A131 Notification of reasons for refusal

Free format text: JAPANESE INTERMEDIATE CODE: A131

Effective date: 20111213

A521 Request for written amendment filed

Free format text: JAPANESE INTERMEDIATE CODE: A523

Effective date: 20120208

TRDD Decision of grant or rejection written
A01 Written decision to grant a patent or to grant a registration (utility model)

Free format text: JAPANESE INTERMEDIATE CODE: A01

Effective date: 20121016

A01 Written decision to grant a patent or to grant a registration (utility model)

Free format text: JAPANESE INTERMEDIATE CODE: A01

A61 First payment of annual fees (during grant procedure)

Free format text: JAPANESE INTERMEDIATE CODE: A61

Effective date: 20121112

FPAY Renewal fee payment (event date is renewal date of database)

Free format text: PAYMENT UNTIL: 20151116

Year of fee payment: 3

R150 Certificate of patent or registration of utility model

Free format text: JAPANESE INTERMEDIATE CODE: R150

Ref document number: 5134792

Country of ref document: JP

Free format text: JAPANESE INTERMEDIATE CODE: R150

R250 Receipt of annual fees

Free format text: JAPANESE INTERMEDIATE CODE: R250

R250 Receipt of annual fees

Free format text: JAPANESE INTERMEDIATE CODE: R250

S531 Written request for registration of change of domicile

Free format text: JAPANESE INTERMEDIATE CODE: R313531

R350 Written notification of registration of transfer

Free format text: JAPANESE INTERMEDIATE CODE: R350

R250 Receipt of annual fees

Free format text: JAPANESE INTERMEDIATE CODE: R250

R250 Receipt of annual fees

Free format text: JAPANESE INTERMEDIATE CODE: R250

R250 Receipt of annual fees

Free format text: JAPANESE INTERMEDIATE CODE: R250

R250 Receipt of annual fees

Free format text: JAPANESE INTERMEDIATE CODE: R250