JP5118924B2 - ショーケース - Google Patents

ショーケース Download PDF

Info

Publication number
JP5118924B2
JP5118924B2 JP2007242408A JP2007242408A JP5118924B2 JP 5118924 B2 JP5118924 B2 JP 5118924B2 JP 2007242408 A JP2007242408 A JP 2007242408A JP 2007242408 A JP2007242408 A JP 2007242408A JP 5118924 B2 JP5118924 B2 JP 5118924B2
Authority
JP
Japan
Prior art keywords
shelf
duct
damper
cold air
back panel
Prior art date
Legal status (The legal status is an assumption and is not a legal conclusion. Google has not performed a legal analysis and makes no representation as to the accuracy of the status listed.)
Expired - Fee Related
Application number
JP2007242408A
Other languages
English (en)
Other versions
JP2009072283A (ja
Inventor
繁 新井
芳朗 石坂
Current Assignee (The listed assignees may be inaccurate. Google has not performed a legal analysis and makes no representation or warranty as to the accuracy of the list.)
Sanyo Electric Co Ltd
Original Assignee
Sanyo Electric Co Ltd
Priority date (The priority date is an assumption and is not a legal conclusion. Google has not performed a legal analysis and makes no representation as to the accuracy of the date listed.)
Filing date
Publication date
Application filed by Sanyo Electric Co Ltd filed Critical Sanyo Electric Co Ltd
Priority to JP2007242408A priority Critical patent/JP5118924B2/ja
Publication of JP2009072283A publication Critical patent/JP2009072283A/ja
Application granted granted Critical
Publication of JP5118924B2 publication Critical patent/JP5118924B2/ja
Expired - Fee Related legal-status Critical Current
Anticipated expiration legal-status Critical

Links

Images

Landscapes

  • Freezers Or Refrigerated Showcases (AREA)

Description

本発明は、断熱壁内に陳列室を構成し、この陳列室内に商品陳列用の棚を架設して成るショーケースに関するものである。
従来よりスーパーマーケットやコンビニエンスストアなどに設置されるショーケースは、断熱壁の内側に間隔を存して設けた仕切板との間にダクトを構成し、仕切板の内側には陳列室を構成すると共に、ダクトには冷却器と送風機を設置し、この冷却器と熱交換した冷気を送風機により、ダクトから陳列室内に吹き出す構成とされている。
この場合、陳列室の開口上縁には冷気吐出口が形成されていると共に、開口下縁には冷気吸込口が形成され、いずれもダクトに連通されている。そして、この開口上縁の冷気吐出口から冷気を吹き出し、エアーカーテンを形成しつつ陳列室内を冷却し、吹き出された冷気は開口下縁の冷気吹出口から吸引するものであった。
更に、この陳列室内には、複数段の棚が架設される。棚は、内部に棚ダクト(冷気通路)が構成されており、後端には断熱箱体の背方における背面ダクトと連通するための連通部が形成されている。また、棚の前端には、棚ダクトと連通する冷気吐出口が形成されている。これにより、背面ダクト内を上昇した冷気を連通部を介して棚ダクト内に引き込み、該棚の前端に形成された冷気吐出口より吐出することで、該棚下方の陳列室内を冷却するものであった(例えば特許文献1参照)。
ここで、各棚ダクトの上面には、ダンパー部材が取り付けられており、当該ダンパー部材は、棚ダクトの下側に臨む操作部と、棚ダクトにダンパー部材を下方から螺合する化粧ビスを有している。これにより、陳列室内を異なる二温度帯、例えば、常温と冷却温度、若しくは、棚上面にヒータを有する場合には加温と冷却温度として使用する際には、それより上側の棚上を常温若しくは加温として使用する棚に設けられたダンパー部材を背面ダクト内に進出させて、当該ダンパー部材により背面ダクトを上下に区画する。
これにより、背面ダクトを上昇する冷気は、ダンパー部材により、棚ダクト内に案内され、当該棚ダクトより下側の陳列室内を冷却する。他方、ダンパー部材により、当該棚より上側には、冷気が供給されないことから、当該棚より上側の陳列室内を常温又は加温して使用する。
2004−261502号公報
従来のショーケースにおいて、ダンパー部材を背面ダクト側に進出、若しくは、陳列室内に後退させる作業を行う際には、まず、ダンパー部材を棚ダクトに固定している化粧ビスを緩め、操作部を持って前後に摺動させることにより行う。しかしながら、当該化粧ビスやダンパー部材の操作部は、棚の下側に設けられているため、化粧ビスの位置や操作部の位置を視認しながら操作することは困難であり、手探りにて化粧ビスや操作部の位置を確認しながらの作業を強いられていた。
また、この種のショーケースに設けられる棚装置は、棚板全体を前後に摺動可能とするスライド棚が採用されていることが多く、棚装置自体の構造が複雑であり、また、重量も嵩んでいる。そのため、当該棚装置を陳列室内に保持するブラケットや支柱の強度向上を図らなければ成らず、生産性の面からも、棚装置自体の構造を簡素化し、且つ、軽量化することが望まれている。
そこで、本発明は従来の技術的課題を解決するためになされたものであり、ダンパーの操作により陳列室内に二温度帯を形成して使用するショーケースであって、当該ダンパー部材の操作を容易とすることができると共に、棚装置自体の構造を簡素化することができるショーケースを提供する。
本発明のショーケースは、断熱壁内に前面が開口する陳列室を構成し、該陳列室内に商品陳列用の棚を架設して成るものであって、陳列室の背面に位置し、断熱壁との間に冷気が上昇する背面ダクトを構成するための背面パネルと、棚に設けられ、後端の連通部にて背面ダクトに連通すると共に、前端に冷気吐出口が形成された棚ダクトと、連通部の上側において、背面ダクトを閉塞するためのダンパーとを備え、該ダンパーは、背面パネルに形成された透孔に移動自在に保持されて背面ダクトを閉塞するための閉塞板部と、背面パネルに着脱自在に固定するための固定具とを有し、背面パネルに固定されずに手前側に引き出された状態で、閉塞板部は背面パネルの透孔縁部に係合して当該ダンパーは背面パネルに保持され、背面ダクトは開放されると共に、奥側に押し込まれ、固定具により背面パネルに固定された状態で、閉塞板部は背面ダクトを閉塞することを特徴とする。
請求項2の発明のショーケースは、上記発明において、閉塞板部の後端は、透孔の幅よりも幅広とされていることを特徴とする。
請求項3の発明のショーケースは、上記発明において、閉塞板部の後端は上側に折曲されており、ダンパーが手前側に位置した状態で、背面パネル後面に沿うことを特徴とする。
本発明によれば、断熱壁内に前面が開口する陳列室を構成し、該陳列室内に商品陳列用の棚を架設して成るショーケースにおいて、陳列室の背面に位置し、断熱壁との間に冷気が上昇する背面ダクトを構成するための背面パネルと、棚に設けられ、後端の連通部にて背面ダクトに連通すると共に、前端に冷気吐出口が形成された棚ダクトと、連通部の上側において、背面ダクトを閉塞するためのダンパーとを備え、該ダンパーは、背面パネルに形成された透孔に移動自在に保持されて背面ダクトを閉塞するための閉塞板部と、背面パネルに着脱自在に固定するための固定具とを有し、背面パネルに固定されずに手前側に引き出された状態で、閉塞板部は背面パネルの透孔縁部に係合して当該ダンパーは背面パネルに保持され、背面ダクトは開放されると共に、奥側に押し込まれ、固定具により背面パネルに固定された状態で、閉塞板部は背面ダクトを閉塞するので、背面パネルに保持されるダンパーを直接視認しながら、当該ダンパーにより背面ダクトを開放する操作及び閉塞する操作を行うことが可能となる。
これにより、従来のように手探りにてダンパーの操作を行う場合に比して、容易に、且つ、確実にダンパー操作を行うことが可能となり、利便性の向上を図ることが可能となる。特に、本発明によれば、ダンパーは、背面パネルに形成された透孔に保持されるものであることから、棚に設けられる場合に比して、当該棚自体の構造を簡素化することが可能となり、生産性の向上や、棚自体の重量を軽量化することができる。
また、ダンパーは、背面パネルに固定されずに手前側に引き出された状態では、閉塞板部は背面パネルの透孔縁部に係合して当該ダンパーは背面パネルに保持され、背面ダクトを開放するため、簡素な構造にて、背面ダクトを開放した状態を維持することが可能となる。
更に、ダンパーは、奥側に押し込まれ、固定具により背面パネルに固定された状態で、閉塞板部は背面ダクトを閉塞するため、固定具により安定して閉塞板部による背面ダクトの閉塞状態を維持することが可能となる。
請求項2の発明によれば、上記発明において、閉塞板部の後端は、透孔の幅よりも幅広とされているので、上述したような背面パネルに固定されずに手前側に引き出された状態において、透孔の幅よりも幅広に形成された閉塞板部の後端が当該背面パネルの透孔から脱落してしまう不都合を回避することができ、安定した保持状態を維持することが可能となる。
請求項3の発明によれば、上記発明において、閉塞板部の後端は上側に折曲されており、ダンパーが手前側に位置した状態で、背面パネル後面に沿うことから、手前側に引き出された状態のダンパーを後端が背面パネル後面に沿った状態で透孔縁部に係支させることができ、ダンパー全体をより背面パネルに沿わせた状態で保持することができる。これにより、ダンパーが背面パネルから大きく前方に突出することによって、陳列室内の商品陳列の邪魔となる不都合を抑制することが可能となる。
以下、本発明の実施形態を図面に基づき詳細に説明する。図1は本発明を適用したショーケース1の斜視図、図2はショーケース1の縦断側面図(最上段の棚25に棚ダクト部材50を取り付けた状態)を示している。
ショーケース1は前面に開口する断面略コ字状の断熱壁3と、その両側に取り付けられた側板4によって本体5が構成されており、この断熱壁3の内側には間隔を存して背面に背面パネル6が配設され、この背面パネル6と断熱壁3間に背面ダクト9が形成されている。尚、背面パネル6の詳細については後述する。また、背面パネル6の下端には、前方に延在するデックパン10が設けられており、これら背面パネル6、デックパン10及び断熱壁3の天井部3Aの内側に陳列室11が構成されている。そして、デックパン10の下方には背面ダクト9に連通して下部ダクト14が構成されている。
この下部ダクト14の前端は陳列室11の前面開口下縁に位置すると共に、複数のスリットから成る冷気吸込口17に連通している。デックパン10の下方の下部ダクト14内には冷気送給用の送風機7が配設され、陳列室11の背面ダクト9内には冷却装置の冷凍サイクルを構成する冷却器15が縦設されている。
断熱壁3の下側には機械室19が構成されており、この機械室19内には前記冷却器15と共に冷却装置の冷凍サイクルを構成する圧縮機や凝縮器、凝縮器用送風機が設置されると共に、電源や制御基板を収納した電装箱も配設される。断熱壁3の背方には当該断熱壁3の背面と所定の間隔を存して鋼板製の背面板20が取り付けられており、この背面板20と断熱壁3間には排気用ダクト21が構成されている。
この排気用ダクト21の下端は機械室19の後部に開口して連通すると共に、上端はショーケース1上方に開放している。尚、23は機械室19の前面を開閉自在に閉じるパネルである。24は機械室19内下部に設けられた蒸発皿であり、図示しないドレンホースを介して冷却器15からのドレン水(露水や除霜水など)が流入し、貯留されるものである。
陳列室11内には棚が複数段、本実施例では上から順に、25、26、27、28が四段架設されている。ここで、各棚25、26、27、28は、略同一の構成とされているため、棚25を例に挙げて図3乃至図7を参照して当該棚25及び棚25に取り付けられる棚ダクト部材50について説明する。図3は棚25の縦断正面図、図4は図3の部分拡大図、図5は棚ダクト部材50の取付状態を示す陳列室11側からみた側面図、図6は棚25及び棚ダクト部材50の一部切欠縦断側面図、図7はダクト部材50の底面図をそれぞれ示している。
棚25は前側が低く傾斜して架設されており、これにより、最も手前側の商品が取り出されると、その列の後方の商品が順次前方に移動する構成とされている。また、棚25はブラケット30と図示しない支柱に形成された係合孔との係合により着脱自在の構成とされている。更に、棚25はブラケット30に対してそれぞれ前方に引出自在とされ、陳列室11内に押し込まれて保持された状態と、商品補充時に前面開口から手前側に引き出された状態とに保持可能とされている。
棚25は、前後に延在する一対の枠部材32、32とこの枠部材32上に取り付けられ、商品を載置するための棚板33等から構成されている。そして、この棚板33は金属板から成り、その商品載置面の裏側には加温用ヒータH(電気ヒータ。図4参照)が取り付けられている。加温使用時にはこの加温用ヒータHが発熱して棚板33上の商品を加熱保温する。
他方、前記ブラケット30の後端には係合爪29が形成されており、この係合爪29を陳列室11内の左右に上下に渡って取り付けられた図示しない支柱の係合孔に係脱自在に係合させることで、ブラケット30は陳列室11内に所定の高さの位置に左右一対ずつ取り付けられる。そして、これら一対のブラケット30、30それぞれの外面にスライドレール31の固定側31Aが前後に渡って取り付けられ、左右で一対を成す。
また、枠部材32は、ブラケット30の外側において下方に折曲され、降下辺34が形成されており、この降下辺34、34の内側に前記スライドレール31、31の可動側31Bがそれぞれ取り付けられる。これにより、棚板33は枠部材32の降下辺34に取り付けられるスライドレール31の可動側31Bと、ブラケット30に取り付けられるスライドレール31の固定側31Aによって、ブラケット30、30に対し前後に摺動自在とされる。
そして、ブラケット30、30の内側には、棚板33の下側に位置して棚ダクト部材50が着脱自在に取り付けられる。本実施例における棚ダクト部材50は、内部中空の矩形状を呈しており、当該前端は、棚板33の前端よりも前方まで延在していると共に、当該後端は、棚板33の後端よりも後方まで延在している。そして、棚ダクト部材50の後面(後端)は、後ろ向きに開口した連通部51が形成され、下面前端には左右方向に延在して下向きに開口した中間冷気吐出口52が形成されている。
ここで、棚ダクト部材50の後端に形成される連通部51は、棚25の下側に位置して当該棚25の背面に設けられる背面パネル6前面に当接して設けられるため、棚25の傾斜角度に応じて上端が下端よりも後方に延在して形成される。他方、棚25に取り付けられる棚ダクト部材50の連通部51に対応する位置の背面パネル6には、左右に渡って背面ダクト9と、棚ダクト部材50内に形成される棚ダクト53とを連通するための連通孔54が形成されている。なお、当該連通孔54は、棚25に取り付けられる棚ダクト部材50に対応する位置のみならず、本実施例では、当該棚25の下側に架設される棚26に取り付けられる棚ダクト部材50に対応する位置にも形成されているものとする。なお、他の棚27、28についても同様に連通孔54を形成しても良い。
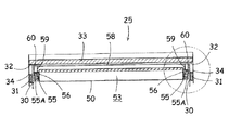
そして、この棚ダクト部材50の後部両側面には、外方に向けて所定寸法だけ延在して形成される係支棒55、55が取り付けられている。本実施例では、当該係支棒55の端部は、頭部55Aが形成されている。また、棚ダクト部材50の前部であって、中間冷気吐出口52よりも後方両側面には、断面略L字状の取付部材56が取り付けられている。
この取付部材56の側面は、棚ダクト部材50側面に当接してネジ止めにより固定されると共に、取付部材56の上面には、詳細は後述するブラケット30に固定される保持片60の上端部を挿入して係合するための係合孔56Aが形成されている。
一方、当該棚ダクト部材50が取り付けられるブラケット30には、対向するブラケット30、30の上端に渡って、左右両端が下方に略直角に折曲された保持板58が棚板33の下面とは所定間隔を存してネジなどにより固定されている。そして、この保持板58の下面両側部には、それぞれブラケット30と所定間隔を存して断面略L字状の吊下部材59が取り付けられている。
この吊下部材59の上面は、保持板58の下面に当接してネジ止めにより固定されると共に、当該上面端部から垂下して形成される側面には、前端から後方に向けて切り欠かれた係止部59Aが形成されている。当該係止部59Aは、前記棚ダクト部材50に設けられた両端の係支棒55を挿入して保持するものである。従って、当該係止部59Aの下縁前端は、少許上方に傾斜して、容易に係支棒55が前端より脱落しない構成とされていることが望ましい。
他方、ブラケット30、30の内面前部であって、棚ダクト部材50がブラケット30に取り付けられた状態で、棚ダクト部材50に設けられる取付部材56が対応する位置には、前記保持片60が取り付けられている。この保持片60は、断面略クランク状に形成されており、下方に向けて延在する側面は、ブラケット30内面に当接してネジ止めにより固定されると共に、上方に向けて延在する側面は、棚ダクト部材50側に配される。
係る構成により、棚ダクト部材50を棚25下方に取り付ける際には、まず棚ダクト部材50の後部両側面に設けられる係支棒55、55を、棚25が架設されるブラケット30、30に設けられる吊下部材59の係止部59A前端より挿入し、当該係止部59Aの下縁に保持させる。その後、棚ダクト部材50の前部両側面に設けられる取付部材56の係合孔56Aに対向するブラケット30に取り付けられた保持片60上端を挿入し、当該保持片60上面に棚ダクト部材50の取付部材56を載置し保持させる。
これにより、棚ダクト部材50を棚25が架設されるブラケット30、30に取り付けられる。この状態で、棚ダクト部材50の背方に対応する背面パネル6には、背面ダクト9内と連通可能とする連通孔54が形成されているため、背面パネル6の前面に当接して設けられる棚ダクト部材50の連通部51を介して背面ダクト9内を上昇する冷気を棚ダクト53内に流入させることができる。棚ダクト部材50の前端には、下向きに開口された中間冷気吐出口52が形成されていることから、当該タクト53内の冷気を中間冷気吐出口52より下方に向けて吐出させることができる。
ここで、上述したように棚ダクト部材50は、棚25の棚板33下方に位置して当該棚25が設けられるブラケット30、30間に挿入により容易に係止可能とする吊下部材59と係支棒55、及び、保持片60と取付部材56により取り付けられるため、着脱容易とされる。
また、当該棚ダクト部材50を取り付けるための吊下部材59や保持片60は、他の棚26、27、28にも同様に設けられていることから、選択的に当該棚ダクト部材50を何れかの棚に容易に取り付けることが可能となる。
次に、図8乃至図10を参照して、ショーケース1上部の構成について説明する。図8はショーケース1上部拡大縦断側面図、図9は図8における開閉パネル部43手前側に回動させた状態の上部拡大縦断側面図、図10は冷気吐出口部材44を後方からみた部分拡大図をそれぞれ示している。
背面パネル6の上端には、当該背面パネル6の一部を構成する開閉パネル部43が取り付けられている。この開閉パネル部43は、ヒンジ部材により、下縁を中心として手前側に回動自在に取り付けられており、常時上側方向に付勢されている。そして、この開閉パネル部43の上端は、前側に所定角度にて折曲された当接面43Aが形成されており、当該当接面43Aには、図示しないネジ止め用の孔が形成されている。
他方、断熱壁3の前面開口上縁には、左右に渡って冷気吐出部材44が設けられている。当該冷気吐出部材44は、前下部に整流部材としてのハニカム45が取り付けられており、当該冷気吐出部材44の後端部には、全幅に渡って複数の冷気導入口44Bが形成されている。なお、当該冷気導入口44Bの外周縁には、シール材が設けられていても良い。
そして、この冷気吐出部材44の後側には、陳列室11の天井部3A下側に位置して上記棚ダクト部材50が着脱自在に取付可能とされている。具体的には、冷気吐出部材44の後側両側部に、側板4と所定間隔を存して断面略L字状の吊下部材46、46が取り付けられている。
この吊下部材46の上面は、断熱壁3の天井部3A下面に当接してネジ止めにより固定されると共に、当該上面端部から垂下して形成される側面には、後端から前方に向けて切り欠かれた係止部46Aが形成されている。当該係止部46Aは、前記棚ダクト部材50に設けられた両端の係支棒55を挿入して保持するものである。従って、当該係止部46Aの下縁後端は、少許上方に傾斜して、容易に係支棒55が後端より脱落しない構成とされていることが望ましい。
他方、背面ダクト9上部であって、断熱壁3の背面3Bの前面両側部には、断面略L字状の保持部材47が取り付けられている。この保持部材47は側面が断熱壁背面3Bに当接してネジ止めにより固定されると共に、当該側面上端が前方に折曲して形成される上面47Aは、棚ダクト部材50の連通部51が設けられている側の端部を保持可能とされている。そして、当該上面47Aは、前端が少許下方に傾斜して形成されている。
係る構成により、棚ダクト部材50を陳列室11の天井部3A下側に取り付ける際には、まず何れかの棚25・・・に取り付けられている棚ダクト部材50を取り外し、当該棚ダクト部材50の前後を反転させる。そして、背面パネル6上端を構成する開閉パネル部43をヒンジ部材42を中心として手前側に回動させて、棚ダクト部材50の連通部51が設けられる側の端部を背面ダクト9内に挿入し、当該背面ダクト9上部に設けられる保持部47、47の上面47A、47Aに載置する。その後、中間冷気吐出口52が形成される側の両側面に設けられる係支棒55、55を、天井部3Aの前部に設けられる吊下部材46の係止部46A後端より挿入し、当該係止部59Aの下縁に保持させる。
この状態で、背面パネル6上端を構成する開閉パネル部43はヒンジ部材42の付勢力によって上方に付勢されているため、当該開閉パネル部43の当接面43Aは、棚ダクト部材50の下面に当接される。この状態で、化粧ビス48によって、開閉パネル部43と棚ダクト部材50とを共締めし、固定する。
なお、本実施例では、ヒンジ部材42は、常時上方に付勢されたものとしているが、これに限定されるものではなく、単に回動自在とするものであっても良い。このように、背面パネル6の上端部は、下縁を中心として手前側に回動自在の開閉パネル部43とされているので、棚ダクト部材50の中間冷気吐出口52が設けられる後端を容易に背面ダクト6上部に配置させることが可能となる。そのため、比較的高い位置にある陳列室11天井部3Aに容易に棚ダクト部材50を取り付けることが可能となり、作業効率の向上を図ることができる。
係る構成によって、棚ダクト部材50の中間冷気吐出口52が背面ダクト9上部に収容された状態で、背面ダクト9上端は、開閉パネル部43と棚ダクト部材50により囲繞され、背面ダクト9内を上昇してくる冷気を円滑に中間冷気吐出口52を介して棚ダクト部材50内の棚ダクト53に円滑に流入させることができる。
また、棚ダクト部材50の連通部51は、天井部3Aに取り付けられた状態で、冷気導入口44Bが形成される冷気吐出部材44後端にシール材を介して当接して取り付けられることから、棚ダクト53は、冷気吐出部材44に形成される冷気吐出口44Aと連通される。従って、棚ダクト53内に流入した冷気は、前面開口上縁に設けられた冷気吐出口44Aより陳列室11内や前記冷気吸込口17に向けて吐出させることができる。
ここで、上述したように棚ダクト部材50は、化粧ビス48による固定と、挿入により容易に係止可能とする吊下部材46と係支棒55、及び、保持部材47への載置によって取り付けられるため、着脱容易とされる。
次に、図2及び図11乃至図16を参照してダンパー36について詳述する。図11はダンパー36により背面ダクト6を開放している状態を示す部分拡大縦断側面図、図12はダンパー36により背面ダクト6を閉塞している状態を示す部分拡大縦断側面図、図13は図11の横断平面図、図14は図13の部分拡大図、図15は図12の横断平面図、図16は図15の部分拡大図をそれぞれ示している。
本実施例では、図2に示すように、背面パネル6には、複数のダンパー36が移動自在に保持されている。具体的には、複数架設される棚のそれぞれの棚方向に対応する位置であって、当該棚に設けられる棚ダクト部材50の連通部51よりの上側にそれぞれ左右に延在する透孔37、37が形成されており、当該透孔37にダンパー36が保持されている。本実施例では、棚25の後方に対応する位置(実際には、棚25に設けられる棚ダクト部材50の連通部51)よりも少許上側及び、棚26の後方に対応する位置(実際には、棚26に設けられる棚ダクト部材50の連通部51)よりも少許上側に透孔37が設けられ、それぞれにダンパー36が保持されている。
なお、本実施例では、ダンパー36が取り付けられる位置を棚後方に対応する位置よりも少許上方としているが、棚が架設された状態で、当該棚に対応して形成される連通孔54より上方、且つ、当該棚前方から容易に視認可能な位置であることが望ましい。また、ここでは、ダンパー36が対応して設けられる棚は棚25と棚26としているが、これに限定されるものではなく、他の棚についても同様に透孔37を形成しダンパー36を保持しても良い。
透孔37は、ダンパー36を内部において移動可能とするため、背面パネル6の左右に延在して形成されており、当該ダンパー36の厚さ寸法よりも少許広い間隔を有し、ダンパー36の移動を容易としている。
ダンパー36は、陳列室11の背部、即ち、背面パネル6に位置して背面ダクト6の左右寸法に対応する寸法(実際には、少許小さい寸法)に形成される閉塞板部38と、当該閉塞板部38を背面パネル6に着脱自在に保持する固定具39により構成される。
閉塞板部38は、断面略L字状を呈しており、当該上面38Aは、例えば、当該取付位置における背面ダクト6の前端から後端に延在する寸法に形成されており、当該後端38Bは、両側端部38C、38Cが透孔37の幅よりも外方に延在した幅広形状とされている(図14、図16)。また、後端38Bは、所定角度にて上側に折曲して形成されており、後述する如くダンパー36が手前側に位置した状態で、背面パネル6後面に沿う形状とされている(図11)。
一方、閉塞板部38の上面38A前端が所定角度、具体的には、背面パネル6の傾斜角度に沿って下側に折曲することで構成される前面38Dの例えば、両側部には、前記固定具39が取り付けられている。この固定具39は、操作部39Aの一端に固定される突出部材39Bと、当該突出部材39Bを囲繞する軟質樹脂製の保持部材39Cとから構成されている。当該保持部材39Cは、突出部材39Bを先端から操作部39A側に渡って切り割り形状とされている。他方、背面パネル6には、当該固定具39に対応する位置に、固定孔40が形成されている。
係る構成により、ダンパー36により背面ダクト9を閉塞する際には、先ず、閉塞板部38の前面38Dの前面に取り付けられた固定具39の操作部39Aを持って、閉塞板部38の上面38Aを奥側、即ち背面ダクト9に押し込み、固定具39の保持部材39Cをそのまま背面パネル6の固定孔40に押し込むことで、保持部材39Cが切り割りに沿って開き、内方に設けられた突出部材39Bが露出する。これによって、切り割りに沿って開かれた保持部材39Cにより、固定具39が背面パネル6の固定孔40に保持され、容易に抜け出ることを防止することができ、固定具39により安定して閉塞板部38による背面ダクト9の閉塞状態を維持することが可能となる(図12、図15、図16)。
このとき、閉塞板部38の上面後端38Bは、背面ダクト9の背面、具体的には、断熱壁3の前面近傍に位置すると共に、当該対応する部分には、シール部材41が設けられている。そのため、ダンパー36の閉塞板部38が奥側に押し込まれた状態では、閉塞板部38の後端がシール部材41と密着して固定されることで、背面ダクト9がダンパー36により閉塞され、背面ダクト9内を上昇してくる冷気のダンパー36より上側への供給が停止される。
他方、ダンパー36により背面ダクト9を開放する際には、先ず、前記固定具39の操作部39Aを前方に引くことによって、突出部材39Cを背面ダクト9側から退避させ、保持部材39Cが閉じた状態とし、当該固定具39と固定孔40との固定を解除する。その後、閉塞板部38を手前側に引き出し、背面ダクト9を開放する。
この状態で、閉塞板部38の後端38Dは、背面パネル6の透孔37の縁部に係合して背面パネル6に保持される。ここで、閉塞板部38の後端38Dは、両端部38C、38Cが背面パネル6の透孔37の幅よりも外方に延在した幅広形状とされているため、当該後端38Dが透孔37から脱落しない構成とすることができる(図14)。従って、ダンパー36が背面パネル6に固定されずに手前側に引き出された状態であっても、閉塞板部38の後端38Dが透孔37縁部に支持されることで、安定した保持状態を維持することが可能となる。従って、当該ダンパー36を組み込む際には、製品の組み立ての時点で、背面パネル6の背方から透孔37に固定具39を取り付ける以前の閉塞板部38を挿入し、背面パネル6の前方から閉塞板部38に固定具39を取り付ける。
なお、本実施例では、後端38Dは、透孔37の左右幅寸法より外方に延在した構成とされているが、これに限定されるものではなく、当該後端38Dが容易に透孔37から脱落しない構成であれば、例えば、後端38の上下寸法を透孔37の上下寸法よりも幅広としても良い。
また、ダンパー36が手前側に引き出された状態では、閉塞板部38の上側に折曲された後端38Dが背面パネル6の後面に沿う形状とされていることから、後端38Dが背面パネル6の後面に沿った状態で透孔37縁部に係支させることができ、ダンパー36全体をより背面パネル6に沿わせた状態で保持することができる(図11)。これにより、ダンパー36が背面パネル6から大きく前方に突出することによって、陳列室11内の商品陳列の邪魔となる不都合を抑制することが可能となる。
また、当該ダンパー36は、上述したように棚の後方に対応する位置、実際には、棚に設けられる棚ダクト部材50の連通部51よりも少許上側に保持されていることから、当該ダンパー36を直接視認しながら、背面ダクト9を開放する操作や閉塞する操作を行うことが可能となる。
従って、従来のように手探りにてダンパーの操作を行う場合に比して、容易に、且つ、確実にダンパー操作を行うことが可能となり、利便性の向上を図ることが可能となる。特に、ダンパー36は、背面パネル6に形成された透孔37に保持されるものであることから、このような簡素な構造にて、背面ダクト9を開放した状態を維持することが可能となる。また、ダンパーが棚に設けられる場合に比して、当該棚自体の構造を簡素化することが可能となり、生産性の向上や、棚自体の重量を軽量化することができる。
以上の構成で、最上段を構成する棚25より上側の陳列室11を加温領域として加温使用し、棚26より下側の陳列室11を冷却領域として冷蔵使用する場合は、図2に示すように、棚ダクト部材50を棚25の下側に取り付ける。これにより、棚ダクト部材50の後端の連通部51を背面パネル6に形成される連通孔54を介して背面ダクト9に連通させる。そして、当該棚25に設けられる棚ダクト部材50の連通部51よりも上側に位置するダンパー36を奥側に押し込んで、当該高さにて背面ダクト9を閉塞する。なお、これ以外の棚26等の上側に位置するダンパー36は手前側に引き出された状態で保持し、当該高さにおける背面ダクト9を開放する。
この状態で、送風機7が運転されると、冷却器15と熱交換した冷気の一部は、背面ダクト9内を上昇し、背面パネル6に形成された連通孔54を介して棚25に取り付けられる棚ダクト部材50の連通部51より棚ダクト53内に流入し、中間冷気吐出口52から陳列室11内下部に向けて吐出される。また、残りの冷気は、背面パネル6に形成された他の連通孔54より陳列室11内に吐出される。
棚ダクト部材50の前端下面に形成された中間冷気吐出口52から吐出された冷気は、棚25より下側の陳列室11の前面開口に冷気エアーカーテンを形成しながら当該陳列室11内を冷却する。そして、冷気吸込口17から下部ダクト14に吸引され、再び送風機7に吸い込まれる循環を繰り返す。
従って、最上段の棚25より下側の陳列室11内は、当該棚25の下側に取り付けられる棚ダクト部材50を介して前面開口に冷気供給されることにより、冷却領域とされ冷蔵使用することができる。他方、最上段の棚25の電気ヒータHは、各ダンパー36に別途設けられるダンパーセンサの検出出力や、操作パネルの入力により通電される。これにより、最上段の棚25より上側の陳列室11内は、冷気供給の停止及び電気ヒータHの通電により加温領域とされ、温蔵使用することができるようになる。
次に、図17を参照して、上から二段目の棚26より上側の陳列室11内を加温領域として使用し、棚27より下側の陳列室11内を冷却領域として使用する場合について説明する。この場合、他の位置に取り付けられていた棚ダクト部材50を取り外し、当該棚26の下側に上述したように棚ダクト部材50を取り付ける。これにより、棚ダクト部材50の後端の連通部51を背面パネル6に形成される連通孔54を介して背面ダクト9に連通させる。そして、当該棚26に設けられる棚ダクト部材50の連通部51よりも上側に位置するダンパー36、本実施例では上から2つめのダンパー36を奥側に押し込んで、当該高さにて背面ダクト9を閉塞する。なお、これ以外の棚25等の上側に位置するダンパー36は手前側に引き出された状態で保持し、当該高さにおける背面ダクト9を開放する。
この状態で、送風機7が運転されると、冷却器15と熱交換した冷気の一部は、背面ダクト9内を上昇し、背面パネル6に形成された連通孔54を介して上から二段目の棚26に取り付けられる棚ダクト部材50の連通部51より棚ダクト53内に流入し、中間冷気吐出口52から陳列室11内下部に向けて吐出される。また、残りの冷気は、背面パネル6に形成された他の連通孔54より陳列室11内に吐出される。
棚ダクト部材50の前端下面に形成された中間冷気吐出口52から吐出された冷気は、棚26より下側の陳列室11の前面開口に冷気エアーカーテンを形成しながら当該陳列室11内を冷却する。そして、冷気吸込口17から下部ダクト14に吸引され、再び送風機7に吸い込まれる循環を繰り返す。
従って、上から二段目の棚26より下側の陳列室11内は、当該棚26の下側に取り付けられる棚ダクト部材50を介して前面開口に冷気供給されることにより、冷却領域とされ冷蔵使用することができる。他方、最上段の棚25及び棚26の電気ヒータHは、各ダンパー36に別途設けられるダンパーセンサの検出出力や、操作パネルの入力により通電される。これにより、上から二段目の棚26より上側の陳列室11内は、冷気供給の停止及び電気ヒータHの通電により加温領域とされ、温蔵使用することができるようになる。
他方、陳列室11内全体を冷却領域として冷蔵使用する場合には、他の位置に取り付けられていた棚ダクト部材50を取り外し、図18に示すように、陳列室11の天井部3Aの下側に上述の如く棚ダクト部材50を取り付ける。これにより、棚ダクト部材50の中間冷気吐出口52が背面ダクト上端9に対応し、連通部51が冷気吐出部材44の冷気導入口44Bに対応して、棚ダクト部材50内の棚ダクト53を介して背面ダクト9上端と冷気吐出口44Aとが連通される。そして、背面パネル6に保持される全てのダンパー36を手前側に引き出された状態で保持する。
この状態で、冷気循環用の送風機7が運転されると、冷却器15と熱交換した冷気は、背面ダクト9内を上昇し、下向きに開口された中間冷気吐出口52より円滑に棚ダクト53内に流入する。特に、この場合、棚25等に取り付けられた際に、前端に下向きに開口された中間冷気吐出口52を反転させ、当該中間冷気吐出口52を背面ダクト9上端に設けることによって、背面ダクト9内を上昇してくる冷気を下向きに開口された中間冷気吐出口52により円滑に棚ダクト53内に流入させることが可能となる。
また、棚ダクト部材50の連通部51は、冷気吐出部材44の冷気導入口44Bに対応して取り付けられているため、当該冷気吐出部材44の冷気導入口44Bから流入した冷気は、開口上縁の下向きに開口して形成される冷気吐出口44Aより陳列室の前面に冷気のエアーカーテンを形成しながら陳列室11内を冷却する。そして、冷気吸込口17から下部ダクト14に吸引され、再び送風機7に吸い込まれる循環を繰り返す。これによって、陳列室11内の全域が冷蔵温度に冷却された冷却領域とされて、全棚上の商品が冷却されることになる。
なお、陳列室11内全体を加熱領域として温蔵使用とする場合には、冷却装置及び送風機7を停止し、全段の棚25、26、27、28の電気ヒータHに通電し、各棚上の商品を加温する。
このように、本発明によれば、使用形態に応じて棚ダクト部材50を棚25、26や陳列室11の天井部3Aに設けることにより、当該使用形態に適した陳列室11への冷気供給を実現することが可能となる。
特に、棚ダクト部材50を棚25や26に取り付ける場合と陳列室11の天井部3Aに取り付ける場合とで共通の棚ダクト部材50を選択的に付け替えることで対応することが可能となり、ショーケース1全体の部品点数を大幅に削減することが可能となる。これにより、生産コストの削減や組立作業性の向上を図ることが可能となる。また、当該棚ダクト部材50は、常に陳列室11内に取り付けられているので、別途保管する必要がなく、紛失するおそれがない。
また、棚ダクト部材50が取り付けられる棚以外の棚や、陳列室11の天井部3Aに棚ダクト部材50が取り付けられた状態での各棚は、棚ダクト部材が設けられないことから棚自体を薄く構成することができ、限られた陳列室11内を有効に利用することが可能となる。
特に、当該棚下に位置する棚の商品陳列容積を拡大することができるため、商品陳列効果の向上を図ることができると共に、ショーケース1全体として棚構造が簡素化されるため美観の向上を図ることができる。
なお、本実施例におけるショーケース1では、冷却領域として使用される以外の棚は、電気ヒータHを通電することにより、温蔵使用としているが、これに限定されるものではなく、加熱や冷却を行わない非冷(常温)使用としても良い。これにより、棚ダクト部材50を取り付ける位置と、背面ダクト9を閉塞するダンパー36を任意に操作することによって、当該ダンパー36より上側の陳列室への冷気供給を停止することができ、陳列室11内に異なる温度帯を形成することが可能となる。
本発明を適用したショーケースの斜視図である。 図1のショーケースの縦断側面図(最上段に棚ダクト部材を取り付けた状態)である。 棚の縦断正面図である。 図3の部分拡大図である。 棚ダクト部材の取付状態を示す陳列室側からみた側面図である。 棚及び棚ダクト部材の一部切欠縦断側面図である。 ダクト部材の底面図である。 ショーケース上部拡大縦断側面図である。 同じくショーケース上部拡大縦断側面図である。 冷気吐出口を後方からみた部分拡大図である。 ダンパーにより背面ダクトを開放している状態を示す部分拡大縦断側面図である。 ダンパーにより背面ダクトを閉塞している状態を示す部分拡大縦断側面図である。 図11の横断平面図である。 図13の部分拡大図である。 図12の横断平面図である。 図15の部分拡大図である。 図1のショーケースの縦断側面図(上から二段目の棚に棚ダクト部材を取り付けた状態)である。 図1のショーケースの縦断側面図(陳列室の天井部下側に棚ダクト部材を取り付けた状態)である。
符号の説明
H 加温用ヒータ(電気ヒータ)
1 ショーケース
3 断熱壁
3A 天井部
6 背面パネル
7 送風機
11 陳列室
17 冷気吸込口
25、26、27、28 棚
30 ブラケット
33 棚板
36 ダンパー
37 透孔
38 閉塞板部
38A 上面
38B 後端
38C 側端部
38D 前面
39 固定具
39A 操作部
39B 突出部材
39C 保持部材
40 固定孔
41 シール材
42 ヒンジ部材
43 開閉パネル部
43A 当接面
44 冷気吐出部材
44A 冷気吐出口
44B 冷気導入口
46 吊下部材
47 保持部材
47A 上面
48 化粧ビス
50 棚ダクト部材
51 連通部
52 中間冷気吐出口
53 棚ダクト
54 連通孔
55 係支棒
56 取付部材
56A 係合孔
58 保持板
59 吊下部材
59A 係止部
60 保持片

Claims (3)

  1. 断熱壁内に前面が開口する陳列室を構成し、該陳列室内に商品陳列用の棚を架設して成るショーケースにおいて、
    前記陳列室の背面に位置し、前記断熱壁との間に冷気が上昇する背面ダクトを構成するための背面パネルと、
    前記棚に設けられ、後端の連通部にて前記背面ダクトに連通すると共に、前端に冷気吐出口が形成された棚ダクトと、
    前記連通部の上側において、前記背面ダクトを閉塞するためのダンパーとを備え、
    該ダンパーは、前記背面パネルに形成された透孔に移動自在に保持されて前記背面ダクトを閉塞するための閉塞板部と、前記背面パネルに着脱自在に固定するための固定具とを有し、
    前記背面パネルに固定されずに手前側に引き出された状態で、前記閉塞板部は前記背面パネルの透孔縁部に係合して当該ダンパーは前記背面パネルに保持され、前記背面ダクトは開放されると共に、奥側に押し込まれ、前記固定具により前記背面パネルに固定された状態で、前記閉塞板部は前記背面ダクトを閉塞することを特徴とするショーケース。
  2. 前記閉塞板部の後端は、前記透孔の幅よりも幅広とされていることを特徴とする請求項1に記載のショーケース。
  3. 前記閉塞板部の後端は上側に折曲されており、前記ダンパーが手前側に位置した状態で、前記背面パネル後面に沿うことを特徴とする請求項2に記載のショーケース。
JP2007242408A 2007-09-19 2007-09-19 ショーケース Expired - Fee Related JP5118924B2 (ja)

Priority Applications (1)

Application Number Priority Date Filing Date Title
JP2007242408A JP5118924B2 (ja) 2007-09-19 2007-09-19 ショーケース

Applications Claiming Priority (1)

Application Number Priority Date Filing Date Title
JP2007242408A JP5118924B2 (ja) 2007-09-19 2007-09-19 ショーケース

Publications (2)

Publication Number Publication Date
JP2009072283A JP2009072283A (ja) 2009-04-09
JP5118924B2 true JP5118924B2 (ja) 2013-01-16

Family

ID=40607921

Family Applications (1)

Application Number Title Priority Date Filing Date
JP2007242408A Expired - Fee Related JP5118924B2 (ja) 2007-09-19 2007-09-19 ショーケース

Country Status (1)

Country Link
JP (1) JP5118924B2 (ja)

Families Citing this family (4)

* Cited by examiner, † Cited by third party
Publication number Priority date Publication date Assignee Title
JP5493672B2 (ja) * 2009-10-09 2014-05-14 富士電機株式会社 ショーケース
JP6769117B2 (ja) * 2016-05-31 2020-10-14 富士電機株式会社 ショーケースの中間ダクト
JP2019202056A (ja) * 2018-05-25 2019-11-28 東芝キヤリア株式会社 オープンショーケース
JP7196576B2 (ja) * 2018-12-04 2022-12-27 富士電機株式会社 商品載置棚及びショーケース

Family Cites Families (3)

* Cited by examiner, † Cited by third party
Publication number Priority date Publication date Assignee Title
JPS4824056U (ja) * 1971-07-06 1973-03-20
JPS5211468A (en) * 1975-07-18 1977-01-28 Hitachi Ltd Wind quantity regulating device for refrigerator
JP2005156034A (ja) * 2003-11-26 2005-06-16 Sanyo Electric Co Ltd ショーケース

Also Published As

Publication number Publication date
JP2009072283A (ja) 2009-04-09

Similar Documents

Publication Publication Date Title
JP5556208B2 (ja) ショーケース
JP5175512B2 (ja) ショーケース
JP5118924B2 (ja) ショーケース
JP2007085611A (ja) ショーケース
JP4097594B2 (ja) ショーケース
JP5919514B2 (ja) ショーケース
JP2005156117A (ja) ショーケース
JP5493672B2 (ja) ショーケース
JP4348157B2 (ja) ショーケース
JP4596926B2 (ja) ショーケース
JP3920092B2 (ja) ショーケース
JP2006275375A (ja) オープンショーケース
JP2718469B2 (ja) ショーケース
JP4637079B2 (ja) ショーケース
JP5611607B2 (ja) オープンショーケース
JPH11241880A (ja) オープンショーケース
JPH0894232A (ja) ショーケース
JP2004069233A (ja) ショーケース
JP7510736B1 (ja) ショーケース
JP4895702B2 (ja) ショーケース
JP2024008103A (ja) ショーケース
CN110731659A (zh) 陈列柜
JP2004286249A (ja) ショーケース
JP4179757B2 (ja) ショーケース
JP2005131037A (ja) ショーケース

Legal Events

Date Code Title Description
A621 Written request for application examination

Free format text: JAPANESE INTERMEDIATE CODE: A621

Effective date: 20100830

A977 Report on retrieval

Free format text: JAPANESE INTERMEDIATE CODE: A971007

Effective date: 20120913

TRDD Decision of grant or rejection written
A01 Written decision to grant a patent or to grant a registration (utility model)

Free format text: JAPANESE INTERMEDIATE CODE: A01

Effective date: 20120925

A01 Written decision to grant a patent or to grant a registration (utility model)

Free format text: JAPANESE INTERMEDIATE CODE: A01

A61 First payment of annual fees (during grant procedure)

Free format text: JAPANESE INTERMEDIATE CODE: A61

Effective date: 20121022

FPAY Renewal fee payment (event date is renewal date of database)

Free format text: PAYMENT UNTIL: 20151026

Year of fee payment: 3

LAPS Cancellation because of no payment of annual fees