JP5118908B2 - 電気掃除機 - Google Patents

電気掃除機 Download PDF

Info

Publication number
JP5118908B2
JP5118908B2 JP2007180447A JP2007180447A JP5118908B2 JP 5118908 B2 JP5118908 B2 JP 5118908B2 JP 2007180447 A JP2007180447 A JP 2007180447A JP 2007180447 A JP2007180447 A JP 2007180447A JP 5118908 B2 JP5118908 B2 JP 5118908B2
Authority
JP
Japan
Prior art keywords
dust
dust collection
collection chamber
vacuum cleaner
airtight member
Prior art date
Legal status (The legal status is an assumption and is not a legal conclusion. Google has not performed a legal analysis and makes no representation as to the accuracy of the status listed.)
Expired - Fee Related
Application number
JP2007180447A
Other languages
English (en)
Other versions
JP2009017903A (ja
Inventor
剛一 長田
恵一 藤森
Current Assignee (The listed assignees may be inaccurate. Google has not performed a legal analysis and makes no representation or warranty as to the accuracy of the list.)
Hitachi Global Life Solutions Inc
Original Assignee
Hitachi Appliances Inc
Priority date (The priority date is an assumption and is not a legal conclusion. Google has not performed a legal analysis and makes no representation as to the accuracy of the date listed.)
Filing date
Publication date
Application filed by Hitachi Appliances Inc filed Critical Hitachi Appliances Inc
Priority to JP2007180447A priority Critical patent/JP5118908B2/ja
Publication of JP2009017903A publication Critical patent/JP2009017903A/ja
Application granted granted Critical
Publication of JP5118908B2 publication Critical patent/JP5118908B2/ja
Expired - Fee Related legal-status Critical Current
Anticipated expiration legal-status Critical

Links

Images

Landscapes

  • Electric Suction Cleaners (AREA)

Description

本発明は電気掃除機に関するものである。
本発明は集塵室を覆うように設けられている蓋体との気密を保持するための気密部材の気密性の向上と、紙パックや集塵ケースと取り出す際の着脱性を向上させた電気掃除機に関するものである。
紙パック又は集塵ケースを用いる電気掃除機では、捕獲した塵によって紙パックや集塵ケースが満杯になったとき、それらを取り外して使い捨て(新しい紙パックと交換)又は塵を捨てることができるので、取り扱いが便利である。
しかし、紙パックや集塵ケースを取り外す際に、集塵室を覆うように設けられている蓋体との気密を保持するための気密部材は気密性を向上させるために、その一部が集塵室に張り出した弾性部材であることが多く、そのため紙パックや集塵ケースを取り外す際に、集塵室に張り出した気密部材に引っ掛かり取り出し難いため、取り出し易い気密部材の形状が提案されている。
集塵室にセットされている紙パックや集塵ケースは気密性を向上させるために形成されている気密部材の集塵室に張り出した形状に引っ掛かり、集塵室への着脱性が悪化していた。これらの着脱性を改善するために、例えば特許文献1(特開平11―76110号公報)のように、二重のリブを設け溝を形成し、その溝に弾性部材等で形成される気密部材を挿入し、気密部材の内側面と集塵室の内面を略面一とすることが提案されている。
特開平11−76110号公報
しかしながら、上記の従来の構成(特許文献1)では、気密漏れが生じ易く電気掃除機の本来の役割であり、また最も重要視される吸込仕事率が低下してしまい、集塵効率が低下してしまう問題があった。
本発明の目的は、集塵室からの気密漏れを発生させない若しくは最小限に抑え、吸込仕事率の低下を抑えるとともに、集塵室からの紙パック又は集塵ケースの着脱性が良い電気掃除機を提供することにある。
本発明は、電動送風機及び集塵室を備えた掃除機本体と、該掃除機本体に設けられ、前記集塵室を開閉自在に覆うように設けられた蓋体と、前記集塵室と前記蓋体とを気密に保持する気密部材を備えた電気掃除機において、前記気密部材は複数の突起部と、該突起部と一体に形成された緩衝部とを備え、前記集塵室は少なくともその外周部に垂直方向に立ち上がった少なくとも3つの隔壁を有し、前記気密部材のうち集塵室側に位置する部分は、前記少なくとも3つの隔壁のうち最も内側に位置する隔壁と略面一もしくは前記少なくとも3つの隔壁のうち最も内側に位置する隔壁よりも外側になるように位置させ、前記少なくとも3つの隔壁間には、少なくとも2つの溝部が形成され、該溝部には前記複数の突起部が挿入され、前記少なくとも3つの隔壁のうち最も外側に位置した隔壁は、前記複数の突起部と一体に形成された緩衝部で覆われたことを特徴とする。
本発明によれば、集塵室からの気密漏れを発生させない若しくは最小限に抑え、吸込仕事率の低下を抑えるとともに、集塵室からの紙パック又は集塵ケースの着脱性に優れた電気掃除機を提供することができる。
本発明の第1の実施例について、図1から図3を引用して説明する。
図1は、本発明の一実施例を示す電気掃除機を示す外観斜視図である。
図2は、本発明の一実施例を示す電気掃除機を示す上蓋を開けた状態の斜視図である。
図3は、本発明の一実施例を示す掃除機本体の中央縦断面図である。
まず、図1及び図2を用いて電気掃除機の概要から順に説明する。
図1及び図2に実施例を示すように電気掃除機の掃除機本体ケース1は、後部側に走行用の車輪2を有する。掃除機本体ケース1の前側下部には、走行用キャスター(図示せず)が備わる。
掃除機本体ケース1の前側内部には、集塵室3が設けられる。この集塵室3には、紙,布,不織布を含む集塵袋(紙パック)7若しくはABS材等によるプラスチック製の集塵ケースが取り外し自在に内置される。
集塵室3とホース差込口4は掃除機本体ケース1の前側に設けられ、ホース差込口気密部材160を介して、集塵室3に連通する。
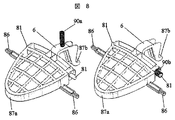
集塵室3の上面には、集塵袋(紙パック)若しくは集塵ケースが出し入れされる開口部を上方に有し、この開口部を開閉自在に覆う蓋体5が備わる。蓋体5は掃除機本体ケース1に回動自在に支持され、この開閉自在な前記蓋体5には上部横置除塵体6が保持される。該上部横置除塵体6の支軸81が蓋体5の82に回動自在に取り付けられる。同様に前記上部横置除塵体6に連動して作動するように、上部横置除塵体補助部83の支持軸89が集塵蓋5の支持受部85に回動自在に取り付けられる。また、集塵室3と蓋体5の気密を保持するように気密部材10が取り付けられている。
図3に示すように、掃除機本体ケース1の集塵室3には、集塵袋(紙パック)7若しくは集塵ケース(図示せず)が内置される。この集塵袋(紙パック)7は、使い捨ての紙,不織布ないし再利用可能な布集塵袋を含む。又、集塵ケースはABS材やPS材,PET等形状を保持しやすく、ごみを捨てることによって何度も再利用可能なものを含む。
掃除機本体ケース1は、集塵室3の後側に後部室を有する。この後部室は、電動送風機8、コードリール9を内置する。
電動送風機8は、送風部(ファン)と電動機を有する。送風部が前側、電動機が後側になるように置かれる。コードリール9は、電動送風機8の隣に並ぶように置かれる。電動送風機8には、コードリール9を介して電力が供給される。
次に集塵室の気密保持に関して説明する。
図2に示すように集塵室3を覆うように蓋体5が上部ケース130の軸受131に開閉自在に支持され、気密部材10を介して気密を保持するように取り付けられている。
図4〜図6を用いて以下説明すると、気密部材10は複数の突起部100と該突起部と一体に形成された緩衝部110とから構成されており、第一の突起部100aは集塵室3の外周部に形成された垂直方向に立ち上がった第一の隔壁103aと第二の隔壁103bによって構成される第一の溝部102aに気密に挿入される。
つまり第一の隔壁103aが形成する溝側側面と第二の隔壁103bが形成する溝側側面に気密部材10の第一の突起部100aがテーパー勘合され、気密部材10の第一の突起部100aを押し込むことによって気密が確保される。
気密部材10は弾性体を用いるのが望ましく、硬度を下げるほど(柔らかくする)気密保持されやすくなる。
また第二の突起部100bは第二の隔壁103bと第三の隔壁103cによって構成される第二の溝部102bに挿入され、第一の突起部100aと第二の突起部100bが第二の隔壁103bを挟み込むように合され、これにより、気密部材10と集塵室3の気密は隔壁による溝部102と気密部材10の複数の突起により二重に気密が保持される。
第一の突起部100aと第一の溝部102aがテーパー合にて気密を保持しているため、それを更に、第二の隔壁103bを第一の突起部100aと第二の突起部100bで挟み込むことによって、仮に第一の突起部100aと第一の溝部102aのテーパー合による気密もれが発生した場合でも、第二の隔壁103bを第一の突起部100aと第二の突起部100bで気密に挟みこんでいるので、二重のシール効果が得られる。
また、第二の隔壁103bと第三の隔壁103cによって形成される第二の溝部102bへ第二の突起部100bをテーパー合にて気密を保持することにより、更に高い気密保持効果が得られる。
更に、隔壁の数を第4,第5と増やし、隔壁間に構成される溝部の数を増やし、それに伴い、気密部材10の形成する複数の突起部100の数を増やし、上述したような合関係の構成を増やすことにより、更に集塵室3と気密部材10の気密性を向上させることができる。
また、気密部材10の複数の突起部100と一体に緩衝部110が形成され、集塵室3の最も外側に位置する隔壁(本図中では第三の隔壁103c)を覆うように配置され、外部からの衝撃に対して本体を保護し、また家庭の家具や建物を保護する役割を果たしている。
さらに、緩衝部110の他端106は集塵室3の隔壁により構成される溝部102と気密部材10のテーパー合により気密を保持している部分を、別部品を用いることなく確実に固定するために、集塵室3の外周部に垂直方向に係止突起107を設け、これと係合させるために気密部材10に係合突起106を設けている。
係止突起107は集塵室3の外周に沿って連続的な隔壁を構成する場合と断続的な突起を均等若しくは不均一に配置させることにより、気密部材10を確実に固定する。
係止突起107は連続的に形成される隔壁と集塵室3に対して断続的に垂直方向に形成される隔壁とを合せる事により、更に気密部材10の係合性を高めることができる。
また、気密部材10の係合突起106は緩衝部110の端面に形成され、気密部材10の複数の突起部100に略対向するように形成され、連続的若しくは不連続に係合突起106が形成され、隔壁103から気密部材10が外部からの衝撃及び使用者の偶発的操作から緩衝部110が剥離するのを防止し、気密を保持する。
集塵室3の最も外側に位置する隔壁(本図中では第三の隔壁103c)は内側に第二の突起部100bを合させ、係止突起107と係合突起106を合させた際に、緩衝部110及び気密部材10自体が集塵室3から外れて気密漏れを生じるのを、かぎ型構造を形成し防止している。
本体運転中は、集塵室3内部が負圧になるので蓋体5の気密リブ108が気密部材を押し付ける方向に働き、集塵室3と蓋体5を気密に保つことができる。
また、運転中は気密部材10の複数の突起部100は溝部102により押し付けられる方向に働き気密が取れるのと同時に、外れも防止することができる。
集塵室3内の気密を取りやすくするために、気密部材10の蓋体5の気密リブ108と接する部分をリップ形状105とすることで集塵室3が負圧となった時により気密がとれる。
気密部材の材質をより柔らかい弾性部材とすることで、更に気密が取れやすくなる。
前述の前提条件として、蓋体5の気密リブ108と気密部材10のリップ形状105は均一に干渉または接している必要がある。
リップ形状105の端面は蓋体5の外周端面109の肉厚より内側であることが望ましい。
蓋体5の外周端面109の肉厚より内側であれば外観的にも美しく、また本体運転時に、集塵室3が負圧になることよる、蓋体5の集塵室側への沈み込みによって、リップ形状105が蓋体5の気密リブ108によって押される際に、蓋体5の外周端面109よりもリップ形状105の端面が出ている場合、美観を損ねるばかりではなく、集塵室3内の気密を取るための気密リブ108が気密部材10のリップ形状105を押し付けて気密をとる前に、蓋体5の外周端面109がリップ形状105を押してしまい、その部分から気密が漏れてしまう可能性がある。
このため、リップ形状105の端面を蓋体5の外周端面109の肉厚よりも内側に形成するか若しくは、蓋体5の気密リブ108と外周端面109の縁面距離を十分に取って、外周端面109にリップ形状105が押されない位置に構成する必要がある。
次に集塵袋7(紙パック)又は集塵ケース(図示せず)の着脱に関して説明する。
集塵室3に内置した集塵袋(紙パック)7及び集塵ケース(図示せず)の取り出し性を考慮し、特に集塵ケースタイプの場合には、頻繁にごみすて作業をする可能性があるので、気密部材10の内側面111が集塵室3の第一の隔壁103aの内側面112と同一面若しくは、それよりも外側に位置させることによって、摩擦抵抗の大きい気密部材10(弾性部材)に直接集塵袋(紙パック)7若しくは集塵ケース(図示せず)を触れさせること無く、また、気密部材10の内側への出ばりによって内側へ押さえつけられることなく着脱作業をすることができるので、軽い力での集塵袋(紙パック)7及び集塵ケース(図示せず)の着脱が可能となり、ごみを捨てやすくすることができる。
次に除塵関連に関して説明する。
集塵袋7の除塵は、除塵手段で行われる。除塵手段は、図11に示すように除塵部材150とコードリール9に駆動され、かつ前記除塵部材150に振動動作を起こさせる除塵回転体12と動力分岐機構25を有する。
除塵部材150は集塵室3に備えられ、集塵室3に置かれる集塵袋7は、除塵部材150で、振動させられて内部に付着する塵埃が振るい落とされる。
除塵駆動伝達ユニット11(図7)は、掃除機本体ケース1の内底部に備えられる。除塵駆動伝達ユニット11は、除塵回転体12と、伝達歯車13を有する。図11に示すように、この伝達歯車13は、コードリール9の駆動歯車14に噛み合う。
動力分岐機構25は集塵室3内部に備わり、前記除塵回転体12の回転力を利用し前記上部横置除塵体6へと動力を伝え、前記上部横置除塵体補助部83が連動する。この動力分岐機構25の詳細については後述する。
コードリール9の回転で、駆動歯車14,伝達歯車13を介して除塵駆動伝達ユニット11の除塵回転体12に回転が伝わる。除塵回転体12の回転により、除塵部材150は振動させられ、集塵袋7内の除塵が行われる。
除塵部材について、図8〜図12を引用して更に詳しく述べる。
除塵部材150は、縦置除塵体15と、下部横置除塵体16と、上部横置除塵体6と、上部横置除塵体補助部83を有する。縦置除塵体15の下端と、下部横置除塵体16の後端は支軸17により回動自在に結合されている。縦置除塵体15と下部横置除塵体16は、折り畳まれた0度(図12bに示す状態に近い)から開かれた約90(図12aに示す状態)の範囲で回動する。
縦置除塵体15は、下端にストッパー18を有する。下部横置除塵体16が90度まで開いたところで、下部横置除塵体16はストッパー18で抑えられ、それ以上は開かない。
なお、最大開き角度は、下部横置除塵体16が集塵室3の内底部に接触しなければ、90度以下でも90度以上でもよい。
縦置除塵体15は、上側両端に支持軸突起19が設けられる除塵枠体部20を有する。掃除機本体ケース1は、図3,図13に示すように、集塵室3と後部室を仕切る中間仕切壁21を有する。この中間仕切壁21は、集塵室3側に縦に走る二つの支持リブ22が間隔を隔て設けられ、支持リブ22は、図13に示すように、上側に支持孔23を有し、前記中間仕切壁21には動力分岐機構25を取り付けるための係止溝44を有する。
支持リブ22の支持孔23に縦置除塵体15の支持軸突起19は回動自在に嵌る。これにより、前記縦置除塵体15と前記下部横置除塵体16は、集塵室3に揺振自在に置かれる。
支持リブ22は、図14aに示すように、対向面(内側面)に支持孔23の上側から支持リブ22に向けて形成された傾斜溝24aを有する。この傾斜溝24aは、上側に向かって外向きに傾く。支持軸突起19aも端側が傾斜面を有する。このため、支持軸突起19aを傾斜溝24aに沿って上から下に滑らせることにより、支持軸突起19aは支持孔23に容易に嵌る。前記縦置除塵体15,前記下部横置除塵体16との取り付けが容易に行われる。
また、支持リブ22は場合によって、図14bに示すように、対向面(内側面)の少なくとも1つが支持孔23の前側(ホース差込口4側)から支持リブ22に向けて形成された傾斜溝24bを有する。この傾斜溝24bは、前側に向かって外向きに傾く。この際、支持軸突起19は支持軸突起19bの形状にすることで前側から中間仕切壁21に垂直に向かって傾斜溝24b上を滑らせることで、支持突起19bは支持孔23に容易に嵌る。
動力分岐機構25について説明する。
動力分岐機構25は集塵室内にあり、前記縦置除塵体15と、前記中間仕切壁21の間に配置され、該中間仕切壁21に設けた係止溝44に取り付けられる。
前記動力分岐機構25は、前記除塵駆動伝達ユニット11の除塵回転体12の突起27と、動力分岐機構25のカムクランク突起28とが係合し、除塵回転体12の回転運動に連動して係合部がこの場合は下へと引かれ該動力分岐機構25の付勢バネ29にて元に戻されることで往復運動を行い、該動力分岐機構25のカムクランク30によって、除塵回転体12の回転運動の駆動力をこの場合は上方向へ変換し上部横置除塵体6へ動力を伝達し、上部横置除塵体補助部83まで動力が伝達される。
除塵回転体12は、外周に巻装される除塵バネ31を有する。除塵バネ31は、除塵回転体12の長手方向に沿って螺旋状に巻かれ、図33aからdに示すように長手方向の断面は略円形若しくは、略長円若しくは、多角形ないし外周に突き出る複数の凹凸形状を有する。除塵部材150の縦置除塵体15に備える付勢バネ26は、縦置除塵体15を中間仕切壁21方向へ押し付ける。
上部横置除塵体及び上部横置除塵体補助部について説明する。
前記除塵駆動伝達ユニット11の前記除塵回転体12から前記動力分岐機構25のカムクランク30を介して前記上部横置除塵体6の端部87bが上方向の荷重を受けて前記上部横置除塵体補助部83が略上下方向に作動する。
前記横置除塵体6は略上下方向に作動した際に、前記上部横置除塵体6の荷重側以外の端部(上部横置除塵体伝達軸)86を有し、前記上部横置除塵体6の作動を前記上部横置除塵体補助部83へ伝達される。
前記上部横置除塵体伝達軸86の作動は、前記上部横置除塵体補助部83の作動受部88から作動を伝達し、前記上部横置除塵体補助部83を略上下方向に作動させる。
前記上部横置除塵体補助部の作動受部88は前記上部横置除塵体補助部の支持軸89aに対して前記上部横置除塵体6側に配置する。
これによって、前記上部横置除塵体6が前記動力分岐機構25から上方向への作動を受け、前記上部横置除塵体6の前端87aが押し下げられ、集塵袋7の上面を瞬時に叩くと同時に、連動してる前記上部横置除塵体補助部83は図17bのように支持軸89aを基準に全体を上方向に持ち上げ、集塵袋7への加振に対してためを持たせる。
次にバネ90a,90b等による付勢により、前記上部横置除塵部6が元の位置にもどる際に、前記支持軸89aを基準に全体を上方向に持ち上げていた前記上部横置除塵体補助部83が、図17aのように自重と前記上部横置除塵体伝達軸86から、前記作動受部88が動力を受けることによって、集塵袋7の上面を叩くことが出来る。
この一連の動作によって、前記動力分岐機構25からの1回の動力伝達によって、集塵袋7の上面を交互に最低2回及び2ヶ所以上について加振して除塵をすることが可能となる。
また、場合によっては前記上部横置除塵体補助部83の作動受部88を支持軸89bに対して、前記上部横置除塵体6から離れた側に配置することによって、前記動力分岐機構25からの1回の動力伝達によって、集塵袋7の上面の1ヶ所またはそれ以上の箇所を同時に加振することができる。
集塵袋7は、図3に示すように、後側が除塵部材150の縦置除塵体15に、下側が下部横置除塵体16に、上側が上部横置除塵体6及び上部横置除塵体補助部83に当接する。除塵回転体12が回転することにより、縦置除塵体15と回動自在に結合されている下部横置除塵体16は、付勢バネ26に抗して、前記縦置除塵体15は前後方向に、又下部横置除塵体16は前記縦置除塵体15と連動し、前後に振動すると共に略上下にも振動する。また、前記動力分岐機構25は除塵回転体12の突起部27からの動力を伝達しカムクランク30を介して上部横置除塵体6及び上部横置除塵体補助部83を略上下に振動させる。
集塵袋7の後側は、縦置除塵体15により前後に揺すられ、下側は下部横置除塵体16で前後に擦られるとともに上下に多少振られ、上側は上部横置除塵体6及び上部横置除塵体補助部83にて上下に振られる。この振動により、集塵袋7内に付着する塵埃が除塵され、集塵袋7の通気性が回復し、更なる吸塵ができる。特に、集塵性能への影響が大きい上側は、上部横置除塵体及び上部横置除塵体補助部によって大きな効果が得られる。これを繰り返すことにより、集塵袋7内が一杯になるまで吸塵できる。
集塵室内の掃除について説明する。
塵埃は、集塵袋7内に集塵される。しかし、集塵袋7を取り外す際、集塵袋7内に溜まった塵埃が誤って集塵室3の下部にこぼれる場合がある。この時、集塵室蓋5を開いて、集塵室3から集塵袋7を外し、内底部に溜まった細塵の掃除をする。
この際に、除塵部材150の下部横置除塵体16を図12に示すように折り畳むことにより、内底部側から下部横置除塵体16が一時的に除かれた状態になる。このため内底部が容易に、しかも細塵を残さず掃除できる。
下部横置除塵体16は、図13に示すように、前後方向に延在する複数のスリット32が並ぶように設けられている。集塵袋7を抜けた気流は、スリット32を通って電動送風機8へと流れる。下部横置除塵体16のスリット32は、気流の流れを良くするためである。
スリット32には、集塵室3の内底部に一体に設けられた案内リブ33が摺動自在に嵌る。この案内リブ33は、除塵動作の前後方向振動ではガイドとして機能する。前後方向振動と交差する方向の動きは案内リブ33により規制される。
このため、電気掃除機本体の置かれる姿勢が横倒しになっていても案内リブ33の案内により、除塵部材150の除塵動作は作動不良を起こすことなく、円滑に行われる。
また、除塵部材150は下部横置除塵体16をストッパー18で支えているので、除塵動作で下部横置除塵体16と集塵室3の内底部は擦れ合うことなく、円滑な除塵動作が行われる。
除塵駆動伝達ユニット11の除塵バネ31は、縦置除塵体15の下端に当接する。この当接部は、縦置除塵体15の下端後部で支軸17の近傍に位置し、円弧形状を有する。この円弧面は、縦置除塵体15の幅範囲内に亘り形成されている。
この円弧面の当接部に当接する除塵バネ31は図33aからdに示すように長手方向の断面は略円形若しくは、略長円若しくは多角形ないし外周に突き出る複数の凹凸形状が当接しても、円弧面により除塵回転体12の円滑な回転が維持される。これにより、除塵部材150の振動作動が良好に行われ、集塵袋7の除塵が効率良く行われる。
図13,図20に示すように、除塵部材150の下部横置除塵体16は、前後に通じる方向から見て中央が隆起する形状を有する。このような形状に有するので、平板状のものに比べ、構造上の強度が高まり、前記集塵室3に添った形状となり、スペースを有効活用することができる。
下部横置除塵体16は、縦置除塵体15の下端後部に支軸17で片持ち支持され、かつスリット32が形成された薄手のものである。中央が隆起する強い構造であるので、折れ曲がることなく、集塵袋7を下から支えることができる。このため、下部横置除塵体16が集塵室3の内底部に接触することも生じることなく、除塵の振動動作が良好に行われる。
図13に示すように、集塵室3と後部室を仕切る中間仕切壁21は、内部流通口34を有する。内部流通口34は、電動送風機8の送風部(ファン)の吸込口に対向するように中央から片側に偏在させて設ける。
集塵室3に流入する気流は、内部流通口34を通って電動送風機8に流れる。内部流通口34には、複数の縦格子リブ35が設けられる。
図2に示すように、集塵室3に内置されると除塵部材150は、縦置除塵体15が内部流通口34のところに対向するように置かれる。縦置除塵体15の幅は、集塵室3の横幅(中間仕切壁21の横幅)より狭い。このため、コードリール9側に対応する中間仕切壁21のところには、縦置除塵体15は存在しない。
下部横置除塵体16は、縦置除塵体15の横幅より広い横幅を有し、集塵室3の内底部の横幅範囲に広がる。
集塵袋7内に吸い込まれた塵埃は、集塵袋7の後部側で内部流通口34に近いところの内側に多く付着する。この多く付着するところを積極的に除塵振動させるために縦置除塵体15の横幅を集塵室3の横幅よりも狭くした。
集塵袋7の底側は、塵埃付着の偏りは少ないので、除塵振動が出来るだけ広い範囲に
及ぶように下部横置除塵体16の横幅を縦置除塵体15よりも広くした。
なお、縦置除塵体15と下部横置除塵体16の横幅を同じにすることも可能である。
集塵袋7の天面は、特に巻き上げられた粉塵を含む微細塵が多く、集塵袋7の天面側の略中央に上部横置除塵体6を配置し除塵することにより、天面全体に振動が行き渡る。
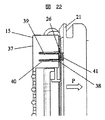
図16,図22を引用して付勢バネ26の取り付け方法について説明する。
縦置除塵体15の除塵枠体部20は、一方の側面上部にバネ収容部36を有する。
バネ収容部36は、除塵枠体部20の外側面と、前側壁37と、内側壁38で形成される。バネ収容部36の後側は壁部がなく、開放になっている。前述した一方の支持軸突起19は、外側壁38の外側に設けられている。
バネ収容部36内には、除塵枠体部20の外側面に付勢バネ26の中心を支持するバネ支持軸突起39と、付勢バネ26の左右のガタ及び倒れを防止するための補強リブ40を有する。
付勢バネ26は、図22に示すように、バネ収容部36内に収納され、付勢バネ端部41を中間仕切壁21に押圧する。これにより、縦除塵体15は付勢バネ26の力で支持軸突起19を支点としてP矢印方向の回転力が付与される。
前述したように、付勢バネ26は、除塵回転体12の回転で縦置除塵体15を押す力に抗するように作用する。除塵回転体12の回転による押力と付勢バネ26の抗する力により、除塵部材150は除塵振動動作をする。
付勢バネ26は、バネ収容部36内に挿入し、付勢バネ26の中心をバネ支持軸突起39に挿入することで簡単に組み込むことができる。また、除塵枠体部20は支持軸突起19を支持リブ22の支持孔23に嵌め込むことにより、付勢バネ端部41を中間仕切壁21に押圧して付勢バネ26として機能するようになるので、除塵枠体部20の取り付けも容易である。
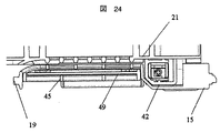
図23に示すように、保護フィルタ部45は、フィルタ支持枠46と、支骨47を縦横に設けた格子と、保持つめ48と、保護通気フィルタ49,保持突起101を有する。
フィルタ支持枠46と別体の保護通気フィルタ49は、支骨47と、保持つめ48とによりフィルタ支持枠46に保持される。
保護通気フィルタ49は、通気目が集塵袋7より粗く、フィルタ支持枠46の格子目よりも細やかで、可撓性を有する。フィルタ支持枠46の格子に添え当てた保護通気フィルタ49は、周縁を保持つめ48のところに差し込む。こうして、保護通気フィルタ49は、フィルタ支持枠46に保持される。
除塵枠体部20は、図16に示すように、下側に差込溝50を有する。この差込溝50は図23に示す保護フィルタ部45のフィルタ支持枠46の外周下側に配置される保持突起101が嵌め込まれる。
保護フィルタ部45が取り付け,取り外しができるので、除塵部材150のメンテナンスに際しては、保護フィルタ部45を取り外すことで、保護通気フィルタ49をお手入れできる。保護フィルタ部45が着いていない合成樹脂製の除塵枠体部20は撓みやすく、除塵枠体部20の着脱が容易である。
この保護フィルタ部45は、内部流通口34上流側に位置する。集塵袋7が破れても、保護フィルタ部45により、塵埃が内部流通口34を通って電動送風機8に吸い込まれるのを防止できる。
保護通気フィルタ49は、空気流の下流側面の周縁が保持つめ48で保持され、それに加え、縦置除塵体15の下流側枠体と中間仕切壁21に隣接される縦格子リブ35で抑えられるので、保護通気フィルタ49が除塵枠体部20及び保護フィルタ45から脱落する不具合は生じない。
保護フィルタ部45は、図23に示すように、フィルタ支持枠46の上部の側端に突き出す取っ手51を有する。保護フィルタ部45の取り付け,取り外しでは、取っ手51を掴んで行う。
集塵室3の内底部は、図3に示すように、隆起している。掃除機本体ケース1の前側下面にキャスター52を取り付ける窪みを設けるために隆起させた。この隆起に合うように下部横置除塵体16の中央を隆起させ、かつ強度を高めた。
これにより、下部横置除塵体16と集塵室3の内定部間にできる無駄な空間は少なく、集塵室3内で集塵袋7がより大きく膨らみ、集塵量の増加を図ることができる。
次に除塵駆動伝達ユニット11の関連について説明する。
除塵駆動伝達ユニット11は、図25に示すように、支持フレーム73を有する。
支持フレーム73は、矩形の枠体部53と、枠体部53の片側を塞ぐ底板部54と、枠体部53の短辺側に底板部54の反対側に向かって立つ二つの回転体支持板55を有する。
二つの回転体支持板55の周端縁と、枠体部53の長辺側端縁には、気密シール56が設けられる。この気密シール56は、図26に示すように、連なった環に形成されている。連なった環の気密シール56は、つなぎ合わせの隙間がないので、シール性が高まり、かつ気密シールが変形し、確実な気密を確保することができる。
気密シール56は、枠体部53と一体に合成樹脂で成型される。気密シール56は、シール機能を有するように枠体部53よりも軟質な合成樹脂で成型される。成型用の金型で成型された枠体部53を別の金型に移し、軟質の合成樹脂を注入することにより、枠体部53と気密シール56は一体に成型される。
気密シール56は、枠体部73と分離して、ばらばらになることが生じないので、組立ての際の取り扱い性が向上する。また、気密シール56は軟質の合成樹脂で形成されるので、シール性が向上する。
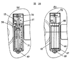
除塵駆動伝達ユニット11の除塵回転体12は、二つの回転体支持板55に回転自在に支持される。除塵回転体12は、図21に示すように、両端側に支軸74A,76Bを有する。
伝達歯車13は、除塵回転体12の一方の端部側に設けられる。伝達歯車13の軸部57を除塵回転体12の一方の端部側にネジ等で締結して固定する。伝達歯車13は除塵回転体12の端部から離間したところに位置する。
除塵回転体12内には、一方向の回転が伝達され、他方向の回転が伝達されない、いわ
ゆる一方向回転伝達クラッチ58が備わる。コードリール9の駆動歯車14、および伝達歯車13を介してコードリール9の回転は、除塵回転体12に伝達される。
コードを引き出すときには除塵回転体12は回されるが、コードを巻き取るときには除
塵回転体12は回されない。こうすることにより、コードリール9の巻取りバネを小型化でき、しかもコードの引き出しが軽くなる。
支持フレーム73の二つの回転体支持板55は、除塵回転体12の支軸74A,74Bを回転自在に支持する軸受59A,59Bを有する。伝達歯車13が設けられる支軸74Bを回転自在に支持する方の軸受59Bは、貫通するように形成される。
伝達歯車13が設けられない方の支軸74Aを支持する軸受59Aは、奥側が塞がるように形成される。軸受59Aは、奥側が塞がっているので、軸受59Aから回転体支持板55の外側に空気は漏れない。
しかし、軸受59Bは貫通しているので、回転体支持板55の外側に空気は漏れる。そこで、回転体支持板55の外面側に、軸受59Bと支軸74Bの隙間を封じる軸シール60を設けた。この軸シール60により、軸受59Bを通じて回転体支持板55の外側に漏れる空気漏洩は阻止される。
図13に示すように、掃除機本体ケース1は底面に除塵駆動伝達ユニット11が装着される装着開口部61を有する。この装着開口部61には、除塵駆動伝達ユニット11が外側から着脱自在に装着される。
このように、支持フレーム73に除塵回転体12,伝達歯車13をまとめてユニット化し、ユニットになった除塵駆動伝達ユニット11を掃除機本体ケース1の装着開口部61に取り付けるので、組立てが容易に行われる。
装着開口部61は、除塵回転体12や支持フレーム73が置かれるところには窪み部62が形成され、伝達歯車13が置かれるところには後部室(コードリール9,電動送風機8が置かれる)側に臨む開口が形成されている。
窪み部62は、図27に示すように、奥側に除塵用開口63を有する。この除塵用開口63は、集塵室3内に置かれる縦置除塵体15の下端側に臨んでいる。
また、窪み部62は、伝達歯車13が位置する方の側面側に伝達開口64を有する。この伝達開口64を介して窪み部62は、後部室側と連通している。
装着開口部61に装着された除塵駆動伝達ユニット11の除塵回転体12は、外周側の除塵バネ31が除塵用開口63から集塵室3に突き出し、縦置除塵体15の下端側(円弧面の当接部)に当接する。
伝達歯車13は、コードリール9の駆動歯車13に噛み合わされる。伝達歯車13の軸部57は、伝達開口64に置かれる。
窪み部62は、図27,図28に示すように、窪み部62の底に近い低位置段部65と、底から離れた高位置段部66とを有する。また、窪み部62は、長手方向の端側に接合突起67,68を有する。
窪み部62の低位置段部65には、気密シール56の辺56Bが当接する。窪み部62の高位置段部66には、気密シール56の辺56Aが当接する。接合突起68には、気密シール56の辺56Cが当接する。接合突起67には、気密シール56の辺56Dが当接する。
これらの当接による気密シール56のシールにより、除塵用開口63を通じ、集塵室3と掃除機本体ケース1の外側間で空気が流通するのは断たれる。このため、装着開口部61を通じて集塵室3と掃除機本体ケース1の外側間で空気が流れる空気漏れは生じない。
また、気密シール56は、窪み部62が伝達開口64を介して後部室(コードリール9,電動送風機8が置かれる)に連通するところのシールを併せてしている。このため、集塵室3と後部室の間も空気の流通は断たれ、空気漏れは生じない。
図28の(a)は、電気掃除機本体の装着開口部61に装着されている除塵駆動伝達ユニットを横方向に断面したところを示している。
図28の(b)は、除塵駆動伝達ユニット11を装着開口部61から外したところを示している。窪み部62の底に除塵用開口63が見える。また、接合突起67,68は、図示されていないが、二つの回転体支持板55のところに位置する。
窪み部62に内側面に突出するように設けられた接合突起67,68は、幅が気密シール56の幅よりも狭い。接合突起67,68に押圧された気密シール56を押し付けることにより、接合突起67,68が気密シール56に食い込み気密が向上する。
除塵駆動伝達ユニット11は、掃除機本体ケース1に設けたねじボス69,70にねじ込むネジにより締め付け固定される。除塵駆動伝達ユニット11に設けたネジ通穴71,72は、二つの回転体支持板55の外側に設けた。
二つの回転体支持板55の内側にネジ通穴を設けると、ネジ通穴にも気密を施さなければならない。ネジ通穴を二つの回転体支持板55の外側に設けることにより、気密を施す必要がなく、構成が簡単になる。
次に、本発明の第2の実施例について、図4,図6を引用して説明する。図6に示すように、集塵室3の隔壁103によって構成される溝部102に気密が保持されるように気密部材10の複数の突起部100が挿入され気密を保持している。
気密部材10の複数の突起部100のうち、集塵室3に対して最も内側に位置する第一の突起部100aの側面と集塵室3と面一若しくは外側になるように構成した気密部材10の内側面111には段差を設け、集塵室3の最も内側を構成する第一の隔壁103aの内側面112と同一面にすることによって、集塵袋(紙パック)7及び集塵ケースの着脱性が向上する。
また、第一の実施例に示した集塵室3と気密部材10の気密保持の形状を構成しようと考えた場合、少なくとも3つの隔壁から2つの溝部102を構成し、気密部材10から複数の突起部100を溝部102にテーパー勘合し、気密を保持する構成をとった場合に、
気密部材10の第一の突起部100aの側面と集塵室3の最も内側を構成する第一の隔壁103aの内側面112とを同一面、つまり気密部材10に前述したように段差を設けることにより、隔壁103の構成が最も単純で、本体自体を軽量コンパクトに構成することができ、製品としてスリム化することができる。
また、本体自体の構成の簡略化が実現できるため成形材料を総合的に削減することが出来き、更には省資源化を図ることができ環境にも優しい。
次に、本発明の第3の実施例について、図29,図30を引用して説明する。
図30に示すように、掃除機本体を運転させる際には、近年の掃除機では掃除機本体ケース1にホース差込口4を挿入し、ホース体(図示せず)の手元操作部によって本体電源の入切り及びホース体先端に接続される延長管(図示せず)を介して接続される吸込口体(図示せず)の電動回転ブラシの電源のON,OFFを手元操作部によって行われるのが一般的である。
ホース差込口4及びホース体(図示せず)及び延長管(図示せず)及び吸口体(図示せず)の各接続部には、導電性のよい接触片が備わっており、それらを接続することによって本体からの各部品(電動回転ブラシ用吸込口等)への電源供給を可能にする。
通常、掃除機本体ケース1の前側部にはホース差込口、後ろ側には手元操作部への信号と電源供給、電動送風機への電源供給等を制御する本体コントロールキバン120を備える。
本体コントロールキバン120からホース差込口4の接触片(図示せず)まで電源及び信号を伝えるために給電線121を設ける。
給電線121は、集塵室3の第二の隔壁103bと第三の隔壁103cにより形成される第二の溝部100bに配線され、第二の溝部100bと気密部材10の第二の突起部100bにより構成されるすき間によって配線される。
気密部材10の第二の突起部100bの下側に配線することによって、給電線121が第二の溝部100bから浮いて外れてしまうことを防止することが出来る。
また第二の突起部100bは給電線121の略全線を覆っているので、仮に給電線121の被覆が傷つき、電線がむき出しになっても、使用者が触れて、ケガや感電する恐れが少ない。
また、突起部を一体に形成する気密部材10は、ゴム素材をベースとした弾性体により形成されているため、絶縁性も高い。
更に、気密部材10はゴム素材をベースとした柔らかい弾性体により形成されているため、組み立て上、集塵室3の第二の溝部100bに給電線121を配線し、その後に気密部材10の第二の突起部100bにより押し込んでも、ゴム素材をベースとした弾性体により形成されているため、電線の被覆がはがれる可能性も低い。
また、気密部材10の第二の突起部100bの先端はエッジではなく、角Rがとれているのが望ましい。
図30より集塵室3の外周部に形成される給電線121を配線する第二の溝部100bの配線方向はA方向から配線しても、B方向から配線してもよい。
ホース差込口4側から配線された給電線121を第二の溝部100bから溝切り欠き部122を通して本体コントロールキバン120上のコネクタと接続される。
溝切り書き部120が複数個ある場合には例えば図30に示すように溝切り欠き部120aから給電線121を通しても、120bから給電線121を出してもよい。
切り欠き部120は給電線121の被覆が傷つかないように、角Rは出来るだけ大きめにとるのが望ましい。
給電線121は、通常の電線(丸形ケーブル)でもフラットケーブルでもよく、接続する両端部は導電性のよい接触片若しくはコネクタが接続されている。
次に、本発明の第4の実施例について、図31,図32を引用して説明する。図31に示すように、集塵室3の電動送風機8側の隔壁103の天井面は、略円弧形状を形成しており、また溝部102にテーパー合している気密部材10も集塵室3の隔壁103の天井面に沿った形状で気密に合されている。蓋体5に一体に形成されている気密リブ108も同様に気密部材10の円弧形状に沿ったかたちで形成し、天井面105に気密に干渉又は接している。

円弧状の部分の集塵室3の隔壁103が形成する溝部102と気密部材10の突起部100の構成する空間には、給電線が配線されている。
また、電動送風機8側の集塵室3の隔壁によって構成される第二の溝部102bには、気密部材10の第二の突起部100bが挿入されるが、電動送風機8側には、緩衝部110が一体に形成されないために、第二の突起部100bの先端に先端突起部100dを設け、上部ケース130の端面131で突起を第二の溝部100bに向かって押さえることにより、気密部材10の第二の突起部100bの第二の溝部100bからの浮き上がりを防止することが出来る。
また、電動送風機8側の隔壁103の構成する第二の溝部100bには切り欠き部122があり、他の溝部102の範囲よりも給電線が切り欠き部を通っているため、他の溝部102の範囲よりも気密部材10を浮かせる方向に働く力が大きく、また浮き上がる可能性が高い。従って、電動送風機8側の範囲においては、上部ケース130の端面131で先端突起部100dを押さえ、また先端突起部100dを押さえる上部ケースは複数箇所を集塵室3とねじ等で確実に固定することによって、気密部材10の外れ防止はもとより、更にはより高い気密が保たれる。
また、電動送風機8側の集塵室3の隔壁103は、本体運転時に集塵室3が負圧になり隔壁103全体が内側に引っ張られ、撓みを生じる中、最も撓みが大きい部分である、電動送風機8側の隔壁103の天井面を円弧状にすることによって、集塵室3側への隔壁の倒れ込みを改善し、また、気密部材10の先端突起部100dを押さえる上部ケースの端面131が同時に最も外側の隔壁(図中では第三の隔壁103c)を同時に押さえることにより、更に隔壁103の集塵室3内側への倒れ込みを抑制している。
これにより集塵室3の気密性を大幅に向上することが可能となる。
本発明の一実施例に係る電気掃除機本体の外観斜視図である。 本発明の一実施例に係る集塵蓋体が開かれた状態を示す電気掃除機本体の外観斜視図である。 本発明の一実施例に係る電気掃除機本体の断面図である。 本発明の一実施例に係る気密部材の断面図である。 本発明の一実施例に係る集塵室の断面図である。 本発明の一実施例に係る電気掃除機本体の気密部材付近の横断面図と部分拡大図である。 本発明の一実施例に係る除塵駆動伝達ユニットの取り付けを示した斜視図である。 本発明の一実施例に係る上部横置除塵体の斜視図である。 本発明の一実施例に係る縦置除塵体の斜視図である。 本発明の一実施例に係る下部横置除塵体の斜視図である。 本発明の一実施例に係る除塵部材への動力伝達を示す図である。 本発明の一実施例に係り、開かれた除塵部材と折り畳まれた除塵部材を側面から見たところを示す図である。 本発明の一実施例に係るシタケースを側面から見た図である。 本発明の一実施例に係る支持リブ22を拡大した図である。 本発明の一実施例に係る動力分岐機構を示す図である。 本発明の一実施例に係る除塵部材を背面から見た斜視図である。 本発明の一実施例に係る上部除塵部材を前から見た断面図である。 本発明の一実施例に係る上部除塵部材を横から見た断面図である。 本発明の一実施例に係る上部横置除塵体補助部の斜視図及び部分断面図である。 本発明の一実施例に係る除塵部材の正面図である。 本発明の一実施例に係る除塵駆動伝達ユニットの断面図である。 本発明の一実施例に係る縦置除塵体のバネ取付け部の部分断面図である。 本発明の一実施例に係る保護フィルタ部を示した斜視図である。 本発明の一実施例に係る縦置除塵体と保護フィルタ部を横方向に断面した一部拡大図である。 本発明の一実施例に係る除塵回転体を除いた除塵駆動伝達ユニットを示す図である。 本発明の一実施例に係る気密シールを示す図である。 本発明の一実施例に係る除塵用開口を示した図である。 本発明の一実施例に係る除塵駆動伝達ユニットが電気掃除機本体に装着されているところを断面した図と、除塵駆動伝達ユニットが外された電気掃除機本体の装着開口部を正面から見た図である。 本発明の一実施例に係る本体の垂直断面をとり、集塵室隔壁付近を拡大した図である。 本発明の一実施例に係る気密部材,上部ケース,ハンドル,蓋体を外し、給電線の経路を見やすくした本体の上面図である。 本発明の一実施例に係る蓋体を開いた状態の本体の正面図である。 本発明の一実施例に係る気密部材と上部ケース、集塵室を組み合わせた中央断面図である。 本発明の一実施例に係る除塵駆動伝達ユニットと電動機との組みつけを示した図である。
符号の説明
10 気密部材
100 突起部
100a 第一の突起部
100b 第二の突起部
102a 第一の溝部
102b 第二の溝部
103a 第一の隔壁
103b 第二の隔壁
103c 第三の隔壁
110 緩衝部

Claims (4)

  1. 電動送風機及び集塵室を備えた掃除機本体と、該掃除機本体に設けられ、前記集塵室を開閉自在に覆うように設けられた蓋体と、前記集塵室と前記蓋体とを気密に保持する気密部材を備えた電気掃除機において、
    前記気密部材は複数の突起部と、該突起部と一体に形成された緩衝部とを備え、
    前記集塵室は少なくともその外周部に垂直方向に立ち上がった少なくとも3つの隔壁を有し、
    前記気密部材のうち集塵室側に位置する部分は、前記少なくとも3つの隔壁のうち最も内側に位置する隔壁と略面一かもしくは前記少なくとも3つの隔壁のうち最も内側に位置する隔壁よりも外側になるように位置させ、
    前記少なくとも3つの隔壁間には、少なくとも2つの溝部が形成され、該溝部には前記複数の突起部が挿入され、前記少なくとも3つの隔壁のうち最も外側に位置した隔壁は、前記複数の突起部と一体に形成された緩衝部で覆われたことを特徴とする電気掃除機。
  2. 請求項1において、
    前記気密部材のうち集塵室側に位置する部分と、前記複数の突起のうち内側の溝に挿入される突起とには段差部が形成され、該段差部に前記少なくとも3つの隔壁のうち最も内側に位置する隔壁を位置させたことを特徴とする電気掃除機。
  3. 請求項1又は請求項2において、
    前記隔壁により構成される溝部に給電線を配線したことを特徴とする電気掃除機。
  4. 請求項1乃至3の何れかにおいて、
    電動送風機側の隔壁及び気密部材の上面形状は、略円弧状としたことを特徴とす電気掃除機。
JP2007180447A 2007-07-10 2007-07-10 電気掃除機 Expired - Fee Related JP5118908B2 (ja)

Priority Applications (1)

Application Number Priority Date Filing Date Title
JP2007180447A JP5118908B2 (ja) 2007-07-10 2007-07-10 電気掃除機

Applications Claiming Priority (1)

Application Number Priority Date Filing Date Title
JP2007180447A JP5118908B2 (ja) 2007-07-10 2007-07-10 電気掃除機

Publications (2)

Publication Number Publication Date
JP2009017903A JP2009017903A (ja) 2009-01-29
JP5118908B2 true JP5118908B2 (ja) 2013-01-16

Family

ID=40358076

Family Applications (1)

Application Number Title Priority Date Filing Date
JP2007180447A Expired - Fee Related JP5118908B2 (ja) 2007-07-10 2007-07-10 電気掃除機

Country Status (1)

Country Link
JP (1) JP5118908B2 (ja)

Family Cites Families (3)

* Cited by examiner, † Cited by third party
Publication number Priority date Publication date Assignee Title
JPH02168922A (ja) * 1988-12-23 1990-06-29 Tokyo Electric Co Ltd 電気掃除機
JPH047037U (ja) * 1990-05-09 1992-01-22
JPH08215113A (ja) * 1995-02-20 1996-08-27 Hitachi Ltd 電気掃除機

Also Published As

Publication number Publication date
JP2009017903A (ja) 2009-01-29

Similar Documents

Publication Publication Date Title
KR102129021B1 (ko) 이중 회전 애지테이터를 구비한 표면 청소 헤드
JP2009504311A (ja) 真空掃除機
JP5075738B2 (ja) 電気掃除機
JP5118908B2 (ja) 電気掃除機
JP4928847B2 (ja) 電気掃除機
JP2008005864A (ja) 電気掃除機
JP2006095062A (ja) 電気掃除機
JP4550692B2 (ja) 電気掃除機
CN101288573B (zh) 电动吸尘器
JP4673166B2 (ja) 電気掃除機
JP4602873B2 (ja) 電気掃除機
JPH0251B2 (ja)
JP2007029628A (ja) 電気掃除機
CN100393267C (zh) 电吸尘器
CN102908104B (zh) 电动吸尘器
JP5272766B2 (ja) 電気掃除機
JPS6058647B2 (ja) 電気掃除機
JP2017213158A (ja) 電気掃除機
KR101741147B1 (ko) 집진백 카트리지 탈착식 진공청소기
JP4607683B2 (ja) 電気掃除機用吸込具
JP2011041619A (ja) 集塵装置及び電気掃除機
JP2011000394A (ja) 集塵装置および電気掃除機
JP5530287B2 (ja) 電気掃除機
JP6607131B2 (ja) 吸込具及びこれを備えた電気掃除機
JPS59141918A (ja) 電気掃除機

Legal Events

Date Code Title Description
A621 Written request for application examination

Free format text: JAPANESE INTERMEDIATE CODE: A621

Effective date: 20090930

A521 Request for written amendment filed

Free format text: JAPANESE INTERMEDIATE CODE: A523

Effective date: 20090930

A977 Report on retrieval

Free format text: JAPANESE INTERMEDIATE CODE: A971007

Effective date: 20110808

A131 Notification of reasons for refusal

Free format text: JAPANESE INTERMEDIATE CODE: A131

Effective date: 20110816

A521 Request for written amendment filed

Free format text: JAPANESE INTERMEDIATE CODE: A523

Effective date: 20111006

A131 Notification of reasons for refusal

Free format text: JAPANESE INTERMEDIATE CODE: A131

Effective date: 20120104

TRDD Decision of grant or rejection written
A01 Written decision to grant a patent or to grant a registration (utility model)

Free format text: JAPANESE INTERMEDIATE CODE: A01

Effective date: 20120925

A01 Written decision to grant a patent or to grant a registration (utility model)

Free format text: JAPANESE INTERMEDIATE CODE: A01

A61 First payment of annual fees (during grant procedure)

Free format text: JAPANESE INTERMEDIATE CODE: A61

Effective date: 20121022

R150 Certificate of patent or registration of utility model

Free format text: JAPANESE INTERMEDIATE CODE: R150

Ref document number: 5118908

Country of ref document: JP

Free format text: JAPANESE INTERMEDIATE CODE: R150

FPAY Renewal fee payment (event date is renewal date of database)

Free format text: PAYMENT UNTIL: 20151026

Year of fee payment: 3

S531 Written request for registration of change of domicile

Free format text: JAPANESE INTERMEDIATE CODE: R313531

S533 Written request for registration of change of name

Free format text: JAPANESE INTERMEDIATE CODE: R313533

R350 Written notification of registration of transfer

Free format text: JAPANESE INTERMEDIATE CODE: R350

LAPS Cancellation because of no payment of annual fees