JP5118552B2 - 回転機械の軸シール装置 - Google Patents

回転機械の軸シール装置 Download PDF

Info

Publication number
JP5118552B2
JP5118552B2 JP2008132137A JP2008132137A JP5118552B2 JP 5118552 B2 JP5118552 B2 JP 5118552B2 JP 2008132137 A JP2008132137 A JP 2008132137A JP 2008132137 A JP2008132137 A JP 2008132137A JP 5118552 B2 JP5118552 B2 JP 5118552B2
Authority
JP
Japan
Prior art keywords
leaf
shaft seal
shaft
plate member
plate
Prior art date
Legal status (The legal status is an assumption and is not a legal conclusion. Google has not performed a legal analysis and makes no representation as to the accuracy of the status listed.)
Active
Application number
JP2008132137A
Other languages
English (en)
Other versions
JP2009281437A (ja
Inventor
秀和 上原
種宏 篠原
隆 中野
西本  慎
Current Assignee (The listed assignees may be inaccurate. Google has not performed a legal analysis and makes no representation or warranty as to the accuracy of the list.)
Mitsubishi Heavy Industries Ltd
Original Assignee
Mitsubishi Heavy Industries Ltd
Priority date (The priority date is an assumption and is not a legal conclusion. Google has not performed a legal analysis and makes no representation as to the accuracy of the date listed.)
Filing date
Publication date
Application filed by Mitsubishi Heavy Industries Ltd filed Critical Mitsubishi Heavy Industries Ltd
Priority to JP2008132137A priority Critical patent/JP5118552B2/ja
Publication of JP2009281437A publication Critical patent/JP2009281437A/ja
Application granted granted Critical
Publication of JP5118552B2 publication Critical patent/JP5118552B2/ja
Active legal-status Critical Current
Anticipated expiration legal-status Critical

Links

Images

Landscapes

  • Turbine Rotor Nozzle Sealing (AREA)
  • Sealing Devices (AREA)

Description

本発明は、蒸気タービン、ガスタービン等の回転軸外周の流体シールに適用され、回転機械の回転軸外周とケース部材との間の隙間を軸方向に沿って流れる流体のシールを行なう回転機械の軸シール装置に関する。
蒸気タービン、ガスタービン等においては、タービンロータの回転軸外周とケース部材の内周との間の流体シール部に、近年、従来より使用されてきたラビリンスシールに代わって、薄板からなるリーフを回転軸の周方向に沿って多数配設し、該リーフの外周部を前記ケース部材に固定するとともに内周部を自由端として該自由端と前記回転軸の外周との間に流体シール部を形成し、該リーフの軸方向両側に該リーフを通過する軸方向流体流を抑制する高圧側側板(サイドリーフ)及び低圧側側板(バックリーフ)を軸方向に対峙して設置してなるリーフ式の軸シールユニットが用いられるようになった。
かかるリーフ式の軸シールユニットをそなえた回転機械の軸シール装置の一つとして、本件出願人の出願に係る特許文献1(特開2002−13647号公報)の技術が提供されている。図11は前記特許文献1における軸シールユニットの要部斜視図である。
図11において、100は軸シールユニットで次のように構成されている。
7は回転軸、1は薄板からなるリーフで、該リーフ1は前記回転軸7の周方向に沿って多数配設され、各リーフ1の外周部を静翼等のケース部材5に背部スペーサ9を介して固定されて内周部が自由端1aとなっており、該自由端1aと前記回転軸7の外周との間に流体シール部を形成している。
該リーフ1の軸方向両側には、前記リーフを通過する軸方向流体流Gを抑制するサイドリーフ(高圧側側板)2及びバックリーフ(低圧側側板)3を、リーフ1を挟んだ形態で軸方向に対峙して設置している。
また、特許文献2(特開2005−306039号公報)には、回転軸の周方向に対するハウジングの端部に設置された金属薄板に、さらに復数枚の金属薄板が回転軸の周方向に配置されて、各分割隙間からの漏洩量を低減している。
特開2002−13647号公報 特開2005−306039号公報
図12は前記軸シールユニットの回転軸心線方向に視た構成図、図13は図12におけるZ部拡大図である。また、図14は前記軸シールユニットの分割部の形態を示す図13のY−Y矢視図である。
図12〜図14において、100は図11のように構成された軸シールユニット(図11と同一の部材は同一の符号で示す)で、該軸シールユニット100は、図12〜13に示すように、前記回転軸7の外周への組付け上、通常、周方向において2〜8分割されている。6は分割部に形成される分割隙間である。
このため、かかる軸シールユニット100においては、図14に矢印で示されるように、前記分割部の分割隙間6を通る流れCが生じ、そのため、サイドリーフ2側に漏洩する流れA,及び低圧隙間への流れBが発生する。その結果、かかる流体の洩れによって、前記分割隙間6に近い側(図14のD部)におけるリーフ1間の圧力分布が前記分割隙間6から離れた側の圧力分布よりも不安定な圧力分布となり、浮上特性が低下する。
このため、かかる軸シールユニット100においては、前記のような浮上特性の低下により、回転軸7の回転数の上昇における回転軸外周とリーフ1との間に適正隙間が形成できなくなり、高回転時におけるリーフ1と回転軸7外周との接触によって、リーフ1の磨耗やリーフ1先端の流体シール部のシール不良による流体洩れが発生し易くなる等の問題がある。
本発明はかかる従来技術の課題に鑑み、軸シールユニットの分割隙間を通っての流体洩れを抑制して、かかる流体洩れによるリーフの浮上特性の低下及びこれに伴うリーフの磨耗やリーフ先端の流体シール部のシール不良による流体洩れの発生を回避した回転機械の軸シール装置を提供することを目的とする。
本発明はかかる目的を達成するもので、回転機械の回転軸外周とケース部材との間の隙間を軸方向に沿って流れる流体のシールを行なう回転機械の軸シール装置であって、薄板からなるリーフを回転軸の周方向に沿って多数配設し、該リーフの外周部を前記ケース部材に固定し内周部を自由端として該自由端と前記回転軸の外周との間に流体シール部を形成するとともに、該リーフの軸方向両側に該リーフを通過する軸方向流体流を抑制する高圧側側板(サイドリーフ)及び低圧側側板(バックリーフ)を前記リーフを挟んで軸方向に対峙して設置してなる軸シールユニットをそなえた回転機械の軸シール装置において、
前記軸シールユニットは、前記回転軸の周方向において分割することにより形成される複数の分割隙間のそれぞれに対応する部位における前記高圧側側板と前記ケース部材との間の空間に、可撓性を有する板材を挿入して該板材により前記分割隙間を塞ぐとともに、前記板材を前記空間に係止する係止手段を設けたことを特徴とする(請求項1)。
かかる、発明において、具体的には次のように構成する。
(1)前記板材の係止手段は、一端部を前記ケース部材にスポット溶接で固定する(請求項2)。
(2)前記板材の係止手段は、一端部を前記ケース部材にかしめ結合により固定する(請求項3)。
(3)前記板材の係止手段は、前記ケース部材の前記板材に対向する部位の上部に形成した溝と、前記板材の上部を屈曲させて前記溝に係合する板材上部係合部とよりなる(請求項4)。
(4)前記板材の係止手段は、前記ケース部材の前記板材に対向する部位の中間部に形成した溝と、前記板材の中間部を屈曲させ屈曲部を前記溝に係合する板材中間係合部とよりなる(請求項5)。
特に、前記板材は、該板材の回転軸の周方向に沿う幅の、一部に前記溝及び板材中間係合部を構成して組み付ける(請求項6)。
(5)前記板材の係止手段は、前記リーフの上部と前記ケース部材の対応面との間に形成された支持面と、前記板材の上部を屈曲させて前記支持面に係合する板材上部支持部とよりなる(請求項7)。
前記回転機械が蒸気タービンまたはガスタービンのいずれかであり、前記軸シールユニットをタービンロータの回転軸外周とケース部材の内周との間の流体シール部に設置したことを特徴とする(請求項8)。
本発明によれば、薄板からなり多数配設されたリーフの軸方向両側に該リーフを通過する軸方向流体流を抑制するサイドリーフ及びバックリーフを、前記リーフを挟んで軸方向に対峙して設置してなる軸シールユニットをそなえた回転機械の軸シール装置であって、
軸シールユニットは、回転軸の周方向において分割することにより形成される複数の分割隙間のそれぞれに対応する部位における前記サイドリーフと前記ケース部材との間の空間に、可撓性を有する板材を挿入して、該板材により前記分割隙間を塞ぐとともに、板材を前記空間に係止する係止手段を設けたので(請求項1)、
前記サイドリーフと前記ケース部材との間の空間に、可撓性を有する板材を挿入したことにより、該板材により前記分割隙間を塞ぐことができ、該分割隙間そのものへの圧力流体の流路を無くすことができて、これにより分割隙間周辺の圧力分布の不連続の発生が回避される。
従って、前記のように分割隙間周辺の圧力分布の不連続の発生が回避できて、リーフの浮上特性の低下を防止でき、回転軸の回転数の上昇時においても、回転軸外周とリーフとの間に適正隙間が形成できて、高回転時におけるリーフと回転軸外周との接触が回避され、リーフの磨耗やリーフ先端の流体シール部のシール不良による流体洩れの発生を回避できる。
また、本発明によれば、前記可撓性を有する板材を、サイドリーフとケース部材との間の空間に挿入して、係止手段により空間に係止することにより、分割隙間周辺を塞いで該分割隙間周辺の圧力分布の不連続の発生を防止することができるので、従来の機器を設けたままの状態で、あるいは板材の係止手段に若干の加工を施した上で、板材を挿入するのみで、分割隙間周辺を覆うことができる。
また、かかる発明において、前記板材の係止手段は、一端部を前記ケース部材にスポット溶接で固定し(請求項2)、あるいは前記板材の係止手段は、一端部を前記ケース部材にかしめ結合により固定すれば(請求項3)従来の機器を設けたままの状態で、板材を挿入するのみで、確実に分割隙間周辺を覆うことができる。
また、かかる発明において、前記板材の係止手段は、ケース部材の板材に対向する部位の上部に形成した溝と、板材の上部を屈曲させて溝に係合する板材上部係合部とより構成する(請求項4)、あるいはケース部材の板材に対向する部位の中間部に形成した溝と板材の中間部を屈曲させ屈曲部を溝に係合する板材中間係合部とより構成する(請求項5)、あるいはリーフの上部とケース部材の対応面との間に形成された支持面と板材の上部を屈曲させて支持面に係合する板材上部支持部とより構成すれば(請求項7)、
可撓性を有する板材をサイドリーフとケース部材との間の空間に挿入して、係止手段により空間に係止することにより、分割隙間周辺を塞いで該分割隙間周辺の圧力分布の不連続の発生を防止することができ、板材の係止手段としてケース部材に若干の加工を施した上で、板材を挿入するのみで、分割隙間周辺を覆うことができる。
さらに、本発明に係る軸シールユニットは、蒸気タービンまたはガスタービンにおけるタービンロータの回転軸外周とケース部材の内周との間の流体シール部に設置される軸シール装置に最適である(請求項8)。
以下、本発明を図に示した実施の形態を用いて詳細に説明する。但し、この実施の形態に記載されている構成部品の寸法、材質、形状、その相対配置などは特に特定的な記載がない限り、この発明の範囲をそれのみに限定する趣旨ではなく、単なる説明例にすぎない。
図11は本発明が適用される蒸気タービンの軸シールユニットの要部斜視図、図12は前記軸シールユニットの回転軸心線方向に視た構成図、図13は図12におけるZ部拡大図である。
図11〜13において、100は軸シールユニットで次のように構成されている。
7は回転軸、1は薄板からなるリーフで、該リーフ1は前記回転軸7の周方向に沿って多数配設され、各リーフ1の外周部を静翼等のケース部材5に背部スペーサ9を介して固定されて内周部が自由端1aとなっており、該自由端1aと前記回転軸7の外周との間に流体シール部を形成している。
該リーフ1の軸方向両側には、前記リーフ1を通過する軸方向流体流Gを抑制するサイドリーフ(高圧側側板)2及びバックリーフ(低圧側側板)3をリーフ1を挟んだ形態で軸方向に対峙して設置している。
また、前記軸シールユニット100は、図12〜13に示すように、環状に形成されており、前記回転軸7の外周への組付け上、通常、周方向において、分割隙間6に示すように、2〜8分割されている。尚、図12〜13において図11と同一の部材は同一の符号で示す。
本発明は、前記のように構成された軸シールユニット100の分割隙間6及びその近傍の改良に関するものである。
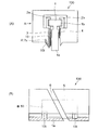
図1(A)は本発明の第1実施例にかかる蒸気タービンの軸シールユニットの円周方向に見た分割部の形態を示す図で、図13のY−Y線矢視図である。図1(B)は図1(A)におけるA視図である。
図1(A)、(B)において、1は複数のリーフ、2a,2bは軸方向に2分割されたリテーナで、前記各リーフ1はその外周部1bを該リテーナ2a,2bで図のように挟み込み、外周側に背部スペーサ(図示省略)を挿入して外周部が該リテーナ2a,2bに固定され、内周部は自由端1aとなっている。
該リーフ1の軸方向両側には、該リーフ1を通過する軸方向流体流を抑制するサイドリーフ(高圧側側板)3及びバックリーフ(低圧側側板)4が、該リーフ1を挟んだ形態で軸方向に対峙して設置されている。
5は前記軸シールユニット100を支持するシールハウジングである。
そして、該軸シールユニット100は、前記のように、環状に形成されており、前記回転軸7の外周への組付け上、通常、周方向において、分割隙間6に示すように、2〜8分割されている。
本発明の第1実施例においては、軸シールユニット100は、回転軸7(図11参照)の円周方向において、分割することにより形成される複数の前記分割隙間6のそれぞれに対応する部位における前記サイドリーフ3と前記シールハウジング5との間の空間に、可撓性を有する板材10を挿入して、図1(B)のように、該板材10により前記分割隙間6を塞ぐ。
そして、前記板材10の一端部を、シールハウジング5の突出部5aに、スポット溶接Xすることにより固定する。溶接箇所がこの図(図1(B))のように、2箇所でも複数箇所でもよい。
かかる第1実施例によれば、前記サイドリーフ3と前記シールハウジング5との間の空間に、可撓性を有する板材10を挿入したことにより、該板材10により前記分割隙間6を塞ぐことができ、該分割隙間6そのものへの圧力流体の流路を無くすことができて、これにより分割隙間6周辺の圧力分布の不連続の発生が回避される。
従って、前記のように分割隙間6周辺の圧力分布の不連続の発生が回避できて、リーフ1の浮上特性の低下を防止でき、回転軸7の回転数の上昇時における回転軸7外周とリーフ1との間に適正隙間が形成できて、高回転時におけるリーフ1と回転軸7外周との接触が回避され、リーフ1の磨耗やリーフ1先端の流体シール部のシール不良による流体洩れの発生を回避できる。
また、かかる第1実施例によれば、前記可撓性を有する板材10をサイドリーフ3とシールハウジング5との間の空間に挿入して、スポット溶接Xして空間に係止できることにより、分割隙間6周辺を塞いで該分割隙間6周辺の圧力分布の不連続の発生を防止することができるので、従来の機器を設けたままの状態で、板材10を挿入し、スポット溶接Xによって、確実に落下防止を行うことができる。
図2(A)は本発明の第2実施例にかかる蒸気タービンの軸シールユニットの円周方向に見た分割部の形態を示す図で、図13のY−Y線矢視図である。図2(B)は図2(A)におけるA矢視図である。
この第2実施例においては、前記第1実施例と同様に、回転軸7(図11参照)の円周方向において、分割することにより形成される複数の前記分割隙間6のそれぞれに対応する部位におけるサイドリーフ3とシールハウジング5との間の空間に、前記可撓性を有する板材10を挿入して、図2(B)のように、該板材10により前記分割隙間6を塞ぐ。
そして、前記板材10の下端の折返部10tを、シールハウジング5に明けた孔7aに挿入して、かしめ結合により固定する。
かしめ結合の折返部10tは、図2(B)のように、両端部の2個所でも、長さ方向全長にわたって形成しても良い。
かかる第2実施例においても、従来の機器を設けたままの状態で、孔7aとかしめ結合によって、板材10の落下防止を確実に行うことができる。
その他の構成は前記第1実施例(図1〜2)と同様であり、これと同一の部材は同一符号で示す。
図3(A)は本発明の第3実施例にかかる蒸気タービンの軸シールユニットの円周方向に見た分割部の形態を示す図で、図13のY−Y線矢視図である。図4は図3(A)におけるA矢視図である。また、図5(A1)、(B1)、(C1)は、板材10の折り曲げ方法を示す平面図であり、図5(A2)、(B2)、(C2)は、図5(A1)、(B1)、(C1)におけるC矢視であり、折り曲げた結果の形状を示す。
この第3実施例においては、回転軸7(図11参照)の円周方向において、分割することにより形成される複数の前記分割隙間6のそれぞれに対応する部位におけるサイドリーフ3とシールハウジング5との間の空間に、前記可撓性を有する板材10を挿入する。
一方、シールハウジング5の板材10に対向する部位の上部に溝5aを形成し、前記板材10の上部を屈曲させて溝5aに係合する1箇所以上の係合部10a(例えば、図4のように2箇所)を設け、図4のように、前記板材10により前記分割隙間6を塞ぐ。
また、前記板材10の折り曲げ方法は図5(A1)、(B1)、(C1)に示している。
図5(A1)は係合部10aを上縁部全体に設けて、2つ折りにする。図5(B1)は係合部10a、10aを上縁部の両側に設けて、2つ折りにする。図5(C1)は係合部10a、10aを上縁部全体に設けて、3つ折りにする。
その他の構成は前記第1実施例(図1〜2)と同様であり、これと同一の部材は同一符号で示す。
かかる第3実施例によれば、板材10の係止手段としてシールハウジング5に、溝5aの加工を施し、板材10をこの溝5aに挿入するのみで、他の構成部品は既存の部品を流用することができて、分割隙間6周辺を覆うことができる。
図6は本発明の第4実施例にかかる蒸気タービンの軸シールユニットの円周方向に見た分割部の形態を示す図である。また、図7(A1)、(B1)、(C1)は、板材10の折り曲げ方法を示す平面図であり、図7(A2)は図7(A1)のE−E線断面図であり、図7(B2)、(C2)は、図7(B1)、(C1)におけるF矢視であり、折り曲げた結果の形状を示す。
この第4実施例においては、回転軸7(図11参照)の円周方向において、分割することにより形成される複数の前記分割隙間6のそれぞれに対応する部位におけるサイドリーフ3とシールハウジング5との間の空間に、前記可撓性を有する板材10を挿入する。
一方、シールハウジング5の板材10に対向する部位の、中間部に溝5bを形成し、前記板材10の中間部を屈曲させ屈曲部を、前記溝5bに係合する板材中間係合部10cを設け、図4と同様に、前記板材10により前記分割隙間6を塞ぐ。
また、前記板材10の折り曲げ方法は図7(A1)、(B1)、(C1)に示している。
図7(A1)は係合部の中央部10cを屈曲させ該屈曲部を前記溝5bに挿入する。図7(B1)は係合部10c、10cを180°に折り曲げて前記溝5bに挿入する。図7(C1)は係合部10c、10cを2つに折り曲げて前記溝5bに挿入する。
その他の構成は前記第1実施例(図1〜2)と同様であり、これと同一の部材は同一符号で示す。
かかる第4実施例によれば、板材10の係止手段として、シールハウジング5の中間部に溝5bの加工を施し、板材10をこの溝5bに挿入するのみで、他の構成部品は既存の部品を流用することができて、分割隙間6周辺を覆うことができる。
図8は本発明の第5実施例にかかる蒸気タービンの軸シールユニットの円周方向に見た分割部の形態を示す図である(構成自体は図6と同様である)。また図9は図8のZ矢視図である。
この第5実施例においては、前記第4実施例と同様な構成であるが、図9に示すように、該板材10の回転軸7の周方向に沿う、幅の適当部分に前記溝10d及び板材中間係合部5sを構成して組み付ける。5zはシールハウジング5の分割部である。
つまり板材10が前記分割隙間6を塞ぐことができれば、前記溝10d及び板材中間係合部5sを設ける周方向の位置は、分割隙間6の周方向の位置に非対称でもよい。これによって、シールハウジング5に前記溝10dを加工する際には、片側にのみ前記溝10dを設けるのみで良くなることから、加工工程を減らすことが可能となる。
その他の構成は前記第1実施例(図1〜2)と同様であり、これと同一の部材は同一符号で示す。
図10(A)は本発明の第6実施例にかかる蒸気タービンの軸シールユニットの円周方向に見た分割部の形態を示す図で、図13のY−Y線矢視図である。図10(B)は図10(A)におけるA矢視図である。
この第6実施例においては、回転軸7(図11参照)の円周方向において、分割することにより形成される複数の前記分割隙間6のそれぞれに対応する部位におけるサイドリーフ3とシールハウジング5との間の空間に、前記可撓性を有する板材10を挿入する。
そして、前記リーフ1の上部リテーナ2aの下部面と前記シールハウジング5の対応面との間に形成された支持面2cに、前記板材10の上部を屈曲させて前記支持面2cに係合する板材上部支持部10dを挟み込み、該板材10を支持する。
かかる第6実施例によれば、板材10の係止手段として、リーフ1の上部リテーナ2aの下部面と前記シールハウジング5の対応面との間に形成された支持面2cに、前記板材10の上部を屈曲させて前記支持面2cに係合する板材上部支持部10dを挟み込むので、
リーフ1の上部リテーナ2aに支持面2cの加工を施し、板材10をこの支持面2cに挿入するのみで、他の構成部品は既存の部品を流用することができて、分割隙間6周辺を確実に覆うことができる。
本発明は、前記蒸気タービンのほか、ガスタービン、軸流圧縮機等の、回転軸外周とケース部材との間の隙間を軸方向に沿って流れる流体のシールを行なうようにした回転機械の軸シール装置全般に適用できる。
本発明によれば、軸シールユニットの分割隙間を通っての流体洩れを抑制して、かかる流体洩れによるリーフの浮上特性の低下及びこれに伴うリーフの磨耗やリーフ先端の流体シール部のシール不良による流体洩れの発生を回避した回転機械の軸シール装置を提供できる。
(A)は本発明の第1実施例にかかる蒸気タービンの軸シールユニットの円周方向に見た分割部の形態を示す図で、図13のY−Y線矢視図である。(B)は(A)におけるA矢視図である。 (A)は本発明の第2実施例にかかる蒸気タービンの軸シールユニットの円周方向に見た分割部の形態を示す図で、図13のY−Y線矢視図である。(B)は図2(A)におけるA矢視図である。 (A)は本発明の第3実施例にかかる蒸気タービンの軸シールユニットの円周方向に見た分割部の形態を示す図で、図13のY−Y線矢視図である。 図3におけるA矢視図である。 (A1)、(B1)、(C1)は、本発明の第3実施例における板材の折り曲げ方法を示す平面図であり、(A2)、(B2)、(C2)は、(A1)、(B1)、(C1)における折り曲げた結果の形状を示すC矢視である。 本発明の第4実施例にかかる蒸気タービンの軸シールユニットの円周方向に見た分割部の形態を示す図である。 (A1)、(B1)、(C1)は、本発明の第4実施例における板材の折り曲げ方法を示す平面図であり、(A2)は(A1)のE−E線断面図であり、(B2)、(C2)は、(B1)、(C1)における折り曲げた結果の形状を示すF矢視である。る。 本発明の第5実施例にかかる蒸気タービンの軸シールユニットの円周方向に見た分割部の形態を示す図である。 図8のZ矢視図である。 (A)は本発明の第6実施例にかかる蒸気タービンの軸シールユニットの円周方向に見た分割部の形態を示す図で、図13のY−Y線矢視図である。(B)は(A)におけるA矢視図である。 本発明が適用される蒸気タービンの軸シールユニットの要部斜視図である。 前記軸シールユニットの回転軸心線方向に視た構成図である。 図12におけるZ部拡大図である。 軸シールユニットの分割部の形態を示す図13のY−Y矢視図である。
符号の説明
100 軸シールユニット
1 リーフ
1a 自由端
2 サイドリーフ(高圧側側板)
2a リテーナ
2b リテーナ
2c 支持面
3 バックリーフ(低圧側側板)
5 シールハウジング
5a 溝
5b 溝
6 分割隙間
7 回転軸
7a 孔
10 板材
10a 係合部
10d 溝
X スポット溶接

Claims (8)

  1. 回転機械の回転軸外周とケース部材との間の隙間を軸方向に沿って流れる流体のシールを行なう回転機械の軸シール装置であって、薄板からなるリーフを回転軸の周方向に沿って多数配設し、該リーフの外周部を前記ケース部材に固定し内周部を自由端として該自由端と前記回転軸の外周との間に流体シール部を形成するとともに、該リーフの軸方向両側に該リーフを通過する軸方向流体流を抑制する高圧側側板(サイドリーフ)及び低圧側側板(バックリーフ)を前記リーフを挟んで軸方向に対峙して設置してなる軸シールユニットをそなえた回転機械の軸シール装置において、
    前記軸シールユニットは、前記回転軸の周方向において分割することにより形成される複数の分割隙間のそれぞれに対応する部位における前記高圧側側板と前記ケース部材との間の空間に、可撓性を有する板材を挿入して該板材により前記分割隙間を塞ぐとともに、前記板材を前記空間に係止する係止手段を設けたことを特徴とする回転機械の軸シール装置。
  2. 前記板材の係止手段は、一端部を前記ケース部材にスポット溶接で固定したことを特徴とする請求項1記載の回転機械の軸シール装置。
  3. 前記板材の係止手段は、一端部を前記ケース部材にかしめ結合により固定したことを特徴とする請求項1記載の回転機械の軸シール装置。
  4. 前記板材の係止手段は、前記ケース部材の前記板材に対向する部位の上部に形成した溝と、前記板材の上部を屈曲させて前記溝に係合する板材上部係合部とよりなることを特徴とする請求項1記載の回転機械の軸シール装置。
  5. 前記板材の係止手段は、前記ケース部材の前記板材に対向する部位の中間部に形成した溝と、前記板材の中間部を屈曲させ屈曲部を前記溝に係合する板材中間係合部とよりなることを特徴とする請求項1記載の回転機械の軸シール装置。
  6. 前記板材は、該板材の回転軸の周方向に沿う幅の、一部に前記溝及び板材中間係合部を構成して組み付けたことを特徴とする請求項5記載の回転機械の軸シール装置。
  7. 前記板材の係止手段は、前記リーフの上部と前記ケース部材の対応面との間に形成された支持面と、前記板材の上部を屈曲させて前記支持面に係合する板材上部支持部とよりなることを特徴とする請求項1記載の回転機械の軸シール装置。
  8. 前記回転機械が蒸気タービンまたはガスタービンのいずれかであり、前記軸シールユニットをタービンロータの回転軸外周とケース部材の内周との間の流体シール部に設置したことを特徴とする請求項1ないし7のいずれかに記載の回転機械の軸シール装置。
JP2008132137A 2008-05-20 2008-05-20 回転機械の軸シール装置 Active JP5118552B2 (ja)

Priority Applications (1)

Application Number Priority Date Filing Date Title
JP2008132137A JP5118552B2 (ja) 2008-05-20 2008-05-20 回転機械の軸シール装置

Applications Claiming Priority (1)

Application Number Priority Date Filing Date Title
JP2008132137A JP5118552B2 (ja) 2008-05-20 2008-05-20 回転機械の軸シール装置

Publications (2)

Publication Number Publication Date
JP2009281437A JP2009281437A (ja) 2009-12-03
JP5118552B2 true JP5118552B2 (ja) 2013-01-16

Family

ID=41452108

Family Applications (1)

Application Number Title Priority Date Filing Date
JP2008132137A Active JP5118552B2 (ja) 2008-05-20 2008-05-20 回転機械の軸シール装置

Country Status (1)

Country Link
JP (1) JP5118552B2 (ja)

Cited By (1)

* Cited by examiner, † Cited by third party
Publication number Priority date Publication date Assignee Title
US11614035B2 (en) 2018-02-19 2023-03-28 Mitsubishi Heavy Industries, Ltd. Seal segment and rotating machine

Families Citing this family (9)

* Cited by examiner, † Cited by third party
Publication number Priority date Publication date Assignee Title
US8413992B2 (en) 2009-06-16 2013-04-09 Mitsubishi Heavy Industries, Ltd. Shaft seal and rotary machine with same
JP5398651B2 (ja) * 2010-06-24 2014-01-29 三菱重工業株式会社 軸シール機構、及びこれを備えた回転機械
JP5804893B2 (ja) 2011-10-26 2015-11-04 三菱重工業株式会社 軸シール装置及びこれを備える回転機械
JP5931450B2 (ja) * 2012-01-13 2016-06-08 三菱重工業株式会社 軸シール装置及びこれを備える回転機械
JP6012505B2 (ja) * 2013-02-22 2016-10-25 三菱重工業株式会社 軸シール装置及び回転機械
DE102013219832B3 (de) * 2013-09-30 2015-03-12 MTU Aero Engines AG Bürstendichtung für eine Turbomaschine
JP6675262B2 (ja) 2016-05-09 2020-04-01 三菱日立パワーシステムズ株式会社 シールセグメント及び回転機械
CN108952826B (zh) * 2018-06-06 2020-12-18 中国航发沈阳发动机研究所 气压弹性封严装置及燃气涡轮发动机
JP7777464B2 (ja) * 2022-02-16 2025-11-28 三菱重工業株式会社 シール装置および回転機械

Family Cites Families (5)

* Cited by examiner, † Cited by third party
Publication number Priority date Publication date Assignee Title
JP3968620B2 (ja) * 1999-02-05 2007-08-29 イーグル・エンジニアリング・エアロスペース株式会社 ブラシ型シール装置
JP3616016B2 (ja) * 2000-04-28 2005-02-02 三菱重工業株式会社 軸シール機構及びガスタービン
JP3691000B2 (ja) * 2001-06-20 2005-08-31 三菱重工業株式会社 軸シール機構及びガスタービン
JP3593082B2 (ja) * 2001-10-09 2004-11-24 三菱重工業株式会社 軸シール機構及びタービン
JP3950455B2 (ja) * 2004-04-20 2007-08-01 三菱重工業株式会社 軸シール用部材及び軸シール機構及び大型流体機械

Cited By (1)

* Cited by examiner, † Cited by third party
Publication number Priority date Publication date Assignee Title
US11614035B2 (en) 2018-02-19 2023-03-28 Mitsubishi Heavy Industries, Ltd. Seal segment and rotating machine

Also Published As

Publication number Publication date
JP2009281437A (ja) 2009-12-03

Similar Documents

Publication Publication Date Title
JP5118552B2 (ja) 回転機械の軸シール装置
JP5830247B2 (ja) ラビリンスシールパッキングリングの方法及び装置
US9074486B2 (en) Method and apparatus for labyrinth seal packing ring
KR101378206B1 (ko) 회전기용 시일 조립체 및 회전기
US8628092B2 (en) Method and apparatus for packing rings
CN102362107B (zh) 轴封及具有其的旋转机械
US20070102886A1 (en) Shaft sealing mechanism
US9677669B2 (en) Shaft seal device and rotary machine
US9103222B2 (en) Turbine engine variable area vane with feather seal
EP2803883B1 (en) Shaft seal device and rotary machine with same
EP3032149B1 (en) Sealing device, rotating machine, and method for manufacturing sealing device
US8043050B2 (en) Gap seal in blades of a turbomachine
JP2003004145A (ja) 回転軸用シール
US8459653B2 (en) Seal assembly segment joints
JP3950455B2 (ja) 軸シール用部材及び軸シール機構及び大型流体機械
CN1475657A (zh) 蒸汽透平密封函水平接合密封及形成该密封的方法
JP5449976B2 (ja) 軸シール装置およびタービン装置並びに軸シール装置間隙調整方法
JP4625438B2 (ja) 回転機械の軸シール装置
CN112771248B (zh) 轮机定子、蒸汽轮机以及分隔板
US20040175263A1 (en) Method and apparatus for rotating machine main fit seal
US8444152B2 (en) Spring seal assembly and method of sealing a gap
WO2016132966A1 (ja) タービン用シール装置及びタービン、並びにシール装置用の薄板
JP3917997B2 (ja) 軸シール機構
JP7064071B2 (ja) 軸シール装置及びこの軸シール装置を備える回転機械
JP3986518B2 (ja) 軸シール機構

Legal Events

Date Code Title Description
A621 Written request for application examination

Free format text: JAPANESE INTERMEDIATE CODE: A621

Effective date: 20110201

A977 Report on retrieval

Free format text: JAPANESE INTERMEDIATE CODE: A971007

Effective date: 20120328

TRDD Decision of grant or rejection written
A01 Written decision to grant a patent or to grant a registration (utility model)

Free format text: JAPANESE INTERMEDIATE CODE: A01

Effective date: 20120925

A01 Written decision to grant a patent or to grant a registration (utility model)

Free format text: JAPANESE INTERMEDIATE CODE: A01

A61 First payment of annual fees (during grant procedure)

Free format text: JAPANESE INTERMEDIATE CODE: A61

Effective date: 20121019

R151 Written notification of patent or utility model registration

Ref document number: 5118552

Country of ref document: JP

Free format text: JAPANESE INTERMEDIATE CODE: R151

FPAY Renewal fee payment (event date is renewal date of database)

Free format text: PAYMENT UNTIL: 20151026

Year of fee payment: 3

R250 Receipt of annual fees

Free format text: JAPANESE INTERMEDIATE CODE: R250