JP5071069B2 - 発光装置 - Google Patents

発光装置 Download PDF

Info

Publication number
JP5071069B2
JP5071069B2 JP2007305489A JP2007305489A JP5071069B2 JP 5071069 B2 JP5071069 B2 JP 5071069B2 JP 2007305489 A JP2007305489 A JP 2007305489A JP 2007305489 A JP2007305489 A JP 2007305489A JP 5071069 B2 JP5071069 B2 JP 5071069B2
Authority
JP
Japan
Prior art keywords
light emitting
metal member
emitting element
emitting device
resin
Prior art date
Legal status (The legal status is an assumption and is not a legal conclusion. Google has not performed a legal analysis and makes no representation as to the accuracy of the status listed.)
Expired - Fee Related
Application number
JP2007305489A
Other languages
English (en)
Other versions
JP2008160091A (ja
Inventor
直文 炭谷
Current Assignee (The listed assignees may be inaccurate. Google has not performed a legal analysis and makes no representation or warranty as to the accuracy of the list.)
Nichia Corp
Original Assignee
Nichia Corp
Priority date (The priority date is an assumption and is not a legal conclusion. Google has not performed a legal analysis and makes no representation as to the accuracy of the date listed.)
Filing date
Publication date
Application filed by Nichia Corp filed Critical Nichia Corp
Priority to JP2007305489A priority Critical patent/JP5071069B2/ja
Priority to US11/946,597 priority patent/US7964892B2/en
Publication of JP2008160091A publication Critical patent/JP2008160091A/ja
Application granted granted Critical
Publication of JP5071069B2 publication Critical patent/JP5071069B2/ja
Expired - Fee Related legal-status Critical Current
Anticipated expiration legal-status Critical

Links

Images

Classifications

    • HELECTRICITY
    • H01ELECTRIC ELEMENTS
    • H01LSEMICONDUCTOR DEVICES NOT COVERED BY CLASS H10
    • H01L2224/00Indexing scheme for arrangements for connecting or disconnecting semiconductor or solid-state bodies and methods related thereto as covered by H01L24/00
    • H01L2224/01Means for bonding being attached to, or being formed on, the surface to be connected, e.g. chip-to-package, die-attach, "first-level" interconnects; Manufacturing methods related thereto
    • H01L2224/42Wire connectors; Manufacturing methods related thereto
    • H01L2224/44Structure, shape, material or disposition of the wire connectors prior to the connecting process
    • H01L2224/45Structure, shape, material or disposition of the wire connectors prior to the connecting process of an individual wire connector
    • H01L2224/45001Core members of the connector
    • H01L2224/45099Material
    • H01L2224/451Material with a principal constituent of the material being a metal or a metalloid, e.g. boron (B), silicon (Si), germanium (Ge), arsenic (As), antimony (Sb), tellurium (Te) and polonium (Po), and alloys thereof
    • H01L2224/45138Material with a principal constituent of the material being a metal or a metalloid, e.g. boron (B), silicon (Si), germanium (Ge), arsenic (As), antimony (Sb), tellurium (Te) and polonium (Po), and alloys thereof the principal constituent melting at a temperature of greater than or equal to 950°C and less than 1550°C
    • H01L2224/45144Gold (Au) as principal constituent
    • HELECTRICITY
    • H01ELECTRIC ELEMENTS
    • H01LSEMICONDUCTOR DEVICES NOT COVERED BY CLASS H10
    • H01L2224/00Indexing scheme for arrangements for connecting or disconnecting semiconductor or solid-state bodies and methods related thereto as covered by H01L24/00
    • H01L2224/01Means for bonding being attached to, or being formed on, the surface to be connected, e.g. chip-to-package, die-attach, "first-level" interconnects; Manufacturing methods related thereto
    • H01L2224/42Wire connectors; Manufacturing methods related thereto
    • H01L2224/47Structure, shape, material or disposition of the wire connectors after the connecting process
    • H01L2224/48Structure, shape, material or disposition of the wire connectors after the connecting process of an individual wire connector
    • H01L2224/4805Shape
    • H01L2224/4809Loop shape
    • H01L2224/48091Arched
    • HELECTRICITY
    • H01ELECTRIC ELEMENTS
    • H01LSEMICONDUCTOR DEVICES NOT COVERED BY CLASS H10
    • H01L2224/00Indexing scheme for arrangements for connecting or disconnecting semiconductor or solid-state bodies and methods related thereto as covered by H01L24/00
    • H01L2224/01Means for bonding being attached to, or being formed on, the surface to be connected, e.g. chip-to-package, die-attach, "first-level" interconnects; Manufacturing methods related thereto
    • H01L2224/42Wire connectors; Manufacturing methods related thereto
    • H01L2224/47Structure, shape, material or disposition of the wire connectors after the connecting process
    • H01L2224/48Structure, shape, material or disposition of the wire connectors after the connecting process of an individual wire connector
    • H01L2224/481Disposition
    • H01L2224/48151Connecting between a semiconductor or solid-state body and an item not being a semiconductor or solid-state body, e.g. chip-to-substrate, chip-to-passive
    • H01L2224/48221Connecting between a semiconductor or solid-state body and an item not being a semiconductor or solid-state body, e.g. chip-to-substrate, chip-to-passive the body and the item being stacked
    • H01L2224/48225Connecting between a semiconductor or solid-state body and an item not being a semiconductor or solid-state body, e.g. chip-to-substrate, chip-to-passive the body and the item being stacked the item being non-metallic, e.g. insulating substrate with or without metallisation
    • H01L2224/48227Connecting between a semiconductor or solid-state body and an item not being a semiconductor or solid-state body, e.g. chip-to-substrate, chip-to-passive the body and the item being stacked the item being non-metallic, e.g. insulating substrate with or without metallisation connecting the wire to a bond pad of the item
    • HELECTRICITY
    • H01ELECTRIC ELEMENTS
    • H01LSEMICONDUCTOR DEVICES NOT COVERED BY CLASS H10
    • H01L2224/00Indexing scheme for arrangements for connecting or disconnecting semiconductor or solid-state bodies and methods related thereto as covered by H01L24/00
    • H01L2224/01Means for bonding being attached to, or being formed on, the surface to be connected, e.g. chip-to-package, die-attach, "first-level" interconnects; Manufacturing methods related thereto
    • H01L2224/42Wire connectors; Manufacturing methods related thereto
    • H01L2224/47Structure, shape, material or disposition of the wire connectors after the connecting process
    • H01L2224/49Structure, shape, material or disposition of the wire connectors after the connecting process of a plurality of wire connectors
    • H01L2224/491Disposition
    • H01L2224/4911Disposition the connectors being bonded to at least one common bonding area, e.g. daisy chain
    • H01L2224/49113Disposition the connectors being bonded to at least one common bonding area, e.g. daisy chain the connectors connecting different bonding areas on the semiconductor or solid-state body to a common bonding area outside the body, e.g. converging wires
    • HELECTRICITY
    • H01ELECTRIC ELEMENTS
    • H01LSEMICONDUCTOR DEVICES NOT COVERED BY CLASS H10
    • H01L2224/00Indexing scheme for arrangements for connecting or disconnecting semiconductor or solid-state bodies and methods related thereto as covered by H01L24/00
    • H01L2224/73Means for bonding being of different types provided for in two or more of groups H01L2224/10, H01L2224/18, H01L2224/26, H01L2224/34, H01L2224/42, H01L2224/50, H01L2224/63, H01L2224/71
    • H01L2224/732Location after the connecting process
    • H01L2224/73251Location after the connecting process on different surfaces
    • H01L2224/73265Layer and wire connectors

Landscapes

  • Led Device Packages (AREA)
  • Led Devices (AREA)

Description

本発明は、発光装置に関し、より詳細には、発光ダイオード等の発光素子を使用した発光装置に関する。
今日、半導体発光素子を用いた情報末端機器は、光プリンタなどとして重要な位置を占めている。特に、RGB(赤色系、緑色系、青色系)がそれぞれ高輝度に発光可能な導体発光素子が開発されたことに伴い、フルカラー化が可能となった。
たとえば、赤色系LED、緑色系LEDおよび青色系LEDをそれぞれ実装したリードフレームを一定間隔をあけて絶縁するように保持してなる発光装置が知られている。
しかし、このような発光装置は、各リードフレームが接触しないよう、離間させなければならないことから、各素子が離れて配置されることになり、このため光の混色性が悪くなるという問題がある。
これに対し、赤色系LED、緑色LEDおよび青色LEDに個別に電圧を印加するために、それぞれ独立したリードフレームを互いに絶縁し、それらリードフレームのうちのひとつに、赤色系LEDの底面に形成された電極、緑色LEDおよび青色LED双方の底面に形成された絶縁性基板が接するように載置された発光装置が提案されている(例えば、特許文献1)。この発光装置では、このような構成により、小型化を図りながら各色の光の混色性を向上させている。
特開2003−17753号公報
しかし、駆動速度の高速化、発光素子の高輝度化や長時間使用時など、より厳しい環境下において、上記のような半導体発光素子を利用した光源部を駆動させると、発光素子自体の駆動に伴う発熱により、発光素子から放出される発光波長がずれる。特に、波長の変動幅の大きい発光素子と熱源となり得るような発熱量の大きい発光素子とを同一基材上、同一層上に近接して載置すると、昇温に伴って色バランスが崩れる。このような色バランスの崩れは、電気的/光学的特性を用いてセンシングするスキャナー、光プリンタ機器のように極わずかの特性変動によって、致命的な悪影響を招くこととなる。
そこで、本発明は、色の混色性を向上させるとともに、色バランスの不均一化を最小限に止めることができる高品質な発光装置を提供することを目的とする。
本発明の発光装置は、上面に第1の半導体発光素子が搭載された第1の金属部材と、
上面に第2の半導体発光素子が搭載され第2の金属部材と、
前記第1の半導体発光素子および前記第2の半導体発光素子からの光を取り出すことが可能な窓部を上面に有する樹脂パッケージと、を有する発光装置であって、
前記第2の金属部材は、その周縁部が中央部よりも膜厚(「板厚」ともいう、以下同じ)が薄く、前記第2の半導体発光素子が搭載された領域の裏面が、前記樹脂パッケージから露出しており、
前記第1の金属部材は、その裏面が前記周縁部の上面と対向していることを特徴とする。
この発光装置においては、前記第1の半導体発光素子と前記第2の半導体発光素子とは、異なる波長を発光することが好ましい。
また、前記第2の金属部材は、その裏面が前記樹脂パッケージの裏面から露出していることが好ましい。
さらに、前記薄膜(「薄板」ともいう、以下同じ)の周縁部は、角部に切欠を有しており、前記樹脂パッケージは、その裏面であって、少なくとも1つの前記角部の切欠に対応する位置に、凹部を有することが好ましい。
また、前記薄膜状の周縁部には、角部以外の一部において、薄膜状(「薄板状」ともいう、以下同じ)の周縁部よりもさらに膜厚が薄い極薄部が形成されており、該極薄膜部の側面に側方に突出する突起を有することが好ましい。
さらに、前記樹脂パッケージから露出した第2の金属部材は、裏面からの平面視において、角部に切欠を有する突出部を有していることが好ましい。
本発明によれば、2つの発光素子を異なる部材上に載置することができるとともに、それらの距離を最小限とすることにより、長時間使用時などのより厳しい環境下においても、駆動速度の高速化及び発光素子の高輝度化の要求を満足させながら、色バランスの不均一化を防止し、色の混色性を向上させることができる高品質の発光装置が得られる。
本発明の発光装置は、主として、第1及び第2の半導体発光素子(以下、単に「発光素子」を記す場合がある)と、これら発光素子を載置する第1及び第2の金属部材と、樹脂パッケージとから構成される。
(半導体発光素子)
発光素子は、半導体からなるものであればよいが、いわゆる発光ダイオードと呼ばれる素子が好ましい。例えば、基板上に、InN、AlN、GaN、InGaN、AlGaN、InGaAlN等の窒化物半導体、III-V族化合物半導体、II-VI族化合物半導体等、種々の半導体によって、活性層を含む積層構造が形成され、一対の電極を有するものが挙げられる。電極は、対向する面に正および負の電極がそれぞれ形成されたものであってもよく、同一面側に正および負の電極がともに形成されていてもよい。この場合の正および負の電極は、必ずしも1つずつ形成されていなくてもよく、それぞれ2つ以上形成されていてもよい。
本発明の発光装置では、少なくとも第1及び第2の発光素子が搭載されている。これらの2つの発光素子は、同じ種類のものが2つ搭載されていてもよいが、発熱量の異なるものであることが好ましい。発熱量の差異は特に限定されないが、通常、上述した半導体材料の種類に起因する発熱量の差異とすることができる。また、発熱量の異なる2種類の発光素子は、活性層から照射される光の波長が異なるものと言い換えることができる。両者の発熱量の差異の程度は特に限定されるものではなく、例えば、赤色系の発光素子と、緑色系又は青色系の発光素子との間の差異を例示することができる。また、2つの発光素子のみでなく、3つ以上の発光素子が搭載されているものであってもよい。この場合、2種類の異なる発熱量又は波長の発光素子でもよいし、3種以上の異なる発熱量又は波長の発光素子でもよい。
この発光素子は、後述する金属部材に搭載される。発光素子を金属部材に搭載するためには、接合部材が用いられる。例えば、青又は緑発光を有し、サファイア基板上に窒化物半導体を成長させた発光素子の場合には、エポキシ樹脂、シリコーン等の樹脂部材を用いることができる。また、発光素子からの光や熱による樹脂部材の劣化を考慮して、発光素子裏面にAlメッキをしてもよい。また、接合部材として樹脂を使用せず、Au−Sn共晶などの半田、低融点金属等のろう材を用いてもよい。さらに、GaAs等からなり、赤色発光を有する発光素子のように、両面に電極が形成された発光素子の場合には、銀、金、パラジウムなどの導電性ペースト等によってダイボンディングしてもよい。
また、この発光素子は、通常、後述する金属部材とワイヤによって電気的に接続されている。ワイヤは、発光素子の電極とのオーミック性が良好であるか、機械的接続性が良好であるか、電気伝導性及び熱伝導性が良好なものであることが好ましい。熱伝導率としては、0.01cal/S・cm2・℃/cm程度以上が好ましく、さらに0.5cal/S・cm2・℃/cm程度以上がより好ましい。作業性などを考慮すると、ワイヤの直径は、10μm〜45μm程度であることが好ましい。このようなワイヤの材料としては、例えば、金、銅、白金、アルミニウム等の金属及びそれらの合金が挙げられる。なかでも、接合信頼性、接合後の応力緩和等の観点から、金が好ましい。
(金属部材)
金属部材は、通常、発光素子と電気的に接続するための電極及び/又は発光素子を搭載する基台としての役割を果たすものであり、特に、第1の金属部材は、主として、電極及び基台としての役割を果たし、第2の金属部材は、主として基台の役割を果たす。なお、本発明においては、第1及び第2の金属部材以外に、1又は2以上のさらなる金属部材が設けられていてもよい。このような金属部材には、上述したように、2種類の異なる発光素子と同じ又は異なる種類の発光素子が、1個以上、搭載されていてもよい。
金属部材は、実質的に板状であればよく、波形板状、凹凸を有する板状であってもよい。その膜厚は均一であってもよいし、部分的に厚膜(「厚板」ともいう、以下同じ)又は薄膜(「薄板」ともいう、以下同じ)であってもよい。材料は特に限定されず、熱伝導率の比較的大きな材料(例えば、200W/(m・K)程度以上)、比較的大きい機械的強度を有するもの、あるいは打ち抜きプレス加工又はエッチング加工等が容易な材料で形成することが好ましい。このような材料で形成することにより、発光素子で発生する熱を効率的に逃がすことができる。具体的には、銅、アルミニウム、金、銀、タングステン、鉄、ニッケル等の金属又は鉄−ニッケル合金、燐青銅等の合金等が挙げられる。また、金属部材の表面には、搭載される発光素子からの光を効率よく取り出すために反射メッキが施されていることが好ましい。
特に、第2の金属部材は、その中央部よりも周縁部において薄膜であることが好ましい(以下、薄膜となった周縁部を、「薄膜の周縁部」と記す)。薄膜の周縁部とは、第2の金属部材の一部又は全部であってもよいし、1ヶ所のみであってもよいし、複数ヶ所にあってもよい。なお、この薄膜の周縁部は、断面形状を見た場合、側面に凸部が形成されているとも言い換えることができる。第2の金属部材の薄膜の周縁部は、その全てが同じ膜厚でなくてもよく、その中央部よりも薄ければ、複数の膜厚又は不均一な膜厚に設定されていてもよい。このような膜厚が異なる部位は、段階的に異なっていてもよいし、傾斜的に異なっていてもよい。また、特定の部位のみに、より薄膜の部位を設けてもよい。薄膜状の周縁部は、第2の金属部材の表面側及び/又は裏面側において薄くなっていてもよいし、部分的に表面側が、部分的に裏面側が薄くなっていてもよいが、表裏面側の双方において部分的又は全体的に薄くなっていることが好ましい。第2の金属部材は、例えば、最も厚膜(厚い)部分(中央部)で0.3mm〜2mm程度、最も薄膜(薄い)部分(薄膜の周縁部)で0.05mm〜0.2mm程度であることが適している。この範囲の薄さとすることにより、後述するように、第1の金属部材とオーバーラップする場合に、厚み方向の長さを最小限にとどめることができるとともに、第2金属部材に十分な放熱効果を発揮させることができる。薄膜状の周縁部の幅は、特に限定されるものではないが、例えば、総長さ4.95mm程度以下であることが適している。このような薄膜状の周縁部を有していることにより、平面積を確保することにより、放熱効果を十分に維持したまま、後述するように、他の金属部材、例えば、第1の金属部材とこの薄膜の周縁部とをオーバーラップさせて、第1及び第2の金属部材上に載置されている発光素子同士の距離を所定の距離又は最小限の距離で配置することができ、色バラツキを低減することができる。しかも、他の金属部材とオーバーラップさせても、厚みを最小限に止めることができ、より小型化を実現することができる。
なお、図2(a)〜(c)に示すように、薄膜の周縁部12aが第2の金属部材12の全周囲に存在する場合には、第2の金属部材12自体の形状にかかわらず、第2の金属部材12の薄膜状の周縁部12aの角部が切欠かれた形状(切欠:12d)となっていることが好ましい。いいかえると、平面視における薄膜状の周縁部12aの角部は、その幅が、その辺部と同等かそれよりも小さくなるように形成されているか、その角部に窪みが形成されていることが好ましい。この切欠12dは、平面視における薄膜状の周縁部12aの角部全体が(例えば、幅方向に)切欠かれているよりは、一部のみが切欠かれていることが好ましい。この切欠12dの形状は、段階的に切欠かれた形状、直線的に切欠かれた形状、正方形、ひし形、多角形の一部で角状に欠かれたような形状であってもよいが、円、楕円、放物線の一部で丸く欠かれたような曲面からなる傾斜的な形状であることが好ましい(図2(a)の12d参照)。このような角部の切欠は、第2の金属部材が後述する樹脂パッケージ内に埋め込まれる場合に、第2の金属部材の樹脂パッケージ内でのずれを防止するために利用することができ、適所に第2の金属部材を配置することを可能にする。
また、第2の金属部材は、薄膜状の周縁部であって、角部以外の一部において、薄膜状の周縁部よりもさらに薄い極薄部が形成されていることが好ましい。この極薄部は、角部以外の全部に形成されていてもよいし、1ヶ所のみ、2ヶ所以上形成されていてもよい。平面視において、第2の金属部材の対向する辺に、対称に形成されていることが好ましい。また、極薄部は、平面視において、第2の金属部材の薄膜状の周縁部の全幅方向(図2(a)中、矢印Xの方向)に形成されていなくてもよい。これにより、第2金属部材の上面に搭載される第2の発光素子の熱引き効率を妨げることなく発光装置全体の一体性を高めることができる。この極薄部は、例えば、0.3mm程度以下の膜厚(厚さ)、好ましくは0.28mm程度以下の膜厚(厚さ)、幅(図2(a)中、矢印Xの方向)1.0mm程度以下、好ましくは0.8mm程度以下であることが適当である。なお、この極薄部は、薄膜状の周縁部の表面側及び/又は裏面側において薄くなっていてもよいが、部分的に裏面側が薄くなっていることが好ましい。
極薄部の側方には、さらに突起が形成されていてもよい。この突起は、第2の金属部材の極薄部における側面に形成されているものであり、通常、この極薄部よりもさらに膜厚が薄い。この突起は、通常、極薄部を形成する場合のバリとして、例えば、上側又は下側からのプレスによるバリとして形成されるが、これにより、樹脂パッケージ内において、樹脂パッケージに食い込むことにより、樹脂パッケージと第2の金属部材の密着性を確実にすることができる。
第2の金属部材は、その裏面が、後述する樹脂パッケージから露出するように配置されている。ここで、裏面とは、発光素子が載置された面と対向する側の面を指す。これにより、第2の金属部材の放熱効果を向上させることができる。樹脂パッケージの裏面から露出した第2の金属部材の裏面は、第2の金属部材の最も厚膜(厚板)の部分と、薄膜(薄板)状の周縁部とを併せた平面形状から、極薄部の平面形状を差し引いた形状をしており、平面形状において、その角部には、上述した切欠に相当する形状の突出部(図1(c)中、12c参照)を有している。この突出部の形状は、特に限定されるものではなく、一部において切欠を有する三角形、四角形、多角形、円又は扇形及び銀杏葉形状等、ならびにこれに近似する形状及びこれらの一部が変形した形状など、種々の形状とすることができる。このように突出部を有していることにより、樹脂パッケージ裏面のこの部位への半田付け、熱引き部材の接続などを良好にすることができる。
なお、第2の金属部材は、上記を満たす形状であれば、その形状については特に限定されないが、通常、薄膜状の周縁部、極薄部、角部の突出部、切欠などを考慮しない基本形状は、多角形、さらに四角形又はそれに近似する形状であることが好ましい。このような形状にすることにより、同面積で効率的な放熱効果を発揮させることができる。
このような第2の金属部材は、その一部が第1の金属部材とオーバーラップするように、後述する樹脂パッケージによって固定されている。つまり、第1の金属部材と樹脂パッケージを介して近傍に設けられる薄膜状の周縁部の上面が、第1の金属部材の裏面と対向している。これにより、厚さ方向の長さを増大させることなく、第2の金属部材上に載置した第2の発光素子と、第1の金属部材上に載置した第1の発光素子との距離をできるだけ短く配置することができる。例えば、第1の金属部材の端部から、表面に第2の発光素子を載置される第2の金属部材の端部までの距離は、0.5mm〜2mm程度が挙げられる。
通常、金属部材は、発光素子を搭載し、発光素子と接続される領域の他に、外部と接続するリード端子として延長する領域を有している。リード端子は、本発明の発光装置の実装タイプ(例えば、サイドビュータイプ、トップビュータイプなどの表面実装型(SMD)、リード端子を基板などに挿入して用いる挿入型等)、使用態様に応じて、適宜屈曲、変形させることができる。
また、金属部材、例えば、第1の金属部材及び/又は他の金属部材は、発光素子を載置する領域、電気的な接続を行う領域以外に、放熱効率を向上させるために、拡張/幅広部が形成されていてもよい。この場合、拡張/幅広部は、樹脂パッケージ外に及んでいることが好ましい。また、この拡張/幅広部は、樹脂パッケージの外表面に沿って屈曲、変形等されていてもよい。
(樹脂パッケージ)
本発明の発光装置は、少なくとも、第1及び第2の金属部材が樹脂パッケージにより固定されている。この樹脂パッケージは、複数の金属部材を一体的に又は塊状に、成形、固定、封止又は被覆するものであればよく、一般に、金属部材を固定する成形/固定樹脂と、発光素子及びワイヤ等を被覆する封止/被覆樹脂とによって構成される。いずれの場合においても、材料としての樹脂は、発光素子等に対して、絶縁性を確保することができるものであれば、どのような材料でもよい。例えば、成形/固定樹脂としては、ポリフタルアミド(PPA)、ポリカーボネート樹脂、ポリフェニレンサルファイド(PPS)、液晶ポリマー(LCP)、ABS樹脂、エポキシ樹脂、フェノール樹脂、アクリル樹脂、PBT樹脂等の樹脂等が挙げられる。なかでも、乳白色の樹脂など、遮光性を有する材料であることが好ましい。また、封止/被覆樹脂としては、シリコーン樹脂、ユリア樹脂等の耐候性に優れた透光性の樹脂を用いてもよい。ここで、透光性とは、発光素子から出射された光を70%程度以上、80%程度以上、90%程度以上、95%程度以上透過させる性質を意味する。
成形/固定樹脂と封止/被覆樹脂との組み合わせてにおいては、発光素子等から生じた熱の影響を受けた場合の両者の密着性等を考慮して、互いに熱膨張係数の差が小さいものを選択することが好ましい。
また、これらの材料には、着色剤として、種々の染料又は顔料等を混合して用いてもよい。例えば、Cr23、MnO2、Fe23、カーボンブラック等が挙げられる。
さらに、これらの材料には、拡散剤又は蛍光物質を含有させてもよい。拡散剤は、光を拡散させるものであり、発光素子からの指向性を緩和させ、視野角を増大させることができる。蛍光物質は、発光素子からの光を変換させるものであり、発光素子から樹脂パッケージの外部へ出射される光の波長を変換することができる。発光素子からの光がエネルギーの高い短波長の可視光の場合、有機蛍光物質であるペリレン系誘導体、ZnCdS:Cu、YAG:Ce、Eu及び/又はCrで賦活された窒素含有CaO−Al23−SiO2などの無機蛍光物質など、種々好適に用いられる。
樹脂パッケージ(成形/固定樹脂)では、その大きさ及び形状は特に限定されるものではなく、例えば、円柱、楕円柱、球、卵形、三角柱、四角柱、多角柱又はこれらに近似する形状等どのような形状でもよいが、発光素子が配置する領域において金属部材が露出するように、あるいは、発光素子からの光を取り出すことができる領域に窓部が形成されていることが好ましい。また、これらの領域において、集光のためのレンズが一体形成されていてもよい。窓部の大きさ及び形状は、本発明の発光装置に搭載される発光素子の合計の占有面積よりも大きければ、特に限定されるものではない。
樹脂パッケージ(成形/固定樹脂)の窓部内の底面及び/又は壁部は、基板及び金属部材と連続した材料であってもよく、電気的接続または放熱経路を形成するため、金属部材の一部が露出していてもよい。樹脂パッケージ(成形/固定樹脂)の窓部の内側には発光素子からの光を反射する反射材料が設けられていてもよく、窓部を封止/被覆する樹脂は、集光のためにリフレクタ形状に形成されていてもよい。
この樹脂パッケージ(成形/固定樹脂)は、上述したように、その裏面において、第2の金属部材を露出させており、この第2の金属部材の一部に接触するように、凹部が形成されている。通常、樹脂パッケージ(成形/固定樹脂)は、金属部材(好ましくは、複数)がインサートされて閉じられた金型内に、所定の箇所に形成されたゲートから、溶融した上記材料を流し込み、硬化させることにより、金属部材と一体的に形成される。この場合、成形/固定樹脂による樹脂パッケージを金型から取り出したときに第2の金属部材の一部が裏面において露出するように、第2の金属部材を金型内の所定の位置に配置し、樹脂の流し込みによっても位置ずれを起こさないように固定する必要があり、このような目的のために、金型の一部に(例えば、薄膜の周縁部の角部の切欠に対応する位置に)、位置決めのためのピン部材を挿入し、固定する孔が形成されている。本発明の発光装置の樹脂パッケージ(成形/固定樹脂)においては、このようなピン部材を抜き取った際に、例えば、薄膜の周縁部の角部の切欠に対応する位置に、このようなピン部材の挿入に起因する凹部が形成されている。このような凹部が形成されることにより、例えば、本発明の発光装置を実装基板に実装し、裏面の第2の金属部材の露出部を半田などで固定する際に、余剰の半田等を逃がす空間を確保することができることとなる。
本発明の発光装置には、所定の発光素子の他、保護素子が搭載されていてもよい。保護素子は、1つでもよいし、2つ以上の複数個でもよい。ここで、保護素子は、特に限定されるものではなく、発光装置に搭載される公知のもののいずれでもよい。例えば、過熱、過電圧、過電流等に対する保護回路用の素子(例えば、静電保護素子)等が挙げられる。具体的には、ツェナーダイオード、トランジスタダイオード等が利用できる。
さらに、本発明の発光装置は、発光装置の一部として又は樹脂パッケージ(成形/固定樹脂)表面に付属するように、例えば、発光素子の光の出射部(例えば、発光素子の上方)に、プラスチック又は硝子からなるレンズ等が備えられていてもよい。また、発光素子からの光の取り出しを効率的に行うために、反射部材光拡散部材等が備えられていてもよく、光量を調整するための反射防止部材等種々の部材が備えられていてもよい。
以下に、本発明の発光装置の実施例を図面に基づいて詳細に説明する。
実施例1
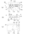
この実施例の発光装置10は、図1(a)〜(c)に示したように、サイドビュータイプの発光装置であって、第1の金属部材11aと、第2の金属部材12と、端子として機能する他の金属部材11b〜11dが、樹脂パッケージ(成形/固定樹脂)15に固定され、これら金属部材11a〜11dの他端が、樹脂パッケージ15の一面において突出して構成されている。
樹脂パッケージ15は、例えば、PBT、PPA等、従来から用いられている樹脂パッケージ材料によって形成されており、その基本形状は、例えば、10mm×14.5mm×1.5mmの大きさの略直方体である。また、その一面に、後述する発光素子から出射される光を取り出すための窓部15aが形成されている。
第1の金属部材11a上には、比較的発熱量の小さい3つの発光素子13が載置されている。この発光素子13は、主波長が約630nmの赤色発光を有するAlInGaP/GaAs半導体によって形成されている。この発光素子13は、例えば、銀ペーストによって、第1の金属部材11a上にダイボンディングされている。なお、これら発光素子13の間隔は、0.6mm程度に設定されている。また、この第1の金属部材は、他の金属部材よりも幅が広く設定させている。
第2の金属部材(サイズ:2.1mm×1.2mm)12上には、平面視、略長方形の形状をしており、比較的発熱量の大きな2つの発光素子14が載置されている。このような発光素子14は、例えば、サファイア基板上にn型GaNよりなるn型コンタクト層と、n型AlGaNよりなるn型クラッド層と、InN、AlN、GaN、InGaN、AlGaN、InGaAlN等の窒化物半導体からなる発光層と、p型AlGaN又はInGaNよりなるp型クラッド層と、p型GaNよりなるp型コンタクト層とが順次に積層されて、主波長が約470nmの青色発光を有するInGaN半導体又は主波長が約525nmの緑色発光を有するInGaN半導体によって形成されている。この発光素子14は、例えば、エポキシ樹脂を用いてダイボンディングされている。なお、これら発光素子14の間隔は、1.05mm程度に設定されている。
また、他の金属部材として、発光素子13、14の一方の電極に電気的に接続される金属部材11bと、発光素子14の他方の電極にそれぞれ電気的に接続される金属部材11c、11dとが、樹脂パッケージ15によって、ともに固定されている。金属部材と電極との接続は、例えば、直径10μm程度の金線からなるワイヤによって行われている。
第1の金属部材11a及び他の金属部材11b〜11dは、例えば、0.15mm厚、第2の金属部材12は、例えば、0.85mm厚の銀メッキ銅板を、プレスを用いた打ち抜き加工により形成されたものである。なお、任意に、プレス後にめっきを行ってもよい。また、第2の金属部材12において、後述する薄膜の周縁部12aは、プレス加工し、極薄部12e及び突起12bは、第2の金属部材12の裏面側からのプレスによって、形成することができる。
特に、第2の金属部材12は、図2(a)〜(c)に示したように、その全周縁部において、その中央部よりも膜厚が薄い、薄膜状の周縁部12aを有している。この薄膜状の周縁部12aは、上面側の高さが小さくなるように形成されており、例えば、その高さが0.4mm程度、幅(図2(a)中、矢印X)が0.2mm程度である。
また、第2の金属部材12は、平面形状において、薄膜状の周縁部12aの角部が面取りされたような形状の切欠12dを有している。
角部以外の周縁部12aの一部に、この周縁部12aよりもさらに膜厚が薄い極薄部12eが形成されている。この極薄部12eの膜厚(高さ)は、例えば、0.2mm程度であり、下面側の高さが小さくなるように形成されている。この極薄部12eの幅(図2(a)中、矢印X方向の長さ)は、0.2mm程度である。また、極薄部12eは、その側方に突出する突起12bを有している。この突起12bは、極薄部12eが配置する部位の略全側方に形成されている。この突起12bの側方への突出長さ(図2(a)中、矢印X方向の長さ)は0.15mm程度、厚み(高さ)は0.15mm程度である。
この第2の金属部材12の裏面は、図1(c)に示すように、樹脂パッケージ15の裏面から露出している。第2の金属部材12の露出形状(裏面からの平面視において)は、上述したように、第2の金属部材12の上面側から高さが小さくなる薄膜状の周縁部12aと、その角部の切欠12dと、第2の金属部材12の下面側から高さが小さくなる極薄部12eとの形状に起因して、基本形状が略長方形であるが、その4つの角部に、面取り様の切欠12dを有する銀杏葉様の突出部12cを有する形状となっている。
樹脂パッケージ15内では、図1(b)に示すように、第2の金属部材12の薄膜状の周縁部12aの上面に、第1の金属部材11aの一部の裏面が、オーバーラップするように、対向して配置されている。
さらに、樹脂パッケージ15における第2の金属部材12の露出面には、第2の金属部材12の4つの角部の切欠12dに対応する位置に、切欠12dの側面の一部が露出する凹部16を有している。この凹部16は、例えば、直径0.6mm程度の円形で、深さが0.5mm〜0.8mm程度である。
樹脂パッケージ15は、第1、第2、その他の金属部材11a〜11d、12がインサートされて閉じられた金型内に、下面に形成されたゲートから、溶融した樹脂材料を流し込み、硬化させることにより、金属部材と一体的に形成される。この場合、第2の金属部材12を、上述した位置に収めるために、金型の所定の位置にピンを挿入する孔が形成されており、その孔からピンを差し込み、ピンを、第2の金属部材12の突出部12cに形成された切欠12dに当接させ、固定する。樹脂材料を流し込み、樹脂材料を硬化後成形部材をから離型する際、ピンを抜き取る。この際、樹脂パッケージ15の裏面に、ピンの抜き取りに起因する凹部16が形成される。
このような樹脂パッケージ15には、図示しないが、金属部材のいずれかに、保護素子が搭載されている。
また、発光素子13、14が搭載された樹脂パッケージ15の窓部15a内には、エポキシ樹脂からなる透光性被覆材が充填され、硬化されている。
このような構成の発光装置によれば、発熱量が異なる2種類の発光素子を、2つの分離された金属部材に載置するために、発熱量の大きな発光素子の熱が、発熱量の小さな発光素子に直接影響を及ぼすことなく、両者の発光波長をずらすことなく、色バランスを長時間にわたって維持することができる。
第2の金属部材の周縁部を薄膜状にすることにより、第1の金属部材の一部をその薄膜状の周縁部にオーバーラップさせることができ、第2の金属部材について放熱を十分に行うことができる平面積を確保しながら、第1の金属部材と第2の金属部材との距離を短くし、ひいては、それらの上に載置された発光素子間の距離を最小限にすることができ、色バランスのずれを防止することができる。
また、第2の金属部材の一面が樹脂パッケージの裏面側において露出しているために、より放熱効果を向上させることができる。
さらに、第2の金属部材の薄膜状の周縁部の角部に切欠を有しているため、樹脂パッケージをモールドする際に、切欠の形状を利用して、つまり、この形状に当接するピン等を用いて、第2の金属部材の位置ずれを防止することができ、適所に第2の金属部材を配置することが可能となる。
樹脂パッケージから露出した第2の金属部材の角部に、裏面からの平面視において、角部に対向する部位に切欠を有する突出部が形成されていることにより、より広範囲の面積で半田等と接合することが可能となり、良好な接合/接続を可能にする。
樹脂パッケージの裏面においては、上述した、樹脂のモールド時に利用したピンに起因して、切欠に対応する位置に凹部が形成されることにより、露出した第2の金属部材を半田等により実装基板等に実装する際に、余剰の半田等の逃げ空間を確保することができ、適切な実装/接続を実現することができる。
第2の金属部材の薄膜状の周縁部の角部以外の一部において、さらに厚みが薄い極薄部が形成されることにより、第2の金属部材の厚み方向の位置ずれ防止の効果を妨げることなく、樹脂パッケージの厚み方向と第2の金属部材との密着性を高めることができる。
また、この極薄部の側方に、突起を有することにより、樹脂パッケージ内において樹脂パッケージに食い込むことにより、樹脂パッケージからの幅方向と第2の金属部材との密着性を確実にすることができる。
実施例2
この発光装置20は、図3(a)〜(c)に示したように、トップビュータイプの表面実装型発光装置であって、第1の金属部材21aと、第2の金属部材22と、端子として機能する他の金属部材21b〜21dが、樹脂パッケージ25に固定され、これら金属部材21a〜21dの他端が、樹脂パッケージ25の側面から突出し、屈曲して外部端子と機能するように構成されている以外、実質的に、実施例1の発光装置と略同様の構成を有している。
この発光装置20では、樹脂パッケージ25裏面において、第2の金属部材22の切欠に対応して配置された凹部26が対角線状に2つのみ形成されている。
このような構成の発光装置は、実質的に実施例1の発光装置と同様の効果を有する。
照明用光源、各種インジケーター用光源、車載用光源、ディスプレイ用光源、液晶のバックライト用光源などに使用することができる。
本発明の発光装置の一実施形態を示す平面図、断面図、背面図である。 図1の発光装置の第2の金属部材を説明するための平面図、底面図、右側面図である。 本発明の発光装置の別の実施形態を示す平面図、断面図、背面図である。
符号の説明
10、20 発光装置
11a 第1の金属部材
11b、11c、11d 金属部材
12 第2の金属部材
12a 薄膜の周縁部
12b 突起
12c 突出部
12d 切欠
12e 極薄部
13、23 第1の半導体発光素子
14、24 第2の半導体発光素子
15、25 樹脂パッケージ
15a、25a 窓部
16、26 凹部

Claims (5)

  1. 上面に第1の半導体発光素子が搭載された第1の金属部材と、
    上面に第2の半導体発光素子が搭載され第2の金属部材と、
    前記第1の半導体発光素子および前記第2の半導体発光素子からの光を取り出すことが可能な窓部を上面に有する樹脂パッケージとを有する発光装置であって、
    前記第2の金属部材は、その周縁部が第2の半導体発光素子が搭載された領域である中央部よりも膜厚が薄く、前記第2の半導体発光素子が搭載された領域の裏面が、前記樹脂パッケージから露出しており、
    前記第1の金属部材は、その裏面が前記周縁部の上面と対向していることを特徴とする発光装置。
  2. 前記第1の半導体発光素子と前記第2の半導体発光素子とは、異なる波長を発光する請求項1に記載の発光装置。
  3. 前記薄膜の周縁部は、角部に切欠を有しており、前記樹脂パッケージは、その裏面であって、少なくとも1つの前記角部の切欠に対応する位置に、凹部を有する請求項1又は2に記載の発光装置。
  4. 前記薄膜状の周縁部には、角部以外の一部において、薄膜状の周縁部よりもさらに膜厚が薄い極薄部が形成されており、該極薄部の側面に側方に突出する突起を有する請求項1〜のいずれか1つに記載の発光装置。
  5. 前記樹脂パッケージから露出した第2の金属部材は、裏面からの平面視において、角部に切欠を有する突出部を有している請求項1〜4のいずれか1つに記載の発光装置。
JP2007305489A 2006-12-01 2007-11-27 発光装置 Expired - Fee Related JP5071069B2 (ja)

Priority Applications (2)

Application Number Priority Date Filing Date Title
JP2007305489A JP5071069B2 (ja) 2006-12-01 2007-11-27 発光装置
US11/946,597 US7964892B2 (en) 2006-12-01 2007-11-28 Light emitting device

Applications Claiming Priority (3)

Application Number Priority Date Filing Date Title
JP2006325095 2006-12-01
JP2006325095 2006-12-01
JP2007305489A JP5071069B2 (ja) 2006-12-01 2007-11-27 発光装置

Publications (2)

Publication Number Publication Date
JP2008160091A JP2008160091A (ja) 2008-07-10
JP5071069B2 true JP5071069B2 (ja) 2012-11-14

Family

ID=39660619

Family Applications (1)

Application Number Title Priority Date Filing Date
JP2007305489A Expired - Fee Related JP5071069B2 (ja) 2006-12-01 2007-11-27 発光装置

Country Status (1)

Country Link
JP (1) JP5071069B2 (ja)

Families Citing this family (5)

* Cited by examiner, † Cited by third party
Publication number Priority date Publication date Assignee Title
DE102006004397A1 (de) 2005-09-30 2007-04-05 Osram Opto Semiconductors Gmbh Elektromagnetische Strahlung emittierendes optoelektronisches Bauelement und Verfahren zur Herstellung eines optoelektronischen Bauelements
DE102007015474A1 (de) 2007-03-30 2008-10-02 Osram Opto Semiconductors Gmbh Elektromagnetische Strahlung emittierendes optoelektronisches Bauelement und Verfahren zur Herstellung eines optoelektronischen Bauelements
JP5206204B2 (ja) * 2008-07-31 2013-06-12 日亜化学工業株式会社 発光装置
DE102008045925A1 (de) * 2008-09-04 2010-03-11 Osram Opto Semiconductors Gmbh Optoelektronisches Bauteil und Verfahren zur Herstellung eines optoelektronischen Bauteils
JP6268636B2 (ja) 2014-01-08 2018-01-31 パナソニックIpマネジメント株式会社 発光装置、照明用光源及び照明装置

Family Cites Families (7)

* Cited by examiner, † Cited by third party
Publication number Priority date Publication date Assignee Title
JPH0388472U (ja) * 1989-12-22 1991-09-10
JP3668438B2 (ja) * 2001-06-07 2005-07-06 シャープ株式会社 チップ発光ダイオード
JP2003258465A (ja) * 2002-03-04 2003-09-12 Denso Corp 電子回路ユニット
JP2006093470A (ja) * 2004-09-24 2006-04-06 Toshiba Corp リードフレーム、発光装置、発光装置の製造方法
JP2006108517A (ja) * 2004-10-08 2006-04-20 Citizen Watch Co Ltd Led接続用基板及びそれを用いた照明装置及びそれを用いた表示装置
JP2006237464A (ja) * 2005-02-28 2006-09-07 Matsushita Electric Ind Co Ltd 半導体発光装置
JP4542453B2 (ja) * 2005-03-24 2010-09-15 日亜化学工業株式会社 発光装置

Also Published As

Publication number Publication date
JP2008160091A (ja) 2008-07-10

Similar Documents

Publication Publication Date Title
US7964892B2 (en) Light emitting device
JP5119621B2 (ja) 発光装置
KR101602977B1 (ko) 발광 장치
JP5691681B2 (ja) 発光装置
JP5023781B2 (ja) 発光装置
US7527400B2 (en) Light emitting device
JP5326229B2 (ja) 発光装置
US9281460B2 (en) Light emitting device package and light emitting device having lead-frames
JP5365252B2 (ja) 光半導体装置及びその製造方法
JP2009065002A (ja) 発光装置
JP2004071675A (ja) 発光ダイオード
JP5458910B2 (ja) 発光装置
JP6064396B2 (ja) 発光装置
JP5071069B2 (ja) 発光装置
EP1843403B1 (en) Light emitting unit and lighting apparatus
JP6107229B2 (ja) 発光装置
JP4961978B2 (ja) 発光装置およびその製造方法
JP5701843B2 (ja) 発光装置
JP2008047712A (ja) 発光装置
JP2007280983A (ja) 発光装置
JP5722759B2 (ja) 発光装置
CN103227264B (zh) 发光装置

Legal Events

Date Code Title Description
A621 Written request for application examination

Free format text: JAPANESE INTERMEDIATE CODE: A621

Effective date: 20101102

A131 Notification of reasons for refusal

Free format text: JAPANESE INTERMEDIATE CODE: A131

Effective date: 20120424

A977 Report on retrieval

Free format text: JAPANESE INTERMEDIATE CODE: A971007

Effective date: 20120425

A601 Written request for extension of time

Free format text: JAPANESE INTERMEDIATE CODE: A601

Effective date: 20120622

A521 Request for written amendment filed

Free format text: JAPANESE INTERMEDIATE CODE: A523

Effective date: 20120626

A602 Written permission of extension of time

Free format text: JAPANESE INTERMEDIATE CODE: A602

Effective date: 20120627

TRDD Decision of grant or rejection written
A01 Written decision to grant a patent or to grant a registration (utility model)

Free format text: JAPANESE INTERMEDIATE CODE: A01

Effective date: 20120724

A01 Written decision to grant a patent or to grant a registration (utility model)

Free format text: JAPANESE INTERMEDIATE CODE: A01

A61 First payment of annual fees (during grant procedure)

Free format text: JAPANESE INTERMEDIATE CODE: A61

Effective date: 20120806

R150 Certificate of patent or registration of utility model

Ref document number: 5071069

Country of ref document: JP

Free format text: JAPANESE INTERMEDIATE CODE: R150

Free format text: JAPANESE INTERMEDIATE CODE: R150

FPAY Renewal fee payment (event date is renewal date of database)

Free format text: PAYMENT UNTIL: 20150831

Year of fee payment: 3

FPAY Renewal fee payment (event date is renewal date of database)

Free format text: PAYMENT UNTIL: 20150831

Year of fee payment: 3

R250 Receipt of annual fees

Free format text: JAPANESE INTERMEDIATE CODE: R250

R250 Receipt of annual fees

Free format text: JAPANESE INTERMEDIATE CODE: R250

R250 Receipt of annual fees

Free format text: JAPANESE INTERMEDIATE CODE: R250

R250 Receipt of annual fees

Free format text: JAPANESE INTERMEDIATE CODE: R250

R250 Receipt of annual fees

Free format text: JAPANESE INTERMEDIATE CODE: R250

R250 Receipt of annual fees

Free format text: JAPANESE INTERMEDIATE CODE: R250

LAPS Cancellation because of no payment of annual fees