JP5053176B2 - ピエゾファン - Google Patents

ピエゾファン Download PDF

Info

Publication number
JP5053176B2
JP5053176B2 JP2008134707A JP2008134707A JP5053176B2 JP 5053176 B2 JP5053176 B2 JP 5053176B2 JP 2008134707 A JP2008134707 A JP 2008134707A JP 2008134707 A JP2008134707 A JP 2008134707A JP 5053176 B2 JP5053176 B2 JP 5053176B2
Authority
JP
Japan
Prior art keywords
piezoelectric element
plate
opening
piezoelectric ceramic
blower
Prior art date
Legal status (The legal status is an assumption and is not a legal conclusion. Google has not performed a legal analysis and makes no representation as to the accuracy of the status listed.)
Expired - Fee Related
Application number
JP2008134707A
Other languages
English (en)
Other versions
JP2009281296A (ja
Inventor
國浩 曾
知志 小坂部
Current Assignee (The listed assignees may be inaccurate. Google has not performed a legal analysis and makes no representation or warranty as to the accuracy of the list.)
Fujikura Ltd
Original Assignee
Fujikura Ltd
Priority date (The priority date is an assumption and is not a legal conclusion. Google has not performed a legal analysis and makes no representation as to the accuracy of the date listed.)
Filing date
Publication date
Application filed by Fujikura Ltd filed Critical Fujikura Ltd
Priority to JP2008134707A priority Critical patent/JP5053176B2/ja
Publication of JP2009281296A publication Critical patent/JP2009281296A/ja
Application granted granted Critical
Publication of JP5053176B2 publication Critical patent/JP5053176B2/ja
Expired - Fee Related legal-status Critical Current
Anticipated expiration legal-status Critical

Links

Images

Landscapes

  • Structures Of Non-Positive Displacement Pumps (AREA)
  • Cooling Or The Like Of Electrical Apparatus (AREA)
  • General Electrical Machinery Utilizing Piezoelectricity, Electrostriction Or Magnetostriction (AREA)

Description

この発明は、圧電セラミックス板などからなる圧電素子の伸縮すなわち振動によって送風板を駆動するピエゾファンに関するものである。
電子機器の局所的発熱源を冷却するためのピエゾファンが提案されている(特許文献1、2)。このピエゾファンは、低消費電力、長寿命、コンパクトサイズおよび低ノイズなどのメリットがあるため、電子機器に限られることなく、一般的な送風装置としての可能性も有している。
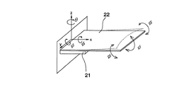
図8および図9は、ピエゾファンの原理的な図である。圧電セラミックス板21と送風板22とで構成され、圧電セラミックス板21に交流電源23から交流電圧が印加できるようにされる。圧電セラミックス板21は、交流電圧の印加によって、図のxの方向で伸縮するように設定される。ピエゾファンとして使うとき、送風板22は図9の点線で示したように振動する。圧電セラミックス板21の振動と送風板22の振動が共振するとき、送風板22の先端のz方向の移動量が大きくなり、冷却に有効な風を起こすことができる。
米国特許第5921757号明細書 特開昭63−32975号公報
このようなピエゾファンの動作をより詳しく観察すると、図10において、圧電セラミックス板21のx方向の長さと、y方向の幅の長/幅の比が大きい場合には、送風板22の先端にかかる力の中にy軸の回りのψ方向の力がいちばん著しくなるが、長/幅の比が小さくなると、送風板22の側縁にかかるx軸の回りのφの方向の力が次第に著しくなることが判った。送風板22の幅方向の中央部分が側縁部分に比べて、圧電セラミックス板21の伸縮によって受ける応力に対する抗力が大きく、応力が溜まりやすいためと考えられる。
このことは、図11および図12に示す従来技術でよく判る。この設計では、送風板22の先端がスリット23で短冊状に分割され、各羽根24がヒートシンク25のフィン26、26の間に挿入され、冷却効果を向上できるようにされている。この場合、冷却効果を保つため、羽根24の縁とフィン26の壁面の隙間が大きくならないように注意が必要である。
しかしながら、圧電セラミックス板21の長/幅の比が小さくなると、前記のように送風板22の両側縁の、x軸回りのφ方向の振動が大きくなり、羽根24がヒートシンク25のフィン26に衝突するようになる。そのため、ノイズが発生する上に、送風板22の変位量も少なくなり、冷却効果が十分に得られなくなる。圧電セラミックス板21のx方向の長さを40mm、y方向の幅を60mmとし、全長70mm、羽根24の幅を10mmとした送風板22を駆動した場合、送風板22の中央部分のz方向の変位は30mmに対して、両側縁部のz方向の変位は25mmであった。
また、図13に示したように、送風板22の先端をスリットにより分割しない場合、送風板22の先端もx軸の周りのφ方向の力を受けることとなる。このため、圧電セラミックス板21の長/幅の比が小さくなると駆動周波数より高い周波数の振動が発生しノイズの原因となる。圧電セラミックス板21の幅が10mm以下でテストする時、共振周波数が100Hz以下では人間の耳では聞き取りにくいという結果(法則)があるが、圧電セラミックス板21の長/幅の比が小さくなるとこの法則があたらなくなる。幅10mm、長さ40mmの圧電セラミックス板21で、幅10mm、長さ70mmの送風板22を振動させる場合、ノイズは20dBにもなる。さらに、ψ方向の振動とφ方向の振動の干渉により、送風板22の最大変位量も、圧電セラミックス板21の長/幅の比の減少に従って小さくなる。
特許文献1には、φ方向の振動を抑える方法が記載されている。ここでは、圧電セラミックス板が貼られた金属板の上に、前記y軸の方向(幅方向)に沿って複数の強化リブが設けられている。強化リブによって前記φ方向の振動が抑えられている。この場合、強化リブも圧電セラミックス板と一緒に振動するため、圧電セラミックス板の変位量が小さくなり、強化リブの振動に使われたエネルギー分だけ送風には有効に使えない問題がある。
この発明は上記の技術的課題に着目してなされたものであって、ノイズを低下でき、かつエネルギー利用効率の高いピエゾファンを提供することを目的とするものである。
上記の目的を達成する請求項1の発明は、圧電素子と、この圧電素子に接着された送風板とを備えたピエゾファンにおいて、前記送風板は、前記圧電素子を振動させた際に伸縮する方向で圧電素子を超える長さで延びており、かつ、前記圧電素子と接着されている基部側に、圧電素子の伸縮によって受ける応力の一部を開放する手段が設けられ、前記圧電素子の伸縮によって受ける応力の一部を開放する前記手段は、圧電素子の伸縮する方向に沿って設けられている開口部によって構成され、かつ前記開口部は、圧電素子の伸縮する方向に沿って形成した円形または方形の複数の打ち抜き部によって構成されていることを特徴とするものである。
請求項2の発明は、請求項1の発明において、前記開口部は、圧電素子を超えて延びていることを特徴とするピエゾファンである。
請求項3の発明は、圧電素子と、この圧電素子に接着された送風板とを備えたピエゾファンにおいて、前記送風板は、前記圧電素子を振動させた際に伸縮する方向で圧電素子を超える長さで延びており、かつ、圧電素子と接着されている基部側に、圧電素子が伸縮する方向に沿って、圧電素子の伸縮によって受ける応力の一部を開放するための開口部が設けられ、前記開口部は、圧電素子の伸縮する方向に沿って形成した円形または方形の複数の打ち抜き部で構成されていることを特徴とするものである。
請求項4の発明は、請求項3の発明において、前記開口部は、圧電セラミックス板を超えて延びていることを特徴とするピエゾファンである。
請求項1の発明によれば、送風板の基部側、即ち圧電素子と接着されている側に、圧電素子の振動に伴う伸縮によって受ける応力の一部を開放する手段が設けられているので、送風板の幅方向における圧電素子の伸縮によって受ける応力に対する抗力をほぼ均等にすることが可能となり、前記の如くのx軸の回りのφ方向の振動が生じないようにできる。このため、ノイズを低下させ、しかも圧電素子から受けるエネルギーをy軸の回りのψ方向の振動に有効に利用できるピエゾファンを提供できる効果がある。
また、請項1の発明によれば、送風板に設けられる圧電素子の伸縮によって受ける応力の一部を開放する手段を開口部で構成してあるので、送風板に簡単に設けることができ、複雑な加工を必要としない効果がある。
さらに、請項1の発明によれば、送風板に設けられる開口部が、圧電素子が伸縮する方向に沿って形成した円形又は方形の複数の打ち抜き部によって構成したので、請求項3の発明と同様に、開口部を簡単な加工で設けることができる効果がある。
請求項2の発明によれば、送風板に設けられる開口部が、圧電素子を超えて延びている構成なので、圧電素子の大きさや送風板の長さなどを考慮して、応力を開放する手段の設置範囲を設定する自由度を大きくできる効果がある。
請求項3の発明によれば、送風板の基部側、即ち圧電素子と接着されている側に、圧電素子の伸縮によって受ける応力の一部を開放するための開口部が設けられているので、送風板の幅方向における圧電素子の伸縮によって受ける応力に対する抗力をほぼ均等にすることが可能となり、前記の如くのx軸の回りのφ方向の振動が生じないようにできる。このため、ノイズを低下させ、しかも圧電素子から受けるエネルギーをy軸の回りのψ方向の振動に有効に利用できるピエゾファンを提供できる効果がある。
また、請項3の発明によれば、送風板に設けられる開口部が、圧電素子が伸縮する方向に沿って形成した円形又は方形の複数の打ち抜き部によって構成されているので、開口部を簡単な加工で設けることができる効果がある。
請求項4の発明によれば、送風板に設けられる開口部が、圧電素子を超えて延びているから、圧電素子の大きさや送風板の長さなどを考慮して、応力を開放する手段の設置範囲を設定する自由度を大きくすることができる効果がある。
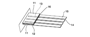
つぎに、この発明の具体例を図を参照して説明する。図1はこの発明の第1の実施形態のピエゾファンを示している。圧電素子である圧電セラミックス板11と、この圧電セラミックス板11の上面もしくは下面のいずれか一方に接着された送風板12とを備えている。圧電セラミックス板11は、図のz方向、即ち厚さ方向で交流電圧もしくは矩形波電圧を印加したとき、長さ方向、即ちx方向で伸縮するように設定されている。前記送風板12は、圧電セラミックス板11の幅(y方向)とほぼ同一の幅を有しており、圧電セラミックス板11の伸縮する方向で、圧電セラミックス板11を超える長さで延びている。そして、送風板12の基部、即ち圧電セラミックス板11に接着されている部分側に、スリット13で構成される開口部が3列、並列させて設けられている。スリット13の一つは送風板12の幅方向の中央に配置されており、他の二つは、それぞれ送風板12の側縁と中央を2分割する位置に配置されている。また、各スリット13の一端は、送風板12の基端12aの近くに位置し、他端は、圧電セラミックス板11の先端11aとほぼ一致する所に位置している。
送風板12において圧電セラミックス板11を超えて延びている先端側は、前記スリット13の延長上にそれぞれ配された別のスリット14で分割されて、短冊状の羽根15が構成されている。この別のスリット14は、各羽根15をヒートシンク(図1では示していない)のフィン間に挿入できるようにしたものであり、この発明に必須のものではない。
上記のように構成されたピエゾファンにおいては、送風板12の基部側に設けたスリット13が、圧電セラミックス板11の伸縮によって受ける応力の一部を開放する手段を構成する。その結果、送風板12の振動動作においては、x軸の回りのφ方向の振動を生じないようにでき、したがって羽根15とヒートシンクのフィンとの衝突によるノイズが発生しないようにできる。また、圧電セラミックス板11から受けた応力を送風板12のy軸回りのψ方向の振動に集中させて大きな変位量を確保して送風量を多くできるので、エネルギー効率の良いピエゾファンを構成することができる。
前記の別のスリット14を設けない構成とし、圧電セラミックス板11の長/幅の比が小さい場合でも、送風板12の振動は、φ方向の振動を含むことなくψ方向の振動に集中した形態となるので、複雑な形態の振動によるノイズの発生を抑えるとともに、振動による変位量を大きくして送風量を多くすることができる。
上記第1の実施形態では、1枚の圧電セラミックス板11と1枚の送風板12で構成されたモノモルフタイプのピエゾファンを示したが、この発明は図2および図3に示したバイモルフタイプのピエゾファンでも実施することが可能であり、前述した例と同様の効果を得ることができる。図2は第2の実施形態のピエゾファンを示している。このピエゾファンは、圧電セラミックス板11の上に第1の実施形態と同様の送風板12の基部が接着され、さらに送風板12の基部の上に別の圧電セラミックス板11が接着されている。また、図3は第3の実施形態のピエゾファンで、2枚の圧電セラミックス板11の間に、圧電セラミックス板11と同じ形の板16が挟まれている。板16内には、第1の実施形態と同様のスリット13が設けられている。そして更に、下側の圧電セラミックス板11の下面に、第1の実施形態と同様の送風板12の基部が接着されている。
圧電セラミックス板11の伸縮によって受ける応力の一部を開放する手段を構成するべく送風板12に形成するスリット13の数や面積(幅×長さ)は、圧電セラミックス板11の面積や積層されている枚数に応じて変化させることができる。ノイズの発生や送風量を考慮して適宜定めればよい。
また、スリット13の長さも、図4および図5のように変化させることができる。図4はこの発明の第4の実施形態のピエゾファンである。スリット13の一端は送風板12の基端12aで開口している。また、他端は送風板14の基部の中間部に位置している。図5は、この発明の第5の実施形態のピエゾファンである。スリット13の一端は送風板12の基端12a近くに位置し、他端は圧電セラミックス板11の先端11aを超えた位置まで延びている。
さらに、圧電セラミックス板11の伸縮によって受ける応力の一部を開放する手段を構成する開口部は、上述したスリット13に限られるものではない。図6に示したように円形の打ち抜き部17を複数、圧電セラミックス板11の伸縮する方向に沿って設けたり、図7に示したように、方形の打ち抜き部18を複数、圧電セラミックス板11の伸縮する方向に沿って設けて、応力開放手段を構成することもできる。
図1に示した第1の実施形態において、圧電セラミックス板11の長さ(x方向)を40mm、幅(y方向)を60mmとし、送風板12の全長を70mm、羽根15の幅を10mmとした場合、送風板12の先端中央部分のz方向の変位量が30mmに対して、先端側両側部分のz方向の変位量は、スリット13を設けないものの24mmから28mmに増大することができた。
図1に示した第1の実施形態で、別のスリット14を設けない構成のピエゾファンのノイズを測定した。圧電セラミックス板11の長さ(x方向)を40mm、幅(y方向)を10mmとし、送風板12の長さを70mm、幅を10mmとした。スリット13を設けない場合のノイズが20dBであったのに対して、第1の実施形態によって12dBに低減することができた。
この発明の第1の実施形態のピエゾファンの斜視図である。 この発明の第2の実施形態のピエゾファンの斜視図である。 この発明の第3の実施形態のピエゾファンの斜視図である。 この発明の第4の実施形態のピエゾファンの斜視図である。 この発明の第5の実施形態のピエゾファンの斜視図である。 円形の打ち抜き部で圧電セラミックス板の伸縮によって受ける応力の一部を開放する手段を構成した送風板の一部斜視図である。 方形の打ち抜き部で圧電セラミックス板の伸縮によって受ける応力の一部を開放する手段を構成した送風板の一部斜視図である。 従来のピエゾファンの正面図である。 同じく従来のピエゾファンの斜視図である。 従来のピエゾファンの振動を説明する図である。 従来の他のピエゾファンの使用状態における斜視図である。 同じく従来の他のピエゾファンの斜視図である。 従来の別のピエゾファンの斜視図である。
符号の説明
11…圧電セラミックス板、 11a…圧電セラミックス板の先端、 12…送風板、 12a…送風板の基端、 13…スリット、 14…別のスリット、 15…羽根、 16…板、 17…円形の打ち抜き部、 18…方形の打ち抜き部。

Claims (4)

  1. 圧電セラミックス板と、この圧電素子に接着された送風板とを備えたピエゾファンにおいて、
    前記送風板は、前記圧電素子を振動させた際に伸縮する方向で圧電素子を超える長さで延びており、かつ、前記圧電素子と接着されている基部側に、圧電素子の伸縮によって受ける応力の一部を開放する手段が設けられ、
    前記圧電素子の伸縮によって受ける応力の一部を開放する前記手段は、圧電素子の伸縮する方向に沿って設けられている開口部によって構成され、かつ
    前記開口部は、圧電素子の伸縮する方向に沿って形成した円形または方形の複数の打ち抜き部によって構成されている
    ことを特徴とするピエゾファン。
  2. 前記開口部は、圧電素子を超えて延びていることを特徴とする請求項1に記載のピエゾファン。
  3. 圧電素子と、この圧電素子に接着された送風板とを備えたピエゾファンにおいて、
    前記送風板は、前記圧電素子を振動させた際に伸縮する方向で圧電素子を超える長さで延びており、かつ、前記圧電素子と接着されている基部側に、圧電素子が伸縮する方向に沿って、圧電素子の伸縮によって受ける応力の一部を開放するための開口部が設けられ、 前記開口部は、圧電素子の伸縮する方向に沿って形成した円形または方形の複数の打ち抜き部で構成されている
    ことを特徴とするピエゾファン。
  4. 前記開口部は、圧電素子を超えて延びていることを特徴とする請求項3に記載のピエゾファン。
JP2008134707A 2008-05-22 2008-05-22 ピエゾファン Expired - Fee Related JP5053176B2 (ja)

Priority Applications (1)

Application Number Priority Date Filing Date Title
JP2008134707A JP5053176B2 (ja) 2008-05-22 2008-05-22 ピエゾファン

Applications Claiming Priority (1)

Application Number Priority Date Filing Date Title
JP2008134707A JP5053176B2 (ja) 2008-05-22 2008-05-22 ピエゾファン

Publications (2)

Publication Number Publication Date
JP2009281296A JP2009281296A (ja) 2009-12-03
JP5053176B2 true JP5053176B2 (ja) 2012-10-17

Family

ID=41451997

Family Applications (1)

Application Number Title Priority Date Filing Date
JP2008134707A Expired - Fee Related JP5053176B2 (ja) 2008-05-22 2008-05-22 ピエゾファン

Country Status (1)

Country Link
JP (1) JP5053176B2 (ja)

Families Citing this family (1)

* Cited by examiner, † Cited by third party
Publication number Priority date Publication date Assignee Title
KR101294359B1 (ko) 2012-06-19 2013-08-08 전남대학교산학협력단 양단 고정형 압전박막 구조체

Family Cites Families (1)

* Cited by examiner, † Cited by third party
Publication number Priority date Publication date Assignee Title
JPS63126597U (ja) * 1987-02-10 1988-08-18

Also Published As

Publication number Publication date
JP2009281296A (ja) 2009-12-03

Similar Documents

Publication Publication Date Title
JP5136641B2 (ja) 圧電ファン及び圧電ファンを用いた空冷装置
JP4022067B2 (ja) 凹部をもった表面を有する発電機ステータの冷却装置
US9368426B2 (en) Piezoelectric fan and air cooling apparatus using the piezoelectric fan
JP5789814B1 (ja) ピエゾファン
JP5083322B2 (ja) 冷却装置
US20070037506A1 (en) Rake shaped fan
US20140216696A1 (en) Cooling device and a cooling assembly comprising the cooling device
EP2405225A2 (en) Active structures for heat exchanger
JP5051255B2 (ja) 圧電ファン及び冷却装置
CN102278325A (zh) 风扇组合及使用该风扇组合的电子装置
JP2002344185A (ja) 有向気流による能動ヒート・シンク構造
CN209761796U (zh) 分叉梁式压电风扇
JP5053176B2 (ja) ピエゾファン
KR20220107276A (ko) 와이어 스프링을 포함하는 선형 팬
US20090004034A1 (en) Piezoelectric fan
US20100188809A1 (en) Radiator For Computer Memory
JP2010031708A (ja) 圧電ファン装置
JP2010067909A (ja) ピエゾファンおよび放熱モジュール
JP2012184665A (ja) 圧電ファン
JP2009231701A (ja) 電子機器用冷却装置
JP2007073816A (ja) ダクト型冷却構造
TWI300325B (en) Heat dissipation module
JP2009222019A (ja) 圧電ファン装置
US20100139905A1 (en) Combination Heat Sink Formed of a Stack of Heat Spreader Sheet Members
CN213582051U (zh) 高散热性能散热片及具有其的散热器

Legal Events

Date Code Title Description
A621 Written request for application examination

Free format text: JAPANESE INTERMEDIATE CODE: A621

Effective date: 20101203

A977 Report on retrieval

Free format text: JAPANESE INTERMEDIATE CODE: A971007

Effective date: 20120427

A131 Notification of reasons for refusal

Free format text: JAPANESE INTERMEDIATE CODE: A131

Effective date: 20120508

A521 Request for written amendment filed

Free format text: JAPANESE INTERMEDIATE CODE: A523

Effective date: 20120628

TRDD Decision of grant or rejection written
A01 Written decision to grant a patent or to grant a registration (utility model)

Free format text: JAPANESE INTERMEDIATE CODE: A01

Effective date: 20120724

A01 Written decision to grant a patent or to grant a registration (utility model)

Free format text: JAPANESE INTERMEDIATE CODE: A01

A61 First payment of annual fees (during grant procedure)

Free format text: JAPANESE INTERMEDIATE CODE: A61

Effective date: 20120725

FPAY Renewal fee payment (event date is renewal date of database)

Free format text: PAYMENT UNTIL: 20150803

Year of fee payment: 3

R250 Receipt of annual fees

Free format text: JAPANESE INTERMEDIATE CODE: R250

LAPS Cancellation because of no payment of annual fees