JP5052255B2 - 交流回転機 - Google Patents

交流回転機 Download PDF

Info

Publication number
JP5052255B2
JP5052255B2 JP2007209852A JP2007209852A JP5052255B2 JP 5052255 B2 JP5052255 B2 JP 5052255B2 JP 2007209852 A JP2007209852 A JP 2007209852A JP 2007209852 A JP2007209852 A JP 2007209852A JP 5052255 B2 JP5052255 B2 JP 5052255B2
Authority
JP
Japan
Prior art keywords
voltage
converter
field
terminal
rotating machine
Prior art date
Legal status (The legal status is an assumption and is not a legal conclusion. Google has not performed a legal analysis and makes no representation as to the accuracy of the status listed.)
Expired - Fee Related
Application number
JP2007209852A
Other languages
English (en)
Other versions
JP2009044928A (ja
Inventor
義彦 金原
正哉 井上
慎二 西村
Current Assignee (The listed assignees may be inaccurate. Google has not performed a legal analysis and makes no representation or warranty as to the accuracy of the list.)
Mitsubishi Electric Corp
Original Assignee
Mitsubishi Electric Corp
Priority date (The priority date is an assumption and is not a legal conclusion. Google has not performed a legal analysis and makes no representation as to the accuracy of the date listed.)
Filing date
Publication date
Application filed by Mitsubishi Electric Corp filed Critical Mitsubishi Electric Corp
Priority to JP2007209852A priority Critical patent/JP5052255B2/ja
Publication of JP2009044928A publication Critical patent/JP2009044928A/ja
Application granted granted Critical
Publication of JP5052255B2 publication Critical patent/JP5052255B2/ja
Expired - Fee Related legal-status Critical Current
Anticipated expiration legal-status Critical

Links

Images

Landscapes

  • Control Of Eletrric Generators (AREA)

Description

この発明は、電機子と、界磁巻線と、界磁指令に基づいて界磁巻線に流れる界磁電流を制御する回転機制御手段を備えた交流回転機に関するものである。
従来、界磁電流を制御する交流回転機にあっては、界磁回路は一つのダイオードと一つの半導体スイッチによって構成する降圧チョッパを用いていた。
これは界磁回路が出力する電圧は直流電圧源よりも低い直流電圧であり、一つのダイオードと一つの半導体スイッチによって降圧チョッパを構成することで部品点数を少なくすることができ、信頼性やコスト性に優れているからである。
一方、車両に搭載される内燃機関の燃費向上を図る上で、特に、アイドル時の燃費向上を図る上で、休筒可能な気筒を設定した多気筒エンジンがある。このエンジンは休筒気筒の爆発サイクルにおいて出力が無いことより、その間の負荷の影響が大きく働き、アイドル回転が落ち込み、アイドル回転の不安定化を招きやすい。同様に、アイドル時の燃費向上を図る上で、アイドル回転数を低く保とうとすると、アイドル回転の不安定化を招きやすい。このような、内燃機関に接続されたオルタネータのような、界磁電流を制御してトルクを制御する車載用の交流回転機では、休筒タイミングに合わせて界磁電流をカットできれば、アイドル回転の不安定化を防止することができる。
また、車載の内燃機関のクランク軸にプーリとベルトを介して交流回転機を接続する場合、内燃機関のクランク軸速度が低回転状態で交流回転機が回生トルクを発生すると、プーリとベルトの間にスリップが発生する。このようなベルトのスリップが生じると、ベルトの磨耗を助長してベルトの寿命を縮める問題があり、界磁電流を制御してトルクを制御することで、このスリップを抑制することができる。
しかしながら、オルタネータのような界磁電流を制御してトルクを制御する車載用の交流回転機は、発電効率を最適な状態に保持する必要上、界磁回路の電気的時定数は比較的大きな値になっている。このため、界磁電流の制御応答性が、エンジン休筒の周波数やプーリとベルトの間に発生するスリップの周波数に追従できないという問題があった。
また、界磁の巻回数を増やすと少ない電流で効率よく界磁磁束を得ることができるが、界磁電圧印加器が出力する直流電圧の最大値が制約となって、界磁の巻回数の上限が決まる。これは界磁の巻回数が増すと、界磁の抵抗やインダクタンスといったインピーダンスが増大することに起因する。従って、界磁回路が出力する直流電圧の最大値を高くすることによって界磁の巻回数を増やし、少ない電流で効率よく界磁磁束を得たい願望がある。
これらの問題を解決するため、例えば、特開平5−137294号公報(以下、特許文献1と称す。)で開示されている従来の車載用の交流回転機では、車載されるオルタネータの整流回路より発電電圧信号を電圧レベル検出端子で受けると共に、上記発電電圧信号が過充電判定電圧を上回ると上記オルタネータの界磁コイルへの界磁電流をスイッチ回路によって遮断する電圧レギュレータと、バッテリ電圧を所定量高圧化して出力する昇圧回路と、上記バッテリとの直結端子及び上記昇圧回路の昇圧端子を選択的に上記スイッチ回路の入力端子に接続するリレー回路と、車載される内燃機関のアイドル運転時に上記リレー回路を直結端子結合状態より昇圧端子結合状態に切り換えると共に、上記内燃機関の休筒時に界磁電流をスイッチ回路によって遮断制御する制御手段とを有し、制御手段が内燃機関のアイドル運転時にリレー回路を直結端子結合状態より昇圧端子結合状態に切り換え、昇圧回路がバッテリ電圧を所定量高圧化し、休筒サイクルにおいてオルタネータの界磁電流をカットすることで、休筒サイクルでの界磁電流を低減している。具体的には、バッテリの直流電圧を一旦交流化して高圧化した上で直流に戻すDC/DCコンバータを設けている。
また、特開2003−174797号公報(以下、特許文献2と称す。)で開示されている従来の車載用の交流回転機では、第1の制御手段は、内燃機関の回転数がこの回転数の変動範囲に応じて設定される第2の回転基準値を超えたときに、スイッチング素子を閉成して車両用発電機の定格出力電圧よりも高い電圧を発生する高電圧電源から励磁電流を供給し、内燃機関の回転数が第2の回転基準値以下となったときに、スイッチング素子を開成して励磁電流の供給を停止するとともに、界磁巻線に流れている励磁電流を環流回路を通じて減衰させている。また、上述の環流回路は、界磁巻線の電気抵抗値の10倍以上の抵抗値を有する抵抗体を備えることが望ましい。通常の制御装置の環流回路はダイオード1個のみで構成されており、減衰の時定数は界磁巻線の時定数に等しいので、スイッチング素子を開成した後の短時間で十分に励磁電流を減衰させることができないが、高い抵抗値を有する抵抗体を備えることにより、励磁電流の供給を停止した後の励磁電流の減衰を促進させている。
また、特開平3−230799号公報(以下、特許文献3と称す。)で開示されている従来の車載用の交流回転機では、オルタネータのステータコイルを2回路とし、通常のバッテリ充電用のステータコイルに加えて、さらに第2のステータコイルの3端子からダイオードブリッジで構成される整流回路から高電圧を得、トランジスタを介して界磁コイル端子に接続する。一方のステータコイルは通常と同じくバッテリ充電用であり、他方のステータコイルを高電圧発生用としたもので、これにより別途、昇圧回路などを用いないで済む。
特開平5−137294号公報(図1) 特開2003−174797号公報(図1) 特開平3−230799号公報(図1、図3)
このような従来の車載用の交流回転機にあっては、界磁回路に印加する電圧は直流電圧を昇圧するような構成とされているので、DC/DCコンバータといった半導体スイッチング素子とインダクタンスを用いる回路が必要となり、装置が高価になってしまう問題がある。
また、界磁電流を減衰させる場合、界磁回路の端子電圧を零になるようにしていたので、減衰時定数の短縮が不十分であった。また、界磁巻線のエネルギーを抵抗やダイオードで消費させていたので、効率や発熱の点で問題点もあった。
また、オルタネータのステータコイルを2回路とし、第2のステータコイルも3端子としていたので、素子数や端子数が多く、コストや信頼性の点で、より少ない素子数や端子数で構成することが望まれる。
この発明は、上記のような問題点を解決するためになされたもので、部品点数の少ない安価な構成で、界磁巻線に高い電圧を印加することができ、界磁電流の変化率を高くして、制御応答性および信頼性を向上させることのできる交流回転機を得ることを目的とする。
第1の発明による交流回転機は、電機子と、界磁巻線と、界磁指令に基づいて前記界磁巻線の界磁電流を制御する回転機制御手段とを備え、前記回転機制御手段は、前記界磁巻線に電圧を印加する界磁電圧印加器と、前記界磁指令に基づいて印加すべき界磁電圧指令を演算し、この界磁電圧指令を前記界磁電圧印加器に出力する界磁制御器と、前記電機子の電機子電圧を直流電圧に変換し直流電圧源に接続する第1の交流直流変換器と、前記電機子の電機子電圧を直流電圧に変換し前記界磁電圧印加器に接続する第2の交流直流変換器と、前記第1の交流直流変換器と前記第2の交流直流変換器との間に接続された界磁電圧充電器とを具備し、前記第2の交流直流変換器は、少なくとも2個のダイオードと2個のコンデンサを用いて前記第1の交流直流変換器の直流電圧より高い直流電圧を得るとともに、前記界磁電圧充電器によって前記高い直流電圧を保つように構成されたものである。
第1の発明によれば、安価な構成で、交流回転機の界磁に高い電圧を印加することが可能となり、その結果、交流回転機の出力トルクの変化率も高くすることができる。
すなわち、この発明によれば、直流を昇圧するのではなく、第2の交流直流変換器を用いて高い電圧を整流することにより、DC/DCコンバータより部品点数の少ない構成で界磁電流の変化率を高くすることができる。
上述した、またその他の、この発明の目的、特徴、効果は、以下の実施の形態における詳細な説明および図面の記載からより明らかとなるであろう。
実施の形態1.
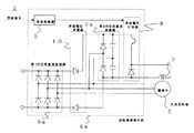
図1はこの発明の実施の形態1による交流回転機を示す構成図である。
図1において、交流回転機1は、電機子2と、界磁巻線(以下、単に界磁ともいう。)3と、界磁指令に基づいて界磁巻線3の界磁電流を制御する回転機制御手段4とを備え、電機子2と磁気回路的に接続された回転子(図示せず)を有する。
回転機制御手段4は、界磁制御器5と、第1の交流直流変換器6と、第2の交流直流変換器7と、界磁電圧印加器8とを備えている。
電機子2の三相端子は、第1の交流直流変換器6に接続されている。第1の交流直流変換器6は、1相あたり2個直列に接続したダイオード計6個によって整流回路を構成し、交流から直流にエネルギー変換する。直流に変換したエネルギーは第1の交流直流変換器6の直流端子から出力する。電機子2の3相端子のうちの2相と接続している第2の交流直流変換器7は、直列に2個接続したダイオードからなる相と、直列に2個接続したコンデンサからなる相とによって構成されている。
この構成は倍電圧整流回路として知られており(例えば特開昭58−204770号公報 図1参照)、第1の交流直流変換器6が交流から直流にエネルギー変換した時の電圧に対して2倍の電圧を出力することができる。
界磁電圧印加回路8は、制御信号によってオンオフ可能な半導体スイッチ素子とダイオードを直列に接続する構成とする。そして、該ダイオードと交流回転機1の界磁巻線3が並列となるように界磁電圧印加器8と界磁巻線3とを接続する。界磁制御器5は、界磁巻線3を流れる界磁電流が界磁指令に一致するように、界磁電圧印加器8内部のオンオフ可能な半導体スイッチ素子へ与える制御信号を生成し、界磁電圧指令として界磁電圧印加器8へ出力する。
界磁巻線のインピーダンスは、抵抗成分とインダクタンス成分とに分けられるが、交流回転機のインダクタンスは抵抗成分よりもインダクタンス成分の方が支配的である。
抵抗成分を無視した場合、界磁電流の変化率は、印加する電圧の大きさに比例し、インダクタンスの大きさに反比例する。即ち、交流回転機では、界磁電流の変化率はインダクタンスが大きいので小さくなりがちであり、印加する電圧を大きくすることで界磁電流の変化率を高くすることができる。
このように、実施の形態1の交流回転機1は、電機子2と、界磁巻線3と、界磁指令に基づいて界磁巻線3の界磁電流を制御する回転機制御手段4とを備え、回転機制御手段4は、界磁巻線3に電圧を印加する界磁電圧印加器8と、界磁指令に基づいて印加すべき界磁電圧指令を演算し、この界磁電圧指令を界磁電圧印加器8に出力する界磁制御器5と、電機子2の電圧を直流電圧に変換し直流電圧源に接続する第1の交流直流変換器6と、電機子2の電圧を直流電圧に変換し界磁電圧印加器8に接続する第2の交流直流変換器7から構成され、第2の交流直流変換器7は、少なくとも2個のダイオードと2個のコンデンサを用いるようにしている。
界磁電圧印加器8の直流端子に第2の交流直流変換器7を接続する構成によって、第2の交流直流変換器7が交流から変換した直流電圧は、第1の交流直流変換器6が交流から変換した直流電圧より高くすることができ、より界磁電流の変化率を高くすることが可能となる。その結果、界磁電流の界磁指令への応答性を高くすることができる効果がある。
このような交流回転機を、界磁巻線に印加できる直流電圧が低い機器に適用すると、より効果的である。例えば、車載用のオルタネータの場合、界磁巻線に印加できる直流電圧
は12Vであるが、この交流回転機を適用することによって、2倍以上の高い直流電圧に昇圧して界磁巻線に印加することができる。
なお、このような交流回転機をオルタネータに適用した場合には、界磁電流の変化率を高くすることで、エンジン休筒の周波数やプーリとベルトの間に発生するスリップの周波数への追従性を向上させることができる。その結果、界磁電流の界磁指令への応答性を高くでき、休筒タイミングに合わせて界磁電流をカットして、アイドル回転の不安定化を防止することができる。
また、車載の内燃機関のクランク軸にプーリとベルトを介して交流回転機を接続する用途において、高い界磁電流の制御応答性によって、プーリとベルトの間で発生するスリップを抑制することができる。
さらに、界磁回路が出力する直流電圧の最大値を高くすることによって界磁巻線の巻回数を増やし、少ない電流で効率よく界磁磁束を得ることができる。その結果、ブラシ発熱を低減してブラシ磨耗の低減や長寿命に寄与することができる。
或いは、界磁回路が出力する直流電圧の最大値を高くすることによって界磁巻線の巻数抵抗が大きいものも利用できるので、細く安価な巻線を界磁に利用することで安価にしたり、寸法を小さくしたりすることができる。
また、この実施の形態1では、従来装置のバッテリの直流電圧を一旦交流化して高圧化した上で直流に戻すDC/DCコンバータの代わりに、第2の交流直流変換器7を設けて交流回転機1の交流電圧を直流に変換するようにしたので、DC/DCコンバータで必要であったインダクタンスや、制御信号によってオンオフ可能な半導体スイッチ素子や、半導体スイッチ素子に与える制御信号生成手段が不要となり、簡素かつ部品点数を少なくできる効果がある。その結果、装置の信頼性や設置寸法の面で利点がある。
実施の形態2.
図2はこの発明の実施の形態2による交流回転機を示す構成図である。
なお、図中、図1との同一符号は、同一あるいは相当部分を示すものとする。
この発明の実施の形態2の交流回転機は、図2に示すように、第1の交流直流変換器6aの直流端子と第2の交流直流変換器7aの直流端子との間に、界磁電圧充電器10を取り付けたものである。すなわち、界磁電圧充電器10は、第1の交流直流変換器6aの直流端子の正極と第2の交流直流変換器7aの直流端子の正極との間にダイオードを設けるとともに、第1の交流直流変換器6aの直流端子の負極と第2の交流直流変換器7aの直流端子の負極との間にダイオードを設けている。
第1の交流直流変換器6aの直流端子の正極と第2の交流直流変換器7aの直流端子の正極との間のダイオードは、第1の交流直流変換器6aから第2の交流直流変換器7aの方向に順方向接続する。また、第1の交流直流変換器6aの直流端子の負極と第2の交流直流変換器7aの直流端子の負極との間のダイオードは、第2の交流直流変換器7aから第1の交流直流変換器6aの方向に順方向接続する。
例えば、交流回転機の回転子が磁石磁束を持たない構成で界磁電圧充電器10を具備しない場合、界磁巻線3に界磁電流が流れないと電機子2には電圧が発生せず、第2の交流直流変換器7aが直流に変換するためのエネルギーを電機子2から得ることはできない。
この例の場合、起動前に予め第2の交流直流変換器7aのコンデンサに電荷が充電されていれば、界磁電圧印加器8は界磁巻線3に界磁電流を発生し、第2の交流直流変換器7aが直流に変換するためのエネルギーを電機子2から得ることが可能であるが、起動時に、第2の交流直流変換器7aのコンデンサが放電状態で電荷を持たないと、界磁電圧印加器8は界磁巻線3に界磁電流を発生させることができず、第2の交流直流変換器7aが直流に変換するためのエネルギーを電機子2から得られないので、電機子2に電圧を発生させることもできない。
そこで、この実施の形態2のように、2個のダイオードによって構成する界磁電圧充電器10を第1の交流直流変換器6aの直流端子と第2の交流直流変換器7aの直流端子の間に設ける構成にすることにより、第1の交流直流変換器6aの直流端子の電圧よりも第2の交流直流変換器7aが出力する直流電圧が低い場合、第2の交流直流変換器7aの直流端子は、第1の交流直流変換器6aの直流端子の電圧と同電位となる。
この実施の形態2の構成にすれば、第1の交流直流変換器6aの直流側端子にバッテリなどの蓄電装置が繋いであれば、第2の交流直流変換器7aのコンデンサに必ず電荷が充電されている状態となるので、交流回転機の回転子が磁石磁束を持たない構成の場合でも、電機子2に電圧を発生させることが可能となり、その結果、第1の交流直流変換器6aおよび第2の交流直流変換器7aが、電機子2から得たエネルギーをそれぞれ直流交流変換することができる効果がある。
また、電機子2に電圧が発生すれば、第1の交流直流変換器6aの直流端子の電圧よりも第2の交流直流変換器7aが出力する直流電圧が高くなるが、界磁電圧充電器10のダイオードの働きによって、第1の交流直流変換器6aの直流端子と第2の交流直流変換器7aの直流端子との間は開放となり、第2の交流直流変換器7aが出力する直流電圧は、第1の交流直流変換器6aが出力する直流電圧より高く保つことができる効果がある。
また、この実施の形態2においても、従来装置のバッテリの直流電圧を一旦交流化して高圧化した上で直流に戻すDC/DCコンバータの代わりに、第2の交流直流変換器7aを設けて交流回転機1の交流電圧を直流に変換するようにしたので、実施の形態1と同様、DC/DCコンバータで必要であったインダクタンスや、制御信号によってオンオフ可能な半導体スイッチ素子や、半導体スイッチ素子に与える制御信号生成手段が不要となり、簡素かつ部品点数を少なくできる効果がある。その結果、該装置の信頼性や設置寸法の面で利点がある。
なお、上述の実施の形態2においては、界磁電圧充電器10は、第1の交流直流変換器6aの直流端子と第2の交流直流変換器7aの直流端子の間に2個のダイオード設ける構成にしたが、2個のうちいずれか一つを省略しても良い。この場合、第2の交流直流変換器7aの最大電圧が多少低下するが、ダイオードを減らすことによって部品点数の削減による信頼性向上や、設置寸法の面で利点がある。
実施の形態3.
図3はこの発明の実施の形態3による交流回転機を示す構成図である。
なお、図中、図1との同一符号は、同一あるいは相当部分を示すものとする。
前記実施の形態1に記載した第2の交流直流変換器7は、2つのダイオードと2つのコンデンサによって構成したが、この実施の形態3においては、図3に示すように、第2の交流直流変換器7bを、4つのダイオードと2つのコンデンサによって構成したものである。すなわち、図3において、電機子2の3相端子と接続している第2の交流直流変換器7bは、直列に2個接続したダイオードからなる2相と、直列に2個接続したコンデンサからなる1相とによって構成する。コンデンサの放電期間が長くなると、コンデンサの容量を大きくする必要があるが、この構成により、交流を直流に変換する際、ダイオードを通じてコンデンサに電荷を充電する期間が長くなるので、前記実施の形態1の第2の直流交流変換器7よりもコンデンサ容量を小さくすることができる効果がある。
また、この実施の形態3でも、従来装置のバッテリの直流電圧を一旦交流化して高圧化した上で直流に戻すDC/DCコンバータの代わりに、第2の交流直流変換器7bを設けて交流回転機1の交流電圧を直流に変換するようにしたので、DC/DCコンバータで必要であったインダクタンスや、制御信号によってオンオフ可能な半導体スイッチ素子や、半導体スイッチ素子に与える制御信号生成手段が不要となり、簡素かつ部品点数を少なくできる効果がある。その結果、該装置の信頼性や設置寸法の面で利点がある。
また、交流回転機を内燃機関の傍に設置する場合、耐熱性の高いコンデンサが望ましいが、耐熱性の良いコンデンサは高価である。この実施の形態3の構成を用いれば、コンデンサ容量を小さくすることができるので、耐熱性の良いコンデンサが利用しやくすなり、該装置の信頼性や配置の自由度の面で利点がある。
実施の形態4.
図4はこの発明の実施の形態4による交流回転機を示す構成図である。
なお、図中、図1との同一符号は、同一あるいは相当部分を示すものとする。
前記実施の形態3に記載した第2の交流直流変換器7bは、4つのダイオードと2つのコンデンサによって構成したが、この実施の形態4においては、図4に示すように、第2の交流直流変換器7cを9つのダイオードと3つのコンデンサによって構成したものである。図4において、電機子2の3相端子と接続している第2の交流直流変換器7cの構成も倍電圧整流回路として知られており(例えば特開昭60−109766号公報図3参照)、120度ずつ位相がずれた連続的な直流出力電圧を得ることができるので、実施の形態3に記載の第2の交流直流変換器よりもリップル含有率を小さくすることが可能であり、コンデンサ容量をより小さくできる効果がある。
交流回転機を内燃機関の傍に設置する場合、耐熱性の高いコンデンサが望ましいが、耐熱性の良いコンデンサは高価である。この実施の形態4の構成を用いれば、コンデンサ容量を小さくすることができるので、耐熱性の良いコンデンサが利用しやくすなり、該装置の信頼性や、配置の自由度の面で利点がある。
実施の形態5.
図5はこの発明の実施の形態5による交流回転機を示す構成図である。
なお、図中、図1との同一符号は、同一あるいは相当部分を示すものとする。
前記実施の形態1に記載した第2の交流直流変換器7は、2つのダイオードと2つのコンデンサによって構成したが、この実施の形態5においては、図5に示すように、第2の交流直流変換器7dを3つのダイオードと3つのコンデンサによって3倍電圧整流するように構成したものである。すなわち、交流回転機1の電機子2の3相端子のうちの2相と接続している第2の交流直流変換器7dは、3個のダイオードと、3個のコンデンサによって構成する。この構成は3倍電圧整流回路として知られており(例えば特開昭59−76176号公報図1参照)、第1の交流直流変換器6が交流から直流にエネルギー変換した時の電圧に対して3倍の電圧を出力することができる。従って、この実施の形態5によれば、前記実施の形態1〜4に記載の第2の交流直流変換器よりも高い直流電圧を界磁電圧印加器8へ出力することが可能である。これにより、界磁電流の制御応答性がより高くなる効果がある。
以上のように、実施の形態5の交流回転機によれば、界磁電流の変化率を高くすることで、エンジン休筒の周波数やプーリとベルトの間に発生するスリップの周波数への追従性を向上させることができる。
また、この実施の形態5でも、従来装置のバッテリの直流電圧を一旦交流化して高圧化した上で直流に戻すDC/DCコンバータの代わりに、第2の交流直流変換器7dを設けて交流回転機1の交流電圧を直流に変換するようにしたので、DC/DCコンバータで必要だったインダクタンスや、制御信号によってオンオフ可能な半導体スイッチ素子や、半導体スイッチ素子に与える制御信号生成手段が不要となり、簡素かつ部品点数を少なくできる効果がある。その結果、該装置の信頼性や設置寸法の面で利点がある。
実施の形態6.
図6はこの発明の実施の形態6による交流回転機を示す構成図である。
なお、図中、図1との同一符号は、同一あるいは相当部分を示すものとする。
前記実施の形態5に記載した第2の交流直流変換器7dは、3つのダイオードと3つのコンデンサによって構成したが、この実施の形態6においては、図6に示すように、電機子2の3相端子と接続している第2の交流直流変換器7eを、12個のダイオードと6個のコンデンサによって3倍電圧整流するように構成したものである。
図6において第2の直流交流変換器7eは、電機子2に発生する電圧を三相ブリッジ接続された整流素子を有する整流手段により整流し、出力端子間に所定の直流出力電圧を得るようにしており、具体的には、三相ブリッジ各相を形成する正側及び負側の整流素子間にそれぞれ介在接続された単相倍電圧整流ブロック群を有し、各単相倍電圧整流ブロックの正極側がそれぞれ三相ブリッジ各相の正側の整流素子の陽極側に、負極側がそれぞれ三相ブリッジ各組の負側の整流素子の陰極側に接続され、前記各単相倍電圧整流ブロックにそれぞれ三相交流電源の各相の隣接する相が順次接続されて構成されている。この構成は3倍電圧整流回路として知られており(例えば特開昭61−92172号公報 図3参照)、第1の交流直流変換器6が交流から直流にエネルギー変換した時の電圧に対して3倍の電圧を出力することができる。従って、より高い直流電圧を界磁電圧印加器8へ出力することが可能である。
これにより、界磁電流の制御応答性がより高くなる効果がある。また、120度ずつ位相がずれた連続的な直流出力電圧を得ることができるので、実施の形態5に記載の第2の交流直流変換器7dよりもリップル含有率を小さくすることが可能である。換言すると、第2の交流直流変換器7eが出力する直流電圧は、実施の形態5より高い周波数で3倍電圧整流することができるので、コンデンサの容量を小さくすることができる効果がある。
交流回転機を内燃機関の傍に設置する場合、耐熱性の高いコンデンサが望ましいが、耐熱性の良いコンデンサは高価である。この実施の形態6構成を用いれば、コンデンサ容量を小さくすることができるので、耐熱性の良いコンデンサが利用しやくすなり、該装置の信頼性や配置の自由度の面で利点がある。
実施の形態7.
図7はこの発明の実施の形態7による交流回転機を示す構成図である。
なお、図中、図2との同一符号は、同一あるいは相当部分を示すものとする。
この実施の形態7は、前記実施の形態6の第1の交流直流変換器の直流端子と第2の交流直流変換器の直流端子との間に、図7に示すような、界磁電圧充電器10を取り付けたものである。すなわち、界磁電圧充電器10は、第1の交流直流変換器6aの直流端子の正極と、第2の交流直流変換器7fの直流端子の正極との間にダイオードを設けるとともに、第1の交流直流変換器6aの直流端子の負極と、第2の交流直流変換器7fの直流端子の負極との間にダイオードを設けている。
第1の交流直流変換器6aの直流端子の正極と第2の交流直流変換器7fの直流端子の正極との間のダイオードは、第1の交流直流変換器6aから第2の交流直流変換器7fの方向に順方向接続する。また、第1の交流直流変換器6aの直流端子の負極と第2の交流直流変換器7fの直流端子の負極との間のダイオードは、第2の交流直流変換器7fから第1の交流直流変換器6aの方向に順方向接続する。
この発明の実施の形態7によれば、以上のような構成にすることで、第2の交流直流変換器7fが3倍電圧整流回路であっても前記実施の形態2と同様に、少なくとも2個のダイオードによって構成する界磁電圧充電器10を第1の交流直流変換器6aの直流端子と第2の交流直流変換器7fの直流端子の間に設ける構成にすることにより、第1の交流直流変換器6aの直流端子の電圧よりも第2の交流直流変換器7fが出力する直流電圧が低い場合、第2の交流直流変換器7fの直流端子は第1の交流直流変換器6aの直流端子の電圧と同電位となるので、第1の交流直流変換器6aの直流側端子にバッテリなどの蓄電装置が繋いであれば、第2の交流直流変換器7fのコンデンサに必ず電荷が充電されている状態となる。その結果、交流回転機の回転子が磁石磁束を持たない構成の場合でも、電機子2に電圧を発生させることが可能となり、その結果、第1の直流交流変換器6aおよび第2の交流直流変換器7fが電機子2から得たエネルギーをそれぞれ直流交流変換することができる効果がある。
実施の形態8.
図8はこの発明の実施の形態8による交流回転機を示す構成図である。
なお、図中、図7との同一符号は、同一あるいは相当部分を示すものとする。
上述の実施の形態に記載した界磁電圧印加器8は、制御信号によってオンオフ可能な一つの半導体スイッチ素子と、一つのダイオードを直列に接続する構成とし、該ダイオードと界磁巻線3が並列となるように界磁電圧印加器8と界磁巻線3とを接続していたが、この実施の形態8においては、図8に示すように、界磁電圧印加器8gは電圧可逆形2象限チョッパとしたものである。
すなわち、図8において、界磁電圧印加器8gは、2つのダイオードと2つの制御信号によってオンオフ可能な半導体スイッチ素子を用いて構成されている。
この構成は電圧可逆形2象限チョッパとして知られており(例えば特開平1−202157号公報 図1参照)、界磁電流を高速応答制御できる効果を得ることができる。
このように、実施の形態8によれば、界磁電圧印加器8gを電圧可逆形2象限チョッパの構成にしたので、界磁電圧印加器8gは、界磁電流の変化率を前記実施の形態に記載した界磁電圧印加器の2倍の電圧を印加することができる。これにより、前記実施の形態よりも界磁電流の変化率を高くすることができる。
実施の形態9
図9はこの発明の実施の形態9による交流回転機を示す構成図である。
なお、図中、図1との同一符号は、同一あるいは相当部分を示すものとする。
前記実施の形態5に記載した第2の交流直流変換器7dは3つのダイオードと3つのコンデンサによって3倍電圧整流するように構成したが、この実施の形態9においては、図9に示すように、第2の交流直流変換器を、4つのダイオードと4つのコンデンサによって4倍電圧整流するように構成したものである。
図9において、電機子2の3相端子のうちの2相と接続している第2の交流直流変換器7hは、4個のダイオードと、4個のコンデンサによって構成されている。この構成は4倍電圧整流回路として知られており(例えば特開昭61−227670号公報図1参照)、第1の交流直流変換器6が交流から直流にエネルギー変換した時の電圧に対して、4倍の電圧を出力することができる。従って、前記実施の形態に記載の第2の交流直流変換器よりも高い直流電圧を界磁電圧印加器8へ出力することが可能である。これにより、界磁電流の制御応答性がより高くなる効果がある。
以上のように、実施の形態9によれば、界磁電流の変化率を高くすることで、エンジン休筒の周波数やプーリとベルトの間に発生するスリップの周波数への追従性を向上させることができる。
また、従来装置のバッテリの直流電圧を一旦交流化して高圧化した上で直流に戻すDC/DCコンバータの代わりに、第2の交流直流変換器7hを設けて交流回転機1の交流電圧を直流に変換するようにしたので、DC/DCコンバータで必要だったインダクタンスや、制御信号によってオンオフ可能な半導体スイッチ素子や、半導体スイッチ素子に与える制御信号生成手段が不要となり、簡素かつ部品点数を少なくできる効果がある。その結果、該装置の信頼性や設置寸法の面で利点がある。
実施の形態10.
図10はこの発明の実施の形態10による交流回転機を示す構成図である。なお、図中、図8との同一符号は、同一あるいは相当部分を示すものとする。
前記実施の形態8に記載した界磁電圧印加器8gは、2つのダイオードと2つの制御信号によってオンオフ可能な半導体スイッチ素子を用いて電圧可逆形2象限チョッパとしていたが、この実施の形態10においては、界磁電圧印加器8iを、4つのダイオードと4つの制御信号によってオンオフ可能な半導体スイッチ素子を用いて単相インバータで構成したものである。
図10において、界磁電圧印加器8iは、4つのダイオードと4つの制御信号によってオンオフ可能な半導体スイッチ素子を用いて構成されている。この構成は単相インバータとして知られており(例えば特開昭62−213577号公報 図3参照)、界磁電流を高速応答制御できるとともに、電流極性を正負自由に選択可能である。
このように、この実施の形態10では、界磁電圧印加器8iを単相インバータの構成にしたので、界磁電圧印加器8iは、界磁電流の正負極性を自由に選択できる。
例えば、直流成分K1アンペアの界磁電流に周波数Fヘルツ成分を重畳したい場合、即ち、界磁電流を『K1+K2cos(2π×F×t)』アンペアで与えたい場合、前記実施の形態では界磁電流は正である制約があったので、周波数Fヘルツ成分の波高値である振幅K2は|K1|>|K2|の範囲でしか重畳できなかった。この実施の形態10では、界磁電圧印加器8iを単相インバータとしたので、直流成分K1アンペアの界磁電流に周波数Fヘルツ成分を重畳したい場合、界磁電流は正負のいずれでも良いため、周波数Fヘルツ成分の振幅K2は、K1アンペア以下でもK1アンペア以上でも重畳できる。
また、交流回転機1が発生するトルクは界磁電流に概ね比例するので、界磁電流の周波数Fヘルツ成分の振幅を大きくすることができれば、交流回転機1が発生するFヘルツ成分トルクも大きくすることができる効果がある。
以上のように、この発明の実施の形態10によれば、界磁電圧印加器8iを単相インバータとすることで、エンジン休筒の周波数やプーリとベルトの間に発生するスリップの周波数と同期して発生させたい交流回転機のトルクを大きくすることができる。その結果、エンジン休筒に起因する振動やプーリとベルトの間に発生するスリップなどの抑制効果を高めることができる利点がある。
実施の形態11.
上述の実施の形態10においては、界磁電圧印加器8iは、4つのダイオードと4つの制御信号によってオンオフ可能な半導体スイッチ素子を用いて構成していたが、図11に示すように、逆方向ダイオードが内蔵されているパワーMOSFETを用いても同様の作用効果を奏するものであることは言うまでもない。図11は、実施の形態11における界磁電圧印加器8jの構成を示すものであり、逆方向ダイオードが内蔵されているパワーMOSFET20、21、22、23の計4個を用いることで、4つのダイオードと4つの制御信号によってオンオフ可能な半導体スイッチ素子を用いた構成となっている。
実施の形態12.
図12はこの発明の実施の形態12による交流回転機を示す構成図である。
上述の実施の形態1〜実施の形態11においては、第2の交流直流変換器が交流から整流するところで高い電圧を得るようにしていたが、この発明の実施の形態12は、図12に示すように、交流回転機に設けられた第2の電機子2nと、該交流回転機の第2の電機子電圧を直流電圧に変換し界磁電圧印加器8に接続する第2の交流直流変換器7kとを備え、第2の電機子2nの電圧自身が高くなるように構成したものである。
すなわち、図12において、実施の形態12の交流回転機は、3相の第1の電機子2mと、2相の第2の電機子2n、および界磁巻線3と、界磁指令に基づいて界磁電流を制御する回転機制御手段4kとを備え、回転機制御手段4kは、第2の電機子2nの電圧を直流電圧に変換し界磁電圧印加器8に接続する第2の交流直流変換器7kを具備し、第2の電機子2nは、第1の電機子2mよりも巻回数を多くしている。
図13は、回転機本体1kの内部構成を示す図である。図において、第1の電機子2mは、第1のU相巻線30と第1のV相巻線31と第1のW相巻線32によって構成され、それぞれの巻回数は等しくされている。第2の電機子2nは、第1のV相巻線31に接続された第2のV相巻線33と、第1のW相巻線32に接続された第2のW相巻線34とから構成することで、第2のV相巻線33と第2のW相巻線34の分だけ、巻回数は第1の電機子2mよりも多くなる。その結果、回転機本体1kが回転しているとき、第2の電機子2nの電機子電圧は、第1の電機子2mの電機子電圧より高くなる。
以上のように構成された実施の形態12の交流回転機によれば、第2の電機子2nから第1の電機子電圧よりも高い電圧を得ることが可能であるとともに、第2の電機子2nを2相以下の巻線を有するようにし、第2の交流直流変換器7kも2相としたので、特許文献3に記されたような従来の交流回転機より少ない端子数や配線数で、回転機本体1kと回転機制御手段4kを結ぶことができ、信頼性や、配線の煩わしさから開放できる利点がある。
加えて、第2の交流直流変換器7kが界磁電圧印加器8に出力する直流電圧をより高い電圧にすることが可能であるので、界磁電流の変化率も高くすることができる。また、直流を昇圧するのではなく、第1の電機子よりも巻回数を多くした第2の電機子電圧を第2の交流直流変換器を用いて整流することにより、DC/DCコンバータより部品点数の少ない構成で界磁電流の変化率を高くできる効果がある。
実施の形態13.
図14は、この発明の実施の形態13の交流回転機を示す構成図であり、第2の電機子を第1の電機子から絶縁し、前記実施の形態12の第1の交流直流変換器の直流端子と第2の交流直流変換器の直流端子との間に、界磁電圧充電器10pを取り付けたものである。
図14において、実施の形態13の交流回転機は、3相の第1の電機子2mと、2相の第2の電機子2n、および界磁巻線3と、界磁指令に基づいて界磁電流を制御する回転機制御手段4pとを備え、回転機制御手段4pは、第1の電機子2mの電圧を直流電圧に変換し直流電圧源に接続する第1の交流直流変換器6pと、第2の電機子2nの電圧を直流電圧に変換し界磁電圧印加器8に接続する第2の交流直流変換器7pと、第1の交流直流変換器6pの直流端子と第2の交流直流変換器7pの直流端子との間に接続された界磁電圧充電器10pから構成され、第1の交流直流変換器6pの直流側端子の負極と、第2の交流直流変換器7pの負極とは同電位になるように接続している。また、第2の電機子2nは、第1の電機子2mよりも巻回数を多くしている。
図15は、実施の形態13における回転機本体1pの内部構成を示す図である。
図15において、第1の電機子2mは前記実施の形態12と同様、第1のU相巻線30と第1のV相巻線31と第1のW相巻線32によって構成され、それぞれの巻回数は等しくしている。第2の電機子2nは、第1のU相巻線30および第1のW相巻線32とは電気的に絶縁された、第2のU相巻線40と第2のW相巻線41によって構成され、それぞれの巻回数は第1の電機子2mの巻回数より大きくしている。その結果、回転機本体1pが回転しているとき、第2の電機子2nの電機子電圧は、第1の電機子2mの電機子電圧より高くなる。
この実施の形態13によれば、第2の電機子2nを第1の電機子2mから絶縁したので、第1の交流直流変換器6pの直流端子と、第2の交流直流変換器7pの直流端子との負極または正極のいずれか一方を同電位にしても良く、その結果、第1の交流直流変換器6pと第2の交流直流変換器7pの間に取り付けた界磁電圧充電器10pのダイオードは、前記実施の形態よりも少ない1個で構成できる利点がある。
また、界磁電圧充電器10pとして1個のダイオードを設けるだけで、第1の交流直流変換器6pの直流側端子にバッテリなどの蓄電装置が繋いであれば、第2の交流直流変換器7pにおける直流側端子の電圧は少なくとも第1の交流直流変換器6pの直流側端子の電圧以上となるので、交流回転機の回転子が磁石磁束を持たない構成の場合でも、電機子2に電圧を発生させることが可能となり、その結果、第1の交流直流変換器6pおよび第2の直流交流変換器7pが電機子から得たエネルギーをそれぞれ交流直流変換することができる効果がある。
実施の形態14.
実施の形態12における交流回転機は、3相の第1の電機子と2相の第2の電機子を有していたが、第1の電機子のうち1相と第2の電機子のうち1相とを共通にして、回転機制御手段に接続するように構成しても良い。
図16は、このようにしたこの発明の実施の形態14による交流回転機を示す構成図である。
図16に示すように、実施の形態14による交流回転機は3相の第1の電機子2mと、2相の第2の電機子2q、および界磁巻線3と、界磁指令に基づいて界磁電流を制御する回転機制御手段4qとを備え、回転機制御手段4qは、第2の電機子2qの電圧を直流電圧に変換し界磁電圧印加器8に接続する第2の交流直流変換器7qを具備し、第2の電機子2qは、第1の電機子2mの3相のうちの1相と、第2の電機子2qのうちの1相とを共通にしている。
図17は、実施の形態14における回転機本体1qの内部構成を示す図である。
図17のように結線することで、第1の電機子2mのうちの1相と第2の電機子2qのうちの1相とを共通にできる。その結果、前記実施の形態12の交流回転機より、少ない端子数や配線数で回転機本体1qと回転機制御手段4qを結ぶことができる効果がある。
また、第2の交流直流変換器7qを2相とすることで、従来装置より少ない部品点数で第2の交流直流変換器を構成することが可能であり、信頼性や配線の煩わしさから開放できる利点がある。
本発明の実施の形態1による交流回転機を示す構成図である。 本発明の実施の形態2による交流回転機を示す構成図である。 本発明の実施の形態3による交流回転機を示す構成図である。 本発明の実施の形態4による交流回転機を示す構成図である。 本発明の実施の形態5による交流回転機を示す構成図である。 本発明の実施の形態6による交流回転機を示す構成図である。 本発明の実施の形態7による交流回転機を示す構成図である。 本発明の実施の形態8による交流回転機を示す構成図である。 本発明の実施の形態9による交流回転機を示す構成図である。 本発明の実施の形態10による交流回転機を示す構成図である。 本発明の実施の形態11による界磁電圧印加器を示す構成図である。 本発明の実施の形態12による交流回転機を示す構成図である。 本発明の実施の形態12における回転機本体の内部構成を示す図である。 本発明の実施の形態13による交流回転機を示す構成図である。 本発明の実施の形態13における回転機本体の内部構成を示す図である。 本発明の実施の形態14による交流回転機を示す構成図である。 本発明の実施の形態14における回転機本体の内部構成を示す図である。
符号の説明
1 交流回転機、2 電機子、3 界磁巻線、4 回転機制御手段、5 界磁制御器、
6 第1の交流直流変換器、7 第2の交流直流変換器、8 界磁電圧印加器、
10 界磁電圧充電器。

Claims (8)

  1. 電機子と、界磁巻線と、界磁指令に基づいて前記界磁巻線の界磁電流を制御する回転機制御手段とを備え、前記回転機制御手段は、前記界磁巻線に電圧を印加する界磁電圧印加器と、前記界磁指令に基づいて印加すべき界磁電圧指令を演算し、この界磁電圧指令を前記界磁電圧印加器に出力する界磁制御器と、前記電機子の電機子電圧を直流電圧に変換し直流電圧源に接続する第1の交流直流変換器と、前記電機子の電機子電圧を直流電圧に変換し前記界磁電圧印加器に接続する第2の交流直流変換器と、前記第1の交流直流変換器と前記第2の交流直流変換器との間に接続された界磁電圧充電器とを具備し、前記第2の交流直流変換器は、少なくとも2個のダイオードと2個のコンデンサを用いて前記第1の交流直流変換器の直流電圧より高い直流電圧を得るとともに、前記界磁電圧充電器によって前記高い直流電圧を保つように構成されたことを特徴とする交流回転機。
  2. 前記界磁電圧充電器は、少なくとも2個のダイオードによって構成されて、前記第1の交流直流変換器の直流端子と前記第2の交流直流変換器の直流端子との間に設けられ、前記第1の交流直流変換器の直流端子の電圧よりも前記第2の交流直流変換器の直流端子の電圧が低い場合は、前記第1の交流直流変換器の直流端子と前記第2の交流直流変換器の直流端子とが同電位となり、前記第1の交流直流変換器の直流端子の電圧よりも前記第2の交流直流変換器の直流端子の電圧が大きい場合は、前記第1の交流直流変換器の直流端子と前記第2の交流直流変換器の直流端子との間が開放となるように前記ダイオードを接続したことを特徴とする請求項1に記載の交流回転機。
  3. 前記第2の交流直流変換器は、少なくとも9個のダイオードと3個のコンデンサを用いて倍電圧整流するように構成されたことを特徴とする請求項1または請求項2に記載の交流回転機。
  4. 前記第2の交流直流変換器は、少なくとも3個のダイオードと3個のコンデンサを用いて3倍電圧整流するように構成されたことを特徴とする請求項1または請求項2に記載の交流回転機。
  5. 前記第2の交流直流変換器は、少なくとも12個のダイオードと6個のコンデンサを用いて3倍電圧整流するように構成されたことを特徴とする請求項1または請求項2に記載の交流回転機。
  6. 前記第2の交流直流変換器は、少なくとも4個のダイオードと4個のコンデンサを用いて4倍電圧整流するように構成されたことを特徴とする請求項1または請求項2に記載の交流回転機。
  7. 前記界磁電圧印加器は、少なくとも2つのダイオードと制御信号によってオンオフ可能な2つの半導体スイッチ素子を用いた電圧可逆形2象限チョッパであることを特徴とする請求項1または請求項2に記載の交流回転機。
  8. 前記界磁電圧印加器は、少なくとも4つのダイオードと制御信号によってオンオフ可能な4つの半導体スイッチ素子とを用いた単相インバータであることを特徴とする請求項1または請求項2に記載の交流回転機。
JP2007209852A 2007-08-10 2007-08-10 交流回転機 Expired - Fee Related JP5052255B2 (ja)

Priority Applications (1)

Application Number Priority Date Filing Date Title
JP2007209852A JP5052255B2 (ja) 2007-08-10 2007-08-10 交流回転機

Applications Claiming Priority (1)

Application Number Priority Date Filing Date Title
JP2007209852A JP5052255B2 (ja) 2007-08-10 2007-08-10 交流回転機

Publications (2)

Publication Number Publication Date
JP2009044928A JP2009044928A (ja) 2009-02-26
JP5052255B2 true JP5052255B2 (ja) 2012-10-17

Family

ID=40445056

Family Applications (1)

Application Number Title Priority Date Filing Date
JP2007209852A Expired - Fee Related JP5052255B2 (ja) 2007-08-10 2007-08-10 交流回転機

Country Status (1)

Country Link
JP (1) JP5052255B2 (ja)

Families Citing this family (2)

* Cited by examiner, † Cited by third party
Publication number Priority date Publication date Assignee Title
JP2014011835A (ja) * 2012-06-28 2014-01-20 Toyo Electric Mfg Co Ltd 分散電源用発電装置の整流回路
CN112532128B (zh) * 2020-11-13 2024-08-09 北京曙光航空电气有限责任公司 一种航空大功率复合无刷起动发电系统及其控制方法

Family Cites Families (3)

* Cited by examiner, † Cited by third party
Publication number Priority date Publication date Assignee Title
JPS62285698A (ja) * 1986-06-04 1987-12-11 Hitachi Ltd 車両用交流発電機
JP2000324898A (ja) * 1999-05-13 2000-11-24 Nissan Motor Co Ltd オルタネータ制御装置
JP2002218798A (ja) * 2001-01-22 2002-08-02 Mitsubishi Electric Corp 車両用電源装置

Also Published As

Publication number Publication date
JP2009044928A (ja) 2009-02-26

Similar Documents

Publication Publication Date Title
US8975886B2 (en) Charging and distribution control
JP5307814B2 (ja) 電源装置
US6476571B1 (en) Multiple power source system and apparatus, motor driving apparatus, and hybrid vehicle with multiple power source system mounted thereon
US8143824B2 (en) Regenerating braking system including synchronous motor with field excitation and control method thereof
JP6668930B2 (ja) 電力変換装置および電動車両の制御装置
US20090218970A1 (en) Starting and Generating Multiplying Cotnrol System,and Method for Using the System, and an Electromotion Mixed Dynamic Vehicle
RU2498492C2 (ru) Дизель-электрическая система привода
JPH10509017A (ja) 低電圧源を使用したスタータゼネレータシステムと方法
JP2003164165A (ja) 回路装置
US6617820B2 (en) Auxiliary power conversion by phase-controlled rectification
CA2949552C (en) Auxiliary winding for a generator
EP2719888A1 (en) Dual-DC bus starter/generator
US11316457B2 (en) Inverter type engine generator
US9758043B2 (en) Method for operating an energy supply unit for a motor vehicle electrical system
JP5052255B2 (ja) 交流回転機
JP2000083329A (ja) 内燃機関の電磁弁制御装置用エネルギ供給装置
CN204392134U (zh) 一种新型的电气系统
US20030006739A1 (en) Method for improving the efficiency of an electrical machine
US11476787B2 (en) Inverter type engine generator
RU2743391C1 (ru) Система генерации электроэнергии и способ работы системы генерации электроэнергии
US9712100B2 (en) Electric rotating machine and control method therefor
JP2008148498A (ja) 低電圧大電流モータ用電源
JP6832775B2 (ja) エンジン発電機
JPH01190300A (ja) 車両用電源装置
KR101128515B1 (ko) 출력 전압을 조절하는 발전 장치

Legal Events

Date Code Title Description
A621 Written request for application examination

Free format text: JAPANESE INTERMEDIATE CODE: A621

Effective date: 20090226

A977 Report on retrieval

Free format text: JAPANESE INTERMEDIATE CODE: A971007

Effective date: 20110928

A131 Notification of reasons for refusal

Free format text: JAPANESE INTERMEDIATE CODE: A131

Effective date: 20111018

A521 Request for written amendment filed

Free format text: JAPANESE INTERMEDIATE CODE: A523

Effective date: 20111214

TRDD Decision of grant or rejection written
A01 Written decision to grant a patent or to grant a registration (utility model)

Free format text: JAPANESE INTERMEDIATE CODE: A01

Effective date: 20120717

A01 Written decision to grant a patent or to grant a registration (utility model)

Free format text: JAPANESE INTERMEDIATE CODE: A01

A61 First payment of annual fees (during grant procedure)

Free format text: JAPANESE INTERMEDIATE CODE: A61

Effective date: 20120724

R151 Written notification of patent or utility model registration

Ref document number: 5052255

Country of ref document: JP

Free format text: JAPANESE INTERMEDIATE CODE: R151

FPAY Renewal fee payment (event date is renewal date of database)

Free format text: PAYMENT UNTIL: 20150803

Year of fee payment: 3

R250 Receipt of annual fees

Free format text: JAPANESE INTERMEDIATE CODE: R250

R250 Receipt of annual fees

Free format text: JAPANESE INTERMEDIATE CODE: R250

R250 Receipt of annual fees

Free format text: JAPANESE INTERMEDIATE CODE: R250

R250 Receipt of annual fees

Free format text: JAPANESE INTERMEDIATE CODE: R250

R250 Receipt of annual fees

Free format text: JAPANESE INTERMEDIATE CODE: R250

R250 Receipt of annual fees

Free format text: JAPANESE INTERMEDIATE CODE: R250

R250 Receipt of annual fees

Free format text: JAPANESE INTERMEDIATE CODE: R250

R250 Receipt of annual fees

Free format text: JAPANESE INTERMEDIATE CODE: R250

LAPS Cancellation because of no payment of annual fees