JP5019608B2 - 食品入り密封袋を収容するための紙製の外装箱 - Google Patents

食品入り密封袋を収容するための紙製の外装箱 Download PDF

Info

Publication number
JP5019608B2
JP5019608B2 JP2007313111A JP2007313111A JP5019608B2 JP 5019608 B2 JP5019608 B2 JP 5019608B2 JP 2007313111 A JP2007313111 A JP 2007313111A JP 2007313111 A JP2007313111 A JP 2007313111A JP 5019608 B2 JP5019608 B2 JP 5019608B2
Authority
JP
Japan
Prior art keywords
line
fold line
point
box
outer box
Prior art date
Legal status (The legal status is an assumption and is not a legal conclusion. Google has not performed a legal analysis and makes no representation as to the accuracy of the status listed.)
Active
Application number
JP2007313111A
Other languages
English (en)
Other versions
JP2009137596A (ja
Inventor
淳弘 大塚
等 齋藤
健吾 加藤
裕美子 中島
賀子 川本
Current Assignee (The listed assignees may be inaccurate. Google has not performed a legal analysis and makes no representation or warranty as to the accuracy of the list.)
House Foods Corp
Original Assignee
House Foods Corp
Priority date (The priority date is an assumption and is not a legal conclusion. Google has not performed a legal analysis and makes no representation as to the accuracy of the date listed.)
Filing date
Publication date
Application filed by House Foods Corp filed Critical House Foods Corp
Priority to JP2007313111A priority Critical patent/JP5019608B2/ja
Publication of JP2009137596A publication Critical patent/JP2009137596A/ja
Application granted granted Critical
Publication of JP5019608B2 publication Critical patent/JP5019608B2/ja
Active legal-status Critical Current
Anticipated expiration legal-status Critical

Links

Images

Landscapes

  • Package Specialized In Special Use (AREA)
  • Cartons (AREA)

Description

本発明は食品入り密封袋を収容するための紙製の外装箱に関する。
殺菌技術の進展により長期に保存可能な袋詰めの調理済み食品が出現している。これに加えて電子レンジの普及に伴い電子レンジで温めるだけで手軽に喫食できる食品が数多く販売されている。この種の食品として調理済みカレー、シチュー、パスタソースなどを例示することができ、その典型例がレトルト食品である。レトルト食品はレトルトパウチに収容され、密封したレトルトパウチを紙製の外装箱に入れた状態で販売されている。
レトルト食品を喫食するために電子レンジを使って加温するときに2つの方法が知られている。第1の方法は、外装箱から取り出したパウチを開封して内容物を皿に移し替え、そして、この皿の上にラップをかけて電子レンジで加熱する方法である。第2の方法は、外装箱からレトルトパウチを取り出し、そして、レトルトパウチを電子レンジで加熱した後にレンジパウチから内容物つまり食品を皿などの食器に移し替えて喫食する方法である。
第2の方法にあっては、食品を密封したパウチを電子レンジで加熱したときにパウチ内部の圧力が上昇して破裂する虞がある。このため、レトルトパウチには、その内圧が一定以上の圧力になったときに例えば一つの角部のシールが剥離して圧力をリリーフする等、様々な工夫が施されている(特許文献1)。しかしながら、レトルトパウチを横にした状態で電子レンジで加熱すると、内圧のリリーフと一緒にレトルトパウチから内容物が外部に漏れ出す可能性がある。このことから、レトルトパウチは扁平な袋の他に、起立可能なスタンディングパウチが実用化されている。しかし、スタンディングパウチであったとしても、素材が可撓性の材料でできているため、電子レンジで加熱している最中に倒れてしまう可能性を含んでいる。このことから、レトルトパウチを起立した状態で保持するための支持具が提案されている(特許文献2、3)。
特開平8−85579号公報 特開2001−233356号公報 特開2003−292061号公報
食習慣も多様化している今日、場所を選ばずに手軽に喫食できる袋詰めの食品の商品展開が多様化する傾向にある。
本発明の目的は、袋詰め食品に関して新たな喫食方法を提供することのできる食品入り密封袋を収容するための紙製の外装箱を提供することにある。
本発明の更なる目的は、従来から食品入り密封袋の外装のために一般的に用いられてきた紙製の外装箱に対する付加的な機能として喫食時の食器としての機能を付与することのできる、食品入り密封袋を収容するための紙製の外装箱を提供することにある。
本発明の更なる目的は、従来から食品入り密封袋の外装のために一般的に用いられてきた紙製の外装箱に対する付加的な機能として電子レンジで加熱する際にパウチを起立状態に保持する支持具としての機能を付与することのできる、食品入り密封袋を収容するための紙製の外装箱を提供することにある。
本発明の更なる目的は、レトルトパウチの外装箱として一般化している紙製の且つ扁平な直方体形状の箱の基本設計を変更することなく、上述した食器としての機能及び支持具としての機能を付与することのできる、食品入り密封袋を収容するための紙製の外装箱を提供することにある。
上記の技術的課題は、本発明の第一の観点によれば、図1から図16を参照して、
正面(1a)及び背面(1b)を含む6つの面を備えた直方体形状の且つ食品入り密封袋を収容するための紙製の外装箱(1)において、
前記外装箱(1)を第1、第2のハーフ(2,3)に二分割することのできる弱化線(4)と、
前記第1のハーフ(2)又は第2のハーフ(3)の開口(5)に対抗する端面(6)から離間した位置で全周に亘って延びる周囲折り線(7)と、
前記正面(1a)及び前記背面(1b)における前記周囲折り線(7)の各端から所定距離内方に位置する第1の点(P1)と、前記端面(6)の各角部とを結ぶ合計4本の仮想傾斜直線(FL1)で折り目が形成されるのを誘導する折り目形成誘導手段とを有することを特徴とする食品入り密封袋を収容するための紙製の外装箱(1)であって、請求項1に係る発明は更に、典型例の図51、52を参照して、前記弱化線を切断して前記第1、第2のハーフを形成したときに前記周囲折り線(7)が形成されているハーフ(244)の開口(243)を幅方向に拡大させるために前記第1の点(P1)を通る垂線が前記弱化線(4)と交差する点よりも前記外装箱前記正面及び背面における幅方向内方に位置する前記弱化線(4)上の点から前記周囲折れ線(7)に向けて延びる第1の折り線(242)を有することによって達成される。また、請求項2に係る発明は、典型例の図26や図27等を参照して、前記第1の点(P1)を通る垂線が前記弱化線(4)と交差する点よりも前記外装箱の前記正面及び背面における幅方向内方に位置する前記弱化線(4)上の点と前記第1の点(P1)との間に折り目を形成する第2の折り線(122)を有することにより達成される。また、請求項3に係る発明は、典型例の図26や図27等を参照して、前記弱化線(4)を切断して前記第1、第2のハーフを形成したときに前記周囲折り線(7)が形成されているハーフの開口を幅方向に拡大させるために前記第1の点(P1)を通る垂線が前記弱化線(4)と交差する点よりも前記外装箱の前記正面及び背面における幅方向外方に且つ前記外装箱の前記正面及び前記背面の前記弱化線の端よりも内方に位置する前記弱化線(4)上の点と前記第1の点(P1)との間に折り目を形成する第3の折り線(121)を有することにより達成される。また、請求項4に係る発明は、典型例の図35、図36を参照して、前記第1の点(P1)を通る垂線が前記弱化線(4)と交差する点と前記第1の点(P1)との間に亘って延び且つ前記正面及び前記背面において幅方向内方側と外方側に向けて湾曲した第1、第2の曲線の折り目を形成する第4、第5の折り線(161、162)とを有することにより達成される。また、請求項5に係る発明は、典型例の図43、図44を参照して、前記弱化線(4)を切断して前記第1、第2のハーフを形成したときに前記周囲折り線(7)が形成されているハーフの開口を幅方向に拡大させるために前記第1の点(P1)を通る前記弱化線の垂線上に形成され且つ前記第1の点(P1)から前記弱化線(4)に向けて延びる第6の折り線(201)と、該第6の折り線(201)が前記第1の点(P1)から前記弱化線(4)に向かう途中で分岐して、前記第1の点(P1)を通る垂線が前記弱化線(4)と交差する点よりも前記外装箱の前記正面及び前記背面において幅方向内方と外方側の弱化線(4)上の2つの交点に、夫々、達する第1、第2の分岐折り線(202,202)とを有することにより達成される。
上記の技術的課題は、本発明の第二の観点によれば、図19から図21を参照して、
(1a)及び背面(1b)を含む6つの面を備えた直方体形状の且つ食品入り密封袋を収容するための紙製の外装箱(1)において、
前記外装箱(1)を第1、第2のハーフ(2,3)に二分割することのできる弱化線(4)と、
前記第1のハーフ(2)又は第2のハーフ(3)の開口(5)に対抗する端面(6)から離間した位置で全周に亘って延びる周囲折り線(7)と、
前記正面(1a)及び前記背面(1b)における前記周囲折り線(7)の各端から所定距離内方に位置する交点(P1)と、前記端面(6)の各角部とを結ぶ合計4本の曲線からなる弱化線又は切断線(12)とを有することを特徴とする食品入り密封袋を収容するための紙製の外装箱を提供することにより達成される。
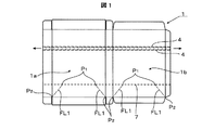
第一の観点による発明について以下に説明する。図1は外装箱の展開図であり、図2は外装箱の斜視図である。外装箱(1)は、6面を備えた立方体形状を有し、図示の例は、レトルトパウチを収容するための従来から周知の比較的扁平な紙製の箱である。図2を参照して弱化線(4)に沿って切断することにより、外装箱(1)を半割りして2つのハーフ(2)、(3)にすることができ、また、これにより外装箱(1)に収容されていた図外の密封袋を取り出すことができる。
密封袋には食品が収容されている。この食品は調理済み食品であってもよいし、電子レンジで加熱することで調理できる半食品であってもよいし、密封袋を開封して、袋の中に所定量のミルクや生卵を入れてスプーンで攪拌することにより食品になる半食品であってもよい。
したがって、密封袋は、半食品を含む広義の食品を収容して密封することのできる袋であり、その典型例がレトルトパウチである。この密封袋は、扁平な形状を有していてもよいし、スタンディングパウチのように起立性を有していてもよい。
図3に図示のハーフ(2)を、その周囲折り線(7)及び典型例として仮想傾斜直線(FL1)上の第2の折り線(実施例の参照符号8)に従って図4、図5に図示のように折り目を付けることにより形成される有底箱(22)は、図6に図示ように、細長い長方形の端面(6)(図2)を幅方向に拡大した底(20)の両端に一対の底フラップ(21)、(21)を有する。すなわち、有底箱(22)は幅方向及び長手方向に拡大された座面を備え且つ大きく口を開けた開口(23)を備えている(図6)。勿論、上記仮想傾斜直線(FL1)上の第2の折り線は、これに代えて切断線であってもよいし弱化線であってもよい。
有底箱(22)は、密封袋が調理済みカレーを収容したレトルトパウチであれば、このレトルトパウチを有底箱(22)に入れて電子レンジで加熱することで、レトルトパウチを起立した状態に保持する支持具として有底箱(22)を機能させることができる。
また、電子レンジから取り出す際に、レトルトパウチを収容した有底箱(22)は、この有底箱(22)が紙製であるため、断熱性を備えていることから素手で電子レンジから取り出すことができる。
また、この状態で、レトルトパウチの上端部を切り取ってレトルトパウチを開封したときには、有底箱(22)を素手で把持しながら又は有底箱(22)をテーブルの上に置いた状態で、レトルトパウチの内容物をスプーンなどを使って喫食することができる。したがって、有底箱(22)を一種の食器として機能させることができる。
このことは、外装箱(1)から取り出した密封袋を開封するだけで喫食できる食品に関しても、有底箱(22)を作った後に、開封した袋を有底箱(22)に入れることで、有底箱(22)を把持しながら又は有底箱(22)をテーブルの上に置いた状態で袋の中の内容物をスプーンやフォークなどを使って喫食することができる。勿論のことであるが、密封袋を有底箱(22)に入れた後に開封してもよいことは言うまでもない。
また、図2に記載した横幅130mm×縦幅160mm×奥行き25mmは従来から周知の扁平な外装箱の寸法であるが、このような外装箱に対して本発明を適用したときには、外装箱の基本的な構成やこれを作る装置の基本構成をそのまま使って、これに、弱化線(4)、周囲折り線(7)などを付加するだけで本発明に従う外装箱(1)を作ることができる。
外装箱(1)を2つのハーフ(2)、(3)に分割するための弱化線(4)は、図1、図2などから理解できるように2本の互いに隣接して平行に延びる弱化線(4)、(4)によって形成されるジッパー(図22の符号24)であってもよい。また、従来から周知のミシン目で構成してもよい(図7)。勿論、弱化線(4)は必ずしも直線でなくてもよく、アーチ状、波形、ノコギリ歯状など任意の形状を採用することができ、そして、この弱化線(4)の形状によって、有底箱(22)の開口縁に視覚的な面白さを提供することができる。
図8を参照して、ハーフ(2)又は(3)を使って幅方向及び長手方向に拡大した座面を形成する方法の基本的な考え方を説明する。外装箱(1)の正面(1a)及び背面(1b)の各々において、2つ角隅部の矩形領域S1が底フラップ(21)を形成する部分であり、2つの角隅領域S1、S1で挟まれた中間領域S2が幅方向に拡大した座面を作る部分である。したがって、角隅領域S1と中間領域S2とを分けて考えることができる。
先ず、周囲折り線(7)は、仮想傾斜直線(FL1)が交わる交点(P1)よりも外側の折り線部分(7a)と、左右の交点(P1,P1)との間の中央の折り線部分(7b)とに分けて考えることができる。ここに、周囲折り線(7)における外側の折り線部分(7a)と、交点(P1)の垂線(H)とで囲まれた領域が角隅領域(S1)であり、周囲折り線(7)における中央の折り線部分(7b)と左右の垂線(H,H)で囲まれた領域が中間領域(S2)である。上述したように、角隅領域(S1)は底フラップ(21)を形成する領域であるから、この底フラップ(21)を他の座面と同じ平面上に形成するには、外側の折り線(7a)は、外装箱の端面(6)と平行であるのがよく、したがって、最も好ましくは角隅領域(S1)が四角形であるのがよい。そして、ハーフ(2)又は(3)を操作したときに角隅領域(S1)において仮想傾斜直線(FL1)に沿った折り目が出来るように折り目形成誘導手段を設ければよい。
折り目形成誘導手段の典型例は、仮想傾斜直線(FL1)上に折り線、弱化線、切断線を設けることであるが、この折り線や弱化線などは、仮想傾斜直線(FL1)の全長に亘って延びている必要はなく部分的であってもよい。例えば交点(P1)に接する仮想傾斜直線(FL1)上において、交点(P1)の近傍だけに折り線などを設けてもよい。
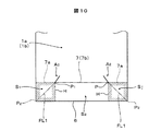
図9〜図14は折り目形成誘導手段の幾つかの例A1〜A6を示す。図9は、交点P1から上方に延びる折り線、弱化線、切断線A1を示す。図10は、交点P1から斜め内方に延びる折り線、弱化線、切断線A2を示す。図11は、交点P1を一つの頂点する空所A3を示す。図12は、交点P1からV字状に延びる折り線、弱化線、切断線A4を示す。図13は、交点P1からV字状に延びる折り線、弱化線、切断線に追加して上方に延びる折り線、弱化線、切断線を有する折り目形成誘導手段A5を示す。図14は、交点P1から二重のV字状に延びる折り線、弱化線、切断線A6を示す。
中間領域(S2)は幅方向に拡大した座面を形成するための領域であるが、周囲折り線(7)の中央の折り線部分(7b)は、外装箱の端面(6)と平行に延びる直線であってよいしアーチ状の曲線であってもよい。例えば、中央の折り線部分(7b)を上方に向けて凸(端面(6)とは反対側に向けて凸)をなすアーチ状の曲線で構成した場合は、外方に向けて凸のアーチ状の輪郭を有する座面を形成することができる。
図15〜図21は、ハーフ(2)又は(3)から作る有底箱(22)の底の作り方の幾つかの代表例を例示するものである。
図15、図16に示すように、周囲折り線(7)に関して点(P1)よりも外側の折り線部分を弱化線又は切断線(11)で構成した例を示し、これにより仮想傾斜直線(FL1)に折り線などを特に設けなくても、仮想傾斜直線(FL1)で折れ目を形成するのを誘導することができるだけでなく、有底箱(22)の底フラップ(21)を扁平に折り畳むのが容易になる。
図17、図18に示すように、周囲折り線(7)を挟んで端面(6)とは反対側の領域つまり角隅領域(S1)及び/又は中間領域(S2)とは反対側において、交点(P1)を頂点とする空所(10)を形成してもよい。交点(P1)を頂点とする空所(10)と外装箱の角(P2)によって、上述したように、仮想傾斜直線(FL1)に折り線などを特に設けなくても、空所(10)によって、点(P1)と外装箱の角(P2)とを結ぶ仮想傾斜直線(FL1)で折り目を形成するのを誘導する折り目形成誘導手段を構成することができる。また、周囲折り線(7)を挟んで端面(6)とは反対側の領域(つまり有底箱(22)の周囲壁を構成する領域)に延びる空所(10)の辺によって周囲壁の屈曲を誘導することができる(図18)。
図19〜図21は、変形例として、角隅領域(S1)に、交点(P1)と角部(P2)との間に延びる弱化線又は切断線(12)を設けた例を示す。
開封した外装箱の一部を使って、拡大した底を備えた有底箱を作る一例の外装箱の展開図である。 図1に図示の外装箱の斜視図である。 外装箱を2分割して有底箱を作る前のハーフの斜視図である。 ハーフの折り線に従って有底箱を作る第1段階を説明するための図である。 ハーフの折り線に従って有底箱を作る最終段階を説明するための図である。 図1の外装箱から作った有底箱の斜視図である。 外装箱を2分割するための弱化線として一本のミシン目を採用した変形例を説明するための図である。 有底箱の底フラップを含む幅方向に拡大した座面を形成する基本的な考え方を説明するための図である。 仮想傾斜直線で折り目ができるのを誘導する手段の第1の例を示す図である。 仮想傾斜直線で折り目ができるのを誘導する手段の第2の例を示す図である。 仮想傾斜直線で折り目ができるのを誘導する手段の第3の例を示す図である。 仮想傾斜直線で折り目ができるのを誘導する手段の第4の例を示す図である。 仮想傾斜直線で折り目ができるのを誘導する手段の第5の例を示す図である。 仮想傾斜直線で折り目ができるのを誘導する手段の第6の例を示す図である。 開封した外装箱の一部を使って、拡大した底を備えた有底箱を作る第2の例の外装箱の展開図である。 図15に図示の外装箱から作った有底箱の斜視図である。 開封した外装箱の一部を使って、拡大した底を備えた有底箱を作る第3の例の外装箱の展開図である。 図17に図示の外装箱から作った有底箱の斜視図である。 開封した外装箱の一部を使って、拡大した底を備えた有底箱を作る第4の例の外装箱の展開図である。 図19に図示の外装箱から作った有底箱の斜視図である。 図20の有底箱を上下逆さまにした図である。 第1参考例の外装箱の展開図である。 第1参考例の外装箱の斜視図である。 上下逆さまにした状態の、第1参考例の外装箱から作った有底箱斜視図である。 第1参考例の外装箱から作った有底箱の斜視図である。 第1実施例の外装箱の展開図である。 第1実施例の外装箱から作った有底箱の斜視図である。 第2実施例の外装箱の展開図である。 第2実施例の外装箱から作った有底箱の斜視図である。 第3実施例の外装箱の展開図である。 第3実施例の外装箱から作った有底箱の斜視図である。 図31の有底箱を上下逆さまにした図である。 第4実施例の外装箱の展開図である。 第4実施例の外装箱から作った有底箱の斜視図である。 第5実施例の外装箱の展開図である。 第5実施例の外装箱から作った有底箱の斜視図である。 第6実施例の外装箱の展開図である。 第6実施例の外装箱から作った有底箱の斜視図である。 第2参考例の外装箱の展開図である。 第2参考例の外装箱から作った有底箱の斜視図である。 第7実施例の外装箱の展開図である。 第7実施例の外装箱から作った有底箱の斜視図である。 第8実施例の外装箱の展開図である。 第8実施例の外装箱から作った有底箱の斜視図である。 第3参考例の外装箱の展開図である。 第3参考例の外装箱から作った有底箱の斜視図である。 第4参考例の外装箱の展開図である。 第4参考例の外装箱から作った有底箱の斜視図である。 第9実施例の外装箱の展開図である。 第9実施例の外装箱から作った有底箱の斜視図である。 第10実施例の外装箱の展開図である。 第10実施例の外装箱から作った有底箱の斜視図である。 第5参考例の外装箱の展開図である。 第5参考例の外装箱から作った有底箱の斜視図である。 第11実施例の外装箱の展開図である。 第11実施例の外装箱から作った有底箱の斜視図である。 第6参考例の外装箱の展開図である。 第6参考例の外装箱から作った有底箱の斜視図である。 第7参考例の外装箱の展開図である。 第7参考例の外装箱の斜視図である。 第7参考例の外装箱から作った有底箱及び蓋の斜視図である。 第12実施例の外装箱の展開図である。 第12実施例の外装箱から作った有底箱及び蓋の斜視図である。 第8参考例の外装箱の展開図である。 第8参考例の外装箱から作った蓋フラップ付き有底箱の斜視図である。 第9参考例の外装箱の展開図である。 第9参考例の外装箱から作った蓋フラップ付き有底箱の斜視図である。
以下に、添付の図面に基づいて本発明の好ましい実施例を説明する。以下の実施例の説明において、上述した図1〜図21で説明した要素と同じ要素には同じ参照符号を付すことにより、その説明を省略するが、底フラップ21を備え且つ幅方向に拡大した底20の作り方に関しては図1〜図21の教示に従って上述の幾つかの作り方のうち任意の作り方を適用できる。従って以下の実施例で図示した底の作り方は単なる一例であると理解されたい。また、外装箱を二分割するための弱化線4に関しても同様に各実施例で図示した弱化線4は単なる例示であり、互いに平行に延びる二本の弱化線4、4からなるジッパーであってよいし、1本の弱化線4で構成してもよく、また、この弱化線4は直線状に延びていてもよいし、ジグザグなど任意の形状で延びていてもよい。
第1参考例(図22〜図25)
第1参考例の外装箱110にあっては、その正面110aと背面110bにおいて、外装箱110を2つに分割するための弱化線4と、周囲折り線7との間に、平行に延びる直線からなる一対の縦折り線111、111を有し、各縦折り線111は、上述した仮想傾斜直線(FL1)上の第2の折り線8が周囲折り線7と交わる点P1に接続されている(図22、図23)。各縦折り線111は、必ずしも周囲折り線7又は弱化線4に接続されていなくてもよい。すなわち、各縦折り線111の下端が周囲折り線7に接続されていなくてもよく、及び/又は、上端が弱化線4に接続されていなくてもよい。
これにより、第1参考例の外装箱110から作ることのできる有底箱112(図24、図25)は略正方形の開口113を備えることができ、開封したパウチPの内容物を喫食するのが容易となる。図25の参照符号Sはスプーンである。
第1実施例(図26、図27)
実施例の外装箱120にあっては、その正面120aと背面120bにおいて、外装箱120を2つに分割するための弱化線4と、周囲折り線7との間に、一対のV字状に延びる第1、第2の直線からなる傾斜折り線121、122を有し、各傾斜折り線121、122は、第2の折り線8が周囲折り線7と交わる点P1に接続されている(図26)。各傾斜折り線121、122は、必ずしも周囲折り線7及び/又は弱化線4に接続されていなくてもよい。すなわち、各傾斜折り線121、122の下端が周囲折り線7に接続されていなくてもよく、及び/又は、上端が弱化線4に接続されていなくてもよい。
これにより、第実施例の外装箱120から作ることのできる有底箱123(図27)は略正八角形の開口124を備えることができる。
第2実施例(図28、図29)
この第実施例は、上記第実施例の変形例でもある。第実施例の外装箱130にあっては、V字状に延びる第1、第2の傾斜折り線121、122に隣接して且つ対応する第2の折り線8が周囲折り線7と交わる点P1に接続された第1、第2の付加的な傾斜折り線131、132が設けられている。
この第実施例においても、第1、第2の付加的な傾斜折り線131、132は、必ずしも周囲折り線7及び/又は弱化線4に接続されていなくてもよい。すなわち、各付加的な傾斜折り線131、132の下端が周囲折り線7に接続されていなくてもよく、及び/又は、上端が弱化線4に接続されていなくてもよい。
これにより、第実施例の外装箱120と実質的に同じような略正八角形の開口133を備えた有底箱134(図29)を作ることができる。
第3実施例(図30〜図32)
この第実施例も、上記第実施例の変形例でもある。第実施例の外装箱140にあっては、V字状に延びる第1、第2の傾斜折り線121、122の真ん中に、周囲折り線7と直交する方向に延びる付加的な鉛直折り線141が設けられ、この鉛直折り線141は、弱化線4及び/又は周囲折り線7に接続されているが、必ずしも周囲折り線7及び/又は弱化線4に接続されていなくてもよい。なお、この第実施例では、図8などを参照して説明した弱化線又は切断線12を例示している。
これにより、第実施例の外装箱120よりも角の多い多角形の開口142を備えた有底箱143(図31)を作ることができる。
第4実施例(図33、図34)
上述した第1〜第の実施例と第1参考例にあっては、弱化線4と周囲折り線7との間に付加した折り線111、121、122、131、132、141が全て直線で構成されているが、これらの一部又は全部を曲線で構成してもよいことを例示するのが、この第実施例である。
すなわち、第実施例の外装箱150は、その正面150aと背面150bにおいて、外装箱150を2つに分割するための弱化線4と、周囲折り線7との間に、一対のU字状に延びる第1、第2の曲線からなる放物線状の折り線151、152を有し、各放物線状の折り線151、152の下端は、第2の折り線8が周囲折り線7と交わる点P1に接続されている(図33、図34)。他方、第1、第2の放物線状の折り線151、152の上端は互いに離間した状態で弱化線4に接続されている。第2の折り線8は任意である。
各放物線状の折り線151、152は、必ずしも周囲折り線7及び/又は弱化線4に接続されていなくてもよい。すなわち、各放物線状の折り線151、152の下端が周囲折り線7に接続されていなくてもよく、及び/又は、各放物線状の折り線151、152の上端が弱化線4に接続されていなくてもよい。
これにより、第実施例の外装箱150から作ることのできる有底箱153(図34)は略正八角形の開口154を備えることができる。
第5実施例(図35、図36)
上述した第実施例と同様に、この第実施例の外装箱160にあっても、その正面160aと背面160bにおいて上下に延びる第1、第2の曲線からなる折り線161、162で構成されているが、この第実施例にあってはアーチ状の折り線が採用されており、第1、第2のアーチ状折り線161、162の上端が一点で弱化線4に接続されている点で第実施例とは異なっている。
これにより、第実施例の外装箱160から作ることのできる有底箱163(図36)は略正方形の開口164を備えており、また、その上下方向高さの中間部分は、上記第1、第2のアーチ状折り線161、162によって八角形の断面を有し、そして、この断面八角形の断面形状は側壁の高さ位置によって変化している。
この第実施例にあっても、各アーチ状折り線161、162は、必ずしも周囲折り線7及び/又は弱化線4に接続されていなくてもよい。すなわち、各アーチ状折り線161、162の下端が周囲折り線7に接続されていなくてもよく、及び/又は、各アーチ状折り線161、162の上端が弱化線4に接続されていなくてもよい。
第6実施例(図37、図38)
上述した第、第実施例では、上下に延びる折り線として、一対の放物線又はアーチ状の折り線151、152(161、162)を提案するものであるが、この第実施例の外装箱170にあっては、周囲折り線7と弱化線4との間において上下方向に延びる折り線に関して、S字状に延びる曲線からなる折り線171で構成されている。
この第実施例の外装箱170によれば、略矩形の開口172を備えた有底箱173(図38)を形成することができ、また、その周囲壁の形状の面白さを提供できるが、有底箱173の開口172を多角形にしたいのであれば、弱化線4に接して又はその近傍に縦方向に延びる付加的な縦折り線174を追加すればよい。この縦折り線174は正面170a、背面170bにおいて各1本設けてもよいし複数本設けてもよい。
第2参考例(図39、図40)
この第2参考例の外装箱180は、隣接する第2の折り線8と周囲折り線7との隣接する交点同士を互いに他の折り線181(図39)で連結することで、図40から分かるように、捻れ形状の有底箱182を形成することを提案するものである。
上記他の折り線181は、隣接する第2の折り線8、8と周囲折り線7との隣接する交点P1を2つの頂点とした三角形を作ることのできる第1、第2の直線からなる傾斜した折り線181a、181bで構成されている。これに加えて任意であるが、この第1、第2の直線の折り線181a、181bの交点から弱化線4まで延びる互いに平行に延びる第3の傾斜した折り線183を有しており、この第3の傾斜した折り線183はこの第2参考例では直線で構成されている。
この第2参考例の外装箱180による有底箱182(図40)は、略正方形の開口184を有し且つ側壁に捻りを加えた形状を備えている。勿論、第3の傾斜した折り線183は、その上端が弱化線4に接していなくてもよい。また、第3の傾斜した折り線183は、その下端が、第1、第2の折り線181a、181bの交点に接していなくてもよい。
第7実施例(図41、図42)
この第実施例は上記第2参考例の変形例でもある。図41は第実施例の外装箱190の展開図であるが、この図41から分かるように、上記の他の折り線181は、この第実施例で例示するように、下方に向けて凸の曲線191a、191bで構成してもよい(図41)。また、図41から分かるように、第3の傾斜した折り線183も下方に向けて凸の曲線で構成してもよい。
これにより、第実施例による有底箱192は第2参考例よりも一層捻れを増した形状となる。なお、この第実施例や前記第2参考例では、略正方形の開口184、193を備えているが、これを例えば六角形にするのであれば、図37、図38を参照して説明した第実施例のように、付加的な縦折り線174を追加すればよい。
以上、様々な有底箱の形状を例示したが、上述した要素は様々に組み合わせることも可能であり、これにより種々の形態の異なる有底箱を作ることができる。その例示として図43以降の実施例を以下に説明する。
第8実施例(図43、図44)
この第実施例の外装箱200は、正面200a及び背面200bの各々において、左右一対の下部の鉛直折り線201と、左右一つの上部のU字状の折り線202との組み合わせを示すが、このU字状の折り線202の代わりにV字状の折り線であってよい。これによれば上部の断面及び開口203が八角形であり且つ下部の断面が四角形の有底箱204を作ることができる。
第3参考例(図45、図46)
この第3参考例の外装箱210は、正面210a及び背面210bの各々において、一つのU字状の上部折り線211と各U字状上部折り線211から傾斜して延びる下部傾斜折り線212との組み合わせを示す。正面210a及び背面210bにおいて、左右一対の傾斜折り線212は上方に向かうにしたがって先細りとなるように傾斜している。これによれば開口213の互いに対抗する部位にU字状上部折り線211によって形成される一対の窪みを備えた有底箱214(図46)を作ることができる。
第4参考例(図47、図48)
この第4参考例の外装箱220は、第1参考例(図22〜図25)の変形例として例示してあるが、特に第1参考例に限定されない。この第4参考例の外装箱220は、正面220a、背面220bの左右一対の縦折り線111のうち一方の縦折り線111の上端部にV字状の折り線221が追加してある(図47)。このV字状の折り線221はU字状であってもよい。
このように追加のV字又はU字状の折り線221を追加することにより、有底箱222の開口223の一部に窪みを形成することができ(図48)、これにより有底箱222の一部の角部に形態にアクセントを付けることができる。
第9実施例(図49、図50)
この第実施例の外装箱230は、正面230a、背面230bの夫々において、左右で異なる折り線を入れることにより開口231の形態に面白さを与えることを意図している。具体的には図50から分かるように開口231をハート型にする例としてこの第実施例の外装箱230を提案するものである。
外装箱230は、正面230a及び背面230bにおいて左右に異なる折り線が入れてある。図示の例で言えば、左側に、弱化線4と周囲折り線7との間に延びる鉛直折り線232と、この鉛直折り線232の途中から上方に向けてV字に延びる第1のV字折り線233との組み合わせの折り線が設けられ、右側に、弱化線4と周囲折り線7との間に第2のV字折り線234と、弱化線4から下方に途中まで垂下する鉛直短折り線235との組み合わせの折り線が設けられている。
上記の構成において図50に図示のように折ることにより、ハート型の開口231を備えた有底箱236を形成することができる。
第10実施例(図51、図52)
10実施例の外装箱240は、周囲折り線7と各第2の折り線8との交点から鉛直に途中まで上方に延びる第1の鉛直短折り線241と、正面240a、背面240bにおいて弱化線4の中央から鉛直に途中まで垂下する第2の鉛直短折り線242とを有する。これにより、六角形の開口243を備えた有底箱244(図52)を作ることができる。
第5参考例(図53、図54)
5参考例の外装箱250は、周囲折り線7と弱化線4との間に、周囲折り線7と各第2の折り線8との交点P1から鉛直に上方に直線状に延びる下部短折り線251と、弱化線から鉛直に下方に直線状に延びる上部短折り線252と、上下の短折り線251、252に挟まれた縦長の略楕円状の折り線253との組み合わせが採用されており、これにより、略正方形の開口254を備え且つ上下方向中央部分の角部が窪んだ形態の有底箱255(図54)を作ることができる。
第11実施例(図55、図56)
11実施例は、図16、図17を参照して前述した空所10を設ける場合に、折り線の入れ方に関して例示するものである。図55に図示の第11実施例の外装箱260から理解できるように、正面260a、背面260bにおいて、第2折り線8と周囲折り線7との交点P1を一つの頂点として空所10を設けた場合に、弱化線4と周囲折り線7との間の折り線、この実施例では鉛直折り線261とV字状の折り線262の下端を空所10に接した状態又は近接して設けるのがよい。これにより、第2折り線8及び周囲折り線7に沿って折ることで有底箱263の底の辺を構成する周囲折り線7の折り目を角張らせた状態で有底箱263(図56)を作るのが容易となり、底フラップ21を含めた有底箱263の底面を平坦にするのが容易となる。すなわち、座りの良い有底箱263を作ることができる。
如上の第1〜第11の実施例から分かるように、有底箱112、123などの周囲壁の折り目を付けるための折り線111、121などを交点P1に接しさせることにより、角隅領域S1(図8)における仮想傾斜直線に沿って折り目が形成されるのを誘導する折り目形成手段を構成することができる。したがって、例えば第1参考例において縦折り線111を交点P1に接しさせたときには、第2折り線8を省いてもよいし、逆に、角隅領域S1において第2折り線8などを設けたときには、有底箱112、123などの周囲壁の折り目を付けるための折り線111、121などの下端を交点P1に接続しなくてもよい。
第6参考例(図57、図58)
前述した第1〜第11実施例では、全て平面視長方形の外装箱を縦方向に2分割する例を図示してあるが、これらの変形例として第6参考例として挙げる外装箱270は、図57、図58から分かるように、横方向に2分割して有底箱271を形成するようにしてある。この有底箱271の開口272は、第1実施例に比べて大きな開口を備えているのは勿論である。
なお、図57、図58の例は、前述した第1参考例と実質的に同じ構成であるので、第1参考例の外装箱110と実質的に同じ要素には同一の参照符号を付して、その説明を省略する。勿論、第1〜第11実施例においても、この第6参考例の考えに従って外装箱を横方向に2分割してもよいことは言うまでもない。
第7参考例(図59〜図61)
この第7参考例は、一つの外装箱から有底箱を作ると共に蓋を作る提案である。具体的には、第7参考例の外装箱280によって、第1参考例を例示した有底箱112(図25)の開口123の中に挿入可能な蓋281を作ることができる。外装箱280は、有底箱112を形成するための周囲折り線7、第2の折り線8、折り線111(図22、図23)を形成した部分とは弱化線4を挟んで反対側に、第2の折り線8と実質的に同じ第3の折り線282が形成されており、また、周囲折り線7(これを第1周囲折り線と呼ぶ)と実質的の同じ第2周囲折り線283が形成され、また、折り線111と実質的に同じ折り線111が形成されている。
第2周囲折り線283は、正面280a、背面280bの各々に関して、左右の第3折り線282、282で挟まれた部分が水平方向に延びる中央横方向折り線283aで構成されている。この横方向折り線283aは、前述した第1の周囲折り線7の対応する部分と共通である。しかし、第2周囲折り線283の左右の外側部分は、第1の周囲折り線7とは異なり、傾斜した外側折り線283bで構成され、これにより、蓋281の側壁284の周囲長さが、有底箱112の側壁の周囲長さよりも小さくなるように設計されている。
これにより、図61から理解できるように、有底箱112の開口113の中に、蓋281の側壁284を挿入することができ、したがって、パウチPの中身の一部が残ったときや喫食中に何かの用事で喫食を中止したときには、同じ外装箱280から作った蓋281を有底箱112に挿入することで衛生を保つことができる。
第12実施例(図62、図63)
この第12実施例は、上述した第7参考例と同様に、一つの外装箱から有底箱を作ると共に蓋を作る提案である。具体的には、第12実施例の外装箱290によって、図55、図56を参照して説明した第11実施例の有底箱263の開口124の中に挿入可能な蓋291を作ることができる。外装箱290は、有底箱263を形成するための周囲折り線7、第2の折り線8、鉛直折り線261、V字状折り線折り線262を形成した部分とは弱化線4を挟んで反対側に、第2の折り線8と実質的に同じ第3の折り線292が形成されており、また、周囲折り線7(これを第1周囲折り線と呼ぶ)と実質的の同じ第2周囲折り線293が形成され、また、鉛直折り線261及びV字状折り線262と同じ折り線が形成されている。
第2周囲折り線293は、上述した第7参考例と同様に、正面290a、背面290bの各々に関して、左右の第3折り線292、292で挟まれた部分が水平方向に延びる中央横方向折り線293aで構成されている。この横方向折り線293aは、前述した第1の周囲折り線7の対応する部分と共通である。しかし、第2周囲折り線293の左右の外側部分は、第1の周囲折り線7とは異なり、傾斜した外側折り線293bで構成され、これにより、蓋291の側壁294の周囲長さが、有底箱112の側壁の周囲長さよりも小さくなるように設計されている。これにより、図63から理解できるように、有底箱263の開口の中に、蓋291の側壁294を挿入することができる。
当業者であれば理解できるように、如上の第7参考例及び第12実施例から第2周囲折り線283、293の外側の傾斜した折り線283b、284bを設けて蓋281、291の周囲長さを相対的に小さくすることで有底箱111、263の中に挿入可能な蓋281、291を作る手法は、前述した他の殆ど実施例に適用可能である。
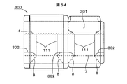
第8参考例(図64、図65)
この第8参考例は、有底箱に蓋フラップを一体に形成する手法を例示するものである。具体的には、第8参考例の外装箱300は、第1参考例の横方向に延びる弱化線4の一部を変形させることで蓋フラップ301を形成する手法を開示するものであるが、それ以外に、周囲折り線7の外側部分に追加のアーチ状折り線302を形成して、有底箱303の周囲折り線7の折り曲げを容易にするようにしてあり、これにより有底箱303の底フラップ21の比較的扁平に折り畳むことができる。
第9参考例(図66、図67)
この第9参考例の外装箱310は第実施例(図26、図27)の変形例である。この第9参考例の外装箱310は、弱化線4の一部に左右一対のアーチ状部分4aを有し、また、このアーチ状部分4aで囲まれた部分に追加の横折り線312を有し、また、横方向に延びる弱化線4から下方に凸となるアーチ状の折り線313が形成されている。これにより有底箱314は一対の蓋フラップ315を備えることができ、この蓋フラップ315を使って有底箱314に蓋をすることができると共に、一対の蓋フラップ315の上端部を指で摘んで持ち運びすることができる。なお、この第9参考例の外装箱310に含まれる一対の傾斜折り線121、122を第実施例(図33、図34)のように放物線状の折り線151、152で置換してもよい。
1 外装箱
1a 正面
1b 背面
2 第1のハーフ
3 第2のハーフ
4 弱化線
6 外装箱の端面
7 周囲折り線
7a 外側の周囲折り線
8 第2の折り線
10 空所
12 曲線で構成された弱化線又は切断線
20 有底箱の底
21 底フラップ
22 有底箱
23 有底箱の開口

Claims (9)

  1. 正面及び背面を含む6つの面を備えた直方体形状の且つ食品入り密封袋を収容するための紙製の外装箱において、
    前記外装箱を第1、第2のハーフに二分割することのできる弱化線と、
    前記第1のハーフ又は第2のハーフの開口に対抗する端面から離間した位置で全周に亘って延びる周囲折り線と、
    前記正面及び前記背面における前記周囲折り線の各端から所定距離内方に位置する前記周囲折り線上の第1の点と、前記端面の各角部とを結ぶ合計4本の仮想傾斜直線で折り目が形成されるのを誘導する折り目形成誘導手段と、
    前記弱化線を切断して前記第1、第2のハーフを形成したときに前記周囲折り線が形成されているハーフの開口を幅方向に拡大させるために前記第1の点を通る垂線が前記弱化線と交差する点よりも前記外装箱前記正面及び背面における幅方向内方に位置する前記弱化線上の点から前記周囲折れ線に向けて延びる第1の折り線とを有していることを特徴とする食品入り密封袋を収容するための紙製の外装箱。
  2. 正面及び背面を含む6つの面を備えた直方体形状の且つ食品入り密封袋を収容するための紙製の外装箱において、
    前記外装箱を第1、第2のハーフに二分割することのできる弱化線と、
    前記第1のハーフ又は第2のハーフの開口に対抗する端面から離間した位置で全周に亘って延びる周囲折り線と、
    前記正面及び前記背面における前記周囲折り線の各端から所定距離内方に位置する前記周囲折り線上の第1の点と、前記端面の各角部とを結ぶ合計4本の仮想傾斜直線で折り目が形成されるのを誘導する折り目形成誘導手段と、
    前記弱化線を切断して前記第1、第2のハーフを形成したときに前記周囲折り線が形成されているハーフの開口を幅方向に拡大させるために前記第1の点を通る垂線が前記弱化線と交差する点よりも前記外装箱前記正面及び背面における幅方向内方に位置する前記弱化線上の点と前記第1の点との間に折り目を形成する第2の折り線とを有することを特徴とする食品入り密封袋を収容するための紙製の外装箱。
  3. 正面及び背面を含む6つの面を備えた直方体形状の且つ食品入り密封袋を収容するための紙製の外装箱において、
    前記外装箱を第1、第2のハーフに二分割することのできる弱化線と、
    前記第1のハーフ又は第2のハーフの開口に対抗する端面から離間した位置で全周に亘って延びる周囲折り線と、
    前記正面及び前記背面における前記周囲折り線の各端から所定距離内方に位置する前記周囲折り線上の第1の点と、前記端面の各角部とを結ぶ合計4本の仮想傾斜直線で折り目が形成されるのを誘導する折り目形成誘導手段と、
    前記弱化線を切断して前記第1、第2のハーフを形成したときに前記周囲折り線が形成されているハーフの開口を幅方向に拡大させるために前記第1の点を通る垂線が前記弱化線と交差する点よりも前記外装箱の前記正面及び背面における幅方向外方に且つ前記外装箱の前記正面及び前記背面の前記弱化線の端よりも内方に位置する前記弱化線上の点と前記第1の点との間に折り目を形成する第3の折り線とを有していることを特徴とする食品入り密封袋を収容するための紙製の外装箱。
  4. 正面及び背面を含む6つの面を備えた直方体形状の且つ食品入り密封袋を収容するための紙製の外装箱において、
    前記外装箱を第1、第2のハーフに二分割することのできる弱化線と、
    前記第1のハーフ又は第2のハーフの開口に対抗する端面から離間した位置で全周に亘って延びる周囲折り線と、
    前記正面及び前記背面における前記周囲折り線の各端から所定距離内方に位置する前記周囲折り線上の第1の点と、前記端面の各角部とを結ぶ合計4本の仮想傾斜直線で折り目が形成されるのを誘導する折り目形成誘導手段と、
    前記弱化線を切断して前記第1、第2のハーフを形成したときに前記周囲折り線が形成されているハーフの開口を幅方向に拡大させるために前記第1の点を通る垂線が前記弱化線と交差する点と前記第1の点との間に亘って延び且つ前記正面及び前記背面において幅方向内方側と外方側に向けて湾曲した第1、第2の曲線の折り目を形成する第4、第5の折り線とを有していることを特徴とする食品入り密封袋を収容するための紙製の外装箱。
  5. 正面及び背面を含む6つの面を備えた直方体形状の且つ食品入り密封袋を収容するための紙製の外装箱において、
    前記外装箱を第1、第2のハーフに二分割することのできる弱化線と、
    前記第1のハーフ又は第2のハーフの開口に対抗する端面から離間した位置で全周に亘って延びる周囲折り線と、
    前記正面及び前記背面における前記周囲折り線の各端から所定距離内方に位置する前記周囲折り線上の第1の点と、前記端面の各角部とを結ぶ合計4本の仮想傾斜直線で折り目が形成されるのを誘導する折り目形成誘導手段と、
    前記弱化線を切断して前記第1、第2のハーフを形成したときに前記周囲折り線が形成されているハーフの開口を幅方向に拡大させるために前記第1の点を通る前記弱化線の垂線上に形成され且つ前記第1の点から前記弱化線に向けて延びる第6の折り線と、
    該第6の折り線が前記第1の点から前記弱化線に向かう途中で分岐して、前記第1の点を通る垂線が前記弱化線と交差する点よりも前記外装箱の前記正面及び前記背面において幅方向内方と外方側の弱化線上の2つの点に、夫々、達する第1、第2の分岐折り線を有していることを特徴とする食品入り密封袋を収容するための紙製の外装箱。
  6. 前記折り目形成誘導手段が折り線、弱化線又は切断線で構成され、
    該折り線、弱化線又は切断線が、前記交点から前記端面に延びる垂線と、前記正面及び前記背面における前記周囲折り線の前記交点から各端に至る外側の折り線部分とで囲まれた四角形の角隅領域に設けられている、請求項1〜5のいずれか一項に記載の紙製の外装箱。
  7. 前記正面及び前記背面における前記周囲折り線において、前記第1の点から前記周囲折り線の各端に至る外側の折り線部分が、前記端面に対して平行に延びている、請求項1〜6のいずれか一項に記載の紙製の外装箱。
  8. 正面及び背面を含む6つの面を備えた直方体形状の且つ食品入り密封袋を収容するための紙製の外装箱において、
    前記外装箱を第1、第2のハーフに二分割することのできる弱化線と、
    前記第1のハーフ又は第2のハーフの開口に対抗する端面から離間した位置で全周に亘って延びる周囲折り線と、
    前記正面及び前記背面における前記周囲折り線の各端から所定距離内方に位置する点と、
    前記端面の各角部とを結ぶ合計4本の曲線からなる弱化線又は切断線とを有することを特徴とする食品入り密封袋を収容するための紙製の外装箱。
  9. 前記密封袋がレトルトパウチであり、
    該レトルトパウチがマイクロ波透過性の材料で構成されている、請求項1〜8のいずれか一項に記載の食品入り密封袋を収容するための紙製の外装箱。
JP2007313111A 2007-12-04 2007-12-04 食品入り密封袋を収容するための紙製の外装箱 Active JP5019608B2 (ja)

Priority Applications (1)

Application Number Priority Date Filing Date Title
JP2007313111A JP5019608B2 (ja) 2007-12-04 2007-12-04 食品入り密封袋を収容するための紙製の外装箱

Applications Claiming Priority (1)

Application Number Priority Date Filing Date Title
JP2007313111A JP5019608B2 (ja) 2007-12-04 2007-12-04 食品入り密封袋を収容するための紙製の外装箱

Publications (2)

Publication Number Publication Date
JP2009137596A JP2009137596A (ja) 2009-06-25
JP5019608B2 true JP5019608B2 (ja) 2012-09-05

Family

ID=40868654

Family Applications (1)

Application Number Title Priority Date Filing Date
JP2007313111A Active JP5019608B2 (ja) 2007-12-04 2007-12-04 食品入り密封袋を収容するための紙製の外装箱

Country Status (1)

Country Link
JP (1) JP5019608B2 (ja)

Families Citing this family (3)

* Cited by examiner, † Cited by third party
Publication number Priority date Publication date Assignee Title
WO2018013780A1 (en) * 2016-07-14 2018-01-18 Graphic Packaging International, Inc. Reclosable carton
JP2025504193A (ja) 2022-02-07 2025-02-06 グラフィック パッケージング インターナショナル エルエルシー 再閉鎖可能な構成を有するカートン
CN115530514B (zh) * 2022-10-25 2025-11-04 成都袁鲜食品有限责任公司 一种方便折叠成盒的食品袋及其折叠方法

Family Cites Families (7)

* Cited by examiner, † Cited by third party
Publication number Priority date Publication date Assignee Title
JPH04214126A (ja) * 1990-02-28 1992-08-05 Toppan Printing Co Ltd 食品包装体のマイクロ波加熱方法
JPH07274889A (ja) * 1994-04-13 1995-10-24 Ajinomoto Co Inc 密封パック入り加工野菜食品
JPH0885579A (ja) * 1994-09-14 1996-04-02 Dainippon Printing Co Ltd 電子レンジ対応レトルトパウチ
JP4422821B2 (ja) * 1999-07-05 2010-02-24 アヲハタ株式会社 電子レンジ加熱用包装容器
JP2001233356A (ja) * 2000-02-23 2001-08-28 Dainippon Printing Co Ltd スタンドパウチ用支え部材
JP3925045B2 (ja) * 2000-06-28 2007-06-06 凸版印刷株式会社 電子レンジ加熱用の箱体
JP2003292061A (ja) * 2002-04-04 2003-10-15 Kyodo Printing Co Ltd 電子レンジ用包装体

Also Published As

Publication number Publication date
JP2009137596A (ja) 2009-06-25

Similar Documents

Publication Publication Date Title
US8607986B2 (en) Wraparound packaging sleeve with stand-up feature
US6409386B1 (en) Container made of flexible material, particularly for liquids
JP2010222050A (ja) 包装スリーブ及びこれを含む複合包装材
JP7352046B2 (ja) 紙容器
US20050079251A1 (en) Flexible pouch-bowl arrangement and methods
JP2011518083A (ja) 折り畳み式密封容器
AU2019246826A1 (en) Snack food container
JP5019608B2 (ja) 食品入り密封袋を収容するための紙製の外装箱
JP2004537478A (ja) 4/5面体の包装容器
JP3196109U (ja) ペントルーフ型包装箱
JP5512203B2 (ja) 包装箱
JP5337507B2 (ja) パウチ収容箱体
US10611512B2 (en) Snack food container
JP5843361B2 (ja) 容器
KR20130000820U (ko) 식품포장용 용기
EP3823908B1 (en) Stand-up packaging
JP5979531B2 (ja) 包装用箱
KR200364685Y1 (ko)
KR200395420Y1 (ko) 즉석식품용 포장용기
JP5464345B2 (ja) 可撓性包装体詰め製品
KR20170009600A (ko) 포장상자
KR20110000923U (ko) 빵류 받침상자
KR200365603Y1 (ko) 레토르트 식품용 포장케이스
JP4940183B2 (ja) パウチ収容箱体
JP2007302324A (ja) 手提げ包装容器

Legal Events

Date Code Title Description
A621 Written request for application examination

Free format text: JAPANESE INTERMEDIATE CODE: A621

Effective date: 20091118

A977 Report on retrieval

Free format text: JAPANESE INTERMEDIATE CODE: A971007

Effective date: 20110826

A131 Notification of reasons for refusal

Free format text: JAPANESE INTERMEDIATE CODE: A131

Effective date: 20110907

A521 Request for written amendment filed

Free format text: JAPANESE INTERMEDIATE CODE: A523

Effective date: 20111107

A131 Notification of reasons for refusal

Free format text: JAPANESE INTERMEDIATE CODE: A131

Effective date: 20120201

A521 Request for written amendment filed

Free format text: JAPANESE INTERMEDIATE CODE: A523

Effective date: 20120402

TRDD Decision of grant or rejection written
A01 Written decision to grant a patent or to grant a registration (utility model)

Free format text: JAPANESE INTERMEDIATE CODE: A01

Effective date: 20120606

A01 Written decision to grant a patent or to grant a registration (utility model)

Free format text: JAPANESE INTERMEDIATE CODE: A01

A61 First payment of annual fees (during grant procedure)

Free format text: JAPANESE INTERMEDIATE CODE: A61

Effective date: 20120611

R150 Certificate of patent or registration of utility model

Ref document number: 5019608

Country of ref document: JP

Free format text: JAPANESE INTERMEDIATE CODE: R150

Free format text: JAPANESE INTERMEDIATE CODE: R150

FPAY Renewal fee payment (event date is renewal date of database)

Free format text: PAYMENT UNTIL: 20150622

Year of fee payment: 3

S533 Written request for registration of change of name

Free format text: JAPANESE INTERMEDIATE CODE: R313533

R350 Written notification of registration of transfer

Free format text: JAPANESE INTERMEDIATE CODE: R350

R250 Receipt of annual fees

Free format text: JAPANESE INTERMEDIATE CODE: R250

R250 Receipt of annual fees

Free format text: JAPANESE INTERMEDIATE CODE: R250

R250 Receipt of annual fees

Free format text: JAPANESE INTERMEDIATE CODE: R250

R250 Receipt of annual fees

Free format text: JAPANESE INTERMEDIATE CODE: R250

R250 Receipt of annual fees

Free format text: JAPANESE INTERMEDIATE CODE: R250

R250 Receipt of annual fees

Free format text: JAPANESE INTERMEDIATE CODE: R250

R250 Receipt of annual fees

Free format text: JAPANESE INTERMEDIATE CODE: R250