JP4969894B2 - パンツ型使い捨ておむつ - Google Patents

パンツ型使い捨ておむつ Download PDF

Info

Publication number
JP4969894B2
JP4969894B2 JP2006106403A JP2006106403A JP4969894B2 JP 4969894 B2 JP4969894 B2 JP 4969894B2 JP 2006106403 A JP2006106403 A JP 2006106403A JP 2006106403 A JP2006106403 A JP 2006106403A JP 4969894 B2 JP4969894 B2 JP 4969894B2
Authority
JP
Japan
Prior art keywords
pants
type disposable
disposable diaper
side edges
sheet
Prior art date
Legal status (The legal status is an assumption and is not a legal conclusion. Google has not performed a legal analysis and makes no representation as to the accuracy of the status listed.)
Expired - Fee Related
Application number
JP2006106403A
Other languages
English (en)
Other versions
JP2006314771A (ja
Inventor
勝彦 杉山
智次 三好
健 新見
和泉 田代
香保里 鈴木
Current Assignee (The listed assignees may be inaccurate. Google has not performed a legal analysis and makes no representation or warranty as to the accuracy of the list.)
New Oji Paper Co Ltd
Oji Nepia Co Ltd
Oji Holdings Corp
Original Assignee
Oji Nepia Co Ltd
Oji Holdings Corp
Oji Paper Co Ltd
Priority date (The priority date is an assumption and is not a legal conclusion. Google has not performed a legal analysis and makes no representation as to the accuracy of the date listed.)
Filing date
Publication date
Application filed by Oji Nepia Co Ltd, Oji Holdings Corp, Oji Paper Co Ltd filed Critical Oji Nepia Co Ltd
Priority to JP2006106403A priority Critical patent/JP4969894B2/ja
Publication of JP2006314771A publication Critical patent/JP2006314771A/ja
Application granted granted Critical
Publication of JP4969894B2 publication Critical patent/JP4969894B2/ja
Expired - Fee Related legal-status Critical Current
Anticipated expiration legal-status Critical

Links

Images

Landscapes

  • Absorbent Articles And Supports Therefor (AREA)

Description

本発明は、パンツ型使い捨ておむつに関するものである。さらに詳しくは、本発明は、おむつ着用時に胴周り部の蒸れを防止し、使用後のおむつを着用者から外す際に容易に外すことができるパンツ型使い捨ておむつに関するものである。
一般に、パンツ型使い捨ておむつは、液透過性のトップシートと、液不透過性のバックシートと、これら両シートの間に配置された吸収体とを具備するおむつ本体からなり、おむつ本体の前後身頃の相対する両側縁を接合して、ウエスト周り開口部と一対の脚周り開口部を形成し、さらに、各開口部に沿って伸縮弾性部材を配置して形成されている。そして、用途に応じて好適に使用できるように様々な形態のものが提案されており、乳幼児を始めとして成人失禁者まで広く使用されている。
このようなパンツ型使い捨ておむつは、ウエスト周り部と脚周り部のフィット性を高めて漏れ防止効果の向上が図られているが、おむつのウエスト周りや脚周りの大きさより着用者のウエスト周りや脚周りが小さい場合にはその部分におむつが十分にフィットしないため、その部分から漏れが生じるという問題点を有している。
上記のような問題点を改善するために、ウエスト周り開口部と脚周り開口部に沿って止着テープを配置し、止着テープで各開口部を締め付けるようにしたパンツ型使い捨ておむつ(特許文献1)、ウエスト周り開口部に沿って止着テープを取付け、止着テープでウエスト周りの開口部を締め付けるようにしたパンツ型使い捨ておむつ(特許文献2)、両側縁の胴周り部に締結片を取付け、締結片で胴周り部を締め付けるようにしたパンツ型使い捨ておむつ(特許文献3、特許文献4)等が提案されている。
しかしながら、上記従来のパンツ型使い捨ておむつは、いずれも、ウエスト周り部と脚周り部のフィット性を高めて漏れ防止効果の向上を図っているため、着用者の胴周り部を必要以上に覆う構造になっており、そのため着用者の胴周り部から脚周り部にかけての部分が蒸れ易くなるという問題点を有している。
さらに、パンツ型使い捨ておむつは、使用後のおむつを着用者から取り外す場合には前後身頃を接合している側縁部の接合部を手で引裂いて外すことになるが、上記従来のパンツ型使い捨ておむつは、側縁部の接合状態によっては手で引裂き難い場合があり、引裂く際に余分な力が加わっておむつから排泄物が外へ飛出してしまい、着用者の衣類や肌を汚してしまうという問題点を有している。
実開平5−39531号公報 特表平10−503096号公報 特開平5−317356号公報 特表2003−533247号公報
本発明は、上記従来のパンツ型使い捨ておむつの有する問題点を克服し、おむつ着用時に胴周り部の蒸れを防止して良好な着用感が得られ、使用後のおむつを着用者から外す際にも前後身頃の側縁部の接合部を容易に引裂くことができるパンツ型使い捨ておむつを提供するものである。
上記従来のパンツ型使い捨ておむつの有する問題点を解決するための本発明は、以下の各発明を包含する。
(1)前身頃と、後身頃と、これら前後身頃の間に位置する股下部とからなり、前身頃と後身頃の相対する長手方向両側縁部を接合してウエスト周り開口部と1対の脚周り開口部を形成し、各開口部の少なくとも一部に沿って伸縮弾性部材を配置したパンツ型使い捨ておむつにおいて、
前記前身頃と後身頃のうちの少なくとも一方の身頃の側縁部には少なくとも1箇所に切り欠き部が形成されており、該切り欠き部が形成された部位では前記前身頃と後身頃は非接合状態になっていることを特徴とするパンツ型使い捨ておむつ。
(2)前記切り欠き部が形成された部位には、前記前身頃と後身頃のうちの一方の身頃に、他方の身頃と着脱可能な止着手段を有する止着テープが取付けられていることを特徴とする(1)項記載のパンツ型使い捨ておむつ。
(3)前記止着テープの基材は伸縮弾性を有する材料で形成されていることを特徴とする(2)項記載のパンツ型使い捨ておむつ。
(4)液透過性のトップシートと、液不透過性のバックシートと、これら両シートの間に配置された吸収体とを有するおむつ本体からなり、該おむつ本体の前身頃と後身頃の相対する両側縁部を接合してパンツ型に形成されていることを特徴とする(1)項〜(3)項のいずれか1項に記載のパンツ型使い捨ておむつ。
(5)前記おむつ本体の前後身頃の両側縁部にサイドパネルが取付けられており、該サイドパネルを接合してパンツ型に形成されていることを特徴とする(4)項記載のパンツ型使い捨ておむつ。
(6)前記サイドパネルが伸縮弾性を有する材料で形成されていることを特徴とする(5)項記載のパンツ型使い捨ておむつ。
(7)液透過性のトップシートと、液不透過性のバックシートと、これら両シートの間に配置された吸収体とを有する吸収性本体と、吸収性本体の前身頃と後身頃に配置され、吸収性本体の両側縁部から外側へ延出する長さを有する帯状の連結部材とからなり、該連結部材のおむつ長手方向に沿う相対する両側縁部を接合してパンツ型に形成されていることを特徴とする(1)項〜(3)項のいずれか1項に記載のパンツ型使い捨ておむつ。
(8)前記帯状の連結部材が伸縮弾性を有する材料で形成されていることを特徴とする(7)項記載のパンツ型使い捨ておむつ。
(9)液透過性のトップシートと、液不透過性のバックシートと、これら両シートの間に配置された吸収体とを有する吸収性本体と、吸収性本体が取付けられ、これを着用者に当てて保持する外装部材とからなり、該外装部材の前身頃と後身頃の相対する両側縁部を接合してパンツ型に形成されていることを特徴とする(1)項〜(3)項のいずれか1項に記載のパンツ型使い捨ておむつ。
本発明のパンツ型使い捨ておむつは、前身頃と後身頃の相対する長手方向両側縁部を接合して形成されており、少なくとも一方の身頃の側縁部には少なくとも1箇所に切り欠き部が形成され、切り欠き部が形成された部位では前身頃と後身頃は非接合状態になっている。
このような構成の本発明のパンツ型使い捨ておむつは、切り欠き部が形成された部位では前後身頃が非接合状態となっているため、通気性が良好となり、おむつ着用時に腰周り部の蒸れが防止される。また、使用後のおむつを接合部で引裂いて着用者から外す場合、切り欠き部の部位では接合部が形成されていないため、接合部の長さが短くなっており、引裂き易いものである。
また、本発明の場合、切り欠き部が形成された部位において、前身頃と後身頃のうちの一方の身頃に、他方の身頃と着脱可能な止着手段を有する止着テープを取付けることにより、切り欠き部が形成された部位を止着テープで締め付けて、この部位のフィット性を良好にすることが可能となる。
本発明のパンツ型使い捨ておむつは、前身頃と、後身頃と、これら前後身頃の間に位置する股下部とからなり、前身頃と後身頃の相対する長手方向両側縁部を接合してウエスト周り開口部と1対の脚周り開口部を形成し、各開口部の少なくとも一部に沿って伸縮弾性部材を配置して形成される。
具体的には、液透過性のトップシートと、液不透過性のバックシートと、これら両シートの間に配置された吸収体とを有するおむつ本体からなり、該おむつ本体の前身頃と後身頃の相対する長手方向両側縁部を接合してパンツ型に形成した、いわゆる一体型のパンツ型使い捨ておむつであっても良い。
この場合、前後身頃の長手方向両側縁部に伸縮弾性を有するサイドパネルを取付け、サイドパネルの相対する側縁部を接合してパンツ型に形成しても良い。
また、液透過性のトップシートと、液不透過性のバックシートと、これら両シートの間に配置された吸収体とを有する吸収性本体と、吸収性本体の前身頃と後身頃に配置され、吸収性本体の両側縁部から外側へ延出する長さを有する帯状の連結部材とからなり、該連結部材のおむつ長手方向に沿う相対する両側縁部を接合してパンツ型に形成した、いわゆる2ピース型のパンツ型使い捨ておむつであっても良い。
さらに、液透過性のトップシートと、液不透過性のバックシートと、これら両シートの間に配置された吸収体とを有する吸収性本体と、吸収性本体が取付けられ、これを着用者に当てて保持する外装部材とからなり、該外装部材の前身頃と後身頃の相対する両側縁部を接合してパンツ型に形成した、2ピース型のパンツ型使い捨ておむつであっても良い。
以下、図面を参照して、本発明のパンツ型使い捨ておむつを詳細に説明するが、勿論、本発明はこれらによって何等制限されるものではない。
図1は、本発明のパンツ型使い捨ておむつの1例を示しており、パンツ型使い捨ておむつを組立てた状態を前身頃側から見た斜視図である。
図1において、パンツ型使い捨ておむつ1は、吸収性本体2と、吸収性本体2の長手方向両端部領域に取付けられた帯状の連結部材3とからなり、吸収性本体2が股下部6で折返され、前身頃4と後身頃5における連結部材3のおむつの長手方向に沿う両側縁部が接合部7を介して接合されてウエスト周り開口部8と一対の脚周り開口部9が形成され、各開口部に沿って伸縮弾性部材10、11が配置されており、さらに、胴周り部にも、吸収性本体2が存在しない部位において、おむつの幅方向に複数本の伸縮弾性部材10’が配置されている。
連結部材3は、図6〜図8に示されているように、2枚の不織布31,32を有し、これら2枚の不織布31,32の間に伸縮弾性部材10’が挟み込まれた状態となっている。
また、前身頃4側の連結部材3の長手方向両側縁部には、切り欠き部12が形成されており、切り欠き部12が形成された部位では、後身頃5側の連結部材3と非接合状態になっている。さらに、切り欠き部12が形成された部位には止着テープ13が配置されており、止着テープ13の一方の端部が後身頃5側の連結部材3の側縁部と接合部14を介して接合されており、他方の端部領域には止着手段15が取付けられており、前身頃4側の連結部材3の表面に配置されたターゲットシート16に着脱可能に止着されている。
本実施例では、前身頃側の連結部材の表面に止着テープの止着手段と止着可能なターゲットシートを配置した例を示したが、連結部材が止着手段と止着可能な材料で形成されている場合には必ずしもターゲットシートを配置する必要はない。
図2は、本発明のパンツ型使い捨ておむつを組立てた状態を後身頃側から見た斜視図である。
図2において、パンツ型使い捨ておむつ1の後身頃5側の連結部材3の長手方向両側縁部表面には、補強シート17が配置されており、接合部14を介して連結部材3に接合されている(図6、図7参照)。このように、補強シート17を配置することにより、図1に示すように、切り欠き部12の部位に止着テープ13を配置した場合、止着テープ13を補強シート17と共に後身頃5側の連結部材3に強固に接合することができるため、止着テープ13を引っ張って切り欠き部12が形成された部位を締め付けるための操作を容易に行なうことができるようになる。
なお、図1及び図2では、胴周り部の伸縮弾性部材10’が、吸収性本体2が存在する部位には配置されていない不連続の状態で配置された例を示したが、胴周り部全体に亙って連続して配置しても良い。
図3は、図1の本発明のパンツ型使い捨ておむつの両側縁部を開放展開した状態を示しており、トップシート側から見た場合の一部切り欠き展開平面図である。
図3において、パンツ型使い捨ておむつ1は、吸収性本体2と帯状の連結部材3とからなり、吸収性本体2は、液透過性のトップシート21と、液不透過性のバックシート22と、これら両シートの間に配置された吸収体23とから基本的に形成されており、連結部材3は、吸収性本体2の前身頃4と後身頃5において、吸収性本体2の幅寸法よりも長い寸法を有し、吸収性本体2の両側縁部から外方に延出しているものが配置されている。
また、連結部材3の長手方向端縁部のウエスト周り開口部の位置にはウエスト周り伸縮弾性部材10が配置され、胴周り部の位置には胴周り伸縮弾性部材10’が配置されており、さらに、前身頃4側の連結部材3の長手方向両側縁部には切り欠き部12が形成されている。また、吸収性本体2の股下部6の両側縁部の脚周り開口部の位置には脚周り伸縮弾性部材11が配置されており、脚周り開口部の内側には、パンツ型使い捨ておむつの長手方向に配置された液不透過性シート19の吸収性本体中央側の自由縁に伸縮弾性部材20を配置した一対の立体ギャザー18が配置されている。
図4は、パンツ型使い捨ておむつを組立てた状態を前身頃側から見た斜視図であり、図1とは異なる例(参考例)を示している。なお、図4において、図1と同じ部分には同じ符号が付してあり、重複する説明は省略する。
図4において、前身頃4側の連結部材3の両側縁部には、それぞれウエスト周り開口部側の上辺を含む領域と脚周り開口部側の下辺を含む領域の2箇所に切り欠き部12が形成されており、各切り欠き部12が形成された部位に止着テープ13が取付けられている。連結部材3は2枚の不織布31,32を有し、これら2枚の不織布31,32の間に伸縮弾性部材10’が挟み込まれた状態となっている。
前身頃4側の連結部材3に形成された切り欠き部12の部位では前身頃4側の連結部材3と後身頃5側の連結部材3とは非接合状態であり、各切り欠き部12が形成された部位には止着テープ13が配置されている。
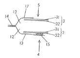
図5は、本発明のパンツ型使い捨ておむつにおいて、前後身頃の側縁部に切り欠き部が形成された部位の状態を示す部分拡大平面図である。
図5において、前身頃4側の連結部材3の側縁部に切り欠き部12が形成されており、切り欠き部12が形成された部位では、前身頃側と後身頃側の連結部材が非接合状態になっている。さらに、切り欠き部12が形成された部位には止着テープ13が配置されており、止着テープ13の一方の端部が後身頃側の連結部材の側縁部と接合部14を介して接合されており、他方の端部領域には止着手段15が取付けられており、止着テープ13の前身頃4側の連結部材3の表面に着脱可能に止着されている。止着手段15が止着される前身頃4側の連結部材3の表面には、図1に示すターゲットシート16を配置することができるが、前身頃4側の連結部材3の表面が止着手段を直接止着可能な面であれば必ずしもターゲットシート16を配置する必要はない。
図6は、図5に示す切り欠き部が形成された部位をX−X線に沿って切断した状態を示す断面図である。
図6において、連結部材3は2枚の不織布31、32からなり、2枚の不織布31、32の間に伸縮弾性部材10’(図示せず)が挟み込まれた状態で配置して形成されている。
また、前身頃4側の連結部材3の側縁部に切り欠き部12が形成され、切り欠き部12が形成された部位では前身頃4側と後身頃5側の連結部材3は非接合状態になっている。さらに、切り欠き部12が形成された部位には止着テープ13が配置されており、止着テープ13の一方の端部が、後身頃5側の連結部材3の側縁部及び連結部材3表面に配置された補強シート17と共に、接合部14を介して接合されており、止着テープ13の他方の端部領域には止着手段15としての面ファスナーのフック材が取付けられており、前身頃4側の不織布からなる連結部材3の表面に直接着脱可能に止着されている。この例においては、ターゲットシート16は配置されていない。
図7は、図5に示す切り欠き部が形成された部位をX−X線に沿って切断した状態を示す断面図であり、図6とは異なる例を示している。なお、図7において、図6と同じ部分には同じ符号が付してあり、重複する説明は省略する。
図7において、補強シート17は、後身頃5側の連結部材3を形成する2枚の不織布31、32の間に配置されている。
また、止着テープ13の端部に設けられた止着手段15を構成するフック部材は、前身頃4側の連結部材3の表面に着脱可能に止着されており、この例においても、ターゲットシート16は配置されていない。
図8は、図5に示す切り欠き部が形成された部位をX−X線に沿って切断した状態を示す断面図であり、図6及び図7とはさらに異なる例を示している。なお、図8において、図6と同じ部分には同じ符号が付してあり、重複する説明は省略する。
図8において、前身頃4側と後身頃5側の両方の連結部材3に切り欠き部12が形成されており、切り欠き部12が形成された部位に配置された止着テープ13の一方の端部が補強シート17の側縁部と接合部14を介して接合されている。また、この例もターゲットシート16が配置されていない例である。
図9は、図3の部分拡大平面図のY−Y線に沿って切断した状態を示す断面図であり、通気性を有する撥水性の不織布19等からなる立体ギャザー18の配置状態を示している。立体ギャザー18は、パンツ型使い捨ておむつ1の着用時に、脚周り開口部において吸収性本体2の吸収体23の両側縁近傍を起立基端部とし、吸収性本体中央側の自由縁に配置された伸縮弾性部材20が収縮することによって吸収性本体上に起立し、防漏壁を形成する。
以下、本発明において使用される材料について説明するが、本発明は、これらによって何等制限されるものではない。
本発明において、液透過性のトップシートとしては、ポリエチレン、ポリプロピレン、ポリエステル、その他の熱可塑性樹脂を原料とした合成繊維等からなる不織布に親水化処理を施したものが用いられる。
本発明において、液不透過性、かつ、通気性のバックシートとしては、微孔を設けたポリエチレンシート、あるいは熱可塑性樹脂にフィラーを加えて延伸したシートのような透湿性のある液体不透過性のシートが用いられる。このようなシートを用いると、ムレが改善されるため快適な着用感が得られる。さらに、このようなシートの外側に不織布からなるカバーシートを貼り合わせた積層構造のシートを用いることもできる。
本発明において、吸収体としては、通常の使い捨ておむつのような吸収性物品に使用されるものであればいずれも使用することができる。すなわち、綿状パルプと高吸収性ポリマー(SAP)を併用したもの、さらに熱融着繊維を加えたもの等を使用することができ、全体をティッシュのような親水性シートで包まれているものが好ましい。その他、親水性シートの片面にSAPの層を設けたもの、2枚の親水性シートの間にSAPを挟持したもの等のシート状の吸収体も使用することができる。また、吸収体の形状は、砂時計型でも矩形でも良い。
本発明において、連結部材としては、ポリエチレン、ポリプロピレン、ポリエステル、その他の熱溶融性樹脂を原料とした合成繊維を含有する不織布により形成することができる。上記不織布は、上記原料合成繊維の単体からなる繊維、または2種類の合成樹脂原料を使用した芯鞘繊維を1種類または複数混合したものから構成される。また、不織布は、熱溶融性合成繊維と他の天然繊維又は合成繊維の混合原料から製造されるものであってもよい。連結部材は、これらの不織布を1枚で、あるいは、2枚以上のものを重ね合わせた状態で、さらには1枚の不織布を折畳んだ状態で使用することができる。
本発明において、連結部材、脚周り開口部及びウエスト周り開口部に配置される伸縮弾性部材としては、天然ゴムやウレタンなどの合成ゴムにて形成された糸ゴム、平ゴム等、使いすておむつに通常使用される伸縮弾性部材をそのまま使用することができ、これらの伸縮弾性部材を伸長状態で配置し、ホットメルト接着剤などにより接着固定される。
本発明において、止着テープは、基材シートの一方の端部領域に止着手段を配置して形成される。
基材シートとしては、着用者の肌に触れる可能性があるため、柔軟な材料で形成することが好ましく、また、伸縮性を有することが好ましく、伸縮性フィルム、平ゴム、糸ゴムなどを不織布で挟持固定したシート、伸縮性フォーム等を用いることができる。また、止着手段としては、各種粘着剤、面ファスナーのフック材等を用いることができる。
本発明において、止着テープの止着手段と着脱可能に止着されるターゲットシートとしては、止着手段が粘着剤で形成されている場合には、粘着剤と再接着、再剥離が可能な各種の合成樹脂からなるフィルムが用いられ、止着手段が面ファスナーのフック材で形成されている場合には、フック材と係合可能なループ材や不織布が用いられる。
本発明において、補強シートは、ポリエチレン、ポリプロピレン、ポリエステル、その他の熱可塑性樹脂を原料とした合成繊維等からなる熱融着可能な不織布で形成することができ、その坪量は、20〜100g/mであることが好ましく、40〜70g/mであることがより好ましい。
本発明のパンツ型使い捨ておむつは、液透過性のトップシートと、液不透過性のバックシートと、これら両シートの間に配置された吸収体とを有するおむつ本体の前後身頃の長手方向両側縁部にサイドパネルを取付け、サイドパネルの相対する側縁部を接合してパンツ型に形成したものであっても良い。
本発明において、サイドパネルとしては、ポリエチレン、ポリプロピレン、ポリエステル、その他の熱可塑性樹脂を原料とした合成繊維等からなる熱融着可能な不織布で形成することができ、伸縮性フィルム、伸縮性ネット、平ゴム、糸ゴム、伸縮性フォーム等の伸縮弾性部材を伸張状態で、ホットメルト接着剤などによる接着固定や熱接着で、前記不織布間に挟持固定したシートを用いることができる。また、前記伸縮弾性部材を自然長のまま、伸張可能な不織布で挟持・固定して伸縮可能にしたシートを用いることもできる。
また、本発明のパンツ型使い捨ておむつは、液透過性のトップシートと、液不透過性のバックシートと、これら両シートの間に配置された吸収体とを有する吸収性本体と、吸収性本体が取付けられ、これを着用者に当てて保持する外装部材とからなり、該外装部材の前身頃と後身頃の相対する両側縁部を接合してパンツ型に形成したものであっても良い。
本発明において、外装部材としては、ポリエチレン、ポリプロピレン、ポリエステル、その他の熱可塑性樹脂を原料とした合成繊維等からなる不織布で形成することができ、これらの不織布を単独で、あるいは数種類のものを張合わせて用いることができる。
本発明において、パンツ型使い捨ておむつには、その長手方向に沿って一対の立体ギャザーを配置することが好ましい。立体ギャザーは、各種の素材により形成することができる。例えば、ポリエチレン、ポリプロピレン、ポリエステル、その他の熱可塑性樹脂を原料とした合成繊維からなる通気性を有する撥水性の不織布を用いて形成することができる。あるいは、サイドフラップを形成する不織布として広幅のものを用い、サイドフラップを形成するとともにおむつの内側へ延出する部分で立体ギャザーを形成しても良い。さらに、トップシートとして広幅のものを用い、トップシートの吸収体の両側縁から延出する部分で立体ギャザーを形成しても良い。
また、立体ギャザーの自由部の側縁部には伸縮弾性部材が配置されている。伸縮弾性部材としては、天然ゴムやウレタンなどの合成ゴムにて形成された糸ゴム、平ゴム等、使いすておむつに通常使用される伸縮弾性部材をそのまま使用することができ、これらの伸縮弾性部材を伸長状態で自由部の側縁部に配置し、ホットメルト接着剤などにより接着固定される。
本発明のパンツ型使い捨ておむつは、前身頃と後身頃の相対する長手方向両側縁部を接合して形成されており、少なくとも一方の身頃の側縁部には少なくとも1箇所に切り欠き部が形成され、切り欠き部が形成された部位では前身頃と後身頃は非接合状態になっている。このような構成の本発明のパンツ型使い捨ておむつは、切り欠き部が形成された部位では前後身頃が非接合状態となっているため、通気性が良好となり、おむつ着用時に腰周り部の蒸れが防止される。また、使用後のおむつを接合部で引裂いて着用者から外す場合、切り欠き部の部位では接合部が形成されていないため、接合部の長さが短くなっており、引裂き易いものである。
さらに、本発明のパンツ型使い捨ておむつは、切り欠き部が形成された部位において、前身頃と後身頃のうちの一方の身頃に、他方の身頃と着脱可能な止着手段を有する止着テープを取付けることにより、切り欠き部が形成された部位を止着テープで締め付けて、この部位のフィット性を良好にすることが可能となるものであり、乳幼児を始めとして成人失禁者用のパンツ型使い捨ておむつとして有用である。
本発明のパンツ型使い捨ておむつを組立てた状態を前身頃側から見た斜視図である。 本発明のパンツ型使い捨ておむつを組立てた状態を後身頃側から見た斜視図である。 本発明のパンツ型使い捨ておむつを組立てる前の状態をトップシート側から見た一部切り欠き展開平面図である。 パンツ型使い捨ておむつを組立てた状態を前身頃側から見た場合の他の例(参考 例)を示す斜視図である。 本発明のパンツ型使い捨ておむつの前後身頃の側縁部に切り欠き部が形成された部位の状態を示す部分拡大平面図である。 図5に示す切り欠き部が形成された部位をX−X線に沿って切断した状態を示す断面図である。 図5に示す切り欠き部が形成された部位をX−X線に沿って切断した状態の他の例を示す断面図である。 図5に示す切り欠き部が形成された部位をX−X線に沿って切断した状態のさらに別の例を示す断面図である。 図3中のY−Y線に沿って切断した状態を示す断面図である。
符号の説明
1:パンツ型使い捨ておむつ
2:吸収性本体
3:連結部材
4:前身頃
5:後身頃
6:股下部
7:接合部
8:ウエスト周り開口部
9:脚周り開口部
10:伸縮弾性部材
10’:伸縮弾性部材
11:伸縮弾性部材
12:切り欠き部
13:止着テープ
14:接合部
15:止着手段
16:ターゲットシート
17:補強シート
18:立体ギャザー
19:通気撥水性シート
20:立体ギャザー伸縮弾性部材
21:トップシート
22:バックシート
23:吸収体
31:不織布
32:不織布

Claims (8)

  1. 前身頃と、後身頃と、これら前後身頃の間に位置する股下部とからなり、前身頃と後身頃の相対する長手方向両側縁部を接合してウエスト周り開口部と1対の脚周り開口部を形成し、各開口部の少なくとも一部に沿って伸縮弾性部材を配置したパンツ型使い捨ておむつにおいて、
    前記前身頃と後身頃のうちの一方の身頃側の両側縁部の中央領域に切り欠き部が形成されていて、該切り欠き部が形成された部位では前記前身頃と後身頃は非接合状態になっており、前身頃と後身頃のうちの他方の身頃側の両側縁部の表面には補強シートが接合配置され、前記一方の身頃の表面と着脱可能な止着テープが前記他方の身頃側の両側縁部の内面に接合部を介して接合されていることを特徴とするパンツ型使い捨ておむつ。
  2. 前記止着テープの基材は伸縮弾性を有する材料で形成されていることを特徴とする請求項1記載のパンツ型使い捨ておむつ。
  3. 前記前身頃と、後身頃と、これら前後身頃の間に位置する股下部とからなり、前身頃と後身頃の相対する長手方向両側縁部を接合してウエスト周り開口部と1対の脚周り開口部を形成し、各開口部の少なくとも一部に沿って伸縮弾性部材を配置したパンツ型使い捨ておむつが、液透過性のトップシートと、液不透過性のバックシートと、これら両シートの間に配置された吸収体とを有するおむつ本体からなり、該おむつ本体の前身頃と後身頃の相対する両側縁部を接合してパンツ型に形成されていることを特徴とする請求項1又は2に記載のパンツ型使い捨ておむつ。
  4. 前記おむつ本体の前後身頃の両側縁部にサイドパネルが取付けられており、該サイドパネルを接合することによっておむつ本体の前身頃と後身頃の相対する両側縁部を接合してパンツ型に形成されていることを特徴とする請求項3に記載のパンツ型使い捨ておむつ。
  5. 前記サイドパネルが伸縮弾性を有する材料で形成されていることを特徴とする請求項4に記載のパンツ型使い捨ておむつ。
  6. 前記前身頃と、後身頃と、これら前後身頃の間に位置する股下部とからなり、前身頃と後身頃の相対する長手方向両側縁部を接合してウエスト周り開口部と1対の脚周り開口部を形成し、各開口部の少なくとも一部に沿って伸縮弾性部材を配置したパンツ型使い捨ておむつが、液透過性のトップシートと、液不透過性のバックシートと、これら両シートの間に配置された吸収体とを有する吸収性本体と、該吸収性本体の前身頃と後身頃に配置されていて、吸収性本体の両側縁部から外側へ延出する長さを有する帯状の連結部材とからなり、該連結部材の相対する両側縁部を接合してパンツ型に形成されていることを特徴とする請求項1又は2に記載のパンツ型使い捨ておむつ。
  7. 前記帯状の連結部材が伸縮弾性を有する材料で形成されていることを特徴とする請求項6に記載のパンツ型使い捨ておむつ。
  8. 前記前身頃と、後身頃と、これら前後身頃の間に位置する股下部とからなり、前身頃と後身頃の相対する長手方向両側縁部を接合してウエスト周り開口部と1対の脚周り開口部を形成し、各開口部の少なくとも一部に沿って伸縮弾性部材を配置したパンツ型使い捨ておむつが、液透過性のトップシートと、液不透過性のバックシートと、これら両シートの間に配置された吸収体とを有する吸収性本体と、吸収性本体が取付けられ、これを着用者に当てて保持する外装部材とからなり、該外装部材の前身頃と後身頃の相対する両側縁部を接合してパンツ型に形成されていることを特徴とする請求項1又は2に記載のパンツ型使い捨ておむつ。
JP2006106403A 2005-04-11 2006-04-07 パンツ型使い捨ておむつ Expired - Fee Related JP4969894B2 (ja)

Priority Applications (1)

Application Number Priority Date Filing Date Title
JP2006106403A JP4969894B2 (ja) 2005-04-11 2006-04-07 パンツ型使い捨ておむつ

Applications Claiming Priority (3)

Application Number Priority Date Filing Date Title
JP2005113584 2005-04-11
JP2005113584 2005-04-11
JP2006106403A JP4969894B2 (ja) 2005-04-11 2006-04-07 パンツ型使い捨ておむつ

Publications (2)

Publication Number Publication Date
JP2006314771A JP2006314771A (ja) 2006-11-24
JP4969894B2 true JP4969894B2 (ja) 2012-07-04

Family

ID=37535943

Family Applications (1)

Application Number Title Priority Date Filing Date
JP2006106403A Expired - Fee Related JP4969894B2 (ja) 2005-04-11 2006-04-07 パンツ型使い捨ておむつ

Country Status (1)

Country Link
JP (1) JP4969894B2 (ja)

Families Citing this family (6)

* Cited by examiner, † Cited by third party
Publication number Priority date Publication date Assignee Title
JP5403934B2 (ja) * 2008-03-31 2014-01-29 ユニ・チャーム株式会社 吸収性物品
BR112013000510B8 (pt) 2010-07-23 2022-11-16 Zuiko Corp Artigo usado descartável formado anteriormente no formato de calça e método para fabricar o mesmo
JP5790031B2 (ja) * 2011-03-04 2015-10-07 王子ホールディングス株式会社 使い捨ておむつ
TW201244701A (en) * 2011-05-04 2012-11-16 Kang Na Hsiung Entpr Co Ltd Paper diaper
JP6090385B2 (ja) * 2015-08-04 2017-03-08 王子ホールディングス株式会社 使い捨ておむつ
JP6402165B2 (ja) * 2016-12-26 2018-10-10 ユニ・チャーム株式会社 吸収性物品

Family Cites Families (1)

* Cited by examiner, † Cited by third party
Publication number Priority date Publication date Assignee Title
JP4078287B2 (ja) * 2003-10-30 2008-04-23 大王製紙株式会社 パンツ型おむつ

Also Published As

Publication number Publication date
JP2006314771A (ja) 2006-11-24

Similar Documents

Publication Publication Date Title
CN101155569B (zh) 一次性内裤型尿布
CA2669462C (en) Hybrid stretch ear and absorbent article including the same
JP4875350B2 (ja) 使い捨ておむつ
JPH11318978A (ja) パンツ型使いすておむつ
JP2006263306A (ja) パンツ型使い捨ておむつ
JP4481899B2 (ja) パンツ型使い捨ておむつ
JP6095385B2 (ja) 吸収性物品
US20050215974A1 (en) Absorbent garment with integral elastomeric side panels
JP2005218674A (ja) 使い捨ておむつ
JP4969894B2 (ja) パンツ型使い捨ておむつ
US7449016B2 (en) Disposable wearing article
JP4746880B2 (ja) 使い捨ての着用物品
JP4351173B2 (ja) 使い捨ておむつ
JP5243079B2 (ja) インナー吸収性物品
JP4156996B2 (ja) 脚周りが調整可能なパンツ型使い捨ておむつ
JP2008029762A (ja) パンツ型紙おむつ
JP4315848B2 (ja) 吸収性物品
JPH09566A (ja) おむつ
JP4249074B2 (ja) パンツ型使い捨ておむつ
JP4842016B2 (ja) パンツ型使い捨ておむつの製造方法
JP4813156B2 (ja) 使い捨ておむつ
JPH09117469A (ja) パンツ型使いすておむつ
JPH09117472A (ja) パンツ型使いすておむつ
JP4621242B2 (ja) 使い捨てパンツ型おむつ
JPH09192168A (ja) 使いすておむつ

Legal Events

Date Code Title Description
A621 Written request for application examination

Free format text: JAPANESE INTERMEDIATE CODE: A621

Effective date: 20080820

A977 Report on retrieval

Free format text: JAPANESE INTERMEDIATE CODE: A971007

Effective date: 20100215

A131 Notification of reasons for refusal

Free format text: JAPANESE INTERMEDIATE CODE: A131

Effective date: 20110517

A521 Request for written amendment filed

Free format text: JAPANESE INTERMEDIATE CODE: A523

Effective date: 20110707

A131 Notification of reasons for refusal

Free format text: JAPANESE INTERMEDIATE CODE: A131

Effective date: 20111018

TRDD Decision of grant or rejection written
A01 Written decision to grant a patent or to grant a registration (utility model)

Free format text: JAPANESE INTERMEDIATE CODE: A01

Effective date: 20120403

A01 Written decision to grant a patent or to grant a registration (utility model)

Free format text: JAPANESE INTERMEDIATE CODE: A01

A61 First payment of annual fees (during grant procedure)

Free format text: JAPANESE INTERMEDIATE CODE: A61

Effective date: 20120404

FPAY Renewal fee payment (event date is renewal date of database)

Free format text: PAYMENT UNTIL: 20150413

Year of fee payment: 3

R150 Certificate of patent or registration of utility model

Ref document number: 4969894

Country of ref document: JP

Free format text: JAPANESE INTERMEDIATE CODE: R150

Free format text: JAPANESE INTERMEDIATE CODE: R150

FPAY Renewal fee payment (event date is renewal date of database)

Free format text: PAYMENT UNTIL: 20150413

Year of fee payment: 3

S111 Request for change of ownership or part of ownership

Free format text: JAPANESE INTERMEDIATE CODE: R313115

FPAY Renewal fee payment (event date is renewal date of database)

Free format text: PAYMENT UNTIL: 20150413

Year of fee payment: 3

R360 Written notification for declining of transfer of rights

Free format text: JAPANESE INTERMEDIATE CODE: R360

FPAY Renewal fee payment (event date is renewal date of database)

Free format text: PAYMENT UNTIL: 20150413

Year of fee payment: 3

R350 Written notification of registration of transfer

Free format text: JAPANESE INTERMEDIATE CODE: R350

R250 Receipt of annual fees

Free format text: JAPANESE INTERMEDIATE CODE: R250

R250 Receipt of annual fees

Free format text: JAPANESE INTERMEDIATE CODE: R250

R250 Receipt of annual fees

Free format text: JAPANESE INTERMEDIATE CODE: R250

R250 Receipt of annual fees

Free format text: JAPANESE INTERMEDIATE CODE: R250

R250 Receipt of annual fees

Free format text: JAPANESE INTERMEDIATE CODE: R250

R250 Receipt of annual fees

Free format text: JAPANESE INTERMEDIATE CODE: R250

R250 Receipt of annual fees

Free format text: JAPANESE INTERMEDIATE CODE: R250

LAPS Cancellation because of no payment of annual fees