JP4954652B2 - 精密部品の組み付け装置 - Google Patents

精密部品の組み付け装置 Download PDF

Info

Publication number
JP4954652B2
JP4954652B2 JP2006253068A JP2006253068A JP4954652B2 JP 4954652 B2 JP4954652 B2 JP 4954652B2 JP 2006253068 A JP2006253068 A JP 2006253068A JP 2006253068 A JP2006253068 A JP 2006253068A JP 4954652 B2 JP4954652 B2 JP 4954652B2
Authority
JP
Japan
Prior art keywords
suction head
precision
lifting
precision parts
frame
Prior art date
Legal status (The legal status is an assumption and is not a legal conclusion. Google has not performed a legal analysis and makes no representation as to the accuracy of the status listed.)
Expired - Fee Related
Application number
JP2006253068A
Other languages
English (en)
Other versions
JP2008078213A (ja
Inventor
寿夫 吉岡
久昇 佐々木
憲男 清野
Current Assignee (The listed assignees may be inaccurate. Google has not performed a legal analysis and makes no representation or warranty as to the accuracy of the list.)
Panasonic Corp
Sanwa System Engineering Co Ltd
Panasonic Holdings Corp
Original Assignee
Panasonic Corp
Sanwa System Engineering Co Ltd
Matsushita Electric Industrial Co Ltd
Priority date (The priority date is an assumption and is not a legal conclusion. Google has not performed a legal analysis and makes no representation as to the accuracy of the date listed.)
Filing date
Publication date
Application filed by Panasonic Corp, Sanwa System Engineering Co Ltd, Matsushita Electric Industrial Co Ltd filed Critical Panasonic Corp
Priority to JP2006253068A priority Critical patent/JP4954652B2/ja
Publication of JP2008078213A publication Critical patent/JP2008078213A/ja
Application granted granted Critical
Publication of JP4954652B2 publication Critical patent/JP4954652B2/ja
Expired - Fee Related legal-status Critical Current
Anticipated expiration legal-status Critical

Links

Images

Landscapes

  • Supply And Installment Of Electrical Components (AREA)
  • Die Bonding (AREA)

Description

本発明は、電子回路基板等の精密部品を他の精密部品の所定の位置に位置決めして組み付ける精密部品の組み付け装置に関する。
例えば1mm角で厚さ0.5 mmの水晶発振子や電子回路基板等の精密部品を互いに積み重ねたり、台座等の他の精密部品の所定位置に貼りつけたりするマウント作業のため、組立セルとも呼ばれる組み付け装置が使用されている。
マウント作業の一例を特許文献1の記載を引用して説明する。図2は組み付けを行う電子部品の一例を示す(a)は平面図、(b)は正面図で、Sはマウントベースとなるステム、CはステムS上の所定位置にマウントされる半導体等の固体素子のチップ(ワーク)である。
図3はマウントを行う手順を説明する従来の組立セルのレイアウトを示す平面図で、ウエハからダイシングにより切り出されたチップCを載置した第1のトレイ3aから、ロボットアームが1個のチップCを取り出し、水平移動してそのチップCを位置決め装置4に置き、位置決めを行ったのち、ステムSを所定位置に整列させた第2のトレイ3bに移動してステムS上の所定位置にそのチップCをマウントする。ここで位置決め装置によりロボットアームに対してチップCを位置決めすることにより、ステムS上の所定位置に正確にチップCをマウントすることができるのである。
このようなマウント作業を行なう従来の組み付け装置として、特許文献2に記載のものを図面により簡単に説明する。
図4は特許文献2に記載の平板状精密部品の組み付け装置を示す斜視図で、1はベース、20は先端でワークを吸着する吸着ヘッド、21は吸着ヘッド20をZ軸方向(上下方向)に移動させるZ軸駆動部(昇降機構)、3はチップ、ステムなどの精密部品を上面に載置して水平移動するワークステージ、34はワークステージ3においてワークを保持するホルダ、4は位置決め装置であるセンタリングチャック、5はこれらを操作する操作スイッチや制御盤を含む操作盤である。
つぎに図5の説明図により組立セル各部の動作と位置関係を説明する。吸着ヘッド2は上下の垂直方向のみ、ワークステージ3は左右の水平方向のみに移動するものとし、前者がZ軸、後者がX軸である。両軸は同一垂直平面内にあり、直交している。さらに下方のセンタリングチャック4の中心もZ軸位置にあり、吸着ヘッド2はその直上から上方にかけてZ軸に沿って昇降する。またワークステージ3は吸着ヘッド2の昇降ストロークの中間高さで水平移動しながらセンタリングチャック4の直上をかわす退避位置ならびに上面に搭載した複数のホルダ34のそれぞれが前記Z軸位置、すなわち吸着ヘッド2の真下になる位置で停止させることができる。ワークステージ3のホルダ34はX軸上に1列に並んでいる。またかりに、図5に符号Aで示したようにワークステージ3にX軸上のもの以外にもホルダを設け、複数列とするのであれば、Z軸、X軸のほかに前後方向のY軸を想定し、ワークステージ3を同一水平面内でXY両方向に移動させるようにすればよい。
特開昭63−266849号公報 特開2003−133339号公報
以上説明したような従来の精密部品の組み付け装置においては、ワークを平面上に載置したり、平面上で重ねたりするのにはとくに問題がなかったが、たとえば超小型カメラ用レンズの鏡胴内にレンズやレンズ押えを挿入するような作業の場合、鏡胴の内径が約3mm、レンズとの隙間が1〜3μmしかない。ほんのわずかセンターがずれても挿入の途中でレンズが鏡胴の壁に引っかかり、ずれたまま曲がって挿入されたり、割れてしまうなどの不具合が発生する。
本発明は、このような微妙な作業においても引っかかりをいち早く検知して問題なく挿入ができるような精密部品の組み付け装置を実現することを目的とする。
本発明は、密部品の組み付け装置において、精密部品を吸着して昇降する吸着ヘッド(2)が、昇降機構(21)によって垂直に昇降する昇降フレーム(22)と、この昇降フレーム(22)の上端からバランス機構(23)を介して吊り下げられた衝撃手段(24)と、前記昇降フレーム(22)に対して上下スライド可能に取り付けられ、下端に精密部品を吸着する吸着ヘッド本体(20)と、この吸着ヘッド本体(20)を前記昇降フレーム(22)側に吊り上げる引張りばね(25)と、吸着ヘッド本体(20)と昇降フレーム(22)との間の距離の変化を検出する距離変化検出手段(26)とを備え、前記距離変化検出手段(26)により吸着ヘッド本体(20)と昇降フレーム(22)との間の距離の変化を検出して前記衝撃手段(24)を作動させ、前記吸着ヘッド本体(20)を叩くことを特徴とする精密部品の組み付け装置であり、好ましくは前記衝撃手段が圧電素子である前記の精密部品の組み付け装置である。
本発明によれば、引っかかりを即時に解消して精密部品の組み付けを順調に行なうことで能率、歩留りが大きく向上し、生産性が高まるという、すぐれた効果を奏する。
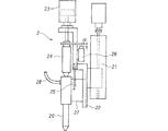
本発明の実施例を図面により説明する。図1は実施例の精密部品の組み付け装置における要部、すなわち吸着ヘッド2を示す側面図で、20は吸着ヘッド本体、21は昇降機構、22は昇降フレーム、23はバランス機構、24は衝撃手段、25は引張りばね、26は距離変化検出手段、27はスライドフレーム、28は真空ホースである。
精密部品を吸着して昇降する吸着ヘッド2は、昇降機構21によって垂直に昇降する昇降フレーム22と、この昇降フレーム22の上端からバランス機構23を介して吊り下げられた衝撃手段24と、スライドフレーム27を介して前記昇降フレーム22に対して上下スライド可能に取り付けられ、真空ホース28に連通して下端に精密部品を吸着する吸着ヘッド本体20と、この吸着ヘッド本体20を前記昇降フレーム22側に吊り上げる引張りばね25と、吸着ヘッド本体20と昇降フレーム22との間の距離の変化を検出する距離変化検出手段26とから構成される。
昇降機構は、たとえばモータでスクリュー軸を回転させ、ボールねじで直線移動するようにしたリニアガイドなどが、隙間による誤差がなく好適である。昇降フレーム22は昇降機構によって昇降するが、吸着ヘッド本体20はこの昇降フレーム22に対して上下スライド可能に取り付けられ、衝撃手段24に当接するように引張りばね25により付勢されている。
バランス機構23は、ピストンの上下で油圧を変えて、下側は、吊り下げられている衝撃手段24、スライドフレーム27、引張りばね25による付勢力の合計の重量に見合う力を上向きに作用させてバランスさせ、いわば浮いた状態としている。
距離変化検出手段26はこの自重とバランスした状態を基準として、昇降フレーム22と吸着ヘッド本体20との距離dを測定し、吸着ヘッド本体20が浮き上がれば距離dが大きくなるのでその変化を検出する。したがって、マウント作業において何らかの引っかかりが発生すれば、その抵抗によって吸着ヘッド本体20が浮き上がり、その上にある衝撃手段24を押し上げるから、これをいち早く検知して電気信号により衝撃手段24を作動させることができる。
衝撃手段としては、たとえばピエゾ抵抗効果を利用したPZT(Piezoelectric transducer)などの名称で知られる圧電素子などがよい。圧電素子は電圧をかけると高速で変形するセラミックスで、衝撃力によって下にある吸着ヘッド本体20を瞬間的に軽い力で叩くので、マウント途中の精密部品の引っかかりがはずれ、首尾よく所定の位置に精密部品をマウントすることができる。
本発明実施例における精密部品の組み付け装置の要部を示す側面図である。 本発明に係わる電子部品の一例を示す(a)は平面図、(b)は正面図である。 従来の技術における組み立てセルのレイアウトを示す平面図である。 従来の技術における平板状精密部品の組み付け装置を示す斜視図である。 従来の技術における組み立てセル各部の動作と位置関係を示す説明図である。
符号の説明
1 ベース
2 吸着ヘッド
3 ワークステージ
3a、3b トレイ
4 センタリングチャック(位置決め装置)
5 操作盤
20 吸着ヘッド本体
21 Z軸駆動部(昇降機構)
22 昇降フレーム
23 バランス機構
24 衝撃手段
25 引張りばね
26 距離変化検出手段
27 スライドフレーム
28 真空ホース
34 ホルダ
S ステム
C チップ

Claims (2)

  1. 密部品の組み付け装置において、精密部品を吸着して昇降する吸着ヘッド(2)が、昇降機構(21)によって垂直に昇降する昇降フレーム(22)と、この昇降フレーム(22)の上端からバランス機構(23)を介して吊り下げられた衝撃手段(24)と、前記昇降フレーム(22)に対して上下スライド可能に取り付けられ、下端に精密部品を吸着する吸着ヘッド本体(20)と、この吸着ヘッド本体(20)を前記昇降フレーム(22)側に吊り上げる引張りばね(25)と、吸着ヘッド本体(20)と昇降フレーム(22)との間の距離の変化を検出する距離変化検出手段(26)とを備え、
    前記距離変化検出手段(26)により吸着ヘッド本体(20)と昇降フレーム(22)との間の距離の変化を検出して前記衝撃手段(24)を作動させ、前記吸着ヘッド本体(20)を叩くことを特徴とする精密部品の組み付け装置。
  2. 前記衝撃手段(24)が圧電素子である請求項1に記載の精密部品の組み付け装置。
JP2006253068A 2006-09-19 2006-09-19 精密部品の組み付け装置 Expired - Fee Related JP4954652B2 (ja)

Priority Applications (1)

Application Number Priority Date Filing Date Title
JP2006253068A JP4954652B2 (ja) 2006-09-19 2006-09-19 精密部品の組み付け装置

Applications Claiming Priority (1)

Application Number Priority Date Filing Date Title
JP2006253068A JP4954652B2 (ja) 2006-09-19 2006-09-19 精密部品の組み付け装置

Publications (2)

Publication Number Publication Date
JP2008078213A JP2008078213A (ja) 2008-04-03
JP4954652B2 true JP4954652B2 (ja) 2012-06-20

Family

ID=39350008

Family Applications (1)

Application Number Title Priority Date Filing Date
JP2006253068A Expired - Fee Related JP4954652B2 (ja) 2006-09-19 2006-09-19 精密部品の組み付け装置

Country Status (1)

Country Link
JP (1) JP4954652B2 (ja)

Families Citing this family (2)

* Cited by examiner, † Cited by third party
Publication number Priority date Publication date Assignee Title
KR200473073Y1 (ko) * 2012-07-16 2014-06-12 (주)네오하나텍 플라스틱 사출성형 렌즈 조립장치
KR101734157B1 (ko) 2015-02-27 2017-05-12 주식회사 로보스타 브이씨엠 엑츄에이터에 렌즈를 삽입하는 장치

Family Cites Families (5)

* Cited by examiner, † Cited by third party
Publication number Priority date Publication date Assignee Title
JPS61265218A (ja) * 1985-05-20 1986-11-25 Tokico Ltd 部品插入装置
JP3412224B2 (ja) * 1994-01-07 2003-06-03 住友電気工業株式会社 レンズ実装方法と装置
JPH08330790A (ja) * 1995-05-30 1996-12-13 Nec Corp ベアチップマウンタ
JP4171336B2 (ja) * 2003-01-31 2008-10-22 オリンパス株式会社 部品組立装置および部品組立方法
JP2006198712A (ja) * 2005-01-20 2006-08-03 Nec Engineering Ltd レンズモジュール組立装置及びその方法

Also Published As

Publication number Publication date
JP2008078213A (ja) 2008-04-03

Similar Documents

Publication Publication Date Title
KR101886300B1 (ko) 전자부품 실장장치
JP5059518B2 (ja) 電子部品実装方法及び装置
JP5102358B2 (ja) アライメント機能付きステージ及びこのアライメント機能付きステージを備えた処理装置
JP6807755B2 (ja) 実装装置及び実装装置の制御方法
JP5491748B2 (ja) 半導体装置の製造装置および半導体装置の製造方法
JPWO2013168278A1 (ja) 電子部品保持ヘッド、電子部品検出方法、および、ダイ供給機
WO2018179317A1 (ja) 部品実装機及び実装ヘッド
JP2000133684A (ja) ボンディング装置
CN101662926A (zh) 电子部件安装装置的控制方法
CN202565667U (zh) 嘴更换用夹具
CN118943045A (zh) 晶圆剥离机构、晶圆剥离设备及晶圆剥离方法
JP2001048350A (ja) ワークの移送ミス防止装置
KR20110090553A (ko) 다이 본딩 장비의 이젝팅 장치
JP6103745B2 (ja) 突き上げ高さ計測システム
JP4954652B2 (ja) 精密部品の組み付け装置
JP2010027726A (ja) 基板接合装置
CN102014603B (zh) 吸附嘴驱动控制方法
JP2002198398A (ja) ボンディング装置
JP2015219007A (ja) 位置決め装置、及び処理装置
JP6684833B2 (ja) 保持プレート、検出方法、およびダイ供給装置
JP7591765B2 (ja) 高さ測定装置及び部品実装装置
TWI830034B (zh) 零件頂起裝置及零件安裝裝置
JP4415326B2 (ja) ボールマウント装置
KR102650876B1 (ko) 다이 이젝터의 높이 설정 방법
KR102758008B1 (ko) 마이크로 ic 플립형 실장 장치

Legal Events

Date Code Title Description
A621 Written request for application examination

Free format text: JAPANESE INTERMEDIATE CODE: A621

Effective date: 20090907

A977 Report on retrieval

Free format text: JAPANESE INTERMEDIATE CODE: A971007

Effective date: 20110706

A131 Notification of reasons for refusal

Free format text: JAPANESE INTERMEDIATE CODE: A131

Effective date: 20110712

A521 Written amendment

Free format text: JAPANESE INTERMEDIATE CODE: A523

Effective date: 20110905

TRDD Decision of grant or rejection written
A01 Written decision to grant a patent or to grant a registration (utility model)

Free format text: JAPANESE INTERMEDIATE CODE: A01

Effective date: 20120313

A01 Written decision to grant a patent or to grant a registration (utility model)

Free format text: JAPANESE INTERMEDIATE CODE: A01

A61 First payment of annual fees (during grant procedure)

Free format text: JAPANESE INTERMEDIATE CODE: A61

Effective date: 20120314

R150 Certificate of patent or registration of utility model

Free format text: JAPANESE INTERMEDIATE CODE: R150

FPAY Renewal fee payment (event date is renewal date of database)

Free format text: PAYMENT UNTIL: 20150323

Year of fee payment: 3

R250 Receipt of annual fees

Free format text: JAPANESE INTERMEDIATE CODE: R250

LAPS Cancellation because of no payment of annual fees