JP4933702B2 - 可搬型蛍光x線分析計 - Google Patents

可搬型蛍光x線分析計 Download PDF

Info

Publication number
JP4933702B2
JP4933702B2 JP2001103618A JP2001103618A JP4933702B2 JP 4933702 B2 JP4933702 B2 JP 4933702B2 JP 2001103618 A JP2001103618 A JP 2001103618A JP 2001103618 A JP2001103618 A JP 2001103618A JP 4933702 B2 JP4933702 B2 JP 4933702B2
Authority
JP
Japan
Prior art keywords
ray
switch
portable
rays
turned
Prior art date
Legal status (The legal status is an assumption and is not a legal conclusion. Google has not performed a legal analysis and makes no representation as to the accuracy of the status listed.)
Expired - Fee Related
Application number
JP2001103618A
Other languages
English (en)
Other versions
JP2002286662A (ja
Inventor
茂樹 八木
浩一 田村
Current Assignee (The listed assignees may be inaccurate. Google has not performed a legal analysis and makes no representation or warranty as to the accuracy of the list.)
Hitachi High Tech Science Corp
Original Assignee
SII NanoTechnology Inc
Priority date (The priority date is an assumption and is not a legal conclusion. Google has not performed a legal analysis and makes no representation as to the accuracy of the date listed.)
Filing date
Publication date
Application filed by SII NanoTechnology Inc filed Critical SII NanoTechnology Inc
Priority to JP2001103618A priority Critical patent/JP4933702B2/ja
Priority to US09/827,125 priority patent/US6486573B2/en
Publication of JP2002286662A publication Critical patent/JP2002286662A/ja
Application granted granted Critical
Publication of JP4933702B2 publication Critical patent/JP4933702B2/ja
Anticipated expiration legal-status Critical
Expired - Fee Related legal-status Critical Current

Links

Images

Classifications

    • HELECTRICITY
    • H05ELECTRIC TECHNIQUES NOT OTHERWISE PROVIDED FOR
    • H05GX-RAY TECHNIQUE
    • H05G1/00X-ray apparatus involving X-ray tubes; Circuits therefor
    • H05G1/08Electrical details
    • H05G1/26Measuring, controlling or protecting
    • H05G1/54Protecting or lifetime prediction
    • GPHYSICS
    • G01MEASURING; TESTING
    • G01NINVESTIGATING OR ANALYSING MATERIALS BY DETERMINING THEIR CHEMICAL OR PHYSICAL PROPERTIES
    • G01N23/00Investigating or analysing materials by the use of wave or particle radiation, e.g. X-rays or neutrons, not covered by groups G01N3/00 – G01N17/00, G01N21/00 or G01N22/00
    • G01N23/22Investigating or analysing materials by the use of wave or particle radiation, e.g. X-rays or neutrons, not covered by groups G01N3/00 – G01N17/00, G01N21/00 or G01N22/00 by measuring secondary emission from the material
    • G01N23/223Investigating or analysing materials by the use of wave or particle radiation, e.g. X-rays or neutrons, not covered by groups G01N3/00 – G01N17/00, G01N21/00 or G01N22/00 by measuring secondary emission from the material by irradiating the sample with X-rays or gamma-rays and by measuring X-ray fluorescence
    • HELECTRICITY
    • H05ELECTRIC TECHNIQUES NOT OTHERWISE PROVIDED FOR
    • H05GX-RAY TECHNIQUE
    • H05G1/00X-ray apparatus involving X-ray tubes; Circuits therefor
    • H05G1/02Constructional details
    • GPHYSICS
    • G01MEASURING; TESTING
    • G01NINVESTIGATING OR ANALYSING MATERIALS BY DETERMINING THEIR CHEMICAL OR PHYSICAL PROPERTIES
    • G01N2223/00Investigating materials by wave or particle radiation
    • G01N2223/07Investigating materials by wave or particle radiation secondary emission
    • G01N2223/076X-ray fluorescence

Landscapes

  • Health & Medical Sciences (AREA)
  • General Health & Medical Sciences (AREA)
  • Physics & Mathematics (AREA)
  • Life Sciences & Earth Sciences (AREA)
  • Chemical & Material Sciences (AREA)
  • Analytical Chemistry (AREA)
  • Biochemistry (AREA)
  • General Physics & Mathematics (AREA)
  • Immunology (AREA)
  • Pathology (AREA)
  • Toxicology (AREA)
  • Analysing Materials By The Use Of Radiation (AREA)

Description

【0001】
【発明の属する技術分野】
この発明は考古学資料調査、犯罪現場捜査、火災初動捜査、スクラップ品検査等における屋外での元素分析を主目的とした可搬型蛍光X線分析計に関する。
【0002】
【従来の技術】
測定ヘッドと操作部とで構成されている可搬型蛍光X線分析計を使用する場合、通常作業の効率化のために測定ヘッドを試料に向け設置する作業者と測定データ収集のために操作部を操作する作業者が二人一組になり、互いが連携しあいながら測定を実施する。
【0003】
【発明が解決しようとする課題】
従来の可搬型蛍光X線分析計はX線発生指示のためのスイッチを測定ヘッドあるいは操作部のいずれか一方に備えており、X線の発生、停止は一方の作業者に委ねられていた。
【0004】
そのため、X線の発生、停止手段であるスイッチを操作しない作業者にとっては、好ましくないような状況でもX線を発生させられたり、停止されたりする不具合があった。
【0005】
本発明は上記の問題を解消して安全性が高い可搬型蛍光X線分析計を得ることを目的とする。
【0006】
【課題を解決するための手段】
上記目的を達成するために本発明は、可搬型蛍光X線分析計において測定ヘッドと操作部の両方にX線スイッチを取り付け、測定ヘッドに設置されている安全スイッチがオンの状態で、この両方のX線スイッチが同時にオンである時にのみX線を発生するように構成した。
【0007】
また、測定ヘッドに設置されている安全スイッチがオフになりX線が停止すると、該安全スイッチが再びオンになっても、一旦測定ヘッド側X線スイッチ(第1のX線スイッチ)と操作部側X線スイッチ(第2のX線スイッチ)の両方ともオフにしてからでないとX線を発生させることができないように構成した。
【0008】
さらに、安全スイッチがオフになり、第1のX線スイッチ、第2のX線スイッチが共にオンのままである状態のときに、第1のX線スイッチ、第2のX線スイッチの両方をオフにしなければX線を発生させることができないことを示す表示手段が、前記測定ヘッド又は操作部の少なくとも一方に設けられるように構成した。
【0009】
【発明の実施の形態】
可搬型蛍光X線分析計において測定ヘッドに設置されている安全スイッチがオンの状態で測定ヘッド側X線スイッチ(第1のX線スイッチ)と操作部側X線スイッチ(第2のX線スイッチ)をオンにするとX線が発生する。また、測定ヘッドに設置されている安全スイッチがオフになりX線が停止すると、該安全スイッチが再びオンになった後は、一旦第1のX線スイッチと第2のX線スイッチの両方ともオフにしてから再び、両方ともオンにするとX線が再発生する。
【0010】
【実施例】
以下に本発明の実施例を図面に基づいて説明する。
【0011】
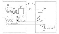
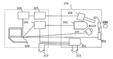
図1は本発明の可搬型蛍光X線分析計の実施例の回路図である。図1の回路図では可搬型蛍光X線分析計の構成のうちX線発生に関る部分を抜粋して示している。図2は本発明の可搬型蛍光X線分析計の実施例の全体構成図である。図2のシャッタ201はX線を完全に遮蔽することができる十分な厚みの金属で作られている。X線管球202はエンドウィンドウ型の小型X線管球を採用することにより装置の小型、軽量化を実現している。高圧電源203からの高電圧の供給を受けX線管球202から発生する蛍光X線の光束は蛍光X線分析計の測定ヘッド筐体204に設けられているX線照射窓を通過し被測定試料に照射されるが、測定時以外の間はシャッタ201により遮蔽され、測定ヘッド外部にX線が漏洩することはない。シャッタ201はソレノイド等のアクチュエータ205により機械的動作をする。X線照射により被測定試料から二次的に発生した蛍光X線はX線検出器206に取り込まれ、電気パルス信号に変換され次の検出回路207に送られる。X線検出器206としては、SiやGeの半導体検出器、シンチレーション検出器、比例計数管等が利用でき、測定の目的に応じてこれらを使い分ける。検出回路207では入力された電気パルスを後に処理し易いレベルの信号になるよう増幅する。この時に必要な計数率が確保でき、且つ良好なエネルギー分解能が得られるように適切な波形整形処理も施される。このような処理を経た後電気パルスの波高はA/D変換器によりデジタル値に変換され、次の計数手段208に伝えられる。計数手段208では測定時間中に入力された電気パルスの数を波高値毎に計数する。こうして次々に検出された二次蛍光X線は、波高すなわちエネルギーに対する計数という形でスペクトルとして表現される。
【0012】
シャッタ201の動作指示、高圧電源203への出力条件設定、計数結果の表示や解析はコンピュータ209によって実現される。
【0013】
被測定部分に一次X線を照射するために測定ヘッド筐体204の正確な位置決めが必要になる。CCDカメラ等の撮像装置210を測定ヘッド筐体204側に設け、被測定試料を光学的に観察することで被測定試料と測定ヘッド筐体204との位置関係を容易に把握することができ正確な測定位置合わせが可能になる。
【0014】
可搬型蛍光X線分析計の設置状態の異常や、装置安全に関る部品の動作異常を検知したときに高圧電源203の出力を制御し、X線の発生を停止する目的で通常可搬型蛍光X線分析計には安全インターロック回路211が備えられている。X線の発生、停止はX線キースイッチ212、213によって指示するが、X線の停止に関しては安全インターロック回路211の動作が優先する。
【0015】
可搬型蛍光X線分析計は可搬性を高めるために構成要素を測定ヘッド部と操作部に分割し、測定ヘッド部の小型、軽量化を図っている。
【0016】
図1においてX線発生用高圧電源11は操作部2側に設置されている。本X線発生用高圧電源11の出力は高圧ケーブル12を介して測定ヘッド1側に設置されているX線管球13に接続される。リレーb22の接点32が閉じられるとX線発生用高圧電源11は高電圧を発生してX線管球13からX線が発生する。安全スイッチ4は通常はオン状態にあるが、装置の安全インターロック回路に連動し、装置の設置状態の異常時や、装置安全に関る部品の動作異常時にオフになる。まずこの安全スイッチ4がオンで測定ヘッド1側X線スイッチ3と操作部2側X線スイッチ5が同時にオフの時にはリレーa21のコイルに電流が流れ、リレーa21の接点31は閉じられる。リレーa21の接点31が閉じられることで、電源からリレーa21のコイル、リレーa21の接点31、安全スイッチ4、グランドという電流経路ができ、リレーa21は安全スイッチ4がオフにならない限りオンの状態を保つ。次に測定ヘッド1側X線スイッチ3と操作部2側X線スイッチ5を同時にオンにするとリレーb22のコイルに電流が流れリレーb22の接点32が閉じる。前述したようにリレーb22の接点32が閉じられるとX線発生用高圧電源11は高電圧を発生してX線管球13からX線が発生する。
【0017】
何らかの原因で安全スイッチ4がオフになるとリレーb22のコイルへの電流供給路が断たれリレーb22の接点32は開く。その結果X線の発生は停止される。この時リレーa21のコイルへの電流供給路も断たれるのでリレーa21の接点31は開く。すると安全スイッチ4がオン状態に復帰してもリレーb22のコイルへの電流供給路は完成されないので、このままではX線が再発生することはない。この後一旦測定ヘッド1側X線スイッチ3と操作部2側X線スイッチ5を同時にオフにするとリレーa21のコイルに電流が流れ接点31は閉じる。そして再び測定ヘッド1側X線スイッチ3と操作部2側X線スイッチ5を同時にオンにするとリレーb22のコイルに電流が流れ、接点32が閉じ、その結果X線が再発生する。
【0018】
ここで、安全スイッチがオフになり、測定ヘッド側X線スイッチ、操作部側X線スイッチが共にオンのままである状態のときに、測定ヘッド側X線スイッチ、操作部側X線スイッチの両方をオフにしなければX線を発生させることができないことを示す表示手段(例えば、LEDによる点灯や、コンピュータ209の画面への表示等)を、測定ヘッド又は操作部の少なくとも一方に設けることにより、現在のスイッチの状態を認識することができるようになる。
【0019】
【発明の効果】
本発明は測定ヘッドと操作部からなる可搬型蛍光X線分析計において、測定ヘッドと操作部の両方にX線スイッチを取り付け、測定ヘッドに設置されている安全スイッチがオンの状態で、この両方のX線スイッチが同時にオンである時にのみX線を発生するように構成したことにより、測定ヘッド側と操作部側の作業者共に安全確保が十分にできた状態でX線を発生させることができると共に、いずれの作業者も自分の意志のみで随時X線を停止することができ、作業の効率向上が図れる。
【0020】
更に、安全インターロックが作動しX線が停止すると、インターロックが解除された後にX線を再発生させる場合には、一旦測定ヘッド側X線スイッチと操作部側X線スイッチの両方ともオフにする操作を必須とした。これによって安全性が高い可搬型蛍光X線分析計を得ることができる。
【図面の簡単な説明】
【図1】本発明の可搬型蛍光X線分析計の実施例の回路図である。
【図2】本発明の可搬型蛍光X線分析計の実施例の全体構成図である。
【符号の説明】
1 測定ヘッド
2 操作部
3 測定ヘッド側X線スイッチ
4 安全スイッチ
5 操作部側X線スイッチ
11 X線発生用高圧電源
12 高圧ケーブル
13 X線管球
21 リレーa
22 リレーb
31 リレーaの接点
32 リレーbの接点
201 シャッタ
202 X線管球
203 高圧電源
204 測定ヘッド筐体
205 アクチュエータ
206 X線検出器
207 検出回路
208 計数手段
209 コンピュータ
210 撮像装置
211 安全インターロック回路
212 操作部側X線キースイッチ
213 測定ヘッド側X線キースイッチ

Claims (6)

  1. 試料にX線を照射するためのX線管球を有する測定ヘッドと、測定ヘッドから分離された操作部とを備えた可搬型蛍光X線分析計において、
    前記測定ヘッドは、前記X線管球からの前記X線の照射を制御する第1のX線スイッチと、当該X線の照射を停止する安全スイッチとを有し、
    前記操作部は、前記X線管球からの前記X線の照射を制御する第2のX線スイッチを有し、
    前記X線管球は、前第1のX線スイッチと前記安全スイッチ及び第2のX線スイッチのいずれもがオンの場合にのみ前記X線を照射する可搬型蛍光X線分析計。
  2. 前記X線管球は、前記安全スイッチにより前記X線の照射を停止した場合、前記第1及び前記第2のX線スイッチの両方をオフにしてから前記第1及び第2のX線スイッチの両方をオンにすることにより前記X線を照射する請求項1に記載の可搬型蛍光X線分析計。
  3. 前記安全スイッチにより前記X線の照射を停止し、前記第1のX線スイッチと前記第2のX線スイッチのどちらか一方または両方がオンである場合、信号を出力する表示手段を有する請求項2に記載の可搬型蛍光X線分析計。
  4. 前記測定ヘッドは、蛍光X線を検出する検出器を有する請求項1から3のいずれか一つに記載の可搬型蛍光X線分析計。
  5. 前記測定ヘッドは、前記試料を観察可能な撮像装置を有する請求項1から4のいずれか一つに記載の可搬型蛍光X線分析計。
  6. 前記操作部は、前記X線管球の電源を有する請求項1から5のいずれか一つに記載の可搬型蛍光X線分析計。
JP2001103618A 2000-04-06 2001-04-02 可搬型蛍光x線分析計 Expired - Fee Related JP4933702B2 (ja)

Priority Applications (2)

Application Number Priority Date Filing Date Title
JP2001103618A JP4933702B2 (ja) 2000-04-06 2001-04-02 可搬型蛍光x線分析計
US09/827,125 US6486573B2 (en) 2000-04-06 2001-04-05 Portable X-ray fluorescence analyzer

Applications Claiming Priority (7)

Application Number Priority Date Filing Date Title
JP2000-104844 2000-04-06
JP2000104844 2000-04-06
JP2000104844 2000-04-06
JP2001008892 2001-01-17
JP2001008892 2001-01-17
JP2001-8892 2001-01-17
JP2001103618A JP4933702B2 (ja) 2000-04-06 2001-04-02 可搬型蛍光x線分析計

Publications (2)

Publication Number Publication Date
JP2002286662A JP2002286662A (ja) 2002-10-03
JP4933702B2 true JP4933702B2 (ja) 2012-05-16

Family

ID=27343006

Family Applications (1)

Application Number Title Priority Date Filing Date
JP2001103618A Expired - Fee Related JP4933702B2 (ja) 2000-04-06 2001-04-02 可搬型蛍光x線分析計

Country Status (2)

Country Link
US (1) US6486573B2 (ja)
JP (1) JP4933702B2 (ja)

Families Citing this family (12)

* Cited by examiner, † Cited by third party
Publication number Priority date Publication date Assignee Title
JP4933702B2 (ja) * 2000-04-06 2012-05-16 エスアイアイ・ナノテクノロジー株式会社 可搬型蛍光x線分析計
US20020191746A1 (en) * 2001-06-19 2002-12-19 Mark Dinsmore X-ray source for materials analysis systems
US7177393B2 (en) * 2004-07-21 2007-02-13 Kabushiki Kaisha Toshiba X-ray imaging apparatus
US7283615B2 (en) * 2006-02-08 2007-10-16 Brent Morehead On-demand multiple step fluoroscope control assembly
US7916834B2 (en) * 2007-02-12 2011-03-29 Thermo Niton Analyzers Llc Small spot X-ray fluorescence (XRF) analyzer
US8130902B2 (en) * 2007-07-31 2012-03-06 Uchicago Argonne, Llc High-resolution, active-optic X-ray fluorescence analyzer
JP5375232B2 (ja) * 2009-03-17 2013-12-25 株式会社島津製作所 X線照射装置及びその安全機構
US9310324B2 (en) * 2013-09-24 2016-04-12 Oxford Instruments Analytical Oy X-ray fluorescence analyzer with safety features
JP6346036B2 (ja) * 2014-09-09 2018-06-20 株式会社日立ハイテクサイエンス 蛍光x線分析装置及びその測定位置調整方法
US10509000B2 (en) 2015-05-20 2019-12-17 Tribo Labs X-ray fluorescence device calibration
US10641718B2 (en) 2016-07-29 2020-05-05 Bruker Handheld Llc X-ray fluorescence analyzer
CN110402107A (zh) * 2017-02-28 2019-11-01 富士胶片株式会社 放射线照射装置

Family Cites Families (14)

* Cited by examiner, † Cited by third party
Publication number Priority date Publication date Assignee Title
US3686510A (en) * 1971-06-14 1972-08-22 Albert N Korb Interlock system for darkrooms and film storage bins
JPS5967409A (ja) * 1982-09-24 1984-04-17 Seiko Instr & Electronics Ltd 螢光x線膜厚計
JPS6044366B2 (ja) * 1982-11-01 1985-10-03 川崎製鉄株式会社 流動層予備還元炉の操業方法
JPS61201300A (ja) * 1985-03-04 1986-09-05 東洋通信機株式会社 残差駆動型ボコ−ダ
DE3760980D1 (en) * 1986-05-07 1989-12-21 Siemens Ag X-ray diagnostic apparatus
US5212621A (en) * 1990-04-26 1993-05-18 Cnc Retrofits, Inc. Proximity switched machine control method and apparatus
JPH04337296A (ja) * 1991-05-14 1992-11-25 Toshiba Corp X線発生装置
JP2762269B2 (ja) * 1992-10-11 1998-06-04 株式会社堀場製作所 螢光x線分析装置のx線発生制御機構
US6038287A (en) * 1995-10-10 2000-03-14 Miles; Dale A. Portable X-ray device
US5631943A (en) * 1995-12-19 1997-05-20 Miles; Dale A. Portable X-ray device
JPH09203713A (ja) * 1996-01-24 1997-08-05 Rigaku Ind Co 可搬式小型蛍光x線分析装置
JP3582982B2 (ja) * 1998-04-17 2004-10-27 エスアイアイ・ナノテクノロジー株式会社 可搬型蛍光x線分析計
JP2001349853A (ja) * 2000-04-06 2001-12-21 Seiko Instruments Inc 可搬型蛍光x線分析計
JP4933702B2 (ja) * 2000-04-06 2012-05-16 エスアイアイ・ナノテクノロジー株式会社 可搬型蛍光x線分析計

Also Published As

Publication number Publication date
JP2002286662A (ja) 2002-10-03
US20010038248A1 (en) 2001-11-08
US6486573B2 (en) 2002-11-26

Similar Documents

Publication Publication Date Title
JP4933702B2 (ja) 可搬型蛍光x線分析計
TWI646327B (zh) 螢光x射線分析裝置
CN101355002B (zh) X射线管和x射线分析设备
EP3026429B1 (en) X-ray fluorescence analyzer and x-ray fluorescence analyzing method
CN110000109A (zh) 一种x射线检测区分煤和矸石的方法及装置
JP3582982B2 (ja) 可搬型蛍光x線分析計
WO1999015865A1 (en) Induced breakdown spectroscopy detector system with controllable delay time
US6400795B2 (en) X-ray fluorescence analyzer
JP2001349853A (ja) 可搬型蛍光x線分析計
JP4412764B2 (ja) 正負イオン量測定装置
JP3926510B2 (ja) 蛍光x線分析計
JPS61283859A (ja) 油中ニツケル/バナジウム検出装置
US9268126B2 (en) Observation and analysis unit
JP2002131251A (ja) X線分析装置
JP6863267B2 (ja) X線分析装置及び異常検知方法
CN110646831A (zh) 伽马射线电子谱仪
JP2006098270A (ja) 交流回転機の保全方法
JP5489032B2 (ja) ビーム量測定機能に優れたイオンビーム分析装置
JP2010197229A (ja) 蛍光x線分析装置
JPH1144766A (ja) 体表面モニタ
CN110174220A (zh) 一种变压器有载分接开关渗漏油检测系统及方法
CN119936076A (zh) 一种宽量程多功能的分析装置
JP2001312994A (ja) 電子分光装置
JPH0743642Y2 (ja) X線回折装置
JPH0361841A (ja) X線吸収スペクトル測定用アタッチメント

Legal Events

Date Code Title Description
RD01 Notification of change of attorney

Free format text: JAPANESE INTERMEDIATE CODE: A7421

Effective date: 20040303

A711 Notification of change in applicant

Free format text: JAPANESE INTERMEDIATE CODE: A712

Effective date: 20040526

A621 Written request for application examination

Free format text: JAPANESE INTERMEDIATE CODE: A621

Effective date: 20080324

RD01 Notification of change of attorney

Free format text: JAPANESE INTERMEDIATE CODE: A7421

Effective date: 20091104

RD01 Notification of change of attorney

Free format text: JAPANESE INTERMEDIATE CODE: A7421

Effective date: 20091112

RD01 Notification of change of attorney

Free format text: JAPANESE INTERMEDIATE CODE: A7421

Effective date: 20091118

A131 Notification of reasons for refusal

Free format text: JAPANESE INTERMEDIATE CODE: A131

Effective date: 20100831

A521 Written amendment

Free format text: JAPANESE INTERMEDIATE CODE: A523

Effective date: 20101026

A131 Notification of reasons for refusal

Free format text: JAPANESE INTERMEDIATE CODE: A131

Effective date: 20110215

A521 Written amendment

Free format text: JAPANESE INTERMEDIATE CODE: A523

Effective date: 20110415

A131 Notification of reasons for refusal

Free format text: JAPANESE INTERMEDIATE CODE: A131

Effective date: 20110628

A521 Written amendment

Free format text: JAPANESE INTERMEDIATE CODE: A523

Effective date: 20110804

TRDD Decision of grant or rejection written
A01 Written decision to grant a patent or to grant a registration (utility model)

Free format text: JAPANESE INTERMEDIATE CODE: A01

Effective date: 20120214

A01 Written decision to grant a patent or to grant a registration (utility model)

Free format text: JAPANESE INTERMEDIATE CODE: A01

A61 First payment of annual fees (during grant procedure)

Free format text: JAPANESE INTERMEDIATE CODE: A61

Effective date: 20120217

R150 Certificate of patent or registration of utility model

Free format text: JAPANESE INTERMEDIATE CODE: R150

FPAY Renewal fee payment (event date is renewal date of database)

Free format text: PAYMENT UNTIL: 20150224

Year of fee payment: 3

FPAY Renewal fee payment (event date is renewal date of database)

Free format text: PAYMENT UNTIL: 20150224

Year of fee payment: 3

S531 Written request for registration of change of domicile

Free format text: JAPANESE INTERMEDIATE CODE: R313531

S533 Written request for registration of change of name

Free format text: JAPANESE INTERMEDIATE CODE: R313533

FPAY Renewal fee payment (event date is renewal date of database)

Free format text: PAYMENT UNTIL: 20150224

Year of fee payment: 3

R371 Transfer withdrawn

Free format text: JAPANESE INTERMEDIATE CODE: R371

FPAY Renewal fee payment (event date is renewal date of database)

Free format text: PAYMENT UNTIL: 20150224

Year of fee payment: 3

S531 Written request for registration of change of domicile

Free format text: JAPANESE INTERMEDIATE CODE: R313531

S533 Written request for registration of change of name

Free format text: JAPANESE INTERMEDIATE CODE: R313533

FPAY Renewal fee payment (event date is renewal date of database)

Free format text: PAYMENT UNTIL: 20150224

Year of fee payment: 3

R350 Written notification of registration of transfer

Free format text: JAPANESE INTERMEDIATE CODE: R350

LAPS Cancellation because of no payment of annual fees