JP4927770B2 - 縦形製袋充填包装機 - Google Patents

縦形製袋充填包装機 Download PDF

Info

Publication number
JP4927770B2
JP4927770B2 JP2008057690A JP2008057690A JP4927770B2 JP 4927770 B2 JP4927770 B2 JP 4927770B2 JP 2008057690 A JP2008057690 A JP 2008057690A JP 2008057690 A JP2008057690 A JP 2008057690A JP 4927770 B2 JP4927770 B2 JP 4927770B2
Authority
JP
Japan
Prior art keywords
packaging material
sealer
cylindrical packaging
gusset
bag
Prior art date
Legal status (The legal status is an assumption and is not a legal conclusion. Google has not performed a legal analysis and makes no representation as to the accuracy of the status listed.)
Active
Application number
JP2008057690A
Other languages
English (en)
Other versions
JP2009214889A (ja
Inventor
高志 小笠原
Current Assignee (The listed assignees may be inaccurate. Google has not performed a legal analysis and makes no representation or warranty as to the accuracy of the list.)
Tokyo Automatic Machinery Works Ltd
Original Assignee
Tokyo Automatic Machinery Works Ltd
Priority date (The priority date is an assumption and is not a legal conclusion. Google has not performed a legal analysis and makes no representation as to the accuracy of the date listed.)
Filing date
Publication date
Application filed by Tokyo Automatic Machinery Works Ltd filed Critical Tokyo Automatic Machinery Works Ltd
Priority to JP2008057690A priority Critical patent/JP4927770B2/ja
Publication of JP2009214889A publication Critical patent/JP2009214889A/ja
Application granted granted Critical
Publication of JP4927770B2 publication Critical patent/JP4927770B2/ja
Active legal-status Critical Current
Anticipated expiration legal-status Critical

Links

Images

Landscapes

  • Containers And Plastic Fillers For Packaging (AREA)

Description

本発明は、縦形製袋充填包装機に係わり、より詳しくは、上部が扁平で且つ下部がガセット角底に形成された袋を製造する縦形製袋充填包装機に関する。
この種の袋は製袋筒から垂下され且つ拡張状態にある筒状包材に対し、横シールを2回に分けて実施することで製造される(例えば、特許文献1)。具体的には、特許文献1の縦形製袋充填包装機によれば、筒状包材には先ず、袋の上部を閉じる横シール、即ち、トップシールが形成され、そして、筒状包材はトップシールの直上にて切断される。
この後、筒状包材に対し、その両側部でのガセット折りを経て、その切断下端を閉じる横シール、即ち、ボトムシールが形成される。
特許第2673246号明細書
ところで、上述した特許文献1の縦形製袋充填包装機の場合、ガセット折りの前段階にて、筒状包材の両側部はトップシールの形成に伴い、略三角形状に尖った状態にあり、また、トップシールの直上での切断により、筒状包材の切断下端は自由状態にある。
このため、ガセット折りをなすガセット折り板の折り込み位置に対して、筒状包材における側部の凸縁がずれ易い。このような位置ずれが少しでも発生すれば、ガセット折り板は筒状包材の側部を不均等に折り込むことで、歪んだガセット折りを形成するばかりでなく、製袋筒の軸線に対して筒状包材が傾くような包材ずれを発生させ、不良の袋が製造される大きな要因となる。
本発明は上述の事情に基づいてされたもので、その目的とするところは、上部が扁平で且つ下部がガセット角底の袋を製造するにあたり、ガセット折りを正確に行え、袋の品質を確実に確保できる縦形製袋充填包装機を提供することにある。
上記の目的を達成するため、本発明は、製袋筒から垂下された筒状包材にボトムシール及びトップシールをそれぞれ形成し、筒状包材から個々の袋に成形する縦形製袋充填包装機において、本発明の縦形製袋充填包装機は、製袋筒の下方にて、製造すべき袋の厚み方向に離間して配置され、互いに近接する方向に弾性変形可能な一対の拡張ガイドであって、筒状包材をその内側から厚み方向に拡張させる一対の拡張ガイドと、拡張ガイドの下方に配置され、トップシールを形成すべく厚み方向に開閉可能であり、且つ、トップシールの直上にて筒状包材を切断し、筒状包材に切断下端を形成するカッタを備えたトップ側横シーラと、このトップ側横シーラの上方にて拡張ガイドの両側にそれぞれ配置され、筒状包材に対して前記厚み方向とは直交する幅方向に進退し、対応する筒状包材の側部をそれぞれガセット折りする一対のガセット折り板と、拡張ガイドとトップ側横シーラとの間に配置され、筒状包材の前記切断下端にボトムシールを形成すべく、トップ側横シーラとは独立して厚み方向に開閉可能なボトム側横シーラと、筒状包材の対応する側の側部に対してそれぞれ接触可能に設けられ、ガセット折りに先立ち、トップシールの形成に起因して略三角形状をなす側部の凸縁に接触し、この凸縁を平坦面にする一対の平坦化部材とを備える(請求項1)。
上述の縦形製袋充填包装機によれば、ガセット折りに先立ち、筒状包材における両側部の凸縁は平坦化部材により平坦面にされ、この平坦面にて筒状包材の側部がガセット折り板により折り込まれ、この側部をガセット折りにする。
好ましくは、平坦化部材は、トップ側横シーラのカッタとボトム側横シーラとの間に配置され、筒状包材の側部に対して、その幅方向に進退可能である(請求項2)。この場合、平坦化部材は、筒状包材における側部の凸縁に対し、その切断下端にて接触することで、凸縁を平坦面とすることから、筒状包材の側部に括れが生じる虞もなく、括れの無いガセット折りが形成される。
また、ボトム側横シーラは、筒状包材の前記切断下端を閉じる水平シーラ部分と、製造される袋の底の角底に形成すべく、前記ガセット折りされた前記筒状包材の前記側部を斜めに閉じる傾斜シーラ部分とを有している(請求項3)。この場合、ボトム側シーラの傾斜シーラ部分により形成されるボトムシールの部位は、ガセット角底の形成を確実にするばかりでなく、袋内に充填された物品がガセット角底内に侵入するのを確実に防止する。
更に、ガセット折り板が直接に押し込まれる前記筒状包材の前記側部の部位にて、この部位での凸縁の周囲に接触して、この凸縁を平坦面にする一対の補助平坦化部材を更に備えることができる(請求項4)。この場合、筒状包材における側部の凸縁は、平坦化部材と補助平坦化部材との間に亘って平坦面となり、ガセット折り板は前述の包材ずれを招くことなく、ガセット折りを形成する。
請求項1〜4の縦形製袋充填包装機は、筒状包材の側部にガセット折りを正確に形成することができるので、綺麗な袋の製造が可能となり、袋の品質を向上させることができる。また、ボトム側横シーラが水平シーラ部分に加えて傾斜シーラ部分を有していれば、平坦なガセット角底の形成が確実になり、自立性を有した袋の製造が可能となる。
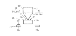
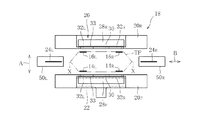
図1〜図3は、第1実施例の縦形製袋充填包装機の全体を概略的に示す。
図1の包装機は、鉛直方向に延びる製袋筒2を備え、この製袋筒2はその上部にフォーマ4を有する。フォーマ4には、フィルムからなる包材Fが包材ロールから導かれており、この包材Fはフォーマ4を通過する際、製袋筒2を囲む筒状に形成される。この場合、包材Fの両側縁は合掌形態にて互いに重ね合わされ、そして、筒状の包材Fは製袋筒2に沿って下方に延びている。
フォーマ4の下方には一対の包材フィーダ6(図1には一方の包材フィーダ6のみを図示)が配置されている。これら包材フィーダ6は製袋筒2の両側に位置付けられ、製袋筒2に沿って包材Fを下方に繰出すことができる。具体的には、包材フィーダ6は無端状のサクションベルトを有しており、このサクションベルトは包材Fを吸着しながら走行し、包材Fの繰出しをなす。
また、フォーマ4の下方には縦シーラ8が配置されている。この縦シーラ8は、製袋筒2の周方向でみて、一対の包材フィーダ6間に位置付けられ、製袋筒2に沿って下方に延びている。包材Fの繰出しに伴い、互いに重ね合わされた状態にある包材Fの両側縁は縦シーラ8内を通過し、この際、両側縁はヒートシールされて、縦シールLSを形成する。この縦シールLSは包材Fを完全な筒状包材TFに形成する。なお、縦シールLSは、この後、製袋筒2の外周面に向けて折り倒され、筒状包材TFの外面に重ね合わされる。
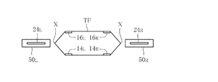
製袋筒2の下端からは、一対の拡張ガイド10,12が下方に向けて延びており、これら拡張ガイド10,12は製造すべき袋の厚み方向に離間している。より詳しくは、拡張ガイド10,12のそれぞれは、製造すべき袋の幅方向に離間した2本の板ばね14L,14R、16L,16Rからなり、これら板ばね14,16は矩形の4つの角部に位置すべく配置され、左右の板ばね、即ち、板ばね14L,16L及び板ばね14R,16Rはそれら下端が互いに近接するように前記厚み方向に弾性変形可能である。
なお、図2から明らかなように、左右の板ばね14,16は製袋筒2の下端から互い拡開すべく幅方向外側に向けて一旦斜めに垂下された後、互いに平行に延びている。
上述の拡張ガイド10,12は、筒状包材TFの繰出しに伴い製袋筒2の下端から垂下した筒状包材TFをその内側から前記幅方向に拡張させ、緊張状態に保持する。詳しくは、図3から明らかなように、筒状包材TFは横断面でみて、その中央部が板ばね14,16によって形作られる矩形形状に拡張される。
一方、拡張ガイド10,12の下方にはトップ側横シーラ18が配置されており、このトップ側横シーラ18は一対のヒータブロック20F,20Rを有する。これらヒータブロック20F,20Rは筒状包材TFの通過を許容すべく前記幅方向に離間し、そして、互いに接離する方向、即ち、トップ側横シーラ18の開閉方向(図3中の矢印Aの方向)に駆動可能となっている。
トップ側横シーラ18が閉作動したとき、その一対のヒータブロック20F,20Rは筒状包材TFを挟み付けてヒートシールし、ここでのヒートシールは筒状包材TFに対し、製造されるべき袋Pのための扁平なトップシールTSを形成する。
更に、トップ側横シーラ18は、ヒータブロック20Fの直上にカッタ22を備え、このカッタ22はヒータブロック20Fからヒータブロック20Rに向けて突出可能となっている。即ち、トップ側横シーラ18の閉作動を受けて、上述のトップシールTSが形成された後、カッタ22はヒータブロック20Fからヒータブロック20Rに向けて突出し、筒状包材TFをトップシールTSの直上にて切断する。ここでの切断は筒状包材TFに切断下端を形成する。
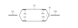
また、上述のトップシールTSの形成時、筒状包材TFはヒータブロック20F,20R間に挟み付けられることから、筒状包材TFの切断下端が一対の拡張ガイド10,12の働きにより再び拡張されたとき、図3に示すように筒状包材TFの両側部はその横断面でみて、その凸縁Xが幅方向外側を向いた略三角形状をなす。
更に、トップ側横シール18の上方には、一対の拡張ガイド10,12の両側にガセット折り板24L,24Rが配置され、これらガセット折り板24は図2,3中の矢印Bで示す前記幅方向に進退可能となっている。より詳しくは、図3から明らかなように、前記厚み方向でみて、ガセット折り板24は対応する側の筒状包材TFの側部の凸縁Xと正対すべく位置付けられており、筒状包材TFに向けて前進したとき、一対の拡張ガイド10,12間に筒状包材TFの側部を伴って進入し、この側部にガセット折りを形成する。
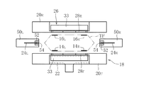
そして、拡張ガイド10,12とトップ側横シーラ18との間にはボトム側横シーラ26が配置されており、このボトム側横シーラ26もまたトップ側横シーラ18と同様に、一対のヒータブロック28F,28Rを有する。これらヒータブロック28F,28Rは前述の厚み方向に離間し、ボトム側横シーラ26の開閉方向(A方向)に駆動される。なお、トップ側横シーラ18及びボトム側横シーラ26が共に開位置にあるとき、ボトム側横シーラ26のヒータブロック28F,28Rは、トップ側横シーラ18のヒータブロック20F,20Rの直上にそれぞれ位置付けられている。
上述のボトム側横シーラ26が閉作動したとき、ヒータブロック28F,28Rは、筒状包材TFの切断下端を挟み付けてヒートシールし、ここでのヒートシールは筒状部材TFに対し、製造されるべき袋Pのボトムシールを形成する。
より詳しくは、図2から明らかなように、ボトム側横シーラ26の各ヒータブロック28には、筒状包材TFの切断下端をヒートシールする水平シーラ部分30と、前述のガセット折りされた筒状包材TFの両側部をそれぞれヒートシールする左右の傾斜シーラ部分32L,32Rとが設けられており、これら傾斜シーラ部分32L,32Rは上下を逆にしたハ字状に配置され、それらの下端は水平シーラ部分30に連なっている。なお、ボトム側横シーラ26により形成されるボトムシールに関しては、後述の説明からより明らかになる。
なお、ヒータブロック28はその上面に押し部33を有しており、この押し部33はボトム側横シーラ26が閉作動するとき、対応する側の拡張ガイド10(又は12)の板ばね14(又は16)の下端に当接し、これら板ばね14,16をその下端が互いに近接するように弾性変形させる。
上述のボトム側横シーラ26は、トップ側横シーラ18の開閉駆動とは独立して開閉駆動可能であり、これらシーラ18,26の開閉駆動機構は公知であるので、その説明を省略する。
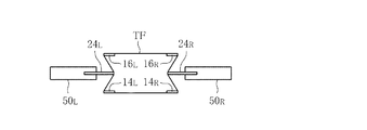
更に、図2及び図3から明らかなように、筒状包材TFの両側には一対の平坦化部材50L,50Rが配置されている。これら平坦化部材50は水平な板からなり、上下方向でみて、ボトム側横シーラ26とトップ側横シーラ18との間、詳しくは、トップ側横シーラ18におけるカッタ22の直上に位置付けられている。平坦化部材50もまた前述したガセット折り板24と同様に幅方向、つまり、矢印B方向に進退可能となっている。
次に、図4〜図13を参照しながら、第1実施例の包装機の作動を説明する。
図4は、袋Pが製造される直前の状態、即ち、トップ側横シーラ18が閉作動し、筒状包材TFにトップシールTSが形成された状態を示す。この後、トップ側横シーラ18のカッタ22が作動し、筒状包材TFはトップシールTSの直上にて切断される。この切断により、製造された袋Pは筒状包材TFから分離され、筒状包材TFに切断下端が形成される。
この後、トップ側横シーラ18はカッタ22を伴い開位置まで開作動し、そして、筒状包材TFの切断下端は一対の拡張ガイド10,12の働きにより、図5に示すように開かれる。また、この際、前述したようにトップシールTSの形成に起因し、筒状包材TFの両側部は図6に示されるように横断面でみて、その凸縁Xが外側に向けて突出した略三角形状をなす。
この後、図7に示されるように、一対の平坦化部材50は対応する側の筒状包材TFの側部に向けて前進し、筒状包材TFの切断下端において、その前端面が筒状包材TFにおける側部の凸縁Xに接触する。ここでの接触は、図7中、2点鎖線で示す略三角形状の側部の凸縁Xを押し込むようして凸縁Xを平坦面Yにし、このような平坦面Yは切断下端から製袋筒2の下端に向けて延びたものとなる。即ち、筒状包材TFの側部は一対の拡張ガイド10,12の働きにより緊張状態にあるから、側部の凸縁Xに平坦化部材50が接触するだけで、上述の平坦面Yを得ることができる。
また、平坦化部材50は筒状包材TFにおける側部の凸縁Xをその下端に押し込むことから、平坦面Yに括れが生じることもない。
更に、凸縁Xの押し込みは筒状包材TFの側部の緊張状態を瞬間的に緩め、前記厚み方向への一対の拡張ガイド10,12の拡開を更に許容する。それ故、側部の緊張状態が更に強められる結果、上述の平坦面Yを安定して得ることができる。
この後、一対のガセット折り板24は、対応する側の筒状包材TFの側部に向けて前進し、この側部を伴い一対の拡張ガイド10,12間にそれぞれ進入する。ここで、図8から明らかなように、ガセット折り板24は、側部における平坦面Yの中央を押し込むことで、側部を均等に折り込むことができ、側部に綺麗なガセット折りを形成する。
このように筒状包材TFの側部は均等に折り込まれることから、筒状包材TFが製袋筒2の軸線に対して傾いてしまうような包材ずれを確実に防止することができる。
この点、図9に示すように平坦化部材50が無く、筒状包材TFの側部がその凸縁Xにてガセット折り板24により折り込まれることで、側部をガセット折りする場合、図10に示すようにガセット折り板24が凸縁Xから外れて、その側部を折り込んでしまうと、側部の均等な折り込みが不能となって、歪んだガセット折りを形成してしまうばかりでなく、上述の包材ずれを招くことにもなる。
しかしながら、本実施例の場合にあっては、ガセット折りに先立ち、側部の凸縁Xを平坦面Yにしてからガセット折り板24の折り込みをなすので、上述の不具合を被ることはなく、また、平坦面Yに括れが生じていないので、この括れを巻き込むようにしてガセット折りがなされることもなく、ガセット折りを綺麗に形成することができる。
ガセット折りが形成された後、図11に示されるようにボトム側横シーラ26は閉作動し、そのヒータブロック28F,28R間に筒状包材TFを挟み込み、筒状包材TFにボトムシールを形成する。この際、ヒータブロック28はその押し部33により、対応する側の拡張ガイド、即ち、左右の板ばね14又は16を前述したように弾性変形させ、拡張ガイド10,12がボトム側横シーラ26の閉作動を阻害することはない。
ここで、ヒータブロック28F,28Rの水平シーラ部分30は、筒状包材TFの切断下端をガセット折りされて二重構造をなす側部の切断下端を含めて挟み込んでヒートシールし、図12(a)に示されるように切断下端にボトムシールの一部をなす水平ボトムシール部分BSHを形成する。一方、ヒータブロック28F,28Rにおける左右の傾斜シーラ部分32L,32Rは、対応する側の前記二重構造をなす側部を挟み込んでヒートシールし、この側部にボトムシールの残部をなす傾斜ボトムシール部分BSIをそれぞれ形成する。ここで、これら傾斜ボトムシールBSIは図12(a)から明らかなように上下が逆向きのハ字状をなし、水平ボトムシール部分BSHから側部の外側縁に亘って斜めに延びている。より詳しくは、図12(b)に示されるように、前記二重構造をなす側部を開いてみたとき、傾斜ボトムシール部分BSIは各側部にそれぞれ形成されて、いわゆる三角シールを形作る。なお、水平ボトムシール部分BSHもまた各側部の下端にそれぞれ形成されていることは言うまでもない。
上述したボトムシールの形成後、ボトム側横シーラ26は開位置まで開作動し、また、ガセット折り板24もまた筒状包材TFから待機位置まで後退する。この後、筒状包材TF内には製袋筒2内を通じて物品が充填され、この充填動作と並行して筒状包材TFは、製造すべき袋Pの長さ分だけ下方に繰出される。
充填された物品は筒状包材TF内にて、その底を形成する上述のボトムシール上に堆積し、この堆積により、左右の傾斜ボトムシール部分BSIからなる三角シールは図13に示されるように筒状包材TFの底をガセット角底に形成する。ここで、傾斜ボトムシール部分BSIの存在は、ガセット角底内、即ち、二重構造をなす側部内への物品の侵入を阻止し、そして、水平ボトムシール部分BSHが図13中、2点鎖線で示されるようにガセット角底に向けて折り込まれることで、平坦なガセット角底が確実に形成される。
この後、図4に示したようにトップ側横シーラ18の閉作動を受けて、筒状包材TFにトップシールTSが形成され、そして、このトップシールTSの直上にて筒状包材TFが切断されることで、その内部に物品を充填した袋Pが製造される。この後、上述の動作が繰り返され、筒状包材TFから袋Pが連続して製造される。
上述の説明から明らかなように、袋Pはその上部が扁平で且つ下部がガセット角底となっており、そして、このガセット角底は平坦であるから、自立可能となる。また、前述したように袋Pのガセット折りは歪んだり、また、括れを巻き込むことなく綺麗に形成されているから、袋Pの品質を安定させることができる。
本発明は上述の第1実施例に制約されるものではなく、種々の変形が可能である。
図14は、第2実施例の縦形製袋充填包装機の一部を示す。
第2実施例の場合、一対の平坦化部材50L,50Rは、対応するガセット折り板24の直下に配置されている。この場合、平坦化部材50が筒状包材TFにおける側部の凸縁Xを押し込むと、図14に示すように平坦面Yに括れを生じるものの、ここでの括れは一対の拡張ガイド10,12により筒状包材TFに十分な緊張力が付与されていれば、ガセット折り板24によるガセット折りの際に解消され、括れがガセット折りを阻害することはない。
図15及び図16は、第3実施例の縦形製袋充填包装機の一部を示す。
第3実施例の場合、平坦化部材50はその前端に補助平坦化部材52を一体的に備えている。この補助平坦化部材52は上方のガセット折り板24に向けて延び、その上部にガセット折り板24の通過を許容する孔54を有する。
上述の補助平坦化部材52を備えた平坦化部材50によれば、筒状包材TFにおける側部の凸縁Xを平坦面Yにする際、補助平坦化部材52は、ガセット折りに先立ち、ガセット折り板24により実際に押し込まれる凸縁Xの部位の周辺を含め、筒状包材TFの切断下端から上方に向けて広い範囲にて凸縁Xに接触し、この凸縁Xを確実に平坦面Yとすることかできる。
第1実施例の縦形製袋充填包装機を示した概略斜視図である。 図1の包装機の下部を示した概略正面図である。 図2中、III-III線に沿う断面図である。 トップ側横シーラが閉作動した状態を示す図である。 図4の状態からトップ側横シーラが開作動した状態を示す図である。 図5の状態にある筒状包材の横断面図を平坦化部材及びガセット折り板とともに示した図である。 図6の状態から平坦化部材が作動した状態を示す図である。 図7の状態からガセット折り板が作動した状態を示す図である。 図6から平坦化部材を除いた図である。 図9中、筒状包材の側部XIにてガセット折りされるとき、側部XIの凸縁とガセット折り板との位置ずれを拡大して示す図である。 ボトム側横シーラが閉作動した状態を示す図である。 ボトム側横シーラにより筒状包材に形成されるボトムシールを示し、(a)は筒状包材の正面図、(b)は筒状包材のガセット折りされた側部を開いてみた図である。 袋のガセット角底を示す底面図である。 第2実施例の縦形製袋充填包装機の下部を示した概略正面図である。 第3実施例の縦形製袋充填包装機の下部を示した概略正面図である。 図15中、XVI-XVI線に沿う断面図である。
符号の説明
2 製袋筒
10,12 拡張ガイド
14,16 板ばね
18 トップ側横シーラ
20L,20R ヒータブロック
24L,24R ガセット折り板
26 ボトム側横シーラ
28L,28R ヒータブロック
30 水平シーラ部分
32L,32R 傾斜シーラ部分
33 押し部
50L,50R 平坦化部材
52L,52R 補助平坦化部材
LS 縦シール
TF 筒状包材
TS トップシール
BSH 水平ボトムシール部分(ボトムシール)
BSI 傾斜ボトムシール部分(ボトムシール)

Claims (4)

  1. 製袋筒から垂下された筒状包材にボトムシール及びトップシールをそれぞれ形成し、前記筒状包材から個々の袋に成形する縦形製袋充填包装機において、
    前記製袋筒の下方にて、製造すべき袋の厚み方向に離間して配置され、互いに近接する方向に弾性変形可能な一対の拡張ガイドであって、前記筒状包材をその内側から前記厚み方向に拡張させる一対の拡張ガイドと、
    前記拡張ガイドの下方に配置され、前記トップシールを形成すべく前記厚み方向に開閉可能であり、且つ、前記トップシールの直上にて前記筒状包材を切断し、前記筒状包材に切断下端を形成するカッタを備えたトップ側横シーラと、
    前記トップ側横シーラの上方にて前記拡張ガイドの両側にそれぞれ配置され、前記筒状包材に対して前記厚み方向とは直交する幅方向に進退し、対応する前記筒状包材の側部をそれぞれガセット折りする一対のガセット折り板と、
    前記拡張ガイドと前記トップ側横シーラとの間に配置され、前記筒状包材の前記切断下端に前記ボトムシールを形成すべく、前記トップ側横シーラとは独立して前記厚み方向に開閉可能なボトム側横シーラと、
    前記筒状包材の対応する側の前記側部に対してそれぞれ接触可能に設けられ、前記ガセット折りに先立ち、前記トップシールの形成に起因して略三角形状をなす前記側部の凸縁に接触し、この凸縁を平坦面にする一対の平坦化部材と
    を具備したことを特徴とする縦形製袋充填包装機。
  2. 前記平坦化部材は、前記トップ側横シーラの前記カッタと前記ボトム側横シーラとの間に配置され、前記筒状包材の前記側部に対して前記幅方向に進退可能であることを特徴とする請求項1に記載の縦形製袋充填包装機。
  3. 前記ボトム側横シーラは、
    前記筒状包材の前記切断下端を閉じる水平シーラ部分と、
    製造される袋の底の角底に形成すべく、前記ガセット折りされた前記筒状包材の前記側部を斜めに閉じる傾斜シーラ部分と
    を有することを特徴とする請求項1又は2に記載の縦形製袋充填包装機。
  4. 前記ガセット折り板が直接に押し込まれる前記筒状包材の前記側部の部位にて、この部位での凸縁の周囲に接触して前記凸縁を平坦面にする一対の補助平坦化部材を更に備えることを特徴とする請求項1〜3の何れかに記載の縦形製袋充填包装機。
JP2008057690A 2008-03-07 2008-03-07 縦形製袋充填包装機 Active JP4927770B2 (ja)

Priority Applications (1)

Application Number Priority Date Filing Date Title
JP2008057690A JP4927770B2 (ja) 2008-03-07 2008-03-07 縦形製袋充填包装機

Applications Claiming Priority (1)

Application Number Priority Date Filing Date Title
JP2008057690A JP4927770B2 (ja) 2008-03-07 2008-03-07 縦形製袋充填包装機

Publications (2)

Publication Number Publication Date
JP2009214889A JP2009214889A (ja) 2009-09-24
JP4927770B2 true JP4927770B2 (ja) 2012-05-09

Family

ID=41187200

Family Applications (1)

Application Number Title Priority Date Filing Date
JP2008057690A Active JP4927770B2 (ja) 2008-03-07 2008-03-07 縦形製袋充填包装機

Country Status (1)

Country Link
JP (1) JP4927770B2 (ja)

Families Citing this family (3)

* Cited by examiner, † Cited by third party
Publication number Priority date Publication date Assignee Title
US9296171B2 (en) 2008-03-11 2016-03-29 Frito-Lay North America, Inc. Method for making a flat bottom pillow pouch
US8572932B2 (en) * 2008-03-11 2013-11-05 Frito-Lay North America, Inc. Method and apparatus for making a flat bottom pillow pouch
JP6553876B2 (ja) * 2015-01-23 2019-07-31 大森機械工業株式会社 エア吹き付け機構、トップシール装置、コーナーシール包装機およびトップシール方法

Family Cites Families (4)

* Cited by examiner, † Cited by third party
Publication number Priority date Publication date Assignee Title
JPS58136406U (ja) * 1982-03-10 1983-09-13 株式会社東京自働機械製作所 ガセツト包装装置
JP2673246B2 (ja) * 1987-08-10 1997-11-05 株式会社 川島製作所 製袋充填包装方法
JP4706198B2 (ja) * 2004-07-16 2011-06-22 パナソニック株式会社 空気浄化装置
JP4651459B2 (ja) * 2005-06-14 2011-03-16 株式会社東京自働機械製作所 縦形製袋充填包装機及び製袋充填包装方法

Also Published As

Publication number Publication date
JP2009214889A (ja) 2009-09-24

Similar Documents

Publication Publication Date Title
JP4499832B1 (ja) 製袋機
JPWO2004009341A1 (ja) 製袋機
JP2011020719A (ja) 製袋機
WO2016152925A1 (ja) 製袋機
JP2017530878A (ja) 底ガゼット包装及びヒートシール方法
JP5174426B2 (ja) ヒダ付き自立性包装袋、ヒダ付き自立性包装体、ヒダ付き自立性包装体用原反ロール及びヒダ付き自立性包装体の製造方法
RU2551981C1 (ru) Упаковка, упаковочная установка и способ изготовления упаковок
JP4927770B2 (ja) 縦形製袋充填包装機
US20180155084A1 (en) Flat Patch Bottom Self Opening Style Bag and Method of Manufacture
JP4057157B2 (ja) プラスチック袋の製造方法
JP2013116611A (ja) 底付き包装袋の製造方法
EP3307641B1 (en) Bag with zipper closure and side folds and method for making such a bag
JP6121039B1 (ja) 底ガゼット付き袋体の製造方法
JPWO2006106932A1 (ja) 自立型ピローパウチ包装器、製造方法及び製造装置
EP3380315A1 (en) Bottom gusset package with folded gusset
JP6512652B2 (ja) プラスチック袋、及び、プラスチック袋の製造方法
JP5627302B2 (ja) 製袋機
JP2010006412A (ja) 三角フラップ付き角底袋用縦形製袋充填包装機
JP4651459B2 (ja) 縦形製袋充填包装機及び製袋充填包装方法
JP4688949B2 (ja) 製袋機
JP2009214907A (ja) 包装袋及び縦形製袋充填包装機
JP6914621B2 (ja) 充填包装機および充填包装方法
US9272480B2 (en) Method of manufacturing a valve bag
JP2002284195A (ja) ジッパ付き袋及びジッパ付き袋の製袋方法
JP2006182424A (ja) 縦形製袋充填機

Legal Events

Date Code Title Description
A621 Written request for application examination

Free format text: JAPANESE INTERMEDIATE CODE: A621

Effective date: 20100329

A521 Request for written amendment filed

Free format text: JAPANESE INTERMEDIATE CODE: A523

Effective date: 20110319

A977 Report on retrieval

Free format text: JAPANESE INTERMEDIATE CODE: A971007

Effective date: 20120116

TRDD Decision of grant or rejection written
A01 Written decision to grant a patent or to grant a registration (utility model)

Free format text: JAPANESE INTERMEDIATE CODE: A01

Effective date: 20120118

A01 Written decision to grant a patent or to grant a registration (utility model)

Free format text: JAPANESE INTERMEDIATE CODE: A01

A61 First payment of annual fees (during grant procedure)

Free format text: JAPANESE INTERMEDIATE CODE: A61

Effective date: 20120209

FPAY Renewal fee payment (event date is renewal date of database)

Free format text: PAYMENT UNTIL: 20150217

Year of fee payment: 3

R150 Certificate of patent or registration of utility model

Ref document number: 4927770

Country of ref document: JP

Free format text: JAPANESE INTERMEDIATE CODE: R150

Free format text: JAPANESE INTERMEDIATE CODE: R150

R250 Receipt of annual fees

Free format text: JAPANESE INTERMEDIATE CODE: R250

R250 Receipt of annual fees

Free format text: JAPANESE INTERMEDIATE CODE: R250

R250 Receipt of annual fees

Free format text: JAPANESE INTERMEDIATE CODE: R250

R250 Receipt of annual fees

Free format text: JAPANESE INTERMEDIATE CODE: R250

R250 Receipt of annual fees

Free format text: JAPANESE INTERMEDIATE CODE: R250

R250 Receipt of annual fees

Free format text: JAPANESE INTERMEDIATE CODE: R250

R250 Receipt of annual fees

Free format text: JAPANESE INTERMEDIATE CODE: R250

R250 Receipt of annual fees

Free format text: JAPANESE INTERMEDIATE CODE: R250

R250 Receipt of annual fees

Free format text: JAPANESE INTERMEDIATE CODE: R250

R250 Receipt of annual fees

Free format text: JAPANESE INTERMEDIATE CODE: R250

R250 Receipt of annual fees

Free format text: JAPANESE INTERMEDIATE CODE: R250

R250 Receipt of annual fees

Free format text: JAPANESE INTERMEDIATE CODE: R250