JP4901318B2 - 電動送風機の防塵装置 - Google Patents

電動送風機の防塵装置 Download PDF

Info

Publication number
JP4901318B2
JP4901318B2 JP2006160541A JP2006160541A JP4901318B2 JP 4901318 B2 JP4901318 B2 JP 4901318B2 JP 2006160541 A JP2006160541 A JP 2006160541A JP 2006160541 A JP2006160541 A JP 2006160541A JP 4901318 B2 JP4901318 B2 JP 4901318B2
Authority
JP
Japan
Prior art keywords
base plate
cover
protrusion
electric blower
outer frame
Prior art date
Legal status (The legal status is an assumption and is not a legal conclusion. Google has not performed a legal analysis and makes no representation as to the accuracy of the status listed.)
Expired - Fee Related
Application number
JP2006160541A
Other languages
English (en)
Other versions
JP2007327450A (ja
Inventor
純 中田
Current Assignee (The listed assignees may be inaccurate. Google has not performed a legal analysis and makes no representation or warranty as to the accuracy of the list.)
Mitsubishi Electric Home Appliance Co Ltd
Mitsubishi Electric Corp
Original Assignee
Mitsubishi Electric Home Appliance Co Ltd
Mitsubishi Electric Corp
Priority date (The priority date is an assumption and is not a legal conclusion. Google has not performed a legal analysis and makes no representation as to the accuracy of the date listed.)
Filing date
Publication date
Application filed by Mitsubishi Electric Home Appliance Co Ltd, Mitsubishi Electric Corp filed Critical Mitsubishi Electric Home Appliance Co Ltd
Priority to JP2006160541A priority Critical patent/JP4901318B2/ja
Publication of JP2007327450A publication Critical patent/JP2007327450A/ja
Application granted granted Critical
Publication of JP4901318B2 publication Critical patent/JP4901318B2/ja
Expired - Fee Related legal-status Critical Current
Anticipated expiration legal-status Critical

Links

Images

Landscapes

  • Structures Of Non-Positive Displacement Pumps (AREA)

Description

この発明は、ブラシ保持器の防塵が可能な電動送風機の防塵装置に関するものである。
従来の電動送風機は、電動機と送風機とで構成され、電動機は回転子と固定子、そして、回転子に給電するためのカーボンブラシ、これを保持するスリーブ及び給電端子を備えたブラシ保持器と、外郭のフレームとから構成されている。送風機は、回転子の軸に取付けられたファンとこれを覆い吸入口を有するファンカバーとから構成されている。フレームは、回転子と固定子を覆い、ブラシ保持器が外側に取付けられ、外周には数箇所の角穴が設けられている。電動機を駆動すると送風機の吸入口から外部の空気を取り入れ、回転子と固定子およびカーボンブラシを冷却してフレームの角穴から排出される(例えば、特許文献1参照)。
特開平10−26099号公報(段落0008、0009、図1)
従来の電動送風機は、スリーブと給電端子の露出充電部の絶縁距離や沿面距離を許容寸法以上にとっていても、吸引された空気に含まれた塵埃や水分、また、電動機の運転中の摺動により、徐々に磨耗して生じたカーボンブラシの磨耗粉の異物が給電端子に付着すると電気的にその許容値を満足しなくなるという問題があった。
また、電動送風機からスリーブが突出しているので、電動送風機を製品に取付ける際に物にぶつけたりした衝撃で傷をつけたりする問題があった。
この発明は上述のような課題を解決するためになされたもので、塵埃、水分、カーボンブラシの磨耗粉等の異物がブラシ保持器の給電端子に付着するのを防ぐことができる防塵カバーを備えた電動送風機の防塵装置を得ることを目的とする。
この発明に係る電動送風機の防塵装置は、電動送風機の電動機の外郭フレームに設けられた排気口に隣接して装着され、前記電動機の整流子に給電するカーボンブラシ、このカーボンブラシを保持するスリーブ及びスリーブを保持する保持部材を有するブラシ保持器と、このブラシ保持器を覆う防塵カバーとを有し、前記保持部材は、前記外郭フレームの外周面に沿って装着されるベースプレートの周縁部の前記排気口側に設けられた断面V字形状の凸部と、他の周縁部分に設けられ、前記外郭フレームの外周面との間に嵌合溝を形成するベースプレート突起部と、前記ベースプレートに立設され、前記スリーブを保持する保持部とを備え、
前記防塵カバーは、前記外郭フレームの外周側面に沿った開口部を有する有底の箱体形状をなし、前記ブラシ保持器のベースプレートの断面V字形状の凸部に係合するV字形状の凹部を有する突出部と、前記保持部材の嵌合溝に嵌め込まれるカバー突起部とを備えたものである。
この発明によれば、電動送風機の電動機の外郭フレームに設けられた排気口に隣接して装着され、前記電動機の整流子に給電するカーボンブラシ、このブラシを保持するスリーブ及び前記スリーブを保持する保持部材を有するブラシ保持器と、このブラシ保持器を覆う防塵カバーと、を備えたので、塵埃、水分、カーボンブラシの磨耗粉等の異物がブラシ保持器の給電端子に付着するのを防ぐことができる。
実施の形態1.
図1は、この発明の実施の形態1を示す電動送風機の斜視図、図2は、電動送風機の要部断面側面図、図3は片方の防塵カバーを外した電動送風機の斜視図、図4は防塵カバー、ブラシ保持器を外した電動送風機の分解斜視図、図5は電動送風機を上部から見た外観略図、図6は、防塵カバーを外した電動送風機の上部から見た外観略図である。
図1〜6において、電動送風機1は、電動機2と送風機3とで構成され、電動機2は回転子4と固定子5と、回転子4の整流子6と、回転子4の軸7と、整流子6に給電するためのカーボンブラシ8、これを保持するスリーブ9及びスリーブを保持し給電端子10、11を有し、絶縁材により形成された保持部材12からなるブラシ保持器13と、電動機2の外郭のフレーム14とから構成されている。送風機3は、軸7に取付けられたファン15と、これを覆い吸入口16を有するファンカバー17とから構成されている。
フレーム14は、回転子4と固定子5を覆い、外周側面には軸7に対称に設けられた一対の長方形の排気口18と、一対の略正方形の角穴19と、ブラシ保持器13の取付穴20と、ブラシ保持器13の固定用ネジ穴21が設けられている。また、ブラシ保持器13の保持部材12には給電端子10にはリード線22、23が接続され、給電端子11にはリード線24が接続され、フレーム14への固定用のネジ(図示せず)を通す取付穴27が設けられている。そして、ブラシ保持器13は、防塵カバー25で覆われている。
次に、ブラシ保持器13と防塵カバー25について図3、6〜14により説明する。
図7はブラシ保持器13の保持部材12の斜視図、図8は図7のA−A断面図、図9は図7のB−B断面図、図10は防塵カバー25の斜視図、図11は図10のA−A断面図、図12は図10のB−B断面図、図13は防塵カバー取付け後の正面図、図14は防塵カバー25を取外したときの正面図である。
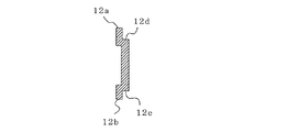
図7〜9において、ブラシ保持器13の保持部材12は、電動機2のフレーム14の外周側面に内面が沿うように湾曲し、平面視が長方形のベースプレート12hと、ベースプレート12hに貫通するように立設され、スリーブ9が挿入され固定される角筒状の保持部26とが設けられている。ベースプレート12hの一対の長辺側と一対の短辺側の一方には内側面側端部に対して外側面側が段差12d、12e、12fを有して、外側面に沿って突設されたベースプレート突起部12a、12b、12cが設けられ、他方の短辺の内側端部には、端部外側面12kと端部内側面の凸面部12gからなる略V字形状の凸部12iが設けられている。
図10〜12において、防塵カバー25は、電動機2のフレーム14の外周側面に沿うように湾曲した平面視長方形の開口部25qと開口部25qと同一湾曲面の底壁外側面25sと底壁外側面25sに凸部25jを備え、この凸部25jは、ブラシ保持器13に装着されたとき、ファンカバー17の外側面から出ない大きさとしている。
また、開口部25qの一対の長辺側と一対の短辺側の一方には内側に沿って突設されたカバー突起部25a、25b、25cが設けられ、他方の短辺の端部には、ブラシ保持器13の保持部材12のV字形状の凸部12iと係合し、面25eと25iからなる断面略V字形状の凹部25gを有し、短辺に沿った方向の長さL2がフレーム14の排気口18の短辺寸法L1とほぼ等しい突出部25dが設けられている。なお、防塵カバー25の材質は、例えば、難燃性のシリコンゴムが用いられる。
また、突出部25dが設けられた短辺と反対側には、ブラシ保持器13の保持部材12に防塵カバー25を装着したときに、保持部材12の外側面が当接する当て部25hが設けられている。
次に、ブラシ保持器13と防塵カバー25の装着について図3、4、図7〜15により説明する。図15は防塵カバー25の取付け時の斜視図である。まず、図4に示すようにブラシ保持器13の保持部材12の保持部26の内側の保持部26aを電動機2のフレーム14に設けられた取付穴20に挿入し、保持部材12の取付穴27からネジを通しフレーム14の固定用ネジ穴21にネジ止めする。
このとき、図3に示すようにフレーム14の側面14aと保持部材12のベースプレート12hの一対の長辺側と一対の短辺側の一方に設けられたベースプレート突起部12a、12b、12cとで嵌合溝28が形成される。また、保持部材12によってフレーム14の排気口18の約1/3が塞がれるが、約2/3は開口されている。
次に、防塵カバー25の装着は、図15に示すように、電動送風機1のフレーム14に設けられた排気口18に防塵カバー25の片側に設けられた突出部25dを挿入し、突出部25dをフレーム14の排気口18の短辺を支点として、突出部25dの凹部25gをブラシ保持器13の保持部材12の凸部12iと係合させる。そして、防塵カバー25の開口部25qの一対の長辺側と突出部25dが設けられていない短辺側に設けられたカバー突起部25a、25b、25cを、フレーム14の側面14aと保持部材12のベースプレート12hの一対の長辺側に設けられたベースプレート突起部12a、12b、12cとで形成された嵌合溝28に嵌め込み、ブラシ保持器13を覆う。
このとき、シリコンゴムの突出部25dの短辺に沿った方向の寸法L2がフレーム14の排気口18の短辺寸法L1とほぼ等しい(L2でL1≒L2)ので防塵カバー25の突出部25dは排気口18に嵌合される。さらに、突出部25dの凹部25gがブラシ保持器13の保持部材12の凸部12iにしっかり係合し、次に 防塵カバー25の開口部25qのカバー突起部25a、25b、25cを、嵌合溝28に嵌め込むのが容易である。
また、防塵カバー25はシリコンゴムで柔らかく弾力性があり装着がし易く、突出部25dの凹部25gがブラシ保持器13の保持部材12の凸部12iにしっかり係合し、 防塵カバー25の開口部25qのカバー突起部25a、25b、25cが嵌合溝28に確実に嵌合され密封性がよい。
また、防塵カバー25にシリコンゴムを用いたので、電気的にも耐熱性、絶縁性、難燃性などの面で条件を十分に満足させることができる。さらにこのゴムは、弾力性を持っているため、取付け、取外し作業が容易である。
以上のように、電動送風機の電動機の外郭フレームに設けられた排気口に隣接して装着され、前記電動機の整流子に給電するカーボンブラシ、このブラシを保持するスリーブ及び前記スリーブを保持する保持部材を有するブラシ保持器と、このブラシ保持器を覆う防塵カバーと、を備えたので、塵埃、水分、カーボンブラシの磨耗粉等の異物がブラシ保持器の給電端子に付着するのを防ぐことができる。
また、ブラシ保持器13の保持部材12は、フレーム14の外周面に沿って装着されるベースプレート12hと、このベースプレート12hの周縁部の排気口18側に設けられた断面V字形状の凸部12iと、このV字形状の凸部12iの他の周縁部分に設けられ、内側面側に対して外側面側が段差12d、12e、12fを有して突設され、フレーム
に保持部材12が装着されたときに、フレーム14の外周面との間に嵌合溝を形成するベースプレート突起部12a、12b、12cと、ベースプレートに立設され、スリーブ9を保持する保持部26と、を備え、防塵カバー25は、フレーム14の外周側面に沿った開口部25qを有する有底の箱体形状をなし、ブラシ保持器13のベースプレート12hの断面V字形状の凸部12iに対応して開口部25q側に突出して設けられ、先端部が排気口18に挿入されるとともに、V字状の凸部12iと係合するV字形状の凹部25gを有する突出部25dと、保持部材12のベースプレート12hのベースプレート突起部12a、12b、12cとフレーム14の外周面とで形成された嵌合溝28に対応する部分の開口部25qの内側に突設され、嵌合溝28に嵌め込まれるカバー突起部25a、25b、25cと、を備えたので、防塵カバー25は、ブラシ保持器13を覆って密閉でき、ブラシ保持器13の給電端子10、11に、吸引された塵埃、水分、カーボンブラシ8の磨耗粉等の異物が付着するのを防ぐことができ、また、スリーブ9を衝撃等から保護でき、防塵カバー25の着脱脱を容易にすることができる。
また、突出部25dの電動機2の軸方向の寸法L2は、排気口18の軸方向の寸法L1とほぼ等しくしたので、防塵カバー25の突出部25dは排気口18に嵌合されるとともに、防塵カバー25の装着時に、フレーム14の排気口18に突出部25dを挿入したとき、防塵カバー25の開口部25qのカバー突起部25a、25b、25cが、フレーム14の側面14aと保持部材12の ベースプレート12hに設けられたベースプレート突起部12a、12b、12cとで形成された嵌合溝28の位置決めになり、容易に嵌め込むことができる。
また、防塵カバー25のみの着脱が容易にでき、カーボンブラシ8の交換作業も容易にすることができる。
また、電動送風機1を製品に取付け際に衝撃があった際にも電動送風機1のブラシ保持器13から突出したスリーブ9を防塵カバー25で保護することができる。
なお、本実施の形態では、ブラシ保持器13の保持部材12のベースプレート12hは平面視長方形としたが、楕円径、円形、または多角形でもよい。
実施の形態2.
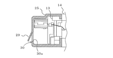
実施の形態1では、電動機2を駆動すると送風機3の吸入口16から外部の空気を取り入れ、回転子4と固定子5およびカーボンブラシ8を冷却してフレームの排気口18、19等からから排出されるが、ブラシ保持器13が防塵カバー25で密封されており、ブラシ保持器13と防塵カバー25の間の空間の空気の温度が、カーボンブラシ8の温度の上昇により上昇し、空気圧も上昇し、カーボンブラシ8に影響が生じたり、防塵カバー25が外れることが考えられる。本実施の形態はこの影響を防ぐものである。
図16は、この発明の実施の形態2を示す電動送風機のブラシ保持器の側面図と防塵カバーの断面図、図17は図16の動作説明図である。
図16は、実施の形態1の防塵カバーに温度調整用の窓29と窓枠部30を設けたもので、他は同じ構造なので説明を省略する。
窓29は、防塵カバー25と一体成形、または、成形後一部加工したもので、例えば、4角形状とし、一辺が防塵カバー25に繋がっており、他の三辺が、開閉可能に防塵カバー25と分離されており、窓枠部30は、防塵カバー25と分離された窓29の三辺、または、一辺の内側端部を支持する突起30aを備えており、窓29は防塵カバー25の外方向のみに開閉するようにしている。なお、防塵カバー25内の温度が上昇し、内部の空気圧力が高まると窓29が開くように、窓29の厚さと、窓枠部30との嵌合状態をあらかじめ定めておく。
この構成において、通常は弾力により、窓29は閉じているが、カーボンブラシ8の温度の上昇により防塵カバー25内の温度が上昇し、内部の空気圧力が高まると窓29が開き、内部の温度の上昇した空気を逃がし、温度と圧力の上昇を防止する。
以上のように、防塵カバーに、防塵カバー内の空気の温度が上昇したときに開いて内部の空気を排出する開閉窓を設けたので、防塵カバー25内の温度と圧力の上昇を防ぎ、カーボンブラシ8に影響が生じたり、防塵カバー25が外れるのを防ぐことができる。
この発明の実施1の形態に係る電動送風機の防塵装置の斜視図である。 この発明の実施1の形態に係る電動送風機の防塵装置の要部断面側面図である。 この発明の実施1の形態に係る電動送風機の防塵装置の片方の防塵カバーを外したときの斜視図である。 この発明の実施1の形態に係る電動送風機の防塵装置の防塵カバー、ブラシ保持器を外した電動送風機の分解斜視図である。 この発明の実施1の形態に係る電動送風機の防塵装置の上部から見た外観略図である。 この発明の実施1の形態に係る電動送風機の防塵装置の防塵カバーを外し上部から見た外観略図である。 この発明の実施1の形態に係る電動送風機の防塵装置のブラシ保持器の保持部の斜視図である。 図7のA−A断面図である。 図7のB−B断面図である。 この発明の実施1の形態に係る電動送風機の防塵装置の防塵カバーの斜視図である。 図10のA−A断面図である。 図10のB−B断面図である。 この発明の実施1の形態に係る電動送風機の防塵装置の防塵カバー取付け後の正面図である。 この発明の実施1の形態に係る電動送風機の防塵装置の防塵カバーを取外したときの正面図である。 この発明の実施1の形態に係る電動送風機の防塵装置の防塵カバーの取付け時の斜視図である。 この発明の実施2の形態に係る電動送風機の防塵装置のブラシ保持器の側面図と防塵カバーの断面図である。 この発明の実施2の形態に係る電動送風機の防塵装置の動作説明図である。
符号の説明
1 電動送風機、2 電動機、3 送風機、6 整流子、8 カーボンブラシ、9 スリーブ、12 保持部材、12a、12b、12c ベースプレート突起部、12d、12e、12f 段差、12h ベースプレート、12i 凸部、13 ブラシ保持器、14 フレーム、18 排気口、25 防塵カバー、25a、25b、25c カバー突起部、25d 突出部、25g 凹部、25q 開口部、26 保持部、28 嵌合溝、29 窓、30 窓枠部。

Claims (4)

  1. 電動送風機の電動機の外郭フレームに設けられた排気口に隣接して装着され、前記電動機の整流子に給電するカーボンブラシ、このカーボンブラシを保持するスリーブ及びスリーブを保持する保持部材を有するブラシ保持器と、このブラシ保持器を覆う防塵カバーとを有し、
    前記保持部材は、前記外郭フレームの外周面に沿って装着されるベースプレートの周縁部の前記排気口側に設けられた断面V字形状の凸部と、他の周縁部分に設けられ、前記外郭フレームの外周面との間に嵌合溝を形成するベースプレート突起部と、前記ベースプレートに立設され、前記スリーブを保持する保持部とを備え、
    前記防塵カバーは、前記外郭フレームの外周側面に沿った開口部を有する有底の箱体形状をなし、前記ブラシ保持器のベースプレートの断面V字形状の凸部に係合するV字形状の凹部を有する突出部と、前記保持部材の嵌合溝に嵌め込まれるカバー突起部とを備えたことを特徴とする電動送風機の防塵装置。
  2. 電動送風機の電動機の外郭フレームに設けられた排気口に隣接して装着され、前記電動機の整流子に給電するカーボンブラシ、このカーボンブラシを保持するスリーブ及び該スリーブを保持する保持部材を有するブラシ保持器と、このブラシ保持器を覆う防塵カバーとを有し、
    前記保持部材は、前記外郭フレームの外周面に沿って装着されるベースプレートと、このベースプレートの周縁部の前記排気口側に設けられた断面V字形状の凸部と、このV字形状の凸部の他の周縁部分に設けられ、内側面側に対して外側面側が段差を有して突設され、前記外郭フレームに前記保持部材が装着されたときに、前記外郭フレームの外周面との間に嵌合溝を形成するベースプレート突起部と、前記ベースプレートに立設され、前記スリーブを保持する保持部とを備え、
    前記防塵カバーは、前記外郭フレームの外周側面に沿った開口部を有する有底の箱体形状をなし、前記ブラシ保持器のベースプレートの断面V字形状の凸部に対応して前記開口部側に突出して設けられ、先端部が前記排気口に挿入されるとともに、前記V字状の凸部と係合するV字形状の凹部を有する突出部と、前記保持部材のベースプレートのベースプレート突起部と前記外郭フレームの外周面とで形成された嵌合溝に対応する部分の開口部の内側に突設され、前記嵌合溝に嵌め込まれるカバー突起部とを備え、
    前記防塵カバーを装着するときは、前記突出部を前記外郭フレームの排気口に挿入し、前記V字形状の凹部を前記ベースプレートのV字形状の凸部に係合させ、前記開口部のカバー突起部を前記嵌合溝に嵌め込んで、前記ブラシ保持器を覆うことを特徴とする電動送風機の防塵装置。
  3. 前記突出部の前記電動機の軸方向の寸法、前記排気口の前記軸方向の寸法とほぼ等しくしたことを特徴とする請求項2記載の電動送風機の防塵装置。
  4. 前記防塵カバーに、防塵カバー内の空気の温度が上昇したときに開いて内部の空気を排出する開閉窓を設けたことを特徴とする請求項1〜3のいずれかに記載の電動送風機の防塵装置。
JP2006160541A 2006-06-09 2006-06-09 電動送風機の防塵装置 Expired - Fee Related JP4901318B2 (ja)

Priority Applications (1)

Application Number Priority Date Filing Date Title
JP2006160541A JP4901318B2 (ja) 2006-06-09 2006-06-09 電動送風機の防塵装置

Applications Claiming Priority (1)

Application Number Priority Date Filing Date Title
JP2006160541A JP4901318B2 (ja) 2006-06-09 2006-06-09 電動送風機の防塵装置

Publications (2)

Publication Number Publication Date
JP2007327450A JP2007327450A (ja) 2007-12-20
JP4901318B2 true JP4901318B2 (ja) 2012-03-21

Family

ID=38928064

Family Applications (1)

Application Number Title Priority Date Filing Date
JP2006160541A Expired - Fee Related JP4901318B2 (ja) 2006-06-09 2006-06-09 電動送風機の防塵装置

Country Status (1)

Country Link
JP (1) JP4901318B2 (ja)

Families Citing this family (1)

* Cited by examiner, † Cited by third party
Publication number Priority date Publication date Assignee Title
CN112953090B (zh) * 2021-02-05 2023-02-17 河钢股份有限公司承德分公司 一种交流调速同步电机的碳刷防护外壳

Family Cites Families (2)

* Cited by examiner, † Cited by third party
Publication number Priority date Publication date Assignee Title
JPS60166798A (ja) * 1984-02-10 1985-08-30 Matsushita Electric Ind Co Ltd 電動送風機
JP3597041B2 (ja) * 1998-04-10 2004-12-02 東芝テック株式会社 電動送風機及び電気掃除機

Also Published As

Publication number Publication date
JP2007327450A (ja) 2007-12-20

Similar Documents

Publication Publication Date Title
JP4265571B2 (ja) 車両用交流発電機
CN102416616A (zh) 充电式电动工具
US7397223B2 (en) Inverter-integrated electrical rotating machine
CN105990976B (zh) 外转子马达
US20110220381A1 (en) Electrical appliance, in particular hand-held power tool
US7586227B2 (en) Electric motor for electric fan and assembly method therefor
KR102030089B1 (ko) 접지 보호용 몰드 커버를 갖는 bldc 모터
KR20140000341A (ko) 차량용 퓨즈 유닛
CN111712997A (zh) 具有改进接地结构的无刷直流电机
JP4901318B2 (ja) 電動送風機の防塵装置
KR20040078158A (ko) 전기 모터
JP6917577B2 (ja) 電動工具
JP6985822B2 (ja) 電気装置
US20040063345A1 (en) Connection assembly for the electrical connection of an electric motor
JP2014042375A (ja) 電動送風機
JP4675651B2 (ja) 換気扇
US20180019637A1 (en) Motor with an Improved Damp Proof or Dustproof Effect
JP2010057355A (ja) モールドモータ
ITPD20010272A1 (it) Struttura di accoppiamento motore elettrico / scatola di connessione
EP1630934B1 (en) Brush holder assembly of alternator for vehicle
JP7700010B2 (ja) 電動工具
GB2417457A (en) Electric tool with internal component fastening element
KR101413579B1 (ko) 팬모터 어셈블리
US9866078B2 (en) Brush assembly mount
JP7217430B2 (ja) コンセント装置、及びそれに用いるカバーモジュール

Legal Events

Date Code Title Description
A621 Written request for application examination

Free format text: JAPANESE INTERMEDIATE CODE: A621

Effective date: 20080702

A977 Report on retrieval

Free format text: JAPANESE INTERMEDIATE CODE: A971007

Effective date: 20110324

A131 Notification of reasons for refusal

Free format text: JAPANESE INTERMEDIATE CODE: A131

Effective date: 20110405

A521 Request for written amendment filed

Free format text: JAPANESE INTERMEDIATE CODE: A523

Effective date: 20110601

TRDD Decision of grant or rejection written
A01 Written decision to grant a patent or to grant a registration (utility model)

Free format text: JAPANESE INTERMEDIATE CODE: A01

Effective date: 20111220

A01 Written decision to grant a patent or to grant a registration (utility model)

Free format text: JAPANESE INTERMEDIATE CODE: A01

A61 First payment of annual fees (during grant procedure)

Free format text: JAPANESE INTERMEDIATE CODE: A61

Effective date: 20111227

R150 Certificate of patent or registration of utility model

Ref document number: 4901318

Country of ref document: JP

Free format text: JAPANESE INTERMEDIATE CODE: R150

Free format text: JAPANESE INTERMEDIATE CODE: R150

FPAY Renewal fee payment (event date is renewal date of database)

Free format text: PAYMENT UNTIL: 20150113

Year of fee payment: 3

R250 Receipt of annual fees

Free format text: JAPANESE INTERMEDIATE CODE: R250

R250 Receipt of annual fees

Free format text: JAPANESE INTERMEDIATE CODE: R250

R250 Receipt of annual fees

Free format text: JAPANESE INTERMEDIATE CODE: R250

R250 Receipt of annual fees

Free format text: JAPANESE INTERMEDIATE CODE: R250

R250 Receipt of annual fees

Free format text: JAPANESE INTERMEDIATE CODE: R250

R250 Receipt of annual fees

Free format text: JAPANESE INTERMEDIATE CODE: R250

R250 Receipt of annual fees

Free format text: JAPANESE INTERMEDIATE CODE: R250

R250 Receipt of annual fees

Free format text: JAPANESE INTERMEDIATE CODE: R250

LAPS Cancellation because of no payment of annual fees