JP4887116B2 - 表示板 - Google Patents

表示板 Download PDF

Info

Publication number
JP4887116B2
JP4887116B2 JP2006295188A JP2006295188A JP4887116B2 JP 4887116 B2 JP4887116 B2 JP 4887116B2 JP 2006295188 A JP2006295188 A JP 2006295188A JP 2006295188 A JP2006295188 A JP 2006295188A JP 4887116 B2 JP4887116 B2 JP 4887116B2
Authority
JP
Japan
Prior art keywords
transmissive
pattern
transmissive portion
polarizing plate
reflective polarizing
Prior art date
Legal status (The legal status is an assumption and is not a legal conclusion. Google has not performed a legal analysis and makes no representation as to the accuracy of the status listed.)
Active
Application number
JP2006295188A
Other languages
English (en)
Other versions
JP2008111732A (ja
Inventor
照幸 小俣
弘一 高野
正明 渡辺
信夫 伊東
山口  克行
酒巻  真一
Current Assignee (The listed assignees may be inaccurate. Google has not performed a legal analysis and makes no representation or warranty as to the accuracy of the list.)
Citizen Holdings Co Ltd
Citizen Watch Co Ltd
Original Assignee
Citizen Holdings Co Ltd
Citizen Watch Co Ltd
Priority date (The priority date is an assumption and is not a legal conclusion. Google has not performed a legal analysis and makes no representation as to the accuracy of the date listed.)
Filing date
Publication date
Application filed by Citizen Holdings Co Ltd, Citizen Watch Co Ltd filed Critical Citizen Holdings Co Ltd
Priority to JP2006295188A priority Critical patent/JP4887116B2/ja
Publication of JP2008111732A publication Critical patent/JP2008111732A/ja
Application granted granted Critical
Publication of JP4887116B2 publication Critical patent/JP4887116B2/ja
Active legal-status Critical Current
Anticipated expiration legal-status Critical

Links

Images

Landscapes

  • Electric Clocks (AREA)

Description

本発明は、表示板に関し、特に、ソーラーセルやエレクトロルミネッセンスなどを備えて用いられる表示板に関する。また、その表示板を用いた時計に関する。
従来、ソーラーセルを組み込んだ時計の表示板には光の透過性を必要とすることから多くはプラスチック材料が用いられてきた。プラスチックは加工も容易で種々の装飾を施すこともでき、しかも、コストが安くできると云うメリットがある。しかしながら、プラスチックの表示板は金属感が現れないと云う欠点がある。
金属感を出現させるために、従来から様々な工夫が行われてきている。下記の特許文献1に記載された技術もその一つで、以下図をもって従来技術を説明する。
特開2002−286866号公報
図11は上記特許文献1に記載された文字板の要部拡大断面図である。特許文献1によれば、文字板の下面1aには模様状に形成された凹凸部を有し、凹部1cは鏡面に仕上げられていてこの凹部1cに反射膜2を設けている。凸部1dは透過部になっていてこの凸部1dからソーラーセルに光を入射させる構成をなしている。また、反射膜2は金属蒸着膜などで構成するものである。
このような構成を取ることによって、金属光沢面が得られ、光沢有る金属色調の現れた文字板が得られたとされている。また、金属光沢が現れることによって透過部である凸部1dの幅tは120μmまで広げても透過部は視認できないとされている。
しかしながら、特許文献1に記載の文字板は、金属光沢が強く現れるために落着感に欠け、高級感にも欠けると云う問題を有する。
本発明は、上記の課題に鑑みてなされたもので、ソーラーセルの濃紫色が視認されないようにし、表示板に形成された模様の視認性と高級感の向上を図ると共に、デザインバリエーションの拡大が図れる表示板、及びそれを用いた時計を得ることを目的とするものである。
本発明は上記課題を解決するために成されたもので、解決する手段として、本発明の請求項1に記載の表示板の特徴は、少なくとも1つの透過部と非透過部を設けた透過性基板、あるいは、少なくとも1つの透過部と半透過部と非透過部を設けた透過性基板、あるいは、少なくとも1つの透過部と半透過部を設けた透過性基板の下面側に少なくとも一方の表面に凹凸状の模様を設けた反射型偏光板を有し、前記透過性基板と前記反射型偏光板の間に空気層を設けたことを特徴とするものである。
また、本発明の請求項2に記載の表示板の特徴は、前記透過部は表示板の有効表示領域において均等な間隔を有して分布していることを特徴とするものである。
また、本発明の請求項3に記載の表示板の特徴は、前記透過部と非透過部、あるいは、透過部と半透過部と非透過部、あるいは、透過部と半透過部は前記透過性基板の上面又は下面に設けられていることを特徴とするものである。
また、本発明の請求項4に記載の表示板の特徴は、前記非透過部と半透過部には少なくとも金属膜又は塗料膜のいずれかが設けられていることを特徴とするものである。
本発明によれば、以下の発明効果が得られる。本発明の表示板は、少なくとも1つの透過部と非透過部を設けた透過性基板、あるいは、少なくとも1つの透過部と半透過部と非透過部を設けた透過性基板、あるいは、少なくとも1つの透過部と半透過部を設けた透過性基板と、該透過性基板の下面側に少なくとも1つの反射型偏光板を有する。反射型偏光板は約50%の透過率、約50%の反射率を有するもので、透過性基板の透過部を透過した光は、その内の約50%が反射型偏光板を透過して表示板の下面側に配設されるソーラーセルに入射する。残りの約50%の光は反射型偏光板から反射される。また、ソーラーセルからの反射光は約50%が反射型偏光板を透過し、約50%が反射型偏光板から反射される。反射型偏光板を透過した約50%のソーラーセルの反射光は透過性基板に入射するが、例えば、透過性基板を透過部と非透過部で構成した場合は、その入射した光の内で透過性基板から出射する光は透過部を透過する光のみで、透過部の面積によって透過性基板から出射する光量は制限される。透過部の総面積が有効表示領域において50%であるとすると、透過性基板から出射するソーラーセルの反射光量は約25%と非常に少なくなる。ソーラーセルの反射光は独特の濃紫色を持つが、透過性基板から出射するソーラーセルの反射光量が少なくなることによって濃紫色が和らげられる。
また、透過性基板を透過部と半透過部と非透過部で構成しても、あるいは、透過部と半透過部で構成しても、その透過性基板の透過率を管理することにより透過性基板から出射するソーラーセルの反射光量は少なくなり、濃紫色は和らげられる。
また、表示板に半透過部を設けることにより、透過部、非透過部、半透過部との色彩の違いや模様の違いなど、あるいは、非透過部と半透過部に段差を付けたりすると立体感などが現れてきて装飾性を高め効果、装飾バリエーションを増やす効果などが得られる。
また、反射型偏光板は約50%の光を反射することから、この反射光により表示板が明るくなる。
更に、反射型偏光板に凹凸状の模様を設けることによって、反射型偏光板を透過したソーラーセルの反射光は凹凸によって分散・拡散を起こす。また、凹凸によって反射型偏光板から直接反射される外光も拡散するので白色光に変わる。これにより、表示板が更に明るくなる効果を得る。また一方においては、ソーラーセルからの濃紫色を呈する反射光は拡散されて濃紫色は消し去られてしまい、視認されなくなる。
一方、透過性基板の非透過部や半透過部を金属膜で形成すれば金属色が現れ、塗料膜で形成すれば塗料膜の色調が現れる。そして、非透過部や半透過部に凹凸状の模様を設ければ、そこから反射される反射光は拡散を起こして艶消しされ、艶消しされた落着感のする金属色や塗料色が得られる。と同時に、例えば、非透過部や半透過部を白色系金属膜で形成した場合には反射型偏光板からの反射光で透過部が照射され、より明るい白色模様及び金属模様が見えるようになる。
また、非透過部や半透過部の凹凸状の模様や反射型偏光板の凹凸状の模様はサークル模様、渦巻模様、ストライプ模様、放射目模様、梨地模様、格子模様、幾何学模様などで形成する。これらの模様は落着感を感じさせる模様であり、また、加工方法が容易である。表示板に適用するに好適な模様と云える。
また、透過性基板の透過部は有効表示領域において均等な間隔で分布する。これにより、ソーラーセルの発電効率を高める効果を生む。また、エレクトロルミネッセンスからの照明される明るさを均一にする効果を生む。
また、透過性基板に金属膜、塗料膜、インキ膜、貝、貴石などの石類、和紙などの紙類、ホログラムなどの少なくとも1種から形成した装飾を設けることによって装飾性を高めることができる。表示板に金属感が現れて、更にその上に様々な装飾が施されると装飾性の高い表示板が得られる。
このような表示板をソーラーセル用の表示板に用いると、ソーラーセルの濃紫色は殆ど視認されなくなり、表示板全体に艶消しされた金属色などが現れるので、落ち着きのある高級感を感じさせる時計が得られるようになる。また、透過性基板に設けた装飾によって装飾性も高められ、装飾バリエーションを増やすことができる。
同様に、エレクトロルミネッセンス用の表示板に用いると、透過性基板の透過部は一見した状態では殆ど目立つことなく、表示板全体に艶消しされた金属色などが現れるので、エレクトロルミネッセンスの非点灯時にはエレクトロルミネッセンスの存在が殆ど視認することが出来ない。また、エレクトロルミネッセンス点灯時には均一な照明からの明るさの基で落ち着きのある表示板を照明する。
以下、本発明を実施するための最良の形態(以降、実施形態と云う)を図1〜図3を用いて説明する。尚、図1は本発明の実施形態に係る表示板の平面図と要部断面図で、図1の(a)は平面図、図1の(b)は要部断面図を示している。また、図2は図1における透過性基板の下面側から見た部分拡大斜視図、図3は図1における反射型偏光板の作用を説明する説明図を示している。
本実施形態で説明する表示板はソーラーセル上に配設する時計用の表示板であるが、構成的には時計用の表示板に拘わらず、ソーラーセルやバックライト上に配設して用いる時計以外の表示板でも共通して適用できるものである。本実施形態の表示板10は、図1に示すように、外周が丸く、中心部に中心穴10aが設けられている。この中心穴10aは時計の時針、分針などの指針の取付穴になっている。外周から少し内側に入った円形の2点鎖線の円Aは有効表示領域を示している。また、これはソーラーセルと重なり合っている円でもある。この円の内側が視認側から表示が視認される領域で、且つ、発電機能が働く領域にもなっている。
表示板10は透過性基板11と反射型偏光板15を積層して外周領域部を接着剤18でもって貼付けて一体にしたものから構成している。そして、透過性基板11と反射型偏光板15との間に僅かな隙間(空気層)を設けている。尚、本実施形態の表示板10は接着剤18を介して接着固定しているが、図示はしていないが時計の中枠などの固定部材で透過性基板11と反射型偏光板15とを重ね合わせて双方動かないようにした構成を取っても良いものである。この表示板10は一点鎖線で示したソーラーセル9の上部に配置して用いられる。
透過性基板11は、透明なプラスチックからなっており、上面11bは平滑面をなしている。また、下面11cには凹部と凸部からなる凹凸部11dを設けている。この凹凸部11dの中で、凸部は透過部12を形成しており、凹部は金属膜が凹部の表面に設けられて、金属膜による非透過部13を形成している。この透過部12と非透過部13は、図2に示すように、格子状の模様をなしており、透過部12は同一間隔を持って複数設けられている。
透過部12は外から光を採光してソーラーセル9に光を供給するために設けている。従って、所要の透過率が得られる面積を持って形成しており、本実施形態においては、開口率(有効表示領域の面積に対して透過部12の総面積を云う)は40〜50%の範囲内で設けている。また、透過部12の大きさは、特に厳しく制限するものではなく、目に視認される大きさであっても何ら構わないものである。この透過部12は有効表示領域において均等な間隔をなした格子模様状に設けおり、均等な間隔に設けることで発電効率を高める効果を得る。尚、この透過部12は格子模様状の他にサークル模様状、ストライプ模様状、放射目模様状などの筋目状の模様をなした模様状に設けても構わない。また、この透過部12は丸形状や三角形状、幾何学的な形状などで形成しても構わない。
また、図示はしていないが、凹部の表面には微小な凹凸状の模様を設けてある。この凹凸の表面上に金属膜を設けて非透過部13を形成している。従って、この非透過部13から反射される反射光は拡散した反射光が現れ、艶消しされた金属色調を現れる。微小な凹凸状の模様としては梨地模様や筋目状に設けたサークル模様、渦巻模様、ストライプ模様、放射目模様などが好適で、本実施形態においては、梨地模様を設けている。この梨地模様はサンドブラスト法やホーニング法などによって形成することができ、用いる砂粒子やガラス粒子の大きさによって梨地目の粗さなどを適宜に設定することができる。梨地目の粗さが大きい(粗い)と光の拡散度合いが著しくなり金属色調は非常に薄くなってくる。一方、梨地目の粗さが小さい(細かい)と拡散度合いは少なくなり金属色調が現れるようになる。梨地目の粗さは外観仕様などに応じて適宜に設定すると良い。尚、筋目状の模様を設けても同様なことが云え、筋目の粗さ、細かさによって金属色調の出現の仕方が異なってくる。
非透過部13の金属膜は、本実施形態においては、白色系の金属色調を現出させる目的でAl金属を光が殆ど透過しない1000〜1500Åの厚みで形成している。真空蒸着法やスパッタリング法、イオンプレーティング法などによって形成することができる。また、金属膜はAl金属に限るものではなく、例えば、白色系の色調を出す場合には他にAg、Rh、Cr、Pt、Pdなどの金属を用いることができる。また、金色系の色調を出す場合にはAuの他にCuなどの金属を用いることができる。これらの金属は求められる仕様に応じて選択すると良い。また、非透過部13は金属膜に限るものではなく、塗料膜で形成しても構わない。
透過性基板11の下面11cの全面に金属膜を設けた後に、透過部12の部分を研削加工にて金属膜を除去することによって透過部12と非透過部13が設けられた透過性基板11が得られる。
この透過性基板11の材料としてプラスチック、ガラス、セラミックなどが選択できるが、コスト面や加工面から見るとプラスチックが好適で、特に、耐熱性、耐湿性、耐衝撃性、耐薬品性、耐光性などに優れた樹脂が好ましく、このような樹脂としてはポリカーボネイト樹脂、ポリイミド樹脂、ポリエチレン樹脂、ポリプロピレン樹脂、ポリアセタール樹脂、ポリスチレン樹脂、ポリエチレンテレフタレート樹脂、アクリル樹脂などの樹脂を挙げることができる。本実施形態においては、ポリカーボネイト樹脂を用いて0.3〜0.5mmの厚みに射出成形方法で形成している。また、下面11cの凹凸部11dと凹部の梨地模様は金型からの転写方法によって形成している。
次に、反射型偏光板15は、図3に示すように、反射軸Nと反射軸Nに直交して透過容易軸Mを持つ偏光板で、反射軸Nに平行な振動面を持つ直線偏光成分は反射し、透過容易軸Mに平行な振動面を持つ直線偏光成分は透過する特性を持っている。約50%の光を透過し、約50%の光を反射する。本実施形態では、住友3M社製の商品名DBEF−E、厚み160μmのものを用いている。この反射型偏光板15は厚み160〜400μm程度のものが各種市販されており、必要に応じて選択可能である。この反射型偏光板15はソーラーセル9からの反射光の表示板10への透過率を下げるために設けている。表示板10から出射するソーラーセル9からの反射光量を下げて、ソーラーセル9の濃紫色を和らげる効果を生む。尚、本実施形態で用いた住友3M社製の商品名DBEFは反射光にシルバーの色調が得られるものとゴールドの色調が得られるものがある。
更に、反射型偏光板15の上面15b(透過性基板11と対面している面)には微小な凹凸状の模様を設けている。この微小な凹凸状の模様はソーラーセル9からの反射光で、反射型偏光板15を透過する光を拡散してソーラーセル9の濃紫色を消し去るために設けている。凹凸状の模様を設けると光が拡散して出射するので反射型偏光板15に白色色調が現れてくるようになる。反射型偏光板15にシルバー反射光が得られるものを使用すると白色系金属色を伴った白色色調が得られ、ゴールド反射光が得られるものを使用すると薄い金金属色を伴った白色色調が得られる。本実施形態においては、透過性基板11の非透過部13の金属膜の色調に合わせてシルバー反射光が得られる反射型偏光板を使用している。微小な凹凸模様としては梨地状に設けた梨地模様や筋目状に設けたサークル模様、渦巻模様、ストライプ模様、放射目模様などが好適な模様として挙げることができる。また、光分散作用をなすピアジカット模様などの幾何学模様なども挙げることができる。
本実施形態においては、透過性基板11の非透過部13の模様と同じ模様である梨地模様を設けている。
また、反射型偏光板15と透過性基板11とに僅かな隙間を設けている。隙間なる空気層があることにより反射型偏光板15の凹凸模様で光が分散・拡散する。反射型偏光板15の凹凸模様を透過性基板11の非透過部13の凹凸模様と同じ模様で仕上げ、反射型偏光板15に僅かな白色金属色感も現れることから、透過性基板11の非透過部13を白色系金属色調に仕上げると、透過性基板11と反射型偏光板15が重なり合うと全体的に同一模様をなして白色系の艶消しされた金属感が現れてくる。このことにより、落着感を持った金属色調が現れた表示板が得られる。また、透過部12の大きさが目に視認できる大きさであると透過部12の形状輪郭が模様として視認されるようになってきて、装飾性も増してくる。尚、反射型偏光板15の凹凸模様は、透過性基板11の非透過部13の凹凸模様と同一模様に限定するものではなく、異なった模様であっても良く、装飾仕様に応じて適宜に選択するのが好ましい。
反射型偏光板15の梨地模様は凹凸の大きさによって白色感を調整することができる。例えば、凹凸の粗さが、サンドペーパの粗さを表示する#180番以上であると金属色感と白色感が半々に混ざり合った色感が得られ、#400番で白さの中に少し金属色が疎ら現れて綺麗な白色感が得られる。更に、凹凸の大きさを細かくすることに従って白色感の効果が顕著になる。但し、#2000番を越えると模様が転写されずに白色感よりも金属色感に曇りが生じたように視認される。また、#120番では白色感よりも金属色感が強く現れてくる。従って、白色感を得るためには凹凸の大きさを#180番から#2000番の粗さの範囲に設定するのが好ましい。
これは、梨地模様に限らず筋目なるサークル模様や渦巻模様、放射目模様、ストライプ模様などでも同じ状態が現れる。筋目なる凹凸の深さによって作用される。この筋目なる模様は目付装置とワイヤーブラシを用いて筋目の目付を行うことができ、また、筋目の目付を施した型を用いてホットプレス方法で形成することもできる。また、シルバー反射光が得られる反射型偏光板を用いると白色系金属色感と白色感が混ざり合った色感が得られるようになり、ゴールド反射光が得られる反射型偏光板を用いると薄い金金属色感と白色感が混ざり合った色感が得られるようになる。
このように、反射型偏光板15に凹凸状の模様を設けると、厚みの薄い偏光板でありながら透過光を50%に半減し、且つ、透過光を拡散させるのでソーラーセルの濃紫色を消し去る効果を生む。また、反射型偏光板15に凹凸状の様々な模様を形成しても透過率や反射率は余り変わらない。
以上の構成をなした表示板10は、本実施形態では、透過性基板11の透過部12の開口率(全体面積に対する透過部12の総面積)40〜50%、反射型偏光板15の透過率約50%によって20〜25%の光透過率が得られる。近年のソーラーセルは発電効率も良くなり、10mm角四方の大きさで15%の透過率が得られれば満足する発電量が得られるものが現れている。従って、ソーラーセル9の発電機能を十分に満たす透過率を得ることができる。
また、ソーラーセル9からの濃紫色を持った反射光は、反射型偏光板15で半分の光量に減り、更に、透過性基板11の透過部12を透過して出射する光量は20〜25%の光量に減る。また、濃紫色を持った反射光は反射型偏光板15の梨地模様なる凹凸で拡散され、拡散光となって透過性基板11を透過する。また、透過性基板11の非透過部13からの直接反射光や反射型偏光板15からの直接反射光は梨地模様なる凹凸によって拡散反射光となって表示板10から出射する。従って、ソーラーセルからの拡散反射光は非透過部13や反射型偏光板15からの拡散反射光と混ざり合って表示板10から出射する。このため、ソーラーセルの濃紫色は消し去られてしまい、殆ど視認されなくなる。
そして、透過性基板11の非透過部13や反射型偏光板15からの拡散反射光量が多いために表示板10が明るくなり、艶消しされた非透過部13の金属色調に鮮明さと落着感が現れてくる。
尚、透過性基板11の上面11bに装飾を施すことも可能である。装飾には乾式メッキによる金属膜、印刷によるインキ膜、貝、貴石などの石類、和紙などの紙類、ホログラムなど様々な装飾部材を用いることができる。これらの装飾によって表示板に装飾性が高められる。また、これらの装飾部材と非透過部13の金属膜とに立体感なども現れて表示板に装飾の立体感も現れてくる。
また、本実施形態の透過性基板11は下面に透過部12と非透過部13を設けたもので構成したが、更に、半透過部を加えて透過部と非透過部と半透過部の3つで表示板を構成することもできる。非透過部と半透過部で色彩の違いなどを出すこともでき、装飾のバリエーションを増やすことができる。また、透過部と半透過部で表示板を構成することも可能で、ソーラーセルの濃紫色を殆ど視認されることなく半透過部の色彩を鮮やかに現出できるようになる。
また、本実施形態では、ソーラーセルを備えた表示板で説明を行ったが、本発明の表示板はエレクトロルミネッセンス(以降、ELと呼ぶ)を備えた表示板として使用することもできる。ELの発光した光が表示板の透過部を透過して表示板を明るく照明する。また、ELは薄い黄緑色色調をなしているので昼間の明るい所でも殆どEL自体は視認されない。
以下、実施例を挙げる中で本発明の更に詳しい内容を説明する。尚、実施例は全て時計用の表示板で説明するものであるが、これは、時計に拘わらず他の機器の表示板や銘板などの表示板にも共通して適用できるものである。最初に、実施例1に係る表示板について図4〜図6を用いて説明する。ここで、図4は本発明の実施例1に係る表示板を用いた時計の要部断面図を示している。図5は図4における表示板の平面図と要部断面図で、図5の(a)は平面図、図5の(b)は要部断面図を示している。また、図6は図5における透過性基板の透過部と非透過部の形状を示した1/4切断平面図を示している。
図4に示す時計20は、ケース21の内空部分に中枠27を介して表示板30とムーブメント28をケース21に固定し、更に、裏蓋26をケース21に固定して中枠27を完全に固定している。また、ムーブメント28にはソーラーセル29を固定しており、また、ムーブメント28から突出した指針軸に表示板30の視認側から長針や短針などの指針24を取付けた構成をなしている。そして、風防22をケース21に固定して風防22で指針24や表示板30を覆った構成をなしている。また、図示はしていないが、バンドがケース21に取付けられている。また、表示板30には時字などの指標39が取付けられて時計用表示板として用いられる。
実施例1の表示板30は、図5に示すように、視認側から透過性基板31と反射型偏光板35を接着剤38を介して貼付けた構成をなしている。透過性基板31と反射型偏光板35の外周領域部を接着剤38を介して貼付けている。また、透過性基板31はその中心部領域に貝からなる装飾部材34を設けている。
実施例1では、透過性基板31は透明なポリカーボネイト樹脂を用いて射出成形方法で形成している。上面31bの中心部領域に凹部31eを所要の大きさで形成し、その凹部31eの所に貝なる装飾部材34を貼付けている。貝としてはアワビ貝や白蝶貝が用いられる。貝独特の光輝ある貝紋様が現れて高級感のする装飾が得られる。
また、下面31cには凹部と凸部からなる凹凸部31dを設けている。この凹凸部31dの中で、凸部は透過部32を形成しており、凹部は金属膜が設けられて、金属膜による非透過部33を形成している。この透過部32は、図6に示すように、細長なる放射目状の模様をなして、ほぼ同一角度間隔を持って複数設けられている。尚、図6において、中心部の31aは中心穴で、表示板30の指針取付用の中心穴30aに対応する穴である。
透過部32は所要の透過率が得られる面積を持って形成しており、実施例1においては、開口率は40〜50%の範囲内で設けている。また、透過部32の細長の幅は150〜200μmの範囲に形成している。
また、図示はしていないが、凹部の表面には艶消し目的で微小な凹凸状の模様を設けてあり、実施例1では筋目なる放射目模様を設けている。放射目模様の筋目を付けて細長の放射目模様の透過部32を目立たなくしている。
非透過部33の金属膜は、実施例1においては、Pd金属での1000〜1500Å厚みの金属蒸着膜で形成している。非透過部33からは艶消しされた白色系金属色調が視認されるようになる。
透過性基板31の下面31cの全面に金属膜を設けた後に、透過部32の部分を研削加工にて金属膜を除去することによって透過部32と非透過部33が設けられた透過性基板31が得られる。
実施例1の反射型偏光板35は、反射軸と透過容易軸を有して約50%の光を透過し、約50%の光を反射する特性を持ち、シルバー色の反射光が現れる偏光板を用いている。そして、この反射型偏光板35の上面35b(透過性基板31に対面している面)には、非透過部33に設けた模様と同じ模様の筋目なる放射目模様を設けている。透過性基板31と反射型偏光板35が重なり合うと一体的な放射目模様として見えてくる。また、反射型偏光板37に放射目模様を設けると光拡散が起きて金属色調が薄らいでの白色色調が現れる。
放射目模様を設けた反射型偏光板35と放射目模様を設けてPd金属膜を設けた透過性基板31と重なり合うと白色系なる同一色調の下で同一模様が重なり合って一体的に見えてくる。また、透過部32の放射目状の細長の幅が150〜200μmの大きさがあることから、反射型偏光板35の反射光によって透過部32の形状輪郭が目立って目に視認それるようになって、筋目なる放射目模様の中に透過部32の模様が現れてきて、もの珍しさのある模様が現れてくる。そして、表示板に装飾性が高められる。
以上の構成をなした表示板30にあっては、貝独特の光輝色彩のある貝の紋様色彩と、筋目なる放射目模様を持っての艶消しされた白色調のPd金属色彩が重なり合って高貴感のある装飾が得られる。また、貝紋様と放射目模様を持ったPd金属膜とに透過性基板31の透明層があることから貝紋様とPd金属膜との間に立体感が現れてくる。また同時に、放射目模様を持って艶消しされたPd金属膜に奥深さが現れてくる。また、Pd金属膜の放射目模様の凹凸、反射型偏光板35の放射目模様の凹凸によって著しい拡散反射光が現れて表示板が明るくなって模様や色彩が鮮明に視認されるようになる。そして、このような表示板を用いた時計においては、落着感のある金属感が得られ、そして、装飾性に富んだ時計になって高級感が現れる。
また、ソーラーセルからの濃紫色を持った反射光は拡散され、濃紫色は消し去られて視認されなくなる。
尚、実施例1においては、貝なる装飾部材34を貼付けて装飾を施したが、貝に限らず他の装飾部材を用いても良い。例えば、サファイヤ、オパール、ヒスイ、ルビーなどの貴石や大理石などの石類、和紙、銀箔や金箔、ホログラムなどの装飾部材が挙げられる。また、乾式メッキによるメッキ金属膜や、印刷によるインキ膜や塗装による塗料膜で装飾を施すことも可能である。仕様に応じて適宜な装飾を施して装飾性を高めると良い。
実施例1の時計はソーラーセル付きの時計であるが、ソーラーセルに代えてEL(エレクトロルミネッセンス)を用いるとEL付の時計になる。そして、暗所においてELを発光すると表示板が明るく照明される。実施例1の表示板をEL用の表示板に用いると、ELの発光した光が透過性基板31の透過部32から光を透過して、非透過部33の金属膜の金属色彩や装飾部材34の装飾色彩を明るく照明する。透過性基板31の均一な間隔に形成した透過部32から出射するELの光は拡散光が出射するので表示板30の表面全体を照明するようになって、明るく表示が視認される時計が得られる。また、明るい場所でのELの非点灯時においては、ELは黄緑色から白色気味の色調をなしていることから、反射型偏光板35の白色系の色調に近く、且つ、ELからの反射光は拡散することから、殆どELの存在は視認されない。
次に、本発明の実施例2の表示板について図7、図8を用いて説明する。図7は実施例2に係る表示板の要部断面図を示しており、図8は図7における透過性基板の透過部と非透過部の形状を示した1/4裁断平面図を示している。
実施例2の表示板40は、図7に示すように、視認側から透過性基板41と反射型偏光板45を接着剤48を介して貼付けた構成をなしている。透過性基板41と反射型偏光板45の外周領域部を接着剤48で貼付けている。
実施例2の透過性基板41は透明なポリカーボネイト樹脂を用いて射出成形方法で形成している。上面41bには凹凸模様41fを設けており、実施例2においては、この凹凸模様41fは格子状に設けている。ピッチが100〜200μm、凹凸の高さが40〜60μmの寸法で形成している。この凹凸模様41fは特に格子模様に限るものではなく、ストライプ模様、幾何学模様、ピアジカット模様などの模様を選択しても構わない。外観的な装飾を付加するために設けている。
透過性基板41の下面41cには凹部と凸部からなる凹凸部41dを設けている。この凹凸部41dの中で、凸部は透過部42を形成しており、凹部は金属膜が設けられて、金属膜による非透過部43を形成している。この透過部42は、図8に示すように、細長なるサークル模様状に設けている。また、この透過部42は所要の透過率が得られる面積を持って形成しており、実施例2においては、開口率は40〜50%の範囲内で設けている。尚、図8において、中心部の41aは中心穴で、表示板40の指針取付用の中心穴に対応する穴になっている。
また、図示はしていないが、非透過部43の凹部の表面には艶消し目的で微小な凹凸状の模様を設けてあり、実施例2では筋目なる放射目模様を設けている。そして、放射目模様上に金属膜を設けて非透過部43を形成している。
非透過部43の金属膜は、実施例1と同様に、Pd金属での1000〜1500Å厚みの金属蒸着膜で形成している。非透過部43からは艶消しのされた白色系金属色調が視認されるようになる。
実施例2の反射型偏光板45は、反射軸と透過容易軸を有して約50%の光を透過し、約50%の光を反射する特性を持ち、シルバー色の反射光が現れる偏光板を用いている。そして、この反射型偏光板45の上面45b(透過性基板41に対面している面)には、非透過部43に設けた模様と同じ模様の筋目なる放射目模様を設けている。
また、下面45cにはサークル模様状に凹凸をなしたプリズムを設けている。このサークル模様のプリズムはピッチが約70μm、凹凸の高さは40〜60μm、プリズム角約70°の形状に形成している。このサークル状のプリズムはホットプレス法や切削加工方法で形成することができる。ホットプレス法ではプリズムの転写形状を金型に形成し、金型を加熱の下で反射型偏光板45に加圧すると反射型偏光板45にプリズム面が形成される。サークル状のプリズムはソーラーセルからの反射光を四方八方に分散させ、そしてまた、その分散した分散光は上面45bの放射目模様の凹凸で更に拡散される。この作用により、ソーラーセルの濃紫色は消し去られてしまう。実施例2においては、サークル模様のプリズムを設けたが、渦巻模様のプリズムを設けても同様な効果を得る。また、ピアジカット模様のプリズムを設けてもそれに近い効果を得ることができる。
以上の構成の表示板40にあっては、放射目模様を設けた反射型偏光板45と放射目模様を設けてPd金属膜を設けた透過性基板41と重なり合うと同一模様をなしての白色系の艶消しされた金属色調が現れる。落着感を感じさせる金属色調が得られる。
また、透過性基板41の上面41bの凹凸模様41fも視認されて装飾性の増した表示板が得られる。また、上面41bの凹凸模様41fは非透過部43からの拡散反射光、反射型偏光板45からの拡散反射光、ソーラーセルからの拡散透過光を分散させる作用も生む。従って、ソーラーセルの濃紫色を消し去るのを助長する効果も生む。
尚、上面41bの凹凸模様41fを保護するために透明な保護膜を設けることも可能である。透明な保護膜を設ける場合は、透過性基板41の屈折率と異なる屈折率の樹脂を選択するのが好ましい。例えば、透過性基板41にポリカーボネイト樹脂(屈折率1.58)を用いた場合には保護膜にアクリル樹脂(屈折率1.49)を選択すると良い。屈折率が異なることにより凹凸模様41fがはっきり視認できるようになる。
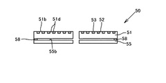
次に、実施例3の表示板について図9を用いて説明する。図9は実施例3に係る表示板の要部断面図を示している。実施例3の表示板50は、透過性基板51と反射型偏光板55をその外周領域を接着剤58を介して貼付けた構成をなしている。
透過性基板51はポリカーボネイト樹脂で形成しているが、その上面51bに凹凸部51dを設けており、凸部はそのまま透過部52を形成している。また、凹部は金属膜が設けられて非透過部53を形成している。また、図示はしていないが金属膜からなる非透過部53の表面は筋目なる放射目模様が設けられている。実施例3の透過部52は前述の実施形態での透過部と同様に格子模様に設けられている。また、非透過部53の金属膜はNi金属膜を真空蒸着法で約500Åの厚みに形成し、更に、その上に無電解メッキ法でAu金属膜を2〜3μmの厚みで形成している。そして、研削加工により透過部52上のAu金属膜とNi金属膜を除去した後、透過部52と非透過部53のAu金属膜上に放射目模様の筋目を形成している。尚、Au金属膜の金色調は薄い金色色調をなすもので、所謂、ウス金と云われる金色色調のものである。
また、この透過性基板51には薄い橙色なる着色を施している。これは、反射型偏光板55を重ね合わせた時にAu金属膜の色調と同じ色調を得るために調整用として着色を施している。この着色は樹脂に顔料を混ぜ合わせてペレット化し、射出成形方法で形成する。
実施例3の反射型偏光板55は透過率約50%、反射率約50%で、ゴールド色の反射光が得られる偏光板を用いている。そして、上面55bには透過性基板51の上面51bに設けた模様と同じの模様の放射目模様を設けている。反射型偏光板55からの反射光からは僅かに金金属色調を伴った白色色調が現れる。
以上の構成をなした表示板50からは放射目模様をなして艶消しされた薄い金金属色調が現れる。そして、貴金属感がして高級感の現れた表示板が得られる。
また、ソーラーセルからの濃紫色は反射型偏光板55の放射目模様の凹凸によって拡散され、更に透過性基板51の着色色調と混ざり合って消し去られ、視認されなくなる。
尚、上記構成をなす表示板50の透過性基板51の表面に透明な保護膜を設けることも可能である。透明な保護膜によって透過部52やAu金属膜の損傷を防止することができる。
次に、実施例4に係る本発明の表示板について図10を用いて説明する。図10は本発明の実施例4に係る表示板の要部拡大断面図を示している。図10より、実施例4の表示板60は透過性基板61と透過性基板61の下面側に配設した反射型偏光板65とから構成している。透過性基板61はポリカーボネイト樹脂から形成していて、下面61cに凹凸部61dを有している。凸部は透過部62をなしており、凹部は深さが浅い部分と深い部分の2段になっての段差を持った矩形形状の凹部形状をなしている。そして、深い部分も浅い部分も同じ金属微粒子粉末入りの樹脂が埋め込まれていて、深い部分が透過性のない非透過部63をなしている。また、浅い部分は透過性機能も持ち合わせた半透過部64をなしている。
実施例4では、金色色調を出させるためにアクリル樹脂に金金属の微粒子粉末を配合した塗料を用いて非透過部63と半透過部64を形成している。何れも凹部の深さによって非透過部63と半透過部64を出現させており、非透過部63は殆ど0の透過率をなしており、半透過部64は30〜40%の透過率をなしている。
反射型偏光板65の上面65bにはかまぼこ形状の凸部をサークル状に設けている。このサークル状のかまぼこ型凸部はホットプレス法で形成することができる。このような形状を設けることにより、反射型偏光板65を透過するソーラーセルからの反射光は分散して濃紫色は掻き消されてしまう。また、透過性基板61を透過して反射型偏光板65から反射される反射光も分散して透過性基板61に入射する。
以上の構成をなした表示板60は、半透過部64の部位の所は金色の色調が薄く、且つ、反射型偏光板65からの反射光によって明るく現れる。つまり、色調は薄いが鮮やかな金色色調が現れる。一方、非透過部63の部位の所は鮮やかさには欠けるが濃い金色色調が現れる。このように、半透過部64と非透過部63が有ることにより色調と明るさか僅かに異なる2種類の色彩が得られる。また、半透過部64と非透過部63に段差を有することにより2種類の色彩に立体感を伴って現れてくる。また、何れも金属感が現れる。半透過部64の色彩は設定する透過率によって自由に変えることができる。そして、金属色彩の濃淡の違いにより模様の見え方に変化が生じ、よって、デザインバリエーションの拡大を図ることができる。尚、半透過部64の透過率は透過性基板61の下面61cの研削量を調整することにより自由に調整することができる。
実施例4では、金金属の微粒子粉末を樹脂に配合したものを用いたが、これは金属色調の仕様に合わせて用いる金属の種類を選択すると良い。また、メタリック仕様の樹脂を用いることで金属感を出すこともできる。また、金属色調に限らない場合は単なる着色樹脂を用いても良い。
また、実施例4においては、透過性基板61は透過部62、非透過部63、半透過部64を設けたもので構成した。本発明においては、透過性基板を透過部と半透過部で構成しても良い。金属色調は薄れるが半透過部への反射光の透過によって色調の鮮やかさが得られる。また、表示板全体に明るさも得られる。
以上、実施例1〜4をもって詳細に説明したが、この実施例は何れも反射型偏光板を1つ用いたものを示している。反射型偏光板は、例えば2つ重ね合わせて用いることも可能である。2個重ねた場合に双方の透過容易軸(または反射軸でも良い)を少し角度を振ってずらして重ね合わせると透過率は低下し反射率はアップする。透過率を更に低くしたい場合などには2つ重ね合わせて使用するのも効果的である。
また、実施例1〜4は何れも時計用の表示板を用いて説明したが、これは時計用の表示板に拘わらず他の表示板にも適用できる。例えば、バックライトを備えた車載用のメータなどの表示板、バックライトを備えたパネル表示板などを挙げることができる。また、ソーラーセルによって駆動する電子機器などにも適用できるものである。
本発明の実施形態に係る表示板の平面図と要部断面図で、図1の(a)は平面図、図1の(b)は要部断面図である。 図1における透過性基板の下面側から見た部分拡大斜視図である。 図1における反射型偏光板の作用を説明する説明図である。 本発明の実施例1に係る表示板を用いた時計の要部断面図である。 図4における表示板の平面図と要部断面図で、図5の(a)は平面図、図5の(b)は要部断面図である。 図5における透過性基板の透過部と非透過部の形状を示した1/4切断平面図である。 本発明の実施例2に係る表示板の要部断面図である。 図7における透過性基板の透過部と非透過部の形状を示した1/4切断平面図である。 本発明の実施例3に係る表示板の要部断面図である。 本発明の実施例4に係る表示板の要部拡大断面図を示している。 特許文献1に記載された文字板の要部拡大断面図である。
符号の説明
9、29 ソーラーセル
10、30、40、50、60 表示板
11、31、41、51、61 透過性基板
11b、15b、31b、35b、41b、45b、51b、55b、65b 上面
11c、31c、41c、45c、61c 下面
11d、31d、41d、51d、61d 凹凸部
12、32、42、52、62 透過部
13、33、43、53、63 非透過部
15、35、45、55、65 反射型偏光板
18、38、48、58 接着剤
20 時計
21 ケース
22 風防
24 指針
26 裏蓋
27 中枠
28 ムーブメント
31e 凹部
34 装飾部材
41f 凹凸模様
64 半透過部

Claims (4)

  1. 少なくとも1つの透過部と非透過部を設けた透過性基板、あるいは、少なくとも1つの透過部と半透過部と非透過部を設けた透過性基板、あるいは、少なくとも1つの透過部と半透過部を設けた透過性基板の下面側に少なくとも一方の表面に凹凸状の模様を設けた反射型偏光板を有し、前記透過性基板と前記反射型偏光板の間に空気層を設けたことを特徴とする表示板。
  2. 前記透過部は表示板の有効表示領域において均等な間隔を有して分布していることを特徴とする請求項1に記載の表示板。
  3. 前記透過部と非透過部、あるいは、透過部と半透過部と非透過部、あるいは、透過部と半透過部は前記透過性基板の上面又は下面に設けられていることを特徴とする請求項1又は2に記載の表示板。
  4. 前記非透過部と半透過部には少なくとも金属膜又は塗料膜のいずれかが設けられていることを特徴とする請求項1又は3に記載の表示板。
JP2006295188A 2006-10-31 2006-10-31 表示板 Active JP4887116B2 (ja)

Priority Applications (1)

Application Number Priority Date Filing Date Title
JP2006295188A JP4887116B2 (ja) 2006-10-31 2006-10-31 表示板

Applications Claiming Priority (1)

Application Number Priority Date Filing Date Title
JP2006295188A JP4887116B2 (ja) 2006-10-31 2006-10-31 表示板

Publications (2)

Publication Number Publication Date
JP2008111732A JP2008111732A (ja) 2008-05-15
JP4887116B2 true JP4887116B2 (ja) 2012-02-29

Family

ID=39444319

Family Applications (1)

Application Number Title Priority Date Filing Date
JP2006295188A Active JP4887116B2 (ja) 2006-10-31 2006-10-31 表示板

Country Status (1)

Country Link
JP (1) JP4887116B2 (ja)

Cited By (1)

* Cited by examiner, † Cited by third party
Publication number Priority date Publication date Assignee Title
US11687035B2 (en) 2019-07-30 2023-06-27 Citizen Watch Co., Ltd. Display panel

Families Citing this family (1)

* Cited by examiner, † Cited by third party
Publication number Priority date Publication date Assignee Title
EP3671365B1 (fr) 2018-12-19 2025-11-26 The Swatch Group Research and Development Ltd Cadran de piece d'horlogerie

Family Cites Families (8)

* Cited by examiner, † Cited by third party
Publication number Priority date Publication date Assignee Title
JP3611965B2 (ja) * 1998-05-20 2005-01-19 河口湖精密株式会社 時計用文字板
JP3430951B2 (ja) * 1999-01-13 2003-07-28 セイコーエプソン株式会社 表示装置および電子時計
JP2003110129A (ja) * 2001-09-28 2003-04-11 Kawaguchiko Seimitsu Co Ltd 太陽電池のマスク板、時計用文字板及びマスク板の製造方法
JP4477867B2 (ja) * 2003-12-25 2010-06-09 シチズンセイミツ株式会社 ソーラセル付時計用文字板及びそれを備えた携帯時計
JP2006098937A (ja) * 2004-09-30 2006-04-13 Seiko Epson Corp 表示装置および電子機器
JP4700988B2 (ja) * 2005-03-29 2011-06-15 シチズン時計河口湖株式会社 時計用表示板
KR20070104649A (ko) * 2005-02-09 2007-10-26 시티즌 홀딩스 가부시키가이샤 태양전지 기기용 표시판 및 태양전지 기기용 표시판의 제조방법
JP4922562B2 (ja) * 2005-02-09 2012-04-25 シチズン時計河口湖株式会社 時計用表示板

Cited By (1)

* Cited by examiner, † Cited by third party
Publication number Priority date Publication date Assignee Title
US11687035B2 (en) 2019-07-30 2023-06-27 Citizen Watch Co., Ltd. Display panel

Also Published As

Publication number Publication date
JP2008111732A (ja) 2008-05-15

Similar Documents

Publication Publication Date Title
US8446671B2 (en) Display panel and apparatus provided with the same
CN102947764B (zh) 钟表用显示板
KR20070104649A (ko) 태양전지 기기용 표시판 및 태양전지 기기용 표시판의 제조방법
JP4922562B2 (ja) 時計用表示板
JP4477867B2 (ja) ソーラセル付時計用文字板及びそれを備えた携帯時計
JP5748603B2 (ja) 加飾フイルム構造体及び加飾成形部材
JP5314300B2 (ja) 装飾部材
JP5784405B2 (ja) 加飾フイルム構造体及び加飾成形部材
JP4804047B2 (ja) ソーラセル付時計用文字板
JP5069853B2 (ja) 装飾性表示板
JP2006208221A (ja) 表示板及びそれを備えた電子表示機器
JP2008051517A (ja) 時計用文字板及びそれを備えた携帯時計
JP4887116B2 (ja) 表示板
JP2009216670A (ja) 装飾部材
JP5190136B2 (ja) ソーラセル付時計用文字板
JP4282353B2 (ja) 時計用文字板
JP4982151B2 (ja) 表示板
JP3673312B2 (ja) ソーラー時計用表示板構造
JP7193370B2 (ja) 表示板とこの表示板を備えた時計
JP2005069755A (ja) 時計用文字板
JP4982144B2 (ja) 表示板
JP2007024698A (ja) 時計用文字板及びその製造方法とその時計用文字板を備えた携帯時計
JP3111814U (ja) 表示板及びその表示板を備えたソーラーセル付時計
JP2005207844A (ja) 時計用文字板及びそれを備えた携帯時計
JP5412312B2 (ja) 文字板および時計

Legal Events

Date Code Title Description
A621 Written request for application examination

Free format text: JAPANESE INTERMEDIATE CODE: A621

Effective date: 20090428

A711 Notification of change in applicant

Free format text: JAPANESE INTERMEDIATE CODE: A712

Effective date: 20100430

RD02 Notification of acceptance of power of attorney

Free format text: JAPANESE INTERMEDIATE CODE: A7422

Effective date: 20100906

A977 Report on retrieval

Free format text: JAPANESE INTERMEDIATE CODE: A971007

Effective date: 20110621

A131 Notification of reasons for refusal

Free format text: JAPANESE INTERMEDIATE CODE: A131

Effective date: 20110705

A521 Written amendment

Free format text: JAPANESE INTERMEDIATE CODE: A523

Effective date: 20110902

TRDD Decision of grant or rejection written
A01 Written decision to grant a patent or to grant a registration (utility model)

Free format text: JAPANESE INTERMEDIATE CODE: A01

Effective date: 20111201

A01 Written decision to grant a patent or to grant a registration (utility model)

Free format text: JAPANESE INTERMEDIATE CODE: A01

A61 First payment of annual fees (during grant procedure)

Free format text: JAPANESE INTERMEDIATE CODE: A61

Effective date: 20111212

FPAY Renewal fee payment (event date is renewal date of database)

Free format text: PAYMENT UNTIL: 20141216

Year of fee payment: 3

R150 Certificate of patent or registration of utility model

Ref document number: 4887116

Country of ref document: JP

Free format text: JAPANESE INTERMEDIATE CODE: R150

Free format text: JAPANESE INTERMEDIATE CODE: R150

S111 Request for change of ownership or part of ownership

Free format text: JAPANESE INTERMEDIATE CODE: R313117

R360 Written notification for declining of transfer of rights

Free format text: JAPANESE INTERMEDIATE CODE: R360

R360 Written notification for declining of transfer of rights

Free format text: JAPANESE INTERMEDIATE CODE: R360

R371 Transfer withdrawn

Free format text: JAPANESE INTERMEDIATE CODE: R371

S111 Request for change of ownership or part of ownership

Free format text: JAPANESE INTERMEDIATE CODE: R313117

R350 Written notification of registration of transfer

Free format text: JAPANESE INTERMEDIATE CODE: R350

S533 Written request for registration of change of name

Free format text: JAPANESE INTERMEDIATE CODE: R313533

R350 Written notification of registration of transfer

Free format text: JAPANESE INTERMEDIATE CODE: R350

R250 Receipt of annual fees

Free format text: JAPANESE INTERMEDIATE CODE: R250