JP4885605B2 - 低強度人工軽量ろ過材を用いた耐震構造のマンホール及び誘導経路部材 - Google Patents

低強度人工軽量ろ過材を用いた耐震構造のマンホール及び誘導経路部材 Download PDF

Info

Publication number
JP4885605B2
JP4885605B2 JP2006122615A JP2006122615A JP4885605B2 JP 4885605 B2 JP4885605 B2 JP 4885605B2 JP 2006122615 A JP2006122615 A JP 2006122615A JP 2006122615 A JP2006122615 A JP 2006122615A JP 4885605 B2 JP4885605 B2 JP 4885605B2
Authority
JP
Japan
Prior art keywords
manhole
opening
guide path
manhole body
drain pipe
Prior art date
Legal status (The legal status is an assumption and is not a legal conclusion. Google has not performed a legal analysis and makes no representation as to the accuracy of the status listed.)
Active
Application number
JP2006122615A
Other languages
English (en)
Other versions
JP2007291781A (ja
Inventor
幹雄 竹内
喜一 野村
康彦 小西
飯田  勉
進 井合
高弘 菅野
Current Assignee (The listed assignees may be inaccurate. Google has not performed a legal analysis and makes no representation or warranty as to the accuracy of the list.)
INDEPENDENT ADMINISTRATIVE INSTITUTION PORT AND AIRPORT RESEARCH INSTITUTE
Kyoto University NUC
Nihon Suido Consultants Co Ltd
Original Assignee
INDEPENDENT ADMINISTRATIVE INSTITUTION PORT AND AIRPORT RESEARCH INSTITUTE
Kyoto University NUC
Nihon Suido Consultants Co Ltd
Priority date (The priority date is an assumption and is not a legal conclusion. Google has not performed a legal analysis and makes no representation as to the accuracy of the date listed.)
Filing date
Publication date
Application filed by INDEPENDENT ADMINISTRATIVE INSTITUTION PORT AND AIRPORT RESEARCH INSTITUTE, Kyoto University NUC, Nihon Suido Consultants Co Ltd filed Critical INDEPENDENT ADMINISTRATIVE INSTITUTION PORT AND AIRPORT RESEARCH INSTITUTE
Priority to JP2006122615A priority Critical patent/JP4885605B2/ja
Publication of JP2007291781A publication Critical patent/JP2007291781A/ja
Application granted granted Critical
Publication of JP4885605B2 publication Critical patent/JP4885605B2/ja
Active legal-status Critical Current
Anticipated expiration legal-status Critical

Links

Images

Landscapes

  • Underground Structures, Protecting, Testing And Restoring Foundations (AREA)

Description

本発明は、地震時における地盤の液状化に伴う浮き上がりを防止し、排水管との接続部の損傷を防止する低強度人工軽量ろ過材を用いた耐震構造のマンホール及びそれに備えられる誘導経路部材に関する。
近年の大地震において、下水道施設に多大な被害が生じている。特に、地震時に地盤が液状化することにより、マンホールの浮上やマンホールと排水管との接続部の損傷等が発生し、交通障害や下水流水化機能障害の問題が起こっている。マンホールは内部が空間になっており比重の軽い構造体であるため、マンホール管やそれに接続している管路は全体的な比重が周辺の液状化した地盤の比重よりも軽くなり、鉛直上方に浮き上がらせようとする浮力を受けることになる。このため底部に揚圧力が作用すると、浮き上がりを生じ易い。そして、地震時に地盤の液状化が発生すると、底部近傍の水圧上昇に伴うマンホールの浮き上がりが生じる。
このため、地震時の地盤の液状化に伴う浮き上がりを防止するマンホールが提案されている(例えば、特許文献1)。
特許第3440147号公報
しかしながら、特許文献1の過剰間隙水圧吸収機構は、マンホール本体の外側に設けられるため、埋設されているマンホールに備えるためには、地盤を掘り返す必要がある。マンホールが浮き上がりを生じやすいものであるとともに、市街地等に埋設されており施工環境がよくないため、地震時における地盤の液状化に伴うマンホールの浮き上がりについての対策が求められている。
本発明の課題は、地震時における地盤の液状化に伴う浮き上がりを防止するマンホール及びそれに備えられる誘導経路部材を提供することにある。
上記課題を解決するため、本発明によれば、
地中に埋設され、一端に地上への開口部を有するマンホール本体と、
そのマンホール本体の他端側の周壁に内外に貫通させた貫通孔に接続され、マンホール本体の内外の汚水流通を行うための排水管と、
マンホール本体の内側に設けられ、他端側にマンホール本体外への通じる第一開口部と、一端側にマンホール本体内へ通じる第二開口部とを有し、マンホール本体外の液状化に伴う過剰間隙水をマンホール内へ導入する誘導経路部と、
を備え、
第一開口部には、排水管の外周面を取り囲む環状孔が形成され、排水管が環状孔にシール部を介して、マンホール本体に取り付けられたマンホール、
が提供される。
そして、第二開口部は、地中の地下水位よりも鉛直方向において地上側に設けられるように構成するとよい。また、誘導経路部は、マンホール本体の周壁部の内周面に沿って設けられているように構成することができる。
そしてシール部は、地震時において、所定以上のマンホール本体の揺動に対して、第一開口部と排水管とが相対変位可能に構成してもよい。
また第一開口部に、誘導経路部に流通する過剰間隙水を濾過する濾過部材を備える構成とすることができる。具体的には、濾過部材は、排水管の外周を取り囲む形で第一開口部へ備えるように構成することができる。
さらに誘導経路部内に濾過部材を固定する網状固定部材を備える構成とすることができる。網状固定部材としては、例えば、ネットを使用することができる。
そして濾過部材は、点加重が0.2kN以上0.6kN以下の範囲内で損傷する低強度濾過部材によって構成するとよい
上記構成によれば、マンホール本体の内側に設けられた誘導経路部によって、マンホール本体外の地盤の液状化に伴う過剰間隙水をマンホール内へ導入することができる。具体的には、第一開口部から過剰間隙水を導入して、第二開口部からマンホール本体内に放出することにより、マンホール本体外の過剰間隙水をマンホール内へ導入する。これにより、マンホール本体外の地下水位の上昇に伴う水圧上昇を抑えてマンホールの浮き上がりを防止することができる。また誘導経路部材を、マンホール本体の内側に備えることにより、誘導経路部を形成するため、埋設された既設のマンホールの周囲の地盤を掘り起こすことなくマンホールにも設置することができる。
そして、以上のような構成によれば、特別なメンテナンスを行う必要がなく、過剰間隙水圧を解消し、本震、余震を問わずマンホール浮上防止効果が得られる。また、既設のマンホールに対しても、道路の舗装を壊すことなく非開削で施工が可能であるため、コスト縮減及び施工時間短縮の効果が得られる。さらに、低強度濾過部材を使用することにより、地震時にマンホール本体や排水管が揺動すると、濾過部材が損傷して揺れを吸収するために、マンホール本体や排水管が損傷することが防止される。
以下、図面を参照しつつ本発明の実施の形態について説明するが、本発明は、以下の実施形態に限定されるものではなく、発明の範囲を逸脱しない限りにおいて、変更、修正、改良を加え得るものである。
図1(a)は、本発明のマンホール1の断面図である。また、図1(b)は、図1(a)のA−A断面図である。マンホール1は、地中に埋設され、円筒形状にコンクリートによって形成されて、一端に地上への開口部4を有するマンホール本体2と、そのマンホール本体1の他端側の周壁2aに内外に貫通させた貫通孔2bに接続され、マンホール本体1の内外の汚水流通を行うための排水管3とを備える。マンホール本体1の一端に形成された開口部4には、金属製のマンホール蓋9が着脱自在に備えられており、開口部4の周囲は舗装が施されている。
また、マンホール1は、マンホール本体2の周壁2aの内周面側に、地震時の地盤の液状化に伴う過剰間隙水をマンホール本体2内へ導入する誘導経路部5を備える。導入経路部5は、マンホール本体2の他端側にマンホール本体2外への通じる第一開口部5aと、地上側である一端側にマンホール本体2内へ通じる第二開口部5bとを有する。第二開口部5bは、地中の地下水位よりも鉛直方向において地上側に設けられている。このため、通常時は、地下水をマンホール本体2内に導入せず、地震時に過剰間隙水により地下水位が上昇すると、マンホール1の浮き上がりを防止するために、マンホール本体2内に過剰間隙水を導入することができる。
図2にマンホール本体2に備えられて誘導経路部5とされる誘導経路部材5kを示す。誘導経路部材5kは、過剰間隙水を導入する導入口となる第一開口部5aと、導入された過剰間隙水が放出される第二開口部5bとが形成され、一方の外周面5sがマンホール本体2の内周面と同形状に形成され、さらに内部が空洞とされている。
第一開口部5aには、誘導経路部5に流通する過剰間隙水を濾過する濾過部材15が、排水管3の外周を取り囲む形で備えられている。このように構成することにより、第一開口部5aを大きく形成して、過剰間隙水を短時間にマンホール本体2内に導入するとともに、過剰間隙水に含まれる土砂や泥等の浮遊物を効率よく除去することができる。
濾過部材15としては、河川・湖沼の堆積廃土などの粘性土に木材の粉や籾殻と植物の茎などを混合して焼成し、多孔質の素焼き凝塊としたものを利用することができる。このようなものを濾過部材15として使用すれば、堆積廃土等を有効に利用することができる。そして、このように素焼きにより所定の大きさを有する塊として形成して、これら塊が間隙を有する形で積層充填されているようにしたものを人工軽量ろ過材として第一開口部5aに充填することにより、濾過部材15が透水性を有したフィルタとして機能し、過剰間隙水に含まれる土砂や泥等を効果的に濾過することができるとともに、目詰まりが防止される。
さらに、比較的荒い砂利や砕石を濾過部材15として使用することもできる。このようなものを濾過部材15として利用すれば、透水性を有したフィルタとして機能し、土砂や泥等によって砂利や砕石間の流水路が目詰まりすることが防止される。
或いは、濾過部材15は、透水性を有する多孔質部材によって構成され、多数の連続した空孔を有し、その空孔を通して水を通過させる性質を有する部材を使用してもよい。多孔質部材により濾過部材15を形成することにより、低コストに過剰間隙水に含まれる砂等の浮遊物などを除去することができる。
濾過部材15としては、連続微細透孔を有する多孔質セラミックを使用することもできる。多孔質セラミックスとしては、例えば廃ガラスに炭酸カルシウム(CaCO3)、ドロマイト(CaCO3・MgCO3)、マグネサイト(MgCO3)、炭化珪素(SiC)等の発泡剤を添加、粉砕混合して焼成発泡したものや、天然鉱物として産出する黒曜石、真珠岩を焼成発泡させて形成したものを使用することができる。
また濾過部材15としては、人工軽量骨材を使用することもできる。人工軽量骨材は、例えば、膨張頁岩や真珠岩などのガラス質成分を含む原料を粉砕して粒度調整し、必要に応じて炭素や炭化珪素(SiC)、あるいは結合成分を加えて成形ないし造粒し、これを加熱(1250℃前後)焼成し、表面を溶融ガラス化すると共に炭素のガス化によって膨張発泡させて軽量化したものである。人工軽量骨材としては低強度のものを用いるとよい。
これら濾過部材15は、点加重が0.2kN以上0.6kN以下の範囲内で損傷する低強度濾過部材(低強度人工軽量ろ過材)を使用するとよい。望ましくは、0.4kN程度で損傷するものがよい。0.2kN以下で損傷するものであると、小さな揺れによっても損傷する。また0.6kN以上でも損傷しない濾過部材15であれば、排水管3やマンホール本体2が損傷する可能性が生じる。このような濾過部材15を使用することにより、地震時に、マンホール本体2及び排水管3に揺れが生じた場合に、濾過部材15が破損、損傷することによって、濾過部材15が揺れを吸収して、マンホール本体2及び排水管3の破損、損傷を防止することができる。
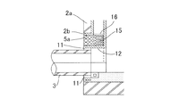
図3及び図4を用いて、誘導経路部材5kをマンホール本体2に備えたところを示す。図3は、図1の接続周辺部Pの拡大図である。誘導経路部5の第一開口部5aには、排水管3の外周面を取り囲む環状孔12が形成され、排水管3が環状孔12にシール部11を介してマンホール本体2に取り付けられるように構成されている。シール部11は、ゴム系のシール部材を用いることができる。第一開口部5aには、濾過部材15が、過剰間隙水の導入経路を塞ぐ形で、かつ排水管3の周壁を取り囲む形で備えられており、誘導経路部5内に濾過部材15を固定する網状固定部材であるネット16が備えられている。ネット16により、濾過部材15が過剰間隙水の水圧により、移動することを防ぎ、誘導経路部内の所定の位置に常時固定することができる。
誘導経路部材5kがマンホール本体2に備えられて誘導経路部5とされた図1におけるB−B断面図、C−C断面図、D−D断面図を図5(a)、図5(b)、図5(c)にそれぞれ示す。図に示すように誘導経路部5は、マンホール本体2の周壁部2aの内周面に沿って、排水管3の外周を囲む形で設けられている。このように構成すれば、マンホール本体2内に作業員が入る場合でも、誘導経路部5が障害とならない。また図1に示すように、平常時には、誘導経路部5の第二開口部5bは、地下水位21よりも地上側となるように設けられている。
また、マンホール1は、前述のように濾過部材15を使用することにより、地震時に発生する過剰間隙水を誘導経路部5に導入し、挿入された過剰間隙水を濾過部材15によって濾過することができる。さらに濾過部材15が低強度に形成されているため、図6に示すように、排水管3のマンホール本体2との接続部(シール部11)において、地震時の地盤の揺動に従って、所定以上の力が印加されることにより、排水管11と第一開口部5aとの相対移動が可能になる。このため、排水管3やマンホール本体2の損傷を防止することができる。さらに強度の揺れが発生すると、濾過部材15が損傷することにより、排水管3やマンホール本体2の損傷を防止することができる。
以上のように、誘導経路部5をマンホール本体2に設けることにより、地震時における過剰間隙水をマンホール1に導入して、マンホール1の浮き上がりを防止することができる。また誘導経路部5は、マンホール本体2の内部に設けられる構成であるため、既設のマンホールにも誘導経路部5を容易に低コストかつ短時間に設けることができる。さらに濾過部材15が誘導経路部5内に備えられていることから、過剰間隙水に含まれる土や泥等を除去してマンホール1に導入することができる。また、濾過部材15が低強度であるため、所定以上の揺れが発生した場合に、濾過部材15が損傷して揺れを吸収することで、マンホール本体1や排水管3が損傷することを防止することができる。
本発明は、地震時の過剰間隙水による浮き上がりを防止するマンホールとして利用可能である。また、誘導経路部材5kは、既設のマンホールに備えて、地震時の過剰間隙水による浮き上がりを防止することが可能である。
図1(a)は、本発明のマンホールの断面図、図1(b)は、図1(a)のA−A断面図である。 誘導経路部材を説明する図である。 排水管の接続を示す図1(a)のPの拡大断面図である。 誘導経路部材の取り付けを示す図である。 図5(a)は、図1(a)のB−B断面図、図5(b)は、図1(a)のC−C断面図、図5(c)は、図1(a)のD−D断面図である。 地震時の排水管の接続部を示す図である。
符号の説明
1:マンホール、2:マンホール本体、2a:周壁、2b:貫通孔、3:排水管、4:開口部、5:誘導経路部、5a:第一開口部、5b:第二開口部、5k:誘導経路部材、5s:外周面、9:マンホール蓋、11:シール部、12:環状孔、15:濾過部材、16:ネット、21:地下水位

Claims (7)

  1. 地中に埋設され、一端に地上への開口部を有するマンホール本体と、
    そのマンホール本体の他端側の周壁に内外に貫通させた貫通孔に接続され、前記マンホール本体の内外の汚水流通を行うための排水管と、
    前記マンホール本体の内側に設けられ、前記他端側に前記マンホール本体外への通じる第一開口部と、前記一端側に前記マンホール本体内へ通じる第二開口部とを有し、前記マンホール本体外の液状化に伴う過剰間隙水を前記マンホール内へ導入する誘導経路部と、を備え、
    前記第一開口部には、前記排水管の外周面を取り囲む環状孔が形成され、前記排水管が前記環状孔にシール部を介して、前記マンホール本体に取り付けられたマンホール。
  2. 前記第二開口部は、地下水位よりも鉛直方向において地上側に設けられた請求項1に記載のマンホール。
  3. 前記誘導経路部は、前記マンホール本体の前記周壁部の内周面に沿って設けられた請求項1又は2に記載のマンホール。
  4. 前記第一開口部に、前記誘導経路部に流通する前記過剰間隙水を濾過する濾過部材が備えられた請求項1〜3のいずれか1項に記載のマンホール。
  5. 前記濾過部材は、前記排水管の外周を取り囲む形で前記第一開口部へ備えられた請求項4に記載のマンホール。
  6. 前記誘導経路部内に前記濾過部材を固定する網状固定部材が備えられた請求項4又は5に記載のマンホール。
  7. 前記濾過部材は、点加重が0.2kN以上0.6kN以下の範囲内で損傷する低強度濾過部材によって構成された請求項4〜6のいずれか1項に記載のマンホール。
JP2006122615A 2006-04-26 2006-04-26 低強度人工軽量ろ過材を用いた耐震構造のマンホール及び誘導経路部材 Active JP4885605B2 (ja)

Priority Applications (1)

Application Number Priority Date Filing Date Title
JP2006122615A JP4885605B2 (ja) 2006-04-26 2006-04-26 低強度人工軽量ろ過材を用いた耐震構造のマンホール及び誘導経路部材

Applications Claiming Priority (1)

Application Number Priority Date Filing Date Title
JP2006122615A JP4885605B2 (ja) 2006-04-26 2006-04-26 低強度人工軽量ろ過材を用いた耐震構造のマンホール及び誘導経路部材

Publications (2)

Publication Number Publication Date
JP2007291781A JP2007291781A (ja) 2007-11-08
JP4885605B2 true JP4885605B2 (ja) 2012-02-29

Family

ID=38762663

Family Applications (1)

Application Number Title Priority Date Filing Date
JP2006122615A Active JP4885605B2 (ja) 2006-04-26 2006-04-26 低強度人工軽量ろ過材を用いた耐震構造のマンホール及び誘導経路部材

Country Status (1)

Country Link
JP (1) JP4885605B2 (ja)

Family Cites Families (1)

* Cited by examiner, † Cited by third party
Publication number Priority date Publication date Assignee Title
JPH08165671A (ja) * 1994-12-14 1996-06-25 Fujita Corp マンホールの浮き上がり防止築造構造

Also Published As

Publication number Publication date
JP2007291781A (ja) 2007-11-08

Similar Documents

Publication Publication Date Title
CN111005759B (zh) 一种适用于寒冷地区的超长隧道清污分离排水结构
JP4836038B2 (ja) 道路用流出抑制排水工
Zhou et al. Management and mitigation of sinkholes on karst lands: an overview of practical applications
Beck Sinkholes in Florida: an introduction
Crawford et al. Sinkhole collapse and ground water contamination problems resulting from storm water drainage wells on karst terrain
JP5346731B2 (ja) 雨水地中浸透施設
CN109208426A (zh) 一种市政道路施工结构及其施工方法
US7473055B2 (en) Water retention system
KR101650285B1 (ko) 비탈면 배수시설
JP4885605B2 (ja) 低強度人工軽量ろ過材を用いた耐震構造のマンホール及び誘導経路部材
CN214459302U (zh) 利于道路路面铺装和净化路面排水水质的生态结构
CN210658632U (zh) 一种渗滤沟结构
CN205046437U (zh) 连锁式透水铺装地面
KR100560390B1 (ko) 구슬이 충전된 세굴방지틀체를 이용한 교량용 우물통기초의 세굴방지구조
JP2001172951A (ja) 浸透水排水構造およびその施工方法
JP2014084647A (ja) 排水システムおよび排水方法
KR200224165Y1 (ko) 소형 침투통
JP4510325B2 (ja) 泥溜め槽を有する雨水浸透施設
JP2008208689A (ja) 越流ろ過浸透兼用排水ブロック工
KR102868591B1 (ko) 준설토 매립지의 배수촉진장치 및 이를 이용한 체적팽창율 저감형 매립 방법
JPS6325141B2 (ja)
RU2237129C1 (ru) Способ защиты берегового откоса от разрушения
Penman Tailings dams: risk of dangerous occurrences
CN212772202U (zh) 一种采用生态方法固岸的驳岸结构
RU2453653C1 (ru) Способ строительства защитной дамбы на побережье арктического моря

Legal Events

Date Code Title Description
A521 Request for written amendment filed

Free format text: JAPANESE INTERMEDIATE CODE: A523

Effective date: 20080321

A711 Notification of change in applicant

Free format text: JAPANESE INTERMEDIATE CODE: A711

Effective date: 20080321

A521 Request for written amendment filed

Free format text: JAPANESE INTERMEDIATE CODE: A821

Effective date: 20080321

A621 Written request for application examination

Free format text: JAPANESE INTERMEDIATE CODE: A621

Effective date: 20090414

A977 Report on retrieval

Free format text: JAPANESE INTERMEDIATE CODE: A971007

Effective date: 20110201

A131 Notification of reasons for refusal

Free format text: JAPANESE INTERMEDIATE CODE: A131

Effective date: 20110906

A521 Request for written amendment filed

Free format text: JAPANESE INTERMEDIATE CODE: A523

Effective date: 20111025

TRDD Decision of grant or rejection written
A01 Written decision to grant a patent or to grant a registration (utility model)

Free format text: JAPANESE INTERMEDIATE CODE: A01

Effective date: 20111129

A01 Written decision to grant a patent or to grant a registration (utility model)

Free format text: JAPANESE INTERMEDIATE CODE: A01

A61 First payment of annual fees (during grant procedure)

Free format text: JAPANESE INTERMEDIATE CODE: A61

Effective date: 20111208

FPAY Renewal fee payment (event date is renewal date of database)

Free format text: PAYMENT UNTIL: 20141216

Year of fee payment: 3

R150 Certificate of patent or registration of utility model

Ref document number: 4885605

Country of ref document: JP

Free format text: JAPANESE INTERMEDIATE CODE: R150

Free format text: JAPANESE INTERMEDIATE CODE: R150

R250 Receipt of annual fees

Free format text: JAPANESE INTERMEDIATE CODE: R250

S533 Written request for registration of change of name

Free format text: JAPANESE INTERMEDIATE CODE: R313533

R350 Written notification of registration of transfer

Free format text: JAPANESE INTERMEDIATE CODE: R350

R250 Receipt of annual fees

Free format text: JAPANESE INTERMEDIATE CODE: R250

S111 Request for change of ownership or part of ownership

Free format text: JAPANESE INTERMEDIATE CODE: R313115

R360 Written notification for declining of transfer of rights

Free format text: JAPANESE INTERMEDIATE CODE: R360

R360 Written notification for declining of transfer of rights

Free format text: JAPANESE INTERMEDIATE CODE: R360

R371 Transfer withdrawn

Free format text: JAPANESE INTERMEDIATE CODE: R371

R250 Receipt of annual fees

Free format text: JAPANESE INTERMEDIATE CODE: R250

S111 Request for change of ownership or part of ownership

Free format text: JAPANESE INTERMEDIATE CODE: R313115

R350 Written notification of registration of transfer

Free format text: JAPANESE INTERMEDIATE CODE: R350

R250 Receipt of annual fees

Free format text: JAPANESE INTERMEDIATE CODE: R250

R250 Receipt of annual fees

Free format text: JAPANESE INTERMEDIATE CODE: R250

R250 Receipt of annual fees

Free format text: JAPANESE INTERMEDIATE CODE: R250

R250 Receipt of annual fees

Free format text: JAPANESE INTERMEDIATE CODE: R250

R250 Receipt of annual fees

Free format text: JAPANESE INTERMEDIATE CODE: R250

R250 Receipt of annual fees

Free format text: JAPANESE INTERMEDIATE CODE: R250

R250 Receipt of annual fees

Free format text: JAPANESE INTERMEDIATE CODE: R250

R250 Receipt of annual fees

Free format text: JAPANESE INTERMEDIATE CODE: R250

R250 Receipt of annual fees

Free format text: JAPANESE INTERMEDIATE CODE: R250