JP4864005B2 - 光レーザ誘導システム装置及び方法 - Google Patents

光レーザ誘導システム装置及び方法 Download PDF

Info

Publication number
JP4864005B2
JP4864005B2 JP2007541281A JP2007541281A JP4864005B2 JP 4864005 B2 JP4864005 B2 JP 4864005B2 JP 2007541281 A JP2007541281 A JP 2007541281A JP 2007541281 A JP2007541281 A JP 2007541281A JP 4864005 B2 JP4864005 B2 JP 4864005B2
Authority
JP
Japan
Prior art keywords
laser
vehicle
laser beam
controller
guidance system
Prior art date
Legal status (The legal status is an assumption and is not a legal conclusion. Google has not performed a legal analysis and makes no representation as to the accuracy of the status listed.)
Expired - Fee Related
Application number
JP2007541281A
Other languages
English (en)
Other versions
JP2008520046A (ja
Inventor
レデット、ロジャー・ジェイ.
イエストラウ、ジョン・イー.
Current Assignee (The listed assignees may be inaccurate. Google has not performed a legal analysis and makes no representation or warranty as to the accuracy of the list.)
Boeing Co
Original Assignee
Boeing Co
Priority date (The priority date is an assumption and is not a legal conclusion. Google has not performed a legal analysis and makes no representation as to the accuracy of the date listed.)
Filing date
Publication date
Application filed by Boeing Co filed Critical Boeing Co
Publication of JP2008520046A publication Critical patent/JP2008520046A/ja
Application granted granted Critical
Publication of JP4864005B2 publication Critical patent/JP4864005B2/ja
Anticipated expiration legal-status Critical
Expired - Fee Related legal-status Critical Current

Links

Images

Classifications

    • GPHYSICS
    • G05CONTROLLING; REGULATING
    • G05DSYSTEMS FOR CONTROLLING OR REGULATING NON-ELECTRIC VARIABLES
    • G05D1/00Control of position, course, altitude or attitude of land, water, air or space vehicles, e.g. using automatic pilots
    • G05D1/20Control system inputs
    • G05D1/24Arrangements for determining position or orientation
    • G05D1/242Means based on the reflection of waves generated by the vehicle
    • GPHYSICS
    • G05CONTROLLING; REGULATING
    • G05BCONTROL OR REGULATING SYSTEMS IN GENERAL; FUNCTIONAL ELEMENTS OF SUCH SYSTEMS; MONITORING OR TESTING ARRANGEMENTS FOR SUCH SYSTEMS OR ELEMENTS
    • G05B19/00Programme-control systems
    • G05B19/02Programme-control systems electric
    • G05B19/42Recording and playback systems, i.e. in which the programme is recorded from a cycle of operations, e.g. the cycle of operations being manually controlled, after which this record is played back on the same machine
    • G05B19/4202Recording and playback systems, i.e. in which the programme is recorded from a cycle of operations, e.g. the cycle of operations being manually controlled, after which this record is played back on the same machine preparation of the programme medium using a drawing, a model
    • G05B19/4207Recording and playback systems, i.e. in which the programme is recorded from a cycle of operations, e.g. the cycle of operations being manually controlled, after which this record is played back on the same machine preparation of the programme medium using a drawing, a model in which a model is traced or scanned and corresponding data recorded
    • GPHYSICS
    • G05CONTROLLING; REGULATING
    • G05DSYSTEMS FOR CONTROLLING OR REGULATING NON-ELECTRIC VARIABLES
    • G05D1/00Control of position, course, altitude or attitude of land, water, air or space vehicles, e.g. using automatic pilots
    • G05D1/02Control of position or course in two dimensions
    • G05D1/021Control of position or course in two dimensions specially adapted to land vehicles
    • G05D1/0231Control of position or course in two dimensions specially adapted to land vehicles using optical position detecting means
    • G05D1/0234Control of position or course in two dimensions specially adapted to land vehicles using optical position detecting means using optical markers or beacons
    • G05D1/0236Control of position or course in two dimensions specially adapted to land vehicles using optical position detecting means using optical markers or beacons in combination with a laser
    • GPHYSICS
    • G05CONTROLLING; REGULATING
    • G05BCONTROL OR REGULATING SYSTEMS IN GENERAL; FUNCTIONAL ELEMENTS OF SUCH SYSTEMS; MONITORING OR TESTING ARRANGEMENTS FOR SUCH SYSTEMS OR ELEMENTS
    • G05B2219/00Program-control systems
    • G05B2219/30Nc systems
    • G05B2219/36Nc in input of data, input key till input tape
    • G05B2219/36439Guide arm in path by slaving arm to projected path, beam riding
    • GPHYSICS
    • G05CONTROLLING; REGULATING
    • G05DSYSTEMS FOR CONTROLLING OR REGULATING NON-ELECTRIC VARIABLES
    • G05D2111/00Details of signals used for control of position, course, altitude or attitude of land, water, air or space vehicles
    • G05D2111/10Optical signals
    • G05D2111/17Coherent light, e.g. laser signals

Landscapes

  • Physics & Mathematics (AREA)
  • Engineering & Computer Science (AREA)
  • General Physics & Mathematics (AREA)
  • Automation & Control Theory (AREA)
  • Aviation & Aerospace Engineering (AREA)
  • Radar, Positioning & Navigation (AREA)
  • Remote Sensing (AREA)
  • Optics & Photonics (AREA)
  • Electromagnetism (AREA)
  • Control Of Position, Course, Altitude, Or Attitude Of Moving Bodies (AREA)
  • Manipulator (AREA)

Description

本発明はビークル誘導システムに関する。特に本発明は光レーザベースのナビゲーションおよびロボット製造装置用の制御システムに関する。
科学者は数年前から、自動化マシンまたはロボットが人間の代わりに多彩なタスクを行うように設計されることを予測しており、いつかロボットが日常的な物理的タスクの大部分を行うという一般的な予測は当たり前になっているが、この視野の実現は進歩が遅い。現代のマイクロプロセッサの性能は卓越しているが、ロボットマシンが人間により容易に行われる普通のタスクを実行できる前に、多くの難点が克服されるべきである。それにもかかわらずこの技術分野では、特に大量生産または高度の正確度の製造プロセスにおける特定化されたタスクを行うために開発された用途特定ロボットマシンに関して、大きな進歩がなされている。
多数の接合された付属物を有する静止ロボットは限定された領域内で特別な動作を行うようにプログラムされることができ、あるいはこのようなロボットは移動台により拡張された領域で転送されることができるが、種々の異なる表面上で移動路をナビゲートできる自由移動のロボットマシンの開発は更に困難であることが分かっている。移動体ロボットは自動誘導ビークル(AGV)の領域の技術の進歩に依存している。このようなビークルの多数のナビゲーション方式は、ジャイロスコープ、磁気センサ、ホイールエンコーダ、無線トランスポンダセンサ、全地球測位システム(GPS)またはレーザ反射器のような技術に基づいて、限定された成功を収めている。
残念ながら、これらの各システムは価格が合理的で必要な正確度と応答時間を与えていない。例えば幾つかの既存のシステムは必要な実時間計算が複雑であるために、応答時間の難点を有する。これらの難点は2次元ではなく3次元のナビゲーション及び制御が考慮されるときに一層難しくなる。他のシステムはある製造プロセスのように正角度の増加を必要とする応用では十分な正確性を与えない。さらに、既存の位置付けおよびナビゲーションシステムは価格面で無理である。
したがって、全て過大な価格を必要とせずに、2次元および3次元でビークルの位置を決定し修正するのに必要な実時間計算の量および複雑性を限定しながら、高度に正確な位置付けを行うことのできるビークルのナビゲーション及び制御用方法及び装置を提供することが望ましい。
前述の要件は本発明により十分に満足されることができる。1特徴では本発明の装置及び方法の幾つかの実施形態では、遠隔ソースから投影されるレーザビームの追跡によって、2次元および3次元でビークルの位置を決定し補正するのに必要な実時間計算の量および複雑性を制限しながら、高度の正確度で位置付けを行うロボットのようなビークルのレーザベースのナビゲーション誘導及び制御が提供される。
本発明の1特徴によれば、光レーザ誘導システムはレーザビームの位置を感知し、それに応答して位置信号を発生するためのレーザセンサを含んでいる。システムはまたビークル駆動アクチュエイタも含んでいる。レーザセンサとビークル駆動アクチュエイタは制御装置に連結され、制御装置は位置信号を受信し、その位置信号に応答してビークル駆動アクチュエイタを制御する。
本発明の別の特徴によれば、感知されたレーザビームの位置に関する入力に基づいて制御装置がビークルを誘導することを可能にする方法は、レーザセンサからの信号の受信を含んでおり、その信号はレーザビームの位置を表し、表示する信号を解釈する信号である。その方法は更にレーザビームの位置を追跡するためにビークルを制御する制御信号を発生し、その制御信号をビークル駆動アクチュエイタへ送信するステップを含んでいる。
さらに本発明の別の特徴によれば、ビークルの誘導路を生成する方法は、ビークルの誘導路をダイナミックに生成するためにレーザビームを逐次的に指向する方向のシーケンスの決定を含んでいる。その方法は更にビークルの誘導路をダイナミックに生成するように一連の方向のシーケンスでレーザ源を逐次的に指向するための制御信号を発生し、その制御信号をレーザ源へ送信するステップを決定する。さらに、その方法はビークルの誘導路をダイナミックに生成するように方向のシーケンスでレーザビームを逐次的に指向するステップを含んでいる。
本発明による更に別の特徴では、光レーザ誘導システムはビークルの誘導路をダイナミックに生成するようにレーザビームを逐次的に指向する方向のシーケンスを決定する手段を含んでいる。レーザ誘導システムはまたビークルの誘導路をダイナミックに生成するように方向のシーケンスでレーザ源を逐次的に指向するための第1の制御信号を発生する手段と、制御信号をレーザ源へ送信する手段とを含んでいる。さらに、レーザ誘導システムはビークルの誘導路をダイナミックに生成するように方向のシーケンスでレーザビームを逐次的に指向する手段と、レーザビームの位置を表す信号をレーザセンサから受信する手段と、表示信号を解釈する手段を含んでいる。さらに、レーザ誘導システムはレーザビームの位置を追跡するようにビークルを制御するための第2の制御信号を発生する手段と、この第2の制御信号をビークル駆動アクチュエイタへ送信する手段を含んでいる。
本発明の更に別の特徴によれば、検出されたレーザビームの位置に関する入力に基づいて制御装置がビークルを誘導することを可能にするコンピュータプログラムプロダクトを提供する。このコンピュータプログラムプロダクトは制御装置が予め定められた動作を行うことを可能にするソフトウェア命令と、そのソフトウェア命令を伝えるコンピュータの読取可能な媒体を含んでいる。予め定められた動作はレーザビームの位置を表す信号をレーザセンサから受信し、その位置を表している信号を解釈してレーザビームの位置を追跡するようにビークルを制御するための制御信号を発生し、その制御信号をビークル駆動アクチュエイタへ送信する動作を含んでいる。結果として、制御装置はレーザビームの位置を検出するようにビークルを制御することが可能にされる。
本発明の更に別の特徴によれば、コンピュータがレーザ源に対してビークルの誘導路を生成させることを可能にするコンピュータプログラムプロダクトを提供する。そのコンピュータプログラムプロダクトは制御装置が予め定められた動作を行うことを可能にするソフトウェア命令と、そのソフトウェア命令を保持するコンピュータの読取可能な媒体を含んでいる。予め定められた動作は、ビークルの誘導路をダイナミックに生成するためにレーザビームを逐次的に指向する方向のシーケンスを決定し、ビークルの誘導路をダイナミックに生成するように方向のシーケンスでレーザ源を逐次的に指向するための制御信号を生成し、その制御信号をレーザ源へ送信する動作を含んでいる。結果として、コンピュータプロセッサはビークルの誘導路をダイナミックに生成するためレーザ源を制御することができる。
本発明のある実施形態について広く概説し、その詳細な説明を良好に理解できるようにすることにより、技術に対する本発明の貢献がより良好に認識されるであろう。勿論、以下説明し、特許請求の範囲の主題を形成する本発明の付加的な実施形態が存在する。
これについて、本発明の少なくとも1つの実施形態を詳細に説明する前に、本発明はその応用において、構造の詳細と、以下の説明で説明されているまたは図面で示されているコンポーネントの構成に限定されないことが理解されよう。本発明は説明したものに付加した実施形態が可能であり、種々の方法で実施することができる。またここで使用されている語句及び用語、ならびに要約は説明のためのものであり、技術的範囲の限定としてみなされてはならないことが理解されよう。
このように、当業者はこの説明が基礎とする概念が本発明の幾つかの目的を実行するための他の構造、方法、システムの設計の基礎として容易に使用されることができることを認識するであろう。それ故、請求項は本発明の技術的範囲を逸脱しない限りにおいて、このような等価構造を含むものと考えられることが重要である。
本発明を図面を参照して説明するが、類似の参照符合は全体を通して類似の部分を指している。図1に示されている本発明による好ましい実施形態は、レーザ源12および関連されるプロセッサ14と、ビークル上に設けられたレーザセンサ16と、2つの駆動アクチュエイタ、即ちビークルに設けられた駆動ホイールアクチュエイタ18および操縦アクチュエイタ20と、関連される制御装置22とを含んでいる光レーザ誘導システム10を提供する。
この実施形態では、レーザビームは輪郭表面24に対応する誘導路の輪郭を描くように投影され、レーザセンサ16は連続的またはパルスで投射されることのできるレーザビームの位置を検出する。ここで使用されているように、誘導路はビークルのナビゲーション誘導を行うスペースを通して投影された曲線路を表している。誘導路は2次元または3次元表面に位置するか、それらに対応し、或いは任意の表面から独立することができる。プロセッサ14は予め定められた基準位置に関してレーザビームの位置を決定し、ビークルに投影された誘導路を追跡させるために操縦アクチュエイタ20にコマンドを送るための制御信号を発生する。本発明のこの実施形態はしたがって遠隔ソースから投影されたレーザビームを追跡することによってビークルのナビゲーション誘導及び制御を行う。
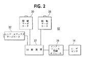
本発明の別の実施形態は光レーザ誘導システム52の1例を示している図2に示されている。この実施形態はレーザソース16及び関連されるインターフェース制御モジュール26を含んでいる。この実施形態は2つの駆動アクチュエイタ、即ち駆動サーボモータ28と操縦サーボモータ30も含んでおり、これらはそれぞれ電子的に制御装置22に連結されている。さらにこの実施形態は電子的に制御装置22に連結されているエンドエフェクタサーボモータ32またはアクチュエイタを含んでいる。レーザセンサ16及び関連されるインターフェース制御モジュール26も制御装置22に連結されている。
この実施形態では、駆動サーボモータ28と操縦サーボモータ30は、ビークル上の駆動機構と操縦機構を含む駆動システムにそれぞれ機械的に結合されている。駆動機構は任意の適切な装置、または1つのまたは多数の駆動可能なホイール、1つのまたは多数の駆動可能なトラック等のようなビークルを推進することのできる装置の組合せを含むことができる。同様に、操縦機構は任意の適切な装置、または1つのまたは多数の操縦可能なホイール、或いは多数の差速度ホイールまたはトラック等のようなビークルの移動方向を変更できる装置の組合せを含むことができる。
エンドエフェクタサーボモータ32はロボットのエンドエフェクタ、例えばテープ積層材料分配ヘッドのような製造ツールに機械的に結合されている。このような装置の1例は米国特許出願第10/437,067号明細書(Vacuum Assisted Ply Placement Shoe and Method、Ledet等、2003年5月14日提出)に記載されている。用語「エンドエフェクタ」はここでは溶接、切断、穴あけ、洗浄、塗装、処理、転送等を含む製造プロセスまたは非製造タスクのような幾つかの有用な機能を行うためにビークルまたはロボットに取りつけられることのできる任意の機構または装置を指すために使用されている。
この実施形態では、誘導路を描くために外部ソースから投影されるレーザビームはレーザセンサ16により検出され、そのレーザセンサはレーザビームの位置を表す電気信号を発生する。この信号はインターフェース制御モジュール26へ送信され、インターフェース制御モジュール26は信号を調節し、これを制御装置22へ送信する。制御装置22はレーザセンサ16に関する予め定められた基準位置に関してレーザビームの位置を決定するためのアルゴリズムを実行する。
基準位置からの予め定められた距離よりも遠いレーザビームに応答して、制御装置22はレーザビームと基準位置の間の距離と、基準位置からレーザビームへの方向(左または右)を使用して、適切な電気操縦制御信号を発生し、この信号は操縦サーボモータ30へ送られ、基準位置とレーザビームとの間の距離に比例して、操縦サーボモータ30を特定の角度位置へ回転させ、操縦可能なホイールはビークル路を誘導路の方向へ修正して調節する方向の特定の角度に向けられる。操縦制御信号を連続的に調節することによって、制御装置22は投影されたレーザビームをビークルに追跡させる。
図2に示されている1例のレーザセンサ16は構造産業ではグレーダ制御システムで普通に使用されるタイプのフォトダイオードアレイを具備する線形のレーザ受信機である。これらのシステムでは、感光性セルのアレイは、アレイ上の予め定められた基準の高さに関して、投影されたレーザビームがアレイに衝突する高さを認識するための比例レーザ受信機として構成されることができる。これらのシステムでは、レーザビームは構造場所の所望のグレードレベルからの予め定められた高さに投影され、レーザ受信機はグレーダブレードの下部エッジからその高さに取り付けられる。グレード動作期間中、グレードレベルはレーザビームの高さと基準の高さとの差に関して手作業でまたは自動的に調節され、それによって正確なグレードレベルを維持する。
本発明の1実施形態はApache Technologies BULLSEYE(商標名)5MCの比例レーザ受信機を有している。それにもかかわらず、ビークル応用に適するのに十分な正確度を有する任意の光検出器がレーザセンサ16として代りに使用されることができることが認識されよう。これは1以上の感光性または光能動性アレイを有する任意の適切な装置を含んでいる。例えば本発明の1実施形態はレーザセンサ16として電荷結合装置(CCD)カメラまたはマシンビジョンシステムを構成することができる。
レーザセンサ16は線形または比例であってもよく、アレイに対するレーザビームの入射に関する1次元の位置的なフィードバック(例えば上下または左右)を提供してもよく、或いは2次元の位置的なフィードバック(例えば前後左右)を行ってもよい。1実施形態では、360度の比例レーザ受信機における4つの線形の感光性アレイのうちの3つはディスエーブルされ、レーザ受信機の1表面上の残りの1つの感光性アレイが入射する光ビームの検出に使用される。さらに、感光性アレイは磨耗されたテクスチャ仕上げで赤色光フィルタペインにより被覆され、色のスペクトルと投射レーザビームの屈折拡散を制御する。光濾波ペインはまた周囲のソースにより生じる影響を最少にすることによって感光性アレイの性能を強化する。
本発明の幾つかの好ましい実施形態では、インターフェース制御モジュール26は、使用される特定のレーザセンサ16と制御装置22との間の適合性に適するようにレーザセンサ16からの位置的なフィードバック信号を調節する。本発明の幾つかの実施形態では、特定のレーザ受信機と共に使用されるように製造された市場で入手可能な制御ボックスが用いられる。
例えば、本発明の特定の実施形態では、Apache Technologies Model 24制御ボックスが所望の機能を行うために変形して使用される。この実施形態では、インターフェース制御モジュール26は使用される感光性ダイオードのアレイを15個のセグメントまたはバンドへアレイを横切って効率的に分割する。1つのセグメントはアレイの中心またはレーザ受信機の中心に存在する。さらに7個のバンドは中心セグメントのいずれかの側面に位置する。インターフェース制御モジュール26はユーザにセグメントまたはバンドの実効的な幅を変化する能力を提供し、したがって位置信号の正確度と感光性アレイのアクチブ部の幅全体を変化させる。さらに、インターフェース制御モジュール26は出力信号のリフレッシュレート、即ち出力信号を更新させる頻度を調節する能力を提供する。
他の実施形態では、実施形態で使用される特定のレーザセンサ16と制御装置22とにしたがって、異なるインターフェース制御モジュール26が含まれることができる。レーザセンサ16と制御装置22と完全なインターフェースに対する適合能力のための全ての適切な機能を含むさらに他の実施形態では、インターフェース制御モジュール26は随意選択的であり、したがってシステムの機能全体に影響せずに省略される。
適切な制御装置22の概略図が図3に示されている。この制御装置22は、プロセッサ34と、メモリ36と、駆動サーボモータ28、操縦駆動モータ30、エンドエフェクタサーボモータ32にそれぞれ対応する3つのサーボ駆動増幅器38、40、42とを含んでいる。制御装置22はまた3つのサーボ駆動増幅器38、40、42とプロセッサ34にそれぞれ対応する入力/出力(I/O)ポート44、46、48、50を含んでいる。
制御装置22はさらに、例えば対話、メニュー駆動、視覚的ディスプレイベースのユーザインターフェースにより、ユーザへ情報を通信し、ユーザの入力を受けるためのディスプレイまたはモニタ或いはキーまたはボタンのようなユーザインターフェースを含むことができる。本発明の種々の実施形態は音声付勢システムを含めた一体化された可視的表示装置またはボタン或いはキーを有するかそれらをもたない任意の数の適切な機能ユーザインターフェース方式を含んでいる。
本発明の幾つかの実施形態では、レーザセンサ16からの入力信号を処理し、駆動ホイールアクチュエイタ18、操縦アクチュエイタ20、エンドエフェクタアクチュエイタ32の制御信号を発生するための命令を含むコンピュータプログラムはI/Oポート50によって制御装置22へパーソナルコンピュータからまたは、コンピュータの読取可能な媒体からオブジェクトコードを読取りそれを制御装置22へ送信することのできるその他の装置からダウンロードされ、プログラムはメモリ36中に記憶される。プロセッサ34はプログラムを実行し、これはレーザ受信機アレイの中心からレーザビームへの方向(左または右)と距離を決定し、操縦サーボ駆動増幅器40へ送信される応答制御信号を発生するためのアルゴリズムを行う。操縦サーボ駆動増幅器40は制御信号を増幅し、結果的な操縦制御信号をI/Oポート46により操縦サーボモータ30へ送信する。
ビークルまたはロボットの態様は、プログラムが動作する時間量、移動されるコースの長さまたはビークルが動作する速度のようなプログラムにおけるあるパラメータを変化することにより変更されることができる。幾つかの実施形態では、これらのパラメータはコンピュータプログラムを変更することにより変化されることができる。別の実施形態では、プログラムはこれらのパラメータを設定するためのプログラムの開始時にユーザ入力をリクエストすることができる。さらに他の別の実施形態では、プログラムはユーザに対して、あるパラメータを入力するか、予めプログラムされたデフォルトパラメータを使用するかの選択をユーザに与えることができる。
本発明のさらに別の好ましい実施形態では、投影されるレーザの誘導路に加えて、レーザセンサ16は光制御メッセージも受信できる。例えばレーザセンサ16は誘導路が通常受けられる中心領域から遠いレーザセンサ16部分上でシンボル、バーコードまたは形状を弁別するためのレーザセンサ16の能力にしたがって、予め定められたシンボル、バーコードまたは形状の形態の光制御メッセージと共に誘導路を断続的に受けることができる。制御装置22は種々のこのような光制御メッセージを認識し、それぞれビークルまたはロボットの付加的な機能のための制御信号を発生するようにプログラムされることができる。
特定の例として、図2に示されている光レーザ誘導システム52では、いずれかの側にレーザ受信機の感光性アレイの中央セグメントと7つのバンドのうちの5つを表す位置フィードバック信号に応答して、制御装置22は操縦制御信号を発生するようにプログラムされることができる。この例では、制御装置22はさらに感光性アレイのいずれかの端部で2つのバンドから受信される位置フィードバックに基づいて付加的な制御信号を発生するようにプログラムされることができる。したがって動作期間中の幾つかの時点で、レーザビームはビークルまたはロボットに対して、エンドエフェクタを前方駆動、逆方向駆動、停止、上げ下げ等の予め定められた機能を行うように命令するために瞬間的にこれらの外部の4つの帯域のうちの1つを目標とすることができる。
特定の例として、中心の右側の最後の(第7の)バンドを表す位置フィードバックに応答して、制御装置22はテープ積層材料分配ヘッドを上げるためにエンドエフェクタサーボ駆動増幅器42へ送信するための制御信号を発生するようにプログラムされることができる。サーボ駆動増幅器42はテープ積層材料分配ヘッドを予め定められた位置まで上げるために、制御信号を増幅し、I/Oポート48により結果的なエンドエフェクタ制御信号をエンドエフェクタサーボモータ32へ送信する。
同様に、操縦制御に使用されないレーザ受信アレイの残りのバンドまたはセグメントは、付加的な個々の制御メッセージを割当てられることができ、それに応答して、制御装置22は駆動ホイールアクチュエイタ18、操縦アクチュエイタ20、エンドエフェクタアクチュエイタ32の能力とこれらのそれぞれに取り付けられた機構にしたがって付加的な機能を命令するようにプログラムされることができる。
本発明の別の実施形態では、他の制御メッセージ方式は、このような制御メッセージを認識し弁別するために1実施形態で使用される特定のレーザセンサ16の能力にしたがって制御装置22にプログラムされることができる。同様に、本発明の他の別の実施形態は付加的な位置信号または制御メッセージを受信するため制御装置22に連結される多数のレーザセンサを備えることができる。
1つの好ましい実施形態のエンドエフェクタアクチュエイタ32はテープ積層材料分配ヘッドに結合されているが、本発明の別の実施形態においては、任意の他の装置がテープ積層材料分配ヘッドの代わりにエンドエフェクタアクチュエイタ32に結合されることができることが認識されるであろう。例えばエンドエフェクタは穿孔取付け、または研磨マシン取付けまたは塗布具、或いは任意の他の製造工具または非製造プロセスを行うように構成されている任意の装置を具備することができる。さらに、与えられた実施形態で使用される特定のエンドエフェクタにしたがって、制御装置22はサーボモータ以外の電子機械装置を制御するように構成されることができ、このような装置は使用される特定のエンドエフェクタとインターフェースし、その機能を制御するために必要とされるように本発明の種々の実施形態に含まれることができる。
さらに、図2に示されている実施形態は単一のエンドエフェクタサーボモータ32を示しているが、別の実施形態では付加的なエンドエフェクタ機構のための付加的なサーボモータを備えることができる。したがって、本発明の1実施形態は、全て制御装置22に連結されビークルまたはロボットに取り付けられている穿孔取付け、研磨マシン取付け、塗布工具のような多数のエンドエフェクタを具備することができる。
さらに、本発明による他の実施形態は1、2、3個以上を超えるサーボモータを駆動するように構成された1、2、3個を超えるサーボ駆動増幅器を具備する制御装置22を含むことができる。さらに本発明の1実施形態はそれぞれ多数のサーボ駆動増幅器を含んでいる多数の制御装置を有することができる。本発明の別の実施形態では、多数の制御装置を多数のレーザセンサと組み合わせると、任意の数のサーボモータが単一のビークルまたはロボットで、または多数のビークルまたはロボットで同時に制御されることができる。
独立した制御装置22を使用する光レーザ誘導システム52の1例が図2に示されているが、制御装置22の幾つかまたは全ての機能が、制御装置22に連結されるパーソナルコンピュータを含めた外部の、付加的または代りのコンピュータプロセッサにより行われることができることが認識されるであろう。本発明の幾つかの好ましい実施形態では、制御装置22は通信ポート50と、パーソナルコンピュータへ結合するための対応する外部コネクタを含み、これはソフトウェアを制御装置22へダウンロードするために使用されるか、または制御装置22の機能を置換するかそれに付加することができる。
幾つかの好ましい実施形態では、ユーザは制御装置22に連結されているパーソナルコンピュータを使用して手作業でコマンドを入力することができる。このような手作業のコマンドに応答して、制御装置22は適切な制御信号をサーボモータ16、18、20のうちの1つへ送信するために適切な制御信号を発生することができる。例えば好ましい実施形態では、ユーザは手作業でコマンドを入力して、ビークルまたはロボットにスタートまたはストップさせ、前方または逆方向に駆動させ、或いはエンドエフェクタにそのエンドエフェクタを上げ下げする等の幾つかのタスクを行わせることができる。それに応答して、パーソナルコンピュータはコマンド信号を制御装置22へ送信し、それは結果的な制御信号を発生して駆動サーボモータ16を特定されたまたは予め定められた速度でいずれかの方向に回転させ、またはエンドエフェクタサーボモータ32を回転させる。
本発明の装置及び方法の別の好ましい実施形態では、図2に示されている前述のコンポーネントは図1に示されているようにレーザソース12と組み合わせられる。この実施形態では、レーザソース12はプロセッサ14に連結されているレーザ投影装置を含んでいる。プロセッサ14は誘導路または光制御メッセージを逐次的に投影するためにレーザビームを指向する方向のシーケンスを決定し、レーザ投影制御信号を発生するアルゴリズムを実行する。例えば本発明の好ましい実施形態では、プロセッサ14は誘導路プログラミングアルゴリズムにより発生されたデータファイルに応答してレーザ投影装置制御信号を発生する。レーザ投影装置はこの制御信号を受信し、それに応答して、静止フレーム写真のシーケンスから作られる動画に類似の方法で、結果的な誘導路が連続的に現われる頻度で、短時間に誘導路に沿った特定位置にレーザビームを投影し、別の短時間に誘導路に沿った別の位置にレーザビームを投影する。
レーザ誘導システム10と共に使用するための適切なレーザ投影装置の1例はVirtek LaserEdge(商標名)投影システムであり、それは2次元および3次元の製造テンプレートを作業表面に投影するための製造プロセスで使用するために開発された。このタイプのシステムでは、コンピュータプロセッサはミラーの組合せにより単一の正確なレーザビームを制御し、そのレーザビームは逐次的に作業表面へ投影されまたは走査されて、2次元または3次元の設計テンプレートの高い正確度の可視的外形を生成し、伝統的な物理的マスクまたはテンプレートと置換される。これらのシステムの再生可能な正確度を確実にするために、レーザ反射器がワークピースまたは製造工具上に置かれ、反射されるレーザビームの角度が作業表面に関するレーザ投影装置の正確な位置を決定するために使用される。
さらに、このタイプのレーザ投影システムは書き込まれる命令をワークピースまたは製造工具の表面へ投影するようにプログラムされることができる。この種の正確なレーザのテンプレート化及び位置付けは航空宇宙および交通システム製造、特に複雑なコンポーネントの製造および、予め作られた屋根のセグメント、ドア、壁のパネル、床のトラスのような予め作られた建築コンポーネントの製造で広く使用されている。
このタイプの投影システムは米国特許第5,381,258号明細書に記載されており、その全体がここで参考として組み込まれている。しかしながら、2次元の誘導路を投影することのできる任意のレーザ投影システム、または3次元の誘導路を投影することのできる任意のレーザ投影システムは本発明の実施形態におけるレーザ投影装置の目的に対しては十分である。
幾つかの実施形態では、誘導路は2次元であり、即ち誘導路は平面に対応し、或いは製造ワークピースまたは工具の場合のように例えば輪郭表面に対応して3次元であることができる。さらに誘導路はビークルまたはロボットが移動する実際の物理的表面上に存在してもよく、或いはビークルに取り付けられるときレーザセンサ16の高さと向きに対応して表面の上方に距離をおいて存在することもできる。
本発明のある好ましい実施形態の利点は、誘導路プログラミングアルゴリズムがビークルの表面路に関してレーザセンサ16の位置の横方向および垂直方向のオフセットを考慮し、オフセット情報を誘導路データファイルに含ませることであり、それはプロセッサ14と適合可能なフォーマットに変換される。例えばレーザビームがレーザセンサ16により直接受信されるか受光される1実施形態では、誘導路プログラミングアルゴリズムはビークルの向きと、誘導路またはビークル路に沿った任意の所定の点におけるレーザセンサ16の結果的な位置を考慮に入れる。この機能は特に、ビークルのベースの形態と移動表面の局部的な外形が、レーザセンサ16の向きが誘導路またはビークル路に対応する移動表面上の1点に垂直な線に対応しないという点で有用である。
誘導路は連続的な投影ではなく、個々の点またはドットの逐次的な投影であるので、レーザ投影装置は誘導路に加えてグラフィックコードまたは光制御メッセージを同時に投影するようにプログラムされることができる。この場合、プロセッサ14はレーザセンサ16の遠隔部分にレーザビームを断続的に投影するようにレーザ投影装置に命令し、それによって誘導路自体から弁別されることができ、制御装置22が認識及び解釈するようにプログラムされるグラフィックシンボルまたは形態を形成する。
個々のレーザ投影装置を使用するレーザ源12の1例が図1に示されているが、多数のレーザ投影がより大きな領域をカバーするために使用されることができることが認識されるであろう。したがって、代わりの実施形態では、任意の数の個々のレーザ投影装置が可視的に任意の大きさの領域にわたって効率的に誘導路を投影するため直列または並列に接続されることができる。
本発明の更に別の実施形態では、回転しているレーザが2次元の誘導路の投影に使用されることができる。この簡単にされたレーザ源12はコンピュータ処理を必要とせず、したがってプロセッサと独立して動作できる。
図1に示されている例のプロセッサ14は通常のパーソナルコンピュータ(PC)を表しているが、他の実施形態では、プロセッサ14はサーバ、ネットワーク化されたサーバまたはパーソナルコンピュータ、メインフレームコンピュータ等の集合体のような任意の適切なデータ処理システムを含むことができることが認識されるであろう。さらに幾つかの実施形態では、プロセッサ14と制御装置22の両者の機能は各レーザセンサ16、アクチュエイタ18、20、32、レーザ源12に連結されている単一のコンピュータ中に結合されることができる。
同様に、プロセッサ14により行われる処理機能は、関連されるキーボード、マウス、モニタのような周辺装置を有するコンピュータシステムによって、または関連される周辺装置をもたないコンピュータシステムによって別の実施形態で同様に行われることができることが認識されるであろう。さらに、プロセッサ14により行われる処理機能は幾つかの実施形態では、レーザ投影装置中に含まれる埋設されたシステムにより行われることができる。
さらに、図1、2、3の種々の例の通信リンクは直接ケーブル接続を使用して示されているが、設計により所望され、或いは必要とされるように、他の実施形態は、任意の関連される送信プロトコルと共に、モデム、ネットワークインターフェースカード、直列バス、並列バス、LANまたはWANインターフェース、無線または光インターフェース等を含めたプロセッサベースのシステムを結合するように構成される任意の関連されるソフトウェアまたはファームウェアを含む装置の任意の組合せを有することができることが認識されるであろう。
さらに、図1、2、3の任意の通信リンクは別の実施形態では、私設ネットワーク、公共ネットワーク、構内網(LAN)、広域網(WAN)、イーサネット(登録商標)ベースのシステム、トークンリンク、インターネット、イントラネットまたはエクストラネット、付加価値通信網、TIまたはE1装置を含む電話ベースのシステム、非同期転送モード(ATM)ネットワーク、有線システム、無線システム、光学システム、任意の多数の分布処理ネットワークまたはシステムの組合せ等を含めた、コンピュータベースのシステムを連結することのできる装置及びシステムの実行可能な種々の組合せを含む通信ネットワークによって置換或いは補足されることができる。
本発明の多くの特徴及び利点は明細書の詳細な説明から明白であり、したがって特許請求の範囲によって、本発明の技術的範囲内が本発明の全てのこのような特徴および利点をカバーすることを意図している。さらに、多数の変形及び変更が当業者により容易におこなわれるので、本発明をここで示し説明した構造及び動作と同じであるように限定することを望むものではなく、全ての適切な変形および等価物は本発明の技術的範囲に含まれるべきである。
本発明の好ましい実施形態による光レーザ誘導システムを示す図。 本発明の別の好ましい実施形態による光レーザ誘導システムを示す図。 図2の光レーザ誘導システムに適合する制御装置のシステムアーキテクチャを示す図。

Claims (13)

  1. レーザビームを照射するレーザ源と、
    ビークルに取り付けられ、前記レーザ源から照射されるレーザビームを受光するレーザ受信機を備えて、該レーザ受信機上に予め設定された基準位置を基準とした該レーザ受信機上におけるレーザビームの入射位置を示す信号を発生するように構成されたレーザセンサと、
    前記ビークルに取り付けられたビークル駆動アクチュエイタと、
    前記ビークルに取り付けられ、前記レーザ受信機上のレーザビームの入射位置を示す信号を受信するために前記レーザセンサに連結され、そして前記ビークル駆動アクチュエイタに連結される制御装置と、
    前記ビークルに取り付けられたエンドエフェクタアクチュエイタと、
    該エンドエフェクタアクチュエイタに連結され、前記制御装置に連結され、製造または製作プロセスを行うために前記ビークルに取り付けられているエンドエフェクタとを有して構成され、
    前記レーザ源は、前記ビークルの進行経路を誘導路に沿うようにするための誘導路を示すレーザビームと、制御メッセージを示すレーザビームとを、前記レーザセンサに向けて時分割に照射し、
    前記制御装置は、誘導路を示すレーザビームの前記レーザ受信機上の入射位置と前記レーザ受信機上の基準位置との間の距離が所定の距離よりも大きい場合に、前記ビークル駆動アクチュエイタを制御し、
    前記制御装置は、前記レーザセンサから受信される、前記制御メッセージに対応する信号を認識して解釈するように構成され
    前記制御装置は、前記エンドエフェクタを制御することを特徴とする、ビークル用の光レーザ誘導システム。
  2. ビークル駆動アクチュエイタはサーボモータを具備している請求項1記載の光レーザ誘導システム。
  3. さらに、ビークル駆動アクチュエイタに関連されるビークル駆動システムを具備し、制御装置はビークル駆動アクチュエイタによりビークル駆動システムを制御する請求項1記載の光レーザ誘導システム。
  4. ビークル駆動システムは少なくとも1つの駆動可能なホイールを具備している請求項3記載の光レーザ誘導システム。
  5. ビークル駆動システムは少なくとも1つの操縦可能なホイールを具備している請求項3記載の光レーザ誘導システム。
  6. ビークル駆動システムは、第1の駆動機構と第2の駆動機構とを具備し、第1の駆動機構は第2の駆動機構に関して差相対速度で駆動することが可能である請求項3記載の光レーザ誘導システム。
  7. 制御装置はビークル駆動アクチュエイタによりビークル駆動システムを制御し、誘導路を示すレーザビームのレーザ受信機上の入射位置とレーザ受信機上に予め設定された基準位置との間の距離が所定の距離よりも大きい場合にビークルの移動方向を変化させ、ビークルはレーザビームの位置に対応するパスに沿って移動する請求項1記載の光レーザ誘導システム。
  8. ビークルは輪郭表面に対応している3次元路に沿って移動する請求項7記載の光レーザ誘導システム。
  9. 誘導路は輪郭表面に対応する3次元路である請求項1記載の光レーザ誘導システム。
  10. さらに、レーザ源を制御するためにレーザ源に連結されているプロセッサを具備している請求項1記載の光レーザ誘導システム。
  11. プロセッサは、輪郭表面上のビークルの向きにより、ビークルの表面路に関してレーザセンサの位置の横方向のオフセットおよび垂直方向のオフセットを考慮に入れた誘導路プログラミングアルゴリズムに応答してレーザ源を制御する請求項10記載の光レーザ誘導システム。
  12. 単一のコンピュータシステムがプロセッサと制御装置の両者を具備している請求項10記載の光レーザ誘導システム。
  13. レーザ源から、ビークルを誘導するための誘導路を示すレーザビームと、制御メッセージを示すレーザビームとを、前記ビークルに取り付けられたレーザセンサに向けて時分割に照射するステップと、
    前記レーザセンサ上に設けられたレーザ受信機上の予め設定された基準位置を基準にした、該レーザ受信機上におけるレーザビームの入射位置を示す信号を生成して、該信号を前記レーザセンサから、前記ビークルに取り付けられた制御装置へ送信するステップと、
    該制御装置により、前記レーザセンサから受信される、前記制御メッセージに対応する信号を認識して解釈するステップと、
    誘導路を示すレーザビームの前記レーザ受信機上の入射位置と前記レーザ受信機上の基準位置との間の距離が所定の距離よりも大きい場合に、前記制御装置から、前記ビークルに取り付けられたビークル駆動アクチュエイタに向けて制御信号を送信するステップとを有し、
    前記ビークルには、前記制御装置により制御されるエンドエフェクタが取り付けられ、
    該エンドエフェクタにより、少なくとも製造プロセスおよび非製造プロセスのいずれか1つを実行するステップをさらに有することを特徴とする、レーザビームによりビークルを誘導する方法。
JP2007541281A 2004-11-12 2005-11-03 光レーザ誘導システム装置及び方法 Expired - Fee Related JP4864005B2 (ja)

Applications Claiming Priority (3)

Application Number Priority Date Filing Date Title
US10/986,292 US7536242B2 (en) 2004-11-12 2004-11-12 Optical laser guidance system apparatus and method
US10/986,292 2004-11-12
PCT/US2005/040501 WO2006083340A1 (en) 2004-11-12 2005-11-03 Optical laser guidance system apparatus and method

Publications (2)

Publication Number Publication Date
JP2008520046A JP2008520046A (ja) 2008-06-12
JP4864005B2 true JP4864005B2 (ja) 2012-01-25

Family

ID=36387458

Family Applications (1)

Application Number Title Priority Date Filing Date
JP2007541281A Expired - Fee Related JP4864005B2 (ja) 2004-11-12 2005-11-03 光レーザ誘導システム装置及び方法

Country Status (6)

Country Link
US (2) US7536242B2 (ja)
EP (1) EP1810100B1 (ja)
JP (1) JP4864005B2 (ja)
KR (1) KR101146468B1 (ja)
ES (1) ES2621193T3 (ja)
WO (1) WO2006083340A1 (ja)

Families Citing this family (83)

* Cited by examiner, † Cited by third party
Publication number Priority date Publication date Assignee Title
US7536242B2 (en) * 2004-11-12 2009-05-19 The Boeing Company Optical laser guidance system apparatus and method
US7766063B2 (en) * 2005-04-28 2010-08-03 The Boeing Company Machine assisted laminator and method
JP4267005B2 (ja) * 2006-07-03 2009-05-27 ファナック株式会社 計測装置及びキャリブレーション方法
DE102006052592B4 (de) * 2006-11-08 2013-09-12 Eads Deutschland Gmbh Verfahren zur Ablage großer trockener Textilfaserbahnen
US8029642B2 (en) 2007-07-27 2011-10-04 The Boeing Company Tape removal apparatus and process
US7555404B2 (en) * 2007-08-09 2009-06-30 The Boeing Company Methods and systems for automated ply boundary and orientation inspection
US8345269B2 (en) 2007-09-22 2013-01-01 The Boeing Company Method and apparatus for measuring the width of composite tape
SG152090A1 (en) * 2007-10-23 2009-05-29 Hypertronics Pte Ltd Scan head calibration system and method
US7922856B2 (en) 2008-01-02 2011-04-12 The Boeing Company Graphite tape supply and backing paper take-up apparatus
US9694546B2 (en) * 2008-02-12 2017-07-04 The Boeing Company Automated fiber placement compensation
US8557074B2 (en) 2008-02-27 2013-10-15 The Boeing Company Reduced complexity automatic fiber placement apparatus and method
US9352411B2 (en) 2008-05-28 2016-05-31 Illinois Tool Works Inc. Welding training system
US8986482B2 (en) 2008-07-08 2015-03-24 The Boeing Company Method and apparatus for producing composite structures
US8190272B2 (en) * 2008-12-16 2012-05-29 The Boeing Company Geometric inspection of machined objects
US20100193103A1 (en) * 2009-01-31 2010-08-05 The Boeing Company Automated fiber placement using networked autonomous vehicles
US8308101B2 (en) 2009-03-09 2012-11-13 The Boeing Company Simplified fiber tensioning for automated fiber placement machines
US8454788B2 (en) 2009-03-13 2013-06-04 The Boeing Company Method and apparatus for placing short courses of composite tape
EP2296071A1 (en) * 2009-08-18 2011-03-16 Deere & Company Modular and scalable positioning and navigation system
US9769902B1 (en) 2011-05-09 2017-09-19 The United States Of America As Represented By Secretary Of The Air Force Laser sensor stimulator
US9101994B2 (en) 2011-08-10 2015-08-11 Illinois Tool Works Inc. System and device for welding training
US9573215B2 (en) 2012-02-10 2017-02-21 Illinois Tool Works Inc. Sound-based weld travel speed sensing system and method
US20130300831A1 (en) * 2012-05-11 2013-11-14 Loren Mavromatis Camera scene fitting of real world scenes
US9188839B2 (en) * 2012-10-04 2015-11-17 Cognex Corporation Component attachment devices and related systems and methods for machine vision systems
US9583014B2 (en) 2012-11-09 2017-02-28 Illinois Tool Works Inc. System and device for welding training
US9368045B2 (en) 2012-11-09 2016-06-14 Illinois Tool Works Inc. System and device for welding training
JP2014128836A (ja) * 2012-12-27 2014-07-10 Brother Ind Ltd 切断装置、保持部材、及び切断部材
US9583023B2 (en) 2013-03-15 2017-02-28 Illinois Tool Works Inc. Welding torch for a welding training system
US9666100B2 (en) 2013-03-15 2017-05-30 Illinois Tool Works Inc. Calibration devices for a welding training system
US9728103B2 (en) 2013-03-15 2017-08-08 Illinois Tool Works Inc. Data storage and analysis for a welding training system
US9672757B2 (en) 2013-03-15 2017-06-06 Illinois Tool Works Inc. Multi-mode software and method for a welding training system
US9713852B2 (en) 2013-03-15 2017-07-25 Illinois Tool Works Inc. Welding training systems and devices
US10643351B2 (en) 2013-03-20 2020-05-05 Trimble Inc. Indoor navigation via multi beam laser projection
US10165255B2 (en) 2013-03-20 2018-12-25 Trimble Inc. Indoor navigation via multi-beam laser projection
US11090753B2 (en) 2013-06-21 2021-08-17 Illinois Tool Works Inc. System and method for determining weld travel speed
US10056010B2 (en) 2013-12-03 2018-08-21 Illinois Tool Works Inc. Systems and methods for a weld training system
CN103674015B (zh) * 2013-12-13 2017-05-10 国家电网公司 一种无轨化定位导航方法及装置
US10170019B2 (en) 2014-01-07 2019-01-01 Illinois Tool Works Inc. Feedback from a welding torch of a welding system
US9751149B2 (en) 2014-01-07 2017-09-05 Illinois Tool Works Inc. Welding stand for a welding system
US9757819B2 (en) 2014-01-07 2017-09-12 Illinois Tool Works Inc. Calibration tool and method for a welding system
US9724788B2 (en) 2014-01-07 2017-08-08 Illinois Tool Works Inc. Electrical assemblies for a welding system
US10105782B2 (en) 2014-01-07 2018-10-23 Illinois Tool Works Inc. Feedback from a welding torch of a welding system
US9589481B2 (en) 2014-01-07 2017-03-07 Illinois Tool Works Inc. Welding software for detection and control of devices and for analysis of data
JP6361213B2 (ja) * 2014-03-26 2018-07-25 セイコーエプソン株式会社 ロボット制御装置、ロボット、ロボットシステム、教示方法、及びプログラム
US10665128B2 (en) 2014-06-27 2020-05-26 Illinois Tool Works Inc. System and method of monitoring welding information
US9862049B2 (en) 2014-06-27 2018-01-09 Illinois Tool Works Inc. System and method of welding system operator identification
US9937578B2 (en) 2014-06-27 2018-04-10 Illinois Tool Works Inc. System and method for remote welding training
US10307853B2 (en) 2014-06-27 2019-06-04 Illinois Tool Works Inc. System and method for managing welding data
US9724787B2 (en) 2014-08-07 2017-08-08 Illinois Tool Works Inc. System and method of monitoring a welding environment
US11014183B2 (en) 2014-08-07 2021-05-25 Illinois Tool Works Inc. System and method of marking a welding workpiece
US9875665B2 (en) 2014-08-18 2018-01-23 Illinois Tool Works Inc. Weld training system and method
US11247289B2 (en) 2014-10-16 2022-02-15 Illinois Tool Works Inc. Remote power supply parameter adjustment
US10239147B2 (en) 2014-10-16 2019-03-26 Illinois Tool Works Inc. Sensor-based power controls for a welding system
US10417934B2 (en) 2014-11-05 2019-09-17 Illinois Tool Works Inc. System and method of reviewing weld data
US10402959B2 (en) 2014-11-05 2019-09-03 Illinois Tool Works Inc. System and method of active torch marker control
US10204406B2 (en) 2014-11-05 2019-02-12 Illinois Tool Works Inc. System and method of controlling welding system camera exposure and marker illumination
US10490098B2 (en) 2014-11-05 2019-11-26 Illinois Tool Works Inc. System and method of recording multi-run data
US10373304B2 (en) 2014-11-05 2019-08-06 Illinois Tool Works Inc. System and method of arranging welding device markers
US10210773B2 (en) 2014-11-05 2019-02-19 Illinois Tool Works Inc. System and method for welding torch display
US9435635B1 (en) * 2015-02-27 2016-09-06 Ge Aviation Systems Llc System and methods of detecting an intruding object in a relative navigation system
US10427239B2 (en) 2015-04-02 2019-10-01 Illinois Tool Works Inc. Systems and methods for tracking weld training arc parameters
EP3118604B1 (de) * 2015-07-14 2019-03-27 Airbus Defence and Space GmbH Prüfeinrichtung zum kontrollieren einer bauteilherstellung
US10657839B2 (en) 2015-08-12 2020-05-19 Illinois Tool Works Inc. Stick welding electrode holders with real-time feedback features
US10373517B2 (en) 2015-08-12 2019-08-06 Illinois Tool Works Inc. Simulation stick welding electrode holder systems and methods
US10438505B2 (en) 2015-08-12 2019-10-08 Illinois Tool Works Welding training system interface
US10593230B2 (en) 2015-08-12 2020-03-17 Illinois Tool Works Inc. Stick welding electrode holder systems and methods
US9815204B2 (en) * 2016-01-22 2017-11-14 The Boeing Company Apparatus and method to optically locate workpiece for robotic operations
JP6672857B2 (ja) * 2016-02-09 2020-03-25 日本電気株式会社 無人飛行装置制御システム、無人飛行装置制御方法および無人飛行装置
JP6707933B2 (ja) * 2016-03-22 2020-06-10 日本電気株式会社 無人飛行装置制御システム、無人飛行装置制御方法および無人飛行装置
JP2018097526A (ja) * 2016-12-12 2018-06-21 株式会社クボタ 作業車
US10457205B2 (en) * 2017-03-16 2019-10-29 Robotzone, Llc Assisted trailer alignment system
US20190004544A1 (en) * 2017-06-29 2019-01-03 Ge Aviation Systems, Llc Method for flying at least two aircraft
US11052490B2 (en) 2018-04-27 2021-07-06 The Boeing Company Inner barrel of an engine inlet with laser-machined acoustic perforations
CN109032129B (zh) * 2018-06-21 2021-07-27 昆山华恒工程技术中心有限公司 路径纠偏方法及装置、路径导引方法、可读介质
ES3019833T3 (en) 2018-10-29 2025-05-21 Fq Ip Ab Mechanical coupling of vehicles
EP3705971A1 (en) * 2019-03-08 2020-09-09 Fq Ip Ab Virtual coupling
CN109709959A (zh) * 2018-12-27 2019-05-03 合肥泰禾光电科技股份有限公司 偏移量计算方法、装置、自动行驶控制方法及行走机构
US11776423B2 (en) 2019-07-22 2023-10-03 Illinois Tool Works Inc. Connection boxes for gas tungsten arc welding training systems
US11288978B2 (en) 2019-07-22 2022-03-29 Illinois Tool Works Inc. Gas tungsten arc welding training systems
US11264929B2 (en) * 2019-09-18 2022-03-01 Rockwell Automation Technologies, Inc. Systems and methods for non-rigid load vibration control
CN110780673B (zh) * 2019-11-15 2023-07-14 浙江中光新能源科技有限公司 一种基于探照灯引导的定日镜夜间清洗系统
CN113029163B (zh) * 2019-12-25 2024-07-23 沈阳美行科技股份有限公司 车辆路径匹配方法、装置、计算机设备和存储介质
RU2724240C1 (ru) * 2019-12-30 2020-06-22 Акционерное общество "Корпорация космических систем специального назначения "Комета" (АО "Корпорация "Комета") Способ доставки на точечную цель излучения лазерного дальномера
JP7534065B2 (ja) * 2022-09-12 2024-08-14 三菱ロジスネクスト株式会社 誘導システム

Citations (6)

* Cited by examiner, † Cited by third party
Publication number Priority date Publication date Assignee Title
JPS61292710A (ja) * 1985-06-20 1986-12-23 Komatsu Ltd 移動体の誘導制御装置
DE3536974A1 (de) * 1985-10-17 1987-04-23 Knepper Hans Reinhard Bedienerlose, aussengesteuerte maschine mit einem fahrgestell, sowie verfahren zu deren aussensteuerung
JPH0863227A (ja) * 1994-08-23 1996-03-08 Hitachi Ltd 移動体の誘導装置
JP2000200400A (ja) * 1998-10-28 2000-07-18 Omron Corp 照明通信方法とその装置および撮像装置
JP2002290335A (ja) * 2001-03-28 2002-10-04 Sony Corp 光空間伝送装置
JP2004297295A (ja) * 2003-03-26 2004-10-21 Global Com:Kk 照明光通信システム及び照明装置、照明光源

Family Cites Families (38)

* Cited by examiner, † Cited by third party
Publication number Priority date Publication date Assignee Title
US4119900A (en) * 1973-12-21 1978-10-10 Ito Patent-Ag Method and system for the automatic orientation and control of a robot
US4133711A (en) * 1977-07-11 1979-01-09 Grumman Aerospace Corporation Automated integrated composite lamination system
US4345578A (en) * 1978-07-31 1982-08-24 Apollo Systems, Inc. Ball projecting device capable of providing spin
US4578558A (en) * 1984-01-23 1986-03-25 Clegg John E Laser means and method
DE3404496A1 (de) * 1984-02-09 1985-08-14 Gewerkschaft Eisenhütte Westfalia, 4670 Lünen Verfahren und einrichtung zur ueberwachung und/oder steuerung einer vortriebsmaschine, insbesondere einer teilschnittmaschine
JPS61189892A (ja) * 1985-02-18 1986-08-23 Matsushita Electric Ind Co Ltd レ−ザ加工方法
US4867834A (en) * 1986-04-07 1989-09-19 Hercules Filament winding system
US4796198A (en) * 1986-10-17 1989-01-03 The United States Of America As Represented By The United States Department Of Energy Method for laser-based two-dimensional navigation system in a structured environment
US4786178A (en) * 1986-12-15 1988-11-22 Spectra-Physics, Inc. Apparatus and method for detecting the position and orientation of a reference beam of light
US4807131A (en) * 1987-04-28 1989-02-21 Clegg Engineering, Inc. Grading system
FR2631457B1 (fr) * 1988-05-10 1990-08-17 Gv Sa Recepteur de lasers tournants utilises pour le guidage d'engins, de travaux publics notamment
JPH03216286A (ja) * 1990-01-22 1991-09-24 Suzuki Motor Corp パイプ材の切断装置
FR2671412B1 (fr) * 1991-01-07 1996-10-31 Guillaume Pepinieres Dispositif et procede de correction automatique de position d'une machine automotrice du type planteuse agricole.
US5651600A (en) * 1992-09-28 1997-07-29 The Boeing Company Method for controlling projection of optical layup template utilizing cooperative targets
US6553130B1 (en) * 1993-08-11 2003-04-22 Jerome H. Lemelson Motor vehicle warning and control system and method
DE9313075U1 (de) * 1993-08-31 1993-12-02 Wirth, Bernhard, 82319 Starnberg Profilgesteuertes Maschinensteuersystem
GB9322626D0 (en) * 1993-11-03 1993-12-22 Limbridges Ltd Forming moulding with simulated wood grain surface
CA2132241C (en) * 1993-12-09 2000-11-28 Ralph A. Martino Semi-finished wood simulating product and method
US5381258A (en) * 1994-03-14 1995-01-10 Virtek Vision Intelligence Robotics Technologies Corporation Laser projector for projecting an image onto a curvilinear surface
US5786994A (en) * 1994-11-23 1998-07-28 Imation Corp. Performance monitoring system and method for a laser medical imager
US5764511A (en) * 1995-06-20 1998-06-09 Caterpillar Inc. System and method for controlling slope of cut of work implement
JPH09150284A (ja) * 1995-11-27 1997-06-10 Amada Co Ltd 三次元レーザ加工機による開先加工方法
US6066830A (en) * 1998-06-04 2000-05-23 Astronics Corporation Laser etching of electroluminescent lamp electrode structures, and electroluminescent lamps produced thereby
US6324455B1 (en) * 1998-11-05 2001-11-27 Trimble Navigation Ltd Laser level selection
US7649153B2 (en) * 1998-12-11 2010-01-19 International Business Machines Corporation Method for minimizing sample damage during the ablation of material using a focused ultrashort pulsed laser beam
JP2001121278A (ja) * 1999-10-22 2001-05-08 Sumitomo Electric Ind Ltd レーザ切断方法
JP4309014B2 (ja) * 2000-03-08 2009-08-05 株式会社トプコン レーザ基準面による建設機械制御システム
JP3760742B2 (ja) * 2000-09-07 2006-03-29 住友金属工業株式会社 レ−ザ切断性に優れた鋼板の製造法
US6485800B1 (en) * 2001-02-07 2002-11-26 Jeld-Wen, Inc. Articles of composite structure having appearance of wood
US8004664B2 (en) * 2002-04-18 2011-08-23 Chang Type Industrial Company Power tool control system
US20060116787A1 (en) * 2002-04-18 2006-06-01 Etter Mark A Power tool control system
US7073268B1 (en) * 2002-04-18 2006-07-11 Black & Decker Inc. Level apparatus
US20060101961A1 (en) * 2002-04-18 2006-05-18 Etter Mark A Power tool control system
US7359762B2 (en) * 2002-04-18 2008-04-15 Black & Decker Inc. Measurement and alignment device including a display system
JP2005314198A (ja) * 2004-04-26 2005-11-10 Lemi Ltd ガラス割断用レーザ装置
US7536242B2 (en) * 2004-11-12 2009-05-19 The Boeing Company Optical laser guidance system apparatus and method
JP4628129B2 (ja) * 2005-02-14 2011-02-09 株式会社アマダ レーザ加工方法及び装置
US7609972B2 (en) * 2005-08-02 2009-10-27 Itt Manufacturing Enterprises, Inc. Acquisition, pointing, and tracking architecture for laser communication

Patent Citations (6)

* Cited by examiner, † Cited by third party
Publication number Priority date Publication date Assignee Title
JPS61292710A (ja) * 1985-06-20 1986-12-23 Komatsu Ltd 移動体の誘導制御装置
DE3536974A1 (de) * 1985-10-17 1987-04-23 Knepper Hans Reinhard Bedienerlose, aussengesteuerte maschine mit einem fahrgestell, sowie verfahren zu deren aussensteuerung
JPH0863227A (ja) * 1994-08-23 1996-03-08 Hitachi Ltd 移動体の誘導装置
JP2000200400A (ja) * 1998-10-28 2000-07-18 Omron Corp 照明通信方法とその装置および撮像装置
JP2002290335A (ja) * 2001-03-28 2002-10-04 Sony Corp 光空間伝送装置
JP2004297295A (ja) * 2003-03-26 2004-10-21 Global Com:Kk 照明光通信システム及び照明装置、照明光源

Also Published As

Publication number Publication date
US20060106507A1 (en) 2006-05-18
US7536242B2 (en) 2009-05-19
WO2006083340A1 (en) 2006-08-10
JP2008520046A (ja) 2008-06-12
EP1810100A1 (en) 2007-07-25
KR20070084628A (ko) 2007-08-24
US7899618B2 (en) 2011-03-01
EP1810100B1 (en) 2017-01-04
ES2621193T3 (es) 2017-07-03
KR101146468B1 (ko) 2012-05-24
US20090198401A1 (en) 2009-08-06

Similar Documents

Publication Publication Date Title
JP4864005B2 (ja) 光レーザ誘導システム装置及び方法
CN102818568B (zh) 室内机器人的定位与导航系统及方法
JP4079792B2 (ja) ロボットの教示方法と教示機能付きロボット
CN103777637B (zh) 无反射板激光自主导航agv小车及其导航方法
CN110109466B (zh) 基于多传感器的自主地面打磨机器人控制系统
DK3167342T3 (en) Procedure for virtually following a line and for retrofitting to autonomous vehicles
CN108375373A (zh) 机器人及其导航方法、导航装置
JP2006227673A (ja) 自律走行装置
GB2376537A (en) A robot cleaner and a method for controlling a robot cleaner system
TWI806429B (zh) 控制自動導引車之模組化控制系統及方法
CN214846390U (zh) 基于自动导引小车的动态环境避障系统
JP6944611B1 (ja) 自走装置および自走装置の走行システム
US20240100691A1 (en) Self-propelled Device
JP2009223632A (ja) 自律移動装置、及び、自律移動装置システム
JPS633315A (ja) 自立走行する車両の走行制御方法
JP2017227943A (ja) 位置検出装置、制御方法及び自動走行車
JP2010026774A (ja) 移動ロボット装置及び移動ロボットの制御方法
KR20200064952A (ko) 로봇의 이동 경로의 레이저 조사를 제어하는 서버와 방법 및 이에 기반하여 이동하는 로봇
JP7718224B2 (ja) 地図作成車両
JP2018185768A (ja) 自律移動ロボット
JP2006320825A (ja) 自動制御塗装車両
Paromtchik Optical guidance method for robots capable of vision and communication
KR20250077995A (ko) 시설하우스용 로봇의 주행제어시스템
CN115014357A (zh) 一种基于自定义地图区域的导航机器人系统
CN114265417A (zh) 一种基于激光与视觉识别导航的机器人控制系统

Legal Events

Date Code Title Description
A131 Notification of reasons for refusal

Free format text: JAPANESE INTERMEDIATE CODE: A131

Effective date: 20090929

RD03 Notification of appointment of power of attorney

Free format text: JAPANESE INTERMEDIATE CODE: A7423

Effective date: 20091028

A601 Written request for extension of time

Free format text: JAPANESE INTERMEDIATE CODE: A601

Effective date: 20091216

A602 Written permission of extension of time

Free format text: JAPANESE INTERMEDIATE CODE: A602

Effective date: 20091224

RD04 Notification of resignation of power of attorney

Free format text: JAPANESE INTERMEDIATE CODE: A7424

Effective date: 20100202

A521 Request for written amendment filed

Free format text: JAPANESE INTERMEDIATE CODE: A523

Effective date: 20100219

A131 Notification of reasons for refusal

Free format text: JAPANESE INTERMEDIATE CODE: A131

Effective date: 20100914

A601 Written request for extension of time

Free format text: JAPANESE INTERMEDIATE CODE: A601

Effective date: 20101109

A602 Written permission of extension of time

Free format text: JAPANESE INTERMEDIATE CODE: A602

Effective date: 20101116

A601 Written request for extension of time

Free format text: JAPANESE INTERMEDIATE CODE: A601

Effective date: 20110113

A602 Written permission of extension of time

Free format text: JAPANESE INTERMEDIATE CODE: A602

Effective date: 20110120

A601 Written request for extension of time

Free format text: JAPANESE INTERMEDIATE CODE: A601

Effective date: 20110210

A602 Written permission of extension of time

Free format text: JAPANESE INTERMEDIATE CODE: A602

Effective date: 20110218

A521 Request for written amendment filed

Free format text: JAPANESE INTERMEDIATE CODE: A523

Effective date: 20110304

TRDD Decision of grant or rejection written
A01 Written decision to grant a patent or to grant a registration (utility model)

Free format text: JAPANESE INTERMEDIATE CODE: A01

Effective date: 20111011

A01 Written decision to grant a patent or to grant a registration (utility model)

Free format text: JAPANESE INTERMEDIATE CODE: A01

A61 First payment of annual fees (during grant procedure)

Free format text: JAPANESE INTERMEDIATE CODE: A61

Effective date: 20111108

FPAY Renewal fee payment (event date is renewal date of database)

Free format text: PAYMENT UNTIL: 20141118

Year of fee payment: 3

R150 Certificate of patent or registration of utility model

Ref document number: 4864005

Country of ref document: JP

Free format text: JAPANESE INTERMEDIATE CODE: R150

Free format text: JAPANESE INTERMEDIATE CODE: R150

R250 Receipt of annual fees

Free format text: JAPANESE INTERMEDIATE CODE: R250

R250 Receipt of annual fees

Free format text: JAPANESE INTERMEDIATE CODE: R250

R250 Receipt of annual fees

Free format text: JAPANESE INTERMEDIATE CODE: R250

R250 Receipt of annual fees

Free format text: JAPANESE INTERMEDIATE CODE: R250

R250 Receipt of annual fees

Free format text: JAPANESE INTERMEDIATE CODE: R250

R250 Receipt of annual fees

Free format text: JAPANESE INTERMEDIATE CODE: R250

LAPS Cancellation because of no payment of annual fees