JP4781007B2 - ヘルメット - Google Patents

ヘルメット Download PDF

Info

Publication number
JP4781007B2
JP4781007B2 JP2005140053A JP2005140053A JP4781007B2 JP 4781007 B2 JP4781007 B2 JP 4781007B2 JP 2005140053 A JP2005140053 A JP 2005140053A JP 2005140053 A JP2005140053 A JP 2005140053A JP 4781007 B2 JP4781007 B2 JP 4781007B2
Authority
JP
Japan
Prior art keywords
cap body
band member
inner cap
helmet
engagement
Prior art date
Legal status (The legal status is an assumption and is not a legal conclusion. Google has not performed a legal analysis and makes no representation as to the accuracy of the status listed.)
Expired - Lifetime
Application number
JP2005140053A
Other languages
English (en)
Other versions
JP2006316376A (ja
Inventor
正秀 村山
Current Assignee (The listed assignees may be inaccurate. Google has not performed a legal analysis and makes no representation or warranty as to the accuracy of the list.)
Tanizawa Seisakusho Ltd
Original Assignee
Tanizawa Seisakusho Ltd
Priority date (The priority date is an assumption and is not a legal conclusion. Google has not performed a legal analysis and makes no representation as to the accuracy of the date listed.)
Filing date
Publication date
Application filed by Tanizawa Seisakusho Ltd filed Critical Tanizawa Seisakusho Ltd
Priority to JP2005140053A priority Critical patent/JP4781007B2/ja
Publication of JP2006316376A publication Critical patent/JP2006316376A/ja
Application granted granted Critical
Publication of JP4781007B2 publication Critical patent/JP4781007B2/ja
Anticipated expiration legal-status Critical
Expired - Lifetime legal-status Critical Current

Links

Images

Landscapes

  • Helmets And Other Head Coverings (AREA)

Description

本発明はヘルメットに関するものであり、特に、帽体の後部内側に装備され、着用者の後頭部外側を取り巻くように装着される、ヘッドバンドの長さを調節できるように構成されたアジャスタ機構付のバンド部材を備えたヘルメットに関するものである。
従来、この種のアジャスタ機構付のバンド部材を備えたヘルメットは、例えば特許文献1で知られている。そのバンド部材は、帽体の左右内面側からそれぞれ突出されている止め具に、両端部を係止させることにより取り付けられている。したがって、止め具の突出が着用者の頭部に当たらないようにするのに、特許文献1にも示されているように、別の環状ヘッドバンド及びハンモック等を帽体のほぼ内側全体に配置し、ヘルメット装着時に、頭部がヘルメットの内面から離れた状態になる構造を採っている。
特開平13−262423号公報。
特許文献1記載の発明は、周回ヘッドバンド及びハンモック等を、帽体のほぼ内側全体に配置し、ヘルメット装着時に、ヘルメットの内面から頭部が離れた状態になる構造を採っている。このため、ヘルメット全体が大形化し、重量も大きくなっている問題点があった。さらに、部品点数が多く、構造も複雑で、コスト高になっている問題点等もあった。
そこで、小形・軽量化と共に、構造の簡略化を図り、コストを下げて安価に提供するために解決すべき技術的課題が生じてくるのであり、本発明はこの課題を解決することを目的とする。
本発明は上記目的を達成するために提案されたものであり、請求項1記載の発明は、帽体の後部内側に装備され、着用者の後頭部外側を取り巻くように装着される、ヘッドバンドの長さを調節できるように構成されたアジャスタ機構付の帯状のバンド部材を備えたヘルメットにおいて、
前記バンド部材を、両端部にそれぞれ係止用の係合孔または係合突部を設けて可撓性材により1つの弧状に形成していると共に、
前記帽体を、発泡スチロール等の軽量緩衝材料により前記着用者が頭部に冠着すべき形状に形成された内側帽体と、この内側帽体の外側形状にほぼ倣った内面形状を有し、該内側帽体の外側を覆って該内側帽体にほぼ密着して配置される外側帽体とで構成し、
かつ、前記内側帽体に、前記バンド部材の両端部をそれぞれ内側から外側まで通す左右一対の貫通孔と、該貫通孔を貫通した前記バンドの両端部をほぼ90度屈曲させると前記係合孔または係合突部と互いに係止可能な係合突部または係合孔とを設けてなり、
前記バンド部材の係合孔または係合突部と前記内側帽体の係合突部または係合孔とを互いに係止させた状態で、前記内側帽体に前記外側帽体を被着し、
さらに、前記内側帽体の内側にクッション用のスポンジを取り付けてなるヘルメットを提供する。
この構成によれば、バンド部材の両端部を、内側帽体の内側から貫通孔を通して外側に各々突出させ、その突出されたバンド部材の両端部をそれぞれほぼ90度屈曲させて折り曲げると、バンド部材の係合孔または係合突部が内側帽体の係合突部または係合孔に係合される。
さらに、外側帽体を内側帽体の外側に被着させると、バンド部材の係合孔または係合突部と内側帽体の係合突部または係合孔との係合部分が、外側帽体の内周面によって外側から押さえられ、これにより係合孔と係合突部との間が抜け止めされて、バンド部材の帽体への固定取り付けが完了する。
請求項2記載の発明は、請求項1において、上記バンド部材の各端部と上記外側帽体との間に、上記内側帽体に前記外側帽体を着したとき、前記バンド部材の各端部を前記内側帽体に対し押し付け、前記内側帽体と前記外側帽体との間における前記バンド部材の遊びを無くす発泡スチロール材よりなるスペーサを設ける。
この構成によれば、バンド部材の各端部と上記外側端部との間に設けたスペーサにより、内側帽体と前記外側帽体との間におけるバンド部材の遊びを無くして、バンド部材を帽体にしっかりと固定することができる。
請求項1記載の発明は、バンド部材の両端部を、内側帽体の内側から貫通孔を通して外側に各々突出させるとともに、その突出されたバンド部材の両端部をそれぞれ折り曲げて内側帽体の外面に係止させ、さらに、外側帽体を内側帽体の外側に被着させるだけで、バンド部材を帽体に固定取り付けすることができるので、取り付けにおける構造の簡略化が図れ、コストを下げて安価に提供することができる。
また、バンド部材の両端部は、内側帽体の内側から貫通孔を通って外側に引き出され、かつ、その内側帽体の外側で折り曲げられて固定され、内側帽体の内側には、止め具等の突起物を設けていないので、従来構造で使用していた周回ヘッドバンドやハンモック等を省略することができる。これにより、さらにヘルメットの小形・軽量化及び構造の簡略化が図れる。
請求項2記載の発明は、内側帽体と前記外側帽体との間におけるバンド部材の遊びを無くして、帽体にバンド部材をしっかりと固定することができるので、請求項1記載の発明の効果に加えて、ヘルメットの着用安定性および装着感の向上が得られる。
以下、本発明に係るヘルメットについて、好適な実施例をあげて説明する。 ヘルメットの小形・軽量化と、構造の簡略化を図りつつ製作コスト等を下げて安価に提供するという目的を達成するために、帽体の後部内側に装備され、着用者の後頭部外側を取り巻くように装着される、ヘッドバンドの長さを調節できるように構成されたアジャスタ機構付のバンド部材を備えたヘルメットにおいて、前記バンド部材を、両端部にそれぞれ係止用の係合孔または係合突部を設けて可撓性材により弧状に形成していると共に、前記帽体を、発泡スチロール等の軽量緩衝材料により前記着用者が頭部に冠着すべき形状に形成された内側帽体と、この内側帽体の外側形状にほぼ倣った内面形状を有し、該内側帽体の外側を覆って該内側帽体にほぼ密着して配置される外側帽体とで構成し、かつ、前記内側帽体に、前記バンド部材の両端部をそれぞれ内側から外側まで通す左右一対の貫通孔と、該貫通孔を貫通した前記バンドの両端部をほぼ90度屈曲させると前記係合孔または係合突部と互いに係止可能な係合突部または係合孔とを設けてなり、前記バンド部材の係合孔または係合突部と前記内側帽体の係合突部または係合孔とを互いに係止させた状態で、前記内側帽体に前記外側帽体を被着してなるヘルメットを提供する。
図1〜図5は本発明の実施例に係るヘルメットを示すものである。図1,図2及び図4に示すように、このヘルメット1は、帽体2と、この帽体2の後部内側に装備されるバンド部材3等で構成されている。また、帽体2は、内側帽体2Aと外側帽体2Bとで構成されている。
内側帽体2Aは、帽体2に外部から衝撃が加わった際に着用者の頭部に伝わる衝撃を緩和する衝撃吸収ライナとして機能するものであって、発泡スチロール等の軽量緩衝材料から成形加工されている。この内側帽体2Aの内面形状は、着用者が頭部に冠着すべき形状に形成されており、また左右両側には着用者が冠着したとき耳の外側を覆って保護する耳当て部4を一体に設けている。
内側帽体2Aの内面には、内側から外側まで貫通している通気孔5Aを、前後方向に離れて各々3個ずつ、各々列をなした状態で、左右に分かれて設けている。また、左右の耳当て部4にも、それぞれ通気孔5Bを設けている。
内側帽体2Aの左右両側部には、内側から外側まで貫通する貫通孔6を設けている。内側帽体2Aの外面側には、貫通孔6と連通している凹部7を設け、この凹部7内にさらに係止用の係合突部8を設けている。
外側帽体2Bは、例えばポリスチレンなどの硬質合成樹脂を成形加工してなるもので、内面形状は内側帽体2Aの外側形状にほぼ倣った形状に形成されている。ただし、内側帽体2Aの外側面に、比較的小さな凹凸やうねり等があっても、この凹凸やうねり等に正確に倣う必要はない。そして、外側帽体2Bは、内側帽体2Aの外側から内側帽体2Aに被せると、図1に示すように、下端部外周のスカート部分9を除き、内側帽体2Aの外側を覆ってほぼ密着嵌合された状態で、取り外し可能に結合配置される。
また、外側帽体2Bの内面には、内側帽体2Aの通気孔5Aに対応して内側から外側まで貫通している通気孔10Aを、前後方向に離れて各々3個ずつ、各々列をなした状態で、左右に分かれて設けている。さらに、左右の両側面の耳当て部14にも、内側帽体2Aの左右の耳当て部4に対応して、通気孔10Bを各々設けている。したがって、内側帽体2Aの外側に外側帽体2Bが装着されると、通気孔5Aと通気孔10Aとが対応するとともに、通気孔5Bと通気孔10Bとが重なり合って1つの孔となり、帽体2の内側と外側との通気が得られるようになっている。
バンド部材3は、中間部にベルトの長さを調整可能なアジャスタ機構11を設け、全体として弧状に形成された可撓性を有する帯状のヘッドバンドであり、左右の両端部3a,3aには係止用の係合孔12を設けている。この係合孔12は、内側帽体2Aの係合突部8と係合可能な大きさ・形状に作られている。また、各端部3a,3aの外周形は、内側帽体2Aの凹部7の内周形とほぼ等しく形成されている。したがって、係合孔12に係合突部8を挿入係合させると、各端部3a,3aも同時に凹部7内に嵌合させた状態で挿入されるようになっている。
そして、このヘッドバンドとしてのバンド部材3は、図5に示すように、端部3aを内側帽体2Aの内側から貫通孔6を通って外側まで引き出し、この引き出された端部3aを、図3に2点鎖線で示すようにほぼ90度外側に折り曲げ、さらに該端部3aを凹部7に対応させて内側帽体2Aの外面に押し付けると、該端部3aの係合孔12に係合突部8を挿入係止させることができる。
次に、このように構成されたヘルメットの組立手順を説明する。内側帽体2Aに外側帽体2Bを被せる前に、まず、バンド部材3の両端部3a,3aを、内側帽体2Aの内側から左右の貫通孔6にそれぞれ挿入し、これを外側まで引き出す。また、外側に引き出された端部3a,3aを各々ほぼ90度外側に折り曲げ、各端部3a,3aの係合孔12に係合突起8,8をそれぞれ挿入係止させる。これにより、各端部3a,3aが、それぞれ凹部7,7内に仮固定される。
次いで、内側帽体2Aに外側帽体2Bを被せる。これにより、係合突起8と係合されている各端部3a,3aの外側に外側帽体2Bの内面がほぼ密着して配置され、各端部3a,3aの外側を、係合孔12と係合突起8との係合が外れないように押さえる。この押さえにより、バンド部材3の両端部3a,3aが内側帽体2Aに確実に固定され、組立が完了する。
また、このように組み立てられたヘルメット1には、内側帽体2Aの内側にクッション用のスポンジ13を取り付ける。さらに、ヘルメット1には、これ以外にも、顎ひも等も取り付けられるが、説明を簡略化するために省略している。
そして、このヘルメット1は、バンド部材3の操作ノブ3Aを右または左方向に回転させると、その回転方向に応じて、ヘッドバンドを構成しているバンド部材3における全体の弧が大きくなる。バンド部材3の弧状部分が拡がった状態で、その中に、図1中に2点鎖線で示すように、着用者が頭部Hを入れて被ると、着用者の頭にスポンジ13を介して装着され、バンド部材3が後頭部外側を取り巻くように装着される。続いて、操作ノブ3Aを逆方向に回転させると、弧が狭まり、スポンジ13とバンド部材3との間で頭部Hを弾性的に挟んだ状態で装着される。
したがって、このように構成されたヘルメット1は、簡単な構造でバンド部材3を確実に取り付けることができるので、コストを下げて安価に提供することができる。また、バンド部材3の両端部3a,3aは、内側帽体2Aの内側から外側に通され、かつ、その外側で固定され、内側には止め具等の突起物を設けていないので、従来構造で使用していた周回ヘッドバンドやハンモック等を省略することができ、さらに小形・軽量化及び構造の簡略化が図れることになる。
なお、上記実施例の構造では、バンド部材3の両端部3a,3aに係合孔12を設けるとともに、内側帽体2Aの外側に係合突部8を設けた構造を開示したが、反対に、バンド部材3側に係合突部を設け、内側帽体2Aの外側に係合孔を設けた構造にしてもよい。
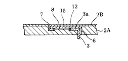
また、図6に示すように、内側帽体2Aに外側帽体2Bを被着したとき、バンド部材3の各端部3a,3aを内側帽体2Aに対し押圧して、内側帽体2Aと外側帽体2Bとの間におけるバンド部材3の遊びを無くすスペーサ15を、バンド部材3の各端部3a,3aと外側端部2Bとの間に設ける構造にしても良い。この構造では、内側帽体2Aと外側帽体2Bとの間におけるバンド部材3の端部3aの遊びを無くし、バンド部材3を帽体2に対してしっかりと固定することができる。このスペーサ15としては、内側帽体2Bを構成している例えば発泡スチロール材よりなる板状片であり、また凹部7の開口を閉じるようにして取り付けられる。
図7、図8、図9及び図10はそれぞれ、本発明の他の実施例に係るヘルメットを示す分解斜視図、側面図、要部断面図及び下面図である。尚、説明の都合上、前記実施例と同一構成部分については同一符号を付して、その説明を省略する。本実施例の特徴は、内側帽体2Aに、バンド部材3の端部3aを押付け固定する押さえ駒(スペーサ部材)17を取り付けるとともに、押さえ駒17に、バンド部材3の折り曲げ部3bを押付け固定するための足部を設けたことにある。
バンド部材3の端部3aは、係合突起8に係合孔12に挿入係合されると同時に、端部3aのL形部分がL形凹部7内に嵌合係止されるが、係合突部8及び端部3aの外面に密接当接する押さえ駒17により、端部3aの固定保持ないし抜け防止が施されている。
押さえ駒17は、例えば、図9に例示するように、内側帽体2Aの切欠凹面18に係合固定される係止部17aと、内側帽体2Aの貫通孔6の内面一側に折り曲げ部3bを介して装着固定されるスペーサ兼用一側足部17bと、貫通孔6の内面他側に装着固定されるスペーサ兼用他側足部17cとが一体に形成されている。
なお、押さえ駒17の構造は、内側帽体2A外面側の凹部又は凸部20に装着固定され、前記ンド部材3の端部3aを内側帽体2Aに押圧固定する固定保持部できるように構成すればよく、押さえ駒17の形状や寸法などは特に限定されない(図11参照)。
従って、バンド部材3の折り曲げ部3bは、押さえ駒17の一側足部17bにより貫通孔6の内面に押圧密着されているので、貫通孔6内で折り曲げ部3bが可動してすることがなく緩むことが抑止される。このことにより、係合突起8に対する端部3aの固定保持が増大し、端部3aの固定部分が外れることを確実に阻止することができる。
本発明では、周回ヘッドバンド、ハンモック、スポンジ等を省略でき、これにより、ヘルメット1の更なる小形・軽量化及び簡素化構造が図れ、ヘルメット1を安価に量産することができる。また、従来に比べ、内側帽体2Aの内面に凸部を有しないので、ヘルメット1の着用時に、内側帽体2Aへの頭部Hの密着性乃至被着性が著しく良くなり、ヘルメット1の着用安定性が向上する。
さらに、これ以外にも、本発明は、本発明の精神を逸脱しない限り種々の改変を為すことができ、そして、本発明が該改変されたものに及ぶことは当然である。
本発明の実施例に係るヘルメットの側面図。 同上ヘルメットの底面図。 図1のA−A線拡大断面図。 同上ヘルメットの分解図。 同上ヘルメットにおけるバンド部材の端部の取り付けを説明する要部斜視図。 同上ヘルメットにおけるバンド部材の端部取付け構造の一変形例を説明する断面図である。 本発明の他の実施例に係るヘルメットを示す分解斜視図。 同上ヘルメットの側面図。 図1のB−B線拡大断面図。 同上ヘルメットの下面図。 同上ヘルメットにおけるバンド部材の端部を押圧固定する押さえ駒の構成例を示す平面図。
符号の説明
1 ヘルメット
2 帽体
2A 内側帽体
2B 外側帽体
3 バンド部材
3a 端部
3A 操作ノブ
4 耳当て部
5A 通気孔
5B 通気孔
6 貫通孔
7 凹部
8 係合突部
9 スカート部分
10A 通気孔
10B 通気孔
11 アジャスタ機構
12 係合孔
13 スポンジ
14 耳当て部
15 スペーサ
H 頭部

Claims (2)

  1. 帽体の後部内側に装備され、着用者の後頭部外側を取り巻くように装着される、ヘッドバンドの長さを調節できるように構成されたアジャスタ機構付の帯状のバンド部材を備えたヘルメットにおいて、
    前記バンド部材を、両端部にそれぞれ係止用の係合孔または係合突部を設けて可撓性材により1つの弧状に形成していると共に、
    前記帽体を、発泡スチロール等の軽量緩衝材料により前記着用者が頭部に冠着すべき形状に形成された内側帽体と、この内側帽体の外側形状にほぼ倣った内面形状を有し、該内側帽体の外側を覆って該内側帽体にほぼ密着して配置される外側帽体とで構成し、
    かつ、前記内側帽体に、前記バンド部材の両端部をそれぞれ内側から外側まで通す左右一対の貫通孔と、該貫通孔を貫通した前記バンドの両端部をほぼ90度屈曲させると前記係合孔または係合突部と互いに係止可能な係合突部または係合孔とを設けてなり、
    前記バンド部材の係合孔または係合突部と前記内側帽体の係合突部または係合孔とを互いに係止させた状態で、前記内側帽体に前記外側帽体を被着し、
    さらに、前記内側帽体の内側にクッション用のスポンジを取り付けてなることを特徴とするヘルメット。
  2. 上記バンド部材の各端部と上記外側帽体との間に、上記内側帽体に前記外側帽体を着したとき、前記バンド部材の各端部を前記内側帽体に対し押し付け、前記内側帽体と前記外側帽体との間における前記バンド部材の遊びを無くす発泡スチロール材よりなるスペーサを設けたことを特徴とする請求項1記載のヘルメット。
JP2005140053A 2005-05-12 2005-05-12 ヘルメット Expired - Lifetime JP4781007B2 (ja)

Priority Applications (1)

Application Number Priority Date Filing Date Title
JP2005140053A JP4781007B2 (ja) 2005-05-12 2005-05-12 ヘルメット

Applications Claiming Priority (1)

Application Number Priority Date Filing Date Title
JP2005140053A JP4781007B2 (ja) 2005-05-12 2005-05-12 ヘルメット

Publications (2)

Publication Number Publication Date
JP2006316376A JP2006316376A (ja) 2006-11-24
JP4781007B2 true JP4781007B2 (ja) 2011-09-28

Family

ID=37537298

Family Applications (1)

Application Number Title Priority Date Filing Date
JP2005140053A Expired - Lifetime JP4781007B2 (ja) 2005-05-12 2005-05-12 ヘルメット

Country Status (1)

Country Link
JP (1) JP4781007B2 (ja)

Cited By (1)

* Cited by examiner, † Cited by third party
Publication number Priority date Publication date Assignee Title
CN109640726A (zh) * 2016-06-07 2019-04-16 贝尔运动股份有限公司 机械接合的头盔主体及其方法

Families Citing this family (1)

* Cited by examiner, † Cited by third party
Publication number Priority date Publication date Assignee Title
JP5520429B2 (ja) * 2010-01-13 2014-06-11 美津濃株式会社 断熱機能付きヘルメット

Family Cites Families (3)

* Cited by examiner, † Cited by third party
Publication number Priority date Publication date Assignee Title
JPS5769830A (en) * 1980-10-16 1982-04-28 Hitachi Ltd Wet and dry type cleaner
JP2001262423A (ja) * 2000-03-17 2001-09-26 Tanizawa Seisakusho Ltd ヘルメット
JP2003013321A (ja) * 2001-06-29 2003-01-15 Meiwa Kosan Kk ヘルメット

Cited By (2)

* Cited by examiner, † Cited by third party
Publication number Priority date Publication date Assignee Title
CN109640726A (zh) * 2016-06-07 2019-04-16 贝尔运动股份有限公司 机械接合的头盔主体及其方法
CN109640726B (zh) * 2016-06-07 2022-01-11 贝尔运动股份有限公司 机械接合的头盔主体及其方法

Also Published As

Publication number Publication date
JP2006316376A (ja) 2006-11-24

Similar Documents

Publication Publication Date Title
US8739318B2 (en) Helmet comprising an occipital adjustment mechanism
US6981284B2 (en) Hockey helmet comprising a lateral adjustment mechanism
KR100323185B1 (ko) 헬맷의 내장체용 패드 및 그 내장체
US7954178B2 (en) Hockey helmet comprising an occipital adjustment mechanism
US6226803B1 (en) Helmet
JPH0454180Y2 (ja)
EP0972461B1 (en) Helmet
JPH0639721B2 (ja) ヘルメット
JP4781007B2 (ja) ヘルメット
JP4034303B2 (ja) ヘルメット用ヘッドバンド
JP5131096B2 (ja) ヘッドホン
JP2000160424A (ja) ヘルメットの内装構造
JP3008397B2 (ja) ヘルメットの内装体
JP2023172937A (ja) 産業用安全帽
JP5145873B2 (ja) ヘルメット
CA2714314C (en) Helmet comprising an occipital adjustment mechanism
JP7572604B2 (ja) ヘルメット
US10660391B2 (en) Helmet with floating brow band
JPH10204717A (ja) ヘルメット
JP3136096B2 (ja) 乗車用安全ヘルメット
JP3020854B2 (ja) ジェット型ヘルメットの耳カップ
JP2925136B1 (ja) ジェット型ヘルメット
JP2019140616A (ja) イヤーパッド及びヘッドホン
JPH072580Y2 (ja) ヘルメットの通気構造
JP2591910B2 (ja) 乗車用安全ヘルメット

Legal Events

Date Code Title Description
A621 Written request for application examination

Free format text: JAPANESE INTERMEDIATE CODE: A621

Effective date: 20080404

A977 Report on retrieval

Free format text: JAPANESE INTERMEDIATE CODE: A971007

Effective date: 20100219

A131 Notification of reasons for refusal

Free format text: JAPANESE INTERMEDIATE CODE: A131

Effective date: 20101116

A521 Request for written amendment filed

Free format text: JAPANESE INTERMEDIATE CODE: A523

Effective date: 20110111

TRDD Decision of grant or rejection written
A01 Written decision to grant a patent or to grant a registration (utility model)

Free format text: JAPANESE INTERMEDIATE CODE: A01

Effective date: 20110531

A01 Written decision to grant a patent or to grant a registration (utility model)

Free format text: JAPANESE INTERMEDIATE CODE: A01

A61 First payment of annual fees (during grant procedure)

Free format text: JAPANESE INTERMEDIATE CODE: A61

Effective date: 20110705

FPAY Renewal fee payment (event date is renewal date of database)

Free format text: PAYMENT UNTIL: 20140715

Year of fee payment: 3

R150 Certificate of patent or registration of utility model

Ref document number: 4781007

Country of ref document: JP

Free format text: JAPANESE INTERMEDIATE CODE: R150

Free format text: JAPANESE INTERMEDIATE CODE: R150

R250 Receipt of annual fees

Free format text: JAPANESE INTERMEDIATE CODE: R250

R250 Receipt of annual fees

Free format text: JAPANESE INTERMEDIATE CODE: R250

R250 Receipt of annual fees

Free format text: JAPANESE INTERMEDIATE CODE: R250

R250 Receipt of annual fees

Free format text: JAPANESE INTERMEDIATE CODE: R250

R250 Receipt of annual fees

Free format text: JAPANESE INTERMEDIATE CODE: R250

R250 Receipt of annual fees

Free format text: JAPANESE INTERMEDIATE CODE: R250

EXPY Cancellation because of completion of term