JP4762425B2 - 電子制御装置 - Google Patents

電子制御装置 Download PDF

Info

Publication number
JP4762425B2
JP4762425B2 JP2001069007A JP2001069007A JP4762425B2 JP 4762425 B2 JP4762425 B2 JP 4762425B2 JP 2001069007 A JP2001069007 A JP 2001069007A JP 2001069007 A JP2001069007 A JP 2001069007A JP 4762425 B2 JP4762425 B2 JP 4762425B2
Authority
JP
Japan
Prior art keywords
switch
control device
circuit
mode
cpu
Prior art date
Legal status (The legal status is an assumption and is not a legal conclusion. Google has not performed a legal analysis and makes no representation as to the accuracy of the status listed.)
Expired - Fee Related
Application number
JP2001069007A
Other languages
English (en)
Other versions
JP2002271868A (ja
Inventor
昇司 原
寛 堤
Current Assignee (The listed assignees may be inaccurate. Google has not performed a legal analysis and makes no representation or warranty as to the accuracy of the list.)
Furukawa Electric Co Ltd
Original Assignee
Furukawa Electric Co Ltd
Priority date (The priority date is an assumption and is not a legal conclusion. Google has not performed a legal analysis and makes no representation as to the accuracy of the date listed.)
Filing date
Publication date
Application filed by Furukawa Electric Co Ltd filed Critical Furukawa Electric Co Ltd
Priority to JP2001069007A priority Critical patent/JP4762425B2/ja
Publication of JP2002271868A publication Critical patent/JP2002271868A/ja
Application granted granted Critical
Publication of JP4762425B2 publication Critical patent/JP4762425B2/ja
Anticipated expiration legal-status Critical
Expired - Fee Related legal-status Critical Current

Links

Images

Landscapes

  • Selective Calling Equipment (AREA)

Description

【0001】
【発明の属する技術分野】
本発明は、電気機器及び電子機器の動作を制御するスイッチの作動を検出し、このスイッチの作動情報を、通信回線を経由して被制御電気機器及び電子機器に伝達する電子制御装置に関する。
【0002】
【従来の技術】
近年、LANシステムを用いて電気機器及び電子機器(以下、「機器」)の動作を制御することが普及している。LANシステムを用いたこの種の制御においては、複数の電子制御装置が使用されている。電子制御装置は、例えば操作者が操作したスイッチの作動を監視・検出し、被制御機器にスイッチの作動情報をLANの通信回線を経由し伝達して、被制御機器の動作を制御する役割を担う。
【0003】
ところで、スイッチの作動の監視・検出及びスイッチの作動情報の伝達を行う制御装置本体(例えば、central processing unit 「CPU」を主として構成される)を搭載した電子制御装置は、スイッチが操作されたとき、これを検出してスイッチ作動情報を被制御機器に伝達すればよく、常時はスイッチの作動を監視・検出しているだけでよい。しかしこのようなスイッチの監視状態は長時間に及ぶことが否めない。
【0004】
このような事情から、電子制御装置には、スイッチの作動を監視・検出するために動作しているときの消費電力を低減して電子制御装置に電力を供給する電源の負荷を軽減することが求められる。
そこで電子制御装置の制御装置本体は、スイッチの作動を検出すると、電力消費の少ない動作待機モードから通常動作モード(ある程度電力を消費する)に復帰し、スイッチの作動情報を、通信回線を介して被制御機器に伝達し、その伝達を終えると、一定条件下、通常動作モードから動作待機モードに移行してスイッチの作動を監視することで、低消費電力化を図っている。
【0005】
ここで通常動作モードとは、制御装置本体が通常の周波数のクロックで動作している動作モードをいい、動作待機モードとは、制御装置本体がその通常の周波数よりも低いクロック周波数で動作するモードをいう。
動作待機モードでは、制御装置本体の消費電力が低減される。例えば、通常動作モードで動作する制御装置本体は約20mA程度の電流を消費するが、動作待機モードに移行した制御装置本体の消費電流は数百μA程度に低減される。
【0006】
しかし被制御機器の増加伴ってより多くの電子制御装置が必要となり、更なる電子制御装置の低消費電力化が求められている。
例えば自動車では、複数の電子制御装置がエンジンのスタータ、パワーウィンド、エアーコンディショナ、各種灯火等の制御を行っている。自動車に搭載された電子制御装置では、運転時においては発電機の負荷を軽減するため、駐車時においてはバッテリの過放電を防止するため、更なる低消費電力化が求められている。
【0007】
このような要求に応じるため近時の電子制御装置では、一定条件の下で所定時間、制御装置本体がそのクロックを停止するホルト(halt)モードに移行することで、更なる低消費電力化を図っている。即ち制御装置本体は、動作待機モードへ移行した後の一定時間内にスイッチの作動を検出すると、通常動作モードに復帰するが、一定時間内にスイッチの作動を検出しないとホルトモードに移行する。そしてホルトモードでは、タイマがホルトモードに移行してからの時間を測定し、所定時間が経過するとタイマが制御装置本体を動作待機モードへと移行させ、制御装置本体は再びスイッチの作動を監視する。
【0008】
即ちこのように構成された電子制御装置の制御装置本体は、ホルトモード時、制御装置本体の消費電流が数μA〜数十μA程度となって、電子制御装置の低消費電力化を図っている。
なお、上記いずれの構成を有する電子制御装置も、その動作を維持にするため、制御装置本体は、その動作確認信号を監視する監視回路を有して、通常動作モードおよび動作待機モードでの制御装置本体の正常動作を監視し、異常動作を検知すると制御装置本体をリセットし、制御装置本体を初期状態から起動させる機能を有するものであることが望ましい。
【0009】
【発明が解決しようとする課題】
しかし、一定条件下、制御装置本体がホルトモードに移行する電子制御装置においても、ホルトモードにおいては、制御装置本体の消費電流が数μA〜数十μA程度に低減されるものの、それでもなお、制御装置本体はスイッチの作動を監視するため動作待機モードに移行する必要があり、この動作待機モードにおいて、制御装置本体の消費電流が数百μA程度となるので、電子制御装置の台数の増加に伴い、電源の負荷を増大させてしまう、という問題がある。
【0010】
本発明は、上記問題を解決するためにされたもので、制御装置本体によって監視されるスイッチが所定時間に亘って作動しないときには、制御装置本体がホルトモードに移行して電子制御装置の低消費電力化を図り、制御装置本体がホルトモードにあっても電子制御装置がスイッチの作動を監視してスイッチの作動を検出すると、制御装置本体が通常動作モードに復帰して、スイッチの作動情報を機器に伝達することができる電子制御装置を提供することを目的とする。
【0011】
【課題を解決するための手段】
選択的に作動するスイッチと、通常動作モード時にはスイッチの作動状態に応じて所定の機器の動作を制御すると共に、スイッチが所定時間に亘って作動しないときにはホルトモードを設定して動作待機する制御装置本体と、この制御装置本体がホルトモードに移行したときに作動してスイッチの作動を周期的に監視するスイッチ状態監視手段と、このスイッチ状態監視手段によりスイッチの作動が検出されたときに制御装置本体を通常動作モードに復帰させる判定手段とを具備したことを特徴とを有する電子制御装置が提供される。
【0012】
このような構成の電子制御装置は、制御装置本体がホルトモードにあっても、スイッチ状態監視手段により周期的にスイッチの作動を監視し、スイッチの作動が検出されたときには、制御装置本体が通常動作モードに復帰するのでスイッチの作動情報を被制御機器に伝達することができると共に、制御装置本体がホルトモードにあるときには、従来の電子制御装置に比べ更なる消費電力低減を実現できる。
【0013】
さらに、制御装置本体は、通常動作モード時に制御装置本体が周期的に出力する動作確認信号を検出して制御装置本体の動作を監視し、動作確認信号が途絶えたときに制御装置本体を強制的にリセットする監視回路を備え、スイッチ状態監視手段は、スイッチの周期的な作動監視信号のタイミングを規定する信号を、動作確認信号に代わる信号として監視回路に与える手段を備えることを特徴としている。
【0014】
従って通常動作モードで、監視回路が制御装置本体の異常動作を検知すると制御装置本体をリセットし、制御装置本体はリセットされた状態から起動するので、電子制御装置の動作が維持される。
【0015】
一方、制御装置本体がホルトモードにあっても、監視回路は、スイッチの周期的な作動監視信号のタイミングを規定する信号を監視し、この信号が途絶えたときには制御装置本体をリセットして起動するので、監視タイミングを規定する信号が途絶えても電子制御装置の動作が維持される。
【0016】
【発明の実施の形態】
以下、図面を参照して、本発明の実施形態に係る電子制御装置を説明する。
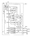
図1は、本発明に係る電子制御装置(以下、「ECU」)の一実施形態の概略構成図であり、ECUはCPUと監視回路を有する制御装置本体を主体として構成され、スイッチの作動を監視するスイッチ状態監視手段、スイッチの作動状態を検出するセンサ回路、CPUを通常動作モードに復帰させる判定手段を有している。
【0017】
ECUの作動に必要な電力はバッテリから電源線(いずれも図示しない)を介して電源入力端15に供給されている。電源安定回路4は、ECUの各回路の動作に適した電圧の電源を供給すべく、電源入力端15に印加された電圧(この電圧をEa(V)とする)を所定電圧に安定化している。
ECUの入力端1にはスイッチSW1、入力端2にはスイッチSW2、入力端3にはスイッチSW3が接続されており、スイッチSW1〜SW3の何れかが作動すると(オンすると)、この作動したスイッチが接続された入力端はアースに接続される。また入力端1は入力回路11を介してCPU5の入力ポートPI1に、入力端2は入力回路12を介してCPU5の入力ポートPI2に、入力端3は入力回路13を介してCPU5の入力ポートPI3に接続されているので、各スイッチの作動情報はCPU5に入力されることになる。
【0018】
なお各スイッチの作動は、「ハイレベル」、「ローレベル」という二値化された電圧としてCPU5で検出されるが、この検出のため、ECUは監視タイミング回路7及びスイッチング回路9を用いてスイッチSW1〜SW3に電圧を印加している。
スイッチング回路9は、電源入力端15とスイッチSW1〜SW3の間に介在しており、両者の間をオン/オフするスイッチング素子(例えばトランジスタ)を有している。
【0019】
通常動作モードでは、スイッチング回路9のスイッチング素子は常にオンとなり、スイッチング回路9の出力端9aには電源入力端15に供給された電源電圧に略等しい電圧が出力される。この電圧は、後述するように抵抗器R10からなるセンサ回路10と抵抗器R1〜R3及び抵抗器R11〜R13からなる抵抗回路網(この抵抗回路網については後述する)とを介してスイッチSW1〜SW3に供給される。
【0020】
スイッチSW1〜SW3のすべてが所定時間に亘って作動しなかったときには、CPU5は所定の手順に従って通常動作モードからホルトモードに移行する。例えば、CPU5のメモリ回路(図示せず)にメモリされたタイマプログラムが、スイッチSW1〜SW3のすべてがオフになった後、クロックを用いて時間を計測し、所定時間が経過するとプログラムはCPU5のクロックを停止させ、CPU5はホルトモードに移行する。
【0021】
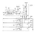
ホルトモードに移行したCPU5によるスイッチの作動の監視・検出を図2、3によって説明する。
CPU5がホルトモードに移行して、そのクロックが停止すると、クロックが作動していることを示すステータス信号STは「ハイレベル」から「ローレベル」に変化する。このステータス信号STはCPU5の出力ポートPO2に出力されており監視タイミング回路7に入力されている。
【0022】
ここで監視タイミング回路7は、タイミングパルスTPを発生するための回路であり、例えば無安定マルチバイブレータで構成され、以下のように動作する。
ステータス信号STが「ハイレベル」のときには、監視タイミング回路7はタイミングパルスTPの発生を停止すると共にスイッチング回路9のスイッチング素子を常時オンにするが、ステータス信号STが「ローレベル」のとき(ホルトモードのとき)には、監視タイミング回路7はタイミングパルスTPを発生し、タイミングパルスTPが、スイッチング回路9のスイッチング素子を周期的にオン/オフして、出力端9aには監視パルスMPが出力される。
【0023】
センサ回路10を構成する抵抗器R10の一端が出力端9aに接続されているので、監視パルスMPは抵抗器R10に印加される。抵抗器R10の他端は、抵抗器R1を介して入力端1及び入力回路11に、また抵抗器R2を介して入力端2及び入力回路12に、更に抵抗器R3を介して入力端3及び入力回路13に接続されている。図2に示すように、入力回路11は入力端1とアースとの間に接続された抵抗器R11で、また入力回路12は入力端2とアースとの間に接続された抵抗器R12で、更に入力回路13は入力端3とアースとの間に接続された抵抗器R13で構成されている。
【0024】
監視パルスMPは、抵抗器R10を経てから更に上述した抵抗器R1〜R3及び抵抗器R11〜R13からなる抵抗回路網によって分圧され、入力端1〜3に現れる。また監視パルスMPは、抵抗器R10を経て分圧され、抵抗器R10の他端に接続された判定回路8の判定入力端8aにも作動検出パルスDPとして現れる。
【0025】
ここでタイミングパルスTPの周期はTであり、パルス幅はTwである。(Tw/T)の値が小さいほど、ホルトモードにおいて、スイッチング回路9に流れる電流の平均値が少なくなり、ECUの消費電力が低減される。
スイッチの作動はセンサ回路10によって以下のようにして検出される。
判定回路8は、図2に示すようにコンパレータ81と判定パルス監視回路82と、判定入力端8a、閾値入力端8b、出力端8cを有している。コンパレータ81の反転入力端(−)は判定入力端8aに接続され、非反転入力端(+)は閾値入力端8bに接続され、コンパレータ81の出力は判定パルス監視回路82に入力され、判定パルス監視回路82の出力は出力端8cに出力されている。そして、閾値入力端8bには電圧Ref(V)が印加されている。
【0026】
前述した抵抗回路網、入力端1〜3及びスイッチSW1〜SWの構成から明らかなように、判定入力端8aとアースとの間には、抵抗器、入力端及びスイッチが直列に接続されているので(例えば抵抗器R1、入力端1及びスイッチSW1は直列に接続されている)、スイッチSW1〜SW3の何れかが作動(オン)したときにおける判定入力端8aとアースの間に介在する抵抗回路網の抵抗値は、スイッチSW1〜SW3すべてが作動していない(オフ)のときの抵抗回路網の抵抗値に比べて低い抵抗値となる。
【0027】
即ちスイッチSW1〜SW3の何れかが作動すると、スイッチSW1〜SW3すべてが作動していないときに比べ、抵抗器R10に流れる電流が増加し、抵抗器R10で生ずる電圧降下が増加するので、判定入力端8aに現れる電圧が低下する。
以上のことから、スイッチSW1〜SW3が操作されていないときに、判定入力端8aに発生する作動検出パルスDPの最大電圧をEm0(V)とし、スイッチSW1〜SW3の何れか一個のスイッチがオンされたときに、判定入力端8aに発生する作動検出パルスDPの最大電圧をEm1(V)とすると、
Em1<Em0
が成立することになる。
【0028】
従って、電圧Ref(V)を閾値として、
Em1<Ref<Em0
なる関係を有するように設定すれば、図3に示すように、スイッチSW1〜SW3が作動していな場合(時刻tの前)、コンパレータ81の出力端8dには、判定パルスSP(負極性)が出力され、時刻tにおいてスイッチSW1〜SW3の何れか一つが作動すると、それ以後、スイッチSW1〜SW3がすべてオフになるまで、出力端8dは「ハイレベル」になる。
【0029】
なお同時にオンされたスイッチが増えるほど、判定入力端8aとアースとの間の抵抗値は小さくなるので、判定入力端8aに発生する作動検出パルスDPの最大電圧はEm1より更に低下し、やはり出力端8dは「ハイレベル」になる。
即ち判定回路8は、判定パルスSPの有無を判定することで、スイッチの作動(少なくとも1個のスイッチがオンとなったこと)を検出できることになる。判定パルスSPの有無は判定パルス監視回路82で行われる。判定パルス監視回路82は、判定パルスSPを検出すると「ローレベル」を出力し、一方、判定パルスSPを検出しないときには「ハイレベル」を出力する。
【0030】
判定パルス監視回路82の出力はCPU5の入力ポートPINに入力されており、ポートPINに「ハイレベル」が入力されると、CPU5は、停止していたクロックを起動して、通常動作モードに復帰する
通常動作モードに復帰したCPU5はスイッチ作動情報を以下のようにして検出する。
【0031】
CPU5が通常動作モードに復帰すると、出力ポートPO2に出力されるステータス信号STは「ローレベル」から「ハイレベル」となり、監視タイミング回路7は、タイミングパルスTPの発生を停止すると共に、スイッチング回路9のスイッチング素子を常時オンにする。従って出力端9aには直流電圧Eaが出力される。
【0032】
スイッチSW1〜SW3の何れか一つがオンされて、CPU5がホルトモードから通常動作モードに復帰したときには、オンされたスイッチに接続されている入力ポートだけが「ローレベル」になっている。従って、CPU5は、ポートPI1〜PI3の入力レベル(「ローレベル」か「ハイレベル」かを)を所定のプログラムで判別すれば、スイッチSW1〜SW3の作動情報を検出することができる。
【0033】
なお上記オンされたスイッチがオフになると、入力ポートPI1〜PI3は「ハイレベル」になる。
そして、CPU5は、このスイッチ作動情報をCPU5の所定のメモリ回路に各スイッチの作動情報としてメモリし、このスイッチ作動情報を所定の通信手順に従ってLANに接続された通信回線14を介し被制御機器に伝達する。
【0034】
以上、CPU5がホルトモードから通常動作モードに復帰したときのCPU5によるスイッチ作動情報を検出を説明したが、CPU5が通常動作モードで動作しているときであっても、CPU5はポートPI1〜PI3の入力レベルの判別からスイッチSW1〜SW3の作動情報を検出することができる。
なおスイッチは、機械的に作動して回路を開閉するものに限定されず、回路を導通・遮断する機能を有するものであればよい。また操作者が操作するスイッチに限らず、何らかの信号や物理量を検出して回路を導通・遮断するセンサ等であってもよい。
【0035】
このようにして、CPU5によって監視されるスイッチが所定時間に亘って作動しないときにはCPU5がホルトモードに移行してECUの低消費電力化を図り、ホルトモードにあってもECUはスイッチの作動を監視し、スイッチの作動が検出されるとCPU5が通常動作モードに復帰してスイッチの作動情報を機器に伝達するとことが可能となる。
【0036】
ところで、一般にECUは、CPUが正常に動作している場合に周期的に出力されるCPUの動作確認信号を検出してCPUの動作を監視し、CPUの動作確認信号が途絶えたときには、CPUを強制的にリセットして起動させる監視回路を備え、ECUの正常動作を維持している。
しかし従来のECUとは異なり、CPUがホルトモードに移行するECUは、ホルトモードにおいては、CPUの動作確認信号が停止するので、ECUの監視回路がCPUをリセットしてしまう。そうするとCPUは直ちに起動してしまうので、CPUは、ホルトモードに移行しても、安定してホルトモードにとどまることができず、ECUの低消費電力化を図ることが不可能になってしまう。
【0037】
そこでCPUがホルトモードに移行する以前に、監視回路の監視機能を停止することが考えられる。しかしこのような監視回路を有するECUでは、ホルトモードにおいてスイッチに周期的に印加される作動監視信号の発生に異常が起きると、判定回路が動作しなくなるため、その後にスイッチが作動しても、判定回路は、スイッチの作動を検出できなくなるので、CPUをホルトモードから通常動作モードに復帰できず、CPUがホルトモードに留まり続けるという不都合を生じてしまう。
【0038】
この不都合を回避するため、図4に示す監視回路6は、パルス監視回路61と2入力OR回路(以下、「OR回路」)62を有して、CPU5が通常動作モードにあるときは、CPU5の出力ポートPO1から出力されるCPU5の動作確認信号を監視し、ホルトモードにあるときはスイッチの周期的な作動監視信号のタイミングを規定する信号を監視する。
【0039】
OR回路62の第一の入力端62aには、CPU5の出力ポートPO1から出力されるCPU5の動作確認信号(正極性)が入力され、第二の入力端62bには判定入力端8aに発生する正極性の作動検出パルスDPが入力されている。従ってOR回路62の出力端62cには、通常動作モードにおいてはCPU5の動作確認信号を入力とするパルスが出力され、ホルトモードにおいては判定入力端8aに発生する作動検出パルスDPを入力とするパルスが出力される。
【0040】
ここでパルス監視回路61は、出力端62cにパルスが出力されていると「ローレベル」を出力し、出力端62cにパルスが出力されていないと「ハイレベル」を出力する。パルス監視回路61の出力は出力端8cを介してCPU5のリセットポートRESに入力されており、リセットポートRESに「ハイレベル」が入力されるとCPU5はリセットされる。
【0041】
従って通常動作モードにおいては、監視回路6は、CPU5の動作を監視し、CPU5の動作確認信号が途絶えたときにCPU5を強制的にリセットし、ホルトモードにおいては、スイッチの周期的な作動監視信号のタイミングを規定する信号が停止したときにCPU5を強制的にリセットして、CPU5を通常動作に復帰させるので、ホルトモードで作動監視信号が停止したときでも、CPU5は通常動作モードに復帰することができその動作を維持できる。
【0042】
なお本発明は、自動車に搭載された機器の制御に使用されるECUに限定されるものではなく、LANシステムを用いて機器の動作を制御するECUに、その趣旨を逸脱しない範囲で実施することができる。
【0043】
【発明の効果】
以上説明したように本発明によれば、電子制御装置によって監視されるスイッチが所定時間に亘って作動しないときには、制御装置本体が通常動作モードからホルトモードに移行し、ホルトモードでスイッチ状態監視手段がスイッチの作動を検出すると、制御装置本体が通常動作モードに復帰してスイッチの作動情報を機器に伝達するので、電子制御装置の消費電力が低減され、電子制御装置に電力を供給する電源の負荷を軽減でき、電源がバッテリの場合にはバッテリの過放電を防止するという効果が得られ、更に、制御装置本体は、通常動作モード時に制御装置本体が出力する動作確認信号を監視し、動作確認信号が途絶えたときに制御装置本体を強制的にリセットし、ホルトモード時には、スイッチの周期的な作動監視信号のタイミングを規定する信号を動作確認信号に代わる信号として監視する監視回路を有することで、作動監視信号のタイミングを規定する信号が途絶えたときには制御装置本体を強制的にリセットするので、電子制御装置がスイッチの作動を確実に監視・検出できるという効果が得られる。
【図面の簡単な説明】
【図1】 本発明に係るECUの一実施形態の概略構成を示す図である。
【図2】 図1のECUのスイッチング回路、センサ回路、判定回路、入力回路及びスイッチの接続を示す回路図である。
【図3】 図2のセンサ回路と判定回路の動作を示す図である。
【図4】 図1の監視回路の接続を示す回路図である。
【符号の説明】
1、2、3 入力端
5 CPU
6 監視回路
7 監視タイミング回路
8 判定回路
9 スイッチング回路
10 センサ回路
11、12、13 入力回路
DP 作動検出パルス
MP 監視パルス

Claims (1)

  1. 通常動作モード時には選択的に作動するスイッチの作動状態に応じて所定の電子機器の作動を制御すると共に、前記スイッチが所定時間に亘って作動しないときにはホルトモードを設定して動作待機する制御装置本体と、
    前記制御装置本体がホルトモードに移行したときに作動して前記スイッチの作動を周期的に監視するスイッチ状態監視手段と、
    前記スイッチ状態監視手段により前記スイッチの作動が検出されたときに前記制御装置本体を前記通常動作モードに復帰させる判定手段と
    を具備し、
    前記制御装置本体は、該制御装置本体が通常動作モード時に周期的に出力する動作確認信号を検出して該制御装置本体の動作を監視し、前記動作確認信号が途絶えたときに前記制御装置本体を強制的にリセットする監視回路を備え、
    前記スイッチ状態監視手段は、前記スイッチの周期的な作動監視信号の監視タイミングを規定する信号を、前記動作確認信号に代わる信号として前記監視回路に与える手段を備えることを特徴とする電子制御装置。
JP2001069007A 2001-03-12 2001-03-12 電子制御装置 Expired - Fee Related JP4762425B2 (ja)

Priority Applications (1)

Application Number Priority Date Filing Date Title
JP2001069007A JP4762425B2 (ja) 2001-03-12 2001-03-12 電子制御装置

Applications Claiming Priority (1)

Application Number Priority Date Filing Date Title
JP2001069007A JP4762425B2 (ja) 2001-03-12 2001-03-12 電子制御装置

Publications (2)

Publication Number Publication Date
JP2002271868A JP2002271868A (ja) 2002-09-20
JP4762425B2 true JP4762425B2 (ja) 2011-08-31

Family

ID=18927107

Family Applications (1)

Application Number Title Priority Date Filing Date
JP2001069007A Expired - Fee Related JP4762425B2 (ja) 2001-03-12 2001-03-12 電子制御装置

Country Status (1)

Country Link
JP (1) JP4762425B2 (ja)

Cited By (1)

* Cited by examiner, † Cited by third party
Publication number Priority date Publication date Assignee Title
US10894519B2 (en) 2015-12-28 2021-01-19 Rohm Co., Ltd. Vehicle switch control device and switch state detection method

Family Cites Families (2)

* Cited by examiner, † Cited by third party
Publication number Priority date Publication date Assignee Title
JPH08221148A (ja) * 1995-02-14 1996-08-30 Ricoh Co Ltd 情報処理装置
JPH08245099A (ja) * 1995-03-16 1996-09-24 Toshiba Corp エレベータ制御装置

Cited By (1)

* Cited by examiner, † Cited by third party
Publication number Priority date Publication date Assignee Title
US10894519B2 (en) 2015-12-28 2021-01-19 Rohm Co., Ltd. Vehicle switch control device and switch state detection method

Also Published As

Publication number Publication date
JP2002271868A (ja) 2002-09-20

Similar Documents

Publication Publication Date Title
KR101967464B1 (ko) 배터리 방전 방지 방법 및 이를 수행하는 전자 제어 장치
US10351084B2 (en) Power supply control system
CN110576811A (zh) 用于避免停放车辆中的电池耗尽的系统和方法
KR102058198B1 (ko) 상시 전원 공급을 위한 병렬 회로를 이용하여 배터리의 릴레이의 고장을 진단하는 장치 및 방법
JP5604009B2 (ja) デュアルバッテリシステム用の起動装置及び起動方法
CN105722728B (zh) 电源控制系统
JP2009081948A (ja) 電源制御システム
US9897633B2 (en) System and method for switch status detection
JP2006262642A (ja) 電源システムの監視装置
WO2022186376A1 (ja) 組電池管理システム
WO2015040911A1 (ja) 電池制御ユニットシステム
US8832474B2 (en) Slave circuit of a LIN bus and method for operation
EP3616361B1 (en) Power management device for immediate start-up during power negotiation
JP4762425B2 (ja) 電子制御装置
CN103119457A (zh) 一种用于确定蓄电池的充电状态的方法
CN110154824B (zh) 电池包休眠的检测装置、方法及车辆
JP4866214B2 (ja) 制御ユニットおよび車載用の多重通信システム
JP4155621B2 (ja) 電源回路
JP2014053265A (ja) 電源装置
JP6379046B2 (ja) 電源制御システム
JP2012162139A (ja) 車両用電源制御装置
JP2005030818A (ja) 電圧監視回路
JP2021059272A (ja) 車載通信システムおよび電源制御方法
WO2025134487A1 (ja) 電源システムと電源システムの制御方法
JPH11341821A (ja) インバータ装置

Legal Events

Date Code Title Description
RD05 Notification of revocation of power of attorney

Free format text: JAPANESE INTERMEDIATE CODE: A7425

Effective date: 20050922

A621 Written request for application examination

Free format text: JAPANESE INTERMEDIATE CODE: A621

Effective date: 20080201

A977 Report on retrieval

Free format text: JAPANESE INTERMEDIATE CODE: A971007

Effective date: 20100524

A131 Notification of reasons for refusal

Free format text: JAPANESE INTERMEDIATE CODE: A131

Effective date: 20100601

A521 Written amendment

Free format text: JAPANESE INTERMEDIATE CODE: A523

Effective date: 20100730

A01 Written decision to grant a patent or to grant a registration (utility model)

Free format text: JAPANESE INTERMEDIATE CODE: A01

Effective date: 20110520

A01 Written decision to grant a patent or to grant a registration (utility model)

Free format text: JAPANESE INTERMEDIATE CODE: A01

A61 First payment of annual fees (during grant procedure)

Free format text: JAPANESE INTERMEDIATE CODE: A61

Effective date: 20110608

FPAY Renewal fee payment (event date is renewal date of database)

Free format text: PAYMENT UNTIL: 20140617

Year of fee payment: 3

FPAY Renewal fee payment (event date is renewal date of database)

Free format text: PAYMENT UNTIL: 20140617

Year of fee payment: 3

LAPS Cancellation because of no payment of annual fees