JP4745682B2 - Co2回収装置および方法 - Google Patents
Co2回収装置および方法 Download PDFInfo
- Publication number
- JP4745682B2 JP4745682B2 JP2005047857A JP2005047857A JP4745682B2 JP 4745682 B2 JP4745682 B2 JP 4745682B2 JP 2005047857 A JP2005047857 A JP 2005047857A JP 2005047857 A JP2005047857 A JP 2005047857A JP 4745682 B2 JP4745682 B2 JP 4745682B2
- Authority
- JP
- Japan
- Prior art keywords
- solution
- regeneration tower
- semi
- lean
- exhaust gas
- Prior art date
- Legal status (The legal status is an assumption and is not a legal conclusion. Google has not performed a legal analysis and makes no representation as to the accuracy of the status listed.)
- Expired - Fee Related
Links
Images
Classifications
-
- B—PERFORMING OPERATIONS; TRANSPORTING
- B01—PHYSICAL OR CHEMICAL PROCESSES OR APPARATUS IN GENERAL
- B01D—SEPARATION
- B01D53/00—Separation of gases or vapours; Recovering vapours of volatile solvents from gases; Chemical or biological purification of waste gases, e.g. engine exhaust gases, smoke, fumes, flue gases, aerosols
- B01D53/14—Separation of gases or vapours; Recovering vapours of volatile solvents from gases; Chemical or biological purification of waste gases, e.g. engine exhaust gases, smoke, fumes, flue gases, aerosols by absorption
- B01D53/1425—Regeneration of liquid absorbents
-
- B—PERFORMING OPERATIONS; TRANSPORTING
- B01—PHYSICAL OR CHEMICAL PROCESSES OR APPARATUS IN GENERAL
- B01D—SEPARATION
- B01D53/00—Separation of gases or vapours; Recovering vapours of volatile solvents from gases; Chemical or biological purification of waste gases, e.g. engine exhaust gases, smoke, fumes, flue gases, aerosols
- B01D53/14—Separation of gases or vapours; Recovering vapours of volatile solvents from gases; Chemical or biological purification of waste gases, e.g. engine exhaust gases, smoke, fumes, flue gases, aerosols by absorption
- B01D53/1456—Removing acid components
- B01D53/1475—Removing carbon dioxide
-
- F—MECHANICAL ENGINEERING; LIGHTING; HEATING; WEAPONS; BLASTING
- F23—COMBUSTION APPARATUS; COMBUSTION PROCESSES
- F23J—REMOVAL OR TREATMENT OF COMBUSTION PRODUCTS OR COMBUSTION RESIDUES; FLUES
- F23J2219/00—Treatment devices
- F23J2219/40—Sorption with wet devices, e.g. scrubbers
-
- F—MECHANICAL ENGINEERING; LIGHTING; HEATING; WEAPONS; BLASTING
- F23—COMBUSTION APPARATUS; COMBUSTION PROCESSES
- F23J—REMOVAL OR TREATMENT OF COMBUSTION PRODUCTS OR COMBUSTION RESIDUES; FLUES
- F23J2219/00—Treatment devices
- F23J2219/80—Quenching
-
- Y—GENERAL TAGGING OF NEW TECHNOLOGICAL DEVELOPMENTS; GENERAL TAGGING OF CROSS-SECTIONAL TECHNOLOGIES SPANNING OVER SEVERAL SECTIONS OF THE IPC; TECHNICAL SUBJECTS COVERED BY FORMER USPC CROSS-REFERENCE ART COLLECTIONS [XRACs] AND DIGESTS
- Y02—TECHNOLOGIES OR APPLICATIONS FOR MITIGATION OR ADAPTATION AGAINST CLIMATE CHANGE
- Y02C—CAPTURE, STORAGE, SEQUESTRATION OR DISPOSAL OF GREENHOUSE GASES [GHG]
- Y02C20/00—Capture or disposal of greenhouse gases
- Y02C20/40—Capture or disposal of greenhouse gases of CO2
Landscapes
- Chemical & Material Sciences (AREA)
- Engineering & Computer Science (AREA)
- Analytical Chemistry (AREA)
- General Chemical & Material Sciences (AREA)
- Oil, Petroleum & Natural Gas (AREA)
- Chemical Kinetics & Catalysis (AREA)
- Gas Separation By Absorption (AREA)
- Treating Waste Gases (AREA)
- Carbon And Carbon Compounds (AREA)
- Organic Low-Molecular-Weight Compounds And Preparation Thereof (AREA)
Description
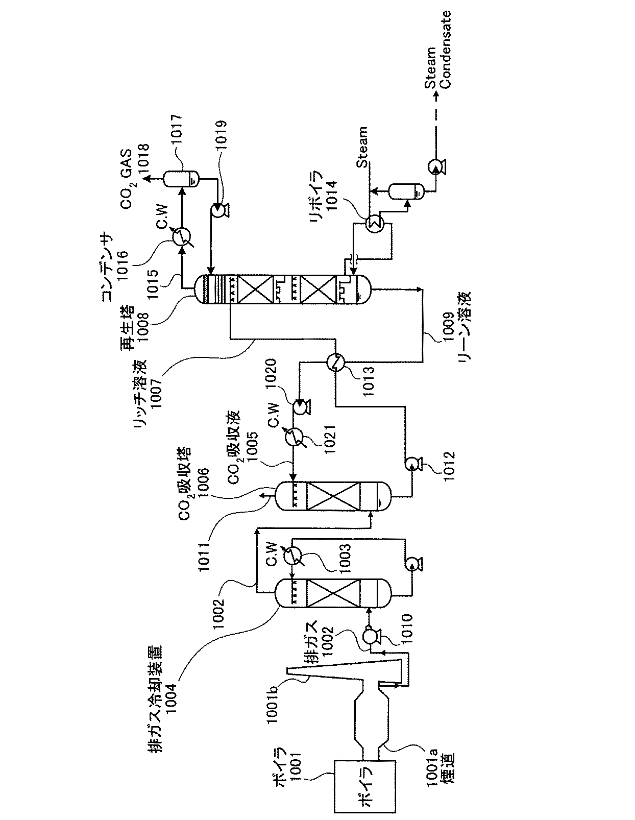
なお、本実施例3では再生塔内のセミリーン溶液を2箇所から抜き出し、排ガスとの熱交換後、再生塔に一箇所にて返還しているが、排ガスとの熱交換後の2種のセミリーン溶液を合流させずに、別々に再生塔に返還しても良い。
1a,1b セミリーン抜き出し位置
2 セミリーンソルベントポンプ
3,11,21 抜き出しセミリーン往路管
4,14,24 セミリーン/排ガス熱交換部
5、15,25 抜き出しセミリーン復路管
5a,5b セミリーン返還位置
6,16,26 セミリーン抜き出し昇温返還流路
35 セミリーン合流復路管
1001 産業設備(ボイラやガスタービン等)
1001a 煙道
1002 排ガス
1004 排ガス冷却装置
1005 CO2吸収液
1006 CO2吸収塔
1007 リッチ溶液
1008 再生塔
1009 リーン溶液
1014 リボイラ
1016 オーバーヘッドコンデンサ
Claims (8)
- 産業設備から排出されたCO2を含有する排ガスとCO2を吸収するCO2吸収液とを接触させて前記排ガスからCO2を除去するCO2吸収塔と、CO2を吸収したCO2吸収液であるリッチ溶液からCO2を除去することにより前記リッチ溶液をCO2の吸収のないCO2吸収液であるリーン溶液に再生する再生塔とを有し、前記再生塔でCO2が除去されてなるリーン溶液を前記CO2吸収液として前記吸収塔で再利用するCO2回収装置において、
前記再生塔の上部から前記再生塔内に注入されたリッチ溶液から一部のCO2が放出されてなるセミリーン溶液の少なくとも一部を該再生塔から抜き出し、前記ボイラ等の産業設備煙道内の高温の排ガスと熱交換させて昇温した後、該再生塔内に戻すセミリーン溶液抜き出し昇温返還流路を設けたことを特徴とするCO2回収装置。 - 前記セミリーン溶液抜き出し昇温返還流路の前記再生塔への返還位置を前記再生塔の前記セミリーン溶液抜き出し位置より下方に設定したことを特徴とする請求項1に記載のCO2回収装置。
- 前記再生塔における前記セミリーン溶液の抜き出し位置が前記リッチ溶液の注入位置近傍から該再生塔の中段までの間の任意の位置であることを特徴とする請求項1または2に記載のCO2回収装置。
- 前記再生塔における前記セミリーン溶液の抜き出し位置が複数であり、これら複数の抜き出しセミリーン溶液の前記排ガスとの熱交換後の前記再生塔への返還位置が一カ所もしくは前記抜き出し位置の数以下の複数箇所であることを特徴とする請求項1〜3のいずれか1項に記載のCO2回収装置。
- 煙道から抜き出した燃焼排ガスとCO2吸収液とを接触させてCO2をCO2吸収液に吸収するCO2吸収塔と、
前記CO2吸収液を加熱してCO2をCO2吸収液から除去する再生塔と、
煙道に設けられた排ガス熱交換部と、
CO2吸収液を前記再生塔から抜き出して前記排ガス熱交換部に移送する抜き出しセミリーン往路管と、
CO2吸収液を前記排ガス熱交換部から前記再生塔に移送する前記抜き出しセミリーン復路管と、を備え、
CO2を吸収したCO2吸収液であるリッチ溶液からCO2を除去してリーン溶液とする際、前記排ガス熱交換部において燃焼排ガスとCO2吸収液と熱交換して燃焼排ガスの熱を利用するCO2回収装置。 - 産業設備から排出されたCO2を含有する排ガスとCO2を吸収するCO2吸収液とをCO2吸収塔内で接触させて前記排ガスからCO2を除去した後、前記CO2を吸収したCO2吸収液であるリッチ溶液を再生塔内に導入して該リッチ溶液からCO2を除去することにより前記リッチ溶液をCO2の吸収のないCO2吸収液であるリーン溶液に再生し、該リーン溶液を前記CO2吸収液として前記吸収塔で再利用するCO2回収方法において、
前記再生塔の上部から該再生塔内に注入されたリッチ溶液から一部もしくは大部分のCO2が放出されてなるセミリーン溶液の少なくとも一部を該再生塔から抜き出し、前記ボイラやガスタービン等、産業設備の煙道内の高温の排ガスと熱交換させて昇温した後、該再生塔の前記セミリーン溶液抜き出し位置より下方の位置から該再生塔内に戻すことを特徴とするCO2回収方法。 - 前記再生塔における前記セミリーン溶液の抜き出しを前記リッチ溶液の注入位置近傍から該再生塔の中段までの間の任意の位置から行うことを特徴とする請求項6に記載のCO2回収方法。
- 前記再生塔における前記セミリーン溶液の抜き出しを複数箇所から行い、これら複数の抜き出しセミリーン溶液を前記排ガスと熱交換させた後、前記再生塔への返還を一カ所もしくは前記抜き出し位置の数以下の複数箇所にて行うことを特徴とする請求項6または7に記載のCO2回収方法。
Priority Applications (5)
| Application Number | Priority Date | Filing Date | Title |
|---|---|---|---|
| JP2005047857A JP4745682B2 (ja) | 2005-02-23 | 2005-02-23 | Co2回収装置および方法 |
| NO20060857A NO335911B1 (no) | 2005-02-23 | 2006-02-22 | Fremgangsmåte og apparat for gjenvinning av C02 |
| EP06003686A EP1695756B1 (en) | 2005-02-23 | 2006-02-23 | Apparatus and method for CO2 recovery |
| DE602006013368T DE602006013368D1 (de) | 2005-02-23 | 2006-02-23 | Vorrichtung und Verfahren zur CO2 Rückgewinnung |
| US11/359,523 US7485274B2 (en) | 2005-02-23 | 2006-02-23 | Apparatus and method for CO2 recovery |
Applications Claiming Priority (1)
| Application Number | Priority Date | Filing Date | Title |
|---|---|---|---|
| JP2005047857A JP4745682B2 (ja) | 2005-02-23 | 2005-02-23 | Co2回収装置および方法 |
Publications (2)
| Publication Number | Publication Date |
|---|---|
| JP2006232596A JP2006232596A (ja) | 2006-09-07 |
| JP4745682B2 true JP4745682B2 (ja) | 2011-08-10 |
Family
ID=36168646
Family Applications (1)
| Application Number | Title | Priority Date | Filing Date |
|---|---|---|---|
| JP2005047857A Expired - Fee Related JP4745682B2 (ja) | 2005-02-23 | 2005-02-23 | Co2回収装置および方法 |
Country Status (5)
| Country | Link |
|---|---|
| US (1) | US7485274B2 (ja) |
| EP (1) | EP1695756B1 (ja) |
| JP (1) | JP4745682B2 (ja) |
| DE (1) | DE602006013368D1 (ja) |
| NO (1) | NO335911B1 (ja) |
Families Citing this family (61)
| Publication number | Priority date | Publication date | Assignee | Title |
|---|---|---|---|---|
| JP4995084B2 (ja) * | 2004-08-06 | 2012-08-08 | アルストム テクノロジー リミテッド | Co2の除去を包含する燃焼ガスの超清浄化 |
| JP5021917B2 (ja) | 2005-09-01 | 2012-09-12 | 三菱重工業株式会社 | Co2回収装置及び方法 |
| JP5230088B2 (ja) * | 2006-09-06 | 2013-07-10 | 三菱重工業株式会社 | Co2回収装置及び方法 |
| JP4875522B2 (ja) * | 2007-03-14 | 2012-02-15 | 三菱重工業株式会社 | Co2回収装置及び廃棄物抽出方法 |
| US8182577B2 (en) * | 2007-10-22 | 2012-05-22 | Alstom Technology Ltd | Multi-stage CO2 removal system and method for processing a flue gas stream |
| US7862788B2 (en) * | 2007-12-05 | 2011-01-04 | Alstom Technology Ltd | Promoter enhanced chilled ammonia based system and method for removal of CO2 from flue gas stream |
| US8192530B2 (en) | 2007-12-13 | 2012-06-05 | Alstom Technology Ltd | System and method for regeneration of an absorbent solution |
| CA2718386A1 (en) | 2008-03-13 | 2009-09-17 | Shell Internationale Research Maatschappij B.V. | Process for removal of carbon dioxide from a gas |
| US8252091B2 (en) | 2008-03-18 | 2012-08-28 | General Electric Company | CO2 recovery from IGCC power plants |
| US20090282977A1 (en) * | 2008-05-14 | 2009-11-19 | Alstom Technology Ltd | Gas purification system having provisions for co2 injection of wash water |
| US8926927B2 (en) | 2008-06-19 | 2015-01-06 | Shell Oil Company | Process for the removal of carbon dioxide from a gas |
| JP5039651B2 (ja) | 2008-07-08 | 2012-10-03 | 三菱重工業株式会社 | 排ガス中の二酸化炭素回収システム |
| US7846240B2 (en) | 2008-10-02 | 2010-12-07 | Alstom Technology Ltd | Chilled ammonia based CO2 capture system with water wash system |
| US8404027B2 (en) * | 2008-11-04 | 2013-03-26 | Alstom Technology Ltd | Reabsorber for ammonia stripper offgas |
| US8801836B2 (en) | 2009-02-02 | 2014-08-12 | Union Engineering A/S | Method for recovery of carbon dioxide from a gas using a process gas heated reboiler for carbon dioxide removal in a stripper |
| JP5751743B2 (ja) | 2009-03-09 | 2015-07-22 | 三菱重工業株式会社 | 排ガス処理装置及び排ガス処理方法 |
| US8292989B2 (en) * | 2009-10-30 | 2012-10-23 | Alstom Technology Ltd | Gas stream processing |
| US8845789B2 (en) | 2009-03-31 | 2014-09-30 | Alstom Technology Ltd | Process for CO2 capture with improved stripper performance |
| US8784761B2 (en) * | 2009-11-20 | 2014-07-22 | Alstom Technology Ltd | Single absorber vessel to capture CO2 |
| US8790605B2 (en) * | 2009-09-15 | 2014-07-29 | Alstom Technology Ltd | Method for removal of carbon dioxide from a process gas |
| US8309047B2 (en) | 2009-09-15 | 2012-11-13 | Alstom Technology Ltd | Method and system for removal of carbon dioxide from a process gas |
| US8518156B2 (en) * | 2009-09-21 | 2013-08-27 | Alstom Technology Ltd | Method and system for regenerating a solution used in a wash vessel |
| EP2322265A1 (en) | 2009-11-12 | 2011-05-18 | Alstom Technology Ltd | Flue gas treatment system |
| US8460436B2 (en) | 2009-11-24 | 2013-06-11 | Alstom Technology Ltd | Advanced intercooling and recycling in CO2 absorption |
| US8293200B2 (en) * | 2009-12-17 | 2012-10-23 | Alstom Technology Ltd | Desulfurization of, and removal of carbon dioxide from, gas mixtures |
| CN101822941B (zh) * | 2010-05-21 | 2012-05-30 | 福建鑫泽环保设备工程有限公司 | 利用锅炉二次风热能提高净化烟气温度的净化塔结构 |
| US8262787B2 (en) | 2010-06-09 | 2012-09-11 | Uop Llc | Configuration of contacting zones in vapor liquid contacting apparatuses |
| US9919259B2 (en) | 2010-07-09 | 2018-03-20 | Carbon Capture Scientific, Llc | Gas pressurized separation column and process to generate a high pressure product gas |
| US8425655B2 (en) | 2010-07-09 | 2013-04-23 | Carbon Capture Scientific, Llc | Gas pressurized separation column and process to generate a high pressure product gas |
| US8728209B2 (en) | 2010-09-13 | 2014-05-20 | Alstom Technology Ltd | Method and system for reducing energy requirements of a CO2 capture system |
| US8623307B2 (en) | 2010-09-14 | 2014-01-07 | Alstom Technology Ltd. | Process gas treatment system |
| JP5637809B2 (ja) * | 2010-10-21 | 2014-12-10 | 株式会社東芝 | 二酸化炭素回収方法及び二酸化炭素回収型汽力発電システム |
| KR101304886B1 (ko) | 2010-11-30 | 2013-09-06 | 기아자동차주식회사 | 이산화탄소 흡수액 재생 장치 |
| JP5591083B2 (ja) * | 2010-12-01 | 2014-09-17 | 三菱重工業株式会社 | Co2回収システム |
| ES2616028T3 (es) | 2011-01-20 | 2017-06-09 | Saudi Arabian Oil Company | Método de adsorción reversible sobre sólido y sistema que utiliza calor residual para recuperación y almacenamiento a bordo de CO2 |
| JP6018084B2 (ja) | 2011-01-20 | 2016-11-02 | サウジ アラビアン オイル カンパニー | 自動車内燃機関排気ガスに由来するco2の車両内回収及び貯蔵のための廃熱を利用する直接高密度化方法及びシステム |
| WO2012100182A1 (en) | 2011-01-20 | 2012-07-26 | Saudi Arabian Oil Company | Membrane separation method and system utilizing waste heat for on-board recovery and storage of co2 from motor vehicle internal combustion engine exhaust gases |
| US9180401B2 (en) | 2011-01-20 | 2015-11-10 | Saudi Arabian Oil Company | Liquid, slurry and flowable powder adsorption/absorption method and system utilizing waste heat for on-board recovery and storage of CO2 from motor vehicle internal combustion engine exhaust gases |
| US8329128B2 (en) | 2011-02-01 | 2012-12-11 | Alstom Technology Ltd | Gas treatment process and system |
| JP2014505593A (ja) | 2011-02-02 | 2014-03-06 | アルストム テクノロジー リミテッド | 再生エネルギーの低減方法 |
| US9901860B2 (en) | 2011-02-02 | 2018-02-27 | General Electric Technology Gmbh | Apparatus for removing an acid gas from a gas stream |
| JP5398755B2 (ja) * | 2011-02-08 | 2014-01-29 | 株式会社日立製作所 | Co2回収方法およびco2回収装置 |
| US9028784B2 (en) | 2011-02-15 | 2015-05-12 | Alstom Technology Ltd | Process and system for cleaning a gas stream |
| US9133407B2 (en) | 2011-02-25 | 2015-09-15 | Alstom Technology Ltd | Systems and processes for removing volatile degradation products produced in gas purification |
| EP2719439A4 (en) | 2011-06-09 | 2015-04-15 | Asahi Chemical Ind | CARBON DIOXIDE ABSORPTION AND CARBON DIOXIDE SEPARATION / RECOVERY PROCESS WITH THE ABSORBER |
| US8864878B2 (en) * | 2011-09-23 | 2014-10-21 | Alstom Technology Ltd | Heat integration of a cement manufacturing plant with an absorption based carbon dioxide capture process |
| US8911538B2 (en) | 2011-12-22 | 2014-12-16 | Alstom Technology Ltd | Method and system for treating an effluent stream generated by a carbon capture system |
| US9162177B2 (en) | 2012-01-25 | 2015-10-20 | Alstom Technology Ltd | Ammonia capturing by CO2 product liquid in water wash liquid |
| US9028654B2 (en) | 2012-02-29 | 2015-05-12 | Alstom Technology Ltd | Method of treatment of amine waste water and a system for accomplishing the same |
| US8741247B2 (en) | 2012-03-27 | 2014-06-03 | Alstom Technology Ltd | Method and system for low energy carbon dioxide removal |
| US8864879B2 (en) | 2012-03-30 | 2014-10-21 | Jalal Askander | System for recovery of ammonia from lean solution in a chilled ammonia process utilizing residual flue gas |
| US20140041523A1 (en) * | 2012-08-09 | 2014-02-13 | Mitsubishi Heavy Industries, Ltd. | Exhaust gas treatment system |
| US9233337B2 (en) * | 2012-09-20 | 2016-01-12 | Mitsubishi Heavy Industries, Ltd. | CO2 recovery device |
| US10195561B2 (en) * | 2012-09-20 | 2019-02-05 | Mitsubishi Heavy Industries Engineering, Ltd. | Steam supply system and CO2 recovery unit including the same |
| US9101912B2 (en) | 2012-11-05 | 2015-08-11 | Alstom Technology Ltd | Method for regeneration of solid amine CO2 capture beds |
| US9314732B2 (en) * | 2013-01-09 | 2016-04-19 | Fluor Technologies Corporation | Systems and methods for reducing the energy requirements of a carbon dioxide capture plant |
| US9447996B2 (en) | 2013-01-15 | 2016-09-20 | General Electric Technology Gmbh | Carbon dioxide removal system using absorption refrigeration |
| US8986640B1 (en) | 2014-01-07 | 2015-03-24 | Alstom Technology Ltd | System and method for recovering ammonia from a chilled ammonia process |
| EP4558715A1 (en) | 2022-07-21 | 2025-05-28 | Victor Juchymenko | System, apparatus and method for managing heat transfer in post combustion (co2 and h2s) gas treating systems |
| WO2024023509A1 (en) * | 2022-07-29 | 2024-02-01 | Carbon Clean Solutions Limited | A method and system for the removal of carbon dioxide from carbon capture solvents using heat from a gas |
| CN119345857B (zh) * | 2024-12-25 | 2025-04-04 | 中国华能集团清洁能源技术研究院有限公司 | 烟气净化和co2捕集耦合系统及碳捕集方法 |
Family Cites Families (10)
| Publication number | Priority date | Publication date | Assignee | Title |
|---|---|---|---|---|
| IT1046519B (it) * | 1974-11-08 | 1980-07-31 | Vetrocoke Cokapuania Spa | Procedimento migliorato per la eliminazione e il ricupero di gas acidi co 2 e o h2s da miscele gassose che li contengono |
| IT1064936B (it) * | 1976-07-13 | 1985-02-25 | Giammarco Giuseppe | Procedimento per l assorbimento di co 2..h2s e simili impurezze e rigenerazione della soluzione con ritorno di calore in colonna di rigenerazione mediante una corrente di gas inerti |
| IT1156991B (it) * | 1978-04-27 | 1987-02-04 | Giuseppe Giammarco | Procedimento migliorato per la purificazione di liquidi e o per la rigenerazione di soluzioni assorbenti |
| ES2003265A6 (es) * | 1987-04-21 | 1988-10-16 | Espan Carburos Metal | Procedimiento para la obtencion de co2 y n2 a partir de los gases generados en un motor o turbina de combustion interna |
| JPH0397613A (ja) * | 1989-09-11 | 1991-04-23 | Osaka Gas Co Ltd | コジェネレーション設備の燃焼廃ガスからの炭酸ガス回収方法 |
| JPH0779950B2 (ja) | 1989-12-25 | 1995-08-30 | 三菱重工業株式会社 | 燃焼排ガス中のco▲下2▼の除去方法 |
| JP3486220B2 (ja) * | 1994-03-08 | 2004-01-13 | バブコック日立株式会社 | 燃焼排ガス浄化方法および装置 |
| US6800120B1 (en) * | 1998-11-23 | 2004-10-05 | Fluor Corporation | Split-flow process and apparatus |
| US7377967B2 (en) * | 2002-07-03 | 2008-05-27 | Fluor Technologies Corporation | Split flow process and apparatus |
| JP4875303B2 (ja) * | 2005-02-07 | 2012-02-15 | 三菱重工業株式会社 | 二酸化炭素回収システム、これを用いた発電システムおよびこれら方法 |
-
2005
- 2005-02-23 JP JP2005047857A patent/JP4745682B2/ja not_active Expired - Fee Related
-
2006
- 2006-02-22 NO NO20060857A patent/NO335911B1/no not_active IP Right Cessation
- 2006-02-23 DE DE602006013368T patent/DE602006013368D1/de active Active
- 2006-02-23 EP EP06003686A patent/EP1695756B1/en not_active Ceased
- 2006-02-23 US US11/359,523 patent/US7485274B2/en not_active Expired - Fee Related
Also Published As
| Publication number | Publication date |
|---|---|
| EP1695756A1 (en) | 2006-08-30 |
| US20060204425A1 (en) | 2006-09-14 |
| DE602006013368D1 (de) | 2010-05-20 |
| NO335911B1 (no) | 2015-03-23 |
| NO20060857L (no) | 2006-08-24 |
| US7485274B2 (en) | 2009-02-03 |
| JP2006232596A (ja) | 2006-09-07 |
| EP1695756B1 (en) | 2010-04-07 |
Similar Documents
| Publication | Publication Date | Title |
|---|---|---|
| JP4745682B2 (ja) | Co2回収装置および方法 | |
| JP5021917B2 (ja) | Co2回収装置及び方法 | |
| JP5230088B2 (ja) | Co2回収装置及び方法 | |
| JP5922451B2 (ja) | Co2回収装置 | |
| JP5638262B2 (ja) | Co2回収装置およびco2回収方法 | |
| JP5595045B2 (ja) | Co2回収装置及びco2回収方法 | |
| JP4875303B2 (ja) | 二酸化炭素回収システム、これを用いた発電システムおよびこれら方法 | |
| JP5134578B2 (ja) | Co2回収装置及びその方法 | |
| EP2722097B1 (en) | Combustion exhaust gas treatment system and combustion exhaust gas treatment method | |
| JP5402842B2 (ja) | 二酸化炭素の回収方法及び回収装置 | |
| JP2005254212A (ja) | Co2回収装置及び方法 | |
| JP5591083B2 (ja) | Co2回収システム | |
| EP2726179B1 (en) | Low pressure steam pre-heaters for gas purification systems and processes of use | |
| JP2008307520A (ja) | Co2又はh2s除去システム、co2又はh2s除去方法 | |
| JP5174194B2 (ja) | Co2回収装置及び方法 | |
| JP5237204B2 (ja) | Co2回収装置及び方法 | |
| KR20170114802A (ko) | 탈거탑 탑상증기의 열에너지를 재활용한 이산화탄소 포집방법과 그 장치 | |
| JP4773865B2 (ja) | Co2回収装置及びco2回収方法 | |
| JP5737916B2 (ja) | Co2回収システム | |
| JP5737844B2 (ja) | Co2回収装置の熱回収設備および熱回収方法 | |
| JP2011000528A (ja) | Co2回収装置及び方法 | |
| JPWO2014038412A1 (ja) | 熱回収システム及び熱回収方法 | |
| EP4401864B1 (en) | Method for capturing co² from a flue gas from a district heating plant | |
| JP5518164B2 (ja) | Co2回収装置及び方法 | |
| JP2025100030A (ja) | 二酸化炭素の回収装置及び回収方法 |
Legal Events
| Date | Code | Title | Description |
|---|---|---|---|
| A621 | Written request for application examination |
Free format text: JAPANESE INTERMEDIATE CODE: A621 Effective date: 20071211 |
|
| A977 | Report on retrieval |
Free format text: JAPANESE INTERMEDIATE CODE: A971007 Effective date: 20101022 |
|
| A131 | Notification of reasons for refusal |
Free format text: JAPANESE INTERMEDIATE CODE: A131 Effective date: 20110215 |
|
| A521 | Request for written amendment filed |
Free format text: JAPANESE INTERMEDIATE CODE: A523 Effective date: 20110404 |
|
| TRDD | Decision of grant or rejection written | ||
| A01 | Written decision to grant a patent or to grant a registration (utility model) |
Free format text: JAPANESE INTERMEDIATE CODE: A01 Effective date: 20110426 |
|
| A01 | Written decision to grant a patent or to grant a registration (utility model) |
Free format text: JAPANESE INTERMEDIATE CODE: A01 |
|
| A61 | First payment of annual fees (during grant procedure) |
Free format text: JAPANESE INTERMEDIATE CODE: A61 Effective date: 20110512 |
|
| FPAY | Renewal fee payment (event date is renewal date of database) |
Free format text: PAYMENT UNTIL: 20140520 Year of fee payment: 3 |
|
| R150 | Certificate of patent or registration of utility model |
Free format text: JAPANESE INTERMEDIATE CODE: R150 |
|
| R250 | Receipt of annual fees |
Free format text: JAPANESE INTERMEDIATE CODE: R250 |
|
| LAPS | Cancellation because of no payment of annual fees |
