JP4732685B2 - 物品をコーティングする装置 - Google Patents

物品をコーティングする装置 Download PDF

Info

Publication number
JP4732685B2
JP4732685B2 JP2003519960A JP2003519960A JP4732685B2 JP 4732685 B2 JP4732685 B2 JP 4732685B2 JP 2003519960 A JP2003519960 A JP 2003519960A JP 2003519960 A JP2003519960 A JP 2003519960A JP 4732685 B2 JP4732685 B2 JP 4732685B2
Authority
JP
Japan
Prior art keywords
coating
conductor
rim
waveguide
chambers
Prior art date
Legal status (The legal status is an assumption and is not a legal conclusion. Google has not performed a legal analysis and makes no representation as to the accuracy of the status listed.)
Expired - Lifetime
Application number
JP2003519960A
Other languages
English (en)
Other versions
JP2004538367A5 (ja
JP2004538367A (ja
Inventor
ベーレ,シュテファン
ベヴィグ,ラース
キュッパー,トマス
マリング,ヴォルフラム
メーレ,クリストフ
ヴァルター,マーテン
Current Assignee (The listed assignees may be inaccurate. Google has not performed a legal analysis and makes no representation or warranty as to the accuracy of the list.)
Schott AG
Original Assignee
Schott AG
Priority date (The priority date is an assumption and is not a legal conclusion. Google has not performed a legal analysis and makes no representation as to the accuracy of the date listed.)
Filing date
Publication date
Application filed by Schott AG filed Critical Schott AG
Publication of JP2004538367A publication Critical patent/JP2004538367A/ja
Publication of JP2004538367A5 publication Critical patent/JP2004538367A5/ja
Application granted granted Critical
Publication of JP4732685B2 publication Critical patent/JP4732685B2/ja
Anticipated expiration legal-status Critical
Expired - Lifetime legal-status Critical Current

Links

Images

Classifications

    • HELECTRICITY
    • H01ELECTRIC ELEMENTS
    • H01JELECTRIC DISCHARGE TUBES OR DISCHARGE LAMPS
    • H01J37/00Discharge tubes with provision for introducing objects or material to be exposed to the discharge, e.g. for the purpose of examination or processing thereof
    • H01J37/32Gas-filled discharge tubes
    • H01J37/32009Arrangements for generation of plasma specially adapted for examination or treatment of objects, e.g. plasma sources
    • H01J37/32192Microwave generated discharge
    • H01J37/32211Means for coupling power to the plasma
    • H01J37/32229Waveguides
    • CCHEMISTRY; METALLURGY
    • C23COATING METALLIC MATERIAL; COATING MATERIAL WITH METALLIC MATERIAL; CHEMICAL SURFACE TREATMENT; DIFFUSION TREATMENT OF METALLIC MATERIAL; COATING BY VACUUM EVAPORATION, BY SPUTTERING, BY ION IMPLANTATION OR BY CHEMICAL VAPOUR DEPOSITION, IN GENERAL; INHIBITING CORROSION OF METALLIC MATERIAL OR INCRUSTATION IN GENERAL
    • C23CCOATING METALLIC MATERIAL; COATING MATERIAL WITH METALLIC MATERIAL; SURFACE TREATMENT OF METALLIC MATERIAL BY DIFFUSION INTO THE SURFACE, BY CHEMICAL CONVERSION OR SUBSTITUTION; COATING BY VACUUM EVAPORATION, BY SPUTTERING, BY ION IMPLANTATION OR BY CHEMICAL VAPOUR DEPOSITION, IN GENERAL
    • C23C16/00Chemical coating by decomposition of gaseous compounds, without leaving reaction products of surface material in the coating, i.e. chemical vapour deposition [CVD] processes
    • C23C16/44Chemical coating by decomposition of gaseous compounds, without leaving reaction products of surface material in the coating, i.e. chemical vapour deposition [CVD] processes characterised by the method of coating
    • C23C16/50Chemical coating by decomposition of gaseous compounds, without leaving reaction products of surface material in the coating, i.e. chemical vapour deposition [CVD] processes characterised by the method of coating using electric discharges
    • C23C16/511Chemical coating by decomposition of gaseous compounds, without leaving reaction products of surface material in the coating, i.e. chemical vapour deposition [CVD] processes characterised by the method of coating using electric discharges using microwave discharges
    • HELECTRICITY
    • H01ELECTRIC ELEMENTS
    • H01JELECTRIC DISCHARGE TUBES OR DISCHARGE LAMPS
    • H01J37/00Discharge tubes with provision for introducing objects or material to be exposed to the discharge, e.g. for the purpose of examination or processing thereof
    • H01J37/32Gas-filled discharge tubes
    • H01J37/32009Arrangements for generation of plasma specially adapted for examination or treatment of objects, e.g. plasma sources
    • H01J37/32192Microwave generated discharge

Landscapes

  • Chemical & Material Sciences (AREA)
  • Engineering & Computer Science (AREA)
  • Physics & Mathematics (AREA)
  • Plasma & Fusion (AREA)
  • Analytical Chemistry (AREA)
  • Materials Engineering (AREA)
  • Chemical Kinetics & Catalysis (AREA)
  • Mechanical Engineering (AREA)
  • Metallurgy (AREA)
  • Organic Chemistry (AREA)
  • General Chemical & Material Sciences (AREA)
  • Chemical Vapour Deposition (AREA)
  • Plasma Technology (AREA)
  • Road Signs Or Road Markings (AREA)

Description

本発明は、気相蒸着によって物品(objects)をコーティングする装置に関する。コーティング処理室がマイクロ波デバイスに接続される。
好適な物品の例としては、たとえばランプの一部を形成することになるリフレクタのような光学的物品、ならびに医薬産業または化学産業に使用するボトルまたはバイアルも含む。しかしながら、これらは広範な実際の用途の例にすぎない。
DE 689 26 923 T2は、複数の同軸線を有するプラズマ室がマイクロ波発生器の同軸線に接続されるマイクロ波イオン源を開示している。この場合、プラズマ室は、互いに連通しているため、個々のプラズマ室の電磁場が互いに影響を及ぼし合う。イオンビームがマイクロ波イオン源の各プラズマ室から発生するが、プラズマ室間の相互作用によって広域のイオンビームが発生する。
DE 195 03 205 C1は、交流電磁場により減圧容器でプラズマを発生させる装置に関しており、棒形状の導体が減圧容器を介して絶縁材からなる管の内側に誘導される。
DE 41 36 297 A1は、マイクロ波励起によりプラズマを局所的に発生させる装置を記載している。この場合、減圧領域に対する境界線の役目を果たすとともに内側に金属からなる内部導体がある、絶縁材からなる管が処理室に設けられ、マイクロ波源からのマイクロ波が内部導体に導入される。この既知の装置は、マイクロ波を伝送するあるタイプの同軸線がイオン化ガスの特性により搬送導波管の外壁に形成される作用を利用する。
このようなタイプの装置には多くの要求が課せられている。コーティングの結果は、たとえば物品ごとの層厚の均一性および再現性に関する要件を満たす必要がある。さらに、その設備は、単位時間あたりの可能な物品仕上り量(yield)が可能な限り最大であるべきである。エネルギー消費は可能な限り低くあるべきである。
これらの要求は既存の装置では満たされていない、すなわち十分に満たされていない。
本発明は、限定された投資コストに対し、これまでよりも高い生産能力を達成することが可能であり、エネルギー消費が既知の装置よりも少なく、省スペースであるように、序文に記載した、マイクロ波源およびコーティング室を備えたタイプの装置を構成する目的に基づいている。
本目的は、請求項1の特徴によって達成される。
したがって、本発明の基本的な着想は、従来の場合のように1つのみでなく、2つ以上のコーティング室に供給する単一のマイクロ波源を提供することにある。この基本的な着想は、適当なインピーダンス構造または導波管構造を用いることにより、別個の室でコーティング用のプラズマを発生させるためにマイクロ波エネルギーを分割および導入するためにある。
本発明の第1の実施形態では、マイクロ波エネルギーが導波管自体で分割される。たとえばy-分割器などの適当な導波管部品がこの目的に用いることができる。導波管部品内で分割されたマイクロ波エネルギーは次に、たとえば誘電体窓または同軸導体構造を介してそれぞれのコーティング室に導入される。任意の形状の導波管、たとえば矩形導波管または円形導波管が考えられる。本発明の別の実施形態は、たとえば同軸導体構造を含むインピーダンス構造でマイクロ波エネルギーを分割するためにある。
マイクロ波源は、PICVD動作に対しパルスモードで動作することが特に有利である。この動作は、たとえばパルスエネルギーの供給により実施されることができる。しかしながら、例として非パルス時間変調マイクロ波源すなわちそれに対応するエネルギーの供給も可能である。いずれの場合も、プラズマ強度が変調される。これにより、特にPICVD動作のパルス間期間中に、比較的小さいプラズマ強度でのガス交換が可能になり、熱負荷が低減される。
特に好適な実施形態では、単一のマイクロ波源のエネルギーが、金属内部導体、および外部導体として誘電体を有する同軸導体構造によりそれぞれのコーティング室に導入される。このようにしてエネルギーが導入される場合、個々の同軸導体の電気長を変更することを可能にする手段を設けることが特に有利である。この方策により、2つ以上のコーティング室の場合に、1つの導体分岐のインピーダンスが、プラズマが導体分岐のいずれでもすなわち全てにおいて点火するよう、影響を受けることが可能になる。このことを達成するため、たとえば、コーティングステーションすべてが同じエネルギー供給を受けるように、個々の同軸導体の電気長を変えることによって、インピーダンスが選択されるべきである。個々のコーティング室におけるプラズマの交互の点火(alternatic ignition)が、適当なインピーダンスの選択によって回避されるはずである。
コーティング室は、互いに離れて配置されることが有利である。特に、コーティング室は互いに遮蔽されており、そのためコーティング室のプラズマおよび電磁場が互いに影響を及ぼし合うことがない。コーティングされるべき1つの物品がそれぞれコーティング室のそれぞれに収容されることが可能であるか、あるいは、コーティング室(10、10’)がそれぞれ、コーティングされるべき物品により形成されることが好ましい。
同軸導体の場合、インピーダンスは、誘電体で囲まれた個々の導体の長さを変えることによって変更することができる。
さらに、本発明の構成は、従属請求項および添付の記載から明らかとなろう。
本発明は、図面を参照しながらより詳細に説明される。
図1は、単一のマイクロ波源からのマイクロ波エネルギーがインピーダンス分岐に分割される、本発明の第1の実施形態を示す。
図1に示した装置は、マイクロ波源(ここでは図示せず)が接続される上部領域が示されており、下部領域はコーティング室を備える。この場合、装置は、内部導体Aおよび外部導体Bを備えた同軸構造を備える。内部導体Aは金属からなり、外部導体Bは誘電体で、この場合、空隙である。誘電体は、金属表面により境界を画される。本発明の状況(context)では、誘電体は、非金属媒体または金属性導電媒体を意味するものと理解されたい。したがって、本明細書で用いられた状況では、誘電体という用語は、たとえば空気または真空のような媒体も包含する。
この場合では、2つの処理室10、10’が設けられて、単一のマイクロ波源により供給される。この場合では、コーティング室が基材自体(たとえばガラスバイアル)から形成され、コーティング室がそれぞれガスノズル(図示せず)を割り当てられるか、あるいはそれぞれ1つの基材(たとえば外部コーティング用)がコーティング室の1つに収容される。処理されるべき基材は同じタイプであることが好ましい。ガラスのバイアルまたはボトルの代替として、プラスチックのバイアルまたはボトルまたはリフレクタも考慮されてよい。
上述の同軸導体構造の幾何学構造は、円錐1がマイクロ波源MwQ(詳細には図示せず)に接続されるように構成される。この円錐は、矩形導波管(ここでは図示せず)から上述の同軸導体構造への移行を形成するために用いられる。
導体2が円錐1に接続されている。H字形導体構造が導体2に接合している。このH字形導体構造は、ウェブ3および2つのリム4、4’を備える。この2つのリムは、上リム部4.1および下リム部4.2または上リム部4.1’および下リム部4.2’からなる。
コーティング室への供給導体、またはインピーダンス構造、特に導体2およびH字形導体構造は、固定または剛性導体として設計される。これにより、導体の位置が決まるため、電磁エネルギーの伝導および分割は、導体が動くことによる影響を受けることがない。
以下で扱われるであろう寸法xが重要である。この寸法は、誘電体Bで囲われたリム部4.1または4.1’の長さの部分を示す。
さらに重要な寸法は、下リム部4.2、4.2’間の距離y、すなわち処理室10、10’の領域にあるリム部間の距離である。本発明者らは、上記のパラメータxおよびyを適切に選択することで、処理室(コーティング室)の割合を調整することができ、処理室ごとに品質が異なることをなくすとともに許容可能なコーティング品質がすべての基材上に達成することができることを見い出した。
したがって、本発明のシステムにより、ダブルコーティングステーションまたはマルチコーティングステーションを提供することが可能となり、そのため生産量が大幅に増すとともに生産コストが大幅に低減される。この結果として、特にエネルギーコストが低減されることができる。コーティング品質が最適化されることができる。
この状況で、上述の2つのパラメータx、yのうち、調整を行うには一方のみを変更すればよいことを強調しておく。パラメータxは特に重要である。
図2は、実際にこの調整を実施することができる方法を示す。この図もまた、同軸導体構造を示すとともに、H字形の幾何学構造も示す。
2つのリム部4.1、4.1’は、それぞれスリーブ5、5’で囲われている。これらのスリーブは、リム部に沿って変位することができる。この変位により、導体構造の電気長を変えることができる。この変更はリム部ごとに異なるため、このようにしてコーティング室10、10’のコーティング品質に影響を与えることができる。リム部4.1または4.1’それぞれに沿ったスリーブ5、5’の変位は、この実施形態では、調整装置43または43’それぞれにより行われ、各調整装置はそれぞれ、スリーブ5、5’それぞれに接続される調整ねじ44または44’をそれぞれ備える。
スリーブの調整はまた、スリーブの設定を異ならせると、2つのリム4および4’に対して異なるパラメータxをもたらす。これらの異なるパラメータxは以下ではx1およびx2と呼ぶ。しかしながら、装置が最適に設定される場合、パラメータ値x1およびx2は概して、パラメータ間の差がインピーダンス構造の2つの経路のインピーダンス間の小さな差を補償するような程度に異なるだけであろう。したがって、均一のパラメータxを得ることができるよう、パラメータx1およびx2の平均をとることができ(x=1/2(x1+x2))、それによって精度の優れた値のxが得られる。
さらに、リム4、4’に、この場合はリム部4.2、4.2’にねじ6、6’を深くまたは浅くねじ込むことによって影響を与えることもできる。
本明細書では図示していないが、入力導体部2はまた、2つのスリーブ4.1、4.1’に対応するスリーブ、または2つのねじ6、6’に対応するねじ、あるいはこれらの手段のいずれも割り当てられてよいことが理解されよう。
例として本明細書に示した同軸導体構造には次のことが当てはまる。すなわち、内部導体の所与の直径について、無反射の整合(matching)は、外部導体の非常に特異な(specific)直径およびパラメータxとパラメータyとの非常に特異な比を用いることによってのみ得られる。
特に、ほぼ無反射の整合は、パラメータyが、用いられる電磁波の半波長の倍数である場合に、すなわちy=nλ/2、n∈[1、2、3、...]の関係がほぼ満たされている場合に達成されることができることが分かっている。インピーダンス構造における電力分割に対し良好な結果を得るため、所定の制約が装置の寸法に課される。2.45GHzの周波数であっても同軸導体の波長は12cmを上回るので、この周波数および構造が用いられる場合、距離yはもっぱら約6cmの整数倍として選択されることができる。さらに、波長もまた、同軸導体を用いるか導波管を用いるかによって決まる。同軸導体の場合、波長は真空波長に近い。R26導波管構造の場合、たとえば、2.45GHzでの波長は約17.4cmであるため、この場合の最適な設定では、yは約8.7cmであるべきである。
時として、CVD法においていっそう低い周波数が選択されるため、対応する波長はいっそう長くなる。特に均一なコーティングを得るための、たとえば広域のコーティングの場合等の所定の用途に対してPICVD法では、より低い周波数もまた用いられる。したがって、波長が長くなるにつれて、コーティング装置に対する関連する設計上の制約も多くなる。
しかしながら、これらの制約は、インピーダンス構造が追加のリムを有する場合に回避できることが分かっている。この形式の実施形態は、図3Aないし図3Dに示されている。図3Aないし図3Dを参照して示す実施形態では、図1および図2を参照して説明した例示的な実施形態と同様に、単一のマイクロ波源からのマイクロ波エネルギーがインピーダンス分岐に分割される。
図3Aおよび図3Bに示した装置も同様に、内部導体Aおよび外部導体Bを有する同軸構造を備える。内部導体Aは、好ましくは、金属からなり、外部導体Bは導電面により境界を画される誘電体(たとえば空隙)からなる。
インピーダンス構造によって分割された、マイクロ波源からのマイクロ波エネルギーは、処理室10、10’に供給するために用いられる。
上述の実施形態と同様に、ウェブ3および2つのリム4、4’を有するH字形導体構造は、導体2に接続されている。上述の実施形態とは異なり、インピーダンス構造は、ウェブ3に接続される追加のリム7を有する。
リム7は、ウェブ3の中央を始端とした、誘電体Bを満たす空隙の長さを示すパラメータzを定める。この実施形態では、リムは、導体2と同様に、2つのリム4および4’の間でウェブ3の中央に取り付けられる。
さらに、リム7は、リム7と導体2が位置合わせされるようにウェブ3に対し導体2と反対側に配置される。しかしながら、この配置は絶対に必要というわけではない。リム7および導体2が互いにある角度、たとえば約90°にある2つの方向に延びることもできる。この特徴を持つ実施形態では、導体2、ウェブ3、およびリム7は、互いに略垂直な3つの方向に延びる。
図3Bは、図3Aで示した追加のリム7を有する実施形態の詳細を示す。同軸導体構造は、追加のリム7が横棒についたH字形の幾何学構造を有する。
2つのリム部4.1、4.1’およびリム7はそれぞれスリーブ5、5’および71で囲われており、これらのスリーブは、調整装置43、43’、73によりリム部4.1、4.1’、またはリム7に沿って変位することができる。図1および図2を参照して示した実施形態と同様に、リム部4.1、4.1’の電気長はそれぞれ、調整装置43および43’により別個に変更することができる。この実施形態では、調整装置73により、他の設定とは別個にリム7の電気長を設定することも可能である。これにより、パラメータx、x’およびzを別個に設定することができるとともに、マイクロ波電力の均一な分割を達成することができるようになる。
図3Cおよび図3Dは、図3Aおよび図3Bを参照して示した実施形態の変形形態を示す。この変形形態では、インピーダンス構造は、図3Aおよび図3Bで示した同軸導体の代わりに導波管を備える。導波管は、円形導波管および矩形導波管のどちらを備えていてよい。導波管を有するこのような変形形態は、比較的高い周波数の場合に特に適している。
この変形形態はまた、パラメータx1、x2、およびzを、リム部4.1、4.1’、およびリム7に沿ってそれぞれ変位されることができるスリーブ5、5’、および71により調整かつ最適化することができる。
図3Dに示すように、コーティング室10、10’はたとえば、コーティングされるべきワークピース(work piece)によって形成されてよい。この場合、図3Dは、導体構造に結合され、そこを通ってマイクロ波がアンプルの内部に入るアンプルのベース領域を示している。アンプルのほかに、たとえばバイアル、ボトル、または球状キャップ等の中空体形状の他のワークピースの内部をコーティングすることもでき、あるいは、たとえばランプ球(lamp bulb)等の他のワークピースの外部を別個のコーティング室でコーティングすることもできる。この場合もまた、コーティング室10、10’への供給導体またはインピーダンス構造、特に導体2およびH字形導体構造が、固定または剛性導体として設計される。
図3Bおよび図3Dに示すように、すべての実施形態では、マイクロ波を誘電体窓8、8’を介してコーティング室10、10’に導入することができる。この誘電体窓により、プラズマがインピーダンス構造または導波管構造においてプラズマが点火することが防止されるが、この理由はプロセスガスの浸透が回避されるか、あるいはプラズマが点火しない圧力に維持することができるからである。
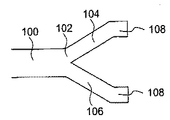
図4Aおよび図4B、ならびに図5は、マイクロ波源(図示せず)により発生するマイクロ波エネルギーの分割が、マイクロ波エネルギーが導波管100内にあるうちに行われる、本発明の実施形態を示す。マイクロ波源からのマイクロ波エネルギーはすべて、導波管100(たとえば矩形導波管)へ導入され、図示の実施形態の領域102で2つの部分に分割される。マイクロ波エネルギーの一部は矩形導波管104に送られ、もう一部は矩形導波管106へ送られる。これらの分岐104および106に導入されたマイクロ波エネルギーは、矩形導波管108に送られる。図4Bに示す矩形導波管108では、マイクロ波エネルギーは、同軸導体110を介して、コーティングされるべき個々のコーティング室112(この場合、事実上の3D(3次元)容器であってよい)導入される。本プロセスを用いてコーティングすることができる3D容器の例として、球状キャップ、シリンジ、アンプル、ボトル、バイアル、カテーテルが挙げられる。本発明の場合、各3D容器112が専用の真空供給源114および専用のガス供給源116を有することが重要である。専用の供給デバイスにより、マルチステーションコーティングシステムの個々のコーティング室が分離してすなわち個々に動作または制御することが可能となる。
個々のコーティング室それぞれが、パルスモードで個々に動作するように、プラズマまたはコーティングされるべき基材にから発生する熱放射および/または電磁放射を検知する分離したプラズマ監視装置118も有することが特に有利である。
図4Bに示すようにエネルギーが同軸導体によって導入される以外に、図5に示すように、分割した導波管の個々の分岐104および106のエネルギーを、誘電体窓として知られるものによって個々のコーティング室112.1および112.2に導入することもできる。
示した実施形態を組合わせることも可能である。
図6および図7は、3つ以上のコーティングステーションを実現することが可能な本発明の例を示している。このことは、同軸導体および導波管のいずれを用いることでも可能である。
図6に示す実施形態では、本発明に従って、第1の同軸導体200.1は、2つの同軸導体200.2、200.3に分割される。同軸導体200.2、200.3は、次に、分岐カスケードの形式で2つの同軸導体または導波管200.4、200.5、200.6、200.7に分割される。個々のコーティング室112.1、112.2、112.3、112.4は分岐カスケードの端部に設置される。
図6に示したカスケード状構成の代替として、それぞれが2つの矩形導波管または2つの同軸導体304.1、304.2を有する複数のダブルステーション302.1、302.2、302.3が共通の導波管300.1に接続されることも考えられてよい。コーティング室112.1、112.2が、それぞれ対応する同軸導体または導波管304.1、304.2の下側に配置される。
本発明は初めて、複数のコーティング室が単一のマイクロ波源を用いて動作することを可能にする、物品をコーティングする装置を提案する。
本発明は、パルス状あるいは非パルス状のマイクロ波エネルギーが、適当な分割によって用いられ、エネルギーを複数の分離したコーティングステーションに供給することを可能にする。コーティング技術上、たとえば隣接したコーティングステーションが互いに影響を及ぼし合うことを防止するため、コーティングステーションは、互いから分離したままであるが、1つのエネルギー源によって供給される。本発明により、あるコーティング室から別のコーティング室への交互の点火、すなわち統制されていない点火が起るのではなく、コーティング室すべてが同時に点火し、それと同じエネルギーの供給がコーティング持続期間中に維持される。
本発明による装置では、プラズマ体積およびガス組成は必ずしも重要ではない。本装置により、アンプルのコーティングに対し2ml〜10mlのプラズマ体積を用いる内部コーティング、約50mlのプラズマ体積を用いる球状キャップの内部コーティング、および最大100mlのプラズマ体積を用いるランプ球の外部コーティングのいずれも、プロセスパラメータを再調整する必要なく生成することが可能となる。インピーダンスの大幅な変更は、プラスマ体積の変化に関連する。さらに、異なるプラズマの体積に対して、異なるガス組成、特に異なる前駆体(たとえばヘキサメチルジシロキサンまたは塩化チタン)を有するガス組成を、それぞれの場合に、異なる濃度で、プラズマ特性およびコーティング品質を大幅に変えることがなく用いることが可能であり、このガス組成も、インピーダンスにかなりの影響を与える。
マイクロ波エネルギーがインピーダンス構造によって分割されるPICVDコーティング設備から抜粋した概略図である。 図1による実施態様の詳細図である。 マイクロ波エネルギーがインピーダンス構造によって分割されるPICVDコーティング設備の他の実施形態の抜粋の概略図である。 図1に示した実施形態の実施の詳細図である。 マイクロ波エネルギーが導波管を有するインピーダンス構造によって分割される、PICVDコーティング設備のさらに別の実施形態からの抜粋の概略図である。 図3Cに示した実施形態の実施の詳細図である。 マイクロ波エネルギーを2つの分岐に分割するy−分割器を有する導波管を示す図である。 マイクロ波エネルギーを個々のコーティング室に放出するよう、同軸導体を有する矩形導波管の図である。 マイクロ波エネルギーを個々のコーティング室に放出する誘電体窓を有する矩形導波管の図である。 3つ以上のコーティングステーションに供給するための同軸導体または導波管のシステムを示す図である。 図6に示したシステムの代替の実施態様を示す図である。

Claims (20)

  1. 物品をコーティングする装置であって、
    単一のマイクロ波源、および
    2つ以上のコーティング室(10、10’)を有し、
    前記コーティング室(10、10’)がすべて単一のマイクロ波源に接続され、
    前記個々のコーティング室(10、10’)にプラズマを発生させるためにマイクロ波エネルギーを分割するための、同軸導体構造体又は導波管構造体からなるインピーダンス構造体を有し、
    前記同軸導体構造体又は前記導波管構造体が、ウェブ(3)および2つのリム(4、4’)を含むH字形導体構造体を備え、
    前記H字形導体構造体が少なくとも2つのコーティング室(10、10’)の上流に接続され、
    前記ウェブ(3)が入力導体(2)を介して前記マイクロ波源に接続され、
    前記H字形導体構造体の各リム(4、4’)が、対応する前記コーティング室(10、10’)から離隔している部分(4.1、4.1’)および該コーティング室(10、10’)の1つに面する部分(4.2、4.2’)を有し、
    前記対応するコーティング室(10、10’)から離隔している前記リム部の電気長が調整可能である装置。
  2. 前記導波管構造体が、マイクロ波エネルギーを分割する少なくとも1つの部品からなる請求項1に記載の装置。
  3. 前記導波管構造体が矩形導波管を含む請求項1又は2に記載の装置。
  4. 前記導波管構造体が円形導波管を含む請求項1又は2に記載の装置。
  5. 前記同軸導体構造体又は前記導波管構造体が、前記コーティング室それぞれにマイクロ波エネルギーを導入する誘電体窓を備える、請求項1ないしのいずれか1項に記載の装置。
  6. 前記同軸導体構造体が、マイクロ波エネルギーを前記個々のコーティング室(10、10’)に導入するために、金属内部導体(A)、および外部導体として金属表面により境界を画された誘電体(B)を備える、請求項に記載の装置。
  7. 前記リム(4、4’)のコーティング室から離隔している部分(4.1、4.1’)の電気長を変えるスリーブ(5、5’)又は前記リム(4、4’)のコーティング室の1つに面する部分(4.2、4.2’)の電気長を変えるねじ(6、6’)が設けられた請求項1又は6に記載の装置。
  8. 前記入力導体(2)が前記マイクロ波源と前記H字形導体構造体の分岐点との間に接続部を形成する請求項に記載の装置。
  9. 前記入力導体(2)の電気長も調整可能である請求項に記載の装置。
  10. 前記スリーブ(5、5’)が、前記金属内部導体(A)を囲む変位可能スリーブから形成される請求項に記載の装置。
  11. 前記ねじ(6、6’)が、前記金属内部導体(A)にねじ込むことができるねじから形成される請求項に記載の装置。
  12. 前記ウェブ(3)が追加のリム(7)に接続される請求項1に記載の装置。
  13. 前記追加のリム(7)が前記2つのリム(4、4’)間で前記ウェブ(3)の中央に接続される請求項12に記載の装置。
  14. 前記追加のリム(7)の電気長も調整可能である請求項12又は13に記載の装置。
  15. 前記コーティング室(10、10’)が互いに離れて配置され、互いに遮蔽されている請求項1ないし14のいずれか1項に記載の装置。
  16. コーティングされる物品はそれぞれ前記個々のコーティング室(10、10’)に収容されるか、あるいは前記コーティング室(10、10’)はそれぞれ物品により形成される請求項1ないし15のいずれか1項に記載の装置。
  17. 前記個々のコーティング室が、別個の真空供給デバイスおよびガス供給デバイスを割り当てられる請求項1ないし16のいずれか1項に記載の装置。
  18. 前記コーティング室はそれぞれ、前記プラズマまたはコーティングされるべき基材から発生する熱放射および/または電磁放射を記録する別個の検知ユニットを割り当てられる請求項1ないし17のいずれか1項に記載の装置。
  19. パルス状マイクロ波源が設けられた請求項1ないし18のいずれか1項に記載の装置。
  20. 前記同軸導体構造体又は前記導波管構造体が剛性導体からなる請求項1ないし19のいずれか1項に記載の装置。
JP2003519960A 2001-08-07 2002-08-07 物品をコーティングする装置 Expired - Lifetime JP4732685B2 (ja)

Applications Claiming Priority (3)

Application Number Priority Date Filing Date Title
DE10138693.1 2001-08-07
DE10138693A DE10138693A1 (de) 2001-08-07 2001-08-07 Vorrichtung zum Beschichten von Gegenständen
PCT/EP2002/008852 WO2003015122A1 (de) 2001-08-07 2002-08-07 Vorrichtung zum beschichten von gegenständen

Publications (3)

Publication Number Publication Date
JP2004538367A JP2004538367A (ja) 2004-12-24
JP2004538367A5 JP2004538367A5 (ja) 2005-12-22
JP4732685B2 true JP4732685B2 (ja) 2011-07-27

Family

ID=7694632

Family Applications (1)

Application Number Title Priority Date Filing Date
JP2003519960A Expired - Lifetime JP4732685B2 (ja) 2001-08-07 2002-08-07 物品をコーティングする装置

Country Status (7)

Country Link
US (1) US7434537B2 (ja)
EP (1) EP1415321B1 (ja)
JP (1) JP4732685B2 (ja)
CN (1) CN1328751C (ja)
AT (1) ATE295612T1 (ja)
DE (2) DE10138693A1 (ja)
WO (1) WO2003015122A1 (ja)

Families Citing this family (29)

* Cited by examiner, † Cited by third party
Publication number Priority date Publication date Assignee Title
DE10358329B4 (de) * 2003-12-12 2007-08-02 R3T Gmbh Rapid Reactive Radicals Technology Vorrichtung zur Erzeugung angeregter und/oder ionisierter Teilchen in einem Plasma und Verfahren zur Erzeugung ionisierter Teilchen
US7791280B2 (en) * 2005-10-27 2010-09-07 Luxim Corporation Plasma lamp using a shaped waveguide body
US7825669B2 (en) * 2007-03-29 2010-11-02 Hamilton Sundstrand Corporation Microwave position sensing for a turbo machine
KR101088876B1 (ko) 2007-06-11 2011-12-07 고쿠리츠다이가쿠호진 도호쿠다이가쿠 플라즈마 처리 장치, 급전 장치 및 플라즈마 처리 장치의 사용 방법
US20110114600A1 (en) * 2008-06-11 2011-05-19 Tokyo Electron Limited Plasma processing apparatus and plasma processing method
JP5324137B2 (ja) * 2008-06-11 2013-10-23 東京エレクトロン株式会社 プラズマ処理装置及びプラズマ処理方法
JP5324138B2 (ja) * 2008-06-11 2013-10-23 東京エレクトロン株式会社 プラズマ処理装置及びプラズマ処理方法
WO2010067590A1 (ja) * 2008-12-11 2010-06-17 東洋製罐株式会社 マイクロ波プラズマ処理装置
JP5222744B2 (ja) * 2009-01-21 2013-06-26 国立大学法人東北大学 プラズマ処理装置
JP2012089334A (ja) 2010-10-19 2012-05-10 Tokyo Electron Ltd マイクロ波プラズマ源およびプラズマ処理装置
GB201021865D0 (en) 2010-12-23 2011-02-02 Element Six Ltd A microwave plasma reactor for manufacturing synthetic diamond material
GB201021913D0 (en) 2010-12-23 2011-02-02 Element Six Ltd Microwave plasma reactors and substrates for synthetic diamond manufacture
GB201021860D0 (en) 2010-12-23 2011-02-02 Element Six Ltd A microwave plasma reactor for diamond synthesis
GB2497880B (en) 2010-12-23 2015-05-27 Element Six Ltd Controlling doping of synthetic diamond material
GB201021870D0 (en) 2010-12-23 2011-02-02 Element Six Ltd A microwave plasma reactor for manufacturing synthetic diamond material
GB201021855D0 (en) * 2010-12-23 2011-02-02 Element Six Ltd Microwave power delivery system for plasma reactors
GB201021853D0 (en) 2010-12-23 2011-02-02 Element Six Ltd A microwave plasma reactor for manufacturing synthetic diamond material
CN105244251B (zh) * 2015-11-03 2017-11-17 长飞光纤光缆股份有限公司 一种大功率等离子体微波谐振腔
CN105502918B (zh) * 2015-12-25 2019-01-25 长飞光纤光缆股份有限公司 一种双腔型等离子体微波谐振腔
CN106229595A (zh) * 2016-08-30 2016-12-14 广东通宇通讯股份有限公司 功分器及其组件
BR112019025450A2 (pt) * 2017-05-30 2020-06-16 Ellume Limited Agregados de nanopartículas
EP4063334A1 (en) 2021-03-25 2022-09-28 Schott Ag Coated glass element
CN115124259A (zh) 2021-03-25 2022-09-30 肖特股份有限公司 涂层玻璃元件
WO2022200623A1 (en) 2021-03-25 2022-09-29 Schott Ag Pharmaceutical container
EP4067319A3 (en) 2021-03-25 2022-10-26 Schott Ag Coated glass element
JP2022151858A (ja) 2021-03-25 2022-10-07 ショット シュヴァイツ アー・ゲー 品質評価のための試験方法および被覆された容器
KR102765720B1 (ko) * 2021-10-20 2025-02-14 세메스 주식회사 기판 처리 장치 및 기판 처리 장치의 운용 방법
KR102752563B1 (ko) * 2022-06-14 2025-01-10 세메스 주식회사 마이크로웨이브 공급 장치, 이를 포함하는 시스템 및 반도체 소자 제조 방법
EP4339171A1 (en) 2022-09-13 2024-03-20 Schott Ag Treatment of a glass container

Family Cites Families (22)

* Cited by examiner, † Cited by third party
Publication number Priority date Publication date Assignee Title
JPS5888086A (ja) 1981-11-20 1983-05-26 Sanki Eng Co Ltd 廃棄物加熱処理装置
JPS61220486A (ja) 1985-03-27 1986-09-30 Mitsubishi Electric Corp レ−ザ発振装置
JPH0616496B2 (ja) * 1986-09-24 1994-03-02 日本電気株式会社 励起種cvd装置
DE3711184A1 (de) * 1987-04-02 1988-10-20 Leybold Ag Vorrichtung zur einbringung von mikrowellenenergie mit einem offenen mikrowellenleiter
EP0288065B1 (en) * 1987-04-22 1993-10-06 Idemitsu Petrochemical Co. Ltd. Method for synthesis of diamond
DE68926923T2 (de) * 1988-03-16 1996-12-19 Hitachi Ltd Mikrowellenionenquelle
JPH02148715A (ja) * 1988-11-29 1990-06-07 Canon Inc 半導体デバイスの連続形成装置
US5202095A (en) * 1988-12-27 1993-04-13 Matsushita Electric Industrial Co., Ltd. Microwave plasma processor
US5236511A (en) * 1990-03-16 1993-08-17 Schott Glaswerke Plasma CVD process for coating a dome-shaped substrate
US5103182A (en) * 1990-04-02 1992-04-07 Texas Instruments Incorporated Electromagnetic wave measurement of conductive layers of a semiconductor wafer during processing in a fabrication chamber
DE4120176C1 (ja) * 1991-06-19 1992-02-27 Schott Glaswerke, 6500 Mainz, De
DE4136297A1 (de) * 1991-11-04 1993-05-06 Plasma Electronic Gmbh, 7024 Filderstadt, De Vorrichtung zur lokalen erzeugung eines plasmas in einer behandlungskammer mittels mikrowellenanregung
US5311103A (en) * 1992-06-01 1994-05-10 Board Of Trustees Operating Michigan State University Apparatus for the coating of material on a substrate using a microwave or UHF plasma
DE69318480T2 (de) * 1992-06-23 1998-09-17 Nippon Telegraph & Telephone Plasmabearbeitungsgerät
US5387288A (en) * 1993-05-14 1995-02-07 Modular Process Technology Corp. Apparatus for depositing diamond and refractory materials comprising rotating antenna
DE19628949B4 (de) * 1995-02-02 2008-12-04 Muegge Electronic Gmbh Vorrichtung zur Erzeugung von Plasma
DE19503205C1 (de) 1995-02-02 1996-07-11 Muegge Electronic Gmbh Vorrichtung zur Erzeugung von Plasma
DE19608949A1 (de) * 1996-03-08 1997-09-11 Ralf Dr Spitzl Vorrichtung zur Erzeugung von leistungsfähigen Mikrowellenplasmen
US5874706A (en) * 1996-09-26 1999-02-23 Tokyo Electron Limited Microwave plasma processing apparatus using a hybrid microwave having two different modes of oscillation or branched microwaves forming a concentric electric field
US6186090B1 (en) * 1999-03-04 2001-02-13 Energy Conversion Devices, Inc. Apparatus for the simultaneous deposition by physical vapor deposition and chemical vapor deposition and method therefor
DE19916478A1 (de) * 1999-04-13 2000-10-19 Ruediger Haaga Gmbh Verfahren zum Evakuieren eines Plasmasterilisations-Reaktors
JP3792089B2 (ja) 2000-01-14 2006-06-28 シャープ株式会社 プラズマプロセス装置

Also Published As

Publication number Publication date
EP1415321B1 (de) 2005-05-11
ATE295612T1 (de) 2005-05-15
DE10138693A1 (de) 2003-07-10
US7434537B2 (en) 2008-10-14
JP2004538367A (ja) 2004-12-24
DE50203097D1 (de) 2005-06-16
WO2003015122A1 (de) 2003-02-20
CN1539155A (zh) 2004-10-20
EP1415321A1 (de) 2004-05-06
US20050005853A1 (en) 2005-01-13
CN1328751C (zh) 2007-07-25

Similar Documents

Publication Publication Date Title
JP4732685B2 (ja) 物品をコーティングする装置
US11721532B2 (en) Modular microwave source with local lorentz force
TWI719290B (zh) 使用模組化微波源的電漿處理工具
JP4116454B2 (ja) 誘電性物体のプラズマ処理のための装置
US20200381217A1 (en) Modular microwave plasma source
US6396214B1 (en) Device for producing a free cold plasma jet
KR102029579B1 (ko) 플라즈마 처리 장치 및 제어 방법
CN108735568B (zh) 等离子体处理装置和控制方法
CN110391125B (zh) 具有集成气体分配的模块化高频源
JP2004538367A5 (ja)
JP2002275635A (ja) マイクロ波プラズマ処理方法及び装置
US10720311B2 (en) Phased array modular high-frequency source
JP2007231386A (ja) プラズマを使用した容器処理装置
KR20250050833A (ko) 모듈형 고주파 공급원
JP6501493B2 (ja) プラズマ処理装置
US20070095281A1 (en) System and method for power function ramping of microwave liner discharge sources
US20090152243A1 (en) Plasma processing apparatus and method thereof
US10290471B2 (en) Device for generating plasma by means of microwaves
WO2016104205A1 (ja) プラズマ処理装置及びプラズマ処理方法
WO2022044864A1 (ja) プラズマ処理装置、プラズマ処理方法、および誘電体窓
US20060254521A1 (en) Electron cyclotron resonance (ecr) plasma source having a linear plasma discharge opening
CN120188256A (zh) 具有多个发射器和吸收器的微波等离子体反应器以及使用这种微波等离子体反应器对工件进行等离子体加工的方法
JP2006089846A (ja) マイクロ波処理装置、マイクロ波供給・処理システム及びマイクロ波処理方法
JP2007204773A (ja) プラズマを使用した容器処理装置
JP2008106332A (ja) プラズマcvdによる容器処理装置

Legal Events

Date Code Title Description
A521 Request for written amendment filed

Free format text: JAPANESE INTERMEDIATE CODE: A523

Effective date: 20041019

A621 Written request for application examination

Free format text: JAPANESE INTERMEDIATE CODE: A621

Effective date: 20041019

A711 Notification of change in applicant

Free format text: JAPANESE INTERMEDIATE CODE: A711

Effective date: 20050831

RD03 Notification of appointment of power of attorney

Free format text: JAPANESE INTERMEDIATE CODE: A7423

Effective date: 20051018

RD04 Notification of resignation of power of attorney

Free format text: JAPANESE INTERMEDIATE CODE: A7424

Effective date: 20051205

A977 Report on retrieval

Free format text: JAPANESE INTERMEDIATE CODE: A971007

Effective date: 20071121

A131 Notification of reasons for refusal

Free format text: JAPANESE INTERMEDIATE CODE: A131

Effective date: 20071205

A601 Written request for extension of time

Free format text: JAPANESE INTERMEDIATE CODE: A601

Effective date: 20080305

A602 Written permission of extension of time

Free format text: JAPANESE INTERMEDIATE CODE: A602

Effective date: 20080312

A601 Written request for extension of time

Free format text: JAPANESE INTERMEDIATE CODE: A601

Effective date: 20080404

A602 Written permission of extension of time

Free format text: JAPANESE INTERMEDIATE CODE: A602

Effective date: 20080411

A601 Written request for extension of time

Free format text: JAPANESE INTERMEDIATE CODE: A601

Effective date: 20080502

A602 Written permission of extension of time

Free format text: JAPANESE INTERMEDIATE CODE: A602

Effective date: 20080513

A521 Request for written amendment filed

Free format text: JAPANESE INTERMEDIATE CODE: A523

Effective date: 20080605

A02 Decision of refusal

Free format text: JAPANESE INTERMEDIATE CODE: A02

Effective date: 20081008

A521 Request for written amendment filed

Free format text: JAPANESE INTERMEDIATE CODE: A523

Effective date: 20090205

A911 Transfer to examiner for re-examination before appeal (zenchi)

Free format text: JAPANESE INTERMEDIATE CODE: A911

Effective date: 20090226

A912 Re-examination (zenchi) completed and case transferred to appeal board

Free format text: JAPANESE INTERMEDIATE CODE: A912

Effective date: 20090417

A521 Request for written amendment filed

Free format text: JAPANESE INTERMEDIATE CODE: A523

Effective date: 20110302

A61 First payment of annual fees (during grant procedure)

Free format text: JAPANESE INTERMEDIATE CODE: A61

Effective date: 20110421

FPAY Renewal fee payment (event date is renewal date of database)

Free format text: PAYMENT UNTIL: 20140428

Year of fee payment: 3

R150 Certificate of patent or registration of utility model

Ref document number: 4732685

Country of ref document: JP

Free format text: JAPANESE INTERMEDIATE CODE: R150

Free format text: JAPANESE INTERMEDIATE CODE: R150

R250 Receipt of annual fees

Free format text: JAPANESE INTERMEDIATE CODE: R250

R250 Receipt of annual fees

Free format text: JAPANESE INTERMEDIATE CODE: R250

R250 Receipt of annual fees

Free format text: JAPANESE INTERMEDIATE CODE: R250

R250 Receipt of annual fees

Free format text: JAPANESE INTERMEDIATE CODE: R250

R250 Receipt of annual fees

Free format text: JAPANESE INTERMEDIATE CODE: R250

R250 Receipt of annual fees

Free format text: JAPANESE INTERMEDIATE CODE: R250

R250 Receipt of annual fees

Free format text: JAPANESE INTERMEDIATE CODE: R250

R250 Receipt of annual fees

Free format text: JAPANESE INTERMEDIATE CODE: R250

R250 Receipt of annual fees

Free format text: JAPANESE INTERMEDIATE CODE: R250

EXPY Cancellation because of completion of term