JP4730516B2 - インク滴吐出装置及びインク滴吐出方法 - Google Patents

インク滴吐出装置及びインク滴吐出方法 Download PDF

Info

Publication number
JP4730516B2
JP4730516B2 JP2005045505A JP2005045505A JP4730516B2 JP 4730516 B2 JP4730516 B2 JP 4730516B2 JP 2005045505 A JP2005045505 A JP 2005045505A JP 2005045505 A JP2005045505 A JP 2005045505A JP 4730516 B2 JP4730516 B2 JP 4730516B2
Authority
JP
Japan
Prior art keywords
pulse width
drive pulse
pulse signal
ink
drive
Prior art date
Legal status (The legal status is an assumption and is not a legal conclusion. Google has not performed a legal analysis and makes no representation as to the accuracy of the status listed.)
Expired - Fee Related
Application number
JP2005045505A
Other languages
English (en)
Other versions
JP2006231545A (ja
Inventor
明 入口
Current Assignee (The listed assignees may be inaccurate. Google has not performed a legal analysis and makes no representation or warranty as to the accuracy of the list.)
Brother Industries Ltd
Original Assignee
Brother Industries Ltd
Priority date (The priority date is an assumption and is not a legal conclusion. Google has not performed a legal analysis and makes no representation as to the accuracy of the date listed.)
Filing date
Publication date
Application filed by Brother Industries Ltd filed Critical Brother Industries Ltd
Priority to JP2005045505A priority Critical patent/JP4730516B2/ja
Priority to US11/358,041 priority patent/US7520580B2/en
Publication of JP2006231545A publication Critical patent/JP2006231545A/ja
Application granted granted Critical
Publication of JP4730516B2 publication Critical patent/JP4730516B2/ja
Anticipated expiration legal-status Critical
Expired - Fee Related legal-status Critical Current

Links

Images

Classifications

    • BPERFORMING OPERATIONS; TRANSPORTING
    • B41PRINTING; LINING MACHINES; TYPEWRITERS; STAMPS
    • B41JTYPEWRITERS; SELECTIVE PRINTING MECHANISMS, i.e. MECHANISMS PRINTING OTHERWISE THAN FROM A FORME; CORRECTION OF TYPOGRAPHICAL ERRORS
    • B41J2/00Typewriters or selective printing mechanisms characterised by the printing or marking process for which they are designed
    • B41J2/005Typewriters or selective printing mechanisms characterised by the printing or marking process for which they are designed characterised by bringing liquid or particles selectively into contact with a printing material
    • B41J2/01Ink jet
    • B41J2/015Ink jet characterised by the jet generation process
    • B41J2/04Ink jet characterised by the jet generation process generating single droplets or particles on demand
    • B41J2/045Ink jet characterised by the jet generation process generating single droplets or particles on demand by pressure, e.g. electromechanical transducers
    • B41J2/04501Control methods or devices therefor, e.g. driver circuits, control circuits
    • B41J2/04581Control methods or devices therefor, e.g. driver circuits, control circuits controlling heads based on piezoelectric elements
    • BPERFORMING OPERATIONS; TRANSPORTING
    • B41PRINTING; LINING MACHINES; TYPEWRITERS; STAMPS
    • B41JTYPEWRITERS; SELECTIVE PRINTING MECHANISMS, i.e. MECHANISMS PRINTING OTHERWISE THAN FROM A FORME; CORRECTION OF TYPOGRAPHICAL ERRORS
    • B41J2/00Typewriters or selective printing mechanisms characterised by the printing or marking process for which they are designed
    • B41J2/005Typewriters or selective printing mechanisms characterised by the printing or marking process for which they are designed characterised by bringing liquid or particles selectively into contact with a printing material
    • B41J2/01Ink jet
    • B41J2/015Ink jet characterised by the jet generation process
    • B41J2/04Ink jet characterised by the jet generation process generating single droplets or particles on demand
    • B41J2/045Ink jet characterised by the jet generation process generating single droplets or particles on demand by pressure, e.g. electromechanical transducers
    • B41J2/04501Control methods or devices therefor, e.g. driver circuits, control circuits
    • B41J2/04588Control methods or devices therefor, e.g. driver circuits, control circuits using a specific waveform
    • BPERFORMING OPERATIONS; TRANSPORTING
    • B41PRINTING; LINING MACHINES; TYPEWRITERS; STAMPS
    • B41JTYPEWRITERS; SELECTIVE PRINTING MECHANISMS, i.e. MECHANISMS PRINTING OTHERWISE THAN FROM A FORME; CORRECTION OF TYPOGRAPHICAL ERRORS
    • B41J2/00Typewriters or selective printing mechanisms characterised by the printing or marking process for which they are designed
    • B41J2/005Typewriters or selective printing mechanisms characterised by the printing or marking process for which they are designed characterised by bringing liquid or particles selectively into contact with a printing material
    • B41J2/01Ink jet
    • B41J2/135Nozzles
    • B41J2/14Structure thereof only for on-demand ink jet heads
    • B41J2/14201Structure of print heads with piezoelectric elements
    • B41J2/14209Structure of print heads with piezoelectric elements of finger type, chamber walls consisting integrally of piezoelectric material
    • B41J2002/14217Multi layer finger type piezoelectric element
    • BPERFORMING OPERATIONS; TRANSPORTING
    • B41PRINTING; LINING MACHINES; TYPEWRITERS; STAMPS
    • B41JTYPEWRITERS; SELECTIVE PRINTING MECHANISMS, i.e. MECHANISMS PRINTING OTHERWISE THAN FROM A FORME; CORRECTION OF TYPOGRAPHICAL ERRORS
    • B41J2/00Typewriters or selective printing mechanisms characterised by the printing or marking process for which they are designed
    • B41J2/005Typewriters or selective printing mechanisms characterised by the printing or marking process for which they are designed characterised by bringing liquid or particles selectively into contact with a printing material
    • B41J2/01Ink jet
    • B41J2/135Nozzles
    • B41J2/14Structure thereof only for on-demand ink jet heads
    • B41J2/14201Structure of print heads with piezoelectric elements
    • B41J2/14209Structure of print heads with piezoelectric elements of finger type, chamber walls consisting integrally of piezoelectric material
    • B41J2002/14225Finger type piezoelectric element on only one side of the chamber
    • BPERFORMING OPERATIONS; TRANSPORTING
    • B41PRINTING; LINING MACHINES; TYPEWRITERS; STAMPS
    • B41JTYPEWRITERS; SELECTIVE PRINTING MECHANISMS, i.e. MECHANISMS PRINTING OTHERWISE THAN FROM A FORME; CORRECTION OF TYPOGRAPHICAL ERRORS
    • B41J2/00Typewriters or selective printing mechanisms characterised by the printing or marking process for which they are designed
    • B41J2/005Typewriters or selective printing mechanisms characterised by the printing or marking process for which they are designed characterised by bringing liquid or particles selectively into contact with a printing material
    • B41J2/01Ink jet
    • B41J2/135Nozzles
    • B41J2/14Structure thereof only for on-demand ink jet heads
    • B41J2/14201Structure of print heads with piezoelectric elements
    • B41J2002/14306Flow passage between manifold and chamber
    • BPERFORMING OPERATIONS; TRANSPORTING
    • B41PRINTING; LINING MACHINES; TYPEWRITERS; STAMPS
    • B41JTYPEWRITERS; SELECTIVE PRINTING MECHANISMS, i.e. MECHANISMS PRINTING OTHERWISE THAN FROM A FORME; CORRECTION OF TYPOGRAPHICAL ERRORS
    • B41J2/00Typewriters or selective printing mechanisms characterised by the printing or marking process for which they are designed
    • B41J2/005Typewriters or selective printing mechanisms characterised by the printing or marking process for which they are designed characterised by bringing liquid or particles selectively into contact with a printing material
    • B41J2/01Ink jet
    • B41J2/135Nozzles
    • B41J2/14Structure thereof only for on-demand ink jet heads
    • B41J2002/14419Manifold

Landscapes

  • Particle Formation And Scattering Control In Inkjet Printers (AREA)

Description

本発明は、インクジェット方式によるインク滴吐出装置及びインク滴吐出方法に関するものである。
インク滴吐出装置には、例えば、インクジェットプリンタがあり、このインクジェットプリンタ用の記録ヘッドとしては、特許文献1等に、前面側に複数個のノズルを背面側に各ノズルに連通する圧力室をそれぞれ備えて、各圧力室にインクを供給するようにキャビティユニットを構成し、このキャビティユニットの背面側に圧電アクチュエータを積層して接合する構造が記載されている。
この記録ヘッドの構成によれば、圧電アクチュエータは、駆動パルス信号(電圧)が印加されると変形して、圧力室の容積を変化させインクに吐出圧力を与える。そして、圧力室に連通するノズルからインク滴が吐出され、被記録媒体にインクドットが形成される。記録ヘッドは、被記録媒体の搬送方向(副走査方向)と直交する方向(主走査方向、被記録媒体の幅方向)に沿って往復移動可能に構成されている。
そして、一般的に、インクジェットプリンタでは、被記録媒体におけるインクドットの大きさや密度が異なる複数の記録モードを備えており、記録モードに応じて、記録ヘッドの移動速度を変えたり、1つのドットを複数のインク滴で形成したりしている。
ところで、特許文献1にも指摘されているように、インク滴の吐出の際に、主となる液滴以外にサテライトと呼ばれる余分な液滴が発生することがある。これは、複数のインク滴で1つのドットを形成するために、連続してインク滴を吐出した後など、主となる液滴の吐出後も圧力室内の圧力変動が十分に納まらず、残存圧力によってインクが余分に飛び出してしまうのが主な原因である。このサテライトが被記録媒体に付着すると、記録の仕上がりが本来のそれからかけ離れたものとなってしまい、記録品質が損なわれる。
このサテライトは、解像度の高いモード、すなわち、インク滴を小さくして1つのドットを小型化しかつ記録ヘッドの移動速度を遅くして記録を行うモードでは発生し難い。一方、解像度の低いモードでは、被記録媒体に対してなるべく速く記録するために、単位記録面積当たりの記録時間を減らすように、1ドット当たりの吐出量(吐出容量)を多くして大玉化するので、複数のインク滴で1つのドットを形成することになり、前述したサテライトが発生しやすい。すなわち、複数のインク滴で1つのドットを形成するには、短時間に連続して複数個の駆動パルス信号が圧電アクチュエータに印加されるため、最終の駆動パルス信号による吐出後もインクに圧力波が残存し、これがサテライトの発生を促していた。
そこで、本発明者は、インクドットを大型化する低解像度のモードでも、サテライトを発生させない駆動波形について検討を行なった。なお、低解像度のモードとして、600dpi×600dpi(dpi;ドット・パー・インチ)程度の解像度を設定した。この場合、現状(標準的な解像度のモード)の1滴分の吐出量から換算すると、3滴分程度で1ドットを形成する必要がある。
通常、インクジェットヘッドは、駆動パルス信号のパルス幅によって、インク滴の吐出速度が変化するが、その吐出特性のカーブは、図10(a)に示すように、ピーク値を有する山型となる。この吐出速度がピーク値となるときの駆動パルス信号のパルス幅をT0とすると、パルス幅T0のときが最も効率よくインク滴が吐出されるため、パルス幅T0では吐出量もピーク値(最大値)となるのである。
そのため、本発明者は、前記パルス幅がT0と同じ値の駆動パルス信号を3つ連続して印加して3滴分(通常の3倍分)の吐出量を確保し、その後に、インクに残存する圧力波を打ち消し且つインク滴を吐出しない程度の小さいパルス幅の駆動パルス信号(キャンセル信号)を1つ印加する駆動波形を試みた(図10(b)参照)。すなわち、1番目の駆動パルス信号P1のパルス幅をT1、2番目の駆動パルス信号P2のパルス幅をT2、3番目の駆動パルス信号P3のパルス幅をT3、4番目の駆動パルス信号P4のパルス幅をT4とすると、T1=T2=T3=T0、T4<<T0とした。
特開2002−160362号公報(図1及び図3参照)
しかしながら、図10(b)に示す駆動波形では、キャンセル用の駆動パルス信号を最後に1つ印加しているものの、これでは、十分にサテライトの発生を防止できないことが、実験により判明した。そのため、キャンセル用の駆動パルス信号をさらに追加して、圧力波に対する打ち消し効果を向上させることも考えられるが、1つのドットの駆動周期における駆動パルス信号の数が増えると、次のドットの駆動周期に影響を及ぼすため、この場合にキャンセル信号の数を増やすのは困難であった。
また、記録ヘッドには、製造上のバラツキ等による個体差があるため、同じ仕様の記録ヘッドでも、その吐出特性は必ずしも一致せず、図10(a)に示すカーブにもずれを生じる。その結果、各記録ヘッドでは、パルス幅T0のときの吐出量が、必ずしも同じにならず、特に前述したように、パルス幅T0によるインク滴を複数個(ここでは3個)吐出して、1ドットを大玉化して形成する場合には、1滴当たりの吐出量のばらつきが複数倍(3倍)に拡大されるので、1ドットの大きさのばらつきが無視できない程大きくなるのである。
本発明は、上記問題を解消するものであり、被記録媒体に形成される1ドットに対して、サテライトの発生を防止しながら、安定して大型化することのできるインク滴吐出装置及びインク滴吐出方法の実現を課題とするものである。
前記目的を達成するために、請求項1に記載の発明におけるインク滴吐出装置は、複数のノズルと、各ノズル毎に連通して設けられる複数の圧力室と、各圧力室毎に選択的に吐出圧力を与えるアクチュエータと、このアクチュエータに駆動パルス信号を出力する制御装置とを備え、前記アクチュエータから圧力室に加えられた吐出圧力で、前記ノズルからインク滴を吐出して被記録媒体に記録するインク滴吐出装置において、被記録媒体に所定サイズの1ドットを形成する場合に、前記制御手段は、少なくとも4つの駆動パルス信号を出力するものであり、前記制御手段から出力される前記少なくとも4つの駆動パルス信号は、いずれもインク滴を吐出させる駆動パルス信号であって、前記ノズルから吐出されるインク滴の吐出速度及び吐出量がいずれもピークとなるときの駆動パルス信号のパルス幅をパルス幅T0としたときに、1番目の駆動パルス信号P1のパルス幅T1は、前記パルス幅T0よりも短く、2番目の駆動パルス信号P2のパルス幅T2は、前記パルス幅T0よりも長く、3番目の駆動パルス信号P3のパルス幅T3と4番目の駆動パルス信号P4のパルス幅T4は、前記パルス幅T1よりも短く設定されており、前記駆動パルス信号P3と前記駆動パルス信号P4のそれぞれの始端と終端は、前記駆動パルス信号P1および前記駆動パルス信号P2により発生する前記圧力室内の圧力変動がピークとなる時間とは異なる時間に前記アクチュエータに印加されるように設定されていることを特徴とするものである。
請求項2に記載の発明は、請求項1に記載のインク滴吐出装置において、前記1番目のパルス幅T1、前記2番目のパルス幅T2、前記3番目のパルス幅T3、前記4番目のパルス幅T4、前記1番目のパルス幅T1の終端と前記2番目のパルス幅T2の始端との間隔W1、前記2番目のパルス幅T2の終端と前記3番目のパルス幅T3の始端との間隔W2、及び前記3番目のパルス幅T3の終端と前記4番目のパルス幅T4の始端との間隔W3は、それぞれ前記パルス幅T0に対して、0.7T0<T1<0.9T0、0.7T0<W1<0.9T0、1.5T0<T2<1.7T0、0.7T0<W2<1.1T0、0.5T0<T3<0.7T0、0.7T0<W3<0.9T0、0.5T0<T4<0.7T0、の関係を満たしていることを特徴とするものである。
請求項3に記載の発明は、請求項2に記載のインク滴吐出装置において、前記T1、T2、T3、T4、W1、W2、及びW3は、それぞれ、3.5μs<T1<4.5μs、3.5μs<W1<4.5μs、7.5μs<T2<8.5μs、3.5μs<W2<5.5μs、2.5μs<T3<3.5μs、3.5μs<W3<4.5μs、2.5μs<T4<3.5μs、の範囲にあることを特徴とするものである。
請求項4に記載の発明におけるインク滴吐出方法は、複数のノズルと、各ノズル毎に連通して設けられる複数の圧力室と、各圧力室毎に選択的に吐出圧力を与えるアクチュエータとを備えるインク滴吐出装置の前記アクチュエータに、駆動パルス信号を印加して当該アクチュエータから圧力室に吐出圧力を加え、前記ノズルからインク滴を吐出して被記録媒体に記録するインク滴吐出方法において、被記録媒体に所定サイズの1ドットを形成する場合に、少なくとも4つの駆動パルス信号を印加し、前記制御手段から出力される前記少なくとも4つの駆動パルス信号は、いずれもインク滴を吐出させる駆動パルス信号であって、前記ノズルから吐出されるインク滴の吐出速度及び吐出量がいずれもピークとなるときの駆動パルス信号のパルス幅をパルス幅T0としたときに、1番目の駆動パルス信号P1のパルス幅T1は、前記パルス幅T0よりも短く、2番目の駆動パルス信号P2のパルス幅T2は、前記パルス幅T0よりも長く、3番目の駆動パルス信号P3のパルス幅T3と4番目の駆動パルス信号P4のパルス幅T4は、前記パルス幅T1よりも短く設定されており、前記駆動パルス信号P3と前記駆動パルス信号P4のそれぞれの始端と終端は、前記駆動パルス信号P1および前記駆動パルス信号P2により発生する前記圧力室内の圧力変動がピークとなる時間とは異なる時間に前記アクチュエータに印加されるように設定されていることを特徴とするものである。
請求項1に記載の発明によれば、1番目及び2番目の駆動パルス信号のパルス幅は、インク滴の吐出量がピーク値となるときのパルス幅T0に近いがこれとは異なる値に設定されているから、変動し易い吐出量のピーク値を避けることで、吐出量の安定化を図るとともに、1番目及び2番目の駆動パルス信号で合わせてパルス幅T0のときの略2倍分の吐出量を吐出することができる。そして、3番目と4番目の2つの駆動パルス信号により、ドットの大型化に必要な残りのインク吐出量を補填するように吐出され、大型化したドットが確実に形成される。
また、3番目と4番目の駆動パルス信号は、インク滴を少量吐出するものの圧力波を打ち消す作用も有しているから、キャンセル効果を有する信号が2つ連続して印加されることで、残存する圧力波の打ち消しに対する確実性が向上され、サテライトの発生防止効果が高められる。
そして、請求項1に記載の発明によれば、1番目の駆動パルス信号のパルス幅T1を前記パルス幅T0より短くずらし、2番目の駆動パルス信号のパルス幅T2を前記パルス幅T0より長くずらしている。すなわち、1番目と2番目の駆動パルス信号では、パルス幅T0に対するずらし方を変えている。通常、ノズルから吐出されるインクの吐出特性には個体差があって、パルス幅T0のときの吐出量が変動したり、ピーク値自体がずれたりする場合がある。しかしながら、前述したように、1番目と2番目の駆動パルス信号でパルス幅T0に対するずらし方を変えることにより、吐出特性のずれを吸収しやすく、吐出量の安定化を図ることができる。
また、請求項1に記載の発明によれば、3番目及び4番目の駆動パルス信号T3,T4は、1番目のパルス幅T1よりも短く設定することで、その吐出量を少なくし、かつ残存する圧力波を打ち消す効果を生じさせている。
請求項2に記載の発明によれば、T1、T2、T3、T4、W1、W2、及びW3が前記関係を満たすことで、駆動パルス信号のパルス幅がT0のときに、その吐出速度及び吐出量がピーク値となるインクジェットヘッドにおいて、サテライトを防止しながらインクドットの大型化を図ることができる。
請求項3に記載の発明によれば、T1、T2、T3、T4、W1、W2、及びW3が前記関係を満たすことで、サテライトを防止しながらインクドットの大型化を図ることができる。
請求項4に記載の発明によれば、1番目及び2番目の駆動パルス信号のパルス幅は、インク滴の吐出量がピーク値となるときのパルス幅T0に近いがこれとは異なる値に設定されているから、変動し易い吐出量のピーク値を避けることで、吐出量の安定化を図るとともに、1番目及び2番目の駆動パルス信号で合わせてパルス幅T0のときの略2倍分の吐出量を吐出することができる。そして、3番目と4番目の2つの駆動パルス信号により、ドットの大型化に必要な残りのインク吐出量を補填するように吐出され、大型化したドットが確実に形成される。
また、3番目と4番目の駆動パルス信号は、インク滴を少量吐出するものの圧力波を打ち消す作用も有しているから、キャンセル効果を有する信号が2つ連続して印加されることで、残存する圧力波の打ち消しに対する確実性が向上され、サテライトの発生防止効果が高められる。
以下に、本発明の実施形態を図面に基づいて説明する。図1は本発明の実施形態のインクジェットヘッドの斜視図、図2はインクジェットヘッドの分解斜視図、図3はキャビティユニットの拡大分解斜視図、図4は図1のIV−IV線矢視拡大断面図、図5は図1のV−V線矢視拡大断面図、図6は制御装置のブロック図、図7(a)は1ドットに対応する駆動波形を示すタイムチャート、図7(b)はパルス幅に対するインク滴の吐出速度の変化を示す吐出特性の図である。
本発明はインク滴吐出装置としてインクジェットプリンタに適用したもので、その記録ヘッド(以下、インクジェットヘッドと記載)100は、図示しないが、被記録媒体の搬送方向(副走査方向、以下第2の方向またはX方向という)と直交する方向(主走査方向、以下第1の方向またはY方向という)に往復移動するキャリッジに搭載されるものである。このインクジェットヘッド100には、例えば、シアン、マゼンタ、イエロー、ブラックの4色のカラーインクがそれぞれ充填されたインクカートリッジが、キャリッジ上に着脱可能に搭載されるか、あるいは、画像形成装置の本体に静置され供給パイプ等を介するかして、各色のインクが供給されるように構成されている。
インクジェットヘッド100は、図1に示すように、金属板製の複数枚のプレートからなるキャビティユニット1にプレート型の圧電アクチュエータ2が接合され、このプレート型の圧電アクチュエータ2の上面(背面)に外部機器との接続のためのフレキシブルフラットケーブル3(図4参照)が重ね接合されている。そして、キャビティユニット1の下面(前面)側に開口されたノズル4から、下向きにインクが吐出するものとする。
前記キャビティユニット1は、図2に示すように、ノズルプレート11、スペーサプレート12、ダンパープレート13、2枚のマニホールドプレート14a、14b、サプライプレート15、ベースプレート16、及びキャビティプレート17の合計8枚の薄い板をそれぞれ接着剤にて重ね接合した構造となっている。
実施形態では、各プレート11〜17は50〜150μm程度の厚さを有し、ノズルプレート11はポリイミド等の合成樹脂製で、その他のプレート12〜17は42%ニッケル合金鋼板製である。前記ノズルプレート11には、微小径(25μm程度)のインク吐出用のノズル4が微小間隔で多数個穿設されている。このノズル4は、当該ノズルプレート11における長辺方向(X方向)と平行な5列に配列されている。
また、前記キャビティプレート17には、図3に示すように、複数の圧力室36がキャビティプレート17の長辺(前記X方向)と平行な5列に配列されている。実施形態では、前記各圧力室36は、平面視細長形状に形成され、その長手方向がキャビティプレート17の短辺方向(Y方向)に沿うようにして穿設され、長手方向の一端部36aがノズル4と連通し、他端部36bが後述する共通インク室7と連通する。
各圧力室36における先端部36aは、サプライプレート15、ベースプレート16と2枚のマニホールドプレート14a、14b、ダンパープレート13、及びスペーサプレート12に穿設されている微小径の連通孔37を介して、ノズルプレート11における前記各ノズル4に連通している。
キャビティプレート17の下面に隣接するベースプレート16には、各圧力室36の他端部36bに接続する貫通孔38が穿設されている。
ベースプレート16の下面に隣接するサプライプレート15には、後述する共通インク室7から前記各圧力室36へインクを供給するための接続流路40が設けられる。そして各接続流路40には、共通インク室7からインクが入る入口孔と、圧力室36側(貫通孔38)に開口する出口孔と、入口孔と出口孔との間にあって、接続流路40中で最も大きな流路抵抗となるように断面積を小さくして形成された絞り部とが備えられている。
2枚のマニホールドプレート14a,14bには、その長辺方向(X方向)に沿って長い5つの共通インク室7が前記ノズル4の各列に沿って延びるように板厚さを貫通して形成されている。すなわち、図2及び図4に示すように、2枚のマニホールドプレート14a、14bを積層し、かつその上面をサプライプレート15にて覆い、下面をダンパープレート13にて覆うことにより、合計5つの共通インク室(マニホールド室)7が密閉状に形成される。各共通インク室7は、各プレートの積層方向から平面視したときに、前記圧力室36の一部と重なって圧力室36の列方向(ノズル4の列方向)に沿って長く延びている。
図3及び図4に示すように、マニホールドプレート14aの下面に隣接するダンパープレート13の下面側には、共通インク室7と隔絶されたダンパ室45が凹み形成されている。この各ダンパ室45の位置および形状は、図2に示すように、前記各共通インク室7と一致させている。このダンパプレート13は、適宜弾性変形し得る金属素材であるため、ダンパ室45上部の薄い板状の天井部は、共通インク室7側にも、ダンパ室45側にも自由に振動することができる。インク吐出時に、圧力室36で発生した圧力変動が共通インク室7に伝播しても、前記天井部が弾性変形して振動することにより、前記圧力変動を吸収減衰させるというダンパ効果を奏し、圧力変動が他の圧力室36へ伝播するというクロストークを防止することができるものである。
また、図2に示すように、キャビティプレート17、ベースプレート16、及びサプライプレート15の一方の短辺側の端部には、上下の位置を対応させて、それぞれ4つのインク供給口47が穿設されている。インク供給源からのインクが、これらインク供給口47から共通インク室7の一端部に連通するようになっている。4つのインク供給口47を、図2の左側から順に個別に47a、47b、47c、47dと付す。
インク供給口47からノズル4に至るインク流通路では、インクは、インク供給口47からインク供給チャンネルとしての共通インク室7に供給された後、図3に示すように、サプライプレート15の接続流路40及びベースプレート16の貫通孔38を経由して各圧力室36に分配供給される。そして、後述するように、圧電アクチュエータ2の駆動により、インクは各圧力室36内から前記連通孔37を通って、その圧力室36に対応するノズル4に至るという構成になっている。そして、後述する圧電アクチュエータ2の駆動により、圧力室36に吐出圧力が加えられると、圧力波が圧力室36内から、連通孔37を通ってノズル4に伝達し、インクを吐出する。
この実施形態では、図2に示すように、インク供給口47が4つ設けられているのに対して、共通インク室7が5つ設けられており、インク供給口47aだけが、2つの共通インク室7,7に接続されている。インク供給口47aには、ブラックインクが供給されるように設定されており、ブラックインクがその他のカラーインクに比べて使用頻度が高いことを考慮したものである。他のインク供給口47b、47c、47dには、イエロー、マゼンタ、シアンの各インクがそれぞれ単独に供給される。インク供給口47a,47b,47c,47dには、それぞれの開口に対応する濾過部20aを有するフィルタ体20が接着剤等で貼着されている(図1参照)。
一方、前記圧電アクチュエータ2は、特開平4−341853号公報等に開示された公知のものと同様に、図5に示すように1枚の厚さが30μm程度の複数枚の圧電シート41〜43を積層した構造で、各圧電シートのうち下から所定数の偶数段目の圧電シート42の上面(広幅面)には、前記キャビティユニット1における各圧力室36に対応した箇所ごとに細幅の個別電極44が長辺方向(X方向)に沿って列状に形成されている。下から所定数の奇数段目の圧電シート41の上面(広幅面)には、複数個の圧力室36に対して共通のコモン電極46が形成されており、最上段のシートの上面には、積層方向に対応する前記個別電極の各々に対して電気的に接続される表面電極48と、前記コモン電極に対して電気的に接続される表面電極とが設けられている。
公知のように個別電極44とコモン電極46との間に高電圧を印加することで、両電極間に位置する圧電シートの部分が分極され、活性部として形成される。
そして、このプレート型の圧電アクチュエータ2における下面(圧力室36と対向する広幅面)全体に、接着剤としてのインク非浸透性の合成樹脂からなる接着剤シート(図示せず)を予め貼着し、次いで、前記キャビティユニット1に対して、圧電アクチュエータ2が、その各個別電極44を前記キャビティユニット1における各圧力室36の各々に対向配置させて接着・固定される。また、この圧電アクチュエータ2における上側の表面には、前記フレキシブルフラットケーブル3が重ね押圧されることにより、このフレキシブルフラットケーブル3における各種の配線パターン(図示せず)が、前記各表面電極に電気的に接合される。
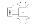
次に、各電極に印加する駆動電圧を制御するための制御装置の構成を、図6に基づいて説明する。この制御装置は、フレキシブルフラットケーブル3上に配置されるLSIチップ50として設けられている。これに、個別電極44及びコモン電極46のそれぞれに対応する表面電極が接続されている。また、LSIチップ50には、クロックライン51、データライン52、電圧ライン53及びアースライン54も接続されている。LSIチップ50は、クロックライン51から供給されるクロックパルスに基づいて、データライン52上に現れるデータから、どのノズル4にてインクを吐出するべきかを判断し、インクを吐出させる活性部に印加する駆動パルス信号の制御を行う。すなわち、コモン電極46にアースライン54を接続するとともに、インクの吐出の有無に応じて、対応する活性部の個別電極44に対して、電圧ライン53に基づく駆動パルス信号(駆動電圧)の印加を選択的に行う。
そして、この制御装置により、任意の活性部に対応する個別電極44に駆動パルス信号を印加すると、活性部が変位し、この活性部に対応する圧力室36のインクに吐出圧力が加えられる。そして、圧力室36からノズル4に至る圧力波の前進成分により、ノズル4からインク滴が吐出する。
このように構成されたインクジェットヘッド100が搭載された画像形成装置(インクジェットプリンタ)には、従来と同様に、解像度や記録速度の異なる複数の記録モードが備えられている。そして、本実施形態では、テキスト印字等に用いるような、解像度を低く(600dpi×600dpi程度)して記録速度を速めたモードを備えており、この低解像度のモードでは、単位記録面積での記録時間を減らすために、1ドット当たりの吐出量(吐出容量)が、標準的な解像度における1滴分の約3倍程度となる大玉化したドット(以下、大玉と記載する)を形成するようにしている。
本実施形態では、前記大玉の1個を、図7(a)に示すように、4つの駆動パルス信号P1、P2、P3、P4からなる駆動波形で形成するように構成している。なお、この実施形態では、個別電極44に印加する駆動パルス信号は、図7(a)に示すように、常態から電圧を立ち下げることで印加する形態としている。すなわち、インク吐出前は、全個別電極44とコモン電極46間に電圧が印加され、その間の活性部が伸長し、全圧力室36の容積が縮小された状態にあり、インクを吐出しようとする圧力室36に対応する、積層方向の各個別電極44への電圧印加を停止すると、活性部が収縮状態に復帰して圧力室36の容積を拡大する。すると、圧力室36内のインクが負圧になり圧力波が発生する。この圧力波の圧力が反転して正圧になるタイミングで前記各個別電極44に再び電圧を印加すると、活性部の伸長による圧力と、正圧に反転した圧力とが重畳され、インク滴がノズル11から吐出される。
上記インクの圧力波が負圧から正圧のピークになるまでの時間は、圧力室36、連通孔37及び貫通孔38を含む各ノズルごとのインク流路を圧力波が片道伝播する時間によって決まる。この片道伝播時間は、インクの固有振動数及びインク流路の長さだけでなく、流路抵抗、流路を構成する各プレートの剛性などにも影響される。
つまり、駆動パルス信号の立ち下がりから立ち上がりまでの時間、すなわちパルス幅を、上記圧力波の片道伝播時間に一致させると、最も大きな圧力が重畳され、インク滴の吐出速度、液滴体積がピークになることになり、後述するパルス幅T0をこれに設定する。パルス幅に対する吐出特性は、図7(b)に示すように、このパルス幅T0に対して大小いずれの方向にずれても、吐出速度、滴滴体積とも低下する山型カーブを描く特性を有している。
図7(a)の1番目の駆動パルス信号P1のパルス幅をT1、2番目の駆動パルス信号P2のパルス幅をT2、3番目の駆動パルス信号P3のパルス幅をT3、4番目の駆動パルス信号P4のパルス幅をT4、1番目のパルス幅T1の終端と2番目のパルス幅T2の始端との間隔をW1、2番目のパルス幅T2の終端と3番目のパルス幅T3の始端との間隔をW2、3番目のパルス幅T3の終端と4番目のパルス幅T4の始端との間隔をW3と記載する。
図7(a)に示す駆動波形では、まず、1番目のパルス幅T1と2番目のパルス幅T2を、パルス幅T0を避けてその近傍にずらすことで、これらそれぞれによる吐出量を、ピーク値となるパルス幅T0での吐出量よりも少ない吐出量に設定している。そして、パルス幅のずらし方としては、1番目のパルス幅T1を前記パルス幅T0より短くし、かつ2番目のパルス幅T2を前記パルス幅T0よりも長くして、パルス幅T0を挟んで互いに反対側にずらすようにしている。
また、3番目の駆動パルス信号P3と4番目のパルス信号P4は、インクを吐出するものではあるが、1番目及び2番目のパルス信号P1,P2によって発生した圧力波の変動の各山または谷に対して、ずれた位相で印加されるように設定され、パルス信号P1,P2によって発生した圧力波を打ち消す。かつ前記1番目及び2番目よりも少ない吐出量となるように設定されている。ここでは、パルス幅T3,T4をいずれもパルス幅T1よりも短くし、互いに同じパルス幅に設定している。
前述したように、インクジェットヘッド100には製造上のバラツキによる個体差があるため、吐出特性ごとにグループ分けしてそれぞれに異なるパルス幅T0を設定したとしても、図7(b)に示す吐出特性のカーブもヘッド毎に多少のばらつきを生じることが避けられない。その結果、図7(b)に示すような吐出特性のカーブにおいて、ピーク値が横軸方向あるいは縦軸方向にずれを生じ、パルス幅T0のときの吐出量も変動する。
しかしながら、本実施形態では、前記パルス幅T1とT2とを、パルス幅T0の値を避けて設定しているため、インクジェットヘッド100が異なっても、吐出量のばらつきを抑制することができる。特に、パルス幅T1とT2とを、パルス幅T0を挟むようにずらし方を変えているから、前記吐出特性のカーブ及びピーク値が横軸方向にずれた場合には、駆動パルス信号P1、P2のうち一方の吐出量が減っても他方の吐出量が増えることになるので、合計すると互いの増減を相殺でき、駆動パルス信号P1、P2による合計の吐出量は、インクジェットヘッド100が異なっても、略一定に保つことができる。
一方、3番目及び4番目の駆動パルス信号P3,P4は、単に残存するインクの圧力波を打ち消すためのキャンセル信号として機能するたけではなく、目的とする3滴分の吐出量に不足する分を補填するものである。このように、3番目及び4番目の駆動パルス信号P3,P4の2つにキャンセル効果をもたせることで、圧力波を打ち消し、サテライトの発生を防止する効果の確実性を増すことができる。また、吐出量の補填を2つの駆動パルス信号で行なうことで、駆動パルス信号P3,P4の1つ当たりの吐出量を少なくできる、すなわちパルス幅を短く設定できるので、前記したキャンセル効果を損なう心配もない。
なお、この実施形態では、大玉用の駆動波形を前述した4つの駆動パルス信号で構成しているが、次のドットの駆動周期に悪影響を及ぼさない範囲であれば、5番目以降に、パルス幅を短くして、インク滴を吐出しないキャンセル用の駆動パルス信号を付加してもよい。
また、本発明は、特開平9−52357号公報に記載されているような圧電材料をせん断モード変形させてインク滴を噴射するものにも適用できる。この場合、駆動パルス信号は電圧を立ち上げによって印加する。
次に、図8に示すように、前記パルス幅T0が5μsecとなる吐出特性を有するインクジェットヘッドを用いて、前記T1,T2,T3,T4,W1,W2,W3の最適な組み合わせを求めて実験を行なった。
(実施例1)
図9(a)に示す実験結果は、T1,T2,T3,T4,W1,W2,W3の値の組み合せを15通り(No.1〜No.15)用意し、これらを複数のインクジェットヘッド100に実施して、その吐出結果を、サテライト発生、吐出安定性、吐出容量、ヘッド間容量ばらつきの4つの項目について評価したものである。評価項目のうち、サテライト発生は、被記録媒体に形成された印字に実際にサテライトが生じているか否かを判断したものである。吐出安定性は、ノズルからの吐出状態が経時的に安定しているか否かを判断したものである。吐出容量は、目的とする大きさ(吐出容量)の大玉ドットが被記録媒体に形成されているか否かを判断したものである。ヘッド間容量ばらつきは、実験を行った複数のインクジェットヘッド間で、被記録媒体に形成された大玉ドットの大きさ(吐出容量)にばらつきがあるか否かを判断したものである。いずれも、結果が良好な場合を○、不良の場合を×、その中間を△で示している。なお、印加したパルス幅(T1〜T4)及び間隔(W1〜W3)の数値は、±0.5μsecの数値幅を含んだものである。
図9(a)の実験結果からわかるように、前記4つの評価項目全てについて○となるのは、実験No.2及びNo.9の2通りの組み合せのみであった(図中に*を付す)。これにより、サテライトを防止し、且つ目的とする大玉ドットをヘッド間でばらつきなく安定的に形成することができる最適な駆動波形は、具体的には、
3.5μs<T1<4.5μs、3.5μs<W1<4.5μs、
7.5μs<T2<8.5μs、3.5μs<W2<5.5μs、
2.5μs<T3<3.5μs、3.5μs<W3<4.5μs、
2.5μs<T4<3.5μs
の条件を満たすことが必要であることがわかった。
また、このインクジェットヘッドが、T0=5μsecであることから換算すると、
0.7T0<T1<0.9T0、0.7T0<W1<0.9T0、
1.5T0<T2<1.7T0、0.7T0<W2<1.1T0、
0.5T0<T3<0.7T0、0.7T0<W3<0.9T0、
0.5T0<T4<0.7T0、
の条件を満たすことが最適であると導き出すことができた。
(比較例1)
比較のために、図8に示す吐出特性のインクジェットヘッド100を用いて、従来例の駆動波形の構成についても実験を行なった。図9(b)に示す実験結果は、図10(b)に示す従来の駆動波形におけるT1(=T2=T3=W1=W2)、T4及びW3の組み合せを7通り(No.21〜No.27)用意し、実施例1と同様に、複数のインクジェットヘッドに実施して、前記4つの評価項目について評価したものである。
図9(b)の実験結果からも明らかなように、従来例の駆動波形では、T1(=T2=T3=W1=W2)の値を、パルス幅T0(5μsec)の値に一致させるだけでなく、少しずらして印加しても、4つの駆動パルス信号のうちの1番目から3番目(P1、P2及びP3)を同じパルス幅に設定すると、4つの評価項目が全て○となる組み合せを得ることができないことが確認できた。
本発明の実施形態のインクジェットヘッドの斜視図である。 インクジェットヘッドの分解斜視図である。 キャビティユニットの拡大分解斜視図である。 図1のIV−IV線矢視拡大断面図である。 図1のV−V線矢視拡大断面図である。 制御装置のブロック図である。 (a)1ドットに対応する駆動波形を示すタイムチャートである。1ドットに対応する駆動波形を示すタイムチャート、(b)パルス幅に対するインク滴の吐出速度の変化を示す吐出特性の図である。 実施例のインクジェットヘッドのパルス幅に対する吐出速度の変化を示す吐出特性の図である。 (a)実施例でパルス幅の値の組み合せを変えたときの実験結果を示す図、(b)比較例でパルス幅の値の組み合せを変えたときの実験結果を示す図である。 (a)従来例のパルス幅に対するインク滴の吐出速度の変化を示す吐出特性の図、(b)従来例の1ドットに対応する駆動波形を示すタイムチャートである。
符号の説明
1 キャビティユニット
2 圧電アクチュエータ
3 フレキシブルフラットケーブル
4 ノズル
7 共通インク室
36 圧力室
41〜43 圧電シート
44 個別電極
46 コモン電極
48 表面電極
100 インクジェットヘッド

Claims (4)

  1. 複数のノズルと、各ノズル毎に連通して設けられる複数の圧力室と、各圧力室毎に選択的に吐出圧力を与えるアクチュエータと、このアクチュエータに駆動パルス信号を出力する制御装置とを備え、前記アクチュエータから圧力室に加えられた吐出圧力で、前記ノズルからインク滴を吐出して被記録媒体に記録するインク滴吐出装置において、
    被記録媒体に所定サイズの1ドットを形成する場合に、前記制御手段は、少なくとも4つの駆動パルス信号を出力するものであり、
    前記制御手段から出力される前記少なくとも4つの駆動パルス信号は、
    いずれもインク滴を吐出させる駆動パルス信号であって、
    前記ノズルから吐出されるインク滴の吐出速度及び吐出量がいずれもピークとなるときの駆動パルス信号のパルス幅をパルス幅T0としたときに、
    1番目の駆動パルス信号P1のパルス幅T1は、前記パルス幅T0よりも短く、
    2番目の駆動パルス信号P2のパルス幅T2は、前記パルス幅T0よりも長く、
    3番目の駆動パルス信号P3のパルス幅T3と4番目の駆動パルス信号P4のパルス幅T4は、前記パルス幅T1よりも短く設定されており、
    前記駆動パルス信号P3と前記駆動パルス信号P4のそれぞれの始端と終端は、前記駆動パルス信号P1および前記駆動パルス信号P2により発生する前記圧力室内の圧力変動がピークとなる時間とは異なる時間に前記アクチュエータに印加されるように設定されていることを特徴とするインク滴吐出装置。
  2. 前記1番目のパルス幅T1、前記2番目のパルス幅T2、前記3番目のパルス幅T3、前記4番目のパルス幅T4、前記1番目のパルス幅T1の終端と前記2番目のパルス幅T2の始端との間隔W1、前記2番目のパルス幅T2の終端と前記3番目のパルス幅T3の始端との間隔W2、及び前記3番目のパルス幅T3の終端と前記4番目のパルス幅T4の始端との間隔W3は、それぞれ前記パルス幅T0に対して、
    0.7T0<T1<0.9T0、0.7T0<W1<0.9T0、
    1.5T0<T2<1.7T0、0.7T0<W2<1.1T0、
    0.5T0<T3<0.7T0、0.7T0<W3<0.9T0、
    0.5T0<T4<0.7T0、
    の関係を満たしていることを特徴とする請求項1に記載のインク滴吐出装置。
  3. 前記T1、T2、T3、T4、W1、W2、及びW3は、それぞれ、
    3.5μs<T1<4.5μs、3.5μs<W1<4.5μs、
    7.5μs<T2<8.5μs、3.5μs<W2<5.5μs、
    2.5μs<T3<3.5μs、3.5μs<W3<4.5μs、
    2.5μs<T4<3.5μs、
    の範囲にあることを特徴とする請求項2に記載のインク滴吐出装置。
  4. 複数のノズルと、各ノズル毎に連通して設けられる複数の圧力室と、各圧力室毎に選択的に吐出圧力を与えるアクチュエータとを備えるインク滴吐出装置の前記アクチュエータに、駆動パルス信号を印加して当該アクチュエータから圧力室に吐出圧力を加え、前記ノズルからインク滴を吐出して被記録媒体に記録するインク滴吐出方法において、
    被記録媒体に所定サイズの1ドットを形成する場合に、少なくとも4つの駆動パルス信号を印加し、
    前記制御手段から出力される前記少なくとも4つの駆動パルス信号は、
    いずれもインク滴を吐出させる駆動パルス信号であって、
    前記ノズルから吐出されるインク滴の吐出速度及び吐出量がいずれもピークとなるときの駆動パルス信号のパルス幅をパルス幅T0としたときに、
    1番目の駆動パルス信号P1のパルス幅T1は、前記パルス幅T0よりも短く、
    2番目の駆動パルス信号P2のパルス幅T2は、前記パルス幅T0よりも長く、
    3番目の駆動パルス信号P3のパルス幅T3と4番目の駆動パルス信号P4のパルス幅T4は、前記パルス幅T1よりも短く設定されており、
    前記駆動パルス信号P3と前記駆動パルス信号P4のそれぞれの始端と終端は、前記駆動パルス信号P1および前記駆動パルス信号P2により発生する前記圧力室内の圧力変動がピークとなる時間とは異なる時間に前記アクチュエータに印加されるように設定されていることを特徴とするインク滴吐出方法。
JP2005045505A 2005-02-22 2005-02-22 インク滴吐出装置及びインク滴吐出方法 Expired - Fee Related JP4730516B2 (ja)

Priority Applications (2)

Application Number Priority Date Filing Date Title
JP2005045505A JP4730516B2 (ja) 2005-02-22 2005-02-22 インク滴吐出装置及びインク滴吐出方法
US11/358,041 US7520580B2 (en) 2005-02-22 2006-02-22 Device and method for ejecting ink droplet

Applications Claiming Priority (1)

Application Number Priority Date Filing Date Title
JP2005045505A JP4730516B2 (ja) 2005-02-22 2005-02-22 インク滴吐出装置及びインク滴吐出方法

Publications (2)

Publication Number Publication Date
JP2006231545A JP2006231545A (ja) 2006-09-07
JP4730516B2 true JP4730516B2 (ja) 2011-07-20

Family

ID=36912236

Family Applications (1)

Application Number Title Priority Date Filing Date
JP2005045505A Expired - Fee Related JP4730516B2 (ja) 2005-02-22 2005-02-22 インク滴吐出装置及びインク滴吐出方法

Country Status (2)

Country Link
US (1) US7520580B2 (ja)
JP (1) JP4730516B2 (ja)

Families Citing this family (2)

* Cited by examiner, † Cited by third party
Publication number Priority date Publication date Assignee Title
US8317284B2 (en) * 2008-05-23 2012-11-27 Fujifilm Dimatix, Inc. Method and apparatus to provide variable drop size ejection by dampening pressure inside a pumping chamber
US9427956B2 (en) * 2014-09-22 2016-08-30 Kabushiki Kaisha Toshiba Drive method and drive apparatus for ink jet head

Family Cites Families (13)

* Cited by examiner, † Cited by third party
Publication number Priority date Publication date Assignee Title
CA1244714A (en) * 1984-04-16 1988-11-15 William J. Debonte Method for selective multi-cycle resonant operation of an ink jet apparatus for controlling dot size
JPH04341853A (ja) 1991-05-20 1992-11-27 Brother Ind Ltd 圧電式インクジェットプリンタヘッド
US5402159A (en) * 1990-03-26 1995-03-28 Brother Kogyo Kabushiki Kaisha Piezoelectric ink jet printer using laminated piezoelectric actuator
JPH0952357A (ja) 1995-08-10 1997-02-25 Brother Ind Ltd インク噴射装置
DE69736991T2 (de) * 1996-01-29 2007-07-12 Seiko Epson Corp. Tintenstrahlaufzeichnungskopf
JP3654299B2 (ja) * 1997-12-10 2005-06-02 ブラザー工業株式会社 インク滴噴射装置
JP2001322264A (ja) * 2000-05-17 2001-11-20 Brother Ind Ltd インク滴噴射方法およびその装置並びに記憶媒体
US6379982B1 (en) * 2000-08-17 2002-04-30 Micron Technology, Inc. Wafer on wafer packaging and method of fabrication for full-wafer burn-in and testing
JP2002154198A (ja) * 2000-11-20 2002-05-28 Ricoh Co Ltd インクジェットヘッドの駆動方法及び駆動装置
US6663208B2 (en) 2000-11-22 2003-12-16 Brother Kogyo Kabushiki Kaisha Controller for inkjet apparatus
JP4578671B2 (ja) 2000-11-22 2010-11-10 ブラザー工業株式会社 インクジェットヘッドの駆動装置
JP4411788B2 (ja) * 2001-01-30 2010-02-10 ブラザー工業株式会社 インク噴射装置の駆動波形の決定方法
JP3920596B2 (ja) * 2001-06-25 2007-05-30 東芝テック株式会社 インクジェット記録装置及びインクジェット記録方法

Also Published As

Publication number Publication date
US7520580B2 (en) 2009-04-21
US20060187275A1 (en) 2006-08-24
JP2006231545A (ja) 2006-09-07

Similar Documents

Publication Publication Date Title
JP5084478B2 (ja) インクジェット記録ヘッドおよびインクジェット記録装置
CN100548690C (zh) 液体喷射头及其驱动方法
JP2009090533A (ja) インクジェットプリンタ
US7267416B2 (en) Ink drop ejection method and ink drop ejection device
US7891750B2 (en) Ink-droplet ejecting apparatus
US7600838B2 (en) Ink-droplet jetting apparatus
JP3991842B2 (ja) 液滴噴射装置
US7410232B2 (en) Ink-droplet ejecting apparatus
JP2007223310A (ja) 液滴吐出装置
JP5299122B2 (ja) 液滴噴射装置
JP4730516B2 (ja) インク滴吐出装置及びインク滴吐出方法
JP2006231587A (ja) インクジェットヘッドの駆動装置、インクジェットヘッド、及び、液滴吐出装置
JP4671029B2 (ja) インク滴吐出装置
JP2007190901A (ja) インク滴吐出装置
JP4907849B2 (ja) インク滴吐出方法及びその装置
JP2006231546A (ja) インク滴吐出装置
JP2006305768A (ja) インク滴吐出装置
US7604313B2 (en) Ink-droplet ejecting apparatus
JP2007237599A (ja) インクジェットヘッド
JP4828889B2 (ja) インクジェットヘッド駆動方法、インクジェットヘッドおよび、インクジェット記録装置
JP7435522B2 (ja) 液適吐出装置及びヘッドの制御方法
JP2007237598A (ja) インクジェットヘッド
JPH04361045A (ja) 液体噴射記録ヘッドの駆動方法
JP2006056241A (ja) インク滴噴射方法およびインク滴噴射装置
JP2002086764A (ja) インクジェット記録装置

Legal Events

Date Code Title Description
A621 Written request for application examination

Free format text: JAPANESE INTERMEDIATE CODE: A621

Effective date: 20080215

A977 Report on retrieval

Free format text: JAPANESE INTERMEDIATE CODE: A971007

Effective date: 20101217

A131 Notification of reasons for refusal

Free format text: JAPANESE INTERMEDIATE CODE: A131

Effective date: 20110106

A521 Request for written amendment filed

Free format text: JAPANESE INTERMEDIATE CODE: A523

Effective date: 20110304

TRDD Decision of grant or rejection written
A01 Written decision to grant a patent or to grant a registration (utility model)

Free format text: JAPANESE INTERMEDIATE CODE: A01

Effective date: 20110323

A61 First payment of annual fees (during grant procedure)

Free format text: JAPANESE INTERMEDIATE CODE: A61

Effective date: 20110405

FPAY Renewal fee payment (event date is renewal date of database)

Free format text: PAYMENT UNTIL: 20140428

Year of fee payment: 3

R150 Certificate of patent or registration of utility model

Ref document number: 4730516

Country of ref document: JP

Free format text: JAPANESE INTERMEDIATE CODE: R150

Free format text: JAPANESE INTERMEDIATE CODE: R150

LAPS Cancellation because of no payment of annual fees