JP4666100B2 - 駆動装置 - Google Patents

駆動装置 Download PDF

Info

Publication number
JP4666100B2
JP4666100B2 JP2009298540A JP2009298540A JP4666100B2 JP 4666100 B2 JP4666100 B2 JP 4666100B2 JP 2009298540 A JP2009298540 A JP 2009298540A JP 2009298540 A JP2009298540 A JP 2009298540A JP 4666100 B2 JP4666100 B2 JP 4666100B2
Authority
JP
Japan
Prior art keywords
drive
circuit
switch
piezoelectric element
driving
Prior art date
Legal status (The legal status is an assumption and is not a legal conclusion. Google has not performed a legal analysis and makes no representation as to the accuracy of the status listed.)
Expired - Lifetime
Application number
JP2009298540A
Other languages
English (en)
Other versions
JP2010104231A (ja
Inventor
智行 湯淺
龍一 吉田
治行 中野
Current Assignee (The listed assignees may be inaccurate. Google has not performed a legal analysis and makes no representation or warranty as to the accuracy of the list.)
Konica Minolta Inc
Original Assignee
Konica Minolta Inc
Priority date (The priority date is an assumption and is not a legal conclusion. Google has not performed a legal analysis and makes no representation as to the accuracy of the date listed.)
Filing date
Publication date
Application filed by Konica Minolta Inc filed Critical Konica Minolta Inc
Priority to JP2009298540A priority Critical patent/JP4666100B2/ja
Publication of JP2010104231A publication Critical patent/JP2010104231A/ja
Application granted granted Critical
Publication of JP4666100B2 publication Critical patent/JP4666100B2/ja
Anticipated expiration legal-status Critical
Expired - Lifetime legal-status Critical Current

Links

Images

Landscapes

  • General Electrical Machinery Utilizing Piezoelectricity, Electrostriction Or Magnetostriction (AREA)

Description

本発明は、駆動装置に関し、特にはXY移動ステージ、カメラの撮影レンズ、オーバヘッドプロジェクタの投影レンズ、双眼鏡のレンズ等の駆動に適した駆動装置に関する。
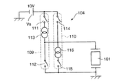
従来、撮影レンズ等が取りつけられた係合部材を棒状の駆動部材に所定の摩擦力を有するように結合させると共に、その駆動部材の一方端に圧電素子を固着して構成されたインパクト型圧電アクチュエータからなる駆動装置が知られている。例えば、図14は、カメラの撮影レンズ位置を調節するための駆動装置の概略構成を示す図である。
この図における駆動装置100は、電気機械変換素子である圧電素子101と、圧電素子101により駆動される棒状の駆動部材102と、駆動部材102に所定の摩擦力で結合された係合部材103と、圧電素子101に駆動電圧を印加する駆動回路104とを備えている。
圧電素子101は、駆動回路104から印加される駆動電圧に応じて伸縮するものであり、その伸縮方向における一方端が支持部材105に固着されると共に、その他方端が駆動部材102の軸方向における一方端に固着されたものである。係合部材103は、所定箇所に駆動対象物である撮影レンズLが固着され、駆動部材102上を軸方向に沿って移動可能とされている。
駆動回路104は、例えば図15に示すように、緩速充電回路及び急速放電回路からなる第1の駆動回路109と、急速充電回路及び緩速放電回路からなる第2の駆動回路110とから構成され、デジタル回路で生成した0〜5Vの矩形波信号により各駆動回路109,110を駆動制御するようにしたものである。
すなわち、第1の駆動回路109は、電源電圧Vpに対して2つのスイッチ111,112と定電流源113とを定電流源113が中間位置にくるようにして直列接続することにより構成され、第2の駆動回路110は、電源電圧Vpに対して2つのスイッチ114,115と定電流源116とを定電流源116が中間位置にくるようにして直列接続することにより構成されたものであり、スイッチ112と定電流源113間及びスイッチ114と定電流源116間の出力が圧電素子101に印加されるようにしたものである。
この図15に示す駆動回路104では、第1の駆動回路109のスイッチ111を閉じることにより緩速充電回路が形成され、その後にスイッチ111を開いてスイッチ112を閉じることにより急速放電回路が形成される。このスイッチ操作が矩形波信号により繰り返し実行されることにより、緩慢な立ち上がり部と急峻な立ち下がり部とを有する図16(a)に示すような波形(繰出波形)の駆動電圧が圧電素子101に繰り返し印加され、圧電素子101の伸縮により係合部材103は繰出方向(圧電素子101から離反する方向)である矢印a方向に移動する。
すなわち、駆動電圧の緩慢な立ち上がり部では圧電素子101が緩やかに伸長することになるため、係合部材103は駆動部材102と共に繰出方向に移動する一方、急峻な立ち下がり部では圧電素子101が急激に縮小することになるため、駆動部材102が戻り方向に移動しても係合部材103は駆動部材102上をスリップして略同位置に留まることになる。このため、図16(a)に示すような波形の駆動電圧が圧電素子101に繰り返し印加されると、係合部材103は矢印a方向に間欠的に移動する。
また、第2の駆動回路110のスイッチ114を閉じることにより急速充電回路が形成され、その後にスイッチ114を開いてスイッチ115を閉じることにより緩速放電回路が形成される。このスイッチ操作が矩形波信号により繰り返し実行されることにより、急峻な立ち上がり部と緩慢な立ち下がり部とを有する図16(b)に示すような波形(戻し波形)の駆動電圧が圧電素子101に繰り返し印加され、圧電素子101の伸縮により係合部材103は戻り方向(圧電素子101に接近する方向)である矢印aとは反対方向に移動する。
すなわち、駆動電圧の急峻な立ち上がり部では圧電素子101が急激に伸長することになるため、駆動部材102が繰出方向に移動しても係合部材103は駆動部材102上をスリップして略同位置に留まることになる一方、緩慢な立ち下がり部では圧電素子101が緩やかに縮小することになるため、係合部材103は駆動部材102と共に戻り方向に移動することになる。このため、図16(b)に示すような波形の駆動電圧が圧電素子101に繰り返し印加されると、係合部材103は矢印aとは反対方向に間欠的に移動する。これにより、レンズLが繰出方向と戻り方向とに移動可能となる。
特開平10−248277号公報
ところで、カメラの撮影レンズ等の光学系の駆動源としてインパクト形圧電アクチュエータからなる駆動装置を適用する場合、その駆動装置はできる限り構成が簡素化され、かつ小型化されていることが望ましい。しかしながら、上記従来の駆動装置100では、定電流源113,116の回路構成が複雑になることから駆動回路104が複雑化すると共に、小型化にも制約を受けるという問題があった。
本発明は、このような事情に鑑みてなされたものであり、駆動回路の複雑化等を招くことのない駆動装置を提供することを目的とする。
上記目的を達成するため、本発明の一態様に係る駆動装置は、駆動電圧が印加されることにより伸縮する電気機械変換素子と、該電気機械変換素子により駆動される駆動部材と、該駆動部材に所定の摩擦力で係合され、該駆動部材上を移動する係合部材と、前記電気機械変換素子を駆動する駆動回路と、該駆動回路の動作を制御する駆動制御手段とから構成され、前記電気機械変換素子を異なる速度で伸縮させることで前記電気機械変換素子と前記係合部材とを相対移動させる駆動装置において、前記駆動回路は、前記電気機械変換素子の共振周波数に対して0.3倍より大きく1.5倍より小さい駆動周波数をもつ矩形波からなる駆動電圧を前記電気機械変換素子に印加することで、該駆動電圧が、前記駆動部材と係合部材との係合部分に、前記の伸縮時における速度差を生じさせることができる鋸歯状の変位振動を生じさせるものであることを特徴としている。
この構成によれば、共振系における電気機械変換素子の共振周波数の影響を受けて矩形波を形成している高周波成分のうち3次以上の高次の高周波のゲインが大きく減衰し、電気機械変換素子の変位波形が鋸歯形状となる。このため、従来のような定電流源が不要となり、駆動回路の複雑化等を招くことのない駆動装置が実現される。
また、他の一態様では、上述の駆動装置において、前記駆動回路は、前記電気機械変換素子にその一方側から駆動電圧を印加して充電する第1の駆動回路と、前記電気機械変換素子にその他方側から駆動電圧を印加して充電する第2の駆動回路と、各駆動回路により電気機械変換素子に充電された電荷を放電する放電回路とを備え、前記駆動制御手段は、前記第1の駆動回路と第2の駆動回路とを交互に駆動させると共に、前記第1の駆動回路の駆動期間と第2の駆動回路の駆動期間との間に前記放電回路を駆動するようにしたことを特徴としている。
この構成によれば、第1の駆動回路により電気機械変換素子に充電された電荷は、第2の駆動回路により電気機械変換素子に逆方向に充電される前に放電回路により放電される。また、第2の駆動回路により電気機械変換素子に逆方向に充電された電荷は、第1の駆動回路により電気機械変換素子が充電される前に放電回路により放電される。このため、駆動回路の複雑化等を招くことがないことに加え、消費電力を可及的に抑制して電池電源で有効に駆動することができる駆動装置が実現される。
また、他の一態様では、上述の駆動装置において、前記第1の駆動回路は、一方端が電源に接続され、他方端が前記電気機械変換素子の一方端に接続されてなる第1のスイッチ手段と、一方端が前記電気機械変換素子の他方端に接続され、他方端が接地されてなる第2のスイッチ手段とで構成されると共に、前記第2の駆動回路は、一方端が前記電源に接続され、他方端が前記電気機械変換素子の他方端に接続されてなる第3のスイッチ手段と、一方端が前記電気機械変換素子の一方端に接続され、他方端が接地されてなる第4のスイッチ手段とで構成され、前記放電回路は、前記第2のスイッチ手段と第4のスイッチ手段とで構成されていることを特徴としている。
この構成によれば、第1のスイッチ手段と第2のスイッチ手段とで構成される第1の駆動回路により電気機械変換素子に充電された電荷は、第2の駆動回路により電気機械変換素子に逆方向に充電される前に第2のスイッチ手段と第4のスイッチ手段とで構成される放電回路により放電される。また、第3のスイッチ手段と第4のスイッチ手段とで構成される第2の駆動回路により電気機械変換素子に逆方向に充電された電荷は、第1のスイッチ手段と第2のスイッチ手段とで構成される第1の駆動回路により電気機械変換素子が充電される前に第2のスイッチ手段と第4のスイッチ手段とで構成される放電回路により放電される。このため、駆動回路の複雑化等を招くことないことに加え、消費電力を可及的に抑制して電池電源で有効に駆動することができる駆動装置が実現される。
以上説明したように、本発明の一態様に係る駆動装置によれば、駆動回路は、電気機械変換素子の共振周波数に対して0.3倍より大きく1.5倍より小さい駆動周波数をもつ矩形波からなる駆動電圧を電気機械変換素子に印加するものであるので、駆動回路の複雑化等を招くことがないものとなる。
また、他の態様の駆動装置によれば、駆動回路は、電気機械変換素子にその一方側から駆動電圧を印加して充電する第1の駆動回路と、電気機械変換素子にその他方側から駆動電圧を印加して充電する第2の駆動回路と、各駆動回路により電気機械変換素子に充電された電荷を放電する放電回路とを備え、駆動制御手段は、第1の駆動回路と第2の駆動回路とを交互に駆動させると共に、第1の駆動回路の駆動期間と第2の駆動回路の駆動期間との間に放電回路を駆動するようにしているので、駆動回路の複雑化等を招くことないことに加え、消費電力を可及的に抑制して電池電源で有効に駆動することができるようになる。
また、他の態様の駆動装置によれば、第1の駆動回路は、一方端が電源に接続され、他方端が電気機械変換素子の一方端に接続されてなる第1のスイッチ手段と、一方端が電気機械変換素子の他方端に接続され、他方端が接地されてなる第2のスイッチ手段とで構成されると共に、第2の駆動回路は、一方端が電源に接続され、他方端が電気機械変換素子の他方端に接続されてなる第3のスイッチ手段と、一方端が電気機械変換素子の一方端に接続され、他方端が接地されてなる第4のスイッチ手段とで構成され、放電回路は、第2のスイッチ手段と第4のスイッチ手段とで構成されているので、簡単な回路構成で駆動回路を構成することができる。
本発明の一実施形態に係る駆動装置の構成を概略的に示す図である。 図1に示す駆動装置の駆動部の構成例を示す斜視図である。 図1に示す駆動装置の駆動回路の構成例を示す図である。 図3に示す駆動回路により圧電素子に印加される駆動パルスの波形を示す図で、(a)はデューティ比が0.3になるように設定されたもの、(b)はデューティ比が0.7になるように設定されたものである。 図1に示す駆動装置におけるfd/frと係合部材の移動速度との関係を示す図である。 図1に示す駆動装置における駆動電圧のデューティ比と係合部材の移動速度との関係を示す図である。 図1に示す駆動装置における圧電素子に印加される駆動電圧と、圧電素子の伸縮による変位波形との関係を示す図で、(a)は駆動電圧のデューティ比が0.3になるように設定された場合のもの、(b)は駆動電圧のデューティ比が0.7になるように設定された場合のものである。 図3に示す駆動回路を制御する制御回路から出力されて各スイッチ素子に印加される駆動パルスと、圧電素子に印加される駆動電圧の波形とを示す図である。 図3に示す駆動回路の各スイッチ素子の動作を説明するための図である。 図3に示す駆動回路の効果を説明するための図であり、(a)は消費電力、(b)は係合部材の移動速度を示すグラフである。 図1に示す駆動装置の駆動回路の別の構成例を示すブロック図である。 図11に示す駆動回路を制御する制御回路から出力されて各スイッチ素子に印加される駆動パルスと、圧電素子に印加される駆動電圧の波形とを示す図である。 図1に示す駆動部の別の構成例を示す図で、(a)はその分解斜視図、(b)はその正面図である。 従来例の駆動装置の構成を概略的に示す図である。 図14に示す駆動装置の駆動回路の構成例を示すブロック図である。 図14に示す駆動回路の出力波形を示す図で、(a)は繰出波形、(b)は戻り波形である。
図1は、本発明の一実施形態に係るインパクト型圧電アクチュエータからなる駆動装置の基本構成を概略的に示すブロック図である。この図において、駆動装置10は、駆動部12と、駆動部12を駆動する駆動回路14と、駆動部12に取り付けられている係合部材の位置を検出する部材センサ16と、駆動部12の基端に配設された基端センサ18と、駆動部12の先端に配設された先端センサ20と、全体の動作を制御する制御部22とを備えている。
図2は、駆動部12の構成例を示す斜視図である。この図において、駆動部12は、素子固定式構造のものであり、支持部材24、圧電素子26、駆動部材28及び係合部材30から構成されている。
支持部材24は、圧電素子26及び駆動部材28を保持するものであり、円柱体の軸方向両端部241,242及び略中央の仕切壁243を残して内部を刳り貫くことにより形成された第1の収容空間244及び第2の収容空間245を有している。この第1の収容空間244には、圧電素子26がその分極方向である伸縮方向を支持部材24の軸方向と一致させて収容されている。また、第2の収容空間245には、駆動部材28と係合部材30の一部とが収容されている。
圧電素子26は、例えば、所要の厚みを有する複数枚の圧電基板を各圧電基板間に図略の電極を介して積層することにより構成したものであり、その伸縮方向(積層方向)である長手方向の一方端面が第1の収容空間244の一方端部241側端面に固着されている。支持部材24の他方端部242及び仕切壁243には中心位置に丸孔が穿設されると共に、この両丸孔を貫通して断面丸形状の棒状の駆動部材28が第2収容空間245に軸方向に沿って移動可能に収容されている。
駆動部材28の第1の収容空間244内に突出した端部は圧電素子26の他方端面に固着され、駆動部材28の第2の収容空間245の外部に突出した端部は板ばね32により所要のばね圧で圧電素子26側に付勢されている。この板ばね32による駆動部材28への付勢は、圧電素子26の伸縮動作に基づく駆動部材28の軸方向変位を安定化させるためである。
係合部材30は、駆動部材28の軸方向の両側に取付部301を有する基部302と、両取付部301の間に装着される挟み込み部材303とを備えており、基部302が駆動部材28に遊嵌されると共に、挟み込み部材303が板ばね304により押圧されることにより駆動部材28に接触することで係合部材30が所定の摩擦力で駆動部材28に結合され、係合部材30に対してその摩擦力よりも大きな駆動力が作用したときに駆動部材28の軸方向に沿って移動可能とされている。なお、係合部材30には駆動対象物であるレンズL(図1)が取り付けられている。
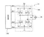
図3は、駆動回路14の構成例を示す図である。この図において、駆動回路14は、図略の駆動電源から駆動電圧+Vpが供給される接続点aと、接地される接続点bとの間に、MOS型FETであるスイッチ素子Q1からなる第1スイッチ回路141及びMOS型FETであるスイッチ素子Q2からなる第2スイッチ回路142の直列回路が接続されると共に、MOS型FETであるスイッチ素子Q3からなる第3スイッチ回路143及びMOS型FETであるスイッチ素子Q4からなる第4スイッチ回路144の直列回路が接続され、各スイッチ回路141乃至144に駆動制御信号Sc1,Sc2,Sc3,Sc4を供給する制御信号供給手段としての制御回路145が接続されて構成されている。
第1スイッチ回路141を構成するスイッチ素子Q1及び第3スイッチ回路143を構成するスイッチ素子Q3はPチャネルFETであり、第2スイッチ回路142を構成するスイッチ素子Q2及び第4スイッチ回路144を構成するスイッチ素子Q4はNチャネルFETである。PチャネルFETであるスイッチ素子Q1,Q3は駆動制御信号がローレベルのときにオンになり、NチャネルFETであるスイッチ素子Q2,Q4は駆動制御信号がハイレベルのときにオンになる。なお、第1スイッチ回路141及び第2スイッチ回路142の接続点cと、第3スイッチ回路143及び第4スイッチ回路144の接続点dとの間に圧電素子26が接続されてブリッジ回路146が構成されている。
このように構成された駆動回路14において、第1スイッチ回路141及び第4スイッチ回路144は圧電素子26に対し、その一方側から駆動電圧+Vpを印加して端子間電圧Vsが+Vpとなるまで充電する第1の駆動回路(第1の駆動手段)を構成し、第2スイッチ回路142及び第3スイッチ回路143は圧電素子26に対し、その他方側から(すなわち、逆方向から)駆動電圧+Vpを印加して端子間電圧Vsが−Vpとなるまで充電する第2の駆動回路(第2の駆動手段)を構成することになる。
このように駆動回路14と圧電素子26とでブリッジ回路146を構成した場合、圧電素子26には−Vp〜+Vpの電圧が印加されるので、圧電素子26の駆動電圧が等価的に2Vpとなる結果、駆動電源は低電圧であっても変位量の大きい駆動装置10を得ることができるという利点がある。
図1に戻り、部材センサ16は、係合部材30の移動可能範囲内に配設されており、MRE(Magneto Resistive Effect)素子やPSD(Position Sensitive Device)素子等
のセンサにより構成されている。また、基端センサ18及び先端センサ20は、フォトインタラプタ等のセンサにより構成されている。これにより、係合部材30の位置が部材センサ16により検出されることで係合部材30の所定位置への移動制御が可能となる一方、係合部材30の位置が基端センサ18及び先端センサ20で検出されることで係合部材30のそれ以上の移動が禁止される。
制御部22は、演算処理を行うCPU(Central Processing Unit)、処理プログラム
及びデータが記憶されたROM(Read-Only Memory)及びデータを一時的に記憶するRAM(Random Access Memory)から構成されており、部材センサ16等から入力される信号に基づいて制御回路145から所定のデューティ比の駆動パルスを出力させ、この駆動パルスにより第1の駆動回路及び第2の駆動回路を交互に駆動する。すなわち、制御部22は、第1スイッチ回路141及び第4スイッチ回路144からなる第1の駆動回路と、第2スイッチ回路142及び第3スイッチ回路143からなる第2の駆動回路とを交互に駆動する一方、後述する第2スイッチ回路142及び第4スイッチ回路144からなる放電回路を駆動する駆動制御手段を構成する。
次に、本発明の駆動装置10に適用される駆動回路14の駆動動作の説明を行うに先立ち、図4乃至図7を参照して駆動回路14の原理的な動作説明を行う。すなわち、図4は、駆動回路14の原理的な動作を説明するための駆動電圧のパルス波形を示す図であり、同図(a)は駆動電圧の駆動周波数fdが支持部材24及び駆動部材28が固着された状態での圧電素子26の共振周波数frの0.7倍(fd=0.7×fr)となるように設定され、デューティ比D(D=B/A)が0.3になるように設定されたもの、同図(b)は駆動電圧の駆動周波数fdが支持部材24及び駆動部材28が固着された状態での圧電素子26の共振周波数frの0.7倍(fd=0.7×fr)となるように設定され、デューティ比D(D=B/A)が0.7になるように設定されたものである。
このように、図4(a)に示す矩形波からなる駆動電圧が圧電素子26に印加された場合は係合部材30が駆動部材28に沿って繰出方向(圧電素子26から離反する方向)である矢印a方向に移動し、図4(b)に示す矩形波からなる駆動電圧が圧電素子26に印加された場合は係合部材30が駆動部材28に沿って戻り方向(圧電素子26に接近する方向)である矢印aとは逆方向に移動することになる。駆動電圧をこのように設定したのは、支持部材24及び駆動部材28が固着されている状態での圧電素子26の共振周波数frに対する駆動電圧の周波数fdの比(fd/fr)と係合部材30の移動速度との関係を確認した結果、図5に示すような関係にあることが明らかとなったことによる。
すなわち、従来では、鋸歯形状の波形を有する駆動電圧が印加された場合に圧電素子26が駆動するものと考えられていたため、その駆動回路が不可避的に複雑となり、低コスト化と小型化とに制約を受けるという問題があったが、本発明に係る駆動装置10の駆動回路14では、上記のように駆動電圧が生成の容易な矩形波からなるものでよいことから低コスト化と小型化とが促進されるという利点がある。
この図5に示す特性図は、矩形波からなる駆動電圧のデューティ比が0.3の場合(係合部材30が繰出方向に移動する場合)のものであるが、そのデューティ比が0.7の場合(係合部材30が戻り方向に移動する場合)は勿論のこと、そのデューティ比が0.05〜0.95の範囲内にある場合には略同様の関係を有することが確認されている。
この図5に示す特性図からも明らかなように、fd/frの値が0.3乃至1.5の範囲内にある場合には係合部材30が実質的に移動可能となり、fd/frの値が0.3に満たない場合及び1.5を超える場合には係合部材30が移動不能となる。従って、圧電素子26の共振周波数frに対する駆動電圧の周波数fdは、図4に示すものだけではなく必要に応じて0.3<fd<1.5の範囲内で適宜設定することができる。
また、矩形波からなる駆動電圧のデューティ比と係合部材30の移動方向(繰出方向及び戻り方向)との関係を確認した結果、図6に示すような関係を有していることが明らかとなっている。すなわち、デューティ比Dが0.05乃至0.45の範囲内(0.05<D<0.45)にあるときには、係合部材30は繰出方向に移動し、デューティ比Dが0.55乃至0.95の範囲内(0.55<D<0.95)にあるときには、係合部材30は戻り方向に移動する。従って、デューティ比Dは、図4に示すものだけではなく必要に応じて0.05<D<0.45又は0.55<D<0.95の範囲内で適宜設定することができる。
なお、支持部材24及び駆動部材28が固着された状態での圧電素子26の共振周波数frは、次の数1により求めたものである。
Figure 0004666100
この数1におけるfroは圧電素子26の両電極間におけるフリー共振周波数(圧電素子26自体の電極間方向における共振周波数)、mpは圧電素子26の質量、mfは駆動部材28の質量をそれぞれ表わしている。なお、支持部材24の質量は、共振系における圧電素子26の共振周波数frに関係するが、支持部材24の質量は圧電素子26及び駆動部材28の各質量を加算したものに比べて十分大きな値を有しており、共振周波数frに与える影響は小さいので演算パラメータとして考慮する必要はない。また、係合部材30は、圧電素子26の共振時には駆動部材28に対して滑りを生じて実質的に共振系の要素として考慮する必要はないので、上記数1の演算パラメータとしては含まれていない。
図7は、圧電素子26に印加される駆動回路14からの駆動電圧のパルス波形と、圧電素子26の伸縮による変位との対応関係を示す図で、同図(a)は図4(a)に示す駆動電圧が印加された場合であり、同図(b)は図4(b)に示す駆動電圧が印加された場合をそれぞれ示している。なお、圧電素子26の伸縮による変位は、レーザードップラー振動計により測定したものである。
このように、圧電素子26に図4(a)に示す駆動電圧が印加された場合は圧電素子26の変位波形が緩慢な立ち上がり部と急峻な立ち下がり部とを有する鋸歯形状となり、圧電素子26に図4(b)に示す駆動電圧が印加された場合は圧電素子26の変位波形が急峻な立ち上がり部と緩慢な立ち下がり部とを有する鋸歯形状となっていることが確認された。
すなわち、圧電素子26の変位が図7(a)に示すような緩慢な立ち上がり部を有する波形を呈するとき(すなわち、圧電素子26が緩やかに伸長するとき)は、係合部材30が駆動部材28と共に繰出方向に移動し、圧電素子26の変位が図7(a)に示すような急峻な立下り部を有する波形を呈するとき(すなわち、圧電素子26が急激に縮小するとき)は、駆動部材28が戻り方向に移動しても係合部材30は駆動部材28上をスリップして略同位置に留まることになる。このため、図7(a)に示す駆動電圧が圧電素子26に繰り返し印加されることで、係合部材30は繰出方向に間欠的に移動することになる。
また、圧電素子26の変位が図7(b)に示すような急峻な立ち上がり部を有する波形を呈するとき(すなわち、圧電素子26が急激に伸長するとき)は、駆動部材28が繰出方向に移動しても係合部材30は駆動部材28上をスリップして略同位置に留まることになり、圧電素子26の変位が図7(b)に示すような緩慢な立下り部を有する波形を呈するとき(すなわち、圧電素子26が緩やかに縮小するとき)は、係合部材30が駆動部材28と共に戻り方向に移動することになる。このため、図7(b)に示す駆動電圧が圧電素子26に繰り返し印加されることで、係合部材30は戻り方向に間欠的に移動することになる。
このように、例えば、図4(a),(b)に示す駆動電圧が圧電素子26に印加された場合、圧電素子26の変位波形が鋸歯形状となるのは次のような理由による。すなわち、矩形波は基本波である正弦波と複数次の高調波とからなるものであるが、駆動電圧の駆動周波数fdが圧電素子26の共振周波数frに対して0.3倍よりも大きく1.5倍よりも小さいとき(0.3×fr<fd<1.5×fr)、共振系における圧電素子26の共振周波数の影響を受けて矩形波を形成している高調波成分のうち3次以上の高次の高調波のゲインが大きく減衰し、圧電素子26に印加される駆動電圧が実質的に基本波と2次高調波とからなる波形(すなわち、略鋸歯形状の波形)を有するものとなるからである。
また、駆動電圧のデューティ比のある値を境にして係合部材30の移動方向が繰出方向と戻り方向間で反転するのは、そのデューティ比に対応して基本波に対する2次高調波の位相がずれ、基本波と2次高調波とからなる鋸歯波形における立ち上がり部と立ち下がり部の各傾斜が変化することになるからである。すなわち、デューティ比Dが0.05<D<0.45の範囲内にあるときには、2次高調波の位相のずれが大きくなって緩慢な立ち上がり部と急峻な立ち下がり部を有する鋸歯波形となることから係合部材30は繰出方向に移動し、デューティ比Dが0.55<D<0.95の範囲内にあるときには、2次高調波の位相のずれが小さくなって急峻な立ち上がり部と緩慢な立ち下がり部を有する鋸歯波形となることから係合部材30は繰出方向に移動する。
図8は、本発明に係る駆動装置10に適用される駆動回路14の動作説明を行うための図で、図3に示す駆動回路14を制御する制御回路145から出力されて各スイッチ素子Q1〜Q4に印加される駆動パルスと、圧電素子26に印加される駆動電圧の波形とを示す図である。この図8に示す駆動電圧は、上述したように矩形波からなるものであり、その駆動周波数fdが支持部材24及び駆動部材28の固着された状態での圧電素子26の共振周波数frに対し、0.7倍に設定されると共に、繰出方向における波形についてはデューティ比Dが0.3に設定され、戻り方向の波形についてはデューティ比Dが0.7に設定されたものである。この駆動電圧が圧電素子26に印加されることで係合部材30は繰出方向と戻り方向とに移動することになる。
この図8に示すように、駆動装置10の駆動時には、制御回路145からハイレベルの駆動制御信号Sc1,Sc2がスイッチ素子Q1,Q2に入力されるときには、ローレベルの駆動制御信号Sc3,Sc4がスイッチ素子Q3,Q4に入力され、ローレベルの駆動制御信号Sc1,Sc2がスイッチ素子Q1,Q2に入力されるときには、ハイレベルの駆動制御信号Sc3,Sc4がスイッチ素子Q3,Q4に入力される。
これらの駆動制御信号のうち、駆動制御信号Sc3,Sc4は、駆動制御信号Sc1,Sc2がハイからローに切り替わるときにはそれよりも僅かに速いタイミングでローからハイに切り替わり、駆動制御信号Sc1,Sc2がローからハイに切り替わるときにはそれよりも僅かに遅いタイミングでハイからローに切り替わるように設定されている。
制御回路145から上記のような駆動制御信号が繰り返し出力されることにより、スイッチ素子Q1,Q4及びスイッチ素子Q2,Q3が所定の周期で交互にオン、オフを繰り返すことになる。すなわち、スイッチ素子Q1,Q4がオンのときには圧電素子26は+Vpに充電され、スイッチ素子Q2,Q3がオンのときには圧電素子26は−Vpに充電されることになる結果、圧電素子26には見掛け上電源電圧Vpの2倍(2Vp)の電圧が印加されたことになり、係合部材30の移動速度を速くすることができて駆動装置10を効果的に動作させることができる。なお、駆動電圧のデューティ比Dが0.3に設定された駆動パルスでは係合部材30は繰出方向に移動し、駆動電圧のデューティ比Dが0.7に設定された駆動パルスでは係合部材30は戻り方向に移動する。
しかも、上記のように駆動制御信号Sc3,Sc4は、駆動制御信号Sc1,Sc2がハイからローに切り替わるときにはそれよりも僅かに速いタイミングでローからハイに切り替わり、駆動制御信号Sc1,Sc2がローからハイに切り替わるときにはそれよりも僅かに遅いタイミングでハイからローに切り替わるように設定されているので、スイッチ素子Q1,Q4の駆動期間である圧電素子26に対する充電期間と、スイッチ素子Q2,Q3の駆動期間である圧電素子26に対する充電期間との間に、スイッチ素子Q2,Q4の駆動により圧電素子26に充電されている電荷を放電させる放電期間が形成され、これにより消費電力が大幅に削減されることになる。従って、スイッチ素子Q2,Q4は、それらが同時に駆動されるときには圧電素子26に充電されている電荷を放電させる放電回路を構成することになる。
すなわち、スイッチ素子Q2,Q3が共にオンになって圧電素子26に逆方向から駆動電圧Vpが印加されて充電が行われたあと(Vs=−VP)、スイッチ素子Q1,Q4が共にオンになる前にスイッチ素子Q2,Q4が共にオンになる期間が形成される。このとき、圧電素子26に充電されていた−VPの電荷がスイッチ素子Q2,Q4を介して放電されることになる。そして、スイッチ素子Q1,Q4が共にオンになって圧電素子26に駆動電圧Vpが印加されて充電が行われたあと(Vs=+VP)、スイッチ素子Q2,Q3が共にオンになる前にスイッチ素子Q2,Q4が共にオンになる期間が形成される。このとき、圧電素子26に充電されていた+VPの電荷がスイッチ素子Q2,Q4を介して放電されることになる。
このように、スイッチ素子Q1,Q4の駆動期間とスイッチ素子Q2,Q3の駆動期間との間に、スイッチ素子Q2,Q4の駆動による放電期間が形成されることから、圧電素子26を+Vpに充電するときも−Vpに充電するときにも充電に必要な電荷を供給するだけでよいことから不要な電力消費を削減することができる。これに対し、このようなスイッチ素子Q2,Q4の駆動による放電期間を形成しないときには、圧電素子26の放電時にも圧電素子26に駆動電圧Vpが印加されることから不要な電力を消費することになる。
図9は、この状態を説明するための図であり、スイッチ素子Q2,Q3が共にオンになる期間(このとき、スイッチ素子Q1,Q4は共にオフ)を第1期間、この第1期間の後に形成されるスイッチ素子Q2,Q4が共にオンになる期間(このとき、スイッチ素子Q1,Q3は共にオフ)を第2期間、この第2期間の後に形成されるスイッチ素子Q1,Q4が共にオンになる期間(このとき、スイッチ素子Q2,Q3は共にオフ)を第3期間、この第3期間の後に形成されるスイッチ素子Q2,Q4が共にオンになる期間(このとき、スイッチ素子Q1,Q3は共にオフ)を第4期間とする。
なお、これら第1期間乃至第4期間に制御回路145から出力される駆動制御信号Sc1乃至Sc4と圧電素子26の充電電圧との対応関係を表1に示している。ここで、「H」はハイ信号を示し、「L」はロー信号を示している。
Figure 0004666100
この第1期間では、圧電素子26に−qの電荷が充電され(このとき、Vs=−Vp)、第2期間では、第1期間で圧電素子26に充電された−qの電荷が放電される。また、第3期間では、圧電素子26に+qの電荷が充電され(このとき、Vs=+Vp)、第4期間では、第3期間で圧電素子26に充電された+qの電荷が放電される。なお、圧電素子26には、その分極方向に駆動電圧Vpが印加されるようになっている。
符号C1で示す円内は、第2期間における圧電素子26に印加される電圧の波形を拡大して示しており、期間aはスイッチ素子Q4にハイ信号が印加されてから実際にスイッチが切り替わるまでの切替時間、期間bはスイッチ素子Q4が切り替わってから圧電素子26に充電されている電荷が放電されるまでの放電時間をそれぞれ示している。従って、第2期間はこれらの期間a及び期間bを加算した値あるいはそれに近似した値に設定される。
また、符号C2で示す円内は、第4期間における圧電素子26に印加される電圧の波形を拡大して示しており、期間cはスイッチ素子Q4にロー信号が印加されてから実際にスイッチが切り替わるまでの切替時間、期間dはスイッチ素子Q2が切り替わってから圧電素子26に充電されている電荷が放電されるまでの放電時間をそれぞれ示している。従って、第4期間はこれらの期間c及び期間dを加算した値あるいはそれに近似した値に設定される。
実験結果によれば、図10(a)に示すように、上記のようにスイッチ素子Q2,Q3の駆動期間(充電期間)である第1期間とスイッチ素子Q1,Q4の駆動期間(充電期間
)である第3期間との間、及びスイッチ素子Q1,Q4の駆動期間(充電期間)である第3期間とスイッチ素子Q2,Q3の駆動期間(充電期間)である第1期間との間に、スイ
ッチ素子Q2,Q4の駆動期間(放電期間)である第2期間及び第4期間をそれぞれ設けた構成とした場合の消費電力は77mWであったのに対し、第2期間及び第4期間を設けなかった構成とした場合の消費電力は143mWであった(46%の向上)。また、圧電素子26に印加される駆動電圧に段差ができる関係で係合部材30の移動速度が若干低下する懸念があったが、図10(b)に示すように、本発明に係るものでは係合部材30の移動速度は9.3mm/secであったのに対し、従来例のものでは9.9mm/secであり、約6%低下するのみで格別大きな変化はなかった。
図11は、駆動回路14の別の構成例を示す図である。この図において、駆動回路14’は、図略の駆動電源から駆動電圧+Vpが供給される接続点aと、接地される接続点bとの間に、MOS型FETであるスイッチ素子Q1からなる第1スイッチ回路151及びMOS型FETであるスイッチ素子Q2からなる第2スイッチ回路152の直列回路が接続されると共に、MOS型FETであるスイッチ素子Q3からなる第3スイッチ回路153及びMOS型FETであるスイッチ素子Q4からなる第4スイッチ回路154の直列回路が接続されて構成されている。
また、第2スイッチ回路152に抵抗素子R1及びMOS型FETであるスイッチ素子Q5の直列回路からなる第5スイッチ回路155が並列接続されると共に、第4スイッチ回路154に抵抗素子R2及びMOS型FETであるスイッチ素子Q6の直列回路からなる第6スイッチ回路156が並列接続され、各スイッチ回路151乃至156に駆動制御信号Sc1,Sc2,Sc3,Sc4,Sc5,Sc6を供給する制御信号供給手段としての制御回路157が接続されて構成されている。なお、この制御回路157は、駆動回路14の場合と同様に制御部22により制御されて各スイッチ回路を制御する。
第1スイッチ回路151を構成するスイッチ素子Q1及び第3スイッチ回路153を構成するスイッチ素子Q3はPチャネルFETであり、第2スイッチ回路152を構成するスイッチ素子Q2、第4スイッチ回路154を構成するスイッチ素子Q4、第5スイッチ回路155を構成するスイッチ素子Q5、及び第6スイッチ回路156を構成するスイッチ素子Q6はNチャネルFETである。なお、第1スイッチ回路151及び第2スイッチ回路152の接続点cと、第3スイッチ回路153及び第4スイッチ回路154の接続点dとの間に圧電素子26が接続されてブリッジ回路158が構成されている。
このように構成された駆動回路14’において、係合部材30を繰出方向に移動させる場合には、第1スイッチ回路151及び第6スイッチ回路156は圧電素子26に対し、その一方側から駆動電圧+Vpを印加して端子間電圧Vsが+Vpとなるまで充電する第1の駆動回路(第1の駆動手段)を構成し、第2スイッチ回路152及び第3スイッチ回路153は圧電素子26に対し、その他方側から(すなわち、逆方向から)駆動電圧+Vpを印加して端子間電圧Vsが−Vpとなるまで充電する第2の駆動回路(第2の駆動手段)を構成することになる。
また、係合部材30を戻り方向に移動させる場合には、第1スイッチ回路151及び第4スイッチ回路154は圧電素子26に対し、その一方側から駆動電圧+Vpを印加して端子間電圧Vsが+Vpとなるまで充電する第1の駆動回路(第1の駆動手段)を構成し、第3スイッチ回路153及び第5スイッチ回路155は圧電素子26に対し、その他方側から(すなわち、逆方向から)駆動電圧+Vpを印加して端子間電圧Vsが−Vpとなるまで充電する第2の駆動回路(第2の駆動手段)を構成することになる。
このように駆動回路14’と圧電素子26とでブリッジ回路158を構成した場合、駆動回路14の場合と同様に圧電素子26には−Vp〜+Vpの電圧が印加されるので、圧電素子26の駆動電圧が等価的に2Vpとなる結果、駆動電源は低電圧であっても変位量の大きい駆動装置10を得ることができるという利点がある。
図12は、駆動回路14’の動作説明を行うための図で、図11に示す駆動回路14’を制御する制御回路157から出力されて各スイッチ素子Q1〜Q6に印加される駆動パルスと、圧電素子26に印加される駆動電圧の波形とを示す図である。なお、先の駆動回路14では、圧電素子26に矩形波からなる駆動電圧を印加することで係合部材30を移動するようにしたものであるが、この駆動回路14’では、圧電素子26に鋸歯形状の駆動電圧を印加することで係合部材30を移動するようにしたものである。すなわち、緩慢な立ち上がり部と急峻な立ち下がり部とを有する鋸歯形状の駆動電圧を印加することにより係合部材30を繰出方向に移動するようにし、急峻な立ち上がり部と緩慢な立ち下がり部とを有する鋸歯形状の駆動電圧を印加することにより係合部材30を戻り方向に移動するようにしている。
この図12に示すように、駆動装置10の駆動時であって係合部材30を繰出方向に移動させる場合では、制御回路157からハイレベルの駆動制御信号Sc1,Sc2がスイッチ素子Q1,Q2に入力されるとき、ローレベルの駆動制御信号Sc3,Sc4,Sc5,Sc6がスイッチ素子Q3,Q4,Q5,Q6に入力され、ローレベルの駆動制御信号Sc1,Sc2,Sc4,Sc5がスイッチ素子Q1,Q2,Q4,Q5に入力されるとき、ハイレベルの駆動制御信号Sc3,Sc6がスイッチ素子Q3,Q6に入力される。
これらの駆動制御信号のうち、駆動制御信号Sc6は、駆動制御信号Sc3がローからハイに切り替わるときに同じタイミングでローからハイに切り替わり、駆動制御信号Sc2は、駆動制御信号Sc3がローからハイに切り替わるときにそれよりも僅かに遅いタイミングでハイからローに切り替わるように設定されている。また、駆動制御信号Sc6は、駆動制御信号Sc3がハイからローに切り替わるときに同じタイミングでハイからローに切り替わり、駆動制御信号Sc2は、駆動制御信号Sc3がハイからローに切り替わるときにそれよりも僅かに速いタイミングでローからハイに切り替わるように設定されている。
制御回路157から上記のような駆動制御信号が繰り返し出力されることにより、スイッチ素子Q1,Q6及びスイッチ素子Q2,Q3が所定の周期で交互にオン、オフを繰り返すことになる。すなわち、スイッチ素子Q1,Q6がオンのときには圧電素子26は+Vpに充電され、スイッチ素子Q2,Q3がオンのときには圧電素子26は−Vpに充電されることになる結果、圧電素子26には見掛け上電源電圧Vpの2倍(2Vp)の電圧が印加されたことになり、係合部材30の移動速度を速くすることができて駆動装置10を効果的に動作させることができる。なお、スイッチ素子Q1,Q6がオンのときには圧電素子26は緩やかに充電され、スイッチ素子Q2,Q3がオンのときには圧電素子26は急速に充電されることになる結果、係合部材30は繰出方向に移動する。
しかも、上記のように駆動制御信号Sc6は駆動制御信号Sc3がローからハイに切り替わるときに同じタイミングでローからハイに切り替わり、駆動制御信号Sc2は駆動制御信号Sc3がローからハイに切り替わるときにそれよりも僅かに遅いタイミングでハイからローに切り替わるように設定される一方、駆動制御信号Sc6は駆動制御信号Sc3がハイからローに切り替わるときに同じタイミングでハイからローに切り替わり、駆動制御信号Sc2は駆動制御信号Sc3がハイからローに切り替わるときにそれよりも僅かに速いタイミングでローからハイに切り替わるように設定されているので、スイッチ素子Q1,Q6の駆動期間である圧電素子26に対する充電期間と、スイッチ素子Q2,Q3の駆動期間である圧電素子26に対する充電期間との間に、スイッチ素子Q2,Q6の駆動により圧電素子26に充電されている電荷を放電させる放電期間が形成され、これにより消費電力が大幅に削減されることになる。従って、スイッチ素子Q2,Q6(すなわち、第2スイッチ回路152及び第6スイッチ回路156)は、それらが同時に駆動されるときには圧電素子26に充電されている電荷を放電させる放電回路を構成することになる。
すなわち、スイッチ素子Q2,Q3が共にオンになって圧電素子26に逆方向から駆動電圧Vpが印加されて充電が行われたあと(Vs=−VP)、スイッチ素子Q1,Q6が共にオンになる前にスイッチ素子Q2,Q6が共にオンになる期間が形成される。このとき、圧電素子26に充電されていた−VPの電荷がスイッチ素子Q2,Q6を介して放電されることになる。そして、スイッチ素子Q1,Q6が共にオンになって圧電素子26に駆動電圧Vpが印加されて充電が行われたあと(Vs=+VP)、スイッチ素子Q2,Q3が共にオンになる前にスイッチ素子Q2,Q6が共にオンになる期間が形成される。このとき、圧電素子26に充電されていた+VPの電荷がスイッチ素子Q2,Q6を介して放電されることになる。
このように、スイッチ素子Q1,Q6の駆動期間とスイッチ素子Q2,Q3の駆動期間との間に、スイッチ素子Q2,Q6の駆動による放電期間が形成されることから、圧電素子26を+Vpに充電するときも−Vpに充電するときにも充電に必要な電荷を供給するだけでよいことから不要な電力消費を削減することができる。これに対し、このようなスイッチ素子Q2,Q6の駆動による放電期間を形成しないときには、圧電素子26の放電時にも圧電素子26に駆動電圧Vpが印加されることから不要な電力を消費することになる。
また、図12に示すように、駆動装置10の駆動時であって係合部材30を戻り方向に移動させる場合では、制御回路157からローレベルの駆動制御信号Sc1,Sc2,Sc5,Sc6がスイッチ素子Q1,Q2,Q5,Q6に入力されるとき、ハイレベルの駆動制御信号Sc3,Sc4がスイッチ素子Q3,Q4に入力され、ハイレベルの駆動制御信号Sc1,Sc5がスイッチ素子Q1,Q5に入力されるとき、ローレベルの駆動制御信号Sc2,Sc3,Sc4,Sc6がスイッチ素子Q2,Q3,Q4,Q6に入力される。
これらの駆動制御信号のうち、駆動制御信号Sc1は、駆動制御信号Sc5がローからハイに切り替わるときに同じタイミングでローからハイに切り替わり、駆動制御信号Sc3は、駆動制御信号Sc5がローからハイに切り替わるときにそれよりも僅かに速いタイミングでハイからローに切り替わるように設定されている。また、駆動制御信号Sc1は、駆動制御信号Sc4がローからハイに切り替わるときにそれよりも僅かに速いタイミングでハイからローに切り替わり、駆動制御信号Sc3は、駆動制御信号Sc4がローからハイに切り替わるときに同じタイミングでローからハイに切り替わるように設定されている。
制御回路157から上記のような駆動制御信号が繰り返し出力されることにより、スイッチ素子Q1,Q4及びスイッチ素子Q3,Q5が所定の周期で交互にオン、オフを繰り返すことになる。すなわち、スイッチ素子Q1,Q4がオンのときには圧電素子26は+Vpに充電され、スイッチ素子Q3,Q5がオンのときには圧電素子26は−Vpに充電されることになる結果、圧電素子26には見掛け上電源電圧Vpの2倍(2Vp)の電圧が印加されたことになり、係合部材30の移動速度を速くすることができて駆動装置を効果的に動作させることができる。なお、スイッチ素子Q1,Q4がオンのときには圧電素子26は急速に充電され、スイッチ素子Q3,Q5がオンのときには圧電素子26は緩やかに充電されることになる結果、係合部材30は戻り方向に移動する。
しかも、上記のように駆動制御信号Sc1は駆動制御信号Sc5がローからハイに切り替わるときに同じタイミングでローからハイに切り替わり、駆動制御信号Sc3は、駆動制御信号Sc5がローからハイに切り替わるときにそれよりも僅かに速いタイミングでハイからローに切り替わるように設定される一方、駆動制御信号Sc1は駆動制御信号Sc4がローからハイに切り替わるときにそれよりも僅かに速いタイミングでハイからローに切り替わり、駆動制御信号Sc3は、駆動制御信号Sc4がローからハイに切り替わるときに同じタイミングでローからハイに切り替わるように設定されているので、スイッチ素子Q1,Q4の駆動期間である圧電素子26に対する充電期間と、スイッチ素子Q3,Q5の駆動期間である圧電素子26に対する充電期間との間に、スイッチ素子Q1,Q3の駆動により圧電素子26に充電されている電荷を放電させる放電期間が形成され、これにより消費電力が大幅に削減されることになる。従って、スイッチ素子Q1,Q3(すなわち、第1スイッチ回路152及び第3スイッチ回路153)は、それらが同時に駆動されるときには圧電素子26に充電されている電荷を放電させる放電回路を構成することになる。
すなわち、スイッチ素子Q1,Q4が共にオンになって圧電素子26に駆動電圧Vpが印加されて充電が行われたあと(Vs=+VP)、スイッチ素子Q3,Q5が共にオンになる前にスイッチ素子Q1,Q3が共にオンになる期間が形成される。このとき、圧電素子26に充電されていた+VPの電荷がスイッチ素子Q1,Q3を介して放電されることになる。そして、スイッチ素子Q3,Q5が共にオンになって圧電素子26に駆動電圧Vpが印加されて充電が行われたあと(Vs=−VP)、スイッチ素子Q1,Q4が共にオンになる前にスイッチ素子Q1,Q3が共にオンになる期間が形成される。このとき、圧電素子26に充電されていた−VPの電荷がスイッチ素子Q1,Q3を介して放電されることになる。
このように、スイッチ素子Q1,Q4の駆動期間とスイッチ素子Q3,Q5の駆動期間との間に、スイッチ素子Q1,Q3の駆動による放電期間が形成されることから、圧電素子26を+Vpに充電するときも−Vpに充電するときにも充電に必要な電荷を供給するだけでよいことから不要な電力消費を削減することができる。これに対し、このようなスイッチ素子Q1,Q3の駆動による放電期間を形成しないときには、圧電素子26の放電時にも圧電素子26に駆動電圧Vpが印加されることから不要な電力を消費することになる。
なお、駆動部12は、図2に示すような素子固定式構造のものではなく、例えば、図13に示すような自走式構造のものであっても上記の駆動回路14,14’により駆動することができる。図13(a)は自走式構造の駆動部12の分解斜視図であり、図13(b)はその駆動部12の正面図である。
すなわち、この図13に示す駆動部12’は、位置固定される係合部材(ベース部材)40と移動部材42とから構成されている。係合部材40は、基板44と、基板44の略中央位置に所定の間隔をおいて対向配置され、板ばね等の弾性部材46,48により取り付けられた一対の狭持部材50,52と、基板44の左右両端部に取り付けられた一対のガイド部材54,56とを備えている。各ガイド部材54,56の外側面には、回転自在の複数のボール部材58,60が取り付けられている。
移動部材42は、駆動体63と、この駆動体63に一体に取り付けられた移動体65とから構成されている。駆動体63は、支持部材67、圧電素子69及び駆動部材71から構成されている。支持部材67は、圧電素子69及び駆動部材71を保持するものであり、直方体の軸方向両端部671,672及び略中央の仕切壁673を残して刳り貫くことにより形成された第1の収容空間674及び第2の収容空間675を有している。この第1の収容空間674には、圧電素子69がその伸縮方向を支持部材67の軸方向と一致させて収容されている。また、第2の収容空間675には、駆動部材71が軸方向に移動可能に収容されている。
圧電素子69は、図2に示す圧電素子26と同様に構成されたものであり、その伸縮方向(積層方向)である長手方向の一方端面が第1の収容空間674の一方端部671側端面に固着されている。駆動部材71は、支持部材67の左右両側に膨出する膨出部711が中央部に一体形成され、この膨出部711が第2の収容空間675に位置すると共に、仕切壁673に形成された貫通孔を介して第1の収容空間674内に突出した端部は圧電素子69の他方端面に固着され、支持部材67の他方端部672に形成された貫通孔を介して第2の収容空間675の外部に突出した端部は自由端とされている。
移動体65は、平板部651と、平板部651の左右両側に下方に伸びる側壁部652,653が形成されると共に、各側壁部652,653の内側に摺動部材654,655が形成されたもので、移動部材42における支持部材67の上面にねじ部材656により固定されている。
このように構成された移動部材42は、駆動部材71の膨出部711が係合部材40の一対の挟持部材50,52間に移動可能に挟持されることで係合部材40に組み付けられることになる。すなわち、係合部材40が図2の係合部材30に対応するものであり、この係合部材40が駆動部材71に対して所定の摩擦力で結合され、駆動部12’が構成されることになる。
この駆動部12’では、駆動回路14,14’から例えば図4(a)に示す波形を有する駆動電圧が印加されて圧電素子69が緩やかに伸長すると、駆動部材71が静止した状態で支持部材67が係合部材40の一方側に移動し、その後に圧電素子69が急激に縮小すると、支持部材67が静止した状態で駆動部材71が狭持部材50,52による摩擦力に打ち勝って係合部材40の一方側に移動する。この繰り返し動作により支持部材67が移動体65と共に、係合部材40の一方側に間欠的に移動することになる。
また、駆動回路14,14’から例えば図4(b)に示す波形を有する駆動電圧が印加されて圧電素子69が急激に伸長すると、支持部材67が静止した状態で駆動部材71が狭持部材50,52による摩擦力に打ち勝って係合部材40の他方側に移動し、その後に圧電素子69が緩やかに縮小すると駆動部材71が静止した状態で支持部材67が係合部材40の他方側に移動する。この繰り返し動作により支持部材67が移動体65と共に、係合部材40の他方側に間欠的に移動することになる。
以上のように、本発明の実施形態に係る駆動装置10は、駆動回路14,14’が、圧電素子26にその一方側から駆動電圧を印加して充電する第1の駆動回路と、圧電素子26にその他方側から駆動電圧を印加して充電する第2の駆動回路と、各駆動回路により圧電素子26に充電された電荷を放電する放電回路とを備え、駆動制御手段は第1の駆動回路と第2の駆動回路とを交互に駆動させると共に、第1の駆動回路の駆動期間と第2の駆動回路の駆動期間との間に放電回路を駆動するようにしているので、圧電素子26を+Vpに充電するときも−Vpに充電するときにも充電に必要な電荷を供給するだけでよいことから駆動回路の複雑化等を招くことなく、消費電力を可及的に抑制して電池電源で有効に駆動することができるようになる。
なお、本発明は、上記実施形態のものに限定されるものではなく、種々の変形態様を採用することができる。例えば、図3に示す駆動回路14の場合では、スイッチ素子Q2,Q4と大地との間に所定の抵抗値を有する抵抗素子を接続するようにしたり、図11に示す駆動回路14’の場合では、第5スイッチ回路155及び第6スイッチ回路156を除去する一方、スイッチ素子Q2,Q4と大地との間に所定の抵抗値を有する抵抗素子を接続するようにしたりすることができる。
10 圧電アクチュエータ(駆動装置)
12,12’ 駆動部
14,14’ 駆動回路
22 制御部(駆動制御手段)
24,67 支持部材
26,69 圧電素子(電気機械変換素子)
28,71 駆動部材
30,40 係合部材
141,151 第1スイッチ回路
142,152 第2スイッチ回路
143,153 第3スイッチ回路
144,154 第4スイッチ回路
155 第5スイッチ回路
156 第6スイッチ回路
Q1 スイッチ素子
Q2 スイッチ素子
Q3 スイッチ素子
Q4 スイッチ素子
Q5 スイッチ素子
Q6 スイッチ素子
R1,R2 抵抗素子

Claims (3)

  1. 駆動電圧が印加されることにより伸縮する電気機械変換素子と、該電気機械変換素子により駆動される駆動部材と、該駆動部材に所定の摩擦力で係合され、該駆動部材上を移動する係合部材と、前記電気機械変換素子を駆動する駆動回路と、該駆動回路の動作を制御する駆動制御手段とから構成され、前記電気機械変換素子を異なる速度で伸縮させることで前記電気機械変換素子と前記係合部材とを相対移動させる駆動装置において、
    前記駆動回路は、前記電気機械変換素子の共振周波数に対して0.3倍より大きく1.5倍より小さい駆動周波数をもつ矩形波からなる駆動電圧を前記電気機械変換素子に印加することで、該駆動電圧が、前記駆動部材と係合部材との係合部分に、前記の伸縮時における速度差を生じさせることができる鋸歯状の変位振動を生じさせるものであることを特徴とする駆動装置。
  2. 前記駆動回路は、前記電気機械変換素子にその一方側から駆動電圧を印加して充電する第1の駆動回路と、前記電気機械変換素子にその他方側から駆動電圧を印加して充電する第2の駆動回路と、各駆動回路により電気機械変換素子に充電された電荷を放電する放電回路とを備え、前記駆動制御手段は、前記第1の駆動回路と第2の駆動回路とを交互に駆動させると共に、前記第1の駆動回路の駆動期間と第2の駆動回路の駆動期間との間に前記放電回路を駆動するようにしたことを特徴とする請求項1記載の駆動装置。
  3. 前記第1の駆動回路は、一方端が電源に接続され、他方端が前記電気機械変換素子の一方端に接続されてなる第1のスイッチ手段と、一方端が前記電気機械変換素子の他方端に接続され、他方端が接地されてなる第2のスイッチ手段とで構成されると共に、前記第2の駆動回路は、一方端が前記電源に接続され、他方端が前記電気機械変換素子の他方端に接続されてなる第3のスイッチ手段と、一方端が前記電気機械変換素子の一方端に接続され、他方端が接地されてなる第4のスイッチ手段とで構成され、前記放電回路は、前記第2のスイッチ手段と第4のスイッチ手段とで構成されていることを特徴とする請求項2記載の駆動装置。
JP2009298540A 2009-12-28 2009-12-28 駆動装置 Expired - Lifetime JP4666100B2 (ja)

Priority Applications (1)

Application Number Priority Date Filing Date Title
JP2009298540A JP4666100B2 (ja) 2009-12-28 2009-12-28 駆動装置

Applications Claiming Priority (1)

Application Number Priority Date Filing Date Title
JP2009298540A JP4666100B2 (ja) 2009-12-28 2009-12-28 駆動装置

Related Parent Applications (1)

Application Number Title Priority Date Filing Date
JP2000012249A Division JP4470258B2 (ja) 2000-01-20 2000-01-20 駆動装置

Related Child Applications (1)

Application Number Title Priority Date Filing Date
JP2010085142A Division JP4706792B2 (ja) 2010-04-01 2010-04-01 駆動装置

Publications (2)

Publication Number Publication Date
JP2010104231A JP2010104231A (ja) 2010-05-06
JP4666100B2 true JP4666100B2 (ja) 2011-04-06

Family

ID=42294315

Family Applications (1)

Application Number Title Priority Date Filing Date
JP2009298540A Expired - Lifetime JP4666100B2 (ja) 2009-12-28 2009-12-28 駆動装置

Country Status (1)

Country Link
JP (1) JP4666100B2 (ja)

Families Citing this family (1)

* Cited by examiner, † Cited by third party
Publication number Priority date Publication date Assignee Title
JP2019110382A (ja) * 2017-12-15 2019-07-04 旭化成エレクトロニクス株式会社 駆動回路

Family Cites Families (6)

* Cited by examiner, † Cited by third party
Publication number Priority date Publication date Assignee Title
JP3365248B2 (ja) * 1996-04-15 2003-01-08 日立金属株式会社 圧電トランス及びこれを用いた電力変換装置
JP3539117B2 (ja) * 1997-03-03 2004-07-07 ミノルタ株式会社 電気機械変換素子を使用した駆動装置
JPH10290588A (ja) * 1997-04-14 1998-10-27 Minolta Co Ltd 電気機械変換素子を使用したアクチエ−タ
JP3689783B2 (ja) * 1997-11-21 2005-08-31 コニカミノルタフォトイメージング株式会社 フィードバック周期を一定に維持する方法、並びにそのように制御される駆動制御装置および光学装置
JPH11341840A (ja) * 1998-05-27 1999-12-10 Minolta Co Ltd 電気機械変換素子を用いた駆動装置
JPH11356071A (ja) * 1998-06-09 1999-12-24 Minolta Co Ltd 電気機械変換素子を用いた駆動装置およびその駆動回路

Also Published As

Publication number Publication date
JP2010104231A (ja) 2010-05-06

Similar Documents

Publication Publication Date Title
JP4470258B2 (ja) 駆動装置
JP5077403B2 (ja) 駆動装置
US6512321B2 (en) Driving apparatus and method of using same
US7567012B2 (en) Drive unit
JP4277384B2 (ja) 圧電アクチュエータ
KR100777630B1 (ko) 구동장치
JP5104925B2 (ja) 駆動装置
JP4706792B2 (ja) 駆動装置
US6844658B2 (en) Drive apparatus
JP4804040B2 (ja) インパクト駆動アクチュエータ
JP2005237144A (ja) 圧電アクチュエータ
US7193351B2 (en) Driving device and driving method
JP4666100B2 (ja) 駆動装置
JP3722062B2 (ja) 駆動装置
JP2008197220A (ja) レンズ鏡胴駆動装置
JP2005237145A (ja) 圧電素子の駆動回路
JP4492756B2 (ja) 圧電アクチュエータ
JP3933460B2 (ja) 駆動装置
JP3719197B2 (ja) 駆動装置
JP3722050B2 (ja) 駆動装置
US7608979B2 (en) Driving device and driving system
JP2004254412A (ja) 電気機械変換素子の駆動回路及び駆動方法並びに駆動装置
JP4492738B2 (ja) 圧電アクチュエータ
KR100809754B1 (ko) 구동장치
US7456546B2 (en) Drive unit

Legal Events

Date Code Title Description
A131 Notification of reasons for refusal

Free format text: JAPANESE INTERMEDIATE CODE: A131

Effective date: 20100511

A521 Request for written amendment filed

Free format text: JAPANESE INTERMEDIATE CODE: A523

Effective date: 20100712

TRDD Decision of grant or rejection written
A01 Written decision to grant a patent or to grant a registration (utility model)

Free format text: JAPANESE INTERMEDIATE CODE: A01

Effective date: 20101214

A01 Written decision to grant a patent or to grant a registration (utility model)

Free format text: JAPANESE INTERMEDIATE CODE: A01

A61 First payment of annual fees (during grant procedure)

Free format text: JAPANESE INTERMEDIATE CODE: A61

Effective date: 20101227

FPAY Renewal fee payment (event date is renewal date of database)

Free format text: PAYMENT UNTIL: 20140121

Year of fee payment: 3

R150 Certificate of patent or registration of utility model

Ref document number: 4666100

Country of ref document: JP

Free format text: JAPANESE INTERMEDIATE CODE: R150

Free format text: JAPANESE INTERMEDIATE CODE: R150

S531 Written request for registration of change of domicile

Free format text: JAPANESE INTERMEDIATE CODE: R313531

S533 Written request for registration of change of name

Free format text: JAPANESE INTERMEDIATE CODE: R313533

R350 Written notification of registration of transfer

Free format text: JAPANESE INTERMEDIATE CODE: R350

EXPY Cancellation because of completion of term