JP4656991B2 - 光硬化性転写シート、これを用いた光情報記録媒体の製造方法、及び光情報記録媒体 - Google Patents

光硬化性転写シート、これを用いた光情報記録媒体の製造方法、及び光情報記録媒体 Download PDF

Info

Publication number
JP4656991B2
JP4656991B2 JP2005116496A JP2005116496A JP4656991B2 JP 4656991 B2 JP4656991 B2 JP 4656991B2 JP 2005116496 A JP2005116496 A JP 2005116496A JP 2005116496 A JP2005116496 A JP 2005116496A JP 4656991 B2 JP4656991 B2 JP 4656991B2
Authority
JP
Japan
Prior art keywords
photocurable transfer
transfer sheet
photocurable
meth
recording medium
Prior art date
Legal status (The legal status is an assumption and is not a legal conclusion. Google has not performed a legal analysis and makes no representation as to the accuracy of the status listed.)
Expired - Fee Related
Application number
JP2005116496A
Other languages
English (en)
Other versions
JP2006291115A5 (ja
JP2006291115A (ja
Inventor
隆人 稲宮
秀史 小坪
秀樹 北野
賢治 村山
Current Assignee (The listed assignees may be inaccurate. Google has not performed a legal analysis and makes no representation or warranty as to the accuracy of the list.)
Bridgestone Corp
Original Assignee
Bridgestone Corp
Priority date (The priority date is an assumption and is not a legal conclusion. Google has not performed a legal analysis and makes no representation as to the accuracy of the date listed.)
Filing date
Publication date
Application filed by Bridgestone Corp filed Critical Bridgestone Corp
Priority to JP2005116496A priority Critical patent/JP4656991B2/ja
Publication of JP2006291115A publication Critical patent/JP2006291115A/ja
Publication of JP2006291115A5 publication Critical patent/JP2006291115A5/ja
Application granted granted Critical
Publication of JP4656991B2 publication Critical patent/JP4656991B2/ja
Anticipated expiration legal-status Critical
Expired - Fee Related legal-status Critical Current

Links

Images

Landscapes

  • Coating Of Shaped Articles Made Of Macromolecular Substances (AREA)
  • Compositions Of Macromolecular Compounds (AREA)
  • Optical Record Carriers And Manufacture Thereof (AREA)
  • Manufacturing Optical Record Carriers (AREA)

Description

本発明は、DVD(Digital Versatile Disc)、CD(Compact Disc)等の大容量の文字、音声、動画像等の情報をディジタル信号として記録された及び/又は記録可能な光情報記録媒体、その製造方法及びこれらに有利に使用される光硬化性転写シートに関する。
ディジタル信号として表面にピット形成された記録済み光情報記録媒体として、オーディオ用CD、CD−ROMが広く使用されているが、最近、動画像と記録も可能な両面にピット記録がなされたDVDが、CDの次世代記録媒体として注目され、徐々に使用されるようになってきている。またピット及びグルーブが形成されたユーザが記録可能なCD−R、CD−RW、DVD−R、DVD−RW等も使用されるようになってきている。
両面に記録層を持つDVDには、例えば、それぞれ片面に信号ビットを形成した2枚の透明樹脂基板の該信号ビット形成面にそれぞれ反射層を形成し、これら反射層を互いに対面させた状態で基板を接着剤層を介して貼り合わせ、接合した両面読み出し方式のもの、及び、それぞれ片面に信号ビットを形成した基板において、一方の基板の信号ビット面に半透明反射層を形成すると共に、他方の基板の信号ビット面に反射層を形成し、これら半透明反射層と反射層とを対向させた状態で基板を接着剤層を介して貼り合わせ、接合した片面読み出し方式のものとが知られている。
両面読み出しDVDの製造は、従来、一般に前記信号ピットの凹凸が雄雌反対の凹凸を有するスタンパを用いて、ポリカーボネート樹脂を溶融し、射出成形することにより表面に凹凸を有する透明樹脂基板を作製し、この凹凸表面にアルミニウム等の金属をスパッタリング等により蒸着することによって反射層を形成し、この反射層が形成された透明樹脂基板2枚を反射層を対向させて接着剤で貼り合わせることにより行われていた。
2002年2月10日に次世代光ディスクの統一規格「ブル−レイ・ディスク(Blu-ray Disc)」が提案された。主な仕様は、記録容量:23.3/25/27GB、レーザ波長:405nm(青紫色レーザ)、レンズ開口数(N/A):0.85、ディスク直径:120mm、ディスク厚:1.2mm、トラックピッチ:0.32μm等である。
上記のようにブル−レイ・ディスクでは、溝の幅が狭く、且つピットも小さくなっている。このため読み取りレーザのスポットを小さく絞る必要があるが、スポットを小さくするとディスクの傾きによる影響を大きく受けるようになり、再生しようとするDVDがわずかに曲がっていても再生できなくなる。このような不利を補うため、基板の厚さを薄くし、またレーザ照射側のピット上のカバー層の厚さを0.1mm程度にすることが考えられている。
非特許文献1の68頁に上記要求に合うDVDの製造方法が記載されている。図6を参照しながら説明する。凹凸表面に反射層(又は記録層)6aを有するディスク基板(1.1mm)4aのその反射層上に紫外線硬化樹脂5Aを塗布により設け、凹凸表面に反射層(又は記録層)を有するポリカーボネート製スタンパ4bの上に紫外線硬化樹脂5Bを塗布により設ける。次いで、基板を表裏反転させて、基板とスタンパを貼り付け、スタンパ側から紫外線を照射して紫外線硬化樹脂5A及び5Bを硬化させる。紫外線硬化樹脂5Bの層からスタンパ4bを除去し、その凹凸面に反射層(又は記録層)6bを形成し、その上にカバー層(厚さ0.1mm程度)7を形成する。
上記の方法において、ディスク基板及びスタンパの表面には、塗布により紫外線硬化樹脂が設けられ、さらにその後基板を表裏反転させて、スタンパと貼り付けている。このように塗布及び反転の複雑な工程を行う必要があり、また反転して基板とスタンパを貼り付けする際、粘チョウな紫外線硬化樹脂同士の接触の際に気泡の発生等の不利があり、良好な貼り付けを行うことができないとの問題がある。さらに、上記紫外線硬化樹脂は硬化時に収縮が大きく、得られる媒体の反り等の変形が目立つとの問題もある。
上記問題点が改良可能なDVD等の光情報記録媒体の製造方法が、特許文献1(特開2003−272244号公報)に開示されている。ここには、光重合性官能基を有する反応性ポリマーを含み且つ加圧により変形可能な光硬化性組成物からなる光硬化性転写シートを用いた製造方法が記載されている。即ち、上記紫外線硬化性樹脂の代わりに、固体状の上記光硬化性転写シートを用いて、スタンパに押圧することにより凹凸面を転写して上記問題点が回避できる。
さらに、特許文献2(特開2003−123332号公報)にも、光重合性官能基を有する反応性ポリマーを用いた光ディスク製造用シートが記載されている。アクリル系共重合体にメタクリロイルオキシエチルイソシアナートを反応させた重量平均分子量(Mw)600,000のポリマーを用いた、硬化前の1Hzにおける貯蔵弾性率が103〜106Paであるポリマーシートを、光ディスク製造用シートとして使用している。
特開2003−272244号公報 特開2003−123332号公報 日経エレクトロニクス(NIKKEI ELECTRONICS)、2001.11.5号
しかしながら、上記光硬化性転写シート或いは光ディスク製造用シートは、紫外線照射による硬化時の速度が遅く、照射時間が1秒程度(300mJ/cm2程度)の光エネルギーの量では十分な硬化状態を得ることが困難である。このため、この程度の硬化速度が要求される実際のプロセスにおいては、上記シートは満足できるものではなかった。このように硬化不十分な場合の転写シートは、転写されたピット形状を維持できず、経時的にピット形状が変形するとの問題がある。また後者の光ディスク製造用シートでは、使用されるポリマーのガラス転移温度(Tg)が高く、ピットの転写性が劣るとの問題もある。
さらに、後者の光ディスク製造用シートは、低周波数の1Hzにおける値を規定しているが、本発明者の検討によれば、実際のスタンパのピット形状の転写は、ミクロ的には変形が大きく、かつ高速で行われることから、高周波(100Hz)における貯蔵弾性率を規定する必要があることが明らかとなった。
従って、本発明は、DVD等の厚さが薄く、高容量の光情報記録媒体の製造に有利な光硬化性転写シートであって、ピット等の転写性及び硬化性に優れた光硬化性転写シートを提供することをその目的とする。
また、本発明は、DVD等の厚さが薄く、高容量の薄い光情報記録媒体の製造に有利な光硬化性転写シートであって、ピット等の転写性及び硬化性に優れ、且つ長尺状シートのロールの状態でも、光硬化性転写層の成分のしみ出しが無く、シート厚の変動も起こすことのない光硬化性転写シートを提供することをその目的とする。
さらに、上記光情報記録媒体の製造方法を提供することをその目的とする。
また、上記製造方法により得られる厚さの薄い光情報記録媒体を提供することをその目的とする。
上記目的は、
加圧により変形可能な光硬化性組成物からなる光硬化性転写層を有する光硬化性転写シートであって、
光硬化性組成物が、ガラス転移温度が80℃以上のポリマー、光重合性官能基を有する反応性希釈剤、さらにジイソシアネートを含み、該ガラス転移温度が80℃以上のポリマーが、ヒドロキシル基を有するアクリル樹脂であり、且つ該組成物の周波数100Hzにおける貯蔵弾性率が、25℃において1×106Pa以下であることを特徴とする光硬化性転写シートによって達成される。
尚、上記貯蔵弾性率は、粘弾性測定装置としてレオストレスRS300(HAAKE社製)を用い、φ=8mmのパラレルプレートの治具にて、測定厚さ400μm(転写層を積層して使用)で、測定温度25℃、周波数100Hzにおいて測定したものである。
上記本発明の光硬化性転写シートの好適態様は以下の通りである。
1)周波数100Hzにおける貯蔵弾性率が、25℃において1×104〜1×106Paの範囲である。
2)光硬化性転写層の300mJ/cm2の紫外線照射後のガラス転移温度が65℃以上である。短時間の紫外線照射により、転写での残留応力から発生しやすいピット形状等のダレ発生を防止することが容易で、転写されたピット形状等を保持することができる。
3)光硬化性組成物のガラス転移温度が20℃未満である。優れた転写性を得ることができやすい。
4)ガラス転移温度が80℃以上のポリマーが、アクリル樹脂である。
5)上記アクリル樹脂が、メチルメタクリレートの繰り返し単位を少なくとも50質量%含むアクリル樹脂である。反応性希釈剤との適宜組合せにより、良好な転写性と優れた硬化性の両立が容易となる。
6)上記アクリル樹脂が、重合性官能基を有するアクリル樹脂である。
7)アクリル樹脂が、メチルメタクリレートと、アルコール残基が炭素原子数2〜10個のアルキルの(メタ)アクリル酸エステルの少なくとも1種と、グリシジル(メタ)アクリレートとの共重合体で、且つ該グリシジル基に重合性官能基を有するカルボン酸が反応したものである。反応性希釈剤との適宜組合せにより、良好な転写性と優れた硬化性の両立が容易となる。
8)アクリル樹脂が、メチルメタクリレートと、アルコール残基が炭素原子数2〜10個のアルキルの(メタ)アクリル酸エステルの少なくとも1種と、重合性官能基を有するカルボン酸との共重合体で、且つ該カルボン酸基にグリシジル(メタ)アクリレートが反応したものである。反応性希釈剤との適宜組合せにより、良好な転写性と優れた硬化性の両立が容易となる。
9)アクリル樹脂が、ヒドロキシル基を有するアクリル樹脂である。
10)上記ヒドロキシル基を有するアクリル樹脂が、メチルメタクリレートと、アルコール残基が炭素原子数2〜10個のアルキルの(メタ)アクリル酸エステルの少なくとも1種と、アルコール残基がヒドロキシルキを有する炭素原子数2〜4個のアルキルの(メタ)アクリル酸エステルの少なくとも1種との共重合体である。メチルメタクリレートを50質量%以上有することが特に好ましい。反応性希釈剤との適宜組合せにより、良好な転写性と優れた硬化性の両立が容易となる。
11)さらにポリイソシアネート(ジイソシアネートが好ましい)を含む。後架橋が可能となり、転写前のフィルムの形状保持性が向上する。
12)ガラス転移温度が80℃以上のポリマーの数平均分子量が100000以上、及び/又は重量平均分子量が100000以上である。特に数平均分子量が100000〜300000、重量平均分子量が100000〜300000が好ましい。この分子量、アクリル樹脂の組成、及び反応性希釈剤の割合を、後述するように好適にすることにより優れた転写性と高い硬化速度を得ることができる。
13)ガラス転移温度が80℃以上のポリマーが、ヒドロキシル基を0.1〜10モル%含む。
14)光硬化性組成物が、光重合開始剤を0.1〜10質量%含む。
15)380〜420nmの波長領域の光透過率が70%以上である。
16)380〜800nmの波長領域の光透過率が70%以上である。
17)光硬化性転写層の厚さが5〜300μmである。
18)光硬化性転写層の一方又は両方の表面に、剥離シートが設けられている。
19)光硬化性転写シートが長尺状であり、かつ光硬化性転写層と剥離シートの幅が略同一である。
本発明は、下記の工程(2)〜(4):
(2)上記の光硬化性転写シートが両面に剥離シートを有する場合、その一方の剥離シートを除去する工程;
(3)表面に記録ピット及び/又はグルーブとしての凹凸を有し、さらに該凹凸表面の凹凸に沿って反射層が設けられた基板の該反射層上に、該光硬化性転写シートの光硬化性転写層の表面が該反射層の凹凸表面に接触するように裁置し、これらを押圧して該光硬化性転写シートの表面が該反射層の凹凸表面に沿って密着された積層体を形成する工程;及び
(4)該積層体からもう一方の剥離シートを除去する工程、
を含むことを特徴とする光情報記録媒体の製造方法にもある。
上記本発明の製造方法の好適態様は以下の通りである。
1)前記工程(2)の前に、
(1)光硬化性転写シートを円盤状に打ち抜く工程;又は
(1)光硬化性転写シートの光硬化性転写層と一方の剥離シートを円盤状に打ち抜き、もう一方の剥離シートをそのまま残す工程;
を行う。
2)前記工程(4)を行った後、さらに
(5)該積層体の剥離シートが除去された光硬化性転写層の表面に、記録ピット及び/又はグルーブとしての凹凸を有するスタンパの該凹凸表面を裁置し、これらを押圧して該光硬化性転写シートの表面が該凹凸表面に沿って密着した積層体を形成する工程;
(6)該スタンパを有する積層体の光硬化性転写層を紫外線照射により硬化させ、次いでスタンパを除去することにより、光硬化性転写層の表面に凹凸を設ける工程;
を含む。
3)前記(6)の紫外線照射を少なくとも300mJ/cm2で行う。優れた硬化性を示す。
4)前記(6)で得られる光硬化性転写層のガラス転移温度が65℃以上である。
5)前記(5)〜(6)の工程を行った後、さらに
(7)光硬化性転写層の凹凸表面に反射層を設ける工程;
を含む。
さらに本発明は、上記の製造方法により得られる光情報記録媒体にもある。
即ち、例えば、表面に記録ピット及び/又はグルーブとしての凹凸を有し、さらに該凹凸表面の凹凸に沿って反射層(半透明反射層も含む)が設けられた基板の該反射層上に、該反射層の凹凸表面に接触するように設けられた光硬化性組成物の硬化層を含む光情報記録媒体であって、
光硬化性組成物が、前記光硬化性シートの組成物であることを特徴とする光情報記録媒体。
本発明の光硬化性転写シートは、DVD等の厚さが薄く、高容量の光情報記録媒体の製造に有利な光硬化性転写シートであって、スタンパ或いは基板上の凹凸形状が容易に転写でき、その後の硬化が高速で行うことができ、且つその硬化後の転写形状を良好に維持することができるものである。即ち、本発明の光硬化性転写シートは、主成分として80℃以上のTgを有するポリマーと反応性希釈剤とを組み合わせて得られる周波数100Hzにおける貯蔵弾性率が25℃において1×106Pa以下である光硬化性組成物からなるものであり、これにより上記転写性と優れた硬化性の両立が可能となったものである。従って、本発明の光硬化性転写シートを用いることにより、高速に、精度の高い光情報記録媒体を製造することができる。
また、本発明の光硬化性転写シートは、上記構成を有することから、製造時に使用される長尺状シートのロール形態にしても、光硬化性転写層の成分のしみ出しが無く、シート厚の変動もないものであり、特に作業性に優れた光硬化性転写シートでもある。特に、ジイソシアネートを含んだ場合、後硬化があるため上記効果が得られ易い。
以下に図面を参照して本発明の実施の形態を詳細に説明する。
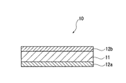
図1は本発明で使用される光硬化性転写シート10の実施形態の一例を示す断面図である。光硬化性転写層11は、両面に剥離シート12a,12bを有する。剥離シートは一方のみでも、無くても良い。使い方により適宜設定される。
光硬化性転写層11は、スタンパの凹凸表面を押圧することにより精確に転写できるように、加圧により変形し易い層であるとともに、硬化性の優れた層である。即ち、光硬化性転写層11は、ガラス転移温度が80℃以上のポリマー及び光重合性官能基を有する反応性希釈剤(重合性モノマー)を含み、且つその周波数100Hzにおける貯蔵弾性率が25℃において1×106Pa以下となるように設計されている。これにより、スタンパ或いは基板上の凹凸形状が容易に転写でき、その後の硬化も高速で行うことができる。また硬化された形状も高いTg有するのでその形状が変わることなく長期に維持され得る。ガラス転移温度が80℃以上のポリマーとしては、重合性官能基を有することが、反応性希釈剤と反応が可能となり硬化の高速化に有利である。またヒドロキシル基を有することにより、転写層11にジイソシアネートを含ませることで、ポリマーを僅かに架橋させることが可能となり、転写層のしみ出し、層厚変動が大きく抑えられた層とするのに特に有利である。ジイソシアネートは、ヒドロキシル基の無いポリマーでもある程度有効である。
上記光硬化性転写シートは、情報の高密度化のため、再生レーザにより読み取りが容易なように380〜420nmの波長領域の光透過率が70%以上であることが好ましい。特に、380〜420nmの波長領域の光透過率が80%以上であることが好ましい。従って、この転写シート用いて作製される本発明の光情報記録媒体は380〜420nmの波長のレーザを用いてピット信号を再生する方法に有利に使用することができる。
上記光硬化性転写シート10を用いて、本発明の光情報記録媒体を、例えば下記の図2に示すように製造することができる。
光硬化性転写シート10は、先ず円盤状に打ち抜かれる。この際、光硬化性転写層11と両面の剥離シート12a,12b全てを打ち抜く場合(一般にフルエッジの場合)と、光硬化性転写層11と一方の剥離シート12bを円盤状に打ち抜き、もう一方の剥離シート12aをそのまま残す場合(一般にドライエッジの場合)があり、適宜選択して行われる(1)。このように予めの打ち抜き作業は、本発明の光硬化性転写シートを用いることにより、転写層のしみ出し、はみ出し無く、作業性良く行うことができる。
次いで、光硬化性転写シート10から剥離シート12aを除去し、剥離シート12b付き光硬化性転写層を用意する(2)。表面に記録ピットとしての凹凸を有する基板21の該凹凸表面の半透明反射層23(一般にAgX等の反射率の比較的低い反射層)上に、剥離シートの無い側を対向させて光硬化性転写シート11を押圧する(3)。これにより光硬化性転写シートの表面が該凹凸表面に沿って密着された積層体(11,23,21からなる)を形成する。この構成で光情報記録媒体として使用する場合は、光硬化性転写シート11を紫外線照射により硬化させ、剥離シート12bを除去する(4)。
次いで、表面に記録ピットとしての凹凸を有するスタンパ24を、積層体から剥離シート12bを除去して未硬化状態の光硬化性転写シート11の表面(基板と接触していない側の表面)に押圧する(5)。光硬化性転写シート11の表面がスタンパ24の凹凸表面に沿って密着した積層体(21,23,11,24からなる)を形成し、そして積層体の光硬化性転写シートを紫外線照射(一般に300mJ/cm2以上)により硬化させた(6)のちスタンパ24を除去することにより、硬化シートの表面に記録ピット等の凹凸を設ける。これにより、基板11、反射層23及び硬化した光硬化性転写シート11から成る積層体(光情報記録媒体)を得る。通常、この凹凸上(硬化シートの表面)に、反射層(一般にAl等の高反射率の反射層)25を設け(7)、さらにその上に有機ポリマーフィルム(カバー層)26を接着剤層を介して貼付する(8)。これにより図3に示す光情報記録媒体を得る。記録ピットを有する硬化シートの表面に、さらに光硬化性転写シートを押圧し、紫外線照射(一般に300mJ/cm2以上)により硬化させても良い。或いは、硬化シートの表面に紫外線硬化性樹脂を塗布、硬化させても良い。半透明反射層は、通常のAl等の反射層でも良い(両面読み出し用)。また半透明反射層23を高反射率反射層、高反射率反射層26を半透明反射層としても良い。さらにスタンパは、凹凸を有する基板であっても良い。
また、(7)の工程で高反射層の代わりに半透明反射層を設け、同様に(2)〜(7)の工程を繰り返すことにより、記録ピットを三層以上形成することもできる。
上記方法においては、再生専用の光情報記録媒体について説明したが、記録可能な光情報記録媒体についても同様に行うことができる。記録可能媒体の場合、グルーブ或いはグルーブ及びピットを有しており、この場合反射層及び半透明反射層の代わりに金属記録層(色素記録層の場合や金属記録層の反射率が低い場合は、記録層及び反射層)が一般に設けられる。それ以外は上記と同様に光情報記録媒体を製造することができる。
本発明では、記録ピット及び/又はグルーブである凹凸形状を、光硬化性転写層11と基板21とを100℃以下の比較的低い温度(好ましくは常温)で押圧する(好ましくは減圧下)ことにより精確に転写されるように光硬化性転写シートが設計されている。基板21と、光硬化性転写層11との重ね合わせは、一般に圧着ロールや簡易プレスで行われる(好ましくは減圧下)。また、光硬化性転写層11の硬化後の層は、基板21の表面の反射層に用いられる金属との接着力が良好で剥離することはない。必要により反射層上に接着促進層を設けても良い。
また本発明では、記録ピット及び/又はグルーブである凹凸形状を、光硬化性転写層11とスタンパ24とを100℃以下の低温(好ましくは常温)で押圧する(好ましくは減圧下)ことにより精確に転写されるように光硬化性転写シートが設計されている。スタンパ21と、光硬化性転写シート11との重ね合わせは、一般に圧着ロールや簡易プレスで行われる(好ましくは減圧下)。また、光硬化性転写層11の硬化後の層は、一般にTgが65℃以上(特に80℃以上)の層であり、スタンパに用いられるニッケルなどの金属との接着力が極めて弱く、光硬化性転写シートをスタンパから容易に剥離することができる。
基板21は、一般に厚板(通常0.3〜1.5mm、特に1.1mm程度)であるので、従来の射出成形法で作製することが一般的である。しかし光硬化性転写シートとスタンパを用いて製造しても良い。本発明の光硬化性転写シートは300μm以下(好ましくは150μm以下)に薄くすることができるので、もう一方の基板を従来法で作製し、基板の厚さを大きくすることができるのでピット形状の転写精度を上げることができる。
上記工程において、光硬化性転写層を基板に押圧する際、或いはスタンパを光硬化性転写層に押圧する際に、減圧下に押圧を行うことが好ましい。これにより、気泡の除去等が円滑に行われる。
上記減圧下の押圧は、例えば、減圧下に2個のロール間に、光硬化性転写シートとスタンパを通過させる方法、あるいは真空成形機を用い、スタンパを型内に裁置し、減圧しながら光硬化性転写シートをスタンパに圧着させる方法を挙げることができる。
また、二重真空室方式の装置を用いて減圧下の押圧を行うことができる。図4を参照しながら説明する。図4には二重真空室方式のラミネータの一例が示されている。ラミネータは下室41、上室42、シリコーンゴムシート43、ヒータ45を備えている。ラミネータ内の下室41に、凹凸を有する基板と光硬化性転写シートとの積層体49、又は基板と光硬化性転写シートとスタンパとの積層体49を置く。上室42及び下室41共に排気する(減圧する)。積層体49をヒータ45で加熱し、その後、下室41を排気したまま上室42を大気圧に戻し、積層体を圧着する。冷却して積層体を取り出し、次工程に移す。これにより排気時に脱泡が十分に行われ、気泡の無い状態で、スタンパ又は基板と光硬化性転写シートとを圧着することができる。
本発明で使用される光硬化性転写シートは、ガラス転移温度が80℃以上のポリマー及び光重合性官能基を有する反応性希釈剤(重合性モノマー、オリゴマー)を含み、且つ貯蔵弾性率が25℃において1×106Pa以下である、加圧により変形可能な光硬化性組成物からなる光硬化性転写層を有するものである。
本発明の光硬化性組成物は、一般に、上記ガラス転移温度(Tg)が80℃以上のポリマー、光重合性官能基(一般に炭素炭素2重結合、好ましくは(メタ)アクリロイル基)を有する反応性希釈剤(モノマー及びオリゴマー)、光重合性開始剤及び、所望により他の添加剤から構成される。
ガラス転移温度が80℃以上のポリマーとしては、アクリル樹脂、ポリ酢酸ビニル、ビニルアセテート/(メタ)アクリレート共重合体、エチレン/酢酸ビニル共重合体、ポリスチレン及びその共重合体、ポリ塩化ビニル及びその共重合体、ブタジエン/アクリロニトリル共重合体、アクリロニトリル/ブタジエン/スチレン共重合体、メタクリレート/アクリロニトリル/ブタジエン/スチレン共重合体、2−クロロブタジエン−1,3−ポリマー、塩素化ゴム、スチレン/ブタジエン/スチレン共重合体、スチレン/イソプレン/スチレンブロック共重合体、エポキシ樹脂、ポリアミド、ポリエステル、ポリウレタン、セルロースエステル、セルロースエーテル、ポリカーボネート、ポリビニルアセタール等を挙げることができる。
本発明では、良好な転写性及び優れた硬化性の点から、アクリル樹脂が好ましい。アクリル樹脂は、前述したように、重合性官能基を有するアクリル樹脂又はヒドロキシル基を有するアクリル樹脂であることが特に好ましい。またアクリル樹脂は、メチルメタクリレートの繰り返し単位を少なくとも50質量%(特に60〜90質量%)含むことが、上記Tg80℃以上のアクリル樹脂を得られやすく、また良好な転写性、高速硬化性も得られやすく好ましい。
上記重合性官能基を有するアクリル樹脂は、一般に重合性官能基を有するアクリル樹脂が、メチルメタクリレートと、アルコール残基が炭素原子数2〜10個のアルキルの(メタ)アクリル酸エステルの少なくとも1種と、グリシジル(メタ)アクリレートとの共重合体で、且つ該グリシジル基に重合性官能基を有するカルボン酸が反応したもの、或いはメチルメタクリレートと、アルコール残基が炭素原子数2〜10個のアルキルの(メタ)アクリル酸エステルの少なくとも1種と、重合性官能基を有するカルボン酸との共重合体で、且つ該カルボン酸基にグリシジル(メタ)アクリレートが反応したものである。
メチルメタクリレートと、アルコール残基が炭素原子数2〜10個のアルキルの(メタ)アクリル酸エステルの少なくとも1種と、グリシジル(メタ)アクリレートとの共重合体である。メチルメタクリレートは、その繰り返し単位として、ポリマー中に50質量%以上(特に60〜90質量%)含まれることが好ましい。反応性希釈剤との適当な組合せにより、良好な転写性と優れた硬化性の両立が容易となる。アルコール残基が炭素原子数2〜10個(特に3〜5個)のアルキルの(メタ)アクリル酸エステルとしては、エチル(メタ)アクリレート、n−プロピル(メタ)アクリレート、イソプロピル(メタ)アクリレート、n−ブチル(メタ)アクリレート、イソブチル(メタ)アクリレート、2−エチルヘキシル(メタ)アクリレート等を挙げることができる。n−ブチル(メタ)アクリレート、イソブチル(メタ)アクリレート、2−エチルヘキシル(メタ)アクリレートが好ましい。またこのような(メタ)アクリル酸エステルは、その繰り返し単位として、ポリマー中に、一般に5〜30質量%、特に10〜30質量%含まれることが好ましい。グリシジル(メタ)アクリレート又は重合性官能基を有するカルボン酸は、その繰り返し単位として、ポリマー中に、一般に5〜25質量%、特に5〜20質量%含まれることが好ましい。得られた共重合体のグリシジル基又はカルボン酸基に、それぞれ重合性官能基を有するカルボン酸又はグリシジル(メタ)アクリレートを反応させる。
上記ヒドロキシル基を有するアクリル樹脂は、一般にメチルメタクリレートと、アルコール残基が炭素原子数2〜10個(特に3〜5個)のアルキルの(メタ)アクリル酸エステルの少なくとも1種と、アルコール残基がヒドロキシルキを有する炭素原子数2〜4個のアルキルの(メタ)アクリル酸エステルの少なくとも1種との共重合体である。メチルメタクリレートは、その繰り返し単位として、ポリマー中に50質量%以上(特に60〜90質量%)含まれることが好ましい。反応性希釈剤との適当な組合せにより、良好な転写性と優れた硬化性の両立が容易となる。アルコール残基が炭素原子数2〜10個(特に3〜5個)のアルキルの(メタ)アクリル酸エステルとしては、エチル(メタ)アクリレート、n−プロピル(メタ)アクリレート、イソプロピル(メタ)アクリレート、n−ブチル(メタ)アクリレート、イソブチル(メタ)アクリレート、2−エチルヘキシル(メタ)アクリレート等を挙げることができる。n−ブチル(メタ)アクリレート、イソブチル(メタ)アクリレート、2−エチルヘキシル(メタ)アクリレートが好ましい。またこのような(メタ)アクリル酸エステルは、その繰り返し単位として、ポリマー中に、一般に5〜30質量%、特に10〜30質量%含まれることが好ましい。アルコール残基がヒドロキシルキを有する炭素原子数2〜4個のアルキルの(メタ)アクリル酸エステルとしては、例えば2−ヒドロキシエチルメタクリレート、ヒドロキシプロピルメタクリレートを挙げることができ、その繰り返し単位として、ポリマー中に、一般に5〜25質量%、特に5〜20質量%含まれることが好ましい。
前記重合性官能基を有するアクリル樹脂は、例えば、以下のように製造することができる。
1種又は複数種の(メタ)アクリルモノマー(好ましくは上述の、メチルメタクリレートと、アルコール残基が炭素原子数2〜10個のアルキルの(メタ)アクリル酸エステルの少なくとも1種と、グリシジル基を1個かつ重合性官能基を1個有する化合物(好ましくはグリシジル(メタ)アクリレート)或いは重合性官能基を有するカルボン酸とを、ラジカル重合開始剤と有機溶剤の存在下で溶液重合法などの公知の方法にて反応させて共重合体であるグリシジル基含有アクリル樹脂(a)又はカルボキシル基含有アクリル樹脂(b)を得る。(メタ)アクリルモノマー等のモノマー類の配合割合はグリシジル基含有アクリル樹脂(a)又はカルボキシル基含有アクリル樹脂(b)の固形分換算合計量に対して10〜45質量%とすることが好ましい。
次いで得られたグリシジル基含有アクリル樹脂(a)に重合性官能基を有するカルボン酸を加え、或いは得られたカルボキシル基含有アクリル樹脂(b)にグリシジル基を1個かつ重合性官能基を1個有する化合物(好ましくはグリシジルメタクリレート)を加え、必要に応じ加熱することによりアクリル系光硬化型樹脂(A)又はアクリル系光硬化型樹脂(B)を得る。この配合比は、グリシジル基とカルボキシル基のモル比が1/0.9〜1/1となるように配合するのが好ましく、より好ましくは1/1である。グリシジル基過剰では長期安定性において増粘、ゲル化のおそれがあり、カルボキシル基過剰では皮膚刺激性が上がり作業性が低下する。さらに1/1の場合は残存グリシジル基がなくなり、貯蔵安定性が顕著に良好になる。反応は塩基性触媒、リン系触媒などの存在下で公知の方法にて行うことができる。
上記OH又は重合性官能基を有するアクリル樹脂を含み、本発明で用いることができるアクリル樹脂を構成する主成分として使用することができる(メタ)アクリル系モノマーとしては、アクリル酸又はメタクリル酸の各種エステルを挙げることができる。アクリル酸又はメタクリル酸の各種エステルの例として、メチル(メタ)アクリレート((メタ)アクリレートとはアクリレート及びメタクリレートを示す。以下同様)、エチル(メタ)アクリレート、n−プロピル(メタ)アクリレート、n−ブチル(メタ)アクリレート、イソブチル(メタ)アクリレート、t−ブチル(メタ)アクリレート、2−エチルヘキシル(メタ)アクリレート、ステアリル(メタ)アクリレート、ラウリル(メタ)アクリレート、トリデシル(メタ)アクリレート等のアルキル(メタ)アクリレート、エトキシエチル(メタ)アクリレート、ブトキシエチル(メタ)アクリレート等のアルコキシアルキル(メタ)アクリレート、2−メトキシエトキシエチル(メタ)アクリレート、2−エトキシエトキシエチル(メタ)アクリレート等のアルコキシアルコキシアルキル(メタ)アクリレート、メトキシジエチレングリコール(メタ)アクリレート、エトキシジエチレングリコール(メタ)アクリレート、メトキシトリエチレングリコール(メタ)アクリレート、ブトキシトリエチレングリコール(メタ)アクリレート、メトキシジプロピレングリコール(メタ)アクリレート等のアルコキシ(ポリ)アルキレングリコール(メタ)アクリレート、ピレノキシド付加物(メタ)アクリレート、N,N−ジメチルアミノエチル(メタ)アクリレート、N,N−ジエチルアミノエチル(メタ)アクリレート等のジアルキルアミノアルキル(メタ)アクリレート等を挙げることができる。さらに不飽和基を含有する芳香族化合物(例、スチレン)も使用しても良い。
本発明では、前述のように、アクリル系モノマーの主成分としては、メチルメタクリレートと、アルコール残基が炭素原子数2〜10個のアルキルの(メタ)アクリル酸エステルの少なくとも1種を使用することが好ましい。
前記分子内にグリシジル基を1個かつ重合性官能基を1個有する化合物(好ましくはグリシジル(メタ)アクリレート)としては、下記の一般式で表される化合物が一般に使用される。
Figure 0004656991
(式中、R1はH又はCH3、R2は−CH2−又は−CH2−O−を表し、nは1〜5の整数を表わす。)
また、本発明で用いられる重合性官能基を有するカルボン酸としては、アクリル酸、メタクリル酸、ω−カルボキシ−ポリカプロラクトン(n≒2)モノアクリレート(東亞合成(株)製:アロニックスM−5300)、フタル酸モノヒドロキシエチルアクリレート(東亞合成(株)製:アロニックスM−5400)、アクリル酸ダイマー(東亞合成(株)製:アロニックスM−5600)等を挙げることができる。
前記ヒドロキシル基を有するアクリル樹脂についても、基本的には、上記重合性官能基を有するアクリル樹脂の重合性官能基を付与する前のラジカル重合と同様にして行うことができる。その際、前述のアクリル系モノマーに加えてヒドロキシル基を有するアクリル系モノマー(好ましくはアルコール残基がヒドロキシル基を有する炭素原子数2〜4個のアルキルの(メタ)アクリル酸エステル)が使用され、一緒に重合される。本発明では、メチルメタクリレートと、アルコール残基が炭素原子数2〜10個(特に3〜5個)のアルキルの(メタ)アクリル酸エステルの少なくとも1種と、アルコール残基がヒドロキシル基を有する炭素原子数2〜4個のアルキルの(メタ)アクリル酸エステルの少なくとも1種との共重合体であることが好ましい。ヒドロキシル基を有するアクリル樹脂は、ヒドロキシル基を0.1〜10モル%、特に0.5〜5モル%含んでいることが好ましい。ジイソシアネートを併用することにより、転写層のしみ出しを防止する程度の適当な架橋が得られる易い。
本発明のガラス転移温度が80℃以上のポリマーは、数平均分子量が100000以上、特に100000〜300000、そして重量平均分子量が100000で以上、特に100000〜300000であることが好ましい。
さらに本発明では、ガラス転移温度が80℃以上のポリマーとして、ヒドロキシル基等の活性水素を有する官能基及び光重合性官能基の両方を有するポリマーも使用することができる。このような反応性ポリマーとしては、例えば、主として前記アクリル系モノマーから得られる単独重合体又は共重合体(即ちアクリル樹脂)で、且つ、主鎖又は側鎖に光重合性官能基及び活性水素を有する官能基を有するものである。従って、このような反応性ポリマーは、例えば、メチルメタクリレートと、前記1種以上の(メタ)アクリレートと、ヒドロキシル基等の官能基を有する(メタ)アクリレート(例、2−ヒドロキシエチル(メタ)アクリレート)とを共重合させ、得られた重合体とイソシアナトアルキル(メタ)アクリレートなどの、重合体の官能基と反応し且つ光重合性基を有する化合物と反応させることにより得ることができる。その際、ヒドロキシル基が残るようにイソシアナトアルキル(メタ)アクリレートの量を調節して使用することにより、活性水素を有する官能基としてヒドロキシル基及び光重合性官能基を有するポリマーが得られる。
或いは上記において、ヒドロキシル基の代わりにアミノ基を有する(メタ)アクリレート(例、2−アミノエチル(メタ)アクリレート)を用いることにより活性水素を有する官能基としてアミノ基を有する、光重合性官能基含有ポリマーを得ることができる。同様に、活性水素を有する官能基としてカルボキシル基等を有する、光重合性官能基含有ポリマーも得ることができる。
本発明では、前記光重合性官能基をウレタン結合を介して有するアクリル樹脂も好ましい。
上記光重合性官能基及び活性水素を有する官能基を有するポリマーは、光重合性官能基を一般に1〜50モル%、特に5〜30モル%含むことが好ましい。この光重合性官能基としては、アクリロイル基、メタクリロイル基、ビニル基が好ましく、特にアクリロイル基、メタクリロイル基が好ましい。
本発明の光硬化性組成物中に添加され得るジイソシアネートとしては、トリレンジイソシアネート(TDI)、イソホロンジイソシアネート、キシリレンジイソシアネート、ジフェニルメタン−4,4−ジイソシアネート、ジシクロペンタニルジイソシアネート、ヘキサメチレンジイソシアネート、2,4,4’−トリメチルヘキサメチレンジイソシアネート、2,2’,4−トリメチルヘキサメチレンジイソシアネートを挙げることができる。またトリメチロールプロパンのTDI付加体等の3官能以上のイソシアネート化合物等のポリイソシアネートシアネートも使用することができる。これらの中でトリメチロールプロパンのヘキサメチレンジイソシアネート付加体が好ましい。
本発明のジイソシアネートは、光硬化性組成物中に0.2〜4質量%、特に0.2〜2質量%の範囲で含まれていることが好ましい。転写層のしみ出しを防止するために適当な架橋がもたらされると共に、基板やスタンパの凹凸の良好な転写性も維持される。上記化合物とポリマーとの反応は、転写層形成後、徐々に進行し、常温(一般に25℃)、24時間でかなり反応している。転写層形成用の塗布液を調製した後、塗布するまでの間にも反応は進行するものと考えられる。転写層を形成後、ロール状態で巻き取る前にある程度硬化させることが好ましいので、必要に応じて、転写層を形成時、或いはその後、ロール状態で巻き取る前の間に加熱して反応を促進させても良い。
本発明の光硬化性組成物は、一般に、以上に示したガラス転移温度が80℃以上のポリマー、光重合性官能基(好ましくは(メタ)アクリロイル基)を有する反応性希釈剤(モノマー及びオリゴマー)、光重合性開始剤及び、所望により他の添加剤から構成される。
本発明の光硬化性転写層の周波数100Hzにおける貯蔵弾性率は、25℃において1×106Pa以下であり、特に1×104〜1×106Paの範囲であることが好ましい。実際のスタンパのピット形状の転写においては、ミクロ的には変形が大きく、かつ高速で行われることから、高周波(100Hz)における貯蔵弾性率が上記範囲にあることが必要である。これにより、精確で迅速な転写が可能となる。さらに、本発明の光硬化性転写層は、ガラス転移温度を20℃以下であることが好ましい。これにより、得られる光硬化性転写層がスタンパの凹凸面に圧着されたとき、常温においてもその凹凸面に緊密に追随できる可撓性を有することができる。特に、ガラス転移温度が15℃〜−50℃、特に15℃〜−10℃の範囲にすることにより追随性がたものとなる。ガラス転移温度が高すぎると、貼り付け時に高圧力及び高圧力が必要となり作業性の低下につながり、また低すぎると、硬化後の十分な高度が得られなくなる。
また上記光硬化性組成物からなる光硬化性転写層は、300mJ/cm2の紫外線照射後のガラス転移温度が65℃以上となるように設計されていることが好ましい。短時間の紫外線照射により、転写での残留応力から発生しやすいピット形状等のダレ発生を防止することが容易で、転写されたピット形状等を保持することができる。本発明の光硬化性組成物からなる光硬化性転写層は、主として、上記好ましいポリマー、以下の反応性希釈剤を使用することにより有利に得ることができる。
本発明の光硬化性組成物の構成要件である光重合性官能基を有する反応性希釈剤としては、例えば、2−ヒドロキシエチル(メタ)アクリレート、2−ヒドロキシプロピル(メタ)アクリレート、4−ヒドロキシブチル(メタ)アクリレート、2−エチルヘキシルポリエトキシ(メタ)アクリレート、ベンジル(メタ)アクリレート、イソボルニル(メタ)アクリレート、フェニルオキシエチル(メタ)アクリレート、トリシクロデカンモノ(メタ)アクリレート、ジシクロペンテニルオキシエチル(メタ)アクリレート、テトラヒドロフルフリル(メタ)アクリレート、アクリロイルモルホリン、N−ビニルカプロラクタム、2−ヒドロキシ−3−フェニルオキシプロピル(メタ)アクリレート、o−フェニルフェニルオキシエチル(メタ)アクリレート、ネオペンチルグリコールジ(メタ)アクリレート、ネオペンチルグリコールジプロポキシジ(メタ)アクリレート、ヒドロキシピバリン酸ネオペンチルグリコールジ(メタ)アクリレート、トリシクロデカンジメチロールジ(メタ)アクリレート、1,6−ヘキサンジオールジ(メタ)アクリレート、ノナンジオールジ(メタ)アクリレート、トリメチロールプロパントリ(メタ)アクリレート、ペンタエリスリトールトリ(メタ)アクリレート、ペンタエリスリトールテトラ(メタ)アクリレート、トリス〔(メタ)アクリロキシエチル〕イソシアヌレート、ジトリメチロールプロパンテトラ(メタ)アクリレート等の(メタ)アクリレートモノマー類、ポリオール化合物(例えば、エチレングリコール、プロピレングリコール、ネオペンチルグリコール、1,6−ヘキサンジオール、3−メチル−1,5−ペンタンジオール、1,9−ノナンジオール、2−エチル−2−ブチル−1,3−プロパンジオール、トリメチロールプロパン、ジエチレングリコール、ジプロピレングリコール、ポリプロピレングリコール、1,4−ジメチロールシクロヘキサン、ビスフェノールAポリエトキシジオール、ポリテトラメチレングリコール等のポリオール類、前記ポリオール類とコハク酸、マレイン酸、イタコン酸、アジピン酸、水添ダイマー酸、フタル酸、イソフタル酸、テレフタル酸等の多塩基酸又はこれらの酸無水物類との反応物であるポリエステルポリオール類、前記ポリオール類とε−カプロラクトンとの反応物であるポリカプロラクトンポリオール類、前記ポリオール類と前記、多塩基酸又はこれらの酸無水物類のε−カプロラクトンとの反応物、ポリカーボネートポリオール、ポリマーポリオール等)と有機ポリイソシアネート(例えば、トリレンジイソシアネート、イソホロンジイソシアネート、キシリレンジイソシアネート、ジフェニルメタン−4,4'−ジイソシアネート、ジシクロペンタニルジイソシアネート、ヘキサメチレンジイソシアネート、2,4,4'−トリメチルヘキサメチレンジイソシアネート、2,2',4−トリメチルヘキサメチレンジイソシアネート等)と水酸基含有(メタ)アクリレート(例えば、2−ヒドロキシエチル(メタ)アクリレート、2−ヒドロキシプロピル(メタ)アクリレート、4−ヒドロキシブチル(メタ)アクリレート、2−ヒドロキシ−3−フェニルオキシプロピル(メタ)アクリレート、シクロヘキサン−1,4−ジメチロールモノ(メタ)アクリレート、ペンタエリスリトールトリ(メタ)アクリレート、グリセリンジ(メタ)アクリレート等)の反応物であるポリウレタン(メタ)アクリレート、ビスフェノールA型エポキシ樹脂、ビスフェノールF型エポキシ樹脂等のビスフェノール型エポキシ樹脂と(メタ)アクリル酸の反応物であるビスフェノール型エポキシ(メタ)アクリレート等の(メタ)アクリレートオリゴマー類等を挙げることができる。これら光重合可能な官能基を有する化合物は1種又は2種以上、混合して使用することができる。
これらのなかで、分子量が1000以下、更に500以下、特に200〜400を有する化合物が好ましい。また二官能性の化合物が好ましい。好ましい化合物として、トリシクロデカンジメチロールジ(メタ)アクリレート、1,6−ヘキサンジオールジ(メタ)アクリレート、ノナンジオールジ(メタ)アクリレート、1,4−ブタンジオール等を挙げることができる(本発明では、特にアクリレート類が好ましい)。この可塑化反応性希釈剤の量は光硬化性組成物の総量に対して不揮発分で20〜80質量%、特に30〜70質量%、とりわけ40〜60質量%含むことが好ましい。またポリマーと反応性希釈剤との質量比が、100:40〜160が一般的で、100:60〜140、特に100:80〜120であることが好ましい。このように設定することにより、500mJの紫外線照射後のガラス転移温度を65℃以上とすることが容易となる。
光重合開始剤としては、公知のどのような光重合開始剤でも使用することができるが、配合後の貯蔵安定性の良いものが望ましい。このような光重合開始剤としては、例えば、アセトフェノン系、ベンジルジメチルケタールなどのベンゾイン系、ベンゾフェノン系、イソプロピルチオキサントン、2−4−ジエチルチオキサントンなどのチオキサントン系、その他特殊なものとしては、メチルフェニルグリオキシレートなどが使用できる。特に好ましくは、2−ヒドロキシ−2−メチル−1−フェニルプロパン−1−オン、1−ヒドロキシシクロヘキシルフェニルケトン、2−メチル−1−(4−(メチルチオ)フェニル)−2−モルホリノプロパン−1、ベンゾフェノン等が挙げられる。これら光重合開始剤は、必要に応じて、4−ジメチルアミノ安息香酸のごとき安息香酸系又は、第3級アミン系などの公知慣用の光重合促進剤の1種または2種以上を任意の割合で混合して使用することができる。また、光重合開始剤のみの1種または2種以上の混合で使用することができる。光硬化性組成物中に、光重合開始剤を一般に0.1〜20質量%、特に1〜10質量%含むことが好ましい。
光重合開始剤のうち、アセトフェノン系重合開始剤としては、例えば、4−フェノキシジクロロアセトフェノン、4−t−ブチル−ジクロロアセトフェノン、4−t−ブチル−トリクロロアセトフェノン、ジエトキシアセトフェノン、2−ヒドロキシ−2−メチル−1−フェニルプロパン−1−オン、1−(4−イソプロピルフェニル)−2−ヒドロキシ−2−メチルプロパン−1−オン、1−(4−ドデシルフェニル)−2−ヒドロキシ−2−メチルプロパン−1−オン、4−(2−ヒドロキシエトキシ)−フェニル(2−ヒドロキシ−2−プロピル)ケトン、1−ヒドロキシシクロヘキシルフェニルケトン、2−メチル−1−(4−(メチルチオ)フェニル)−2−モルホリノプロパン−1など、ベンゾフェノン系重合開始剤としては、ベンゾフェノン、ベンゾイル安息香酸、ベンゾイル安息香酸メチル、4−フェニルベンゾフェノン、ヒドロキシベンゾフェノン、4−ベンッゾイル−4’−メチルジフェニルサルファイド、3,3’−ジメチル−4−メトキシベンゾフェノンなどが使用できる。
アセトフェノン系重合開始剤としては、特に、2−ヒドロキシ−2−メチル−1−フェニルプロパン−1−オン、1−ヒドロキシシクロヘキシルフェニルケトン、2−メチル−1−(4−(メチルチオ)フェニル)−2−モルホリノプロパン−1が好ましい。ベンゾフェノン系重合開始剤としては、ベンゾフェノン、ベンゾイル安息香酸、ベンゾイル安息香酸メチルが好ましい。また、第3級アミン系の光重合促進剤としては、トリエタノールアミン、メチルジエタノールアミン、トリイソプロパノールアミン、4,4’−ジメチルアミノベンゾフェノン、4,4’−ジエチルアミノベンゾフェノン、2−ジメチルアミノ安息香酸エチル、4−ジメチルアミノ安息香酸エチル、4−ジメチルアミノ安息香酸(n−ブトキシ)エチル、4−ジメチルアミノ安息香酸イソアミル、4−ジメチルアミノ安息香酸2−エチルヘキシルなどが使用できる。特に好ましくは、光重合促進剤としては、4−ジメチルアミノ安息香酸エチル、4−ジメチルアミノ安息香酸(n−ブトキシ)エチル、4−ジメチルアミノ安息香酸イソアミル、4−ジメチルアミノ安息香酸2−エチルヘキシルなどが挙げられる。
本発明の光硬化性転写層は、周波数100Hzにおける貯蔵弾性率(25℃)が1×106Pa以下であって、透過率70%以上を満たすように光硬化性組成物を設計することが好ましい。このため、上記光重合性官能基を有する反応性希釈剤及び光重合開始剤に加えて、所望により下記の熱可塑性樹脂及び他の添加剤を添加することが好ましい。
他の添加剤として、シランカップリング剤(接着促進剤)を添加することができる。このシランカップリング剤としてはビニルトリエトキシシラン、ビニルトリス(β−メトキシエトキシ)シラン、γ−メタクリロキシプロピルトリメトキシシラン、ビニルトリアセトキシシラン、γ−グリシドキシプロピルトリメトキシシラン、γ−グリシドキシプロピルトリエトキシシラン、β−(3,4−エポキシシクロヘキシル)エチルトリメトキシシラン、γ−クロロプロピルメトキシシラン、ビニルトリクロロシラン、γ−メルカプトプロピルトリメトキシシラン、γ−アミノプロピルトリエトキシシラン、N−β(アミノエチル)−γ−アミノプロピルトリメトキシシランなどがあり、これらの1種を単独で又は2種以上を混合して用いることができる。これらシランカップリング剤の添加量は、上記反応性ポリマー100質量部に対し通常0.01〜5質量部で十分である。
また同様に接着性を向上させる目的でエポキシ基含有化合物を添加することができる。エポキシ基含有化合物としては、トリグリシジルトリス(2−ヒドロキシエチル)イソシアヌレート;ネオペンチルグリコールジグリシジルエーテル;1,6−ヘキサンジオールジグリシジルエーテル;アクリルグリシジルエーテル;2−エチルヘキシルグリシジルエーテル;フェニルグリシジルエーテル;フェノールグリシジルエーテル;p−t−ブチルフェニルグリシジルエーテル;アジピン酸ジグリシジルエステル;o−フタル酸ジグリシジルエステル;グリシジルメタクリレート;ブチルグリシジルエーテル等が挙げられる。また、エポキシ基を含有した分子量が数百から数千のオリゴマーや重量平均分子量が数千から数十万のポリマーを添加することによっても同様の効果が得られる。これらエポキシ基含有化合物の添加量は上記反応性ポリマー100質量部に対し0.1〜20質量部で十分で、上記エポキシ基含有化合物の少なくとも1種を単独で又は混合して添加することができる。
さらに他の添加剤として、加工性や貼り合わせ等の加工性向上の目的で炭化水素樹脂を添加することができる。この場合、添加される炭化水素樹脂は天然樹脂系、合成樹脂系のいずれでも差支えない。天然樹脂系ではロジン、ロジン誘導体、テルペン系樹脂が好適に用いられる。ロジンではガム系樹脂、トール油系樹脂、ウッド系樹脂を用いることができる。ロジン誘導体としてはロジンをそれぞれ水素化、不均一化、重合、エステル化、金属塩化したものを用いることができる。テルペン系樹脂ではα−ピネン、β−ピネンなどのテルペン系樹脂のほか、テルペンフェノール樹脂を用いることができる。また、その他の天然樹脂としてダンマル、コーバル、シェラックを用いても差支えない。一方、合成樹脂系では石油系樹脂、フェノール系樹脂、キシレン系樹脂が好適に用いられる。石油系樹脂では脂肪族系石油樹脂、芳香族系石油樹脂、脂環族系石油樹脂、共重合系石油樹脂、水素化石油樹脂、純モノマー系石油樹脂、クマロンインデン樹脂を用いることができる。フェノール系樹脂ではアルキルフェノール樹脂、変性フェノール樹脂を用いることができる。キシレン系樹脂ではキシレン樹脂、変性キシレン樹脂を用いることができる。
上記炭化水素樹脂等のポリマーの添加量は適宜選択されるが、上記本発明のポリマー100質量部に対して1〜20質量部が好ましく、より好ましくは5〜15質量部である。
以上の添加剤の他、本発明の光硬化性組成物は紫外線吸収剤、老化防止剤、染料、加工助剤等を少量含んでいてもよい。また、場合によってはシリカゲル、炭酸カルシウム、シリコーン共重合体の微粒子等の添加剤を少量含んでもよい。
本発明の光硬化性組成物からなる光硬化性転写シートは、Tg80℃以上のポリマー、光重合性官能基を有する反応性希釈剤(モノマー及びオリゴマー)、所望によりジイソシアネートシアネート及び、所望により他の添加剤とを均一に混合し、押出機、ロール等で混練した後、カレンダー、ロール、Tダイ押出、インフレーション等の製膜法により所定の形状に製膜して用いることができる。支持体を用いる場合は、支持体上に製膜する必要がある。より好ましい本発明の光硬化性接着剤の製膜方法は、各構成成分を良溶媒に均一に混合溶解し、この溶液をシリコーンやフッ素樹脂を精密にコートしたセパレーターにフローコート法、ロールコート法、グラビアロール法、マイヤバー法、リップダイコート法等により支持体上に塗工し、溶媒を乾燥することにより製膜する方法である。
また、光硬化性転写シートの厚さは1〜1200μm、特に5〜500μmとすることが好ましい。特に5〜300μm(好ましくは150μm以下)が好ましい。1μmより薄いと封止性が劣り、透明樹脂基板の凸凹を埋め切れない場合が生じる。一方、1000μmより厚いと記録媒体の厚みが増し、記録媒体の収納、アッセンブリー等に問題が生じるおそれがあり、更に光線透過に影響を与えるおそれもある。
上記光硬化性転写シートの両側には剥離シートが貼り付けられていることが好ましい。
剥離シートの材料としては、ガラス転移温度が50℃以上の透明の有機樹脂が好ましく、このような材料としては、ポリエチレンテレフタレート、ポリシクロヘキシレンテレフタレート、ポリエチレンナフタレート等のポリエステル系樹脂、ナイロン46、変性ナイロン6T、ナイロンMXD6、ポリフタルアミド等のポリアミド系樹脂、ポリフェニレンスルフィド、ポリチオエーテルサルフォン等のケトン系樹脂、ポリサルフォン、ポリエーテルサルフォン等のサルフォン系樹脂の他に、ポリエーテルニトリル、ポリアリレート、ポリエーテルイミド、ポリアミドイミド、ポリカーボネート、ポリメチルメタクリレート、トリアセチルセルロース、ポリスチレン、ポリビニルクロライド等の有機樹脂を主成分とする透明樹脂基板を用いることができる。これら中で、ポリカーボネート、ポリメチルメタアクリレート、ポリビニルクロライド、ポリスチレン、ポリエチレンテレフタレートが好適に用いることができる。厚さは10〜200μmが好ましく、特に30〜100μmが好ましい。
表面に凹凸を有する基板21の材料としてはとしては、ガラス転移温度が50℃以上の透明の有機樹脂が好ましく、このような支持体としては、ポリエチレンテレフタレート、ポリシクロヘキシレンテレフタレート、ポリエチレンナフタレート等のポリエステル系樹脂、ナイロン46、変性ナイロン6T、ナイロンMXD6、ポリフタルアミド等のポリアミド系樹脂、ポリフェニレンスルフィド、ポリチオエーテルサルフォン等のケトン系樹脂、ポリサルフォン、ポリエーテルサルフォン等のサルフォン系樹脂の他に、ポリエーテルニトリル、ポリアリレート、ポリエーテルイミド、ポリアミドイミド、ポリカーボネート、ポリメチルメタクリレート、トリアセチルセルロース、ポリスチレン、ポリビニルクロライド等の有機樹脂を主成分とする透明樹脂基板を用いることができる。これら中で、ポリカーボネート、ポリメチルメタアクリレート、ポリビニルクロライド、ポリスチレン、ポリエチレンテレフタレートが転写性、複屈折の点で優れており、好適に用いることができる。厚さは200〜2000μmが好ましく、特に500〜1500μmが好ましい。
有機ポリマーフィルムの材料26としては、ガラス転移温度が50℃以上の透明の有機樹脂が好ましく、このような支持体としては、ポリエチレンテレフタレート、ポリシクロヘキシレンテレフタレート、ポリエチレンナフタレート等のポリエステル系樹脂、ナイロン46、変性ナイロン6T、ナイロンMXD6、ポリフタルアミド等のポリアミド系樹脂、ポリフェニレンスルフィド、ポリチオエーテルサルフォン等のケトン系樹脂、ポリサルフォン、ポリエーテルサルフォン等のサルフォン系樹脂の他に、ポリエーテルニトリル、ポリアリレート、ポリエーテルイミド、ポリアミドイミド、ポリカーボネート、ポリメチルメタクリレート、トリアセチルセルロース、ポリスチレン、ポリビニルクロライド等の有機樹脂を主成分とする透明樹脂基板を用いることができる。これら中で、ポリカーボネート、ポリメチルメタアクリレート、ポリビニルクロライド、ポリスチレン、ポリエチレンテレフタレートが転写性、複屈折の点で優れており、好適に用いることができる。厚さは10〜200μmが好ましく、特に50〜100μmが好ましい。
こうして得られる本発明に光硬化性転写シートは、ガラス転移温度(Tg)が80℃以上のポリマーを含む特定の貯蔵弾性率を有する光硬化性組成物からなるものであるが、さらに光硬化性転写層の380〜420nmの波長領域の光透過率が70%以上であることが好ましい。
光硬化性転写シートは380〜420nm(好ましくは380〜800nm)の波長領域の光透過率が70%以上であり、これはレーザによる読み取り信号の強度低下を防止するためである。さらに380〜420nmの波長領域の光透過率が80%以上であることが好ましい。
本発明に光硬化性転写シートは、膜厚精度を精密に制御したフィルム状で提供することができるため、基板及びスタンパとの貼り合わせを容易にかつ精度良くおこなうことが可能である。また、この貼り合わせは、圧着ロールや簡易プレスなどの簡便な方法で20〜100℃で仮圧着した後、光により常温、1〜数十秒で硬化できる上、本接着剤特有の自着力によりその積層体にズレや剥離が起き難いため、光硬化まで自由にハンドリングができるという特徴を有している。
本発明の光硬化性転写シートを硬化する場合は、光源として紫外〜可視領域に発光する多くのものが採用でき、例えば超高圧、高圧、低圧水銀灯、ケミカルランプ、キセノンランプ、ハロゲンランプ、マーキュリーハロゲンランプ、カーボンアーク灯、白熱灯、レーザ光等が挙げられる。照射時間は、ランプの種類、光源の強さによって一概には決められないが、0.1秒〜数十秒程度、好ましくは0.5〜数秒である。紫外線照射量は、300mJ/cm2以上が好ましい。
また、硬化促進のために、予め積層体を30〜80℃に加温し、これに紫外線を照射してもよい。
得られた本発明の基板の凹凸表面の反射層は、基板に反射層を金属蒸着(例えばスパッタリング、真空蒸着、イオンプレーティング等)することにより形成する。金属としては、アルミニウム、金、銀、これらの合金等を挙げることができる。硬化シート上の半透明反射層は、金属として銀等を用いて形成される。即ち、上記反射層より低い反射率の反射層にする必要があり、成分、膜厚等が変更される。
硬化シートの反射層上に有機ポリマーフィルムを貼り付ける場合、一方に接着剤を塗布し、その上に他方を重ね、硬化させる。接着剤がUV硬化性樹脂の場合はUV照射により、ホットメルト接着剤の場合は、加熱下に塗布し、冷却することにより得られる。
本発明の光情報記録媒体の製造は、通常、上記のように円盤状で処理されるが、シート状で連続的に作成し、最後に円盤状にしてもよい。
以下に実施例を示し、本発明についてさらに詳述する。
[実施例1]
<光硬化性転写シートの作製>
(ヒドロキシル基を有するポリマー1の作製)
ポリマー配合1
メチルメタクリレート 74質量部
n−ブチルメタクリレート 13質量部
2−ヒドロキシエチルメタクリレート 13質量部
AIBN 1.2質量部
トルエン 70質量部
酢酸エチル 30質量部
上記の配合の混合物を、穏やかに撹拌しながら、70℃に加熱して重合を開始させ、この温度で8時間撹拌し、側鎖にヒドロキシル基を有するヒドロキシル基を有するポリマー1(アクリル樹脂)を得た。固形分を36質量%に調製した(ポリマー溶液1)。
得られたポリマー1は、Tgが100℃であり、重量平均分子量が110000であった。
組成物配合1
ヒドロキシル基を有するポリマー溶液1 100質量部
ヘキサンジオールジアクリレート(KS−HDDA) 110質量部
ジイソシアネート(BXX5627、東洋インキ製造(株)製) 1質量部
イルガキュア651(チバガイギー(株)製) 1質量部
ヒドロキノンモノメチルエーテル(MEHQ) 0.05質量部
上記配合の混合物を均一に溶解、混練し、剥離シート(幅140mm、長さ300m、厚さ75μm;商品名No.23、藤森工業(株)製)上に、全面塗布し、乾燥厚さ25μmの光硬化性転写層を形成し、シートの反対側に上記と同一の剥離シートを貼付し、ロール状に巻き上げ、光硬化性転写シートのフルエッジタイプのロール(直径260mm)を得た。光硬化性転写層の貯蔵弾性率は2.0×105Pa(100Hz)であり、Tgは、0℃であった。
[比較例1]
実施例1において、ヒドロキシル基を有するポリマー1の作製において、ポリマー配合1のAIBNを5質量部用いて、低分子量のヒドロキシル基を有するポリマー2を得、溶液濃度50質量%に濃縮した。得られたポリマー2は、Tgが100℃であり、重量平均分子量が30000であった。
そして組成物配合1において、ヘキサンジオールジアクリレートを110質量部から60質量部に変更し以外は同様にして光硬化性転写シートのロールを得た。
光硬化性転写層の貯蔵弾性率は2.0×108Pa(100Hz)であり、Tgは、0℃であった。
[比較例2]
実施例1において、ヒドロキシル基を有するポリマー1の作製において、ポリマー配合1のAIBNを7質量部用いて、低分子量のヒドロキシル基を有するポリマー3を得、溶液濃度50質量%に濃縮した。得られたポリマー3は、Tgが100℃であり、重量平均分子量が15000であった。
そして組成物配合1において、ヘキサンジオールジアクリレートを110質量部から40質量部に変更した以外は同様にして光硬化性転写シートのロールを得た。
光硬化性転写層の貯蔵弾性率は8.0×106Pa(100Hz)であり、Tgは、0℃であった。
[比較例3]
<光硬化性転写シートの作製>
(ポリマー4(マクロモノマー4)の作製)
ポリマー配合4
2−エチルヘキシルメタクリレート 70質量部
メチルメタクリレート 20質量部
2−ヒドロキシエチルメタクリレート 10質量部
ベンゾフェノン 1.2質量部
トルエン 70質量部
酢酸エチル 30質量部
上記の配合の混合物を、穏やかに撹拌しながら、60℃に加熱して重合を開始させ、この温度で10時間撹拌し、側鎖にヒドロキシル基を有するアクリル樹脂を得た。その後、カレンズ MOI(2−イソシアナトエチルメタクリレート;昭和電工(株)製)5質量部を添加し、窒素雰囲気下で穏やかに撹拌しながら50℃で反応させ、光重合性官能基を有するマクロマーの溶液4を得た。固形分を36質量%に調製した(ポリマー溶液4)。
得られたポリマー4(マクロモノマー4)は、Tgが30℃であり、重量平均分子量が110000であった。
組成物配合4
ポリマー溶液4 100質量部
ヘキサンジオールジアクリレート(KS−HDDA) 110質量部
ジイソシアネート(BXX5627、東洋インキ製造(株)製) 1質量部
イルガキュア651(チバガイギー(株)製) 1質量部
ヒドロキノンモノメチルエーテル(MEHQ) 0.05質量部
上記配合の混合物を均一に溶解し、剥離シート(幅300mm、長さ1000m、厚さ75μm;商品名No.23、藤森工業(株)製)上に、全面塗布し、乾燥厚さ20μmの光硬化性転写層を形成し、シートの反対側に上記と同一の剥離シートを貼付し、ロール状に巻き上げ、光硬化性転写シートのロール(直径0.5m)を得た。光硬化性転写層の貯蔵弾性率は2.0×105Pa(100Hz)であり、Tgは、0℃であった
[実施例2]
<光硬化性転写シートの作製>
(アクリロイル基を有するポリマー5の作製)
ポリマー配合5
メチルメタクリレート 74質量部
n−ブチルメタクリレート 13質量部
グリシジルメタクリレート 13質量部
AIBN 1.2質量部
トルエン 70質量部
酢酸エチル 30質量部
上記の配合の混合物を、穏やかに撹拌しながら、70℃に加熱して重合を開始させ、この温度で8時間撹拌し、側鎖にグリシジル基を有するポリマー1(アクリル樹脂)を得た。これにアクリル酸(6.6質量部)を加えて、70℃に加熱し、この温度で5時間撹拌し、アクリロイル基を有するポリマー2を得た。固形分を50質量%に調製した(ポリマー溶液5)。
得られたポリマー5は、Tgが100℃であり、重量平均分子量が110000であった。
組成物配合5
アクリロイル基を有するポリマー溶液5 100質量部
ヘキサンジオールジアクリレート(KS−HDDA) 110質量部
ジイソシアネート(BXX5627、東洋インキ製造(株)製) 1質量部
イルガキュア651(チバガイギー(株)製) 1質量部
ヒドロキノンモノメチルエーテル(MEHQ) 0.05質量部
上記配合の混合物を均一に溶解、混練し、剥離シート(幅140mm、長さ300m、厚さ75μm;商品名No.23、藤森工業(株)製)上に、全面塗布し、乾燥厚さ20μmの光硬化性転写層を形成し、シートの反対側に上記と同一の剥離シートを貼付し、ロール状に巻き上げ、光硬化性転写シートのフルエッジタイプのロール(直径260mm)を得た。光硬化性転写層の貯蔵弾性率は2.0×105Pa(100Hz)であり、Tgは、0℃であった
(1)光硬化性転写シートの評価
(1−1)ガラス転移温度(Tg)の測定
得られた光硬化性転写シートから両側の剥離シートを除去し、長さ20mm、幅4mm(厚さ25μm)に裁断してサンプルとした。
サンプルのTgを、TMA (Thermal Mechanical Analysis) 装置SS6100(SIIナノテクノロジー(株)製)を用いて、サンプル温度:30〜120℃、昇温レート:5℃/分、引張張力:4.9×105Paの条件で測定した。
以上の条件で試験を行うと、図5に示すグラフが得られ、安定領域の接線と伸び領域の最大傾斜からの接線との交点をガラス転移温度とした。
(1−2)転写シートの貯蔵弾性率の測定
上記実施例1、2及び比較例1〜3で得られた転写シートの転写層の貯蔵弾性率を、粘弾性測定装置としてレオストレスRS300(HAAKE社製)を用いて測定した。その際、φ=8mmのパラレルプレートを用いて、測定厚さ400μm(転写層を積層して使用)、測定温度25℃にて、周波数100Hzにおいて測定した。
(2)得られる光情報記録媒体の評価
光硬化性転写シートのロールを円盤状に打ち抜いた後、一方の剥離シートを除去し、得られた円盤状光硬化性転写シートを、射出成形により成形したピットとしての凹凸面を有するポリカーボネート基板(厚さ1.1mm)の凹凸面に設けられた銀合金の半透過反射層上に、転写シート面と反射層が接触するように配置し、シリコーンゴム製のローラを用いて2kgの荷重で光硬化性転写シートを押圧し、積層体を形成した(図2の(3)に対応)。
積層体の光硬化性転写シートのもう一方の剥離シートを除去し、その除去された転写シート表面に、ピットとしての凹凸面を有するニッケル製のスタンパを、シート表面とスタンパの凹凸面とが接触するように配置して、シリコーンゴム製のローラを用いて2kgの荷重でスタンパを押圧し、積層体を形成し、スタンパの凹凸形状を転写シート表面に転写した。
次に、光硬化性転写シート側から、メタルハライドランプ(600mW/cm)を用いて、銀合金の半透過反射層を介して、積算光量300mJ/cm2の条件でUV照射し(照射距離20cm、照射時間1.0秒)、転写シートを硬化させた。
積層体からスタンパを剥離、除去し、硬化した光硬化性転写シートの凹凸面上にアルミニウムをスパッタリングすることにより、アルミニウム反射層(70nm)を形成した。この上に接着剤を介してポリカーボネートフィルム(厚さ70μm;商品名ピュアエースC110−70、帝人(株)製)を貼り付けた。
これにより2層の凹凸面を有する光情報記録媒体を得た。
(2)光情報記録媒体の評価
(2−1)ガラス転移温度(Tg)の測定
(1−1)と同様にして得られたサンプルに、積算光量300mJ/cm2の条件でUV照射し、(1−1)と同様にしてTgを測定した。
積算光量(300mJ/cm2)は、フュージョンUVシステムズジャパン(株)製UV Power Puck(UV−Aバンド測定)を用いて層表面で測定した。
(2−2)ピット転写性(ピットの深さ、モジュレーション、ジッター)
(2−2−1)得られた光情報記録媒体のスタンパで形成したピットの深さを、プローブ顕微鏡 SPA−300HV環境制御型ユニット(SIIナノテクノロジー社製)を用いて測定した。評価は下記のように行った。
○:ピットの深さが97nm以上
△:ピットの深さが90以上97nm未満
×:ピットの深さが90nm未満。
(2−2−2)得られた光情報記録媒体の上記ピット信号のモジュレーションを、タイムインターバルアナライザーTA723(横河電機(株)製)を用いて測定した。評価は下記のように行った。
○:0.70以上
△:0.70未満0.65以上
×:0.65未満。
(2−2−3)得られた光情報記録媒体の上記ピット信号のジッターを、タイムインターバルアナライザーTA723(横河電機(株)製)を用いて測定した。評価は下記のように行った。
○:6.0%以下
△:6.0%超過7.5%以下
×:7.5%超過。
得られた試験結果を表1に示す。
Figure 0004656991
実施例1及び2で得られた光硬化性転写シートは、ピットの転写性に優れたものであることが示されている。一方、比較例1〜3では、本発明のTg、貯蔵弾性率の規定を満たさないため、硬化性、ピットの転写性が特に劣っていた。
本発明に従う光硬化性転写シートの実施形態の一例を示す断面図である。 本発明に従う光情報記録媒体の製造方法の一例を示す断面図である。 本発明に従う光情報記録媒体の一例を示す断面図である。 二重真空室方式の装置を用いた押圧法を説明するための該略図である。 実施例における、ガラス転移温度の測定法を示すグラフである。 日経エレクトロニクスに記載の光情報記録媒体の製造方法の手順を示す断面図である。
符号の説明
11 光硬化性転写シート
12a,12b 剥離シート
21 基板
23 半透明反射層
24 スタンパ
25 反射層
26 有機ポリマーフィルム(カバー層)

Claims (21)

  1. 加圧により変形可能な光硬化性組成物からなる光硬化性転写層を有する光硬化性転写シートであって、
    光硬化性組成物が、ガラス転移温度が80℃以上のポリマー、光重合性官能基を有する反応性希釈剤、さらにジイソシアネートを含み、該ガラス転移温度が80℃以上のポリマーが、ヒドロキシル基を有するアクリル樹脂であり、且つ該組成物の周波数100Hzにおける貯蔵弾性率が、25℃において1×106Pa以下であることを特徴とする光硬化性転写シート。
  2. 周波数100Hzにおける貯蔵弾性率が、25℃において1×104〜1×106Paの範囲である請求項1に記載の光硬化性転写シート。
  3. 光硬化性転写層の300mJ/cm2の紫外線照射後のガラス転移温度が65℃以上である請求項1又は2に記載の光硬化性転写シート。
  4. 光硬化性組成物のガラス転移温度が20℃未満である請求項1又は2に記載の光硬化性転写シート。
  5. アクリル樹脂が、メチルメタクリレートの繰り返し単位を少なくとも50質量%含むアクリル樹脂である請求項1〜4のいずれかに記載の光硬化性転写シート。
  6. アクリル樹脂が、メチルメタクリレートと、アルコール残基が炭素原子数2〜10個のアルキルの(メタ)アクリル酸エステルの少なくとも1種と、アルコール残基がヒドロキシルキを有する炭素原子数2〜4個のアルキルの(メタ)アクリル酸エステルの少なくとも1種との共重合体である請求項1〜5のいずれかにに記載の光硬化性転写シート。
  7. アクリル樹脂の数平均分子量100000以上である請求項1〜6のいずれかに記載の光硬化性転写シート。
  8. アクリル樹脂の重量平均分子量が100000以上である請求項1〜7のいずれかに記載の光硬化性転写シート。
  9. 光硬化性組成物が、光重合開始剤を0.1〜10質量%含む請求項1〜8のいずれかに記載の光硬化性転写シート。
  10. 380〜420nmの波長領域の光透過率が70%以上である請求項1〜9のいずれかに記載の光硬化性転写シート。
  11. 380〜800nmの波長領域の光透過率が70%以上である請求項1〜10のいずれかに記載の光硬化性転写シート。
  12. 光硬化性転写層の厚さが5〜300μmである請求項1〜11のいずれかに記載の光硬化性転写シート。
  13. 光硬化性転写層の一方又は両方の表面に、剥離シートが設けられている請求項1〜12のいずれかに記載の光硬化性転写シート。
  14. 光硬化性転写シートが長尺状であり、かつ光硬化性転写層と剥離シートの幅が略同一である請求項13に記載の光硬化性転写シート。
  15. 下記の工程(2)〜(4):
    (2)請求項13又は14に記載の光硬化性転写シートが両面に剥離シートを有する場合、その一方の剥離シートを除去する工程;
    (3)表面に記録ピット及び/又はグルーブとしての凹凸を有し、さらに該凹凸表面の凹凸に沿って反射層が設けられた基板の該反射層上に、該光硬化性転写シートの光硬化性転写層の表面が該反射層の凹凸表面に接触するように裁置し、これらを押圧して該光硬化性転写シートの表面が該反射層の凹凸表面に沿って密着された積層体を形成する工程;及び
    (4)該積層体からもう一方の剥離シートを除去する工程、
    を含むことを特徴とする光情報記録媒体の製造方法。
  16. 前記工程(2)の前に、
    (1)光硬化性転写シートを円盤状に打ち抜く工程;又は
    (1)光硬化性転写シートの光硬化性転写層と一方の剥離シートを円盤状に打ち抜き、もう一方の剥離シートをそのまま残す工程;
    を行う請求項15に記載の光情報記録媒体の製造方法。
  17. 前記工程(4)を行った後、さらに
    (5)該積層体の剥離シートが除去された光硬化性転写層の表面に、記録ピット及び/又はグルーブとしての凹凸を有するスタンパの該凹凸表面を裁置し、これらを押圧して該光硬化性転写シートの表面が該凹凸表面に沿って密着した積層体を形成する工程;
    (6)該スタンパを有する積層体の光硬化性転写層を紫外線照射により硬化させ、次いでスタンパを除去することにより、光硬化性転写層の表面に凹凸を設ける工程;
    を含む請求項15又は16に記載の光情報記録媒体の製造方法。
  18. 前記(6)の紫外線照射を少なくとも300mJ/cm2の照射エネルギーで行う請求項17に記載の光情報記録媒体の製造方法。
  19. 前記(6)で得られる光硬化性転写層のガラス転移温度が65℃以上である請求項17又は18に記載の光情報記録媒体の製造方法。
  20. 前記(5)〜(6)の工程を行った後、さらに
    (7)光硬化性転写層の凹凸表面に反射層を設ける工程;
    を含む請求項17〜19のいずれかに記載の光情報記録媒体の製造方法。
  21. 請求項15〜20のいずれかに記載の製造方法により得られる光情報記録媒体。
JP2005116496A 2005-04-14 2005-04-14 光硬化性転写シート、これを用いた光情報記録媒体の製造方法、及び光情報記録媒体 Expired - Fee Related JP4656991B2 (ja)

Priority Applications (1)

Application Number Priority Date Filing Date Title
JP2005116496A JP4656991B2 (ja) 2005-04-14 2005-04-14 光硬化性転写シート、これを用いた光情報記録媒体の製造方法、及び光情報記録媒体

Applications Claiming Priority (1)

Application Number Priority Date Filing Date Title
JP2005116496A JP4656991B2 (ja) 2005-04-14 2005-04-14 光硬化性転写シート、これを用いた光情報記録媒体の製造方法、及び光情報記録媒体

Publications (3)

Publication Number Publication Date
JP2006291115A JP2006291115A (ja) 2006-10-26
JP2006291115A5 JP2006291115A5 (ja) 2010-06-03
JP4656991B2 true JP4656991B2 (ja) 2011-03-23

Family

ID=37412030

Family Applications (1)

Application Number Title Priority Date Filing Date
JP2005116496A Expired - Fee Related JP4656991B2 (ja) 2005-04-14 2005-04-14 光硬化性転写シート、これを用いた光情報記録媒体の製造方法、及び光情報記録媒体

Country Status (1)

Country Link
JP (1) JP4656991B2 (ja)

Families Citing this family (1)

* Cited by examiner, † Cited by third party
Publication number Priority date Publication date Assignee Title
JP4547294B2 (ja) * 2005-04-14 2010-09-22 株式会社ブリヂストン 光硬化性転写シート、これを用いた光情報記録媒体の製造方法、及び光情報記録媒体

Family Cites Families (5)

* Cited by examiner, † Cited by third party
Publication number Priority date Publication date Assignee Title
JP4165635B2 (ja) * 2002-03-22 2008-10-15 株式会社ブリヂストン 光情報記録媒体の製造方法
JP2003272228A (ja) * 2002-03-14 2003-09-26 Bridgestone Corp 光硬化性転写シート及びその製造方法、積層体、光情報記録基板及び光情報記録媒体
JP2003272244A (ja) * 2002-03-13 2003-09-26 Bridgestone Corp 光情報記録媒体の製造方法及び光情報記録媒体
JP4133539B2 (ja) * 2003-04-18 2008-08-13 リンテック株式会社 光記録媒体製造用シートおよび光記録媒体
JP4455926B2 (ja) * 2004-04-22 2010-04-21 リンテック株式会社 光ディスク製造方法および凹凸パターン転写方法

Also Published As

Publication number Publication date
JP2006291115A (ja) 2006-10-26

Similar Documents

Publication Publication Date Title
JP2007291339A (ja) 光硬化性転写シート、これを用いた凹凸パターンの形成方法及び光情報記録媒体の製造方法、並びに光情報記録媒体
JP4165635B2 (ja) 光情報記録媒体の製造方法
US20110262675A1 (en) Photo-curable transfer sheet, process for the preparation of optical information recording medium using the sheet, and optical information recording medium
JP4704133B2 (ja) 光硬化性転写シート、光情報記録媒体及びその製造方法
JP4479907B2 (ja) 光硬化性転写シート、これを用いた光情報記録媒体の製造方法、及び光情報記録媒体
JP4764055B2 (ja) 光硬化性転写シート、これを用いた光情報記録媒体の製造方法、及び光情報記録媒体
JP5271486B2 (ja) 離型剤、これを用いた凹凸パターンの形成方法及び光情報記録媒体の製造方法、並びに光情報記録媒体
JP2003272244A (ja) 光情報記録媒体の製造方法及び光情報記録媒体
JP5016368B2 (ja) 光硬化性転写シート、これを用いた光情報記録媒体の製造方法、及び光情報記録媒体
JP4764173B2 (ja) 光硬化性転写シート、これを用いた光情報記録媒体の製造方法、及び光情報記録媒体
JP4764158B2 (ja) 光硬化性転写シート、これを用いた光情報記録媒体の製造方法、及び光情報記録媒体
JP4656991B2 (ja) 光硬化性転写シート、これを用いた光情報記録媒体の製造方法、及び光情報記録媒体
JP4658858B2 (ja) 光硬化性転写シート、これを用いた光情報記録媒体の製造方法、及び光情報記録媒体
CN101506884B (zh) 光固化性转印片、使用其的光学信息记录介质的制造方法、及光学信息记录介质
JP2005158232A (ja) 光硬化性転写シート、これを用いた光情報記録媒体の製造方法、及び光情報記録媒体
JP2010086619A (ja) 成形樹脂の製造方法及び光情報記録媒体の製造方法
JP4547294B2 (ja) 光硬化性転写シート、これを用いた光情報記録媒体の製造方法、及び光情報記録媒体
CN101512646B (zh) 光固化性转印片、使用该转印片制备光信息记录介质的方法和光信息记录介质
JP4833737B2 (ja) 光硬化性転写シート、これを用いた光情報記録媒体の製造方法、及び光情報記録媒体
JP5158923B2 (ja) 光硬化性転写シート、これを用いた光情報記録媒体の製造方法、及び光情報記録媒体
JP4070440B2 (ja) 光情報記録媒体及びその製造方法
JP5016292B2 (ja) 光硬化性転写シート、これを用いた光情報記録媒体の製造方法、及び光情報記録媒体
JP2010257521A (ja) 光硬化性転写シート、これを用いた光情報記録媒体の製造方法、及び光情報記録媒体
JP2005116050A (ja) 光硬化性転写シート、これを用いた光情報記録媒体の製造方法、及び光情報記録媒体
JP2005182964A (ja) 光情報記録媒体及びその製造方法、並びに光硬化性組成物及び光硬化性転写シート

Legal Events

Date Code Title Description
A621 Written request for application examination

Free format text: JAPANESE INTERMEDIATE CODE: A621

Effective date: 20080404

A521 Request for written amendment filed

Free format text: JAPANESE INTERMEDIATE CODE: A523

Effective date: 20100416

TRDD Decision of grant or rejection written
A01 Written decision to grant a patent or to grant a registration (utility model)

Free format text: JAPANESE INTERMEDIATE CODE: A01

Effective date: 20101130

A01 Written decision to grant a patent or to grant a registration (utility model)

Free format text: JAPANESE INTERMEDIATE CODE: A01

A61 First payment of annual fees (during grant procedure)

Free format text: JAPANESE INTERMEDIATE CODE: A61

Effective date: 20101221

FPAY Renewal fee payment (event date is renewal date of database)

Free format text: PAYMENT UNTIL: 20140107

Year of fee payment: 3

R150 Certificate of patent or registration of utility model

Free format text: JAPANESE INTERMEDIATE CODE: R150

LAPS Cancellation because of no payment of annual fees