JP4652829B2 - 電子線露光装置およびデバイス製造方法 - Google Patents

電子線露光装置およびデバイス製造方法 Download PDF

Info

Publication number
JP4652829B2
JP4652829B2 JP2005017700A JP2005017700A JP4652829B2 JP 4652829 B2 JP4652829 B2 JP 4652829B2 JP 2005017700 A JP2005017700 A JP 2005017700A JP 2005017700 A JP2005017700 A JP 2005017700A JP 4652829 B2 JP4652829 B2 JP 4652829B2
Authority
JP
Japan
Prior art keywords
optical
photoelectric conversion
electron beam
signal
exposure apparatus
Prior art date
Legal status (The legal status is an assumption and is not a legal conclusion. Google has not performed a legal analysis and makes no representation as to the accuracy of the status listed.)
Expired - Fee Related
Application number
JP2005017700A
Other languages
English (en)
Other versions
JP2006210460A (ja
JP2006210460A5 (ja
Inventor
敬清 由井
徳郎 斎藤
Current Assignee (The listed assignees may be inaccurate. Google has not performed a legal analysis and makes no representation or warranty as to the accuracy of the list.)
Canon Inc
Hitachi High Tech Corp
Original Assignee
Hitachi High Technologies Corp
Canon Inc
Priority date (The priority date is an assumption and is not a legal conclusion. Google has not performed a legal analysis and makes no representation as to the accuracy of the date listed.)
Filing date
Publication date
Application filed by Hitachi High Technologies Corp, Canon Inc filed Critical Hitachi High Technologies Corp
Priority to JP2005017700A priority Critical patent/JP4652829B2/ja
Publication of JP2006210460A publication Critical patent/JP2006210460A/ja
Publication of JP2006210460A5 publication Critical patent/JP2006210460A5/ja
Application granted granted Critical
Publication of JP4652829B2 publication Critical patent/JP4652829B2/ja
Anticipated expiration legal-status Critical
Expired - Fee Related legal-status Critical Current

Links

Images

Landscapes

  • Electron Beam Exposure (AREA)
  • Exposure And Positioning Against Photoresist Photosensitive Materials (AREA)

Description

本発明は、電子線露光装置に関し、特に、高スループット、高精度を実現できるマルチビーム描画装置等に適用して好適な電子線露光装置に関するものである。
先端分野や短TAT製品のリソグラフィ工程での使用が想定されている電子線露光装置のなかに所謂マルチビームタイプのものがある。この種の装置はビームをマルチ化することによって、従来使用されてきたシングルビームやセルプロジェクションタイプの装置に比べ、高スループット、高精度化が期待されている。複数のビームを制御して所望のパターンを得る装置は種々考案されているが、マルチビームであること以外には従来の装置形態に近く、導入し易いとされている縮小投影方式の装置がある。
図8はそうした縮小投影方式のマルチビーム電子線露光装置の一例である。同図において70は電子銃であって、描画装置の光源である。この光源から放射された電子ビーム71はコンデンサーレンズ72によって略平行の電子ビームとなる。この略平行の電子ビームは複数の要素電子光学系74が配列された、マルチビームモジュール73に入射する。ブランキング電極を有する要素電子光学系74は複数の光源の中間像75,76をブランキングアパーチャ77の開口付近に形成すると同時に、複数のブランキング電極を各々個別に作動させてブランキングアパーチャ77で複数の電子ビームを遮蔽することができる。
次に、磁界レンズ79と磁界レンズ80は磁気対称ダブレットで投影系を構成する。ここで、磁界レンズ79と磁界レンズ80との距離は各々のレンズの焦点距離の和に等しく、前記光源の中間像75,76は磁界レンズ79の焦点位置付近にあって、それらの像は磁界レンズ80の焦点位置付近に形成される。83は磁界偏向器であり、84は電界によって偏向を行う静電偏向器である。そして、これら二つの偏向器は、複数の中間像75,76からの電子ビームを偏向させて、複数の中間像の像を試料82の上で平面的に移動させるようになっている。ここで磁界偏向器83と静電偏向器84は、光源像の移動距離によって使い分けている。85は偏向器を作動させた際に発生する偏向収差によるフォーカス位置のずれを補正するためのダイナミックフォーカスコイル、78は同様な過程で発生する非点収差を補正するダイナミックスティグコイルである。また、86は試料82をX,Y,Z方向に移動するためのXYZステージである。描画の際には、パターンデータに基づいて、複数の中間像の像を投影系によって試料82上に投影し、複数の要素電子光学系のブランキング電極を作動させて複数の電子ビームをON/OFFさせながら、磁界偏向器83と静電偏向器84及びXYZステージ86を用いて試料82の全面を走査し所望の露光パターンを得ている。
次に、電子線露光装置におけるマルチビームモジュール73に載置された要素電子光学系74のブランキング電極とそれらを駆動するドライバ及び駆動信号を伝送する伝送路を図9に示す。同図において描画データを各ビームのON/OFF信号パターンに変換し所望の露光時間を与えるデータ処理系87は、ドライバ88に駆動信号を出力する。この出力は駆動信号ケーブル89を介して中継基板91のインターフェースコネクタ90に接続され、配線パターンによって電子光学鏡筒98を通過し駆動信号の終端回路であるターミネータ92に入力する。ターミネータ92を通過した駆動信号は、真空シール99を通過しコンタクトユニット93を経由してブランキングモジュール94に接続される。さらに、ブランキングモジュール94の上には各ブランキング開口97に一対づつ設けられたブランキング電極96があり、コンタクトユニット93から配線パターン95を通して駆動信号がそれらブランキング電極96に接続されている。また、冷却装置102からの冷却液は、導入管100、中継基板91、排出管101の順に流して、ターミネータ92で発生する熱を除去し、電子光学鏡筒や真空シールより内側にある部材の熱変形や特性変化を抑制する工夫がなされている。
特開平11−176719号公報
前述の従来例の装置においては、ブランキング電極の駆動周期が100MHz以上、駆動信号の周波数成分は1GHz近傍に達している。また、電子ビームのマルチ化は少なくとも千本、多くは八千本の要求がある。常に高速化を求められる状況においては、これらの数字も暫定値でしかあり得ない。このような多量の信号を高速に、且つバラツキや歪のない状態で正しく伝送するために、あらゆる考案がなされている。例えば伝送線路の特性インピーダンスを整合させるための終端は発熱を伴ない、その熱を冷却によって取り除こうとしていることを前述した。
しかしながら、ブランカー近傍の僅かな熱バランスの歪であっても、構造の幾何学的歪を発生させ、結果として描画精度上無視できないものになる。こういった更なる精度向上に対応するため、例えば特開平11−176719号公報(特許文献1)では、伝送線路をブランキング電極の近くで分岐させ、一方をブランキング電極に他方を伝送線路と同じ特性インピーダンスをもつ補助線路に接続し、その補助線路を鏡筒の外へ導出してその端部に終端抵抗を実装し冷却を行うという提案がなされている。また、上記特許文献1では、伝送線路上で分岐を行わずブランキング電極から直接2本の配線を行い、一方を駆動信号のドライバーへ、他方を終端器へ接続する方法が開示されている。
こうした工夫は一定の効果が得られる反面、伝送線路やブランカーなどの実装スペースに対して大きな負荷となる。現状ではビーム本数の増加に伴って限界に達していると考えても差し支えない。さらに先述したようにブランキング電極の駆動信号の周波数成分は装置の高速化に伴い1GHz近傍にまで達している。このような信号帯域においては、伝送線路の容量と直流抵抗の制約が大きく、例えば伝送線路の幅を2μmで設計した場合、ブランキング電極の静電容量を除いた線路の容量を1.5PF、直流抵抗を300Ωとし、その他諸条件から求められる許容線路長は僅か15mmである。このことはブランキングアレイ中心部から半径15mm以内に1000本から8000本の伝送線路と、それらに接続される低インピーダンスライン(駆動回路への接続用線路)との接合部を敷設しなければならないことを意味している。
本発明は上記のような課題に鑑みて為されたものであり、その目的は局所領域へ多くの伝送線路を敷設し、且つ伝送線路の周波数特性を向上させなければならない前述のような状況において、その根本的な解決手段を提供し且つそれらを搭載した装置を提供することにある。
本発明の電子線露光装置は、複数の電子線の照射を個別に制御する複数のブランキング電極と、前記複数のブランキング電極を駆動するための駆動信号を伝送する伝送線路とを有し、前記複数の電子線によって試料にパターンを描画するように構成され、前記伝送線路は、第1の基板に形成された光伝送路と、前記光伝送路の始点側で前記駆動信号を電気信号から光信号に変換する第1の光電変換部と、前記第1の光電変換部で変換された光信号を前記光伝送路の終点側で電気信号に変換する複数の第2の光電変換部とを有し、前記複数の第2の光電変換部で変換された電気信号によって前記複数のブランキング電極が制御され、前記第1の基板には、環状の真空シールが配置され、前記真空シールの内側が真空となり、前記真空シールの外側が大気圧となるように真空隔壁が形成され、前記光伝送路の始点側である前記真空シールの外側に前記第1の光電変換部が配置され、前記光伝送路の終点側である前記真空シールの内側に前記複数の第2の光電変換部が配置されている
以上説明したように、信号伝送線路の一部またはほぼ全域を光伝送路で構成し、また実装密度を高く要求される部分には光導波路を用い、さらに光信号から電気信号への変換を発電素子で行うことによって、局所領域へ多くの伝送線路を敷設し、且つ伝送線路の周波数特性を向上させるための根本的な解決手段を提供できる。
次に、本発明の好ましい実施の形態について、露光対象としての試料がウエハである場合の実施例を挙げ、図面を参照して詳細に説明する。
図1は本発明の実施例1に係る電子線露光装置の構成図である。同図において、1は電子銃であって、描画装置の光源である。この光源から放射された電子ビーム2はその前側焦点位置が前記光源位置であるコンデンサーレンズ3によって略平行の電子ビームとなる。この略平行の電子ビームは要素電子光学系4が複数配列された成形系5に入射する。略平行の電子ビームは成形系5で光軸に垂直な面内で複数に分割成形され、分割された電子ビームはそれぞれの電子ビームを各々個別にON/OFF制御するブランキングモジュール6を通過し、複数の光源の中間像7a,7bをブランキングアパーチャ10の開口付近に形成する。ここでブランキングモジュール6は、複数の開口と各開口毎に設けられた一対のブランキング電極を有し、これらのブランキング電極を各々個別に作動させてブランキングアパーチャ10で複数の電子ビームを各々個別に遮蔽することができるようになっている。
次に、磁界レンズ12と磁界レンズ16は、磁気対称ダブレットで縮小投影系を構成しており、制限開口17を有している。ここで、磁界レンズ12と磁界レンズ16との距離は各々のレンズの焦点距離の和に等しく、前記光源の中間像7a,7bは磁界レンズ12の焦点位置付近にあって、それらの像は磁界レンズ16の焦点位置に形成される。このとき磁界レンズ12と磁界レンズ16の焦点距離の比が投影倍率となる。さらに、磁界レンズ12と磁界レンズ16の磁界が互いに逆方向に作用する様に設定されているため、球面収差、非点収差、コマ収差、像面彎曲、及び軸上色収差の所謂五つの収差を除く他のサイデル収差や、回転と倍率の色収差が打ち消されている。ここで補正レンズ群11は、磁界レンズ12と光源の中間像7a,7bとの間に配置され、投影倍率、ビームの収束位置、及び各種収差補正、等を微調整する機能レンズ群である。13は磁界偏向器であり、14は電界によって偏向を行う静電偏向器であり、これら二つの偏向器は、複数の電子ビームを一括偏向させて、複数の中間像7a,7bの像を試料18の上で平面的に移動させるようになっている。磁界偏向器13と静電偏向器14は、光源像の移動距離によって使い分けている。15は偏向器を作動させた際に発生する偏向収差によるフォーカス位置のずれを補正するためのダイナミックフォーカスコイルである。また、19は試料18をX,Y,Z方向に移動するためのXYZステージであり、複数のレーザー干渉計によってその位置や移動速度が正確に制御されている。20はマウントであって、装置姿勢を維持すると同時に床振動から装置を絶縁する機能を有している。
実際の描画においては、パターンデータに基づいて、制御系21内のビーム制御部22からブランキングモジュール6に対して伝送路8を通して駆動信号を供給し、各ブランキング電極を作動させて複数の電子ビームをON/OFFさせながら、中間像7a,7bの像を磁界レンズ12と磁界レンズ16からなる縮小投影系によって試料18上に収束させ、磁界偏向器13と静電偏向器14を用いて試料18上を走査し、且つXYZステージ19を協動せしめて、所定の描画パターンを得ている。
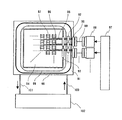
図2は図1の電子線露光装置におけるブランキングモジュール6に載置された複数のブランキング電極と、それらを駆動するビーム制御部22及び駆動信号を伝送する伝送路8の詳細を表す図である。
同図において、42は、描画データを各ビームのオンオフ信号パターンに変換し、所望の露光時間と露光タイミングを提供するデータ処理部である。41は、前記データ処理部42からのデータに従って、ブランキングモジュール6に載置され電子ビームを通過させるためのビーム開口32を有するブランカーのブランキング電極33に対して、駆動信号を送出するドライバである。40は、前記ドライバ41の信号をブランキング電極33が載置されたブランカー基板30(本実施例における第1の基板)の入力コネクタ39へ前記駆動信号を接続するための駆動信号ケーブルである。38は、駆動信号ケーブル40を通して伝送されてきた駆動信号を、光伝送路の始点側で電気信号から光信号に変換する第1の光電変換部37へ供給するための配線パターンである。34は、第1の光電変換部37で電気信号から光信号に変換された駆動信号を伝送する複数の光導波路である。35は、各光導波路34の終点である末端に光導波路と光学的に結合するように載置され、光伝送路の終点側で前記駆動信号を光信号から電気信号へ変換するための第2の光電変換部である。36は複数のブランキング電極33の片側を同電位にするための相互接続配線パターンであり、31は鏡筒内部の真空を維持するための真空シールである。
ここでドライバ41から出力される駆動信号はその駆動周期が100MHz以上であり、さらに露光階調にして8ビット程度の分解能に相当するパルス幅変調が施されている。本実施例では描画動作時における駆動信号の実質的な信号帯域は1GHz程度である。従って駆動信号の伝送路を構成する駆動信号ケーブル40、配線パターン38等は全て分布定数線路として、その特性インピーダンスが管理された設計が為されている。
また、本実施例では、ブランキング電極33の高速駆動と光導波路34での信号減衰、第2の光電変換部35の変換感度などを考慮して、第1の光電変換部37をアレイ型のレーザーダイオードと変調器で構成してある。ドライバ41から出力された駆動信号は、駆動信号ケーブル40を経由して入力コネクタ39に入力し、ブランカー基板30上に敷設された配線パターン38へ接続される。配線パターン38は、マイクロストリップラインで駆動信号を効率よく伝送すると同時に特性インピーダンスのマッチングをとり、ほぼ無反射の伝送線路となっている。
ここではマイクロストリップラインを採用したが、実装上の制約や信号特性に合わせて、所謂コプレーナ線路等、種々の選択が可能である。第1の光電変換部37で電気信号から光信号に変換された駆動信号は光導波路34のなかを減衰しながら伝播する。本実施例においては、第2の光電変換部35はPIN型の高速フォトダイオードで光導波路34と高効率にて光結合するように構成してある。光信号が光結合によってフォトダイオードの接合面に入射すると電流が生成され、この電流をフォトダイオードに内臓した軽負荷のシャント抵抗に流し、それによってシャント抵抗とパターンで接続されたブランキング電極33に電圧を印加する。
ここでフォトダイオードにシャント抵抗を内臓させる代わりに、ブランキング電極33に直列に抵抗を接続し、ブランキング電極33とそれに直列な抵抗とを合わせたものをシャント抵抗としてもよい。その場合ブランキング電極33の静電容量が負荷としてシャント抵抗に加わるが、その静電容量は十分小さく(本実施例では、0.05pF以下)、抵抗負荷を小さくしても十分な高速応答性能が得られている。ここで光スイッチ、所謂フォトトランジスタ形式の光電変換デバイスを用いることも可能であるが、この種のデバイスはスイッチであり電源を要するため電源パターンを敷設しなければならないこと、出力側のトランジスタはある程度の負荷を持たせないと応答スピードが上がらないこと、信号伝達率を高くできないこと、等を考慮した上であれば採用が可能である。
ビーム開口32を通過する電子ビームは、ドライバ41から出力された駆動信号が駆動信号ケーブル40を経て第1の光電変換部37で光信号に変換され、光導波路34を伝播し第2の光電変換部35で再び電気信号に変換され、ブランキング電極間に電圧が印加されると、偏向作用を受けてブランキング状態になる。このとき、ブランキング電極33の片側に電圧を印加してビーム開口32を通過する電子ビームを偏向させるには対向する電極の電極電位を決める必要がある。本実施例では対向する電極同士を相互接続配線パターン36によって相互に接続し、さらにブランカー基板30上のアースポイント(不図示)に接続し接地電位を与えるようにしてある。
また、ブランカー基板30は、電子光学鏡筒の内部で真空隔壁の一部を構成するように設計されていて、そのための真空シール31がブランカー基板30の周辺部に載置されている。この真空シール31より内側が真空であり、外側が大気圧となっていて、光導波路34が所謂フィードスルーの役目も果たしている。こうすることで第1の光電変換部37を大気圧側に設置し第1の光電変換部内の発光素子による発熱を効率よく除去している。本実施例では、前記発熱量を低く抑制したことと、第1の光電変換部37と真空シール31との距離を大きくし、十分な放熱面積を取ったことによって強制冷却の必要がなかったが、要求仕様によって前記発光素子の出力を上げざるを得ない場合や、実装上ブランカー基板30を大きくできない場合には、ブランカー基板30の外周部付近に冷却水を循環させるなどして発熱を除去することも考えられる。
本発明の実施例2に係る電子線露光装置について図3及び図4を用いて説明する。図3及び図4は、図1の電子線露光装置におけるブランキングモジュール6に載置された複数のブランキング電極とそれらを駆動するビーム制御部22及び駆動信号を伝送する伝送路8の別の態様を表す図である。
図3において、実施例1と同様に、42は描画データを各ビームのON/OFF信号パターンに変換し所望の露光時間と露光タイミングを提供するデータ処理部である。41は前記データ処理部42からのデータに従ってブランキングモジュール6内のブランカーを駆動するドライバである。45は後述するブランカーデバイス基板を支持し、且つ同基板へブランキング電極の駆動信号を中継する信号中継基板である。46は真空シールであり、47は信号中継基板45を貫通し電子ビームを通過させる貫通口である。49は後述するブランカーデバイスと信号中継基板45とを接続するための接合電極である。
この接合電極49上に搭載されるのがブランカーデバイス基板56であり、その概要を図4に示す。同図において、56はブランカーの偏向電極のみを載置したデバイス専用のブランカーデバイス基板である。同基板には電子ビームを通過させるためのビーム開口57と、互いに対向するブランキング電極58a,58bとが形成されている。この基板56の裏面には信号中継基盤45の接合電極に対応する位置に接合パッドが設けられている。
図3に戻って、48は接合電極を経由して複数のブランキング電極の片側を同電位にするための相互接続配線パターン、50,51,52は、それぞれ、第2の光電変換部、光導波路、第1の光電変換部であり、実施例1と同様である。電子ビームは、ブランカーデバイス基板56上に載置されたビーム開口57と信号中継基板45上の貫通口47を通過して露光ビームとなる。ドライバ41が駆動信号を出力し、駆動信号ケーブル40を経由して信号中継基板45に入力し、第1の光電変換部52で光信号に変換し、光導波路51を伝播した後、第2の光電変換部50で再び電気信号に変換され、接合電極49を介してブランカーデバイス基板56上のブランキング電極58aに印加されると、電子ビームは偏向作用を受けブランキングされた状態になる。
本実施例は、実施例1と相違して、ブランキングモジュール6が、ブランカーデバイス基板56(上述したように接合電極49上に搭載されブランキング電極が形成される。本実施例において第1の基板となる)第2の基板である信号中継基板45とから構成されていることである。その主たる理由はブランキング電極やビーム開口の製造プロセスと、光導波路や光電変換デバイスの製造プロセスが異なっているためである。本実施例では、このような場合でも信号中継基板45上の光導波路51を接合電極49の付近まで敷設しその終点である末端で光電変換を行い、電気信号として伝播する経路が最短になるように設計した。この結果、配線パターン及び接合電極49の静電容量と直流抵抗は十分小さくなり、駆動系の実質的な周波数特性は対向するブランキング電極58a、58b間の静電容量と第2の光電変換部50のフォトダイオードに入れたシャント抵抗の値が支配的となりほぼ設計値通りの特性が得られている。
さらに本発明の実施例3に係る電子線露光装置について、図5を用いて説明する。図5は、図1の電子線露光装置におけるブランキングモジュール6に載置された複数のブランキング電極とそれらを駆動するビーム制御部22及び駆動信号を伝送する伝送路8の更に別の態様を表す図である。
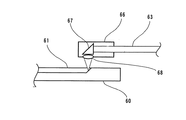
図5において、実施例1と同様に、42は描画データを各ビームのON/OFF信号パターンに変換し所望の露光時間と露光タイミングを提供するデータ処理部である。65は前記データ処理部42からのデータに従ってブランキングモジュール6内のブランカーを駆動するドライバである。60は、ビーム開口を有し、ブランキング電極、第2の光電変換部、光導波路、及び真空シール、等を載置したブランカー基板である。62は光ファイバーケーブル63と光導波路61を結合するための光カプラ−であり、64はドライバ65に搭載され、ブランキング電極を駆動するための駆動信号を電気信号から光信号に変換するための第1の光電変換部である。
ブランカー基板60の構成は光導波路61の端部を除いて実施例1と同様なので説明を省略する。本実施例では、第1の光電変換部64がドライバ65に搭載されている。この段階でブランキング電極の駆動信号を電気信号から光信号に変換し、ほぼ全ての信号伝送経路を光伝送路で構成するという意図がある。第1の光電変換部64は他の実施例と同様に、アレイ型のレーザーダイオードと変調器で構成し、高速かつ広帯域に対応できるようにしてある。ここでの発熱はドライバ65が収納されている容器内で効率よく除去できるので、第1の光電変換部64の光出力を最大値付近まで高めてある。光信号に変換されたブランキング電極の駆動信号は、光ファイバーケーブル63を伝播する。光ファイバーケーブル63は各ブランキング電極に対応した光ファイバーを複数束ねたものである。本実施例では光導波路61の配列パターン、仕上がり外径及び可撓性、等を考慮して256本を一束とし、さらに二束を一組にしてケーブルを構成してある。光ファイバーケーブル63を伝播してきた光信号は光導波路の始点に載置された光結合器である光カプラ−62でブランカー基板60上の光導波路61と光結合される。この光結合の詳細を図6に示す。
図6において、66は光カプラ−のハウジングであり、63はその端部をハウジング66に挿入された光ファイバーケーブルである。67は信号光の角度を変えるための反射器であり、68は集光レンズであり、61はブランカー基板60に載置された光導波路である。
光ファイバーケーブル63内を伝播してきた光信号は、光カプラ−62のハウジング66の内部に載置された反射器67で光導波路61が載置されている面に垂直に入射するように90°方向を変え、集光レンズ68を通して光導波路61に導入される。集光レンズ68は出力光のスポット径が光導波路61の大きさに合うようにそのパワーと作動距離が決定されており、光結合の際に生じる損失を抑制し結合効率を最大限まで高めるよう設計されている。集光レンズ68に対向する光導波路61の端部は入射光に対して45°に加工された面に反射層を載置し、入射光を導波路中に導入するようになっている。光伝送路の径が同程度であり、他に特殊な要因がなければ、通常このような結合方法による損失は−3dB以内にすることができる。本実施例では、光ファイバーケーブル63を構成する個々の光ファイバーの径と光導波路61の大きさに相当量の相違があるため、実際の損失は−9dB程度であった。
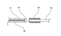
図7はこの光結合に関する別の方法を示したものであり、同図において66は光カプラ−のハウジングであり、63はその端部をハウジング66に挿入された光ファイバーケーブル、69は集光レンズ、61はブランカー基板60に載置された光導波路である。
ここで光導波路61は、積層型で構成しその端部がブランカー基板60の端部と同一面になるように加工してある。その同一面に集光レンズ69を載置し、光ファイバーケーブル63から射出された光出力を光導波路61内に導入している。光ファイバーケーブル63を構成する各々の光ファイバーの径は図6で採用した光ファイバーよりも細くしてある。径の大きな光ファイバーを用いる必要がある場合は、ハウジング66の光ファイバー端部が露出している面に別の集光レンズを追加載置して、そのレンズとブランカー基板60の端面に載置した集光レンズ69とを協働させて結合効率を上げることもできる。
図5に戻って、光カプラ−62でブランカー基板60上の光導波路61に導入した光信号は、実施例1と同様な過程を経て、ブランキング電極を駆動し、電子ビームを偏向させてブランキング動作を行う。前述したように、本実施例では、ブランキング電極の駆動信号をドライバ65内部で電気信号から光信号に変換し、信号伝送線路全域に渡って光伝送を行うようになっていいる。特に光ファイバーケーブル63は、その長さの自由度が大きく取れることから、本実施例においても8m程度の長さを持たせている。ブランカー基板や信号中継基板までの経路を電気信号として伝送した場合には、駆動信号の遅延と容量性負荷の増大による信号歪を考慮すれば、駆動信号ケーブルの長さは1m程度が限界であった。また異なる光伝送路を結合させながら信号伝送を行う場合であってもその結合方法を工夫すれば、結合による損失を実効上問題のないレベルに抑制することが知られている。このことからすれば、本実施例においては、伝送路の光結合は1箇所であったが、装置の構造やブランカーモジュールの構造によって光結合を多数回行うことで最適な実装形態が得られることになる。
次に、上記実施例に係る電子線露光装置を利用した半導体デバイスの製造プロセスを説明する。図10は半導体デバイスの全体的な製造プロセスのフローを示す図である。ステップ1(回路設計)では半導体デバイスの回路設計を行う。ステップ2(EBデータ変換)では設計した回路パターンに基づいて電子線描画(露光)装置の露光制御データを作成する。
一方、ステップ3(ウエハ製造)ではシリコン等の材料を用いて試料であるウエハを製造する。ステップ4(ウエハプロセス)は前工程と呼ばれ、上記露光制御データが入力された露光装置とウエハを用い、リソグラフィ技術を利用してウエハ上に実際の回路を形成する。次のステップ5(組み立て)は後工程と呼ばれ、ステップ4によって作製されたウエハを用いて半導体チップ化する工程であり、アッセンブリ工程(ダイシング、ボンディング)、パッケージング工程(チップ封入)等の組み立て工程を含む。ステップ6(検査)ではステップ5で作製された半導体デバイスの動作確認テスト、耐久性テスト等の検査を行う。こうした工程を経て半導体デバイスが完成し、ステップ7でこれを出荷する。

上記ステップ4のウエハプロセスは以下のステップを有する。ウエハの表面を酸化させる酸化ステップ、ウエハ表面に絶縁膜を成膜するCVDステップ、ウエハ上に電極を蒸着によって形成する電極形成ステップ、ウエハにイオンを打ち込むイオン打ち込みステップ、ウエハに感光剤を塗布するレジスト処理ステップ、上記の露光装置によって回路パターンをレジスト処理ステップ後のウエハに焼付け露光する露光ステップ、露光ステップで露光したウエハを現像する現像ステップ、現像ステップで現像したレジスト像以外の部分を削り取るエッチングステップ、エッチングが済んで不要となったレジストを取り除くレジスト剥離ステップ。これらのステップを繰り返し行うことによって、ウエハ上に多重に回路パターンを形成する。
本発明の実施例1に係る電子線露光装置の概略構成を表す立面図である。 本発明の実施例1に係る電子線露光装置のブランキングモジュールとその周辺回路を示した平面図である。 本発明の実施例2に係る電子線露光装置のブランキング開口とブランキング電極周辺の伝送線路及び駆動部を表す平面図である。 本発明の実施例2に係る電子線露光装置のブランキング電極が形成されたブランカーデバイス基板を表す平面図である。 本発明の実施例3に係る電子線露光装置のブランキング開口とブランキング電極周辺の伝送線路及び駆動部を表す平面図である。 本発明の実施例3に係る光結合部付近の構造の詳細を表す図である。 本発明の実施例3に係る光結合部付近の別の構造の詳細を表す図である。 従来のマルチビーム型電子線露光装置の概要を表す図である。 従来のマルチビーム型電子線露光装置のブランキングモジュールを表す図である 半導体デバイスの全体的な製造プロセスのフローを示す図である。
符号の説明
1:電子銃
2:電子ビーム
3:コンデンサーレンズ
4:要素電子光学系
5:成形系
6:ブランキングモジュール
7a,7b:中間像
8: 伝送路
10:ブランキングアパーチャ
11:補正レンズ群
12,16:磁気対称ダブレットレンズ(磁界レンズ)
13:磁界偏向器
14:静電偏向器
15:ダイナミックフォーカスコイル
17:制限開口
18:試料
19:XYZステージ
20:マウント
21:制御系
22:ビーム制御部
30:ブランカー基板
31:真空シール
32:ビーム開口
33:ブランキング電極
34:光導波路
35:第2の光電変換部
36:相互接続配線パターン
37:第1の光電変換部
38:配線パターン
39:入力コネクタ
40:駆動信号ケーブル
41:ドライバ
42:データ処理部
45:信号中継基板
46:真空シール
47:貫通口
48:相互接続配線パターン
49:接合電極
50:第2の光電変換部
51:光導波路
52:第1の光電変換部
56:ブランカーデバイス基板
57:ビーム開口
58a,58b:ブランキング電極
60:ブランカー基板
61:光導波路
62:光カプラー
63:光ファイバーケーブル
64:第1の光電変換部
65:ドライバ
66:ハウジング
67:反射器
68,69:集光レンズ

Claims (6)

  1. 複数の電子の照射を個別に制御する複数のブランキング電極と、前記複数のブランキング電極を駆動するための駆動信号を伝送する伝送線路とを有し前記複数の電子線によって試料パターンを描画する電子線露光装置において、
    前記伝送線路は、第1の基板に形成された光伝送路と、前記光伝送路の始点側で前記駆動信号を電気信号から光信号に変換する第1の光電変換部と、前記第1の光電変換部で変換された光信号を前記光伝送路の終点側で電気信号に変換する複数の第2の光電変換部とを有し、前記複数の第2の光電変換部で変換された電気信号によって前記複数のブランキング電極が制御され、
    前記第1の基板には、環状の真空シールが配置され、前記真空シールの内側が真空となり、前記真空シールの外側が大気圧となるように真空隔壁が形成され、前記光伝送路の始点側である前記真空シールの外側に前記第1の光電変換部が配置され、前記光伝送路の終点側である前記真空シールの内側に前記複数の第2の光電変換部が配置されている、
    ことを特徴とする電子線露光装置。
  2. 前記光伝送路は前記第1の基板に形成された光導波路を含む、
    ことを特徴とする請求項1に記載の電子線露光装置。
  3. 前記複数のブランキング電極は、前記第1の基板によって支持されたの基板に形成され、前記複数のブランキング電極と前記複数の第2の光電変換部とが接合電極を介して接続されている
    ことを特徴とする請求項1または請求項2に記載の電子線露光装置。
  4. 前記第2の光電変換部は発電素子である、
    ことを特徴とする請求項1乃至の何れか一項に記載の電子線露光装置。
  5. 前記第1の光電変換部にて変換された光信号を伝送する光ファイバと、前記光導波路の始点に載置され前記光ファイバと結合するための集光レンズを備える光結合器とを有し、前記駆動信号は前記光ファイバを通り前記光結合器において光ファイバの出力光のスポット径が前記光導波路の大きさに合うように前記集光レンズで集光されて前記光導波路に導入され、前記複数のブランキング電極を駆動する、
    ことを特徴とする請求項2乃至の何れか一項に記載の電子線露光装置。
  6. 請求項1乃至の何れか一項に記載の電子線露光装置を用いて、前記試料に露光を行う工程と、露光された前記試料を現像する工程と、を具備することを特徴とするデバイス製造方法。
JP2005017700A 2005-01-26 2005-01-26 電子線露光装置およびデバイス製造方法 Expired - Fee Related JP4652829B2 (ja)

Priority Applications (1)

Application Number Priority Date Filing Date Title
JP2005017700A JP4652829B2 (ja) 2005-01-26 2005-01-26 電子線露光装置およびデバイス製造方法

Applications Claiming Priority (1)

Application Number Priority Date Filing Date Title
JP2005017700A JP4652829B2 (ja) 2005-01-26 2005-01-26 電子線露光装置およびデバイス製造方法

Publications (3)

Publication Number Publication Date
JP2006210460A JP2006210460A (ja) 2006-08-10
JP2006210460A5 JP2006210460A5 (ja) 2008-03-06
JP4652829B2 true JP4652829B2 (ja) 2011-03-16

Family

ID=36966989

Family Applications (1)

Application Number Title Priority Date Filing Date
JP2005017700A Expired - Fee Related JP4652829B2 (ja) 2005-01-26 2005-01-26 電子線露光装置およびデバイス製造方法

Country Status (1)

Country Link
JP (1) JP4652829B2 (ja)

Families Citing this family (12)

* Cited by examiner, † Cited by third party
Publication number Priority date Publication date Assignee Title
TWI300308B (en) * 2002-10-25 2008-08-21 Mapper Lithography Ip Bv Lithography system
NL2005583C2 (en) 2009-10-26 2014-09-04 Mapper Lithography Ip Bv Modulation device and charged particle multi-beamlet lithography system using the same.
JP2012023316A (ja) * 2010-07-16 2012-02-02 Canon Inc 荷電粒子線描画装置および物品の製造方法
US8921758B2 (en) * 2010-10-26 2014-12-30 Mapper Lithography Ip B.V. Modulation device and charged particle multi-beamlet lithography system using the same
US8558196B2 (en) * 2010-11-13 2013-10-15 Mapper Lithography Ip B.V. Charged particle lithography system with aperture array cooling
JP5253532B2 (ja) * 2011-03-01 2013-07-31 キヤノン株式会社 偏向器アレイ、偏向器アレイの製造方法、描画装置、および物品の製造方法
JP6038882B2 (ja) * 2011-04-20 2016-12-07 マッパー・リソグラフィー・アイピー・ビー.ブイ. 光ファイバの構成体及びこのような構成体を形成する方法
JP2013008878A (ja) * 2011-06-24 2013-01-10 Canon Inc 描画装置、物品の製造方法、及び処理装置
JP5963139B2 (ja) * 2011-10-03 2016-08-03 株式会社Param 電子ビーム描画方法および描画装置
JP6847886B2 (ja) * 2018-03-20 2021-03-24 株式会社東芝 荷電粒子ビーム偏向デバイス
JP7186739B2 (ja) * 2020-03-11 2022-12-09 株式会社東芝 荷電粒子ビーム偏向デバイス
CN116413856B (zh) * 2023-06-12 2024-01-09 之江实验室 端面耦合器及其制备方法

Family Cites Families (7)

* Cited by examiner, † Cited by third party
Publication number Priority date Publication date Assignee Title
JPS57204131A (en) * 1981-06-10 1982-12-14 Toshiba Mach Co Ltd Electron-ray drawing device
JPH0582069A (ja) * 1991-09-25 1993-04-02 Hitachi Ltd 電子線描画装置
JP3191998B2 (ja) * 1992-09-01 2001-07-23 富士ゼロックス株式会社 光通信用波長多重送受信器
JP2001126972A (ja) * 1999-10-25 2001-05-11 Hitachi Ltd 電子ビーム描画装置および電子ビームを用いた描画方法
US20020145113A1 (en) * 2001-04-09 2002-10-10 Applied Materials, Inc. Optical signal transmission for electron beam imaging apparatus
TWI300308B (en) * 2002-10-25 2008-08-21 Mapper Lithography Ip Bv Lithography system
CN1829945B (zh) * 2003-07-30 2010-05-05 迈普尔平版印刷Ip有限公司 调制器电路

Also Published As

Publication number Publication date
JP2006210460A (ja) 2006-08-10

Similar Documents

Publication Publication Date Title
JP6861683B2 (ja) 変調装置およびそれを使用する荷電粒子マルチ小ビームリソグラフィシステム
JP4652829B2 (ja) 電子線露光装置およびデバイス製造方法
EP2302457B1 (en) Lithography system
US8841636B2 (en) Modulation device and charged particle multi-beamlet lithography system using the same
JP6038882B2 (ja) 光ファイバの構成体及びこのような構成体を形成する方法
TWI870640B (zh) 用於操縱電子小射束之透鏡總成
JP4405867B2 (ja) 電子線露光装置、および、デバイス製造方法
KR20010007211A (ko) 하전 입자 빔 결상 방법, 하전 입자 빔 결상 장치 및 하전입자 빔 노광 장치
KR101028063B1 (ko) 마스크리스 리소그래피 시스템
JP2015070213A (ja) 描画装置、および物品の製造方法
TWI506324B (zh) 光纖的配置及形成此種配置的方法
JP2008210897A (ja) 露光装置、及びデバイス製造方法
KR101293823B1 (ko) 리소그라피 장치 및 투영 방법
CN116802764A (zh) 电子透镜
JP2013182945A (ja) 描画装置および物品製造方法
JP2013143451A (ja) 描画装置、物品の製造方法及び処理装置

Legal Events

Date Code Title Description
A521 Request for written amendment filed

Free format text: JAPANESE INTERMEDIATE CODE: A523

Effective date: 20080121

A621 Written request for application examination

Free format text: JAPANESE INTERMEDIATE CODE: A621

Effective date: 20080121

RD03 Notification of appointment of power of attorney

Free format text: JAPANESE INTERMEDIATE CODE: A7423

Effective date: 20090413

RD03 Notification of appointment of power of attorney

Free format text: JAPANESE INTERMEDIATE CODE: A7423

Effective date: 20090709

A977 Report on retrieval

Free format text: JAPANESE INTERMEDIATE CODE: A971007

Effective date: 20100909

A131 Notification of reasons for refusal

Free format text: JAPANESE INTERMEDIATE CODE: A131

Effective date: 20100913

A521 Request for written amendment filed

Free format text: JAPANESE INTERMEDIATE CODE: A523

Effective date: 20101112

TRDD Decision of grant or rejection written
A01 Written decision to grant a patent or to grant a registration (utility model)

Free format text: JAPANESE INTERMEDIATE CODE: A01

Effective date: 20101203

A01 Written decision to grant a patent or to grant a registration (utility model)

Free format text: JAPANESE INTERMEDIATE CODE: A01

A61 First payment of annual fees (during grant procedure)

Free format text: JAPANESE INTERMEDIATE CODE: A61

Effective date: 20101216

R150 Certificate of patent or registration of utility model

Free format text: JAPANESE INTERMEDIATE CODE: R150

FPAY Renewal fee payment (event date is renewal date of database)

Free format text: PAYMENT UNTIL: 20131224

Year of fee payment: 3

R250 Receipt of annual fees

Free format text: JAPANESE INTERMEDIATE CODE: R250

LAPS Cancellation because of no payment of annual fees