JP4635269B2 - 多層構造の電気的部品および圧電式部品のための付加的接触接続部 - Google Patents

多層構造の電気的部品および圧電式部品のための付加的接触接続部 Download PDF

Info

Publication number
JP4635269B2
JP4635269B2 JP2003511345A JP2003511345A JP4635269B2 JP 4635269 B2 JP4635269 B2 JP 4635269B2 JP 2003511345 A JP2003511345 A JP 2003511345A JP 2003511345 A JP2003511345 A JP 2003511345A JP 4635269 B2 JP4635269 B2 JP 4635269B2
Authority
JP
Japan
Prior art keywords
piezoelectric
contact element
stack
contact
electrical
Prior art date
Legal status (The legal status is an assumption and is not a legal conclusion. Google has not performed a legal analysis and makes no representation as to the accuracy of the status listed.)
Expired - Lifetime
Application number
JP2003511345A
Other languages
English (en)
Other versions
JP2004534406A (ja
Inventor
クラーマー ディーター
ハーン イリス
シュー カールステン
シュタインコプフ トルステン
ヴォルフ アンドレアス
Current Assignee (The listed assignees may be inaccurate. Google has not performed a legal analysis and makes no representation or warranty as to the accuracy of the list.)
TDK Electronics AG
Original Assignee
Epcos AG
Priority date (The priority date is an assumption and is not a legal conclusion. Google has not performed a legal analysis and makes no representation as to the accuracy of the date listed.)
Filing date
Publication date
Application filed by Epcos AG filed Critical Epcos AG
Publication of JP2004534406A publication Critical patent/JP2004534406A/ja
Application granted granted Critical
Publication of JP4635269B2 publication Critical patent/JP4635269B2/ja
Anticipated expiration legal-status Critical
Expired - Lifetime legal-status Critical Current

Links

Images

Classifications

    • HELECTRICITY
    • H10SEMICONDUCTOR DEVICES; ELECTRIC SOLID-STATE DEVICES NOT OTHERWISE PROVIDED FOR
    • H10NELECTRIC SOLID-STATE DEVICES NOT OTHERWISE PROVIDED FOR
    • H10N30/00Piezoelectric or electrostrictive devices
    • H10N30/50Piezoelectric or electrostrictive devices having a stacked or multilayer structure
    • HELECTRICITY
    • H10SEMICONDUCTOR DEVICES; ELECTRIC SOLID-STATE DEVICES NOT OTHERWISE PROVIDED FOR
    • H10NELECTRIC SOLID-STATE DEVICES NOT OTHERWISE PROVIDED FOR
    • H10N30/00Piezoelectric or electrostrictive devices
    • H10N30/80Constructional details
    • H10N30/87Electrodes or interconnections, e.g. leads or terminals
    • H10N30/875Further connection or lead arrangements, e.g. flexible wiring boards, terminal pins

Landscapes

  • General Electrical Machinery Utilizing Piezoelectricity, Electrostriction Or Magnetostriction (AREA)
  • Fuel-Injection Apparatus (AREA)

Description

本発明はまず、多層構造の電気的部品とりわけ圧電式部品のための、請求項1の上位概念による付加的接触接続部に関する。さらに本発明は、請求項8の上位概念による、多層構造の圧電式部品に関する。
圧電式部品は多層構造部品として、それぞれ交互に配置された多数の圧電セラミック層および多数の電極層によって構成されており、その重要性は現在の電子工学においてますます高まっている。たとえば圧電式部品は、ピエゾアクチュエータの形態で調整駆動装置として、バルブ等と関連して使用される。
公知のピエゾアクチュエータは、たとえばDE19646676C1に記載されている。この種の圧電セラミックスでは、機械的な加圧ないしは張力で圧電セラミックスが帯電し、電圧が印加されるとセラミック層の主軸に沿って膨張するという効果が利用される。使用可能な長さ膨張を倍増させるため、たとえばモノリシック多層アクチュエータが使用される。このモノリシック多層アクチュエータは、圧電セラミックス(たとえばチタン酸ジルコン酸鉛)から成る薄いフィルムの焼結されたスタックと、積層された金属性の電極層とから成る。この電極層は交互にスタックから引き出され、外部のメタライジングによって電気的に並列接続される。こうするため、スタックの両コンタクト面には、筋状または帯状の連続した金属被覆部が取り付けられている。この金属被覆部は、同一の極性の電極層すべてに結合されている。しばしば、圧電式部品の金属被覆部と別の電気的端子エレメントとの間には、さらに付加的接触接続部が取り付けられており、この付加的接触接続部は種々の形態で形成できる。電圧を電気端子エレメントに印加すると、圧電フィルムは電界方向に膨張する。個々の圧電フィルムを機械的に直列接続することにより、電圧が比較的低くても、スタック全体の定格膨張率を達成することができる。
このようなアクチュエータは、機械的なストロークによって著しい負荷にさらされてしまう。ダイナミック駆動時にこのようなアクチュエータの寿命に関して決定的に重要であって、高いサイクル数および高い信頼性を達成するために重要なのは、電気的な外部接触接続である。この電気的な外部接続はたとえば、金属被覆部にそれぞれ付加的接触接続部を取り付けることによって実現される。付加的接触接続部はたとえば、銅によって被覆されたカプトンフィルム(Kaptonfolie)として構成される。このような付加的接触接続部はコンタクトラグとも称される。この付加的接触接続部は、全長にわたって適切な結合手段によって、それぞれ所属の金属被覆部と結合されている。前記結合手段は、たとえばレーザはんだ等である。このようにして、金属被覆部を分離するひび、たとえば分極ひび等がアクチュエータセラミックスで発生しても、圧電式部品の電気的な接触接続が保証される。しかし、このようなひびは、セラミック層ないしは金属被覆部にしか発生しないわけではない。
圧電式部品の動作中には、ひびは付加的接触接続部にも発生するおそれがある。付加的接触接続部ないしはコンタクトラグにおいて圧電式部品の動作中に発生したひびが拡大することは避けられず、この拡大は多数のパラメータによって決定される。付加的接触接続部の幅および設計技術上の構成はとりわけ、ひびの優勢な拡大方向と、最大で発生するひびの長さとによって方向付けなければならない。
同出願人によって提出された、本願出願前の特許出願DE19715487A1には、冒頭に述べたアクチュエータスタックが既製の空洞プロフィールに挿入されているピエゾアクチュエータが記載されている。前記アクチュエータスタックは、セラミック層と、該セラミック層の合間に設けられた電極層から成る。このためには、空洞プロフィールはまず、中央の切り欠きを有する。この切り欠きは、ピエゾアクチュエータスタックの形態にほぼ相応する。さらに、この切り欠きの側壁には2つのスロットが設けられており、これらによって電気的端子エレメントのための別の切り欠きが形成される。この解決手段によれば、前記スロットは湾曲して延在している。圧電式部品が空洞プロフィールへ挿入されると、アクチュエータスタックは中央の切り欠き内に取り付けられ、電気的端子エレメントは、該電気的端子エレメントのために設けられた切り欠き内に取り付けられる。電気的端子エレメントとアクチュエータスタックとの接続は、フィルムとして形成された付加的接触接続部を介して実施される。これはスロット内に設けられており、フレキシブルなフィルムとして形成された付加的接触接続部もまた、取り付けられた状態では小さく湾曲して延在している。
しかし、ピエゾアクチュエータをこのように構成しても、付加的接触接続部の全面にわたって拡大されたひびが拡大されるのを完全に阻止することはできない。最悪の場合、個々のアクチュエータ領域が電気的な給電線から分離してしまうおそれがある。
前記の従来技術から出発して本発明の課題は、従来の技術に関連して挙げられた欠点を回避することができるように、冒頭で述べた形式の付加的接触接続部および圧電式部品を発展させることである。とりわけ、耐故障性であり、かつダイナミック駆動時にも疲労が少ない、多層構造の電気的部品とりわけ圧電式部品の付加的接触接続部を提供しなければならない。
前記課題は本発明では、請求項1に記載された付加的接触接続部および請求項8に記載された多層構造の圧電式部品によって解決される。本発明の別の利点、構成、側面および効果は、従属項、明細書および図面に記載されている。本発明の付加的接触接続部に関連して説明されている構成および詳細は、もちろん圧電式部品にも当てはまり、その逆も当てはまる。
本発明の第1の側面によれば、多層構造の電気的部品、とりわけ圧電式部品のための次のような付加的接触接続部が提供される。すなわち、導電性のコンタクトエレメントを有し、このコンタクトエレメントは該電気的部品と少なくとも1つの電気的端子エレメントとを接続するために使用される付加的接触接続部が提供される。本発明では、付加的接触接続部の特徴は、コンタクトエレメントの形態が、クリティカルな引張負荷に対して応力変向(Spannungsumlagerung)が行われるような形態であることである。
ここで応力変向とは、概して、コンタクトエレメントのある領域に生じた(たとえば電気的部品の縦方向の)クリティカルな引張負荷の少なくとも一部が、別の方向に方向転換されることを指す。
このことを、排他的でない例に基づいて説明する。たとえば、コンタクトエレメントの形態が次のような形態であることが考えられる。すなわち、コンタクトエレメントが電気的部品に結合されている場所である該コンタクトエレメントの面に、完全な引張負荷が存在し、他方では該コンタクトエレメントにおいて、該コンタクトエレメントがたとえば電気的端子エレメントに接続されている領域(自由領域)に別の方向の応力が存在する形態であることが考えられる。
本発明の付加的接触接続部の構成によって、耐故障性であり、かつダイナミック駆動時にも疲労が少ない、電気的部品と少なくとも1つの電気的端子エレメントとの接続を保証することができる。
このためには、付加的接触接続部、ここではとりわけ該付加的接触接続部の導電性のコンタクトエレメントは、完全に特別な形態を有する。このことにより、電気的部品の接触接続を確実にし、同時に機械的応力の負荷を低減することができる。したがって本発明の基本的思想は、付加的接触接続部の次のような特別な構成である。すなわち、電気的部品と少なくとも1つの別の電気的端子エレメントとの間の重要な結合部材は、たとえばコネクタまたは接触ピン等である特別な構成である。
本発明によれば、付加的接触接続部のコンタクトエレメントは、クリティカルな引張負荷/加圧負荷等のクリティカルな負荷が低減されるような形態を有する。前記クリティカルな負荷は、たとえばアクチュエータ等の多層構造の圧電式部品の場合、交番負荷である。こうすることにより、コンタクトエレメントに発生されたひびによって、従来技術で説明された欠点が引き起こされない。こうするため、付加的接触接続部は本発明では、クリティカルな負荷、とりわけクリティカルな引張負荷に対して応力変向が行われるように構成される。こうすることにより疲労の拡大が緩慢になり、コンタクトエレメントの内部では疲労の拡大が止まる。したがって、本発明の付加的接触接続部が設けられた電気的部品の寿命が向上される。
本発明は、付加的接触接続部のための特定の実施形態にのみ制限されることはない。排他的でない幾つかの例を、明細書の以下の部分でより詳細に説明する。
有利にはコンタクトエレメントの構成は、たとえばコンタクトラグ等のコンタクトエレメントの、電気的部品から離れた領域でも、応力が低減されるように選択される。
コンタクトエレメントを、導電性のフィルムとして形成すると有利である。このようなフィルムは、特に簡単かつ低コストで製造することができる。
有利には、コンタクトエレメントは少なくとも1つの事前変形部(Vorverformung)を有している。この事前変形部は、とりわけ撓曲部である。こうすることにより、コンタクトエレメントの疲労特性に対して悪影響を及ぼす機械的な引張負荷/加圧負荷を、特に有利に方向転換することができ、同時にコンタクトエレメントにおいて応力を低減することもできる。
「事前変形」とは、コンタクトエレメントが電気的部品に配置される前に、該コンタクトエレメントの形態を変化させるすべての形式の変形を指す。前記変化は、とりわけ永続的な変化である。
これと異なり、DE19715487A1に記載された圧電式部品の付加的接触接続部は、単に湾曲して延在するだけである。しかし、薄いフィルムから形成されるこの公知の付加的接触接続部は、事前変形部(撓曲部)を有していない。このフィルムが、湾曲したスロットへ挿入されると、フィルムは単に湾曲されて延在する。もちろん、フィルムはその後も変形されない。公知の解決手段で開示された付加的接触接続部が、相応するスロットから取出されると、弾性に起因して再び初期の形態をとる。この初期の形態は、全く変形されていない扁平な面である。
しかし、コンタクトエレメントの事前変形部(撓曲部)により、クリティカルな引張負荷に対して、本発明による応力変向を行うことができる。
有利にはコンタクトエレメントは、270°の角度を有する撓曲部を少なくとも1つ有する。その都度有利な角度は、要求および適用事例に応じて、電気的部品および付加的接触接続部に対して調整される。本発明は、上記領域内の特定の角度に制限されない。重要なのは、選択される角度が、定義された半径にあることだけである。有利にはコンタクトエレメントは、180°以下の角度を有する撓曲部を少なくとも1つ有する。
別の構成ではコンタクトエレメントは、コンタクト領域および固定領域を有している。前記コンタクト領域は、少なくとも1つの電気的端子エレメントと結合するために使用され、前記固定領域は、電気的部品と固定するために使用される。有利には、コンタクトエレメントはこの固定領域で少なくとも1つの事前変形部を有しており、この事前変形部はとりわけ撓曲部である。このようにして、コンタクトエレメントの疲労特性に悪影響を与える機械的な引張負荷/加圧負荷を変向すると同時に、電気的部品から離れたコンタクトエレメントの領域の応力も低減することができる。このことにより、コンタクトエレメントにおける疲労によるひびの拡大が緩慢になり、コンタクトエレメントの最初の半分で止められる。したがって、電気的部品全体の寿命が格段に向上される。というのも、コンタクトエレメントのひびによって、電気的部品の個々の領域が給電線から分離することがなくなるからである。このことは、明細書冒頭の枠で、公知である従来の解決手段で説明されている。
また、固定領域または両領域で、少なくとも1つの事前変形部、とりわけ撓曲部を設けることも考えられる。
有利にはコンタクトエレメントは、少なくとも一部の領域で構造化されている。コンタクトエレメントをこのように構造化することにより、該コンタクトエレメントにおけるひびの拡大がさらに緩慢にされるか、ないしは止められる。コンタクトエレメントを少なくとも一部の領域で構造化することにより、電気的部品の動作中のコンタクトエレメントの機械的な応力を最小にすることができる。
電気的部品がたとえば多層構造の圧電式部品である場合、該部品の圧電的に非アクティブな領域にひびが発生すると、このような機械的応力は特に大きくなってしまう。このひびはたとえば、圧電式部品が分極する際に発生する(分極ひび(Polungsriss))。伸長および収縮の際に、このようなひびが存在すると、圧電式部品の大きさが比較的大きく変化する。この大きな変化により、コンタクトエレメントにおいて大きな機械的応力が発生してしまう。この機械的応力はとりわけ、コンタクトエレメントが、たとえば接触ピン等の剛性の端子エレメントに固定的に結合されている場合に発生してしまう。
ここでコンタクトエレメントを少なくとも一部の領域で構造化すると、コンタクトエレメントのフレキシビリティを向上させることができる。こうするためたとえば、少なくとも1つの凹部および/または少なくとも1つの肉薄加工部がコンタクトエレメントに設けられる。凹部ないしは肉薄加工部の形態、大きさおよび位置付けは有利には、コンタクトエレメントが、とりわけ圧電式部品の伸縮方向にフレキシブルであるように構成される。どのようにコンタクトエレメントが有利に構造化されるかという解決手段は、同出願人によって提出された本出願前の特許出願EP1065735A2に記載されている。その点では、この開示内容は本発明の明細書に引用されている。
有利には付加的接触接続部は、少なくとも一部の領域で金属から形成される。この金属はとりわけ、Cu、Fe、鋼、ニッケル、コバルト、アルミニウム、ベリリウムのグループに含まれる金属である。特に有利には、付加的接触接続部は、銅ニッケル合金および/またはアルミニウムベースの合金から製造される。特に有利なのは、銅ベリリウム合金および/またはニッケルベリリウム合金である。これらの合金の特徴は、耐疲労性が高いことと、ひいては機械的な長時間安定性が高いことである。
付加的接触接続部の材料としては、金属の他に、たとえば有機性の導体材料等の非金属性の導体が考えられる。
本発明の第2の側面では、交互に常に圧電セラミック層および電極層が積層されて配置され、スタックが形成されている、多層構造の圧電式部品が提供される。ここでは、それぞれ少なくとも1つの第1の電極層、およびスタックにおいて後続する、該第1の電極層に隣接する第2の電極層は、交番的な極性で電気的に接触接続するため、それぞれ少なくとも1つの付加的接触接続部に接続される。本発明では圧電式部品の特徴は、付加的接触接続部が、前記の本発明の形式で構成されていることである。
このようにして、信頼性の高い付加的接触接続部を有する圧電式部品を提供することができ、セラミック層と電極層とから成るスタックと、たとえば少なくとも1つの電気的端子エレメントとの接続が、耐故障性であり、かつダイナミック駆動時にも疲労が少なくなるように構成することができる。
有利には、少なくとも1つの第1電極層および少なくとも1つの第2電極層は、交番的な極性で電気的に接触接続するため、それぞれ、片側でスタックに配置された少なくとも1つの金属被覆部に接続されている。ここでは、各金属被覆部は電気的に付加的接触接続部に結合されている。金属被覆部と付加的接触接続部との結合は、たとえばはんだ結合または溶接接合等の適切な結合手段を介して行われる。本発明は、金属被覆部と付加的接触接続部との間の特定の結合形式に制限されない。
有利には付加的接触接続部には、コンタクト領域および固定領域を有するコンタクトエレメントが設けられている。このコンタクトエレメントは、コンタクト領域を介して少なくとも1つの電気的端子エレメントに結合され、該コンタクトエレメントは固定領域を介してスタックに、とりわけ少なくとも1つの金属被覆部に(該スタック内に設けられた電極層と同じ極性で)結合されている。
有利には付加的接触接続部は、少なくとも一部の領域で、パッシベーション材料により囲まれている。パッシベーション材料は一種の保護材料および/または絶縁材料であり、たとえばプラスチックから形成される。露出された電気的構成部材を電気的にパッシベーションすることは、隣接する露出された電気的部品間の電気的なフラッシュオーバおよび短絡を回避するために必要である。前記露出された電気的構成部材は、たとえば付加的接触接続部のコンタクトエレメント、圧電式部品に設けられた電極層等である。
別の構成では、スタックおよび付加的接触接続部は単一の被覆部材内に配置されている。この単一の被覆部材は、有利にはパッシベーション材料から成る。ここでは付加的接触接続部のコンタクトエレメントに、たとえば適切なプラスチック等のパッシベーション材料が充填される。ここでは有利には、スタックの近接部すなわち直接の周辺部にパッシベーション材料が充填される。それゆえ、コンタクトエレメントも、ダイナミック駆動時には圧電式の多層構成素子のスタックとともに均一に膨張する。したがって、コンタクトエレメントと圧電式部品との間の接続場所および該コンタクトエレメント自体にかかる機械的な負荷が、格段に低減される。ダイナミック駆動時のこのような追従効果は、とりわけ、コンタクトエレメントからスタックまでの間隔が、意図的に可能な限り小さく維持されることによって保証される。
有利には、前述の本発明の圧電式部品は、ピエゾアクチュエータまたは圧電変換器として構成される。このような圧電式部品の構成例は、スタックアクチュエータ、トランスバーサルアクチュエータ、撓曲アクチュエータ、超音波診断ないし超音波治療のための変換器等である。とりわけ圧電式部品は、自動車システムにおけるピエゾアクチュエータとして、たとえばガソリン噴射システムおよびディーゼル噴射システムのための調整駆動装置として使用される。
ここで本発明を、実施例に基づき、添付された図面に関連してより詳細に説明する。
図面
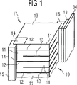
図1 本発明による多層構造の圧電式部品の一部を斜視的に示した図である。
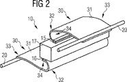
図2 電気的部品のための付加的接触接続部の本発明による実施形態を斜視的に示した図である。
図1には、アクチュエータとして構成された多層構造の圧電式部品10が示されている。ピエゾアクチュエータ10は、多数の圧電セラミック層11と電極層12,13とから成るスタック17を形成している。ここでは、電極層12および13の極性はそれぞれ異なっており、同じ極性の電極層は第1の電極層12と称されるか、ないしは第2の電極層13と称される。同じ極性の電極層12ないしは13はそれぞれ、共通の金属被覆部15ないしは16に結合されている。
さらに、非アクティブな絶縁ゾーン14が示されている。この絶縁ゾーン14は、連続した電極層12,13の対向するコーナに交互に配置されている。これらの電極層12,13は、この場合、スタック断面にわたって延在していない。この構成により、すべての第1電極層12ないしはすべての第2電極層13が、それぞれ同じ電極と、垂直な共通の外部金属被覆部15ないしは16によって共通に結合される。外部金属被覆部15,16はたとえば、適切な帯状の金属被覆部である。
金属被覆部16と関連して示されているように、この金属被覆部16は、適した結合手段18を介して付加的接触接続部30に結合されている。前記結合手段18は、たとえばはんだ接合部または溶接接合部等である。同様にして、金属被覆部15も付加的接触接続部(図示されていない)に結合されている。
付加的接触接続部30の構成は、図2に示されている。
図2にはまず、ピエゾアクチュエータ10の積層された層17が「スタック」として、非常に簡単な形態で示されている。スタック17の相互に対向する面には、金属被覆部15,16が設けられており、これらの金属被覆部を介して、スタック17は付加的接触接続部30によって電気的端子エレメント20に接続されている。この端子エレメント20は、たとえば適切な接触ピンである。
図2に示されているように、付加的接触接続部30はコンタクトエレメント31から成る。このコンタクトエレメント31は、たとえばフィルムである。コンタクトエレメント31はコンタクト領域33を有しており、このコンタクト領域33を介して電気的端子エレメント20との接続が実現される。さらに、コンタクトエレメント31は固定領域34を有し、この固定領域34によって、該コンタクトエレメント31は金属被覆部15,16と結合される。
ピエゾアクチュエータ10の駆動中には、悪影響を及ぼす機械的な張力/加圧の交番的な負荷が発生し、このような負荷によってコンタクトエレメント31にひびが発生するおそれがある。この負荷を最小にするため、コンタクトエレメント31は少なくとも1つの事前変形部を有している。この事前変形部は、とりわけ撓曲部32である。この実施例では、少なくとも1つの撓曲部32が固定領域34に形成されている。また、少なくとも1つの撓曲部32をコンタクト領域33にも形成するか、または両領域に形成することも考えられる。このような撓曲部32は、撓曲線に沿って形成されたコンタクトエレメント31の事前変形部である。これは、撓曲トルクないしは撓曲応力を負荷することによって形成される。この撓曲部32によって、クリティカルな張力/加圧の交番的な負荷に対して応力変向が行われ、同時に、スタック17から離れたコンタクトエレメント31の領域、ここではコンタクト領域33において応力が減少される。このことによって、コンタクトエレメント31において、疲労によるひびの拡大が緩慢になり、コンタクトエレメント31の最初の半分で、ここでは固定領域34で止められる。このようにして、アクチュエータセラミックスにおいてひびが金属被覆部15,16を分断し、付加的接触接続部30においてひびが発生しても、スタック17の電気的な接触接続を常に保証することができる。
撓曲部32に適した角度は、要求および適用事例に応じて選択される。図2に示された実施例では、撓曲部32に対して、180°の撓曲角度が選択されている。
付加的接触接続部30を本発明によって構成することにより、耐故障性であり、かつピエゾアクチュエータ10の駆動中でも疲労が少ない、スタック17と端子エレメント20との電気的接続を保証することができる。このことはとりわけ、自動車産業において十分に長いピエゾアクチュエータ10の寿命を保証するための中心的な前提である。
本発明による多層構造の圧電式部品の一部を斜視的に示した図である。
電気的部品のための付加的接触接続部の本発明による実施形態を斜視的に示した図である。

Claims (6)

  1. 多層構造の圧電式部品であって、
    圧電セラミック層(11)と電極層(12,13)とが交互に積層されて配置され、スタック(17)が形成されており、
    それぞれ、少なくとも1つの第1の電極層(12)、および該スタック(17)において後続する、該第1の電極層に隣接する第2の電極層(13)が、交番的な極性で電気的な接触接続のため、それぞれ、当該スタック(17)と少なくとも1つの電気的端子エレメント(20)とを接続するための少なくとも1つの付加的接触接続部であるコンタクトエレメント31)に接続されている形式のものにおいて、
    前記コンタクトエレメント(31)は、導電性のフィルムとして形成されており、
    前記コンタクトエレメント(31)は1つの縁辺側の固定領域(34)において、該圧電式部品の圧電セラミック層の積層方向に沿って前記スタック(17)に結合されており、かつ、該スタック(17)から外側に向かって曲げられており、
    前記コンタクトエレメント(31)は、該固定領域(34)と反対側の部分にあり前記積層方向に延在する縁辺側のコンタクト領域(33)において前記少なくとも1つの電気的端子エレメント(20)に結合されていることを特徴とする圧電式部品。
  2. 前記コンタクトエレメントは、少なくとも一部の領域においてCu、Fe、鋼、ニッケル、コバルト、アルミニウム、ベリリウムのグループに含まれる金属から形成されている、請求項記載の圧電式部品
  3. 少なくとも1つの第1の電極層(12)および少なくとも1つの第2の電極層(13)は、交番的な極性で電気的な接触接続のため、それぞれ、スタック(17)に片側に配置された少なくとも1つの金属被覆部(15,16)に接続されており、
    各金属被覆部(15,16)は、電気的に前記固定領域(34)に結合されている、請求項1または2記載の圧電式部品。
  4. 前記コンタクトエレメントは少なくとも一部の領域において、パッシベーション材料によって囲まれている、請求項1から3記載の圧電式部品。
  5. 該スタック(17)およびコンタクトエレメント31)は、単一の被覆部材内に配置されており、
    前記単一の被覆部材はパッシベーション材料から成る、請求項1から4までのいずれか1項記載の圧電式部
  6. 該圧電式部品は、ピエゾアクチュエータまたは圧電変換器として構成されている、請求項1から5までのいずれか1項記載の圧電式部品。
JP2003511345A 2001-06-29 2002-04-29 多層構造の電気的部品および圧電式部品のための付加的接触接続部 Expired - Lifetime JP4635269B2 (ja)

Applications Claiming Priority (2)

Application Number Priority Date Filing Date Title
DE10131621A DE10131621A1 (de) 2001-06-29 2001-06-29 Weiterkontaktierung für ein elektrisches Bauteil sowie piezoelektrisches Bauteil in Vielschichtbauweise
PCT/EP2002/004723 WO2003005490A2 (de) 2001-06-29 2002-04-29 Weiterkontaktierung für ein piezoelektrisches bauteil in vielschichtbauweise

Publications (2)

Publication Number Publication Date
JP2004534406A JP2004534406A (ja) 2004-11-11
JP4635269B2 true JP4635269B2 (ja) 2011-02-23

Family

ID=7690066

Family Applications (1)

Application Number Title Priority Date Filing Date
JP2003511345A Expired - Lifetime JP4635269B2 (ja) 2001-06-29 2002-04-29 多層構造の電気的部品および圧電式部品のための付加的接触接続部

Country Status (7)

Country Link
US (1) US20040169438A1 (ja)
EP (1) EP1405372B1 (ja)
JP (1) JP4635269B2 (ja)
CN (1) CN100342561C (ja)
DE (2) DE10131621A1 (ja)
TW (1) TW543160B (ja)
WO (1) WO2003005490A2 (ja)

Families Citing this family (9)

* Cited by examiner, † Cited by third party
Publication number Priority date Publication date Assignee Title
DE10341333B4 (de) * 2003-09-08 2006-06-08 Siemens Ag Piezoaktor und Verfahren zum Herstellen eines Piezoaktors
EP1673533B1 (de) * 2003-10-14 2015-12-23 Continental Automotive GmbH Piezoaktor und zugehöriges herstellungsverfahren
DE102004024867B3 (de) * 2004-05-19 2005-12-22 Siemens Ag Verfahren und Vorrichtung zur Kontaktierung eines piezoelektrischen Aktors
DE102004028884A1 (de) * 2004-06-15 2006-01-05 Robert Bosch Gmbh Piezoaktor
DE102007046077A1 (de) * 2007-09-26 2009-04-02 Epcos Ag Piezoelektrisches Vielschichtbauelement
DE102009034099A1 (de) * 2009-07-21 2011-01-27 Epcos Ag Piezoaktor mit elektrischer Kontaktierung
US9070880B2 (en) * 2010-12-23 2015-06-30 Lockheed Martin Corporation Method of manufacturing a tape cast multilayer sonar transducer
DE102013106223A1 (de) * 2013-06-14 2014-12-18 Epcos Ag Vielschichtbauelement mit einer Außenkontaktierung, einer Weiterkontaktierung und einem Verbindungselement
US11442544B2 (en) * 2017-05-01 2022-09-13 Apple Inc. Force transducer for electronic devices

Family Cites Families (10)

* Cited by examiner, † Cited by third party
Publication number Priority date Publication date Assignee Title
TW394454U (en) * 1990-09-14 2000-06-11 Cts Corp Piezoelectric component-mounting foil
JPH04214686A (ja) * 1990-10-05 1992-08-05 Nec Corp 電歪効果素子
DE4201937C2 (de) * 1991-01-25 1997-05-22 Murata Manufacturing Co Piezoelektrisches laminiertes Stellglied
JPH07245431A (ja) * 1994-03-02 1995-09-19 Nippondenso Co Ltd 積層形圧電体
DE19715488C1 (de) * 1997-04-14 1998-06-25 Siemens Ag Piezoaktor mit neuer Kontaktierung und Herstellverfahren
DE19715487C2 (de) * 1997-04-14 2002-06-13 Siemens Ag Piezoelektrischer Aktor mit einem Hohlprofil
DE19930585B4 (de) * 1998-08-06 2017-11-09 Epcos Ag Piezoaktor mit verbesserter elektrischer Kontaktierung und Verwendung eines derartigen Piezoaktors
US6144142A (en) * 1998-11-06 2000-11-07 Face International Corp. Multi-layer piezoelectric transformer mounting device
DE19917728A1 (de) * 1999-04-20 2000-10-26 Bosch Gmbh Robert Piezoelektrischer Aktor
EP1065735B1 (de) * 1999-06-29 2007-03-07 Siemens Aktiengesellschaft Piezoaktor mit einer elektrisch leitenden Mehrschichtfolie

Also Published As

Publication number Publication date
WO2003005490A2 (de) 2003-01-16
US20040169438A1 (en) 2004-09-02
WO2003005490A3 (de) 2003-09-25
EP1405372B1 (de) 2005-12-07
JP2004534406A (ja) 2004-11-11
CN1636301A (zh) 2005-07-06
DE10131621A1 (de) 2003-01-23
TW543160B (en) 2003-07-21
DE50205209D1 (de) 2006-01-12
CN100342561C (zh) 2007-10-10
EP1405372A2 (de) 2004-04-07

Similar Documents

Publication Publication Date Title
US6316863B1 (en) Piezo actuator with novel contacting and production method
US7851979B2 (en) Piezoceramic multilayer actuator, method for producing a piezoceramic multilayer actuator, and injection system
JP4465154B2 (ja) 電気的エレメント用のパシベーション材料および多層構造の圧電エレメント
CA2271281A1 (en) Piezo electric actuator with a new type of contacting and a method for the production thereof
JP4635269B2 (ja) 多層構造の電気的部品および圧電式部品のための付加的接触接続部
KR20030003250A (ko) 피에조세라믹 굽힘 변환기 및 그 사용 방법
JPH08242025A (ja) 圧電アクチュエータ
CZ2001578A3 (cs) Piezoelektrický ovladač
US6140745A (en) Motor mounting for piezoelectric transducer
JP4608185B2 (ja) 圧電式部品
JP2014504010A (ja) 環境の影響から保護されたピエゾアクチュエータ
KR20010072858A (ko) 개선된 전극 접점을 구비한 압전 다층 액츄에이터와 그제조방법
JP2012504858A (ja) 外部電極を有する圧電アクチュエータ
US10897004B2 (en) Piezoelectric drive device
JPH04167580A (ja) 積層圧電アクチュエータ素子
US7679273B2 (en) Strain tolerant metal electrode design
JP3572208B2 (ja) 積層型圧電アクチュエータ
WO2012173081A1 (ja) 積層型圧電アクチュエータ
JP2016529688A (ja) 外部接続部,延長接続部,および結合部材を有する多層デバイス
JP2010103249A (ja) 圧電アクチュエータ
JP2001052951A (ja) セラミック電子部品
JPS61276278A (ja) 積層型圧電体
JPH11214760A (ja) 積層型圧電アクチュエータ
JPH11163426A (ja) 積層型圧電アクチュエータ
JPH11204847A (ja) 積層型圧電アクチュエータ

Legal Events

Date Code Title Description
A621 Written request for application examination

Free format text: JAPANESE INTERMEDIATE CODE: A621

Effective date: 20050419

A131 Notification of reasons for refusal

Free format text: JAPANESE INTERMEDIATE CODE: A131

Effective date: 20090116

A601 Written request for extension of time

Free format text: JAPANESE INTERMEDIATE CODE: A601

Effective date: 20090413

A602 Written permission of extension of time

Free format text: JAPANESE INTERMEDIATE CODE: A602

Effective date: 20090420

A601 Written request for extension of time

Free format text: JAPANESE INTERMEDIATE CODE: A601

Effective date: 20090513

A602 Written permission of extension of time

Free format text: JAPANESE INTERMEDIATE CODE: A602

Effective date: 20090520

A601 Written request for extension of time

Free format text: JAPANESE INTERMEDIATE CODE: A601

Effective date: 20090615

A602 Written permission of extension of time

Free format text: JAPANESE INTERMEDIATE CODE: A602

Effective date: 20090622

A521 Request for written amendment filed

Free format text: JAPANESE INTERMEDIATE CODE: A523

Effective date: 20090716

A131 Notification of reasons for refusal

Free format text: JAPANESE INTERMEDIATE CODE: A131

Effective date: 20100205

A601 Written request for extension of time

Free format text: JAPANESE INTERMEDIATE CODE: A601

Effective date: 20100430

A602 Written permission of extension of time

Free format text: JAPANESE INTERMEDIATE CODE: A602

Effective date: 20100512

A601 Written request for extension of time

Free format text: JAPANESE INTERMEDIATE CODE: A601

Effective date: 20100602

A602 Written permission of extension of time

Free format text: JAPANESE INTERMEDIATE CODE: A602

Effective date: 20100609

A521 Request for written amendment filed

Free format text: JAPANESE INTERMEDIATE CODE: A523

Effective date: 20100705

TRDD Decision of grant or rejection written
A01 Written decision to grant a patent or to grant a registration (utility model)

Free format text: JAPANESE INTERMEDIATE CODE: A01

Effective date: 20100910

A01 Written decision to grant a patent or to grant a registration (utility model)

Free format text: JAPANESE INTERMEDIATE CODE: A01

A601 Written request for extension of time

Free format text: JAPANESE INTERMEDIATE CODE: A601

Effective date: 20101008

A602 Written permission of extension of time

Free format text: JAPANESE INTERMEDIATE CODE: A602

Effective date: 20101018

A711 Notification of change in applicant

Free format text: JAPANESE INTERMEDIATE CODE: A711

Effective date: 20101102

A61 First payment of annual fees (during grant procedure)

Free format text: JAPANESE INTERMEDIATE CODE: A61

Effective date: 20101105

A521 Request for written amendment filed

Free format text: JAPANESE INTERMEDIATE CODE: A821

Effective date: 20101102

FPAY Renewal fee payment (event date is renewal date of database)

Free format text: PAYMENT UNTIL: 20131203

Year of fee payment: 3

R150 Certificate of patent or registration of utility model

Ref document number: 4635269

Country of ref document: JP

Free format text: JAPANESE INTERMEDIATE CODE: R150

Free format text: JAPANESE INTERMEDIATE CODE: R150

R250 Receipt of annual fees

Free format text: JAPANESE INTERMEDIATE CODE: R250

R250 Receipt of annual fees

Free format text: JAPANESE INTERMEDIATE CODE: R250

R250 Receipt of annual fees

Free format text: JAPANESE INTERMEDIATE CODE: R250

R250 Receipt of annual fees

Free format text: JAPANESE INTERMEDIATE CODE: R250

R250 Receipt of annual fees

Free format text: JAPANESE INTERMEDIATE CODE: R250

R250 Receipt of annual fees

Free format text: JAPANESE INTERMEDIATE CODE: R250

R250 Receipt of annual fees

Free format text: JAPANESE INTERMEDIATE CODE: R250

R250 Receipt of annual fees

Free format text: JAPANESE INTERMEDIATE CODE: R250

R250 Receipt of annual fees

Free format text: JAPANESE INTERMEDIATE CODE: R250

EXPY Cancellation because of completion of term