JP4635016B2 - 情報処理装置およびインター予測モード判定方法 - Google Patents

情報処理装置およびインター予測モード判定方法 Download PDF

Info

Publication number
JP4635016B2
JP4635016B2 JP2007036846A JP2007036846A JP4635016B2 JP 4635016 B2 JP4635016 B2 JP 4635016B2 JP 2007036846 A JP2007036846 A JP 2007036846A JP 2007036846 A JP2007036846 A JP 2007036846A JP 4635016 B2 JP4635016 B2 JP 4635016B2
Authority
JP
Japan
Prior art keywords
inter prediction
dct
prediction mode
types
pixels
Prior art date
Legal status (The legal status is an assumption and is not a legal conclusion. Google has not performed a legal analysis and makes no representation as to the accuracy of the status listed.)
Expired - Fee Related
Application number
JP2007036846A
Other languages
English (en)
Other versions
JP2008205627A (ja
Inventor
達朗 藤澤
義浩 菊池
裕司 川島
真吾 鈴木
Current Assignee (The listed assignees may be inaccurate. Google has not performed a legal analysis and makes no representation or warranty as to the accuracy of the list.)
Toshiba Corp
Original Assignee
Toshiba Corp
Priority date (The priority date is an assumption and is not a legal conclusion. Google has not performed a legal analysis and makes no representation as to the accuracy of the date listed.)
Filing date
Publication date
Application filed by Toshiba Corp filed Critical Toshiba Corp
Priority to JP2007036846A priority Critical patent/JP4635016B2/ja
Priority to US12/027,772 priority patent/US8737482B2/en
Publication of JP2008205627A publication Critical patent/JP2008205627A/ja
Application granted granted Critical
Publication of JP4635016B2 publication Critical patent/JP4635016B2/ja
Expired - Fee Related legal-status Critical Current
Anticipated expiration legal-status Critical

Links

Images

Classifications

    • HELECTRICITY
    • H04ELECTRIC COMMUNICATION TECHNIQUE
    • H04NPICTORIAL COMMUNICATION, e.g. TELEVISION
    • H04N19/00Methods or arrangements for coding, decoding, compressing or decompressing digital video signals
    • H04N19/10Methods or arrangements for coding, decoding, compressing or decompressing digital video signals using adaptive coding
    • H04N19/169Methods or arrangements for coding, decoding, compressing or decompressing digital video signals using adaptive coding characterised by the coding unit, i.e. the structural portion or semantic portion of the video signal being the object or the subject of the adaptive coding
    • H04N19/17Methods or arrangements for coding, decoding, compressing or decompressing digital video signals using adaptive coding characterised by the coding unit, i.e. the structural portion or semantic portion of the video signal being the object or the subject of the adaptive coding the unit being an image region, e.g. an object
    • H04N19/176Methods or arrangements for coding, decoding, compressing or decompressing digital video signals using adaptive coding characterised by the coding unit, i.e. the structural portion or semantic portion of the video signal being the object or the subject of the adaptive coding the unit being an image region, e.g. an object the region being a block, e.g. a macroblock
    • HELECTRICITY
    • H04ELECTRIC COMMUNICATION TECHNIQUE
    • H04NPICTORIAL COMMUNICATION, e.g. TELEVISION
    • H04N19/00Methods or arrangements for coding, decoding, compressing or decompressing digital video signals
    • H04N19/10Methods or arrangements for coding, decoding, compressing or decompressing digital video signals using adaptive coding
    • H04N19/102Methods or arrangements for coding, decoding, compressing or decompressing digital video signals using adaptive coding characterised by the element, parameter or selection affected or controlled by the adaptive coding
    • H04N19/103Selection of coding mode or of prediction mode
    • H04N19/109Selection of coding mode or of prediction mode among a plurality of temporal predictive coding modes
    • HELECTRICITY
    • H04ELECTRIC COMMUNICATION TECHNIQUE
    • H04NPICTORIAL COMMUNICATION, e.g. TELEVISION
    • H04N19/00Methods or arrangements for coding, decoding, compressing or decompressing digital video signals
    • H04N19/10Methods or arrangements for coding, decoding, compressing or decompressing digital video signals using adaptive coding
    • H04N19/134Methods or arrangements for coding, decoding, compressing or decompressing digital video signals using adaptive coding characterised by the element, parameter or criterion affecting or controlling the adaptive coding
    • H04N19/136Incoming video signal characteristics or properties
    • HELECTRICITY
    • H04ELECTRIC COMMUNICATION TECHNIQUE
    • H04NPICTORIAL COMMUNICATION, e.g. TELEVISION
    • H04N19/00Methods or arrangements for coding, decoding, compressing or decompressing digital video signals
    • H04N19/60Methods or arrangements for coding, decoding, compressing or decompressing digital video signals using transform coding
    • H04N19/61Methods or arrangements for coding, decoding, compressing or decompressing digital video signals using transform coding in combination with predictive coding

Landscapes

  • Engineering & Computer Science (AREA)
  • Multimedia (AREA)
  • Signal Processing (AREA)
  • Compression Or Coding Systems Of Tv Signals (AREA)

Description

この発明は、例えばパーソナルコンピュータなどの情報処理装置に適用して好適な動画像の符号化技術に関する。
近年、動画像をソフトウェアによって符号化するソフトウェアエンコーダを搭載するパーソナルコンピュータが普及し始めている。また、最近では、次世代の動画像圧縮符号化技術として、H.264/AVC(Advanced Video Coding)規格が注目されている。このH.264/AVC規格は、MPEG2やMPEG4のような従来の圧縮符号化技術よりも高能率の圧縮符号化技術である。このため、H.264/AVC規格に対応するエンコード処理においては、MPEG2やMPEG4のような従来の圧縮符号化技術よりも多くの処理量が必要とされる。このようなことから、これまでも、動画像のエンコード処理量を低減するための提案等が種々なされている(例えば特許文献1等参照)。
特開2006−25077号公報
H.264/AVC規格に対応するエンコード処理では、マクロブロック毎の予測モードの判定の処理量が多い。特に、ハイプロファイル(HP:High Profile)では、インター予測において、予測モードのブロックサイズが8画素×8画素以上の場合、4画素×4画素のブロックサイズのDCT(Discrete Cosine Transform)、8画素×8画素のブロックサイズのDCTのいずれかから最適な方を選択可能となったことで、(実質的に、予測モード数×2の予測モードが存在することになり)当該インター予測の予測モード判定に要する処理量が、予測モード候補数に比例して増大する。このため、例えば画質劣化等を抑止しつつ、この予測モード判定を効率的に行う仕組みが強く望まれる。
この発明は、このような事情を考慮してなされたものであり、インター予測の予測モード判定を効率的に行うことを可能とした情報処理装置およびインター予測モード判定方法を提供することを目的とする。
前述した目的を達成するために、この発明の情報処理装置は、動画像信号を符号化する情報処理装置であって、符号化対象画面を分割したマクロブロックに対して、互いに異なるブロックサイズを処理単位とする複数種類のインター予測モードの中のいずれかのインター予測モードを用いて予測信号を生成するインター予測手段と、前記インター予測手段が生成した予測信号と前記マクロブロックの画像信号との間の予測残差信号を、互いに異なるブロックサイズを処理単位とする複数種類のDCT(Discrete Cosine Transform)の中のいずれかのDCTを用いて直交変換する変換手段と、前記マクロブロック毎に、前記インター予測手段が用いるインター予測モードと前記変換手段が用いるDCTとの組み合わせを、前記複数種類のインター予測モードと前記複数種類のDCTとの中から判定するインター予測モード判定手段と、を具備し、前記インター予測モード判定手段は、前記複数種類のDCTの中の特定種のDCTを対象として、前記複数種類のインター予測モードの中から所定数のインター予測モードを選択する第1の選択手段と、前記第1の選択手段が選択した前記所定数のインター予測モードと前記複数種類のDCTとの中から1つのインター予測モードおよびDCTの組み合わせを選択する第2の選択手段と、を有することを特徴とする。
また、この発明のインター予測モード判定方法は、符号化対象画面を分割したマクロブロックに対して、互いに異なるブロックサイズを処理単位とする複数種類のインター予測モードの中のいずれかのインター予測モードを用いて予測信号を生成するインター予測手段と、前記インター予測手段が生成した予測信号と前記マクロブロックの画像信号との間の予測残差信号を、互いに異なるブロックサイズを処理単位とする複数種類のDCT(Discrete Cosine Transform)の中のいずれかのDCTを用いて直交変換する変換手段とを具備し、動画像信号を符号化する情報処理装置のインター予測モード判定方法であって、前記マクロブロック毎に、前記複数種類のDCTの中の特定種のDCTを対象として、前記複数種類のインター予測モードの中から所定数のインター予測モードを選択し、前記選択した前記所定数のインター予測モードと前記複数種類のDCTとの中から1つのインター予測モードおよびDCTの組み合わせを選択し、この組み合わせを、前記複数種類のインター予測モードと前記複数種類のDCTとの中で前記インター予測手段が用いるインター予測モードと前記変換手段が用いるDCTとの組み合わせであると判定する、ことを特徴とする。
この発明によれば、インター予測の予測モード判定を効率的に行うことを可能とした情報処理装置およびインター予測モード判定方法を提供できる。
以下、図面を参照して、この発明の一実施形態を説明する。図1には、本実施形態に係る情報処理装置の構成例が示されている。この情報処理装置は、例えばバッテリ駆動可能なノートブック型パーソナルコンピュータ等として実現されている。
図1に示すように、このコンピュータは、CPU11、ノースブリッジ12、主メモリ13、グラフィックスコントローラ14、VRAM14A、LCD15、サウスブリッジ16、BIOS−ROM17、HDD18、HD DVD19、サウンドコントローラ20、スピーカ21、エンベデッドコントローラ/キーボードコントローラIC(EC/KBC)22、キーボード23、タッチパッド24、電源回路25、バッテリ26およびネットワークコントローラ27等を備えている。
CPU11は、本コンピュータ内の各部の動作を制御するプロセッサである。CPU11は、HDD18から主メモリ13にロードされるオペレーティングシステム(OS)100や、このOS100の制御下で動作する、ユーティリティを含む各種アプリケーションプログラムを実行する。この各種アプリケーションプログラムの中には、ビデオエンコーダアプリケーション200が含まれている。ビデオエンコーダアプリケーション200は、動画像を符号化するためのソフトウェアであり、H.264/AVC規格に対応するソフトウェアエンコーダとして動作する。また、CPU11は、BIOS−ROM17に格納されたBIOSも実行する。BIOSは、各種ハードウェア制御のためのプログラムである。
ノースブリッジ12は、CPU11のローカルバスとサウスブリッジ16との間を接続するブリッジデバイスである。ノースブリッジ12は、バスを介してグラフィックスコントローラ14との通信を実行する機能を有しており、また、主メモリ13をアクセス制御するメモリコントローラも内蔵されている。グラフィックスコントローラ14は、本コンピュータのディスプレイモニタとして使用されるLCD15を制御する表示コントローラである。グラフィックスコントローラ14は、VRAM14Aに書き込まれた画像データからLCD15に送出すべき表示信号を生成する。
サウスブリッジ16は、PCIバスおよびLPCバス上の各種デバイスを制御するコントローラである。また、このサウスブリッジ16には、BIOS−ROM17、HDD18、HD DVD19およびサウンドコントローラ20が直接的に接続され、これらを制御する機能も有している。サウンドコントローラ20は、スピーカ21を制御する音源コントローラである。
EC/KBC22は、電力管理のためのエンベデッドコントローラと、キーボード23およびタッチパッド24を制御するためのキーボードコントローラとが集積された1チップマイクロコンピュータである。EC/KBC22は、電源回路25と協働して、バッテリ26または外部AC電源からの電力を各部に供給制御する。そして、ネットワークコントローラ27は、例えばインターネットなどの外部ネットワークとの通信を実行する通信装置である。
次に、図2を参照して、このようなハードウェア構成の本コンピュータ上で動作するビデオエンコーダアプリケーション200によって実現されるソフトウェアエンコーダの機能構成を説明する。
ビデオエンコーダアプリケーション200によるエンコード処理は、H.264/AVC規格に対応しており、図示のように、ビデオエンコーダアプリケーション200は、入力部201、DCT・量子化部202、エントロピー符号化部203、逆量子化・逆DCT部204部、イントラ予測部205、デブロッキングフィルタ206、フレームメモリ207、動き検出部208、インター予測部209、予測モード判定部210、可算器211,212等を備えている。
ビデオエンコーダアプリケーション200は、入力部201から入力される各画面(ピクチャ)の符号化を、例えば16×16画素のマクロブロック単位で実行する。予測モード判定部210は、このマクロブロックごとに、フレーム内予測符号化モード(イントラ予測モード)および動き補償フレーム間予測符号化モード(インター予測モード)のいずれか一方を選択するものである。図3は、この予測モード判定部210の機能ブロックを示している。
図3に示すように、予測モード判定部210は、イントラ予測モード判定部2101、インター予測モード判定部2102およびイントラ・インター予測モード判定部2103を備えている。
イントラ予測モードおよびインター予測モードのいずれにも、各マクロブロック毎に選択し得る複数の予測モード候補が存在しており、第1に、イントラ予測モード判定部2101およびインター予測モード判定部2102のそれぞれが、この複数の予測モード候補の中から最もコストの優れた(符号量の少ない)予測モード候補を選択する。そして、第2に、イントラ・インター予測モード判定部2103が、イントラ予測モード判定部2101およびインター予測モード判定部2102がそれぞれ選択した2つの予測モード候補を比較して、よりコストの優れた方の予測モード、即ち、イントラ予測モードおよびインター予測モードのいずれか一方を最終的に選択する。
ところで、H.264/AVC規格のハイプロファイルでは、インター予測において、予測モードのブロックサイズが8画素×8画素以上の場合、4画素×4画素のブロックサイズのDCT、8画素×8画素のブロックサイズのDCTのいずれかから最適な方を選択可能となっている。従って、仮に、ある規格において、m種類の予測モードが存在し、かつ、n種類のDCTが選択可能である場合、図4に示すように、インター予測だけでm×n個の予測モード候補が実質的に存在することとなる。このような状況において、何らの工夫も凝らさずに、すべての予測モード候補について評価を行い最適な予測モード候補を選択するとしたならば、当該インター予測の予測モード判定に要する処理量が膨大となってしまう。そこで、本コンピュータのインター予測モード判定部2102は、例えば画質劣化等を抑制しつつ、この予測モード判定を効率的に行う仕組みを備えたものであり、以下、この点について詳述する。
なお、図2に機能構成が示されるソフトウェアエンコーダは、イントラ予測符号化モード時においては、イントラ予測部205が、符号化対象画面(ピクチャ)から予測信号s1を生成し、符号化対象画面(ピクチャ)からこの予測信号s1を引いた予測誤差信号s2を、DCT・量子化部202が直交変換および量子化し、エントロピー符号化部203が、イントラ予測モード情報、および量子化された直交変換係数に対しエントロピー符号化を行うことによって符号化する。
一方、インター予測符号化モード時においては、まず、動き検出部208が、フレームメモリ207に格納された既に符号化された画面(ピクチャ)からの動きを推定し、続いて、インター予測部209が、符号化対象画面に対応する動き補償フレーム間予測信号s3を定められた形状単位で生成する。そして、符号化対象画面(ピクチャ)から動き補償フレーム間予測信号s3を引いた予測誤差信号s4を、DCT・量子化部202が、直交変換および量子化し、エントロピー符号化部203が、インター予測モード情報、および量子化された直交変換係数に対しエントロピー符号化を行うことによって符号化する。
また、逆量子化・逆DCT部204は、直交変換および量子化された画像(ピクチャ)の量子化係数を逆量子化および逆直交変換するものであり、デブロッキングフィルタ206は、ブロックノイズを低減するためのデブロッキングフィルタ処理を行うものである。
図5は、本コンピュータのインター予測モード判定部2102が実行する予測モード判定の基本原理を説明するための図である。
最適な予測モードの候補は、DCTによらずにある程度の割合で同じとなる性質を有している。よって、先に予測モードの選択を行い、最適なDCTの選択判定を行う予測モードを絞り込んだ場合でも、真に最適な予測モードとDCTとの組み合わせを選択できる割合は相当高いといえる。本コンピュータのインター予測モード判定部2102は、この性質に着目し、まず、特定のDCTの条件下で予測モード判定を行い、最適な予測モード候補を選択する(図5(1))。そして、インター予測モード判定部2102は、その最適な予測モード候補のみを対象に、最適なDCTを選択する判定を行い、最終的に予測モードを決定する(図5(2))。なお、この際、特定のDCTについては、最適な予測モード候補の選択時に評価済みであるので、特定のDCT以外のDCTについてのみ評価を行えば良い。
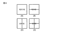
より具体的な例を挙げて説明すると、前述したH.264/AVC規格のハイプロファイルでは、図6に示すように、16画素×16画素、16画素×8画素、8画素×16画素、8画素×8画素の互いに異なるブロックサイズを処理単位とする4種類の予測モードが存在する。また、このH.264/AVC規格のハイプロファイルでは、図7に示すように、4画素×4画素、8画素×8画素の互いに異なるブロックサイズを処理単位とする2種類のDCTが存在する。従って、予測モード候補数は、4(図4,5のm)×2(図4,5のn)=8となる。
一方、本コンピュータのインター予測モード判定部2102は、まず、4画素×4画素および8画素×8画素の2種類のDCTのうち、例えば4画素×4画素の1(図5のN)種類のDCTのみで予測モードの評価を行い(候補数は4(m)×1(N))、最適な予測モード候補を例えば1(図5のM)個選択する。そして、この4画素×4画素のDCTで得られた1個の最適な予測モード候補のみを対象に、もう一方の8画素×8画像のDCTでの評価を行い(候補数は1(M)×(2(n)−1(N)))、最終的に予測モードを決定する。
つまり、この(最適な予測モード候補を1つとする)場合、本コンピュータのインター予測モード判定部2102は、4+1=5個まで(3個分)予測モード候補数を低減することを実現する。4画素×4画素のDCT、8画素×8画素のDCTで最適な予測モードが同じとなる確率は高いため、真に最適な組み合わせを選択できる割合は高く、画質劣化はほとんどない。
更に、本コンピュータのインター予測モード判定部2102は、予測が当たりやすいBピクチャでは最適な予測モード候補を1つとし、Pピクチャでは2に増やすといった制御を行っている。即ち、インター予測モード判定部2102は、ピクチャの種類に応じて予測モード候補数を決定することで、画質劣化を適応的に抑えながら、予測モード判定に要する処理量を削減することを実現している。
図8は、本コンピュータのインター予測モード判定部2102が実行する予測モード判定の動作手順を示すフローチャートである。
インター予測モード判定部2102は、まず、符号化対象画面がPピクチャまたはBピクチャのいずれであるのかを判定し(ステップA1)、Pピクチャであれば2、Bピクチャであれば1のごとく、その判定結果に基づき、最適予測モード候補数を決定する(ステップA2)。
次に、インター予測モード判定部2102は、複数種類のDCTの中の特定種類のDCTについて、全種類の予測モードそれぞれのコストを計算する(ステップA3)。このコスト計算の結果に基づき、インター予測モード判定部2102は、先に決定した候補数だけ最適予測モード候補を選択する(ステップA4)。
そして、インター予測モード判定部2102は、今度は、特定種類のDCT以外のDCTについて、先に決定した候補数だけ選択された最適予測モード候補それぞれのコストを計算し(ステップA5)、(ステップA3にて計算済みの特定種類のDCTに関わるコストを含めた中から)最適な予測モード、DCTを決定する(ステップA6)。
以上のように、本コンピュータによれば、例えば画質劣化等を招くことなく、インター予測の予測モード判定を効率的に行うことが可能となる。
なお、本発明は上記実施形態そのままに限定されるものではなく、実施段階ではその要旨を逸脱しない範囲で構成要素を変形して具体化できる。また、上記実施形態に開示されている複数の構成要素の適宜な組み合わせにより、種々の発明を形成できる。例えば、実施形態に示される全構成要素から幾つかの構成要素を削除してもよい。さらに、異なる実施形態にわたる構成要素を適宜組み合わせてもよい。
この発明の一実施形態に係る情報処理装置(パーソナルコンピュータ)の構成例を示す図 同実施形態のコンピュータ上で動作するビデオエンコーダアプリケーションによって実現されるソフトウェアエンコーダの機能構成を示す図 同実施形態のコンピュータ上で動作するビデオエンコーダアプリケーションの予測モード判定部の機能ブロックを示す図 インター予測の予測モード判定の一般的な基本原理を説明するための図 同実施形態のコンピュータ上で動作するビデオエンコーダアプリケーションのインター予測モード判定部が実行する予測モード判定の基本原理を説明するための図 同実施形態のコンピュータ上で動作するビデオエンコーダアプリケーションのインター予測モード判定部が実行する予測モード判定の一具体例を説明するための第1の図(予測モードの種類を例示する図) 同実施形態のコンピュータ上で動作するビデオエンコーダアプリケーションのインター予測モード判定部が実行する予測モード判定の一具体例を説明するための第2の図(DCTの種類を例示する図) 同実施形態のコンピュータ上で動作するビデオエンコーダアプリケーションのインター予測モード判定部が実行する予測モード判定の動作手順を示すフローチャート
符号の説明
11…CPU、12…ノースブリッジ、13…主メモリ、14…グラフィックスコントローラ、14A…VRAM、15…LCD、16…サウスブリッジ、17…BIOS−ROM、18…HDD、19…HD DVD、20…サウンドコントローラ、21…スピーカ、22…エンベデッドコントローラ/キーボードコントローラIC(EC/KBC)、23…キーボード、24…タッチパッド、25…電源回路、26…バッテリ、27…ネットワークコントローラ、100…オペレーティングシステム(OS)、200…ビデオエンコーダアプリケーション、201…入力部、202…DCT・量子化部、203…エントロピー符号化部、204…逆量子化・逆DCT部、205…イントラ予測部、206…デブロッキングフィルタ、207…フレームメモリ、208…動き検出部、209…インター予測部、210…予測モード判定部、211,212…可算器、2101…イントラ予測モード判定部、2102…インター予測モード判定部、2103…イントラ・インター予測モード判定部。

Claims (12)

  1. 動画像信号を符号化する情報処理装置であって、
    符号化対象画面を分割したマクロブロックに対して、互いに異なるブロックサイズを処理単位とする複数種類のインター予測モードの中のいずれかのインター予測モードを用いて予測信号を生成するインター予測手段と、
    前記インター予測手段が生成した予測信号と前記マクロブロックの画像信号との間の予測残差信号を、互いに異なるブロックサイズを処理単位とする複数種類のDCT(Discrete Cosine Transform)の中のいずれかのDCTを用いて直交変換する変換手段と、
    前記マクロブロック毎に、前記インター予測手段が用いるインター予測モードと前記変換手段が用いるDCTとの組み合わせを、前記複数種類のインター予測モードと前記複数種類のDCTとの中から判定するインター予測モード判定手段と、
    を具備し、
    前記インター予測モード判定手段は、
    前記複数種類のDCTの中の特定種のDCTを対象として、前記複数種類のインター予測モードの中から所定数のインター予測モードを選択する第1の選択手段と、
    前記第1の選択手段が選択した前記所定数のインター予測モードと前記複数種類のDCTとの中から1つのインター予測モードおよびDCTの組み合わせを選択する第2の選択手段と、
    を有することを特徴とする情報処理装置。
  2. 前記複数種類のDCTの各ブロックサイズは、第1のブロックサイズと、第1のブロックサイズよりも大きな第2のブロックサイズであり、前記予測モード判定手段の前記第1の選択手段は、この第1のブロックサイズを処理単位とするDCTおよび第2のブロックサイズを処理単位とするDCTの2つのDCTのうち、第1のブロックサイズを処理単位とする1つのDCTを対象として、前記複数種類のインター予測モードの中から所定数のインター予測モードを選択することを特徴とする請求項1記載の情報処理装置。
  3. 前記第1のブロックサイズは4画素×4画素であり、前記第2のブロックサイズは8画素×8画素であることを特徴とする請求項1記載の情報処理装置。
  4. 前記複数種類のインター予測モードの各ブロックサイズは、16画素×16画素、16画素×8画素、8画素×16画素および8画素×8画素であることを特徴とする請求項1記載の情報処理装置。
  5. 前記インター予測モード判定手段の前記第1の選択手段は、符号化対象画面の種類に応じて、前記複数種類のインター予測モードの中から選択するインター予測モードの個数である前記所定数を決定することを特徴とする請求項1記載の情報処理装置。
  6. 前記インター予測モード判定手段の前記第1の選択手段は、符号化対象画面がBピクチャの場合の方が、符号化対象画面がPピクチャの場合よりも少なく前記所定数を決定することを特徴とする請求項5記載の情報処理装置。
  7. 前記インター予測モード判定手段の前記第2の選択手段は、前記第1の選択手段が対象とする前記特定のDCT以外のDCTと前記第1の選択手段が選択した前記所定数のインター予測モードとの組み合わせについてのみ評価を行い、前記第1の選択手段が対象とする前記特定のDCTと前記第1の選択手段が選択した前記所定数のインター予測モードとの組み合わせについては、前記第1の選択手段が前記所定数のインター予測モードを選択するために行った評価を援用することを特徴とする請求項1記載の情報処理装置。
  8. 符号化対象画面を分割したマクロブロックに対して、互いに異なるブロックサイズを処理単位とする複数種類のインター予測モードの中のいずれかのインター予測モードを用いて予測信号を生成するインター予測手段と、前記インター予測手段が生成した予測信号と前記マクロブロックの画像信号との間の予測残差信号を、互いに異なるブロックサイズを処理単位とする複数種類のDCT(Discrete Cosine Transform)の中のいずれかのDCTを用いて直交変換する変換手段とを具備し、動画像信号を符号化する情報処理装置のインター予測モード判定方法であって、
    前記マクロブロック毎に、
    前記複数種類のDCTの中の特定種のDCTを対象として、前記複数種類のインター予測モードの中から所定数のインター予測モードを選択し、
    前記選択した前記所定数のインター予測モードと前記複数種類のDCTとの中から1つのインター予測モードおよびDCTの組み合わせを選択し、この組み合わせを、前記複数種類のインター予測モードと前記複数種類のDCTとの中で前記インター予測手段が用いるインター予測モードと前記変換手段が用いるDCTとの組み合わせであると判定する、
    ことを特徴とするインター予測モード判定方法。
  9. 前記複数種類のDCTの各ブロックサイズは、第1のブロックサイズと、第1のブロックサイズよりも大きな第2のブロックサイズであり、この第1のブロックサイズを処理単位とするDCTおよび第2のブロックサイズを処理単位とするDCTの2つのDCTのうち、第1のブロックサイズを処理単位とする1つのDCTを対象として、前記複数種類のインター予測モードの中から所定数のインター予測モードを選択することを特徴とする請求項8記載のインター予測モード判定方法。
  10. 前記第1のブロックサイズは4画素×4画素であり、前記第2のブロックサイズは8画素×8画素であることを特徴とする請求項8記載のインター予測モード判定方法。
  11. 符号化対象画面の種類に応じて、前記複数種類のインター予測モードの中から選択するインター予測モードの個数である前記所定数を決定することを特徴とする請求項8記載のインター予測モード判定方法。
  12. 符号化対象画面がBピクチャの場合の方が、符号化対象画面がPピクチャの場合よりも少なく前記所定数を決定することを特徴とする請求項11記載のインター予測モード判定方法。
JP2007036846A 2007-02-16 2007-02-16 情報処理装置およびインター予測モード判定方法 Expired - Fee Related JP4635016B2 (ja)

Priority Applications (2)

Application Number Priority Date Filing Date Title
JP2007036846A JP4635016B2 (ja) 2007-02-16 2007-02-16 情報処理装置およびインター予測モード判定方法
US12/027,772 US8737482B2 (en) 2007-02-16 2008-02-07 Information processing apparatus and inter-prediction mode determining method

Applications Claiming Priority (1)

Application Number Priority Date Filing Date Title
JP2007036846A JP4635016B2 (ja) 2007-02-16 2007-02-16 情報処理装置およびインター予測モード判定方法

Publications (2)

Publication Number Publication Date
JP2008205627A JP2008205627A (ja) 2008-09-04
JP4635016B2 true JP4635016B2 (ja) 2011-02-16

Family

ID=39706633

Family Applications (1)

Application Number Title Priority Date Filing Date
JP2007036846A Expired - Fee Related JP4635016B2 (ja) 2007-02-16 2007-02-16 情報処理装置およびインター予測モード判定方法

Country Status (2)

Country Link
US (1) US8737482B2 (ja)
JP (1) JP4635016B2 (ja)

Families Citing this family (14)

* Cited by examiner, † Cited by third party
Publication number Priority date Publication date Assignee Title
JP4635016B2 (ja) 2007-02-16 2011-02-16 株式会社東芝 情報処理装置およびインター予測モード判定方法
JP4922101B2 (ja) 2007-08-21 2012-04-25 株式会社東芝 情報処理装置およびインター予測モード判定方法
KR100939917B1 (ko) * 2008-03-07 2010-02-03 에스케이 텔레콤주식회사 움직임 예측을 통한 부호화 시스템 및 움직임 예측을 통한부호화 방법
JP4937224B2 (ja) * 2008-09-30 2012-05-23 株式会社東芝 画像符号化装置
KR101712097B1 (ko) * 2009-08-19 2017-03-03 삼성전자 주식회사 유연한 직교 변환에 기초한 영상 부호화, 복호화 방법 및 장치
WO2011023599A1 (en) * 2009-08-28 2011-03-03 Thomson Licensing Method for coding a sequence of images
KR101487687B1 (ko) 2010-01-14 2015-01-29 삼성전자주식회사 큰 크기의 변환 단위를 이용한 영상 부호화, 복호화 방법 및 장치
MX353109B (es) * 2010-04-09 2017-12-19 Mitsubishi Electric Corp Dispositivo codificador de imagen en movimiento y dispositivo decodificador de imagen en movimiento.
CN102131093A (zh) * 2011-01-13 2011-07-20 北京中星微电子有限公司 一种图像处理方法及装置
TWI602421B (zh) 2011-06-13 2017-10-11 Sun Patent Trust Image decoding method and image decoding apparatus
WO2013086654A1 (en) 2011-12-15 2013-06-20 Thomson Licensing Method and apparatus for video quality measurement
CN104885452A (zh) * 2012-08-27 2015-09-02 汤姆逊许可公司 用于估计视频质量评估的内容复杂度的方法和装置
EP2888877B1 (en) 2012-08-27 2018-05-02 Thomson Licensing Method and apparatus for estimating content complexity for video quality assessment
JP2018078545A (ja) * 2016-10-07 2018-05-17 財團法人工業技術研究院Industrial Technology Research Institute 画面内予測の予測モードを選択する方法、ビデオ符号化デバイス及び画像処理装置

Family Cites Families (22)

* Cited by examiner, † Cited by third party
Publication number Priority date Publication date Assignee Title
DE10022331A1 (de) * 2000-05-10 2001-11-15 Bosch Gmbh Robert Verfahren zur Transformationscodierung von Bewegtbildsequenzen
US6724818B1 (en) * 2000-07-17 2004-04-20 Telefonaktiebolaget Lm Ericsson (Publ) Alternative block orders for better prediction
US7649947B2 (en) * 2001-06-05 2010-01-19 Qualcomm Incorporated Selective chrominance decimation for digital images
EP2819411B1 (en) * 2001-09-14 2018-08-29 NTT DoCoMo, Inc. Coding method and decoding method
JP2003319394A (ja) 2002-04-26 2003-11-07 Sony Corp 符号化装置および方法、復号装置および方法、記録媒体、並びにプログラム
KR100922941B1 (ko) * 2002-11-04 2009-10-22 삼성전자주식회사 에너지에 기반한 적응적인 이산코사인 변환/역이산코사인변환 장치 및 방법
MXPA05006718A (es) * 2003-02-21 2005-09-08 Matsushita Electric Ind Co Ltd Metodo de codificacion de imagenes y metodo de decodificacion de imagenes.
US7280597B2 (en) * 2003-06-24 2007-10-09 Mitsubishi Electric Research Laboratories, Inc. System and method for determining coding modes, DCT types and quantizers for video coding
JP4130617B2 (ja) * 2003-09-04 2008-08-06 株式会社東芝 動画像符号化方法および動画像符号化装置
JP2005151017A (ja) 2003-11-13 2005-06-09 Sharp Corp 画像符号化装置
US8116374B2 (en) * 2004-05-07 2012-02-14 Broadcom Corporation Method and system for generating a transform size syntax element for video decoding
KR100677118B1 (ko) * 2004-06-11 2007-02-02 삼성전자주식회사 움직임 추정 방법 및 그 장치
JP4247680B2 (ja) 2004-07-07 2009-04-02 ソニー株式会社 符号化装置、符号化方法、符号化方法のプログラム及び符号化方法のプログラムを記録した記録媒体
JP2006093777A (ja) 2004-09-21 2006-04-06 Victor Co Of Japan Ltd 動画像符号化装置及び動画像符号化プログラム
JP2006129153A (ja) * 2004-10-29 2006-05-18 Victor Co Of Japan Ltd 動画像符号化装置及び動画像符号化プログラム
JP2006140758A (ja) 2004-11-12 2006-06-01 Toshiba Corp 動画像符号化方法、動画像符号化装置および動画像符号化プログラム
JP4235162B2 (ja) 2004-11-18 2009-03-11 日本電信電話株式会社 画像符号化装置,画像符号化方法,画像符号化プログラムおよびコンピュータ読み取り可能な記録媒体
JP4050754B2 (ja) * 2005-03-23 2008-02-20 株式会社東芝 ビデオエンコーダ及び動画像信号の符号化方法
JP2006334490A (ja) * 2005-06-01 2006-12-14 Mazda Motor Corp 排気ガス浄化用触媒
JP2007201558A (ja) 2006-01-23 2007-08-09 Matsushita Electric Ind Co Ltd 動画像符号化装置および動画像符号化方法
JP4635016B2 (ja) 2007-02-16 2011-02-16 株式会社東芝 情報処理装置およびインター予測モード判定方法
JP2008219205A (ja) 2007-02-28 2008-09-18 Sony Corp 画像情報符号化装置及び画像情報符号化方法

Also Published As

Publication number Publication date
US8737482B2 (en) 2014-05-27
US20080198928A1 (en) 2008-08-21
JP2008205627A (ja) 2008-09-04

Similar Documents

Publication Publication Date Title
JP4635016B2 (ja) 情報処理装置およびインター予測モード判定方法
JP2009055542A (ja) 動画像符号化装置および動画像符号化方法
JP4843482B2 (ja) 情報処理装置およびプログラム
JP4519933B2 (ja) 動画像符号化装置および動画像符号化方法
JP4501631B2 (ja) 画像符号化装置及び方法、画像符号化装置のコンピュータ・プログラム、並びに携帯端末
CN104067619A (zh) 视频解码器、视频编码器、视频解码方法以及视频编码方法
CN105049857A (zh) 通过帧内预测来对图像进行编码和解码的方法和设备
JP4922101B2 (ja) 情報処理装置およびインター予測モード判定方法
JP2007329693A (ja) 画像符号化装置、及び画像符号化方法
JP3772183B2 (ja) 動画像符号化処理システム、動画像復号化処理システム、動画像符号化処理プログラム、及び、動画像復号化処理プログラム
TWI511531B (zh) 影像編碼裝置、影像編碼方法及影像編碼程式
WO2012160626A1 (ja) 画像圧縮装置、画像復元装置、及びプログラム
KR102161741B1 (ko) HEVC(high efficiency video coding)에서 코딩 유닛에 대한 양자화 파라미터를 변화시키는 방법과 장치, 및 시스템
JP2008017305A (ja) 画像処理装置及び画像処理方法
JP2007251865A (ja) 画像データの処理装置、画像データの処理方法、画像データの処理方法のプログラム及び画像データの処理方法のプログラムを記録した記録媒体
JP2008263549A (ja) 動画像符号化装置および動画像符号化方法
JP5174062B2 (ja) イントラ予測装置、符号化器、復号器、及びプログラム
JP4823150B2 (ja) 符号化装置並びに符号化方法
WO2014006959A1 (ja) 動画像予測符号化装置、動画像予測符号化方法、動画像予測符号化プログラム、動画像予測復号装置、動画像予測復号方法及び動画像予測復号プログラム
CN105338365B (zh) 视频编码方法和视频编码装置
JP5281597B2 (ja) 動きベクトル予測方法,動きベクトル予測装置および動きベクトル予測プログラム
JP6200220B2 (ja) 画像処理装置、符号化装置、復号装置、及びプログラム
JP6101067B2 (ja) 画像処理装置及び画像処理プログラム
JP6825699B2 (ja) 動画像処理装置、動画像処理方法、及び、動画像処理プログラム
JP2009118097A (ja) 画像符号化装置及びその制御方法、コンピュータプログラム

Legal Events

Date Code Title Description
A621 Written request for application examination

Free format text: JAPANESE INTERMEDIATE CODE: A621

Effective date: 20091020

A977 Report on retrieval

Free format text: JAPANESE INTERMEDIATE CODE: A971007

Effective date: 20101022

TRDD Decision of grant or rejection written
A01 Written decision to grant a patent or to grant a registration (utility model)

Free format text: JAPANESE INTERMEDIATE CODE: A01

Effective date: 20101026

A01 Written decision to grant a patent or to grant a registration (utility model)

Free format text: JAPANESE INTERMEDIATE CODE: A01

A61 First payment of annual fees (during grant procedure)

Free format text: JAPANESE INTERMEDIATE CODE: A61

Effective date: 20101119

FPAY Renewal fee payment (event date is renewal date of database)

Free format text: PAYMENT UNTIL: 20131126

Year of fee payment: 3

LAPS Cancellation because of no payment of annual fees