JP4604792B2 - ネットワークに接続されたサーバからの情報のダウンロード制御 - Google Patents

ネットワークに接続されたサーバからの情報のダウンロード制御 Download PDF

Info

Publication number
JP4604792B2
JP4604792B2 JP2005090596A JP2005090596A JP4604792B2 JP 4604792 B2 JP4604792 B2 JP 4604792B2 JP 2005090596 A JP2005090596 A JP 2005090596A JP 2005090596 A JP2005090596 A JP 2005090596A JP 4604792 B2 JP4604792 B2 JP 4604792B2
Authority
JP
Japan
Prior art keywords
download request
devices
timing
server
download
Prior art date
Legal status (The legal status is an assumption and is not a legal conclusion. Google has not performed a legal analysis and makes no representation as to the accuracy of the status listed.)
Expired - Fee Related
Application number
JP2005090596A
Other languages
English (en)
Other versions
JP2006276933A (ja
Inventor
敏博 島
Current Assignee (The listed assignees may be inaccurate. Google has not performed a legal analysis and makes no representation or warranty as to the accuracy of the list.)
Seiko Epson Corp
Original Assignee
Seiko Epson Corp
Priority date (The priority date is an assumption and is not a legal conclusion. Google has not performed a legal analysis and makes no representation as to the accuracy of the date listed.)
Filing date
Publication date
Application filed by Seiko Epson Corp filed Critical Seiko Epson Corp
Priority to JP2005090596A priority Critical patent/JP4604792B2/ja
Publication of JP2006276933A publication Critical patent/JP2006276933A/ja
Application granted granted Critical
Publication of JP4604792B2 publication Critical patent/JP4604792B2/ja
Anticipated expiration legal-status Critical
Expired - Fee Related legal-status Critical Current

Links

Images

Landscapes

  • Accessory Devices And Overall Control Thereof (AREA)
  • Information Transfer Between Computers (AREA)
  • Computer And Data Communications (AREA)

Description

本発明は、デバイスによって利用するための所定の情報を、ネットワークを介して接続されたサーバからダウンロードする技術に関するものである。
近年、インターネットや、ローカルエリアネットワークなどのネットワーク技術の普及に伴い、ネットワークに接続されたプリンタなどの複数のデバイスを、ネットワークを介して接続された管理サーバによって管理するデバイス管理システムが提案されている(例えば、下記特許文献1参照)。このデバイス管理システムでは、ネットワークに接続された各デバイスは、例えば、各デバイスに内蔵されたネットワークボードによって、デバイスの動作状態など、デバイスに関する所定の監視情報を取得し、それぞれ個別に管理サーバに送信する。監視情報としては、例えば、デバイスをプリンタとした場合、印刷枚数、インクやトナーなどの使用量や、残量、エラー情報等が挙げられる。また、このようなデバイス管理システムでは、管理サーバが、各デバイスによって利用するための最新のプログラムや、データなどの情報を保持するようにし、各デバイスが、これらをそれぞれ個別に管理サーバからダウンロードして利用する場合がある。例えば、下記特許文献2には、メインサーバからコンテンツをダウンロードし、ユーザ端末に配信する技術が記載されている。
特開2004−185351号公報 特開2003−186785号公報
上述したデバイス管理システムにおいて、管理サーバと、デバイスとの間に、ファイアウォールが設置されている場合には、管理サーバが主体となって、プッシュ型で、管理サーバから各デバイスに、各デバイスによって利用するための最新のプログラムや、データなどの情報をダウンロードすることができない場合があった。また、各デバイスが主体となって、プル型で、上記情報のダウンロード要求を、管理サーバに送信して、上記情報を管理サーバからダウンロードする場合、管理サーバの管理対象となるデバイスの数が膨大になると、多数のデバイスが、管理サーバに一斉にアクセスして、それぞれダウンロード要求を一斉に送信し、管理サーバにおけるダウンロード要求に対する処理が滞ったり、不能になったりするおそれがあった。このような課題は、プリンタに限らず、ネットワークに接続された種々のデバイスを、管理サーバによって管理するデバイス管理システムにおいて、共通の課題である。
デバイス管理システムにおいて、高性能な管理サーバを用いることによって、上記課題を抑制することは可能であるが、コストが増大するという新たな課題を招く。また、1つのデバイスが、他のデバイスからダウンロード要求をそれぞれ収集し、一括して管理サーバに送信するようにすれば、デバイスから管理サーバへのアクセス頻度を低減することができるので、高性能な管理サーバを用いることなく、上記課題を解決することが可能である。しかし、この場合、1つのデバイスが他のデバイスから一斉にダウンロード要求を収集すると、ネットワークトラフィックが急激に増大し、ネットワークにおける他の通信に支障が生じるおそれがある。
本発明は、上述の課題を解決するためになされたものであり、デバイスによって利用するための所定の情報を、サーバからデバイスにダウンロードするデバイス管理システムにおいて、デバイスからサーバへのアクセス頻度を低減するとともに、ダウンロード要求の送信に伴うネットワークトラフィックの急激な増大を防止することを目的とする。
上述の課題の少なくとも一部を解決するため、本発明では、以下の構成を採用した。
本発明の情報集配信システムは、
複数のデバイスと、該デバイスによって利用するための所定の情報を配信する所定のサーバとを、所定のネットワークを介して、互いに接続することによって構成された情報集配信システムであって、
前記複数のデバイスのうちの特定のデバイスは、該特定のデバイス以外の複数の他のデバイスについての前記所定の情報のダウンロード要求を受信するタイミングの基準となる基準タイミングを、該各基準タイミングのうちの少なくとも1つが異なるタイミングになるように設定し、該各基準タイミングを、前記各他のデバイスに通知し、
前記他のデバイスは、前記基準タイミングに基づくタイミングで、該他のデバイスについての前記ダウンロード要求を、前記特定のデバイスに送信し、
前記特定のデバイスは、予め設定されたタイミングで、該特定のデバイスについての前記ダウンロード要求、および、前記他のデバイスから受信した前記ダウンロード要求を、前記サーバに送信し、
前記サーバは、前記特定のデバイスから受信した前記ダウンロード要求に応じて、該ダウンロード要求に対応する前記所定の情報を、前記特定のデバイスに送信し、
前記特定のデバイスは、前記サーバから受信した前記所定の情報のうち、前記他のデバイスから受信した前記ダウンロード要求に対応する前記所定の情報を、前記他のデバイスにそれぞれ配信することを要旨とする。
デバイスには、例えば、プリンタや、スキャナや、プロジェクタや、オーディオ装置や、家電機器や、クライアントコンピュータや、PDA(Personal Digital Assistance)など、ネットワークに接続されて利用される種々の装置が含まれる。以下の説明においても同様である。
本発明によって、情報集配信システムに多数の他のデバイスが接続されている場合であっても、他のデバイスのうちの少なくとも1つは、他と異なるタイミングでダウンロード要求を特定のデバイスに送信するので、他のデバイス全てが一斉にダウンロード要求を特定のデバイスに送信することはない。この結果、他のデバイスから特定のデバイスへのダウンロード要求の送信に伴うネットワークトラフィックの急激な増大を防止することができる。
さらに、特定のデバイスは、予め設定されたタイミングで、自らについてのダウンロード要求、および、他のデバイスについてのダウンロード要求を、一括して所定のサーバに送信する。「予め設定されたタイミング」とは、ダウンロード要求を所定のサーバに送信すべく設定されたタイミングである。こうすることによって、複数のデバイスが個別に上記所定のサーバへアクセスすることがないので、デバイスから所定のサーバへのアクセス頻度を低減することができる。
つまり、本発明によれば、デバイスから上記所定のサーバにダウンロード要求を送信する情報集配信システム(デバイス管理システム)において、デバイスから所定のサーバへのアクセス頻度を低減するとともに、ダウンロード要求の送信に伴うネットワークトラフィックの急激な増大を防止することができる。
なお、本発明の情報集配信システムにおいて、「特定のデバイス」は固定されておらず、複数のデバイスのうちのいずれかが、適宜「特定のデバイス」として機能したり、「他のデバイス」として機能したりする。
上記情報集配信システムにおいて、
前記特定のデバイスは、前記各基準タイミングを設定し、該各基準タイミングを前記各他のデバイスに通知すべく、前記複数の他のデバイスに対して該各他のデバイスについての前記ダウンロード要求の送信を要求する要求タイミングを設定し、該各要求タイミングで、前記各他のデバイスに前記要求を順次送信し、
前記他のデバイスは、前記基準タイミングに基づくタイミングとして、前記要求に応じて、該他のデバイスについての前記ダウンロード要求を、前記特定のデバイスに送信するようにしてもよい。
また、本発明の情報集配信システムにおいて、
前記特定のデバイスは、前記基準タイミングとして、前記複数の他のデバイスが該各他のデバイスについての前記ダウンロード要求を前記特定のデバイスに送信すべき送信タイミングを設定し、該各送信タイミングを示すタイミング情報を前記各他のデバイスにそれぞれ送信し、
前記他のデバイスは、前記タイミング情報に基づく前記送信タイミングで、該他のデバイスに関する前記ダウンロード要求を、前記特定のデバイスに送信するようにしてもよい。
本発明の情報集配信システムにおいて、
前記特定のデバイスは、前記各基準タイミングを、前記複数の他のデバイスについて、それぞれ異なるように設定するようにしてもよい。
こうすることによって、複数の他のデバイスは、それぞれ異なるタイミングで、特定のデバイスへのダウンロード要求の送信を行うので、他のデバイスから特定のデバイスへのダウンロード要求の送信に伴うネットワークトラフィックの急激な増大を、さらに防止することができる。
また、本発明の情報集配信システムにおいて、
前記特定のデバイスは、前記複数のデバイスのうちの稼働中のデバイスの数と、前記ダウンロード要求を前記サーバに送信するタイミングまでの時間とに基づいて、前記各基準タイミングを設定するようにしてもよい。
こうすることによって、基準タイミングを容易に設定することができる。
また、本発明の情報集配信システムにおいて、
前記複数のデバイスには、該複数のデバイスを識別するための識別情報がそれぞれ付与されており、
前記他のデバイスは、該他のデバイスについての前記ダウンロード要求を、該他のデバイスを識別するための識別情報と関連付けて、前記特定のデバイスに送信し、
前記特定のデバイスは、前記各ダウンロード要求を、該各ダウンロード要求と対応する前記各識別情報と関連付けて、前記サーバに送信することが好ましい。
識別情報としては、例えば、デバイスに付与された名前や、MACアドレスや、IPアドレスや、製造番号などを用いることができる。本発明によって、上記所定のサーバは、各ダウンロード要求を出力したデバイスを容易に特定することができる。
また、本発明の情報集配信システムにおいて、
前記特定のデバイスは、前記複数のデバイスについての前記ダウンロード要求を、前記サーバに送信した後に、前記送信済みの前記ダウンロード要求を削除すべき削除要求を、前記他のデバイスに送信し、
前記他のデバイスは、前記特定のデバイスから受信した前記削除要求に応じて、前記送信済みの前記ダウンロード要求を削除するようにしてもよい。
こうすることによって、他のデバイスが保持するダウンロード要求は、全て上記所定のサーバに未送信のダウンロード要求となるので、他のデバイスは、後に、「特定のデバイス」として機能する場合になっても、所定のサーバに未送信のダウンロード要求を保持しているか否かを容易に判断することができる。
本発明は、デバイスの発明として構成することもできる。すなわち、
本発明のデバイスは、
複数のデバイスと、該デバイスによって利用するための所定の情報を配信する所定のサーバとを、所定のネットワークを介して、互いに接続することによって構成された情報集配信システムに用いられるデバイスであって、
当該デバイスについての前記所定の情報のダウンロード要求を記憶するダウンロード要求記憶部と、
当該デバイス以外の複数の他のデバイスについての前記ダウンロード要求を受信するタイミングの基準となる基準タイミングを、該各基準タイミングのうちの少なくとも1つが異なるタイミングになるように設定する基準タイミング設定部と、
該設定された各基準タイミングを、前記各他のデバイスに通知する通知部と、
前記他のデバイスから、前記基準タイミングに基づくタイミングで、前記他のデバイスについての前記ダウンロード要求を受信するダウンロード要求受信部と、
予め設定されたタイミングで、前記ダウンロード要求記憶部に記憶された前記ダウンロード要求、および、前記他のデバイスから受信した前記ダウンロード要求を、前記サーバに送信するダウンロード要求送信部と、
前記サーバから、前記送信したダウンロード要求の応答として、該ダウンロード要求に対応する前記所定の情報を受信する受信部と、
該受信した前記所定の情報のうち、前記他のデバイスから受信した前記ダウンロード要求に対応する前記所定の情報を、前記他のデバイスにそれぞれ配信する配信部と、
を備えることを要旨とする。
こうすることによって、情報集配信システムに多数の他のデバイスが接続されている場合であっても、他のデバイス全てから一斉にダウンロード要求を受信することはない。したがって、他のデバイスから特定のデバイスへのダウンロード要求の送信に伴うネットワークトラフィックの急激な増大を防止することができる。
上記デバイスにおいて、
前記基準タイミング設定部は、前記基準タイミングとして、前記複数の他のデバイスに対して該各他のデバイスについての前記ダウンロード要求の送信を要求する要求タイミングを設定し、
前記通知部は、前記各基準タイミングを前記各他のデバイスに通知すべく、前記設定された各要求タイミングで、前記各他のデバイスに前記要求を順次送信し、
前記ダウンロード要求受信部は、前記他のデバイスから、前記要求の応答として送信された前記ダウンロード要求を受信するようにしてもよい。
また、本発明のデバイスにおいて、
前記基準タイミング設定部は、前記基準タイミングとして、前記複数の他のデバイスが該各他のデバイスについての前記ダウンロード要求を当該デバイスに送信すべき送信タイミングを設定し、
前記通知部は、前記設定された各送信タイミングを示すタイミング情報を、前記各他のデバイスにそれぞれ送信し、
前記ダウンロード要求受信部は、前記他のデバイスから、前記タイミング情報に基づく前記送信タイミングで送信された前記ダウンロード要求を受信するようにしてもよい。
なお、本発明のデバイスにおいて、
前記基準タイミング設定部は、前記各基準タイミングを、前記複数の他のデバイスについて、それぞれ異なるように設定するようにしてもよい。
こうすることによって、特定のデバイスは、それぞれ異なるタイミングで、複数の他のデバイスからダウンロード要求の受信を行うので、他のデバイスから特定のデバイスへのダウンロード要求の送信に伴うネットワークトラフィックの急激な増大を、さらに防止することができる。
また、本発明のデバイスにおいて、
前記基準タイミング設定部は、前記複数のデバイスのうちの稼働中のデバイスの台数と、前記ダウンロード要求を前記サーバに送信するタイミングまでの時間とに基づいて、前記各基準タイミングを設定するようにしてもよい。
こうすることによって、基準タイミングを容易に設定することができる。
本発明は、上述した種々の特徴を必ずしも全て備えている必要はなく、その一部を省略したり、適宜、組み合わせたりして構成することができる。本発明は、上述の情報集配信システムや、デバイスとしての構成の他、情報集配信システムの制御方法や、デバイスの制御方法として構成することもできる。また、これらを実現するコンピュータプログラム、およびそのプログラムを記録した記録媒体、そのプログラムを含み搬送波内に具現化されたデータ信号など種々の態様で実現することが可能である。なお、それぞれの態様において、先に示した種々の付加的要素を適用することが可能である。
本発明をコンピュータプログラムまたはそのプログラムを記録した記録媒体等として構成する場合には、情報集配信システムや、デバイスの動作を制御するプログラム全体として構成するものとしてもよいし、本発明の機能を果たす部分のみを構成するものとしてもよい。また、記録媒体としては、フレキシブルディスクやCD−ROM、DVD−ROM、光磁気ディスク、ICカード、ROMカートリッジ、パンチカード、バーコードなどの符号が印刷された印刷物、コンピュータの内部記憶装置(RAMやROMなどのメモリ)および外部記憶装置などコンピュータが読み取り可能な種々の媒体を利用できる。
以下、本発明の実施の形態について、実施例に基づき以下の順序で説明する。
A.デバイス管理システムの構成:
B.第1実施例:
B1.プリンタの構成:
B2.起動設定処理:
B3.代理プリンタの動作処理:
B4.被代理プリンタの動作処理:
C.第2実施例:
D.変形例:
A.デバイス管理システムの構成:
図1は、本発明の情報集配信システムを適用した一実施例としてのデバイス管理システム1000の概略構成を示す説明図である。このデバイス管理システム1000は、企業内のローカルエリアネットワークLANと、管理センタの管理サーバSVとを、インターネットINTを介して接続することによって構成されている。ローカルエリアネットワークLANと、インターネットINTとの間には、ファイアウォールFWが設置されており、インターネットINT側からローカルエリアネットワークLANへのアクセスは禁止されている。図示した例では、管理サーバSVに接続されるローカルエリアネットワークLANの数は1つとしたが、これに限られず、任意に設定可能である。
企業内のローカルエリアネットワークLANには、パーソナルコンピュータPCや、複数のプリンタPRT#1〜PRT#nが接続されている(以下、プリンタPRT#1〜PRT#nを総称して、プリンタPRTとも呼ぶ)。図示した例では、パーソナルコンピュータPCの数は1台としたが、これに限られず、任意に設定可能である。
パーソナルコンピュータPCには、文書作成プログラム等のアプリケーションプログラムや、プリンタPRTの動作を制御するためのプリンタドライバなどがインストールされており、パーソナルコンピュータPCから出力された印刷ジョブは、パーソナルコンピュータPCで設定されたいずれかのプリンタPRTに受け渡され、印刷される。
各プリンタPRT#1〜PRT#nには、それぞれカスタムネットワークボードCNB#1〜CNB#nが内蔵されている(以下、カスタムネットワークボードCNB#1〜CNB#nを総称して、カスタムネットワークボードCNBとも呼ぶ)。このカスタムネットワークボードCNBは、ローカルエリアネットワークLANや、インターネットINTを介して、印刷ジョブや、後述するダウンロード要求や、ダウンロード要求に対する配信データなどの各種データをやり取りするためのネットワークインタフェースである。
なお、詳細な説明は省略するが、カスタムネットワークボードCNBは、プリンタPRTの動作を、印刷ジョブごとに監視し、その監視結果である監視情報を、管理サーバSVに通知する機能も有している。監視情報には、例えば、印刷枚数や、トナーの使用量や、エラー情報などの種々のログデータが含まれる。
管理センタの管理サーバSVは、プリンタPRTに内蔵されたカスタムネットワークボードCNBから通知された監視情報を、図示しないデータベースに格納する。また、管理サーバSVは、各プリンタPRTに配信すべき配信データ、例えば、各プリンタPRTで利用するための最新のプログラムや、データなどを保持しており、プリンタPRTからのダウンロード要求に応じて、そのダウンロード要求に対応する配信データを、ダウンロード要求を送信したプリンタPRTに送信する機能を有している。この配信データは、ファイル形式で送信される(以下、管理サーバSVからダウンロード要求に応じて送信される配信データを、ダウンロードデータ、あるいは、ダウンロードデータファイルとも呼ぶ)。なお、管理サーバSVには、ディスプレイDPや、マウスMSや、キーボードKBが接続されており、管理担当者がデータベースに格納された監視情報を閲覧したり、プリンタPRTを管理するための各種設定を行ったりすることができる。
本実施例のデバイス管理システム1000の動作概要は、以下の通りである。各カスタムネットワークボードCNBには、配信データのダウンロード要求を管理サーバSVに送信して、ダウンロードデータをダウンロードすべきダウンロード時刻が設定されている。本実施例では、各カスタムネットワークボードCNBには、それぞれ異なるダウンロード時刻が設定されているものとする。そして、本実施例では、各プリンタPRTに、プリンタPRTの電源が投入されてから、最初にダウンロードを行うべき時刻までの待ち時間と、それ以降周期的にダウンロードを行う周期とが設定されており、ダウンロードは周期的に繰り返して行われる。このダウンロード時刻の設定は、プリンタPRTに予め設定されていたり、ユーザが手動で行うようにしてもよいし、乱数を用いたり、管理サーバSV側で指定されたダウンロード時刻を、管理サーバSVからダウンロードしたりして、自動で行うようにしてもよい。
各プリンタPRTの電源の投入後、まず、いずれかのプリンタPRTにおいて、ダウンロード時刻になると、そのプリンタPRTは、ダウンロード要求を管理サーバSVに送信すべきか否かを判断し、送信すべきと判断した場合には、他のプリンタPRTに、そのプリンタPRTが保持するダウンロード要求の送信要求を送信する。そして、その応答として、他のプリンタPRTからダウンロード要求を収集して、自ら保持するダウンロード要求と、他のプリンタPRTから収集したダウンロード要求とを、管理サーバSVに送信する。これらダウンロード要求には、ダウンロードすべき最新のプログラムや、データが管理サーバSVに存在するか否かを、管理サーバSVに問い合わせる要求や、最新のプログラムや、データをダウンロードする要求が含まれる。以下、他のプリンタPRTからダウンロード要求を受信して、管理サーバSVにダウンロード要求を送信するプリンタPRTを、「代理プリンタ」とも呼び、代理プリンタにダウンロード要求を送信するプリンタPRTを、「被代理プリンタ」とも呼ぶ。図示した例では、プリンタPRT#1が代理プリンタとして機能している場合のダウンロード要求、および、配信データの流れを、破線矢印、および、二点鎖線矢印によって示している。
管理サーバSVにダウンロード要求を送信したプリンタPRTは、ダウンロード要求の応答として、そのダウンロード要求に対応するダウンロードデータを、管理サーバSVからダウンロードし、そのダウンロードデータを、ダウンロード要求に対応する他のプリンタPRTに配信する。
そして、本実施例では、代理プリンタは、管理サーバSVからダウンロードデータのダウンロードを行った後に、今回のダウンロードにおいて、自分が代理プリンタであったことを、被代理プリンタに通知する。この通知は、原則として、次回のダウンロード時も自らが代理プリンタとなることを表している。今回のダウンロードにおいて代理プリンタであったプリンタPRTは、被代理プリンタからの次回のダウンロード要求の取得時刻(タイミング)を設定する。そして、被代理プリンタは、代理プリンタによって設定されたタイミングで、代理プリンタにダウンロード要求を送信する。この態様としては、被代理プリンタが、上記タイミングで代理プリンタから受信した送信要求に応じて、代理プリンタにダウンロード要求を送信する態様と、予め代理プリンタが被代理プリンタにダウンロード要求の送信タイミングを指定しておき、被代理プリンタが代理プリンタから指定された送信タイミングで、代理プリンタにダウンロード要求を送信する態様とが挙げられる。本明細書中では、この2つの態様について説明する。被代理プリンタから順次ダウンロード要求を受信した代理プリンタは、次にダウンロード時刻になったときに、自ら保持するダウンロード要求と、被代理プリンタから受信したダウンロード要求とを、管理サーバSVに送信する。
なお、例えば、代理プリンタとなるはずのプリンタPRTの電源がオフされる等によって、管理サーバSVへのダウンロード要求の送信が滞った場合等には、代理プリンタが切り替わることになる。つまり、デバイス管理システム1000において、代理プリンタ、および、被代理プリンタは、固定されておらず、各プリンタPRTの動作状況に応じて切り替わる。これらの動作の詳細については、後述する。
B.第1実施例:
B1.プリンタの構成:
図2は、第1実施例のプリンタPRTの構成を示す説明図である。プリンタPRTは、印刷を実行するプリンタ本体100と、カスタムネットワークボードCNBとを備えている。そして、プリンタ本体100は、プリンタエンジン110と、プリンタコントローラ120とを備えている。
プリンタコントローラ120は、図示しないCPUや、RAMや、ROMを備えるコンピュータであり、パーソナルコンピュータPCから、カスタムネットワークボードCNBを介して印刷ジョブを受け取り、プリンタエンジン110を制御して、印刷を実行させる。また、プリンタコントローラ120は、図示しない監視部を備えおり、プリンタ本体100に関する種々の監視情報を収集して、MIB(Management Information Base)の形式で保存している。MIBには、プリンタ本体100に関して予め規格で統一的に規定されている情報や、製造者によって独自に規定されている情報が含まれる。また、プリンタコントローラ120は、カスタムネットワークボードCNBが、管理サーバSV、または、他のプリンタPRTから受信したダウンロードデータに含まれる最新のプログラムや、データを受信して、更新する機能も有している。
カスタムネットワークボードCNBは、CPU10と、メモリ20と、タイマ30とを備えている。メモリ20は、揮発性メモリと、不揮発性メモリの両方を含んでいる。CPU10は、メモリ制御部12と、判断部14と、一括ダウンロード要求ファイル作成部16と、配信データファイル作成部17と、要求タイミング設定部15と、通信制御部18とを備えている。これらの機能ブロックは、CPU10が、図示しないROMに記憶されている所定のコンピュータプログラムを、読み出して実行することによって、ソフトウェア的に構築されている。これらの機能ブロックの少なくとも一部を、ハードウェア的に構成するようにしてもよい。
メモリ制御部12は、メモリ20への種々のデータの書き込みや、読み出しや、削除を行う。メモリ20に記憶されるデータには、後述するように、自らの管理サーバSVに対するダウンロード要求を記録したダウンロード要求ファイルや、各プリンタPRTから収集したダウンロード要求ファイルや、管理サーバSVに送信すべき一括ダウンロード要求ファイルや、管理サーバSVからダウンロードしたダウンロードデータファイルや、代理プリンタの識別情報を記したファイルや、要求タイミング設定部15によって設定された要求タイミングを記した要求タイミングリスト29などが含まれる。ダウンロード要求ファイルは、例えば、ダウンロード時刻の所定時間後に生成されたり、ダウンロードデータの内容の解析によって生成されたりする。メモリ20、および、メモリ制御部12は、本発明におけるダウンロード要求記憶部に相当する。
判断部14は、後述する様々な処理において、種々の判断を行う。
一括ダウンロード要求ファイル作成部16は、メモリ20に設定されたスプールディレクトリ22に保存されているダウンロード要求ファイルと、otherディレクトリ24に保存されているダウンロード要求ファイルとを合成して、管理サーバSVに送信するための一括ダウンロード要求ファイルを作成する。つまり、この一括ダウンロード要求ファイルには、1つ以上のダウンロード要求が一体的に記録されている。
配信データファイル作成部17は、管理サーバSVから一括してダウンロードしたダウンロードデータファイルの内容を解析し、プリンタPRTごとの配信データに分割して、各プリンタPRTに配信するための配信データファイルを作成する。
要求タイミング設定部15は、自身が代理プリンタとして機能しているときに、他のプリンタPRTに対してダウンロード要求ファイルの送信を要求する要求タイミングを設定する。本実施例では、ダウンロード要求ファイルを管理サーバSVに送信すべき稼働中の被代理プリンタの数をカウントし、その数と、管理サーバSVからのダウンロードの周期とに基づいて、すべての被代理プリンタについてのタイミングが異なるように、要求タイミングを設定するものとした。例えば、ダウンロード要求ファイルを送信すべき稼働中の被代理プリンタの数が5台であり、ダウンロードの周期が60分である場合には、各被代理プリンタへの要求タイミングを10分ごとに設定する。要求タイミング設定部15は、本発明における基準タイミング設定部に相当する。
通信制御部18は、通信相手に応じて、通信プロトコルを切り換え、ローカルエリアネットワークLANや、インターネットINTを介して、パーソナルコンピュータPCや、他のプリンタPRTや、管理サーバSVと通信を行う。また、通信制御部18は、プリンタコントローラ120とのデータのやり取りも行う。通信制御部18は、本発明における通知部、ダウンロード要求受信部、ダウンロード要求送信部、受信部、配信部に相当する。
タイマ30は、プリンタPRTの電源がオンされてからの時間を計測する。本実施例では、タイマ30は、プリンタPRTの電源がオンされてからの時間の計測、および、電源の投入回数のカウントを行う。
メモリ20には、スプールディレクトリ22と、otherディレクトリ24と、一括ダウンロード要求ファイルディレクトリ26と、ダウンロードディレクトリ28とが設定されている。スプールディレクトリ22には、自らのダウンロード要求が、ファイル形式で保存される。otherディレクトリ24には、他のプリンタPRTから受信、あるいは、収集したダウンロード要求ファイルが保存される。一括ダウンロード要求ファイルディレクトリ26には、一括ダウンロード要求ファイル作成部16によって作成された一括ダウンロード要求ファイルが保存される。一括ダウンロード要求ファイルは、管理サーバSVに送信されるファイルである。ダウンロードディレクトリ28には、管理サーバSVからダウンロードしたダウンロードデータファイルが保存される。メモリ20には、先に説明したように、要求タイミングリスト29や、代理プリンタの識別情報を記したファイルも記録される。
図3は、一括ダウンロード要求ファイルの生成について示す説明図である。図示するように、スプールディレクトリ22には、ダウンロード要求ファイルFa1、Fa2、Fa3が保存されており、otherディレクトリ24には、ダウンロード要求ファイルFb1、Fb2、Fb3、Fc1、Fc2、Fc3、...が保存されているものとする。各ダウンロード要求には、先に説明したように、ダウンロードすべき最新のプログラムや、データが管理サーバSVに存在するか否かを、管理サーバSVに問い合わせる要求や、最新のプログラムや、データをダウンロードするダウンロード要求が含まれる。また、各ダウンロード要求ファイルには、ダウンロード要求とともに、各プリンタPRTの識別情報も記録されている。この識別情報としては、例えば、各プリンタPRTに付与された名前や、MACアドレスや、IPアドレスや、製造番号などを用いることができる。また、各ダウンロード要求ファイルには、それぞれダウンロード要求ファイルが作成され、メモリ20に記憶された時刻も記録されている。
一括ダウンロード要求ファイル作成部16は、図示するように、ダウンロード要求ファイルFa1、Fa2、Fa3と、ダウンロード要求ファイルFb1、Fb2、Fb3、Fc1、Fc2、Fc3、...とを合成して、一括ダウンロード要求ファイルFrを作成し、一括ダウンロード要求ファイルディレクトリ26に保存する。こうすることによって、複数のプリンタPRTのダウンロード要求を、管理サーバSVに一度に送信することができるので、ネットワークトラフィックの増大を抑制することができる。また、各ダウンロード要求ファイルには、プリンタPRTの識別情報も含まれているので、一括ダウンロード要求ファイルFrを受信した管理サーバSVは、一括ダウンロード要求ファイルFrの内容を解析することによって、各ダウンロード要求を出力したプリンタPRTを容易に特定することができる。
図4は、配信データファイルの生成について示す説明図である。図示するように、ダウンロードディレクトリ28には、管理サーバSVからダウンロードされたダウンロードデータファイルFdが保存されているものとする。本実施例では、このダウンロードデータファイルFdには、一括ダウンロード要求ファイルFrに記録されたダウンロード要求に対応して、例えば、プリンタPRT#1用のデータdata#1、プリンタPRT#2用のデータdata#2、プリンタPRT#3用のデータdata#3、...が一体的に記録されている。これらのデータには、ダウンロードすべきプログラムファイルの名前や、データファイルの名前や、プログラムや、データなどが含まれる。配信データファイル作成部17は、このダウンロードデータファイルFdの内容を解析し、プリンタPRTごとの配信データに分割して、PRT#1用のdata#1が記録されたプリンタPRT#1用配信データファイルF#1、PRT#2用のdata#2が記録されたプリンタPRT#2用配信データファイルF#2、PRT#3用のdata#3が記録されたプリンタPRT#3用配信データファイルF#3、...を作成する。
図5は、要求タイミングリスト29の一例を示す説明図である。図示するように、要求タイミングリスト29には、ダウンロード要求ファイルの送信を要求すべき複数のプリンタPRT(被代理プリンタ)のIPアドレスと、要求タイミングとが、それぞれ対応付けて記録されている。図5において、「要求タイミング」は、後述するように、被代理プリンタの数nと、管理サーバSVからのダウンロードの周期Tとに基づいて算出されたものであり、ダウンロード時刻からのオフセット時間を示している。この要求タイミングリスト29によって、例えば、IPアドレスが「192.168.3.22」であるプリンタPRTに対して、ダウンロード時刻から「mm1分、ss1秒」後にダウンロード要求ファイルの送信を要求すべきことが分かる。
B2.起動設定処理:
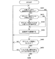
図6は、起動設定処理の流れを示すフローチャートである。この処理は、プリンタPRTに電源がオンされたときに、カスタムネットワークボードCNBのCPU10が実行する処理である。
まず、CPU10は、他のプリンタPRT、すなわち、ローカルエリアネットワークLANに接続されている全てのプリンタPRTに対して、そのプリンタPRTが代理プリンタであるか、被代理プリンタであるかを問い合わせるブロードキャストを送信する(ステップS100)。そして、CPU10は、いずれかのプリンタPRTから、このブロードキャストに対する応答を受信したか否かを判断する(ステップS110)。
ステップS110において、いずれかのプリンタPRTから、ブロードキャストに対する応答を受信した場合には(ステップS110:YES)、代理プリンタである旨の応答を受信したか否かを判断する(ステップS120)。いずれかのプリンタPRTから、代理プリンタである旨の応答を受信した場合には(ステップS120:YES)、そのプリンタPRTを代理プリンタとして記録し(ステップS130)、起動設定処理を終了する。
一方、ステップS120において、いずれのプリンタPRTからも代理プリンタである旨の応答を受信しなかった場合には(ステップS120:NO)、CPU10は、ブロードキャストの応答元の他のプリンタPRTに、自らの識別情報を記したファイルを送信することによって、自分が代理プリンタになることを通知し(ステップS140)、自分が代理プリンタであることを記録して(ステップS150)、起動設定処理を終了する。また、ステップ110において、いずれのプリンタPRTからもブロードキャストに対する応答を受信しなかった場合には(ステップS110:NO)、CPU10は、自分が代理プリンタであることを記録し(ステップS150)、起動設定処理を終了する。
この起動設定処理によって、各プリンタPRTは、プリンタPRTに新たに電源がオンされたときに、いずれのプリンタPRTが代理プリンタであるかを確認して、後の動作処理を行うことができる。
B3.代理プリンタの動作処理:
図7は、代理プリンタの動作処理の流れを示すフローチャートである。この処理は、代理プリンタのカスタムネットワークボードCNBのCPU10が実行する処理である。
まず、CPU10は、他のプリンタ、すなわち、ローカルエリアネットワークLANに接続されている全てのプリンタPRTに対して、存在確認を問い合わせるブロードキャストを送信する(ステップS200)。そして、CPU10は、いずれかのプリンタPRTから、このブロードキャストに対する応答を受信したか否かを判断する(ステップS210)。いずれのプリンタPRTからもブロードキャストに対する応答を受信しない場合には(ステップS210:NO)、CPU10は、ダウンロード要求ファイルの収集を行うべき被代理プリンタが存在しないものと判断して、ダウンロード時刻になるまで待機し(ステップS280:NO)、ダウンロード時刻になったら(ステップS280:YES)、後述するダウンロード処理を実行する(ステップS300)。そして、ステップS200に戻る。
ステップS210において、いずれかのプリンタPRTから、ブロードキャストに対する応答を受信した場合には(ステップS210:YES)、CPU10は、要求タイミング設定処理を行い(ステップS220)、応答を受信した各プリンタPRTについて、ダウンロード要求ファイルの要求タイミングを設定する。要求タイミング設定処理については、後述する。そして、CPU10は、要求タイミングリスト29を参照し、いずれかのプリンタPRTについて設定された要求タイミングになるまで待機し(ステップS230:NO)、要求タイミングになったら(ステップS230:YES)、その要求タイミングに対応する1つの応答元のプリンタPRT、すなわち、被代理プリンタとFTP接続を行い(ステップS240)、ダウンロード要求ファイルの送信要求を送信して、そのダウンロード要求ファイルを全てコピーし(ステップS250)、otherディレクトリ24に保存する。ダウンロード要求ファイルの受信の終了は、プリンタPRTから送信終了の通知を受信することによって確認される。そして、CPU10は、被代理プリンタとのFTP接続を切断する(ステップS260)。
次に、CPU10は、全てのブロードキャストの応答元のプリンタPRTに対して、ステップS230〜S260の処理を行ったか否かを判断する(ステップS270)。ステップS230〜S260の処理を行っていないプリンタPRTが残っている場合には(ステップS270:NO)、ステップS230に戻り、要求タイミングになるごとに、ステップS240〜S260の処理を繰り返す。ステップ270において、全てのブロードキャストの応答元のプリンタPRTに対して、ステップS230〜S260の処理を行った場合には(ステップS270:YES)、CPU10は、ダウンロード時刻になるまで待機し(ステップS280:NO)、ダウンロード時刻になったら(ステップS280:YES)、ダウンロード処理を実行する(ステップS300)。そして、ステップS200に戻る。
図8は、図7のステップS220における要求タイミング設定処理の流れを示すフローチャートである。この処理は、代理プリンタのカスタムネットワークボードCNBのCPU10が実行する処理である。
まず、CPU10は、ステップS200におけるブロードキャストに対しての応答を受信したプリンタPRT、すなわち、ローカルエリアネットワークLAN上で稼働中の被代理プリンタの数nをカウントする(ステップS222)。
次に、CPU10は、被代理プリンタの数nと、管理サーバSVへの一括ダウンロード要求ファイルFrの送信、すなわち、管理サーバSVからのダウンロードの周期Tとに基づいて、ダウンロード要求ファイルの要求タイミングを設定する(ステップS224)。本実施例では、T/(n+1)毎に各被代理プリンタの要求タイミングを設定するものとした。こうすることによって、ステップS200におけるブロードキャストに対しての応答を受信した全てのプリンタPRTについて、それぞれ異なる要求タイミングを設定することができる。他の手法によって、要求タイミングを設定するものとしてもよい。
次に、CPU10は、設定された要求タイミングを要求タイミングリスト29に記録し、メモリ20に保存する(ステップS226)。そして、要求タイミング設定処理を終了する。
図9、および、図10は、図7のステップ300におけるダウンロード処理の流れを示すフローチャートである。この処理は、代理プリンタのカスタムネットワークボードCNBのCPU10が実行する処理である。
まず、CPU10は、スプールディレクトリ22に保存されているダウンロード要求ファイルと、otherディレクトリ24に保存されているダウンロード要求ファイルとを合成して、一括ダウンロード要求ファイルFrを生成し(ステップS310)、一括ダウンロード要求ファイルディレクトリ26に保存する。そして、CPU10は、この一括ダウンロード要求ファイルFrを圧縮して、管理サーバSVに送信する(ステップS320)。管理サーバSVへの一括ダウンロード要求ファイルFrの送信は、セキュリティの確保のため、SSL(Secure Socket Layer)を用いて行う。
次に、CPU10は、ダウンロードに成功したか否かを判断する(ステップS330)。この判断は、管理サーバSVから、ダウンロードデータファイルを受信したか否かに基づいて行われる。CPU10は、管理サーバSVから、ダウンロードデータファイルを受信した場合には、ダウンロードが成功したと判断し、ダウンロードデータファイルを受信しない場合には、ダウンロードが失敗したと判断する。
ステップS330において、ダウンロードに成功した場合には、CPU10は、ダウンロードデータを解析して、配信データファイルを作成する(ステップS340)。
次に、CPU10は、ダウンロード要求ファイルを受信した転送元の被代理プリンタのうちの1つとFTP接続を行い(ステップS350)、その被代理プリンタに対して、配信データファイル、および、この配信データファイルに対応する受信済みのダウンロード要求ファイルの削除要求を送信する(ステップS352)。このとき、1つの受信済みのダウンロード要求ファイルに対して、1つの削除要求が送信される。新たに電源がオンされた等の理由によって、FTP接続したプリンタPRTに、受信済みのダウンロード要求ファイルが保持されていない場合には、この削除要求の送信は行わない。この削除要求を受信したプリンタPRTは、代理プリンタからの削除要求に応じて、ダウンロード要求ファイルを削除する。こうすることによって、削除要求を受信したプリンタPRTのスプールディレクトリ22には、管理サーバSVに未送信のダウンロード要求ファイルのみが残されるので、CPU10は、後に、スプールディレクトリ22に未送信のダウンロード要求ファイルが存在しているか否かを容易に判断することができる。
次に、CPU10は、FTP接続を行っているプリンタPRTについて、全ての受信済みのダウンロード要求ファイルについての削除要求を送信したか否かを判断する(ステップS354)。受信済みのダウンロード要求ファイルについて、削除要求を送信していないダウンロード要求ファイルが残っている場合には(ステップS354:NO)、ステップS352に戻る。一方、全ての受信済みのダウンロード要求ファイルについての削除要求を送信した場合には(ステップS354:YES)、CPU10は、今回、自分が代理プリンタであったことを示す、当該プリンタPRTの識別情報を記したファイルを送信して(ステップS356)、送信先のプリンタPRTのメモリ20に保存させ、FTP接続を切断する(ステップS358)。
次に、CPU10は、ダウンロード要求ファイルを受信した全ての転送元のプリンタPRTに対して、ステップS350〜S358の処理を行ったか否かを判断する(ステップS360)。ステップS350〜S358の処理を行っていないプリンタPRTが残っている場合には(ステップS360:NO)、ステップS350に戻る。一方、全ての転送元のプリンタPRTに対してステップS350〜S358の処理を行った場合には(ステップS360:YES)、CPU10は、自身のスプールディレクトリ22に保存されているダウンロード済みのダウンロードデータに対応するダウンロード要求ファイルを削除する(ステップS370)。そして、CPU10は、今回、自分が代理プリンタであったことを示すファイルを作成してメモリ20に記録する(ステップS372)。さらに、CPU10は、一括ダウンロード要求ファイルディレクトリ26に保存されている一括ダウンロード要求ファイルFr、および、otherディレクトリ24に保存されている被代理プリンタから取得したダウンロード要求ファイルを削除する(ステップS380)。そして、ダウンロード処理を終了する。
ステップ330において、ダウンロードに失敗した場合には(ステップS330:NO)、CPU10は、一括ダウンロード要求ファイルディレクトリ26に保存されている一括ダウンロード要求ファイルFr、および、otherディレクトリ24に保存されている被代理プリンタから取得したダウンロード要求ファイルを削除し(ステップS380)、スプールディレクトリ22に保存されているダウンロード要求ファイルは、いずれかのプリンタPRTがダウンロード処理を実行するときまで保持する。そして、ダウンロード処理を終了する。
B4.被代理プリンタの動作処理:
図11は、被代理プリンタの動作処理の流れを示すフローチャートである。この処理は、被代理プリンタのカスタムネットワークボードCNBのCPU10が実行する処理である。
まず、CPU10は、代理プリンタからダウンロード要求ファイルの送信要求を受信したか否かを判断する(ステップS400)。CPU10は、代理プリンタからダウンロード要求ファイルの送信要求を受信した場合には(ステップS400:YES)、スプールディレクトリ22に、管理サーバSVに送信すべきダウンロード要求ファイルが存在するか否かを判断する(ステップS410)。スプールディレクトリ22に、管理サーバSVに送信すべきダウンロード要求ファイルが存在する場合には(ステップS410:YES)、CPU10は、そのダウンロード要求ファイルを代理プリンタに転送し(ステップS420)、その後、送信終了の通知を行う(ステップS430)。ステップS410において、スプールディレクトリ22に、管理サーバSVに送信すべきダウンロード要求ファイルが存在しない場合には(ステップS410:NO)、管理サーバSVに送信すべきダウンロード要求ファイルが存在しないことを示す通知を行う(ステップS430)。そして、ステップS400に戻る。
ステップS400において、代理プリンタから送信要求を受信していない場合には(ステップS400:NO)、CPU10は、ダウンロード時刻になったか否かを判断する(ステップS440)。ダウンロード時刻になっていない場合には(ステップS440:NO)、ステップS400に戻る。一方、ダウンロード時刻になった場合には(ステップS440:YES)、スプールディレクトリ22に、所定時間Tc以上前に保存されたダウンロード要求ファイルが存在するか否かを判断する(ステップS450)。本実施例では、所定時間Tcとして、ダウンロードの周期Tよりも長い時間が設定されている。所定時間Tcは、任意に設定可能である。
ステップS450において、スプールディレクトリ22に、所定時間Tc以上前に保存されたダウンロード要求ファイルが存在しない場合には(ステップS450:NO)、そのままステップS400に戻る。一方、スプールディレクトリ22に、所定時間Tc以上前に保存されたダウンロード要求ファイルが存在する場合には(ステップS160c:YES)、他のプリンタPRTが、電源がオフされる等によって代理プリンタとして機能していないことを表しているので、CPU10は、このプリンタPRTを代理プリンタとして機能させて、図7のステップS200に進む。
以上説明した第1実施例のデバイス管理システム1000では、代理プリンタが、自らのダウンロード要求と、被代理プリンタから受信したダウンロード要求とを、一括して管理サーバSVに送信するので、各プリンタPRTから管理サーバSVへのアクセス頻度を低減することができる。さらに、各被代理プリンタは、それぞれ異なるタイミングで、代理プリンタから送信要求を受信し、これに応じて、ダウンロード要求ファイルを代理プリンタに送信するので、デバイス管理システム1000に多数のプリンタPRTが接続されている場合であっても、多数の被代理プリンタが一斉にダウンロード要求ファイルを代理プリンタに送信することはない。この結果、被代理プリンタから代理プリンタへのダウンロード要求ファイルの送信に伴うネットワークトラフィックの急激な増大を防止することができる。つまり、本実施例のデバイス管理システム1000によれば、プリンタPRTから管理サーバへのアクセス頻度を低減するとともに、ダウンロード要求ファイルの送信に伴うネットワークトラフィックの急激な増大を防止することができる。
C.第2実施例:
第2実施例のデバイス管理システムの構成は、第1実施例のデバイス管理システム1000と同じである。
図12は、第2実施例のプリンタPRTaの構成を示す説明図である。このプリンタPRTaの構成は、第1実施例のプリンタPRTとほぼ同じである。ただし、第2実施例のプリンタPRTaは、第1実施例のプリンタPRTにおける要求タイミング設定部15の代わりに、送信タイミング設定部19を備えている。
送信タイミング設定部19は、自身が代理プリンタとして機能しているときに、他のプリンタPRTaが当該プリンタPRTaにダウンロード要求ファイルを送信すべき送信タイミングを設定する。本実施例では、第1実施例における要求タイミングの設定と同様に、ダウンロード要求ファイルを管理サーバSVに送信すべき稼働中の被代理プリンタの数をカウントし、その数と、管理サーバSVからのダウンロードの周期とに基づいて、すべての被代理プリンタについてのタイミングが異なるように、送信タイミングを設定するものとした。送信タイミング設定部19によって設定された各送信タイミングは、それぞれ被代理プリンタに送信され、被代理プリンタは、代理プリンタから指定された送信タイミングで、ダウンロード要求ファイルを送信する。送信タイミング設定部19は、本発明における基準タイミング設定部に相当する。
また、プリンタPRTaは、メモリ20に、要求タイミングリスト29を記憶する代わりに、プリンタPRTaが被代理プリンタとして機能しているときに、代理プリンタから受信した送信タイミングを記したファイルを記憶する。
上述した第1実施例のプリンタPRTとの構成の相違により、第2実施例のプリンタPRTaは、カスタムネットワークボードCNBのCPU10によって行われる処理が、第1実施例のプリンタPRTと一部異なる。以下、第1実施例と異なる点について説明する。
図13は、第2実施例における代理プリンタの動作処理の流れを示すフローチャートである。
まず、CPU10は、他のプリンタ、すなわち、ローカルエリアネットワークLANに接続されている全てのプリンタPRTに対して、存在確認を問い合わせるブロードキャストを送信する(ステップS500)。そして、CPU10は、いずれかのプリンタPRTから、このブロードキャストに対する応答を受信したか否かを判断する(ステップS510)。いずれのプリンタPRTからもブロードキャストに対する応答を受信しない場合には(ステップS510:NO)、CPU10は、ダウンロード要求ファイルの収集を行うべき被代理プリンタが存在しないものと判断して、ダウンロード時刻になるまで待機し(ステップS570:NO)、ダウンロード時刻になったら(ステップS570:YES)、第1実施例と同様にして、ダウンロード処理を実行する(ステップS300)。そして、ステップS500に戻る。
ステップS510において、いずれかのプリンタPRTから、ブロードキャストに対する応答を受信した場合には(ステップS510:YES)、CPU10は、その応答を受信したプリンタPRTa、すなわち、ローカルエリアネットワークLAN上で稼働中の被代理プリンタの数nをカウントする(ステップS520)。そして、CPU10は、被代理プリンタの数nと、管理サーバSVへの一括ダウンロード要求ファイルFrの送信、すなわち、管理サーバSVからのダウンロードの周期Tとに基づいて、各被代理プリンタが代理プリンタにダウンロード要求ファイルを送信すべき送信タイミングを設定する(ステップS530)。本実施例では、T/(n+1)毎に各被代理プリンタの送信タイミングを設定するものとした。こうすることによって、ステップS500におけるブロードキャストに対しての応答を受信した全てのプリンタPRTについて、それぞれ異なる送信タイミングを設定することができる。
次に、CPU10は、ステップS530において設定された各送信タイミングを、それぞれ各被代理プリンタに送信する。この送信タイミングを受信した被代理プリンタは、送信タイミングになったときに、管理サーバSVに送信すべきダウンロード要求ファイルを保持している場合には、これを代理プリンタに送信する。
そして、CPU10は、ダウンロード時刻になるまで被代理プリンタからダウンロード要求ファイルを順次受信し(ステップS550、S560:NO)、ダウンロード時刻になったら(ステップS560:YES)、ダウンロード処理を実行する(ステップS300)。そして、ステップS500に戻る。
図14は、第2実施例における被代理プリンタの動作処理の流れを示すフローチャートである。
まず、CPU10は、代理プリンタにダウンロード要求ファイルを送信すべき送信タイミングになったか否かを判断する(ステップS400a)。CPU10は、送信タイミングになった場合には(ステップS400a:YES)、スプールディレクトリ22に、管理サーバSVに送信すべきダウンロード要求ファイルが存在するか否かを判断する(ステップS410)。スプールディレクトリ22に、管理サーバSVに送信すべきダウンロード要求ファイルが存在する場合には(ステップS410:YES)、CPU10は、そのダウンロード要求ファイルを代理プリンタに転送し(ステップS420)、その後、送信終了の通知を行う(ステップS430)。ステップS410において、スプールディレクトリ22に、管理サーバSVに送信すべきダウンロード要求ファイルが存在しない場合には(ステップS410:NO)、管理サーバSVに送信すべきダウンロード要求ファイルが存在しないことを示す通知を行う(ステップS430)。そして、ステップS400aに戻る。
ステップS400aにおいて、送信タイミングになっていない場合には(ステップS400a:NO)、CPU10は、ダウンロード時刻になったか否かを判断する(ステップS440)。ダウンロード時刻になっていない場合には(ステップS440:NO)、ステップS400aに戻る。一方、ダウンロード時刻になった場合には(ステップS440:YES)、スプールディレクトリ22に、所定時間Tc以上前に保存されたダウンロード要求ファイルが存在するか否かを判断する(ステップS450)。本実施例においても、第1実施例と同様に、所定時間Tcとして、ダウンロードの周期Tよりも長い時間が設定されている。所定時間Tcは、任意に設定可能である。
ステップS450において、スプールディレクトリ22に、所定時間Tc以上前に保存されたダウンロード要求ファイルが存在しない場合には(ステップS450:NO)、そのままステップS400aに戻る。一方、スプールディレクトリ22に、所定時間Tc以上前に保存されたダウンロード要求ファイルが存在する場合には(ステップS160c:YES)、他のプリンタPRTが、電源がオフされる等によって代理プリンタとして機能していないことを表しているので、CPU10は、このプリンタPRTを代理プリンタとして機能させて、図7のステップS200に進む。
以上説明した第2実施例のデバイス管理システムでは、代理プリンタが、自らのダウンロード要求と、被代理プリンタから受信したダウンロード要求とを、一括して管理サーバSVに送信するので、各プリンタPRTaから管理サーバSVへのアクセス頻度を低減することができる。さらに、各被代理プリンタは、代理プリンタによって設定されたそれぞれ異なるタイミングで、ダウンロード要求ファイルを代理プリンタに送信するので、デバイス管理システムに多数のプリンタPRTaが接続されている場合であっても、多数の被代理プリンタが一斉にダウンロード要求ファイルを代理プリンタに送信することはない。この結果、被代理プリンタから代理プリンタへのダウンロード要求ファイルの送信に伴うネットワークトラフィックの急激な増大を防止することができる。つまり、本実施例のデバイス管理システムによれば、プリンタPRTaから管理サーバへのアクセス頻度を低減するとともに、ダウンロード要求ファイルの送信に伴うネットワークトラフィックの急激な増大を防止することができる。
D.変形例:
以上、本発明のいくつかの実施の形態について説明したが、本発明はこのような実施の形態になんら限定されるものではなく、その要旨を逸脱しない範囲内において種々なる態様での実施が可能である。例えば、以下のような変形例が可能である。
D1.変形例1:
上記実施例では、代理プリンタは、各被代理プリンタに対して、それぞれ異なる要求タイミングや、送信タイミングを設定するものとしたが、これに限られない。代理プリンタは、要求タイミングや、送信タイミングを、それらのうちの少なくとも1つが異なるタイミングになるように設定するようにすればよい。こうすることによっても、複数の被代理プリンタのうちの少なくとも1つは、他の被代理プリンタと異なるタイミングでダウンロード要求ファイルを代理プリンタに送信することになるので、被代理プリンタ全てが一斉にダウンロード要求ファイルを代理プリンタに送信することはない。この結果、被代理プリンタから代理プリンタへのダウンロード要求ファイルの送信に伴うネットワークトラフィックの急激な増大を防止することができる。
D2.変形例2:
上記実施例では、各プリンタPRTは、タイマ30を備えるものとしたが、時計を備えるようにしてもよい。また、各プリンタPRTは、インターネットINT上に設置されたいわゆるNTPサーバから、必要に応じて時刻を取得するようにしてもよい。
D3.変形例3:
上記実施例では、全てのプリンタPRTが、カスタムネットワークボードCNBを備え、代理プリンタとして機能しうるものとしたが、少なくとも3台のプリンタPRTが、このPRTを代理プリンタとして機能させるカスタムネットワークボードCNBを備えるようにすればよい。この場合、プリンタを代理プリンタとして機能させるカスタムネットワークボードCNBを備えない他のプリンタは、代理プリンタからの要求に応じて、ダウンロード要求ファイルの転送や、削除等を行う機能を備えるようにすればよい。
D4.変形例4:
上記実施例では、被代理プリンタは、代理プリンタからの削除要求に応じて、送信済みのダウンロード要求ファイルの削除を行うものとしたが、配信データの受信に応じて、送信済みのダウンロード要求ファイルを削除するようにしてもよい。
D5.変形例5:
上記実施例では、代理プリンタは、ダウンロード処理において、管理サーバSVからのダウンロードデータファイルのダウンロードが成功したときに、一連の処理の中で、配信データを各プリンタPRTに送信するものとしたが、これに限られない。代理プリンタは、他のプリンタPRTからの配信要求を受信するまで、ダウンロードデータファイルをダウンロードディレクトリ28に保存しておき、他のプリンタPRTからの配信要求に応じて、配信データを送信するようにしてもよい。この際、配信データの作成は、他のプリンタPRTからの配信要求を受信する前に行うようにしてもよいし、受信した後に行うようにしてもよい。
D6.変形例6:
上記実施例では、ネットワークに接続されるプリンタPRTに、本発明のデバイスを適用した例を示したが、これに限られない。例えば、スキャナや、プロジェクタや、オーディオ装置や、家電機器や、クライアントコンピュータや、PDA(Personal Digital Assistance)など、ネットワークに接続されて利用される種々のデバイスに、本発明のデバイスを適用するようしにてもよい。
本発明の情報集配信システムを適用した一実施例としてのデバイス管理システム1000の概略構成を示す説明図である。 第1実施例のプリンタPRTの構成を示す説明図である。 一括ダウンロード要求ファイルの生成について示す説明図である。 配信データファイルの生成について示す説明図である。 要求タイミングリスト29の一例を示す説明図である。 起動設定処理の流れを示すフローチャートである。 代理プリンタの動作処理の流れを示すフローチャートである。 要求タイミング設定処理の流れを示すフローチャートである。 ダウンロード処理の流れを示すフローチャートである。 ダウンロード処理の流れを示すフローチャートである。 被代理プリンタの動作処理の流れを示すフローチャートである。 第2実施例のプリンタPRTaの構成を示す説明図である。 第2実施例における代理プリンタの動作処理の流れを示すフローチャートである。 第2実施例における被代理プリンタの動作処理の流れを示すフローチャートである。
符号の説明
1000...デバイス管理システム
10...CPU
12...メモリ制御部
14...判断部
15...要求タイミング設定部
16...一括ダウンロード要求ファイル作成部
17...配信データファイル作成部17
18...通信制御部
19...送信タイミング設定部
20...メモリ
22...スプールディレクトリ
24...otherディレクトリ
26...一括ダウンロード要求ファイルディレクトリ
28...ダウンロードディレクトリ
29...要求タイミングリスト
30...タイマ
100...プリンタ本体
110...プリンタエンジン
120...プリンタコントローラ
122...監視部
PC...パーソナルコンピュータ
PRT、PRTa...プリンタ
CNB...カスタムネットワークボード
SV...管理サーバ
DP...ディスプレイ
KB...キーボード
MS...マウス
INT...インターネット
LAN...ローカルエリアネットワーク
FW...ファイアウォール

Claims (12)

  1. 複数のデバイスと、該デバイスによって利用するための所定の情報を配信する所定のサーバとを、所定のネットワークを介して、互いに接続することによって構成された情報集配信システムであって、
    前記複数のデバイスのうちの特定のデバイスは、該特定のデバイス以外の複数の他のデバイスについての前記所定の情報のダウンロード要求を受信するタイミングの基準となる基準タイミングを、前記複数のデバイスのうちの稼働中のデバイスの数と、前記ダウンロード要求を前記サーバに送信するタイミングまでの時間とに基づいて、該各基準タイミングのうちの少なくとも1つが異なるタイミングになるように設定し、該各基準タイミングを、前記各他のデバイスに通知し、
    前記他のデバイスは、前記基準タイミングに基づくタイミングで、該他のデバイスについての前記ダウンロード要求を、前記特定のデバイスに送信し、
    前記特定のデバイスは、前記サーバからの指示によらずに、当該特定のデバイスに電源が投入されてから、最初に前記ダウンロード要求を前記サーバに送信すべき時刻までの予め設定された待ち時間に基づくタイミングで、該特定のデバイスについての前記ダウンロード要求、および、前記他のデバイスから受信した前記ダウンロード要求を、前記サーバに送信し、以降、前記ダウンロード要求を前記サーバに送信すべく予め設定された周期に基づくタイミングで、繰り返し、該特定のデバイスについての前記ダウンロード要求、および、前記他のデバイスから受信した前記ダウンロード要求を、前記サーバに送信し、
    前記サーバは、前記特定のデバイスから受信した前記ダウンロード要求に応じて、該ダウンロード要求に対応する前記所定の情報を、前記特定のデバイスに送信し、
    前記特定のデバイスは、前記サーバから受信した前記所定の情報のうち、前記他のデバイスから受信した前記ダウンロード要求に対応する前記所定の情報を、前記他のデバイスにそれぞれ配信する、
    情報集配信システム。
  2. 請求項1記載の情報集配信システムであって、
    前記特定のデバイスは、前記各基準タイミングを設定し、該各基準タイミングを前記各他のデバイスに通知すべく、前記複数の他のデバイスに対して該各他のデバイスについての前記ダウンロード要求の送信を要求する要求タイミングを設定し、該各要求タイミングで、前記各他のデバイスに前記要求を順次送信し、
    前記他のデバイスは、前記基準タイミングに基づくタイミングとして、前記要求に応じて、該他のデバイスについての前記ダウンロード要求を、前記特定のデバイスに送信する、
    情報集配信システム。
  3. 請求項1記載の情報集配信システムであって、
    前記特定のデバイスは、前記基準タイミングとして、前記複数の他のデバイスが該各他のデバイスについての前記ダウンロード要求を前記特定のデバイスに送信すべき送信タイミングを設定し、該各送信タイミングを示すタイミング情報を前記各他のデバイスにそれぞれ送信し、
    前記他のデバイスは、前記タイミング情報に基づく前記送信タイミングで、該他のデバイスに関する前記ダウンロード要求を、前記特定のデバイスに送信する、
    情報集配信システム。
  4. 請求項1記載の情報集配信システムであって、
    前記特定のデバイスは、前記各基準タイミングを、前記複数の他のデバイスについて、それぞれ異なるように設定する、
    情報集配信システム。
  5. 請求項1記載の情報集配信システムであって、
    前記複数のデバイスには、該複数のデバイスを識別するための識別情報がそれぞれ付与されており、
    前記他のデバイスは、該他のデバイスについての前記ダウンロード要求を、該他のデバイスを識別するための識別情報と関連付けて、前記特定のデバイスに送信し、
    前記特定のデバイスは、前記各ダウンロード要求を、該各ダウンロード要求と対応する前記各識別情報と関連付けて、前記サーバに送信する、
    情報集配信システム。
  6. 請求項1記載の情報集配信システムであって、
    前記特定のデバイスは、前記複数のデバイスについての前記ダウンロード要求を、前記サーバに送信した後に、前記送信済みの前記ダウンロード要求を削除すべき削除要求を、前記他のデバイスに送信し、
    前記他のデバイスは、前記特定のデバイスから受信した前記削除要求に応じて、前記送信済みの前記ダウンロード要求を削除する、
    情報集配信システム。
  7. 複数のデバイスと、該デバイスによって利用するための所定の情報を配信する所定のサーバとを、所定のネットワークを介して、互いに接続することによって構成された情報集配信システムに用いられるデバイスであって、
    当該デバイスについての前記所定の情報のダウンロード要求を記憶するダウンロード要求記憶部と、
    当該デバイス以外の複数の他のデバイスについての前記ダウンロード要求を受信するタイミングの基準となる基準タイミングを、前記複数のデバイスのうちの稼働中のデバイスの数と、前記ダウンロード要求を前記サーバに送信するタイミングまでの時間とに基づいて、該各基準タイミングのうちの少なくとも1つが異なるタイミングになるように設定する基準タイミング設定部と、
    該設定された各基準タイミングを、前記各他のデバイスに通知する通知部と、
    前記他のデバイスから、前記基準タイミングに基づくタイミングで、前記他のデバイスについての前記ダウンロード要求を受信するダウンロード要求受信部と、
    前記サーバからの指示によらずに、当該デバイスに電源が投入されてから、最初に前記ダウンロード要求を前記サーバに送信すべき時刻までの予め設定された待ち時間に基づくタイミングで、前記ダウンロード要求記憶部に記憶された前記ダウンロード要求、および、前記他のデバイスから受信した前記ダウンロード要求を、前記サーバに送信し、以降、前記ダウンロード要求を前記サーバに送信すべく予め設定された周期に基づくタイミングで、繰り返し、前記ダウンロード要求記憶部に記憶された前記ダウンロード要求、および、前記他のデバイスから受信した前記ダウンロード要求を、前記サーバに送信するダウンロード要求送信部と、
    前記サーバから、前記送信したダウンロード要求の応答として、該ダウンロード要求に対応する前記所定の情報を受信する受信部と、
    該受信した前記所定の情報のうち、前記他のデバイスから受信した前記ダウンロード要求に対応する前記所定の情報を、前記他のデバイスにそれぞれ配信する配信部と、
    を備えるデバイス。
  8. 請求項記載のデバイスであって、
    前記基準タイミング設定部は、前記基準タイミングとして、前記複数の他のデバイスに対して該各他のデバイスについての前記ダウンロード要求の送信を要求する要求タイミングを設定し、
    前記通知部は、前記各基準タイミングを前記各他のデバイスに通知すべく、前記設定された各要求タイミングで、前記各他のデバイスに前記要求を順次送信し、
    前記ダウンロード要求受信部は、前記他のデバイスから、前記要求の応答として送信された前記ダウンロード要求を受信する、
    デバイス。
  9. 請求項記載のデバイスであって、
    前記基準タイミング設定部は、前記基準タイミングとして、前記複数の他のデバイスが該各他のデバイスについての前記ダウンロード要求を当該デバイスに送信すべき送信タイミングを設定し、
    前記通知部は、前記設定された各送信タイミングを示すタイミング情報を、前記各他のデバイスにそれぞれ送信し、
    前記ダウンロード要求受信部は、前記他のデバイスから、前記タイミング情報に基づく前記送信タイミングで送信された前記ダウンロード要求を受信する、
    デバイス。
  10. 請求項記載のデバイスであって、
    前記基準タイミング設定部は、前記各基準タイミングを、前記複数の他のデバイスについて、それぞれ異なるように設定する、
    デバイス。
  11. 複数のデバイスと、該デバイスによって利用するための所定の譲歩を配信する所定のサーバとを、所定のネットワークを介して、互いに接続することによって構成された情報集配信システムの制御方法であって、
    前記複数のデバイスのうちの特定のデバイスにおいて、該特定のデバイス以外の複数の他のデバイスについての前記所定の情報のダウンロード要求を受信するタイミングの基準となる基準タイミングを、前記複数のデバイスのうちの稼働中のデバイスの数と、前記ダウンロード要求を前記サーバに送信するタイミングまでの時間とに基づいて、該各基準タイミングのうちの少なくとも1つが異なるタイミングになるように設定し、該各基準タイミングを、前記各他のデバイスに通知する工程と、
    前記他のデバイスにおいて、前記基準タイミングに基づくタイミングで、該他のデバイスについての前記ダウンロード要求を、前記特定のデバイスに送信する工程と、
    前記特定のデバイスにおいて、前記サーバからの指示によらずに、当該特定のデバイスに電源が投入されてから、最初に前記ダウンロード要求を前記サーバに送信すべき時刻までの予め設定された待ち時間に基づくタイミングで、該特定のデバイスについての前記ダウンロード要求、および、前記他のデバイスから受信した前記ダウンロード要求を、前記サーバに送信し、以降、前記ダウンロード要求を前記サーバに送信すべく予め設定された周期に基づくタイミングで、繰り返し、該特定のデバイスについての前記ダウンロード要求、および、前記他のデバイスから受信した前記ダウンロード要求を、前記サーバに送信する工程と、
    前記サーバにおいて、前記特定のデバイスから受信した前記ダウンロード要求に応じて、該ダウンロード要求に対応する前記所定の情報を、前記特定のデバイスに送信する工程と、
    前記特定のデバイスにおいて、前記サーバから受信した前記所定の情報のうち、前記他のデバイスから受信した前記ダウンロード要求に対応する前記所定の情報を、前記他のデバイスにそれぞれ配信する工程と、
    を備える制御方法。
  12. 複数のデバイスと、該デバイスによって利用するための所定の情報を配信する所定のサーバとを、所定のネットワークを介して、互いに接続することによって構成された情報集配信システムに用いられるデバイスの制御方法であって、
    当該デバイスについての前記所定の情報のダウンロード要求を所定のダウンロード要求記憶部に記憶する工程と、
    当該デバイス以外の複数の他のデバイスについての前記ダウンロード要求を受信するタイミングの基準となる基準タイミングを、前記複数のデバイスのうちの稼働中のデバイスの数と、前記ダウンロード要求を前記サーバに送信するタイミングまでの時間とに基づいて、該各基準タイミングのうちの少なくとも1つが異なるタイミングになるように設定する工程と、
    該設定された各基準タイミングを、前記各他のデバイスに通知する工程と、
    前記他のデバイスから、前記基準タイミングに基づくタイミングで、前記他のデバイスについての前記ダウンロード要求を受信する工程と、
    前記サーバからの指示によらずに、当該デバイスに電源が投入されてから、最初に前記ダウンロード要求を前記サーバに送信すべき時刻までの予め設定された待ち時間に基づくタイミングで、前記ダウンロード要求記憶部に記憶された前記ダウンロード要求、および、前記他のデバイスから受信した前記ダウンロード要求を、前記サーバに送信し、以降、前記ダウンロード要求を前記サーバに送信すべく予め設定された周期に基づくタイミングで、繰り返し、前記ダウンロード要求記憶部に記憶された前記ダウンロード要求、および、前記他のデバイスから受信した前記ダウンロード要求を、前記サーバに送信する工程と、
    前記サーバから、前記送信したダウンロード要求の応答として、該ダウンロード要求に対応する前記所定の情報を受信する工程と、
    該受信した前記所定の情報のうち、前記他のデバイスから受信した前記ダウンロード要求に対応する前記所定の情報を、前記他のデバイスにそれぞれ配信する工程と、
    を備える制御方法。
JP2005090596A 2005-03-28 2005-03-28 ネットワークに接続されたサーバからの情報のダウンロード制御 Expired - Fee Related JP4604792B2 (ja)

Priority Applications (1)

Application Number Priority Date Filing Date Title
JP2005090596A JP4604792B2 (ja) 2005-03-28 2005-03-28 ネットワークに接続されたサーバからの情報のダウンロード制御

Applications Claiming Priority (1)

Application Number Priority Date Filing Date Title
JP2005090596A JP4604792B2 (ja) 2005-03-28 2005-03-28 ネットワークに接続されたサーバからの情報のダウンロード制御

Publications (2)

Publication Number Publication Date
JP2006276933A JP2006276933A (ja) 2006-10-12
JP4604792B2 true JP4604792B2 (ja) 2011-01-05

Family

ID=37211679

Family Applications (1)

Application Number Title Priority Date Filing Date
JP2005090596A Expired - Fee Related JP4604792B2 (ja) 2005-03-28 2005-03-28 ネットワークに接続されたサーバからの情報のダウンロード制御

Country Status (1)

Country Link
JP (1) JP4604792B2 (ja)

Families Citing this family (1)

* Cited by examiner, † Cited by third party
Publication number Priority date Publication date Assignee Title
JP5105085B2 (ja) * 2008-06-16 2012-12-19 Necシステムテクノロジー株式会社 資産管理システム及びその方法

Family Cites Families (6)

* Cited by examiner, † Cited by third party
Publication number Priority date Publication date Assignee Title
JP2001243030A (ja) * 2000-02-28 2001-09-07 Canon Inc 画像処理システム、画像処理装置及びその制御方法並びに記憶媒体
JP2002183013A (ja) * 2000-12-08 2002-06-28 Nec Corp サーバ負荷分散システム、及び、サーバ負荷分散方法
JP2003006069A (ja) * 2001-06-20 2003-01-10 Fuji Xerox Co Ltd デバイス管理サーバ
JP2003186765A (ja) * 2001-12-20 2003-07-04 Fuji Xerox Co Ltd ネットワーク接続デバイス、ネットワーク接続デバイス管理システム、ネットワーク接続デバイス管理方法
JP2004234625A (ja) * 2003-01-09 2004-08-19 Seiko Epson Corp アクセス制御システム、被アクセス端末、アクセス端末および端末用プログラム、並びにアクセス制御方法
JP2004235789A (ja) * 2003-01-29 2004-08-19 Nikon Gijutsu Kobo:Kk デジタルカメラ

Also Published As

Publication number Publication date
JP2006276933A (ja) 2006-10-12

Similar Documents

Publication Publication Date Title
CN110114761B (zh) 软件更新装置和软件更新系统
JP5495542B2 (ja) 画像処理システム、画像処理装置及び画像処理方法
US20100161819A1 (en) Information processing system, information processing apparatus, and information processing method
JP2003058338A (ja) 画像処理装置および管理ユニット
JP2013054421A (ja) 処理制御サーバー,処理制御方法および処理端末
KR100728924B1 (ko) 네트워크 시스템에서 매개 디바이스의 통신 방법 및네트워크 디바이스 관리 시스템
JP7081273B2 (ja) プログラム及び通信システム
US8782202B2 (en) Monitor control of devices connected to network
JP2006099300A (ja) ネットワークに接続されるデバイスのデバイス設定管理
US8204963B2 (en) Download control of information from server connected to network
JP4604792B2 (ja) ネットワークに接続されたサーバからの情報のダウンロード制御
JP5732889B2 (ja) プログラム更新管理サーバーおよびプログラム更新管理方法
JP2009124351A (ja) ファクシミリ装置及びその制御方法
JP4548145B2 (ja) ネットワークに接続されたデバイスの監視制御
JP2006235789A (ja) ネットワークに接続されたサーバからの情報のダウンロード制御
JP4561374B2 (ja) ネットワークに接続されたサーバからの情報のダウンロード制御
JP5685971B2 (ja) プログラム更新管理サーバーおよびプログラム更新管理方法
JP4747581B2 (ja) ネットワークに接続されたデバイスの監視制御
JP4517874B2 (ja) ネットワークに接続された管理サーバからの情報のダウンロード制御
JP4561373B2 (ja) ネットワークに接続されたサーバからの情報のダウンロード制御
JP2006276935A (ja) ネットワークに接続されたデバイスの監視制御
JP2006309307A (ja) ネットワークに接続されたサーバからの情報のダウンロード制御
JP2006277380A (ja) ネットワークに接続されたデバイスの監視制御
JP4682636B2 (ja) ネットワークに接続されたデバイスの監視制御
JP4665521B2 (ja) ネットワークに接続されたデバイスの監視制御

Legal Events

Date Code Title Description
A621 Written request for application examination

Free format text: JAPANESE INTERMEDIATE CODE: A621

Effective date: 20080206

A977 Report on retrieval

Free format text: JAPANESE INTERMEDIATE CODE: A971007

Effective date: 20100616

A131 Notification of reasons for refusal

Free format text: JAPANESE INTERMEDIATE CODE: A131

Effective date: 20100622

A521 Request for written amendment filed

Free format text: JAPANESE INTERMEDIATE CODE: A523

Effective date: 20100810

TRDD Decision of grant or rejection written
A01 Written decision to grant a patent or to grant a registration (utility model)

Free format text: JAPANESE INTERMEDIATE CODE: A01

Effective date: 20100907

A01 Written decision to grant a patent or to grant a registration (utility model)

Free format text: JAPANESE INTERMEDIATE CODE: A01

A61 First payment of annual fees (during grant procedure)

Free format text: JAPANESE INTERMEDIATE CODE: A61

Effective date: 20100920

R150 Certificate of patent or registration of utility model

Ref document number: 4604792

Country of ref document: JP

Free format text: JAPANESE INTERMEDIATE CODE: R150

Free format text: JAPANESE INTERMEDIATE CODE: R150

FPAY Renewal fee payment (event date is renewal date of database)

Free format text: PAYMENT UNTIL: 20131015

Year of fee payment: 3

S531 Written request for registration of change of domicile

Free format text: JAPANESE INTERMEDIATE CODE: R313532

R350 Written notification of registration of transfer

Free format text: JAPANESE INTERMEDIATE CODE: R350

LAPS Cancellation because of no payment of annual fees