JP4604759B2 - 熱交換器 - Google Patents

熱交換器 Download PDF

Info

Publication number
JP4604759B2
JP4604759B2 JP2005045499A JP2005045499A JP4604759B2 JP 4604759 B2 JP4604759 B2 JP 4604759B2 JP 2005045499 A JP2005045499 A JP 2005045499A JP 2005045499 A JP2005045499 A JP 2005045499A JP 4604759 B2 JP4604759 B2 JP 4604759B2
Authority
JP
Japan
Prior art keywords
tube
side plate
bending deformation
heat exchanger
bottom plate
Prior art date
Legal status (The legal status is an assumption and is not a legal conclusion. Google has not performed a legal analysis and makes no representation as to the accuracy of the status listed.)
Expired - Fee Related
Application number
JP2005045499A
Other languages
English (en)
Other versions
JP2006234199A (ja
Inventor
真樹 原田
Current Assignee (The listed assignees may be inaccurate. Google has not performed a legal analysis and makes no representation or warranty as to the accuracy of the list.)
Denso Corp
Original Assignee
Denso Corp
Priority date (The priority date is an assumption and is not a legal conclusion. Google has not performed a legal analysis and makes no representation as to the accuracy of the date listed.)
Filing date
Publication date
Application filed by Denso Corp filed Critical Denso Corp
Priority to JP2005045499A priority Critical patent/JP4604759B2/ja
Priority to DE102006007759A priority patent/DE102006007759A1/de
Priority to US11/358,796 priority patent/US7389810B2/en
Priority to CNB2006100086972A priority patent/CN100462660C/zh
Publication of JP2006234199A publication Critical patent/JP2006234199A/ja
Application granted granted Critical
Publication of JP4604759B2 publication Critical patent/JP4604759B2/ja
Anticipated expiration legal-status Critical
Expired - Fee Related legal-status Critical Current

Links

Images

Classifications

    • FMECHANICAL ENGINEERING; LIGHTING; HEATING; WEAPONS; BLASTING
    • F28HEAT EXCHANGE IN GENERAL
    • F28FDETAILS OF HEAT-EXCHANGE AND HEAT-TRANSFER APPARATUS, OF GENERAL APPLICATION
    • F28F9/00Casings; Header boxes; Auxiliary supports for elements; Auxiliary members within casings
    • F28F9/001Casings in the form of plate-like arrangements; Frames enclosing a heat exchange core
    • FMECHANICAL ENGINEERING; LIGHTING; HEATING; WEAPONS; BLASTING
    • F28HEAT EXCHANGE IN GENERAL
    • F28FDETAILS OF HEAT-EXCHANGE AND HEAT-TRANSFER APPARATUS, OF GENERAL APPLICATION
    • F28F2265/00Safety or protection arrangements; Arrangements for preventing malfunction
    • F28F2265/26Safety or protection arrangements; Arrangements for preventing malfunction for allowing differential expansion between elements

Landscapes

  • Engineering & Computer Science (AREA)
  • Physics & Mathematics (AREA)
  • Thermal Sciences (AREA)
  • Mechanical Engineering (AREA)
  • General Engineering & Computer Science (AREA)
  • Heat-Exchange Devices With Radiators And Conduit Assemblies (AREA)
  • Details Of Heat-Exchange And Heat-Transfer (AREA)

Description

本発明は、流体を熱交換させる熱交換器に関するもので、例えば内燃機関に吸入される燃焼用の過給された空気(過給気)を冷却するインタークーラに適用して有効である。
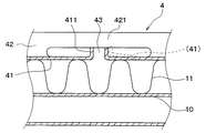
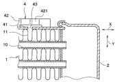
従来の熱交換器は、図4、5に示すように、多数のチューブ10と多数のコルゲートフィン11とを交互に積層してコア部1を構成している。また、コア部1におけるチューブ長手方向Xの両端部にタンク2、3を配置し、コア部1におけるチューブ積層方向Yの両端部にサイドプレート4を配置している。
この熱交換器は、熱交換器の構成部品を所定の熱交換器構造となるように仮組みした後、ワイヤーによりサイドプレート4の外側から熱交換器構造の組付体を締めつけて、組付体の仮組み状態を保持し、次に、この組付体をろう付け炉内に搬入し、ろう付け炉内にてろう材の融点まで加熱して組付体各部の接合箇所を一体ろう付けする。
ここで、サイドプレート4は、チューブ積層方向Yの両端部に位置するコルゲートフィン11を押さえて、コルゲートフィン11とチューブ10とのろう付け性を確保する機能を有している。
ところで、この熱交換器をインタークーラとして用いた場合、近年の特に大型ディーゼルエンジンの排ガス規制強化に伴う過給気温度の上昇により、チューブ10とサイドプレート4に多大な温度差が生じ、熱膨張差によりチューブ根付(チューブ10とタンク2、3の接合部)に大きな応力が生じてチューブ10が破断する不具合が懸念される。
そこで、従来の熱交換器においては、熱膨張差によるチューブ10の破断を防止するために、チューブ10の伸びに応じてサイドプレート4も伸びるように、サイドプレート4の底板部41にスリット43を設け、サイドプレート4の側板部42に曲げ変形部421を設けている(例えば、特許文献1参照)。
欧州特許出願公開第1001241号明細書
しかしながら、上記の従来の熱交換器においては、底板部41と曲げ変形部421間にチューブ積層方向Yの隙間があるため、一体ろう付け前の組み付け時に底板部41が撓みやすく、またサイドプレート4全体がねじれやすく、その結果、コルゲートフィン11の座屈やコア部組付け寸法のくるいを招くという問題があった。
本発明は上記点に鑑みて、フィンの座屈やコア部組付け寸法のくるいを抑制することを目的とする。
上記目的を達成するため、請求項1に記載の発明では、多数のチューブ(10)と多数のフィン(11)とが交互に積層配置されたコア部(1)と、コア部(1)におけるチューブ長手方向(X)の両端部に配置され、多数のチューブ(10)と連通するタンク(2、3)、コア部(1)におけるチューブ積層方向(Y)の両端部に配置され、両端がタンク(2、3)に結合されたサイドプレート(4)とを備える熱交換器において、サイドプレート(4)は、フィン(11)と接する底板部(41)と、底板部(41)からチューブ積層方向(Y)に延びる側板部(42)とを備え、側板部(42)は、曲げ変形により側板部(42)におけるチューブ長手方向(X)の伸縮を容易にする曲げ変形部(421)が形成され、底板部(41)は、曲げ変形部(421)に対応する位置に形成されたスリット(43)によりチューブ長手方向(X)に分割されており、さらに、底板部(41)におけるスリット(43)側の端部に、曲げ変形部(421)に向かって延びる爪部(411)が形成されており、爪部(411)のチューブ積層方向(Y)延長線上に、曲げ変形部(421)が位置していることを特徴とする。
これによると、底板部が撓もうとしたりサイドプレート全体がねじれようとした場合、爪部が曲げ変形部に当たることにより底板部の撓みやサイドプレート全体のねじれが抑制ないしは防止されるため、フィンの座屈やコア部組付け寸法のくるいを抑制ないしは防止することができる。
請求項2に記載の発明では、請求項1に記載の熱交換器において、曲げ変形部(421)における曲げ部分は曲面であることを特徴とする。
ところで、従来は曲げ変形部の曲げ部分は鋭角であったため、応力の集中によるサイドプレートの破断を招く恐れがあったが、請求項2に記載の発明によると、応力の集中を防ぐことができ、ひいてはサイドプレートの破断を防止することができる。
なお、上記各手段の括弧内の符号は、後述する実施形態に記載の具体的手段との対応関係を示すものである。
本発明の一実施形態について説明する。本実施形態は、本発明に係る熱交換器を、内燃機関に吸入される過給気を冷却するインタークーラに適用したものである。図1は一実施形態に係る熱交換器の正面図、図2は図1のA部を拡大して示す正面図、図3は図1のサイドプレート4の斜視図である。
図1に示すように、熱交換器は直方体形状のコア部1を備えており、コア部1は、交互に積層配置された多数のチューブ10と多数のコルゲートフィン11とで構成されている。
チューブ10は、真鍮製であり、車両に搭載された内燃機関に吸入される過給気が流通する流路を内部に有し、扁平状に形成されている。コルゲートフィン11は、銅製であり、コルゲート状に形成されて過給気と冷却風との熱交換を促進するものである。
コア部1におけるチューブ長手方向Xの両端部には、多数のチューブ10の各流路と連通するタンク2、3が配置されている。一方のタンク2は、真鍮製であり、圧縮されて高温になった過給気を多数のチューブ10に分配供給するものである。他方のタンク3は、真鍮製であり、冷却風との熱交換により冷却された過給気を集合回収して内燃機関に供給するものである。
コア部1におけるチューブ積層方向Yの両端部には、コルゲートフィン11とチューブ10とのろう付け性を確保するとともに、コア部1を補強するための、サイドプレート4が配置されている。サイドプレート4は、真鍮製であり、チューブ長手方向Xと平行な方向に延びてその両端がタンク2、3に接続されている。
図2、図3に示すように、サイドプレート4は、断面がコの字状となるようにプレス成形され、それにより、コルゲートフィン11に接してコルゲートフィン11を押さえる底板部41と、底板部41の両側に位置し、底板部41からチューブ積層方向Yに延びる側板部42が形成されている。
側板部42には、曲げ変形により側板部42におけるチューブ長手方向Xの伸縮を容易にする曲げ変形部421が形成されている。この曲げ変形部421における曲げ部分は、緩やかな曲面になっている。そして、チューブ10とサイドプレート4に熱膨張差が生じた場合、変形部421の変形により熱膨張差を吸収して、チューブ10に作用する熱応力を抑制するようになっている。
底板部41は、曲げ変形部421に対応する位置に形成されたスリット43によりチューブ長手方向Xに分割されており、さらに、底板部41におけるスリット43側の端部に、曲げ変形部421における底板部41に対向する面に向かって延びる爪部411が形成されている。
曲げ変形部421と爪部411は自由状態では近接ないしは当接しており、図2に破線で示すような底板部41の変形、すなわち爪部411がコア部1から遠ざかる向きへ底板部41が変形することを防止するようになっている。
上記構成になる本実施形態の熱交換器は、次のようにして一体ろう付けされる。まず、熱交換器の構成部品であるチューブ10、コルゲートフィン11、タンク2、3、およびサイドプレート4を、所定の熱交換器構造となるように仮組みした後、ワイヤーによりサイドプレート4の外側から熱交換器の組付体を締めつけて、組付体の仮組み状態を保持する。次に、この組付体をろう付け炉内に搬入し、ろう付け炉内にてろう材の融点まで加熱して組付体各部の接合箇所を一体ろう付けする。
このろう付け工程において、ワイヤーによる締め付けを行う前の仮組み時点では、コア部1におけるチューブ長手方向Xの中間部がチューブ積層方向Y外側に向かって膨らむ傾向になり、サイドプレート4の底板部41が撓もうとする。
しかし、底板部が撓もうとした場合、爪部411が曲げ変形部421に当たることにより底板部411の撓みやサイドプレート4全体のねじれが抑制ないし防止される。したがって、コルゲートフィン11の座屈やコア部組付け寸法のくるいを抑制ないし防止することができる。
また、チューブ10とサイドプレート4に温度差が生じた場合には、曲げ変形部421が変形して熱膨張差が吸収されるため、チューブ10に作用する熱応力を抑制することができる。
しかも、曲げ変形部421における曲げ部分を緩やかな曲面にしているため、曲げ変形部421が変形する際の応力の集中を防ぐことができ、ひいてはサイドプレート4の破断を防止することができる。因みに、曲げ変形部421における曲げ部分の最大主応力を、従来の約1/3〜1/2にすることができる。
(他の実施形態)
上記各実施形態では、本発明をインタークーラに適用したが、本発明はインタークーラ以外の熱交換器にも適用することができる。
また、チューブ10、コルゲートフィン11、タンク2、3、およびサイドプレート4の各部品の材質は、鉄或いはアルミニウムなど他の金属材料を用いてもよい。
本発明の一実施形態に係る熱交換器の正面図である。 図1のA部を拡大して示す正面図である。 図1のサイドプレート4の斜視図である。 従来の熱交換器を示す要部の断面図である。 図4のサイドプレート4の斜視図である。
符号の説明
1…コア部、2、3…タンク、4…サイドプレート、10…チューブ、11…コルゲートフィン、41…底板部、42…側板部、43…スリット、411…爪部、421…曲げ変形部、X…チューブ長手方向、Y…チューブ積層方向。

Claims (2)

  1. 多数のチューブ(10)と多数のフィン(11)とが交互に積層配置されたコア部(1)と、
    前記コア部(1)におけるチューブ長手方向(X)の両端部に配置され、前記多数のチューブ(10)と連通するタンク(2、3)と、
    前記コア部(1)におけるチューブ積層方向(Y)の両端部に配置され、両端が前記タンク(2、3)に結合されたサイドプレート(4)とを備える熱交換器において、
    前記サイドプレート(4)は、前記フィン(11)と接する底板部(41)と、前記底板部(41)からチューブ積層方向(Y)に延びる側板部(42)とを備え、
    前記側板部(42)は、曲げ変形により前記側板部(42)におけるチューブ長手方向(X)の伸縮を容易にする曲げ変形部(421)が形成され、
    前記底板部(41)は、前記曲げ変形部(421)に対応する位置に形成されたスリット(43)によりチューブ長手方向(X)に分割されており、
    さらに、前記底板部(41)における前記スリット(43)側の端部に、前記曲げ変形部(421)に向かって延びる爪部(411)が形成されており、前記爪部(411)のチューブ積層方向(Y)延長線上に、前記曲げ変形部(421)が位置していることを特徴とする熱交換器。
  2. 前記曲げ変形部(421)における曲げ部分は曲面であることを特徴とする請求項1に記載の熱交換器。
JP2005045499A 2005-02-22 2005-02-22 熱交換器 Expired - Fee Related JP4604759B2 (ja)

Priority Applications (4)

Application Number Priority Date Filing Date Title
JP2005045499A JP4604759B2 (ja) 2005-02-22 2005-02-22 熱交換器
DE102006007759A DE102006007759A1 (de) 2005-02-22 2006-02-20 Wärmetauscher
US11/358,796 US7389810B2 (en) 2005-02-22 2006-02-20 Displacement prevention device for the side plate of a heat exchanger
CNB2006100086972A CN100462660C (zh) 2005-02-22 2006-02-21 热交换器

Applications Claiming Priority (1)

Application Number Priority Date Filing Date Title
JP2005045499A JP4604759B2 (ja) 2005-02-22 2005-02-22 熱交換器

Publications (2)

Publication Number Publication Date
JP2006234199A JP2006234199A (ja) 2006-09-07
JP4604759B2 true JP4604759B2 (ja) 2011-01-05

Family

ID=36911413

Family Applications (1)

Application Number Title Priority Date Filing Date
JP2005045499A Expired - Fee Related JP4604759B2 (ja) 2005-02-22 2005-02-22 熱交換器

Country Status (4)

Country Link
US (1) US7389810B2 (ja)
JP (1) JP4604759B2 (ja)
CN (1) CN100462660C (ja)
DE (1) DE102006007759A1 (ja)

Cited By (1)

* Cited by examiner, † Cited by third party
Publication number Priority date Publication date Assignee Title
US10302373B2 (en) 2017-03-03 2019-05-28 Denso International America, Inc Heat exchanger

Families Citing this family (13)

* Cited by examiner, † Cited by third party
Publication number Priority date Publication date Assignee Title
DE102004036019A1 (de) * 2004-07-23 2006-02-16 Behr Gmbh & Co. Kg Kühler, insbesondere Kühler für Fahrzeuge
US20080047689A1 (en) * 2005-07-12 2008-02-28 Denso Corporation Heat exchanger
JP2008020085A (ja) * 2006-07-10 2008-01-31 Denso Corp 熱交換器
DE102008057039A1 (de) 2007-11-12 2009-07-16 Behr Gmbh & Co. Kg Abgaskühler für ein Kraftfahrzeug
US8844610B2 (en) * 2008-09-18 2014-09-30 Multistack, LLC Double inlet heat exchanger
US20110024081A1 (en) * 2009-07-29 2011-02-03 Christian Riondet End plate with area of weakness for a heat exchanger
EP2322890A1 (en) * 2009-11-16 2011-05-18 Thermex Ltd. A marine heat exchanger
US8789805B2 (en) * 2010-03-31 2014-07-29 Denso International America, Inc. Vibration stabilization system for multi-cooler
JP5009413B2 (ja) * 2010-12-22 2012-08-22 シャープ株式会社 熱交換器及びそれを搭載した空気調和機
ES2759920T3 (es) * 2013-10-23 2020-05-12 Modine Mfg Co Intercambiador de calor y placa lateral
US10041742B2 (en) * 2015-07-17 2018-08-07 Denso International America, Inc. Heat exchanger side plate with fin
US10429133B2 (en) * 2016-08-04 2019-10-01 Hanon Systems Heat exchanger element with thermal expansion feature
CN212253807U (zh) * 2020-02-18 2020-12-29 浙江盾安热工科技有限公司 微通道换热器

Family Cites Families (12)

* Cited by examiner, † Cited by third party
Publication number Priority date Publication date Assignee Title
FR2183375A5 (ja) * 1972-05-04 1973-12-14 Chausson Usines Sa
US4721069A (en) * 1987-06-19 1988-01-26 The Babcock & Wilcox Company Termination for boiler casing expansion element
JPH0188183U (ja) * 1987-11-24 1989-06-09
FR2711235B1 (fr) * 1993-10-11 1996-01-19 Valeo Thermique Moteur Sa Echangeur de chaleur utile notamment comme radiateur d'huile.
GB2303437A (en) * 1995-06-12 1997-02-19 Ford Motor Co Stress relief in heat exchangers
JP3912836B2 (ja) * 1997-02-21 2007-05-09 サンデン株式会社 熱交換器
DE19753408B4 (de) * 1997-12-02 2005-08-18 Behr Gmbh & Co. Kg Wärmeübertrager für ein Kraftfahrzeug
JPH11325783A (ja) * 1998-05-20 1999-11-26 Showa Alum Corp 熱交換器及びその製造方法
US6328098B1 (en) * 1998-11-10 2001-12-11 Valeo Inc. Side member for heat exchanger and heat exchanger incorporating side plate
JP2002147973A (ja) * 2000-08-30 2002-05-22 Denso Corp 複式熱交換器
US6412547B1 (en) * 2000-10-04 2002-07-02 Modine Manufacturing Company Heat exchanger and method of making the same
DE10218048A1 (de) * 2002-04-23 2003-11-13 Behr Gmbh & Co Wärmeübertrager, insbesondere Wärmeübertragermodul, für ein Kraftfahrzeug

Cited By (1)

* Cited by examiner, † Cited by third party
Publication number Priority date Publication date Assignee Title
US10302373B2 (en) 2017-03-03 2019-05-28 Denso International America, Inc Heat exchanger

Also Published As

Publication number Publication date
CN100462660C (zh) 2009-02-18
CN1825044A (zh) 2006-08-30
US20060185824A1 (en) 2006-08-24
DE102006007759A1 (de) 2006-11-16
JP2006234199A (ja) 2006-09-07
US7389810B2 (en) 2008-06-24

Similar Documents

Publication Publication Date Title
JP4604759B2 (ja) 熱交換器
JP6547576B2 (ja) 熱交換器
US7237605B2 (en) Heat exchanger
US20080000626A1 (en) Heat exchanger
JP5029166B2 (ja) 熱交換器
US6918432B2 (en) Heat exchanger
US20130220585A1 (en) Tube for heat exchanger
JP2008249252A (ja) 熱交換装置
US6892804B2 (en) Heat exchanger
JP2005106431A (ja) 熱交換器モジュール
JP2006189205A (ja) 熱交換器
WO2017013918A1 (ja) 熱交換器
JP2013217507A (ja) チューブ及び該チューブを備えた熱交換器
US8136578B2 (en) Heat exchanger for EGR-gas
JP2006284107A (ja) 熱交換器
JP2003130577A (ja) 熱交換器およびその製造方法
JP4239840B2 (ja) 熱交換器用チューブの口拡治具
JP2006207966A (ja) 熱交換器
JP4222195B2 (ja) 熱交換器
JP5084735B2 (ja) 熱交換器ヘッダタンクのための強化されたマニホルド、およびこのようなマニホルドを備えるヘッダタンク
JP2003336993A (ja) 熱交換器
JP2019184166A (ja) 熱交換器
JP7386789B2 (ja) 熱交換器コア
JP2005156067A (ja) 熱交換器モジュール
JP2006064194A (ja) 熱交換器

Legal Events

Date Code Title Description
A621 Written request for application examination

Free format text: JAPANESE INTERMEDIATE CODE: A621

Effective date: 20070510

A977 Report on retrieval

Free format text: JAPANESE INTERMEDIATE CODE: A971007

Effective date: 20100423

A131 Notification of reasons for refusal

Free format text: JAPANESE INTERMEDIATE CODE: A131

Effective date: 20100511

A521 Request for written amendment filed

Free format text: JAPANESE INTERMEDIATE CODE: A523

Effective date: 20100701

TRDD Decision of grant or rejection written
A01 Written decision to grant a patent or to grant a registration (utility model)

Free format text: JAPANESE INTERMEDIATE CODE: A01

Effective date: 20100907

A01 Written decision to grant a patent or to grant a registration (utility model)

Free format text: JAPANESE INTERMEDIATE CODE: A01

A61 First payment of annual fees (during grant procedure)

Free format text: JAPANESE INTERMEDIATE CODE: A61

Effective date: 20100920

FPAY Renewal fee payment (event date is renewal date of database)

Free format text: PAYMENT UNTIL: 20131015

Year of fee payment: 3

LAPS Cancellation because of no payment of annual fees