JP4531347B2 - 電子内視鏡装置 - Google Patents

電子内視鏡装置 Download PDF

Info

Publication number
JP4531347B2
JP4531347B2 JP2003129943A JP2003129943A JP4531347B2 JP 4531347 B2 JP4531347 B2 JP 4531347B2 JP 2003129943 A JP2003129943 A JP 2003129943A JP 2003129943 A JP2003129943 A JP 2003129943A JP 4531347 B2 JP4531347 B2 JP 4531347B2
Authority
JP
Japan
Prior art keywords
light
light receiving
unit
image information
electronic endoscope
Prior art date
Legal status (The legal status is an assumption and is not a legal conclusion. Google has not performed a legal analysis and makes no representation as to the accuracy of the status listed.)
Expired - Fee Related
Application number
JP2003129943A
Other languages
English (en)
Other versions
JP2004329583A (ja
Inventor
秀夫 杉本
Current Assignee (The listed assignees may be inaccurate. Google has not performed a legal analysis and makes no representation or warranty as to the accuracy of the list.)
Hoya Corp
Original Assignee
Hoya Corp
Priority date (The priority date is an assumption and is not a legal conclusion. Google has not performed a legal analysis and makes no representation as to the accuracy of the date listed.)
Filing date
Publication date
Application filed by Hoya Corp filed Critical Hoya Corp
Priority to JP2003129943A priority Critical patent/JP4531347B2/ja
Publication of JP2004329583A publication Critical patent/JP2004329583A/ja
Application granted granted Critical
Publication of JP4531347B2 publication Critical patent/JP4531347B2/ja
Anticipated expiration legal-status Critical
Expired - Fee Related legal-status Critical Current

Links

Images

Landscapes

  • Endoscopes (AREA)
  • Closed-Circuit Television Systems (AREA)
  • Instruments For Viewing The Inside Of Hollow Bodies (AREA)

Description

【0001】
【発明の属する技術分野】
この発明は、単一の半導体基板上に複数の受光素子がマトリクス状に配置され、可視光の画像情報と蛍光の画像情報とを得ることができる固体撮像素子と、この固体撮像素子を先端部に備えている電子内視鏡、さらにこの電子内視鏡を備えている電子内視鏡装置に関する。
【0002】
【従来の技術】
従来、内視鏡の挿入部を細径化することにより、体腔内、特に細い管状器官内に内視鏡を挿入する際の患者の苦痛を軽減している。近年はその挿入部先端部にCCDなどの固体撮像素子を備えている電子内視鏡(電子スコープ)が広く普及しており、その挿入部内部に備えられている種々の部品を小型化することによって細径化を達成している。この内視鏡や電子内視鏡は細ければ細いほど、体腔内の至る所に挿入できるようになり、また、体腔内を自在に動かすことができるようになるため、さらなる細径化が要求されている。
【0003】
電子内視鏡では上述した理由により小型化に適したモノクロのCCDを搭載したものが多く見られる。しかしながら近年は生体組織の状態をより正確に観察するため、カラー画像を得るような装置が実用に供している。このカラー画像を得る装置は大きく分類すると2通りある。一つは、CCD上にマトリクス状に配置されている複数の受光素子各々の前面にRGBなどのカラーフィルタを備えたものによりカラー画像を得る、いわゆる同時方式を用いたものである。もう一つは、電子内視鏡に接続されている光源装置の回転カラーフィルタを介した各色の照明光で照明される生体組織をモノクロのCCDで撮像することによりカラー画像を得る、いわゆる面順次方式を用いたものである。
【0004】
また近年、体腔内の生体組織に励起光を照射した際に、この励起光が照射された生体組織が正常な状態であれば蛍光を発し、癌細胞などの病変部であれば正常な状態に比べて減弱した蛍光を発するという特性を利用する蛍光観察(自家蛍光観察)が広く知られている。例えば、特許文献1や特許文献2に、この自家蛍光観察を利用して体腔内の生体組織を観察する電子内視鏡が提案されている。
【0005】
上述の特許文献1によると、光源装置は、白色光用光源と紫外光用光源の2つの光源を備えており、さらにこれらの光源の前面にそれぞれシャッタを備えている。これらのシャッタにより電子内視鏡のライトガイドには、R光、G光、及びB光と、励起光としての紫外光とが交互に入射し、生体組織はこれら各色の光と紫外光によって交互に照明され、電子内視鏡は生体組織の可視光の観察画像情報と自家蛍光観察による蛍光の画像情報とを得ることができる。
【0006】
また、特許文献2の一態様によると、電子内視鏡は、可視光の観察画像を得るための固体撮像素子と、自家蛍光観察による蛍光の画像情報を得るための固体撮像素子を先端部に備えている。更に、光源装置は切り替えスイッチを備えており、電子内視鏡は、この切り替えスイッチの操作に応じていずれかの固体撮像素子に観察光像を導き、生体組織の可視光の観察画像情報と自家蛍光観察による蛍光の画像情報とを得ている。
【0007】
【特許文献1】
特開2002−34913号公報(第4、5頁、第1図)
【特許文献2】
特開平11−113839号公報(第2頁から第6頁、第1、3、4図)
【0008】
【発明が解決しようとする課題】
上述の特許文献1において、自家蛍光観察に用いる紫外光用光源の光束は、白色光用光源の光束が電子内視鏡に向けて射出されている間、光路中に配置されたUV回転シャッタにより遮光されている。さらに説明すると、RGB回転シャッタ及びUV回転シャッタはそれぞれ半周期に相当する分の開口を有しているため、固体撮像素子には、RGB回転シャッタの半周期に相当する期間中R光、G光、及びB光の各照明光照射による反射光が入射し、UV回転シャッタの前記期間と略同程度の期間中紫外光照射により得られた蛍光が入射してくる。
【0009】
しかし、生体組織の正常部位であっても、得られる蛍光は微弱であるため、上述の電子内視鏡のように、蛍光が固体撮像素子に入射する期間がUV回転シャッタの半周期に相当する分のみである場合、固体撮像素子に蓄積される電荷量は不足する傾向にある。また、上述したように電子内視鏡に用いられている固体撮像素子は電子内視鏡の細径化を達成するために小型化されている。そのため、このような固体撮像素子は1画素当たりのサイズが小さく、受光感度が低い。従って、このような電子内視鏡では、S/N比の高い蛍光画像信号を得ることが困難となってしまう。
【0010】
また、上述の特許文献2では、電子内視鏡の先端部に2つの固体撮像素子が備えられており、それぞれの固体撮像素子により可視光の観察画像と自家蛍光の観察画像を得ている。そのため、この電子内視鏡の挿入部の径は、それぞれの固体撮像素子から引き出された信号線により太く形成されている。すなわち、この電子内視鏡は患者への負担を増やすものとなってしまう。
【0011】
また、上述した電子内視鏡を備えた電子内視鏡装置を用いて自家蛍光観察を行った場合、観察部位が所定の蛍光を発していると、術者はその部位が正常部位であることを容易に把握できる。しかし、観察部位から固体撮像素子に到達する蛍光が減弱していると、その部位が異常部位である、若しくは電子内視鏡と観察部位との距離が遠い、またはその観察部位が穴部の奥であるなど複数の要素が考えられる。そのため、術者にとって、観察部位からの減弱した蛍光に基づいて異常部位であるか否かを正確に判断することは困難である。
【0012】
そこで、本発明は上記の事情に鑑み、円筒状の機器内に組み込まれてもその径を太くさせることなく可視光による画像情報と蛍光による画像情報とを得ることができ、さらに、蛍光による画像情報を高いS/N比で得ることができる固体撮像素子、及びこの固体撮像素子を備えた電子内視鏡、さらにはこの電子内視鏡を備えた電子内視鏡装置を提供することを目的とする。また、体腔内の観察対象が正常部位であるか異常部位であるかを、術者が正確に判断することができる電子内視鏡装置を提供することを目的とする。
【0013】
【課題を解決するための手段】
上記の課題を解決する本発明の一態様に係る固体撮像素子は、所定方向に長く形成された単一の半導体基板上に、複数の受光素子がマトリクス状に配置されている受光部を有したものであって、所定方向のそれぞれ異なった領域に、可視光を受光可能な受光素子を複数含んだ第1の受光部と、可視光より短い波長の蛍光を受光可能な受光素子を複数含んだ第2の受光部とを有している。すなわち、この固体撮像素子は、可視光による画像情報を得るための受光部と、蛍光による画像情報を得るための受光部とを所定方向に長く形成された単一の半導体基板上に有しているため、円筒状の機器内に組み込まれてもその径を太くさせることなく可視光による画像情報と蛍光による画像情報と得ることができる。
【0014】
また、上記固体撮像素子において、第2の受光部に含まれた複数の受光素子の各々は、第1の受光部に含まれた複数の受光素子の各々より受光面積が広い。それぞれの受光素子を上記のように形成することにより、第2の受光部は第1の受光部より高感度となる。従って、第2の受光部に入射してくる蛍光が微弱であっても、S/N比の高い画像情報を得ることができる。
【0015】
また、上記固体撮像素子は、第1の受光部で蓄積された電荷の転送先である第1の転送部と、第2の受光部で蓄積された電荷の転送先である第2の転送部とをさらに備え、これら第1の転送部と第2の転送部とを、所定方向に一列に整列した素子に含んでいる。すなわち、それぞれの受光部の転送先を一列に整列した素子に含むことにより固体撮像素子を小型化させることが可能となる。さらには、可視光から得られた画像信号と、蛍光から得られた画像信号とを共通の信号線で引き出すことも可能となる。
【0016】
また、上記の課題を解決する本発明の一態様に係る電子内視鏡は、所定方向に長く形成された単一の半導体基板上に複数の受光素子がマトリクス状に配置されている受光部を有した固体撮像素子を先端部内に備えたものである。この電子内視鏡は、所定方向のそれぞれ異なった領域に、可視光を受光可能な受光素子を複数含んだ第1の受光部と、可視光より短い波長の自家蛍光を受光可能な受光素子を複数含んだ第2の受光部とを有した固体撮像素子を、半導体基板の長手方向と先端部の長手方向とが一致するように配置している。すなわち、この電子内視鏡は、可視光による画像情報を得るための受光部と、自家蛍光による画像情報を得るための受光部とを所定方向に長く形成された単一の半導体基板上に有した固体撮像素子を備えているため、その径を太くさせることなく可視光による画像情報と自家蛍光による画像情報と得ることができる。
【0017】
また、上記電子内視鏡において、固体撮像素子は、第1の受光部で蓄積された電荷の転送先である第1の転送部と、第2の受光部で蓄積された電荷の転送先である第2の転送部とをさらに備え、第1の転送部と第2の転送部とを、所定方向に一列に整列した素子に含んでいる。このような固体撮像素子を備えると、可視光から得られた画像信号と、自家蛍光から得られた画像信号とを共通の信号線で引き出すことが可能となるため、電子内視鏡の細径化を図ることができる。
【0018】
また、上記電子内視鏡は、第1の受光部と第2の受光部とが光学的に略等価に位置するように、観察像側からの光束を、第1の受光部と第2の受光部とに向けて分離する光束分離手段をさらに備えている。
【0019】
また、上記の課題を解決する本発明の一態様に係る電子内視鏡装置は、所定方向に長く形成された単一の半導体基板上に複数の受光素子がマトリクス状に配置されている受光部を有した固体撮像素子を先端部内に備えた電子内視鏡と、観察像を得るための光束を電子内視鏡に供給する光源部を備えたプロセッサとを備えたものである。この電子内視鏡装置は、所定方向のそれぞれ異なった領域に、可視光を受光可能な受光素子を複数含んだ第1の受光部と、可視光より短い波長の自家蛍光を受光可能な受光素子を複数含んだ第2の受光部とを有した固体撮像素子を、半導体基板の長手方向と電子内視鏡先端部の長手方向とが一致するように配置している。すなわち、この電子内視鏡装置に備えられている電子内視鏡は、可視光による画像情報を得るための受光部と、自家蛍光による画像情報を得るための受光部とを所定方向に長く形成された単一の半導体基板上に有した固体撮像素子を備えているため、その径を太くさせることなく可視光による画像情報と自家蛍光による画像情報と得ることができる。
【0020】
また、上記電子内視鏡装置において、プロセッサは、光源部から射出する光束のうち蛍光を得るための励起光と可視光とを透過するフィルタと、上記光束を遮光する遮光部とを含んだフィルタ部と、フィルタ部のフィルタと遮光部とが上記光束の光路中に交互に挿脱するようフィルタ部を回転させる回転駆動部とをさらに備えている。また、フィルタは複数種類あって、フィルタ部は、R光と励起光、G光と励起光、B光と励起光を透過するそれぞれのフィルタを少なくとも1つずつ有している。また、光源部は単一の発光素子を有している。このように電子内視鏡装置を構成すると、光源から射出した光束には可視光と励起光とが含まれているため、固体撮像素子は可視光を受光している期間中であっても自家蛍光を受光することができる。従って、固体撮像素子は、自家蛍光による画像情報を高いS/N比で得ることができる。
【0021】
また、上記電子内視鏡装置において、プロセッサは、第1の受光部から可視光による画像情報を得ることができる第1の状態と、前期可視光による画像情報に加えて第2の受光部から蛍光による画像情報を得ることができる第2の状態とを選択可能な操作部と、この操作部の操作に応じて固体撮像素子の駆動制御を行う制御部とをさらに備えている。また、プロセッサは信号処理部をさらに備えている。可視光の画像情報はそれぞれ異なった色画像情報を複数有するものであって、操作部により上記第2の状態のとき、信号処理部は複数の色画像情報のいずれかと自家蛍光の画像情報とを加算することができる。また、可視光による画像情報はR光とG光とB光をそれぞれ含んだ複数の色画像情報であって、蛍光による画像情報はR光の色画像情報と加算されることが好ましい。また、このR光の色画像情報が加算された蛍光による画像情報に、さらにB光の色画像情報を加算することも好ましい。
【0022】
【発明の実施の形態】
図1は、本発明の実施形態の電子内視鏡100を備えている電子内視鏡装置500の構成を示したブロック図である。この電子内視鏡装置500は、患者の体腔内の画像情報を出力する電子内視鏡100と、電子内視鏡100に出力された画像情報に所定の処理を施し映像信号に変換する画像処理装置に加えて観察像を得るための光束を電子内視鏡100に供給する光源装置を備えたプロセッサ200と、プロセッサ200から出力された映像信号を表示するモニタ300から構成されている。以下に、この図1を用いて、この電子内視鏡装置500の構成と作用を説明する。
【0023】
プロセッサ200は、本実施形態での観察対象である生体組織400を照明する照明光を射出する光源部210を備えている。この光源部210が射出する照明光は可視光の波長帯域の光と紫外線の波長帯域の光とを含んだものである。本実施形態の電子内視鏡装置500では電子内視鏡100先端部の細径化を達成するために面順次方式の撮像システムを採用している。そのため、この照明光の光路中にはRGBUV回転フィルタ220が配置されている。
【0024】
図2は、本実施形態に用いられるRGBUV回転フィルタ220の構成を示した正面図である。また、図3は、RGBUV回転フィルタ220が有している各フィルタの特性と、固体撮像素子150の各受光部のフィルタ特性を示したグラフである。このグラフの縦軸は透過率を示しており横軸は波長を示している。以下に、この図2及び図3を用いて、RGBUV回転フィルタ220について説明する。
【0025】
このRGBUV回転フィルタ220は、中心軸220aを中心として周方向に開口部と遮光部とを交互に有している。さらに説明を加えるとこのRGBUV回転フィルタ220は、開口部及び遮光部をそれぞれ3つずつ有しており、これら3つの開口部にそれぞれ異なった透過特性を有したフィルタを具備している。ここでいうそれぞれ異なった透過特性を有したフィルタとは、図3に示すR特性を有したフィルタ、G特性を有したフィルタ、及びB特性を有したフィルタである。
【0026】
本実施形態において、R特性を有したフィルタとは、光源部210から射出される光束のうち、可視光であるR光(レッド)を含む帯域の光と、波長λeを有する励起光を含む紫外線波長帯域の光とを透過するカラーフィルタ220Rを示す。また、G特性を有したフィルタとは、可視光であるG光(グリーン)を含む帯域の光と、波長λeを有する励起光を含む紫外線波長帯域の光とを透過するカラーフィルタ220Gを示す。また、B特性を有したフィルタとは、可視光であるB光(ブルー)を含む帯域の光と、波長λeを有する励起光を含む紫外線波長帯域の光とを透過するカラーフィルタ220Bを示す。なお、説明を分かり易くするために、各フィルタは、図3で比較的高い透過率を有した波長帯域のみの光をそれぞれ透過するものとする。
【0027】
このRGBUV回転フィルタ220は、その周方向に、順に、カラーフィルタ220R、遮光部、カラーフィルタ220G、遮光部、カラーフィルタ220B、遮光部を有している。なお、それぞれのカラーフィルタを具備した開口部は、周方向にそれぞれ同一の角度を有した扇状の開口からなる。また、カラーフィルタ220Bとカラーフィルタ220Rとの間の遮光部は、後述する受光部152aの蓄積電荷の転送期間を確保するために、他の遮光部より周方向に大きく形成されている。以下に、このRGBUV回転フィルタ220を用いた面順次方式によるカラー画像の生成のプロセスを説明する。
【0028】
まず、タイミングジェネレータ230は、図示しないモータドライバに駆動信号を送信する。このモータドライバはこの受信した駆動信号に基づいてモータ222を駆動させる。このモータ222の回転軸は、RGBUV回転フィルタ220を中心軸220aで回転自在に支持している。従って、モータ222の駆動に伴いRGBUV回転フィルタ220は、中心軸220aを中心に回転する。RGBUV回転フィルタ220が回転することにより光源部210から射出された照明光は、カラーフィルタ220R、カラーフィルタ220G、カラーフィルタ220Bの各色のフィルタを、それぞれのカラーフィルタ間に備えられた遮光部により間欠的に遮られながら透過する。
【0029】
プロセッサ200はコネクタ280により電子内視鏡100と接続されている。RGBUV回転フィルタ220の各色のフィルタを透過した照明光の各々は、この光路中に配置されている集光レンズ224を介して電子内視鏡100が備えるライトガイド110に入射する。そしてこの照明光は、ライトガイド110により電子内視鏡100の先端部に導光される。このライトガイド110に導光された照明光は、電子内視鏡100の先端部の前面に備えられた照明窓120を介して生体組織400を照明する。
【0030】
生体組織400を照明した照明光のうちR光、G光、及びB光はこの生体組織400により反射され、観察光として対物光学系130に入射する。この対物光学系130に入射した観察光は、光路偏向部140により対物光学系130の光軸と直交する方向、言い換えると電子内視鏡100の長手方向と直交する方向に折り曲げられる。
【0031】
なお、生体組織400により反射された照明光のうちR光、G光、及びB光は、略波長を変化させることなく対物光学系130に入射する。
【0032】
また、上記可視光とともに射出された紫外線波長帯域の波長λeを有する励起光が生体組織400に照射されたとき、生体組織400が正常な状態であれば、励起光はこの生体組織400に吸収される。そしてこの生体組織400は、基底状態から励起状態に変化、すなわちエネルギー準位を上げる。エネルギー準位が上がった生体組織400は元の基底状態に戻る際に、波長λeの励起光より長い波長λを有した蛍光を発する。すなわち、生体組織400が正常な状態であれば、この生体組織400に照射された波長λeの励起光は、波長λの蛍光となって発散し、対物光学系130に入射する。また、生体組織400が癌細胞などの病変部である場合、励起光はこの生体組織400のエネルギー準位を上げることなく反射する。すなわち、生体組織400が病変部である場合、励起光が照射されたこの生体組織400は蛍光をほとんど発しない。
【0033】
本実施形態の電子内視鏡100では、生体組織400からの観察光を受光して光電変換を行い画像信号を生成する機能を有する固体撮像素子150は、電子内視鏡100の長手方向にその受光面が位置するよう配置されている。この固体撮像素子150は例えばCCDである。
【0034】
上述した光路偏向部140により折り曲げられた観察光は、この固体撮像素子150の受光面で結像して、この受光面が有しているマトリクス状に配置された複数の受光素子の各々に受光される。なお、生体組織400は上述したようにRGBUV回転フィルタ220の各フィルタを順に透過した間欠的な照明光により照明されているため、固体撮像素子150の受光面は、各フィルタに応じた観察光を間欠的に順次受光する。
【0035】
プロセッサ200が備えているドライバ240は、タイミングジェネレータ230から送信されてくる駆動制御信号により固体撮像素子150を駆動している。さらに詳しく説明すると、このドライバ240はタイミングジェネレータ230から送信されてくる駆動制御信号に基づいて、固体撮像素子150が蛍光と、R光、G光、B光のいずれかの観察光とを受光している期間はその観察光を各受光素子にて光電変換して電荷として蓄積するよう固体撮像素子150を駆動し、RGBUV回転フィルタ220の遮光部により固体撮像素子150がいずれの観察光も受光しない期間は各受光素子に蓄積されている電荷を転送して画像信号として出力させるよう固体撮像素子150を駆動することができる。
【0036】
固体撮像素子150から出力された画像信号は、プロセッサ200に送信されて、後述する画像処理を施される。このプロセッサ200に画像処理を施された信号は、外部機器に表示可能な種々のビデオ信号に変換されてモニタ300に出力され、このモニタ300上でカラーの観察画像として表示される。以下に、プロセッサ200で行われる画像処理のプロセスを説明する。
【0037】
固体撮像素子150によって得られた体腔内の生体組織400の画像信号は、プロセッサ200に備えられている初段映像信号処理部250に送信される。この初段映像信号処理部250は、送信された画像信号を増幅させ、サンプリング、ホールド等の処理を行う。そして、この画像信号をデジタル信号に変換させる。変換されたデジタル信号は、さらに、初段映像信号処理部250が有している図示しないマルチプレクサによって固体撮像素子150の駆動と同期して切り替えられ、R、G、Bの各色の画像信号、さらには蛍光の画像信号であるF信号に分離されて、RGBFメモリ260が有している各メモリに出力される。
【0038】
RGBFメモリ260はR、G、Bの各色に対応した3つのフレームメモリである図示しないRメモリ、Gメモリ、Bメモリに加えてさらに、F信号用のフレームメモリである図示しないFメモリを備えている。初段映像信号処理部250に分離された各色の画像信号及びF信号は、それぞれ対応するフレームメモリに格納される。
【0039】
タイミングジェネレータ230は、RGBFメモリ260の各フレームメモリに格納されている画像信号を同時に読み出すためのタイミング信号を送信する。このタイミング信号は、例えば、1秒当たり30フレームから構成される動画がモニタ上において表示できるタイミングで送信される。すなわち、このタイミングジェネレータ230は、RGBFメモリ260の各フレームメモリに格納されている画像信号を1秒当たり30フレーム、同時に読み出すタイミング信号を送信する。このタイミング信号に基づき、各色の画像信号は同時に読み出されて、後段信号処理部270に出力される。
【0040】
後段信号処理部270は、この信号をアナログ信号に変換させ、さらにこのアナログ信号をモニタ300に表示させるためのコンポジットビデオ信号や、Y/C信号、RGBビデオ信号に変換する。そして、これらのビデオ信号がモニタ300に出力されると、モニタ300上に生体組織400の観察画像がカラー画像で表示される。
【0041】
図4は、後段信号処理部270における画像処理の一態様を模式的に示した図である。図4中のRはRGBFメモリ260においてRメモリに格納されていたR光の画像信号を示し、FはRGBFメモリ260においてFメモリに格納されていたF信号を示している。また、R−Fは後段信号処理部270内の加算回路で演算されたR光の信号とF信号との演算結果を示している。また横軸は時間軸を示している。
【0042】
図4によると、後段信号処理部270はR光の信号とF信号とを加算回路により演算する。例えば期間Taは生体組織400を撮像した期間であるため、後段信号処理部270は生体組織400のR光の信号を得る。また、この期間Taで撮像した生体組織400は正常部位であり、後段信号処理部270は生体組織400で発した蛍光により生成されたF信号を得る。このとき、後段信号処理部270の加算回路によりR光の信号とF信号とを演算すると、その演算結果は0となる。
【0043】
また、期間Tbは生体組織400を撮像した期間であるため、後段信号処理部270は生体組織400のR光の信号を得る。また、この期間Tbで撮像した生体組織400は異常部位であるため正常部位と比べて強度の低い蛍光しか得られず、後段信号処理部270は期間Taの場合と異なったF信号を得る。このとき、後段信号処理部270の加算回路によりR光の信号とF信号とを演算すると、その演算後に信号が出力される。
【0044】
また、期間Tcは生体組織400を撮像していない期間、例えば電子内視鏡100と生体組織400との距離が遠いとき、または電子内視鏡100が穴部の奥を観察しているときなどであり、後段信号処理部270は期間Taや期間Tbの場合と異なった生体組織400のR光の信号を得る。また、この期間Tcでは生体組織400を撮像していないため、蛍光を得ることができない。従って、この期間TcではF信号を得ることはできない。このとき、後段信号処理部270の加算回路によりR光の信号とF信号とを演算すると、その演算結果は0となる。
【0045】
以上のように、本実施形態の電子内視鏡装置500を用いて生体組織の自家蛍光観察を行うと、観察中の生体組織が正常部位であるとき及び生体組織が正確に観察できていないとき、後段信号処理部270は上記演算により同様の演算結果を算出する。また、観察中の生体組織が異常部位であるとき、後段信号処理部270は、上記演算により、生体組織が正常部位であるときと異なった演算結果を算出する。すなわち後段信号処理部270は観察中の生体組織が異常部位であるときのみ他の状態と異なった演算結果を算出することができるため、異常部位を確実に識別させることが可能となる。
【0046】
図5は、後段信号処理部270における画像処理の一態様を、回路図を用いて模式的に示した図である。図5によると、後段信号処理部270は、図4と同様にR光の信号とF信号とを演算し、さらに、その演算結果をB光の信号に加算して出力することができる。
【0047】
図1に示したように、プロセッサ200は自家蛍光画像観察ボタン290を具備している。この自家蛍光画像観察ボタン290がオンしているとき、自家蛍光画像観察ボタン290からスイッチSW1を制御するスイッチ制御信号Cが後段信号処理部270に送信されているため、スイッチSW1はオンした状態となっている。また、この自家蛍光画像観察ボタン290をオフしているとき、自家蛍光画像観察ボタン290からスイッチ制御信号Cが後段信号処理部270に送信されていないため、スイッチSW1はオフした状態となっている。
【0048】
スイッチSW1がオンしているとき、R光の信号とF信号とを演算した信号は、B光の信号と加算されて後段信号処理部270から出力される。このようにR光の信号とF信号とを演算した信号にB光の信号を加算して得られた信号をモニタ300に出力して表示した場合、モニタ300では、観察中の生体組織のうち蛍光強度が低下した部位、すなわち異常部位のみが、青みかかった画像として表示される。従って、術者は観察中の生体組織に異常部位が含まれているかどうかを容易に判断することができる。
【0049】
図6は、本発明の実施形態の電子内視鏡100の先端部の内部構造を模式的に示した側断面図である。この図6では電子内視鏡100の先端部の内部構造を図1より詳細に示したものである。以下に、この図6を用いて、この電子内視鏡100の先端部の構成と作用をより詳細に説明する。
【0050】
上述したように、対物光学系130に入射した生体組織400の観察光は、光路偏向部140により電子内視鏡100の長手方向と直交する方向に折り曲げられる。この光路偏向部140は、第1のプリズム142と第2のプリズム144とを貼り合わせることにより形成されている。また、これらのプリズムは、電子内視鏡100の長手方向に、対物光学系130側から第1のプリズム142、第2のプリズム144の順に並んで配置されている。
【0051】
第1のプリズム142は、生体組織400から得られた観察光の光路中に、光を分割する機能を有するビームスプリッタ142aを有している。このビームスプリッタ142aは、対物光学系130の光軸と一致する生体組織400の観察光の光路に対して45度傾いた状態で配置している。別の言い方をすると、このビームスプリッタ142aは、電子内視鏡100の長手方向に対して45度傾いた状態で配置している。そのため、このビームスプリッタ142aに入射した生体組織400の観察光は、その一部が90度折り曲げられて電子内視鏡100の長手方向と直交する方向、すなわち固体撮像素子150に向かって進行し、その一部が透過して第2のプリズム144内を電子内視鏡100の長手方向に沿って進行していく。
【0052】
さらに説明すると、このビームスプリッタ142aは、折り曲げられる光と透過する光との強度比が1:1、若しくは折り曲げられる光の強度が透過する光に比べて高くなるように、生体組織400の観察光を分割する機能を有している。
【0053】
第2のプリズム144は、ビームスプリッタ142aを透過した観察光の光路中に、光を全反射する機能を有する全反射ミラー144aを有している。この全反射ミラー144aは、対物光学系130の光軸と一致するビームスプリッタ142aを透過した観察光の光路に対して45度傾いた状態で配置している。別の言い方をすると、この全反射ミラー144aは、電子内視鏡100の長手方向に対して45度傾いた状態で配置している。従って、ビームスプリッタ142aを透過した観察光は、この全反射ミラー144aにより90度折り曲げられて、電子内視鏡100の長手方向と直交する方向、すなわち固体撮像素子150に向かって進行する。
【0054】
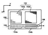
図7は、本発明の実施形態の電子内視鏡100の先端部内に備えられている固体撮像素子150の構成を模式的に示した上面図である。この固体撮像素子150は、半導体基板上に、複数の受光素子がマトリクス状に配置されている受光部152を備えたものである。以下に、この図7を用いて、この固体撮像素子150の構成と作用を説明する。なお、この固体撮像素子150の基台である半導体基板の受光部152を備えている面すなわち受光面は、図7に示す矢印Y方向の辺が矢印X方向の辺より長い長方形の形状を有している。
【0055】
固体撮像素子150は、受光部152と、水平転送部154と、アンプ156とを備えている。上述したようにこの電子内視鏡装置500は面順次方式によりカラー画像を生成しているため、この固体撮像素子150はモノクロCCDである。また、電子内視鏡100の細径化を達成するため、この固体撮像素子150は蓄積部を備えないフルフレーム型CCDである。
【0056】
受光部152は、受光部152aと受光部152bの2つのイメージエリアを有している。この受光部152aは、ビームスプリッタ142aで折り曲げられた観察光のイメージエリアであって、この観察光の結像面と一致するよう配置されている。また、受光部152bは、全反射ミラー144aで折り曲げられた観察光のイメージエリアであって、この観察光の結像面と一致するよう配置されている。すなわち、受光部152aと受光部152は電子内視鏡100の長手方向に沿って並んで配置されている。
【0057】
受光部152aと受光部152bは、矢印Y方向と矢印X方向のそれぞれに等しい長さの辺を有しており、また、同一形状及び同一面積を有している。この受光部152aに含まれる受光素子の1つ1つは、受光部152bに含まれる受光素子の1つ1つより受光面積が広い。従って受光部152aは、受光部152bと比べて受光素子の数すなわち画素数は少ないが、受光部152bより高い感度を有している。言い換えると、受光部152bは、受光部152aと比べて低感度であるが、高画素数を有している。
【0058】
受光部152aと受光部152bの前面にはそれぞれ異なったフィルタが配置されている。受光部152aの前面に配置されているフィルタは、図3において一点鎖線で示された自家蛍光のみを透過する特性(以降、これをF特性という)を有したものである。このF特性は、カラーフィルタ220Bを透過する帯域の波長より短い波長の帯域を透過し、かつ波長λeを含んだ紫外線帯域の波長より長い波長であるλを含んだ波長帯域を透過する特性を有している。また、受光部152bの前面に配置されているフィルタは、図3において点線で示されたRGB特性を有したものである。このRGB特性は、カラーフィルタ220B、カラーフィルタ220G、及びカラーフィルタ220Rを透過する帯域を全て透過し、カラーフィルタ220Bを透過する波長帯域より短い波長帯域は透過しないものである。従って、受光部152aは波長λである蛍光を含んだ波長帯域の光を受光することができる。また、受光部152bは可視光を含んだ波長帯域の光を受光することができる。
【0059】
また上述したように、この固体撮像素子150はフルフレーム型CCDであるため、この受光部152は複数の受光素子各々に蓄積された電荷を、図7の矢印X方向に転送する垂直転送部の機能を兼ね備えている。なお、固体撮像素子150は微少サイズのチップであるため、受光部152aと受光部152bとは光学的に略等価に配置されている。従って、これら2つの受光部には実質的に同一の観察像が結像する。
【0060】
水平転送部154は、受光部152が備えている複数の受光素子の各々に蓄積された電荷が転送されてくる部位であって、半導体基板の長手方向に一列に整列した電荷結合素子から構成されている。この水平転送部154は、受光部152aが有している受光素子に蓄積された電荷が転送されてくる水平転送部154aと、受光部152bが有している受光素子に蓄積された電荷が転送されてくる水平転送部154bを含んでいる。
【0061】
水平転送部154を構成している電荷結合素子の各々は、矢印Y方向に関して、受光部152の受光素子と同ピッチで配置されている。水平転送部154に含まれている水平転送部154aは、受光部152aの受光素子各々と矢印Y方向に一致して配置している電荷結合素子から構成されている。また、水平転送部154に含まれている水平転送部154bは、受光部152bの受光素子各々と矢印Y方向に一致して配置している電荷結合素子から構成されている。なお、この水平転送部154を構成している電荷結合素子の各々は、受光部152の受光素子各々に蓄積された電荷が受光素子複数個相当蓄積されても飽和しないようその許容量を多くするため、矢印X方向に関して受光部152の受光素子より大きく形成されている。
【0062】
水平転送部154aには、受光部152aが有している受光素子の各々に蓄積された電荷が、矢印X方向に直交する矢印Y方向の受光素子1ライン毎に順次転送されてくる。また、水平転送部154bには、受光部152bが有している受光素子の各々に蓄積された電荷が、矢印X方向に直交する矢印Y方向の受光素子1ライン毎に順次転送されてくる。そしてこの水平転送部154は、受光部152aと受光部152bから転送されたそれぞれ1ラインずつの電荷をアンプ156に出力する。アンプ156は、この出力された電荷を増幅してプロセッサ200が備えている初段映像信号処理部250に出力する。
【0063】
図8は、固体撮像素子150の撮像及び転送の周期と、固体撮像素子150に入射してくる観察光の周期とを示したタイミングチャートである。図8(a)は、固体撮像素子150の撮像及び転送を行うためのタイミングチャートであって、電荷を蓄積する蓄積期間と、蓄積した各色に対応した電荷を転送する転送期間とを交互に繰り返したものとなっている。また、図8(b)は、固体撮像素子150に入射してくる観察光の周期を示したタイミングチャートであって、蛍光及び各色の観察光が入射してくる期間と、観察光が遮光されている期間とを交互に繰り返したものとなっている。以下に、この図8に示したタイミングチャートの詳細を説明する。
【0064】
図4に示すように、カラーフィルタ220Rを介して照明された生体組織400の観察光が受光部152a及び152bに入射している期間、固体撮像素子150は、受光部152a及び152bの受光素子の各々に、この観察光による電荷を蓄積している。さらに説明すると、受光部152aは生体組織400から発した蛍光を光電変換して電荷として蓄積し、受光部152bは生体組織400から反射した可視光(R光)を光電変換して電荷として蓄積する。
【0065】
受光部152a及び152bに一定期間蛍光とR光の観察光が入射するとRGBUV回転フィルタ220の遮光部により照明光が一定期間遮光され、各受光部に入射していた観察光も一定期間途絶える。この受光部152a及び152bに観察光が入射しない期間、固体撮像素子150は、受光部152bの受光素子の各々に蓄積されたR光の観察光による電荷の各々を、水平転送部154bに順次転送する。またこのとき、固体撮像素子150は、受光部152aの受光素子の各々に蓄積された蛍光の観察光による電荷の各々を、水平転送部154aに転送することなく、そのままの電荷蓄積状態が保たれる。水平転送部154bに転送された受光部152bの電荷は、生体組織400のR光の画像情報としてアンプ156から順次出力され、初段映像信号処理部250に送信される。
【0066】
固体撮像素子150は、同じ要領でカラーフィルタ220Gを介して照明された生体組織400のG光の観察光による電荷を受光部152bに蓄積し、受光部152bに蓄積したG光の観察光による電荷のみを水平転送部154bに転送する。水平転送部154bに転送されたこの電荷は、G光の画像情報としてアンプ156から順次出力され、初段映像信号処理部250に送信される。同時に、固体撮像素子150は、この時得られた蛍光の観察光による電荷を、受光部152aの受光素子の各々に既に蓄積されていた電荷と加算して蓄積し、そのままの電荷蓄積状態が保たれる。
【0067】
また、固体撮像素子150は、同じ要領でカラーフィルタ220Bを介して照明された生体組織400のB光の観察光による電荷を蓄積する。同時に、固体撮像素子150は、この時得られた蛍光の観察光による電荷を、受光部152aの受光素子の各々に既に蓄積されていた電荷と加算して蓄積する。このとき固体撮像素子150は、受光部152bに蓄積したB光の観察光による電荷を水平転送部154bに順次転送すると共に、受光部152aに蓄積した蛍光の観察光による電荷を水平転送部154aに順次転送する。水平転送部154a及び水平転送部154bに転送されたこれら電荷は、蛍光の画像情報及びB光の画像情報としてアンプ156から順次出力され、初段映像信号処理部250に送信される。上述したように、この転送期間に該当するRGBUV回転フィルタ220の遮光部は、他の遮光部より周方向に大きく形成されている。従って、この転送期間は他の転送期間よりも長い期間となるため、固体撮像素子150は、B光の画像情報に加えて蛍光の画像情報も水平転送部154において水平転送することができ、B光の画像情報及び蛍光の画像情報としてアンプ156から出力することができる。なお、このときアンプ156から出力される蛍光の画像情報は、R光、G光、及びB光の観察光の全ての蓄積期間に対応した期間で蓄積されたものであるため、S/N比が高い信号となっている。
【0068】
このように、アンプ156から出力されたR光、G光、B光の画像情報、またはR光、G光、B光に加えて蛍光の画像情報をプロセッサ200で処理することにより1画面のカラー画像が形成される。また、この作業を繰り返すことによりモニタ300上に生体組織400の画像が動画として表示される。
【0069】
図9は、図8の期間Tdにおける転送動作を詳細に示したタイミングチャートである。この期間Tdは、G光の観察光により蓄積した受光部152bの電荷を水平転送部154bに順次転送してG光の画像情報としてアンプ156から出力する期間を示している。以下に、この図9に示したタイミングチャートで電荷の転送動作を説明する。
【0070】
図9(a)は、受光部152aの受光素子各々に蓄積された電荷を、矢印Y方向1ラインの受光素子毎に水平転送部154aに向けて矢印X方向に順次転送させるV1信号のパルスを示したタイミングチャートである。また、図9(b)は、受光部152bの受光素子各々に蓄積された電荷を、矢印Y方向1ラインの受光素子毎に水平転送部154bに向けて矢印X方向に順次転送させるV2信号のパルスを示したタイミングチャートである。また、図9(c)は、水平転送部154に転送された電荷を、水平転送部154の水平方向、すなわち矢印Y方向に転送するH信号のパルスを示したタイミングチャートである。
【0071】
期間TdはG光の画像情報のみを転送する期間であって、上述したように受光部152aに蓄積された電荷は転送されないため、V1信号は入力されずV2信号のみが入力される。V2信号の1パルスが受光部152bに入力すると、受光部152bの受光素子各々に蓄積されている全ての電荷は、矢印X方向に一段シフトする。その結果、水平転送部154bの最も近くに配置している1ラインの受光素子に蓄積されている電荷の各々は、矢印X方向にシフトして水平転送部154bの矢印Y方向に一致する電荷結合素子の各々に転送される。
【0072】
V2信号の1パルスにより受光部152bから水平転送部154bに電荷が転送されると、次に、H信号が水平転送部154に入力し、水平転送部154bに転送された上記電荷を矢印Y方向に順次転送する。すなわち、水平転送部154bに転送された上記電荷は、アンプ156に順次掃き出されて増幅し初段映像信号処理部250に送信される。
【0073】
上述した期間Tdにおける一連の動作は、受光部152bに蓄積されている全ラインの受光素子の電荷を初段映像信号処理部250に送信するまで繰り返される。全ラインの電荷がアンプ156から出力されると期間Tdの転送動作は終了し、次に、B光及び蛍光の観察光の蓄積動作が開始される。
【0074】
図10は、図8の期間Teにおける転送動作を詳細に示したタイミングチャートである。この期間Teは、蛍光の観察光により蓄積した受光部152aの電荷、及びB光の観察光により蓄積した受光部152bの電荷を水平転送部154に転送して蛍光の画像情報及びB光の画像情報としてアンプ156から出力する期間を示している。以下に、この図10に示したタイミングチャートで電荷の転送動作を説明する。
【0075】
図10(a)は、図9(a)と同様に、受光部152aの受光素子各々に蓄積された電荷を、矢印Y方向1ラインの受光素子毎に水平転送部154aに向けて矢印X方向に順次転送させるV1信号のパルスを示したタイミングチャートである。また、図10(b)は、図9(b)と同様に、受光部152bの受光素子各々に蓄積された電荷を、矢印Y方向1ラインの受光素子毎に水平転送部154bに向けて矢印X方向に順次転送させるV2信号のパルスを示したタイミングチャートである。また、図10(c)は、図9(c)と同様に、水平転送部154に転送された電荷を、水平転送部154の水平方向、すなわち矢印Y方向に転送するH信号のパルスを示したタイミングチャートである。
【0076】
期間Teは蛍光の画像情報及びB光の画像情報を転送する期間であるため、V1信号、V2信号は、それぞれ受光部152a、受光部152bに入力される。そのため、受光部152aの受光素子各々に蓄積されている全ての電荷は、V1信号の1パルスにつき矢印X方向に一段シフトし、水平転送部154aの最も近くに配置している1ラインの受光素子に蓄積されている電荷の各々は、水平転送部154aに転送される。また、受光部152bの受光素子各々に蓄積されている全ての電荷も、V2信号の1パルスにつき矢印X方向に一段シフトし、水平転送部154bの最も近くに配置している1ラインの受光素子に蓄積されている電荷の各々は、水平転送部154bに転送される。
【0077】
V1信号、V2信号のそれぞれの1パルスにより受光部152a、受光部152bから水平転送部154a、水平転送部154bに電荷が転送されると、次に、H信号が水平転送部154に入力し、水平転送部154に転送された上記各電荷を矢印Y方向に順次転送する。すなわち、水平転送部154a及び水平転送部154bに転送された上記各電荷は、アンプ156に順次掃き出されて増幅し初段映像信号処理部250に送信される。このとき水平転送部154aに蓄積された電荷は、水平転送部154bを介してアンプ156に出力される。すなわち、水平転送部154aに蓄積された電荷は、水平転送部154bに蓄積された電荷より水平転送に長い時間を要する。従って、図10(c)に示したH信号の入力パルス時間は、図9(c)に示したH信号の入力パルス時間よりも長くなっている。
【0078】
上述した一連の動作を繰り返し行うと、受光部152aは受光部152bより受光素子の数が少ないため、受光部152aの全ラインの蓄積電荷の転送のみが先に終了し、受光部152bの蓄積電荷の転送動作のみが続行される。従って、受光部152aへのV1信号の入力パルスはなくなり、V2信号のみが受光部152bに入力される。従って、期間Teの開始から途中までの期間は上述した受光部152a及び受光部152bの蓄積電荷の転送が行われ、期間Teの途中から終了するまでの期間は図9と同様に受光部152bの蓄積電荷の転送のみが行われる。
【0079】
なお、上述したように、本実施形態の固体撮像素子150は、2つのイメージエリアである受光部152aと受光部152bとが電子内視鏡100の先端部の長手方向に沿って並んで配置されている。また、本実施形態の固体撮像素子150では、受光部152aと受光部152bの電荷の転送路が1ラインの電荷結合素子である水平転送部154で形成されている。さらに、この水平転送部154は、電子内視鏡100の先端部の長手方向に沿って配列されている。従って、本実施形態の固体撮像素子150を備えることにより、電子内視鏡の径を太くすることなく、可視光による画像情報と蛍光による画像情報とを得ることができる。なお、光路偏向部140、固体撮像素子150の受光部152aと受光部152bと水平転送部154とを上記配置構成としたことにより、固体撮像素子150から得られる可視光による画像情報と蛍光による画像情報は、そのままでは正像にはならないが、RGBFメモリ260に展開したときに正像となるよう書き込み処理を行うか、或いは、RGBFメモリ260に可視光による画像情報と蛍光による画像情報をそのまま展開し、読み出すときに正像となるよう読み出しアドレスを生成する等の処理を行えば、モニタ300上に正像の画像を表示することができる。
【0080】
また、本実施形態の固体撮像素子150は、可視光の観察画像に比べて高解像度の要求が低い蛍光による観察画像を得るための受光部152aの受光素子各々の受光面積を、受光部152bの受光素子各々の受光面積より大きく形成したことにより、発光強度の低い蛍光の画像信号を、高いS/N比で得ることができる。なお、後段信号処理部270にて、R光の信号とF信号とを演算し、さらに、その演算結果をB光の信号に加算する際、F信号に補間処理等を施すことにより、F信号のデータ量をR光の信号及びB光の信号のデータ量に合わせておく。
【0081】
以上が本発明の実施形態である。本発明はこれらの実施形態に限定されるものではなく様々な範囲で変形が可能である。
【0082】
なお、本実施形態において、受光部152aと受光部152bのそれぞれの前面にフィルタを配置しているが、光路偏向部140における蛍光及び可視光のそれぞれの光路中に上記フィルタを配置してもよい。
【0083】
また、本発明の実施形態において、固体撮像素子150はモノクロCCDであるが、受光素子毎にカラーフィルタが備えられているカラーCCDであってもよい。この場合、面順次方式でないため、RGBUV回転フィルタ220は不要となり、本実施形態と異なった電荷蓄積・転送のタイミングで固体撮像素子は駆動される。
【0084】
【発明の効果】
以上のように本発明の固体撮像素子は、可視光による画像情報を得るための受光部と、蛍光による画像情報を得るための受光部とを所定方向に長く形成された単一の半導体基板上に有しているため、円筒状の機器内に組み込まれてもその径を太くさせることなく可視光による画像情報と蛍光による画像情報と得ることができる。また、本発明の固体撮像素子は、円筒状の機器内に組み込まれてもその径を太くさせることなく蛍光による画像情報を高いS/N比で得ることができる。
【0085】
また、本発明の電子内視鏡は、可視光による画像情報を得るための受光部と、蛍光による画像情報を得るための受光部とを所定方向に長く形成された単一の半導体基板上に有した固体撮像素子を備えているため、その径を太くさせることなく可視光による画像情報と蛍光による画像情報と得ることができる。また、本発明の電子内視鏡は、その径を太くさせることなく蛍光による画像情報を高いS/N比で得ることができる。
【0086】
また、本発明の電子内視鏡装置は、蛍光の画像情報と可視光の画像情報とを演算することにより、観察対象が異常部位であるか否かを正確に算出することができる。
【図面の簡単な説明】
【図1】本発明の実施形態の電子内視鏡を備えている電子内視鏡装置の構成を示したブロック図である。
【図2】本実施形態に用いられるRGBUV回転フィルタの構成を示した正面図である。
【図3】RGBUV回転フィルタが有している各フィルタの特性と、固体撮像素子の各受光部のフィルタ特性を示したグラフである。
【図4】後段信号処理部における画像処理の一態様を模式的に示した図である。
【図5】後段信号処理部における画像処理の一態様を、回路図を用いて模式的に示した図である。
【図6】本発明の実施形態の電子内視鏡の先端部の内部構造を模式的に示した側断面図である。
【図7】本発明の実施形態の電子内視鏡の先端部内に備えられている固体撮像素子の構成を模式的に示した上面図である。
【図8】固体撮像素子の撮像及び転送の周期と、固体撮像素子に入射してくる観察光の周期とを示したタイミングチャートである。
【図9】図8の期間Tdにおける転送動作を詳細に示したタイミングチャートである。
【図10】図8の期間Teにおける転送動作を詳細に示したタイミングチャートである。
【符号の説明】
100 電子内視鏡
140 光路偏向部
150 固体撮像素子
152a、152b 受光部
154a、154b 水平転送部
500 電子内視鏡装置

Claims (6)

  1. 所定方向に長く形成された単一の半導体基板上に複数の受光素子がマトリクス状に配置されている受光部を有した固体撮像素子を先端部内に備えた電子内視鏡と、観察像を得るための光束を前記電子内視鏡に供給する光源部を備えたプロセッサと、を備えた電子内視鏡装置であって、
    前記所定方向のそれぞれ異なった領域に、特定の波長域の可視光である観察光を受光可能な受光素子を複数含んだ第1の受光部と、前記観察光よりも短い波長の可視光である蛍光を受光可能な受光素子を複数含んだ第2の受光部と、を有した前記固体撮像素子を、前記半導体基板の長手方向と前記先端部の長手方向とが一致するように配置し、
    前記プロセッサは、
    前記光源部から射出する光束のうち前記蛍光を得るための励起光とR光を透過する第1のフィルタと、該励起光とG光を透過する第2のフィルタと、該励起光とB光を透過する第3のフィルタとが射出する前記光束を遮光する遮光部を介して円周上に並べて配置されたフィルタ部と、
    前記フィルタ部の前記第1のフィルタ、前記第2のフィルタ及び前記第3のフィルタが前記光束の光路中に繰り返し挿脱されるよう前記フィルタ部を回転させる回転駆動部と、
    をさらに備え、
    前記プロセッサは、前記光源部から射出する光束が前記第1のフィルタ、前記第2のフィルタ及び前記第3のフィルタを連続して通過している連続蓄積期間中は、前記第2の受光部に蓄積された電荷を前記固体撮像素子から転送させずに連続して電荷の蓄積が行われるようにし、該連続蓄積期間中に該第2の受光部に蓄積された電荷に基づいて前記蛍光による画像情報を得る、
    ことを特徴とする電子内視鏡装置。
  2. 前記光源部は単一の発光素子を有していること、を特徴とする請求項1に記載の電子内視鏡装置。
  3. 前記プロセッサは、前記第1の受光部から前記観察光による画像情報を得ることができる第1の状態と、前記観察光による画像情報に加えて前記第2の受光部から前記蛍光による画像情報を得ることができる第2の状態と、を選択可能な操作部と、
    前記操作部の操作に応じて前記固体撮像素子の駆動制御を行う制御部と、をさらに備えていること、を特徴とする請求項1又は請求項2に記載の電子内視鏡装置。
  4. 前記プロセッサは信号処理部をさらに備え、
    前記観察光の画像情報はそれぞれ異なった色画像情報を複数有するものであって、
    前記操作部により前記第2の状態のとき、前記信号処理部は前記複数の色画像情報のいずれかと前記蛍光の画像情報とを加算すること、を特徴とする請求項に記載の電子内視鏡装置。
  5. 前記観察光による画像情報はR光とG光とB光をそれぞれ含んだ複数の色画像情報であって、
    前記蛍光による画像情報は前記R光の色画像情報と加算されること、を特徴とする請求項に記載の電子内視鏡装置。
  6. 前記R光の色画像情報が加算された前記蛍光による画像情報に、さらにB光の色画像情報を加算すること、を特徴とする請求項に記載の電子内視鏡装置。
JP2003129943A 2003-05-08 2003-05-08 電子内視鏡装置 Expired - Fee Related JP4531347B2 (ja)

Priority Applications (1)

Application Number Priority Date Filing Date Title
JP2003129943A JP4531347B2 (ja) 2003-05-08 2003-05-08 電子内視鏡装置

Applications Claiming Priority (1)

Application Number Priority Date Filing Date Title
JP2003129943A JP4531347B2 (ja) 2003-05-08 2003-05-08 電子内視鏡装置

Publications (2)

Publication Number Publication Date
JP2004329583A JP2004329583A (ja) 2004-11-25
JP4531347B2 true JP4531347B2 (ja) 2010-08-25

Family

ID=33505608

Family Applications (1)

Application Number Title Priority Date Filing Date
JP2003129943A Expired - Fee Related JP4531347B2 (ja) 2003-05-08 2003-05-08 電子内視鏡装置

Country Status (1)

Country Link
JP (1) JP4531347B2 (ja)

Families Citing this family (6)

* Cited by examiner, † Cited by third party
Publication number Priority date Publication date Assignee Title
JP5329177B2 (ja) 2007-11-07 2013-10-30 富士フイルム株式会社 撮像システムおよびプログラム
US7667180B2 (en) 2007-11-07 2010-02-23 Fujifilm Corporation Image capturing system, image capturing method, and recording medium
JP5545612B2 (ja) * 2009-01-14 2014-07-09 富士フイルム株式会社 画像処理システム、画像処理方法、及びプログラム
JP5763893B2 (ja) * 2010-06-08 2015-08-12 富士フイルム株式会社 画像処理システム及びプログラム並びに内視鏡システムの作動方法
JP5572465B2 (ja) * 2010-07-16 2014-08-13 富士フイルム株式会社 内視鏡装置及び内視鏡装置の作動方法
JP6017276B2 (ja) * 2012-11-21 2016-10-26 オリンパス株式会社 撮像装置

Family Cites Families (6)

* Cited by examiner, † Cited by third party
Publication number Priority date Publication date Assignee Title
JPS63234941A (ja) * 1986-11-29 1988-09-30 オリンパス光学工業株式会社 内視鏡用撮像装置
JPS63244011A (ja) * 1987-03-31 1988-10-11 Olympus Optical Co Ltd 電子内視鏡
JPH01197716A (ja) * 1988-02-02 1989-08-09 Toshiba Corp 電子内視鏡の拡大撮影機構
JP2987816B2 (ja) * 1989-01-30 1999-12-06 オリンパス光学工業株式会社 蛍光観察装置
JPH1014869A (ja) * 1996-04-30 1998-01-20 Fuji Photo Film Co Ltd 蛍光内視鏡
JP2000341711A (ja) * 1999-05-26 2000-12-08 Sony Corp 固体撮像装置及びこれに用いられるプリズムユニット

Also Published As

Publication number Publication date
JP2004329583A (ja) 2004-11-25

Similar Documents

Publication Publication Date Title
US8643710B2 (en) Image pickup apparatus
JP4433347B2 (ja) 蛍光撮像装置
JP5698878B2 (ja) 内視鏡装置
US6638215B2 (en) Video endoscope system
CN103260499B (zh) 摄像装置
US20060155166A1 (en) Endoscope device
CN103919521B (zh) 内窥镜装置及其操作方法
US20120241620A1 (en) Optical control device, control device, and optical scope
JPH04341232A (ja) 電子内視鏡システム
JP2004313523A (ja) 固体撮像素子、電子内視鏡
JP4520216B2 (ja) 蛍光観察内視鏡装置
JP4531347B2 (ja) 電子内視鏡装置
JP2014183908A (ja) 撮像システム
JP3809058B2 (ja) 電子内視鏡装置
JP4265851B2 (ja) 蛍光撮像装置
JPH01136629A (ja) 蛍光観察用内視鏡装置
JPH01136630A (ja) 蛍光観察用内視鏡装置
JP6138386B1 (ja) 内視鏡装置及び内視鏡システム
JP4744279B2 (ja) 電子内視鏡装置
JP4448320B2 (ja) 電子内視鏡装置
JP2810716B2 (ja) 蛍光観察用内視鏡
JP2003018467A (ja) 電荷増倍型固体電子撮像装置およびその制御方法
JP2010184046A (ja) 内視鏡、内視鏡駆動方法、並びに内視鏡システム
JP2010184047A (ja) 内視鏡、内視鏡駆動方法、並びに内視鏡システム
JP2887167B2 (ja) 撮像装置

Legal Events

Date Code Title Description
A621 Written request for application examination

Free format text: JAPANESE INTERMEDIATE CODE: A621

Effective date: 20060323

A711 Notification of change in applicant

Free format text: JAPANESE INTERMEDIATE CODE: A712

Effective date: 20080501

A131 Notification of reasons for refusal

Free format text: JAPANESE INTERMEDIATE CODE: A131

Effective date: 20090714

A521 Request for written amendment filed

Free format text: JAPANESE INTERMEDIATE CODE: A523

Effective date: 20090904

A131 Notification of reasons for refusal

Free format text: JAPANESE INTERMEDIATE CODE: A131

Effective date: 20091005

A521 Request for written amendment filed

Free format text: JAPANESE INTERMEDIATE CODE: A523

Effective date: 20091127

TRDD Decision of grant or rejection written
A01 Written decision to grant a patent or to grant a registration (utility model)

Free format text: JAPANESE INTERMEDIATE CODE: A01

Effective date: 20100527

A01 Written decision to grant a patent or to grant a registration (utility model)

Free format text: JAPANESE INTERMEDIATE CODE: A01

A61 First payment of annual fees (during grant procedure)

Free format text: JAPANESE INTERMEDIATE CODE: A61

Effective date: 20100609

R150 Certificate of patent or registration of utility model

Free format text: JAPANESE INTERMEDIATE CODE: R150

FPAY Renewal fee payment (event date is renewal date of database)

Free format text: PAYMENT UNTIL: 20130618

Year of fee payment: 3

LAPS Cancellation because of no payment of annual fees