JP4478185B2 - 車両用エンジン始動装置 - Google Patents

車両用エンジン始動装置 Download PDF

Info

Publication number
JP4478185B2
JP4478185B2 JP2008106875A JP2008106875A JP4478185B2 JP 4478185 B2 JP4478185 B2 JP 4478185B2 JP 2008106875 A JP2008106875 A JP 2008106875A JP 2008106875 A JP2008106875 A JP 2008106875A JP 4478185 B2 JP4478185 B2 JP 4478185B2
Authority
JP
Japan
Prior art keywords
storage device
power
power storage
rotor
armature coil
Prior art date
Legal status (The legal status is an assumption and is not a legal conclusion. Google has not performed a legal analysis and makes no representation as to the accuracy of the status listed.)
Expired - Fee Related
Application number
JP2008106875A
Other languages
English (en)
Other versions
JP2009257183A (ja
Inventor
正哉 井上
Current Assignee (The listed assignees may be inaccurate. Google has not performed a legal analysis and makes no representation or warranty as to the accuracy of the list.)
Mitsubishi Electric Corp
Original Assignee
Mitsubishi Electric Corp
Priority date (The priority date is an assumption and is not a legal conclusion. Google has not performed a legal analysis and makes no representation as to the accuracy of the date listed.)
Filing date
Publication date
Application filed by Mitsubishi Electric Corp filed Critical Mitsubishi Electric Corp
Priority to JP2008106875A priority Critical patent/JP4478185B2/ja
Priority to FR0856237A priority patent/FR2930299B1/fr
Publication of JP2009257183A publication Critical patent/JP2009257183A/ja
Application granted granted Critical
Publication of JP4478185B2 publication Critical patent/JP4478185B2/ja
Expired - Fee Related legal-status Critical Current
Anticipated expiration legal-status Critical

Links

Images

Classifications

    • FMECHANICAL ENGINEERING; LIGHTING; HEATING; WEAPONS; BLASTING
    • F02COMBUSTION ENGINES; HOT-GAS OR COMBUSTION-PRODUCT ENGINE PLANTS
    • F02NSTARTING OF COMBUSTION ENGINES; STARTING AIDS FOR SUCH ENGINES, NOT OTHERWISE PROVIDED FOR
    • F02N11/00Starting of engines by means of electric motors
    • F02N11/08Circuits specially adapted for starting of engines
    • F02N11/0862Circuits specially adapted for starting of engines characterised by the electrical power supply means, e.g. battery
    • F02N11/0866Circuits specially adapted for starting of engines characterised by the electrical power supply means, e.g. battery comprising several power sources, e.g. battery and capacitor or two batteries
    • FMECHANICAL ENGINEERING; LIGHTING; HEATING; WEAPONS; BLASTING
    • F02COMBUSTION ENGINES; HOT-GAS OR COMBUSTION-PRODUCT ENGINE PLANTS
    • F02NSTARTING OF COMBUSTION ENGINES; STARTING AIDS FOR SUCH ENGINES, NOT OTHERWISE PROVIDED FOR
    • F02N11/00Starting of engines by means of electric motors
    • F02N11/04Starting of engines by means of electric motors the motors being associated with current generators
    • HELECTRICITY
    • H02GENERATION; CONVERSION OR DISTRIBUTION OF ELECTRIC POWER
    • H02PCONTROL OR REGULATION OF ELECTRIC MOTORS, ELECTRIC GENERATORS OR DYNAMO-ELECTRIC CONVERTERS; CONTROLLING TRANSFORMERS, REACTORS OR CHOKE COILS
    • H02P9/00Arrangements for controlling electric generators for the purpose of obtaining a desired output
    • H02P9/08Control of generator circuit during starting or stopping of driving means, e.g. for initiating excitation
    • FMECHANICAL ENGINEERING; LIGHTING; HEATING; WEAPONS; BLASTING
    • F02COMBUSTION ENGINES; HOT-GAS OR COMBUSTION-PRODUCT ENGINE PLANTS
    • F02NSTARTING OF COMBUSTION ENGINES; STARTING AIDS FOR SUCH ENGINES, NOT OTHERWISE PROVIDED FOR
    • F02N11/00Starting of engines by means of electric motors
    • F02N11/08Circuits specially adapted for starting of engines
    • F02N11/0814Circuits specially adapted for starting of engines comprising means for controlling automatic idle-start-stop
    • FMECHANICAL ENGINEERING; LIGHTING; HEATING; WEAPONS; BLASTING
    • F02COMBUSTION ENGINES; HOT-GAS OR COMBUSTION-PRODUCT ENGINE PLANTS
    • F02NSTARTING OF COMBUSTION ENGINES; STARTING AIDS FOR SUCH ENGINES, NOT OTHERWISE PROVIDED FOR
    • F02N11/00Starting of engines by means of electric motors
    • F02N11/08Circuits specially adapted for starting of engines
    • F02N2011/0881Components of the circuit not provided for by previous groups
    • F02N2011/0885Capacitors, e.g. for additional power supply
    • FMECHANICAL ENGINEERING; LIGHTING; HEATING; WEAPONS; BLASTING
    • F02COMBUSTION ENGINES; HOT-GAS OR COMBUSTION-PRODUCT ENGINE PLANTS
    • F02NSTARTING OF COMBUSTION ENGINES; STARTING AIDS FOR SUCH ENGINES, NOT OTHERWISE PROVIDED FOR
    • F02N11/00Starting of engines by means of electric motors
    • F02N11/08Circuits specially adapted for starting of engines
    • F02N2011/0881Components of the circuit not provided for by previous groups
    • F02N2011/0888DC/DC converters
    • FMECHANICAL ENGINEERING; LIGHTING; HEATING; WEAPONS; BLASTING
    • F02COMBUSTION ENGINES; HOT-GAS OR COMBUSTION-PRODUCT ENGINE PLANTS
    • F02NSTARTING OF COMBUSTION ENGINES; STARTING AIDS FOR SUCH ENGINES, NOT OTHERWISE PROVIDED FOR
    • F02N11/00Starting of engines by means of electric motors
    • F02N11/08Circuits specially adapted for starting of engines
    • F02N2011/0881Components of the circuit not provided for by previous groups
    • F02N2011/0896Inverters for electric machines, e.g. starter-generators

Landscapes

  • Engineering & Computer Science (AREA)
  • Chemical & Material Sciences (AREA)
  • Combustion & Propulsion (AREA)
  • Mechanical Engineering (AREA)
  • General Engineering & Computer Science (AREA)
  • Power Engineering (AREA)
  • Control Of Eletrric Generators (AREA)
  • Control Of Vehicle Engines Or Engines For Specific Uses (AREA)

Description

この発明は、アイドルストップ車両等に於ける車両のエンジン始動装置に関するものである。
燃費性能改善等のため、車両停止時にエンジンを停止させ車両発進時に自動的にエンジンを再始動させるようにしたアイドルストップ車両は、既に実用化されている。このようなアイドルストップ車両用のエンジン始動装置としては、通常の車両に用いられているスタータでは出力が限られており適当ではない。そこで、車両の電力発生装置として設けられているオルタネータに対してインバータから電力を供給して駆動力を発生させ、オルタネータをスタータとして利用する技術が既に実用化されているが、この場合、通常の14V系のバッテリでは容量が不足する。そこで、従来、DC−DCコンバータを新たに搭載し、電源電圧を従来より高電圧化してエンジンの始動力を高めるようにした技術が開示されている(例えば、特許文献1参照)。
特開2005−143157号公報
しかしながら、特許文献1に記載された従来の技術では、高圧系はバッテリ等の蓄電容量の大きな装置が必要である。更に高圧系のバッテリ容量が不足した場合等には14V系のバッテリからの電力供給を行うために、高圧系と低圧系をDC−DCコンバータを介して接続し、高圧系に充電するようにしていた。従って、別途DC−DCコンバータを配置するためのスペースが必要であり、又、DC−DCコンバータの追加によりコストが高くなるという課題があった。
この発明は、従来の技術に於ける前述のような課題を解決すると共に、エンジン再始動時に於いてより迅速にエンジンの始動を行うことができる車両用エンジン始動装置を提供することを目的とする。
この発明による車両用エンジン始動装置は、回転子に設けられた界磁コイルと固定子に設けられた電機子コイルとを有し前記回転子が車両のエンジンにより駆動されることにより前記電機子コイルに交流電力を発生する発電動作を行なうオルタネータと、前記発電動作時に前記発生した前記交流電力に基づき電力変換回路を介して所定電圧に充電される第1の蓄電装置と、前記発電動作時に前記発生した交流電力に基づき前記電力変換回路を介して所定電圧に充電される第2の蓄電装置とを備え、前記オルタネータは、前記電機子コイルに変動するd軸電流が供給されることにより前記界磁コイルに誘起起電力を発生して前記第2の蓄電装置を前記所定電圧以上の電圧に充電するように構成されると共に、前記エンジンの始動時に、前記第1の蓄電装置から前記電力変換回路を介して前記電機子コイルに電力が供給されると共に前記所定電圧以上の電圧に充電された前記第2の蓄電装置から前記界磁コイルに電力が供給されて駆動動作を行ない前記エンジンの始動を行なうようにしたものである。
又、この発明による車両用エンジン始動装置は、回転子に設けられた界磁コイルと固定子に設けられた電機子コイルとを有し前記回転子が車両のエンジンにより駆動されることにより前記電機子コイルに交流電力を発生する発電動作を行なうオルタネータと、前記発
電動作時に前記発生した前記交流電力に基づき電力変換回路を介して所定電圧に充電される第1の蓄電装置と、前記発電動作時に前記発生した交流電力に基づき前記電力変換回路を介して所定電圧に充電される第2の蓄電装置とを備え、前記オルタネータは、前記電機子コイルに変動するd軸電流が供給されることにより前記界磁コイルに誘起起電力を発生して前記第2の蓄電装置を前記所定電圧以上の電圧に充電するように構成されると共に、前記エンジンの始動時に、前記所定電圧以上の電圧に充電された前記第2の蓄電装置から前記電力変換回路を介して前記電機子コイルに電力が供給されると共に前記所定電圧以上の電圧に充電された前記第2の蓄電装置から前記界磁コイルに電力が供給されて駆動動作を行ない前記エンジンの始動を行なうようにしたものである。
この発明に於いて、前記電機子コイルに供給される前記d軸電流の変動は、例えば、前記電機子コイルに通電する電流の位相を前記回転子の回転速度に同期した回転速度の回転磁界を発生させる位相として前記d軸電流の値を増減することにより行われるか、又は、前記電機子コイルに前記回転子の回転速度に同期しない回転速度の回転磁界を発生させる位相の交流電流を通電することにより行なわれるか、又は、前記回転子が回転している状態に於いて前記電機子コイルに直流電流を通電することにより行なわれる。
この発明に於いて、エンジンの始動とは、信号等による車両停止時にエンジンを停止させた後に車両の再スタートのためにエンジンを再始動させる場合は勿論、それ以外のエンジン始動をも含むものである。
この発明による車両用エンジン始動装置によれば、オルタネータは、電機子コイルに変動するd軸電流が供給されることにより界磁コイルに誘起起電力を発生して第2の蓄電装置を所定電圧以上の電圧に充電するように構成されると共に、エンジンの始動時に、第1の蓄電装置から電力変換回路を介して電機子コイルに電力が供給されると共に所定電圧以上の電圧に充電された第2の蓄電装置から界磁コイルに電力が供給されて駆動動作を行ないエンジンの始動を行なうようにしたので、オルタネータの駆動力が通常時より増大され、迅速にエンジンの始動を行うことができる。
又、この発明による車両用エンジン始動装置によれば、オルタネータは、電機子コイルに変動するd軸電流が供給されることにより界磁コイルに誘起起電力を発生して第2の蓄電装置を所定電圧以上の電圧に充電するように構成されると共に、エンジンの始動時に、所定電圧以上の電圧に充電された第2の蓄電装置から電力変換回路を介して電機子コイルに電力が供給されると共に所定電圧以上の電圧に充電された第2の蓄電装置から界磁コイルに電力が供給されて駆動動作を行ないエンジンの始動を行なうようにしたので、オルタネータの駆動力が通常時より更に大きく増大され、極めて迅速にエンジンの始動を行うことができる。
実施の形態1.
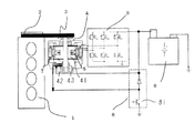
以下、この発明の実施の形態1について図面を参照して説明する。図1は、オルタネータを利用したこの発明の基礎となるエンジン始動装置の全体構成図、図2は、図1に示すエンジン始動装置に於けるオルタネータへの通電制御回路を示す回路図である。図1及び図2に於いて、ランデル型オルタネータ(以下、単に、オルタネータと称する)4の回転子41は、エンジン1の出力軸に固定されたプーリー2とベルト3を介してエンジン1から駆動力が与えられて回転する。このとき、回転子41に設けられた界磁コイル5は、バッテリ6からブラシ42、及びスリップリング43を介して通電されて界磁磁束を発生しており、その界磁磁束に鎖交する電機子コイルとしての3相電機子コイル(以下、電機子コイルと称する)7に3相交流電圧が誘起される。
電機子コイル7に接続された電力変換回路としての3相インバータ回路9は、電機子コイル7に発生した3相交流電圧を直流電圧に変換してバッテリ6を充電する。ここでオルタネータ4の発電量の調整は、通常、界磁コイル5に供給する界磁電流をレギュレータ回路8により制御することで行なわれるが、3相インバータ回路9の出力がバッテリ6に対する適切な充電電圧となるようにレギュレータ回路8により界磁電流が制御される。尚、レギュレータ回路8による界磁電流の制御は、レギュレータ回路8に設けられているスイッチング素子81のスイッチング制御により行なわれる。
車両が交通信号等で停止し、エンジン1がアイドリング停止により停止した場合は、車両発進時にエンジン1を再始動する必要がある。その場合、オルタネータ4の電機子コイル7に3相インバータ回路9から3相交流電力を供給して回転磁界を発生させると共に、界磁コイル5にレギュレータ回路8を介して界磁電流を供給して磁界磁束を発生させる。これにより、回転子と固定子と間に電磁力が発生し、オルタネータ4はモータとして駆動動作し、その回転子の駆動力をベルト3及びプーリー2を介してエンジン1に伝達しこれを再始動させる。
以上のように構成されたこの発明の基礎となる車両用エンジンの始動装置に於いて、界磁コイル5の発生する界磁磁束は多いほど、又、電機子コイル7の発生する回転磁界は大きいほど、エンジン再始動時のオルタネータ4のトルクを大きくしてエンジン1の再始動を瞬時に行なうことが可能となる。そのためには、電機子コイル7及び界磁コイル5に電力を供給する電圧を高くして、オルタネータ4を大電流かつ高出力化することが望まれる。
そこで、3相インバータ回路9の出力、及び/又は、界磁コイル5の制御電源を昇圧することが考えられる。しかしながら、このことを車両に実際に用いようとした場合には、以下の課題が発生する。
(1)通常は界磁コイル5、電機子コイル7の双方とも14Vのバッテリ系統に接続されており、もしそのバッテリ系統の母線電圧を何らかの手段で昇圧した場合には、同時に14V系に接続されている他の車載電子機器に対しても昇圧することになり、全ての車載機器を高電圧対応品とする必要がある。
(2)通常、直流母線の昇圧にはDC−DCコンバータが用いられるが、インダクタ、キャパシタ、ダイオード等が新たに必要であり、重量や配置スペースの増加を招く。
以下述べるこの発明の実施の形態1に係る車両用エンジン始動装置は、このような課題を解消するものである。
図3は、この発明の実施の形態1による車両用エンジン始動装置の回路構成を示す回路図である。図3に於いて、第1の蓄電装置61は、前述の図1及び2に示すバッテリ6と同様の14Vのバッテリにより構成されている。第2の蓄電装置13は、電気二重層コンデンサや、リチウムイオン電池若しくはキャパシタ等により構成されており、その正極側端子がダイオード10を介して第1の蓄電装置61の正極側端子に接続されている。前記接続されたダイオード10の順方向は、第1の蓄電装置の正極側端子から第2の蓄電装置の正極側端子に向かう方向である。エンジンが動作中である通常時には、第2に蓄電装置13は、3相インバータ回路9からダイオード10を介して14Vに充電される。この第2の蓄電装置13は、界磁コイル5に通常のオルタネータとしての界磁電流を供給するための14Vの通常電源としての役割と、後述するようにエンジン始動時に高電圧を界磁コイル5に印加する高電圧電源との役割の、双方を果たすために設けられている。
H形ブリッジ整流回路100は、正極側端子P1が第2の蓄電装置13の正極側に接続され、負極側端子N1が第2の蓄電装置13の負極側に接続されている。逆並列接続され
たダイオードを有するスイッチング素子11はH形ブリッジ回路100の第1の正極側アームを構成し、ダイオード15はH形ブリッジ整流回路100の第2の正極側アームを構成し、逆並列接続されたダイオードを有するスイッチング素子12はH形ブリッジ回路100の第2の負極側アームを構成し、ダイオード14はH形ブリッジ整流回路100の第1の負極側アームを夫々構成している。オルタネータ4の界磁コイル5は、H形ブリッジ整流回路100のスイッチング素子12とダイオード15との接続点X1と、スイッチング素子11とダイオード14との接続点X2との間に接続されている。このように、オルタネータ4の界磁コイル5と第2の蓄電装置13とは、H形ブリッジ整流回路100を介して並列接続されている。
第2の蓄電装置13に対して並列に接続された3相インバータ回路9は、オルタネータ4に3相電流を供給する。オルタネータ4は、前述と同様のランデル型オルタネータである。3相インバータ回路9の正極側アームは、逆並列接続されたダイオードを含む3個のスイッチング素子91、92、93により夫々構成され、負極側アームは、同様に逆並列接続されたダイオードを含む3個のスイッチング素子94、95、96により夫々構成されている。3相インバータ回路9の交流側出力端子U、V、Wは、夫々、オルタネータ4の3相電機子コイル7の各端子に接続されている。
以上のように構成されたこの発明の実施の形態1に係る車両用エンジン始動装置に於いて、次に、その動作について説明する。
(1)オルタネータを通常の発電機として動作させる場合
オルタネータ4の回転子41は、エンジン1により駆動されて回転するが、その界磁コイル5に通電される界磁電流は、第2の蓄電装置13に接続されたH形ブリッジ整流回路100を構成するスイッチング素子11、12を同時にON/OFF制御することによって調整され、オルタネータ4の負荷に応じた磁束量を電機子コイルに鎖交させる。これにより、オルタネータ4の電機子コイル7には、所望の三相交流電圧が誘起される。電機子コイル7に誘起された3相交流電圧は、3相インバータ回路9の6個のスイッチング素子91〜96に夫々逆並列されたダイオードにより三相全波整流され、第1の蓄電装置61を所定電圧である14Vに充電する。又、第2の蓄電装置13は、ダイオード10を介して3相インバータ回路9により所定電圧である14Vに充電される。
(2)エンジン停止後の再始動に備えて第2の蓄電装置13を高圧充電する場合
第2の蓄電装置13は、ダイオード10を介して第1の蓄電装置61に常時接続されているので、初期状態でも第1の蓄電装置61のバッテリ電圧14Vに相当する電圧まで充電されている。この状態から、第2の蓄電装置13をより高い電圧となるように充電することが出来れば、界磁コイル5へ流す界磁電流を増やすことが出来る。通常であれば、DC−DCコンバータにより第1の蓄電装置61の出力電圧を昇圧して第2蓄電装置13を
充電するのが一般的である。しかし、DC−DCコンバータは、前述したようにリアクトルやコンデンサ等の付随する素子が必要であり、そのため重量が大きくなり、且つ大きな配置スペースを必要という課題がある。
そこでこの発明の実施の形態1では、電機子コイル7に3相交流電流を通電して固定子磁束を発生させて回転子に設けられた界磁コイル5に交流電圧を誘起させ、この交流電圧をH形ブリッジ整流回路100により全波整流して第2の蓄電装置13に供給してこれを所定電圧である14V以上の電圧に充電する。以下、具体的にその動作を説明する。
即ち、先ず、電機子コイル7に供給する3相交流電流に含まれる電流成分のうち、d軸電流を変動させる。ここで、d軸とは、ランデル型回転子の界磁電流により発生する界磁磁束の磁束中心軸を指し、d軸電流とは、d軸に一致する磁束中心軸の固定子磁束を発生させる固定子電流の成分を指す。d軸電流が変動すると、固定子と回転子は総合インダク
タンスによって結合されているので、回転子41の界磁コイル5に鎖交する固定子磁束の量も変動することになる。尚、d軸電流を変動させる方法として、d軸電流のみを変動させる場合が最も電機子コイル7と回転子41の界磁コイル5との結合が高く効率的であるが、3相インバータ回路9から電機子コイル7に通電する電流にd軸電流以外の電流成分
が含まれていても良い。d軸電流を変動させる方法の詳細については、後述する。
前述のように、d軸電流を変動させることにより回転子41の界磁コイル5に鎖交する固定子磁束の量も変動するので、回転子41の界磁コイル5には交流電圧が誘起される。この界磁コイル5に誘起された交流電圧は、スイッチング素子11、12、及びダイオード14、15からなるH形ブリッジ整流回路100によって全波整流されて第2の蓄電装置13へ供給される。第2の蓄電装置13は、このH形ブリッジ整流回路100からの全波整流された直流高電圧により14V以上の高電圧に充電される。又、第2の蓄電装置13が高電圧に充電されても、ダイオード10が低圧系の車載機器に対してダイオード10が逆導通となる方向に接続されているので、第1の蓄電装置61、及び既存の車載機器の
電源系には第2の蓄電装置13の高電圧は印加されない。第2の蓄電装置13は、このように高電圧に充電された状態で、エンジン始動準備状態として待機する。
次に、電機子コイル7のd軸電流を変動させる方法について説明する。d軸電流の変動方法には種々あるが、特に効果的な方法は以下の3通りである。
(2−1)回転子位置情報等を利用した従来良く知られる同期モータの電流ベクトル制御手法を用いる。
この発明の実施の形態1に於いては、3相インバータ回路9から電機子コイル7へ通電するd軸電流の値を増減させるように3相インバータ回路9のスイッチング素子91〜96を制御する。具体的には、電機子コイル7へ通電する電流の位相を、回転子41の回転速度に同期した回転速度の回転磁界を発生させる位相とし、d軸電流の値を増減することにより回転磁界の振幅を変動させる。この場合は電機子コイル7に通電する電流成分がすべてd軸電流であるので、第2の蓄電装置13を充電する際に生じる電機子コイル7の銅損が最小で効率よくd軸電流を変動させることができる。
(2−2)電機子コイル7に、回転子41の回転速度とは同期しない回転速度の回転磁界を発生させる位相の交流電流を通電する。
より具体的には、3相インバータ回路9から電機子コイル7に対して、オルタネータ4の回転子41の回転方向とは逆方向に回転する回転磁界を発生させる位相の交流電流を通電する。この場合は、固定子に発生する磁束の回転は必ず回転子41の回転に対して非同期状態となるため、回転子41に鎖交する固定子磁束は変動して結果的にd軸電流が変動する。この場合は回転子速度情報や位置情報を利用しないので、特別なセンサや演算装置を必要とすることなくd軸電流を変動させることが可能となる。
(2−3)電機子コイル7に直流電流を通電する。
即ち、3相インバータ回路9から電機子コイル7に対して、直流電流を印加する。例え
ば、U相[+1.0]、V相[−0.5]、W相[−0.5]の比となる電流値を常に維
持する直流電流を印加する。この場合は、オルタネータ4の回転子41が回転している場
合は、固定子に発生する固定子磁束は必ず回転子の回転に対して非同期状態となるため、回転子41に鎖交する固定子磁束は変動して結果的にd軸電流が変動する。同時に3相インバータ回路9は必ずしもスイッチング動作を行う必要はないので、3相インバータ回路9の制御が簡素化できると同時にスイッチング損失も低減させることができる。
(3)エンジン始動時
第2の蓄電装置13が高圧充電された状態で、H形ブリッジ整流回路100のスイッチング素子11、12を同時にONとすることによって、第2の蓄電装置13から回転子4
1の界磁コイル5に、第2の蓄電装置13の昇圧比(通常の充電電圧に対する高圧充電電圧の比)に応じた直流大電流を通電する。その結果、回転子41には通常時より磁束が増加した界磁磁束が発生する。従って、この界磁磁束に対応した固定子電流を通電するように3相インバータ回路9を制御すれば、オルタネータ4はトルクが大幅に増大した電動機として動作し、その強力なトルクによりエンジンを始動させることができる。
(4)エンジン始動後、オルタネータを発電機へ復帰させる場合
エンジン始動後は、3相インバータ回路9の各スイッチング素子91〜96をOFFにしておけば、前述の「(1)オルタネータを通常の発電機として動作させる場合」の状態に復帰して、通常のオルタネータとして動作することができる。
以上述べたこの発明の実施の形態1に係る車両用エンジン始動装置によれば、図1に示すこの発明の基礎となる装置に、単に、ダイオード2個とスイッチング素子2個からなるH形ブリッジ整流回路100と、第2の蓄電装置13を追加するだけで、エンジン始動用の高電圧を発生する昇圧システムを構成することができる。又、追加したH形ブリッジ整流回路100は、回転子41の界磁コイル5の界磁電流を制御する制御回路としても共用されるので、僅かな構成変更のみで高圧充電系を構成でき、従来必要とされたDC−DCコンバータを必要とせず、その結果、小型軽量、且つ低コストの高圧電源系システムを備えた車両用エンジン始動装置を得ることができる。
又、高電圧の充電された第2の蓄電装置13を電源としてオルタネータ4の回転子41の界磁コイル5に通電することにより、回転子41の界磁磁束を大きくしてエンジン始動トルクを向上させることができる。
尚、通常のランデル型オルタネータ4の回転子41は、磁気飽和によって界磁電流を増加させても回転子41の発生磁束が増加しない場合がある。そこで、例えば図4に示すように、界磁コイル5をその軸方向両端部から包み込む一対の爪状磁極を構成する継鉄410、411の各爪先端部410a、411aの内周部に、小片状の補助的な永久磁石16を夫々埋め込んだ構成とすれば、界磁コイル5が回転子内部に作る磁束をその永久磁石16の磁束により相殺して回転子41の磁気飽和を緩和させることができる。このように構成した図4に示す回転子41を、図3に示すこの発明の実施の形態1に係る車両用エンジン始動装置に用いることにより、永久磁石16によって、回転子41の内部磁路の磁束の磁気飽和は相当に緩和されているので、界磁電流を従来より大幅に増大させても、界磁電流に応じた磁束量増加を期待することができる。
又、高電圧に充電された第2の蓄電装置13を電源として、車両の電動アシストターボや直流モータを用いたスタータ等の他の補機類に対してその高電圧に基づく電力を供給するようにしても、前述と同様に高圧化による効果が得られることは言うまでもない。
実施の形態2.
図5は、この発明の実施の形態2に係る車両用エンジン始動装置の回路構成を示す回路図である。図5に於いて、第1の蓄電装置61、第2の蓄電装置13、H形ブリッジ整流回路100、3相インバータ回路9は、夫々、前述の図3に示す実施の形態1の場合と同様に構成されている。
切り替えスイッチ17は、3相インバータ回路9の正極側端子P3と第1の蓄電装置61の正極側端子P2と第2の蓄電装置13の正極側端子P1との間に設けられており、3相インバータ回路9を、第1の蓄電装置61又は第2の蓄電装置13の何れか一方に選択的に切り替えて接続する。この切り替えスイッチ17を切り替えることにより、オルタネータ4の電機子コイル7は、3相インバータ回路9を介して、第1の蓄電装置61又は第
2の蓄電装置13の何れか一方に接続されることになる。
以上のように構成されたこの発明の実施の形態2に係る車両用エンジン始動装置に於いて、次に、その動作を説明する。
(1)オルタネータを通常の発電機として動作させる場合
3相インバータ回路9は、切り替えスイッチ17により第1の蓄電装置61に接続され
る。オルタネータ4の回転子41は、エンジン1により駆動されて回転するが、その界磁コイル5に通電される界磁電流は、第2の蓄電装置13に接続されたH形ブリッジ整流回路100を構成するスイッチング素子11、12を同時にON/OFF制御することによって調整され、オルタネータ4の負荷に応じた磁束量を電機子コイルに鎖交させる。これにより、オルタネータ4の電機子コイル7には、所望の三相交流電圧が誘起される。電機子コイル7に誘起された3相交流電圧は、3相インバータ回路9の6個のスイッチング素子91〜96に夫々逆並列されたダイオードにより三相全波整流され、第1の蓄電装置61を充電する。第2の蓄電装置13は、ダイオード10を介して第1の蓄電装置61により、所定の電圧である14Vに充電される。
(2)エンジン停止後の再始動に備えて第2の蓄電装置13を高圧充電する場合
この場合、切り替えスイッチ17により、3相インバータ回路9は第1の蓄電装置61
に接続される。前述のように第1の蓄電装置13は、ダイオード10を介して電気二重層コンデンサやリチウムイオン電池若しくはキャパシタ等により構成された第2の蓄電装置13に常時接続されているので、初期状態でも第1の蓄電装置61の端子電圧である14Vまで充電されている。ここで第2の蓄電装置13を第1の蓄電装置6より高い電圧となるよう第2の蓄電装置13を充電することが出来れば界磁電流を増やすことが出来る。
前述したように、第2の蓄電装置13の充電電圧を昇圧させる手段として、通常であれば、DC−DCコンバータにより第1の蓄電装置61の出力電圧を昇圧して第2蓄電装置
13を充電するのが一般的である。しかし、DC−DCコンバータは、前述したようにリアクトルやコンデンサ等の付随する素子が必要であり、そのため重量が大きくなり、且つ大きな配置スペースを必要という課題がある。
そこでこの発明の実施の形態2では、実施の形態1の場合と同様に、電機子コイル7に3相交流電流を通電して固定子磁束を発生させて回転子に設けられた界磁コイル5に交流電圧を誘起させ、この交流電圧をH形ブリッジ整流回路100により全波整流して第2の蓄電装置13に供給してこれを充電する。以下、具体的にその動作を説明する。
即ち、先ず、電機子コイル7に供給する3相交流電流に含まれる電流成分のうち、d軸電流を変動させる。ここで、d軸とは、ランデル型回転子の界磁電流により発生する界磁磁束の磁束中心軸を指し、d軸電流とは、d軸に一致する磁束中心軸の固定子磁束を発生させる固定子電流の成分を指す。d軸電流が変動すると、固定子と回転子は総合インダクタンスによって結合されているので、回転子41の界磁コイル5に鎖交する固定子磁束の量も変動することになる。尚、d軸電流を変動させる方法として、d軸電流のみを変動させる場合が最も電機子コイル7と回転子41の界磁コイル5との結合が高く効率的であるが、3相インバータ回路9から電機子コイル7に通電する電流にd軸電流以外の電流成分
が含まれていても良い。
前述のように、d軸電流を変動させることにより回転子41の界磁コイル5に鎖交する固定子磁束の量も変動するので、回転子41の界磁コイル5には交流電圧が誘起される。この界磁コイル5に誘起された交流電圧は、スイッチング素子11、12、及びダイオード14、15からなるH形ブリッジ整流回路100によって全波整流されて第2の蓄電装置13へ供給される。第2の蓄電装置13は、このH形ブリッジ整流回路100からの全
波整流された直流高電圧により所定電圧である14V以上の高電圧に充電される。又、第2の蓄電装置13が高電圧に充電されても、ダイオード10が低圧系の車載機器に対してダイオード10が逆導通となる方向に接続されているので、第1の蓄電装置61、及び既
存の車載機器の電源系には第2の蓄電装置13の高電圧は印加されない。第2の蓄電装置13は、このように高電圧に充電された状態で、エンジン始動準備状態として待機する。
電機子コイル7のd軸電流を変動させる方法については、実施の形態1に於いて説明した通り下記の方法を用いる。
(2−1)回転子位置情報等を利用した従来良く知られる同期モータの電流ベクトル制御手法を用いる。
(2−2)電機子コイル7に、回転子41の回転速度とは同期しない回転速度の回転磁界を発生させる位相の交流電流を通電する。
(2−3)電機子コイル7に直流電流を通電する。
これらの方法の詳細については、前述の実施の形態1の場合と同様である。
(3)エンジン始動時
この場合、切り替えスイッチ17の切り替え動作により、3相インバータ回路9を第1の蓄電装置61から第2の蓄電装置13へ切り替えて接続する。この切り替えスイッチ17の切り替え動作のとき、3相インバータ回路9が通電状態にあるとオルタネータ4や配線のインダクタンスエネルギーが切り替えスイッチ17に印加され、切り替えスイッチ17の接点がアーク現象によって磨耗してしまう恐れがある。そこで、3相インバータ回路9のスイッチング素子91〜96をOFFとして3相インバータ回路9を非動作状態とすると共に、H形ブリッジ整流回路100のスイッチング素子11、12をOFFとして界磁コイル5への通電を停止させる。これにより、切り替えスイッチ17は、アーク電位がない状態でスイッチを切り替えることができるため、その接点寿命が延びると共に、切り替えスイッチ17自体を小型化することができる。
次に、3相インバータ回路9の接続先を切り替えスイッチ17によって第2の蓄電装置13に切り替えた後に、第2の蓄電装置13が高圧充電された状態で、H形ブリッジ整流回路100のスイッチング素子11、12をONすることによって、第2の蓄電装置13から回転子41の界磁コイル5に高圧充電された昇圧比に応じた大電流を通電させ、回転子の界磁磁束を増加させる。又、これと同時に、3相インバータ回路9に対して高圧充電された第2の蓄電装置13から高電圧を印加した状態で、スイッチング素子91〜96をスイッチング動作させて電機子コイル7に3相交流電流を供給し、固定子に回転磁界を発生させる。その結果、オルタネータ4は電動機として動作し、その強力なトルクによりエンジンを始動させる。このように、回転子41の界磁コイル5と電機子コイル7の双方を既存の14V系バッテリシステムより高圧系とすることができるので、エンジン始動トルクを大幅に向上させることができる。
(4)エンジン始動後、オルタネータを発電機へ復帰させる場合
この場合、切り替えスイッチ17の切り替え動作により、3相インバータ回路9を第2の蓄電装置13から第1の蓄電装置61へ切り替えて接続する。この切り替えスイッチ17の切り替え動作のとき、3相インバータ回路9が通電状態にあるとオルタネータ4や配線のインダクタンスエネルギーが切り替えスイッチ17に印加され、切り替えスイッチ17の接点がアーク現象によって磨耗してしまう恐れがあるので、3相インバータ回路9のスイッチング素子91〜96をOFFとして3相インバータ回路9を非動作状態とすると共に、H形ブリッジ整流回路100のスイッチング素子11、12をOFFとして界磁コイル5への通電を停止させる。これにより、切り替えスイッチ17は、アーク電位がない状態でスイッチを切り替えることができるため、その接点寿命が延びると共に、切り替えスイッチ17自体を小型化することができる。
3相インバータ回路9は、第1の蓄電装置61に接続された後、スイッチング素子91〜6をOFFにしておけば、前述の「(1)オルタネータを通常の発電機として動作させる場合」の状態に復帰して、通常のオルタネータとして動作することができる。
以上述べたように、この発明の実施の形態2に係る車両用エンジン始動装置によれば、図2に示すこの発明の基礎となる装置に、単に、第2の蓄電装置13と、ダイオード2個とスイッチング素子2個からなるH形ブリッジ整流回路100と、切り替えスイッチ17を1個追加するのみで、従来必要とされたDC−DCコンバータを必要とせず、小型軽量、且つ低コストの高圧電源系システムを備えたエンジン始動用の高電圧を発生する昇圧システムを構成することができる。又、実施の形態2の場合、エンジン始動時に、高圧充電された第2の蓄電装置13を電源として、界磁コイル5と電機子コイル7との双方に夫々H形ブリッジ整流回路100及び3相インバータ回路9を介して大電流を供給することができるので、オルタネータ4の電動機としての駆動力をより増大させることができる。
尚、前述の実施の形態1の場合と同様に、例えば図4に示すように、界磁コイル5をその軸方向両端部から包み込む一対の爪状磁極である継鉄410、411の各爪先端部410a、411aの内周部に、小片状の補助的な永久磁石16を夫々埋め込んだ構成とすれば、界磁コイル5が回転子内部に作る磁束をその永久磁石16の磁束により相殺して回転子41の磁気飽和を緩和させることができる。このように構成した図4に示す回転子41を、図5に示すこの発明の実施の形態2に係る車両用エンジン始動装置に用いることにより、永久磁石16によって、回転子41の内部磁路の磁束の磁気飽和は相当に緩和されているので、界磁電流を従来より大幅に増大させても、界磁電流に応じた磁束量増加を期待することができる。
又、高電圧に充電された第2の蓄電装置13を電源として、車両の電動アシストターボや直流モータを用いたスタータ等の他の補機類に対してその高電圧に基づく電力を供給するようにしても、前述と同様に高圧化による効果が得られることは言うまでもない。
オルタネータを利用したこの発明の基礎となるエンジン始動装置の全体構成図である。 図1に示すエンジン始動装置に於けるオルタネータへの通電制御回路を示す回路図である。 この発明の実施の形態1による車両用エンジン始動装置の回路構成を示す回路図である。 この発明の実施の形態1及び実施の形態2に係る車両用エンジン始動装置のオルタネータの回転子の変形例を示す斜視図である。 この発明の実施の形態2に係る車両用エンジン始動装置の回路構成を示す回路図である。
符号の説明
1 エンジン
2 プーリー
3 ベルト
4 オルタネータ
41 回転子
42 ブラシ
43 スリップリング
410、411 継鉄
410a、411a 爪先端部
16 永久磁石
5 界磁コイル
6 バッテリ
7 電機子コイル
8 レギュレータ回路
81 スイッチング素子
9 3相インバータ回路
10、14、15 ダイオード
11、12、91、92、93,94、95、96、81 スイッチング素子
17 切り替えスイッチ
100 H形ブリッジ整流回路
P1、P2、P3 正極側端子
N1 負極側端子
X1、X2 接続点
U、V、W 交流側出力端子

Claims (11)

  1. 回転子に設けられた界磁コイルと固定子に設けられた電機子コイルとを有し前記回転子が車両のエンジンにより駆動されることにより前記電機子コイルに交流電力を発生する発電動作を行なうオルタネータと、前記発電動作時に前記発生した前記交流電力に基づき電力変換回路を介して所定電圧に充電される第1の蓄電装置と、前記発電動作時に前記発生した交流電力に基づき前記電力変換回路を介して所定電圧に充電される第2の蓄電装置とを備え、前記オルタネータは、前記電機子コイルに変動するd軸電流が供給されることにより前記界磁コイルに誘起起電力を発生して前記第2の蓄電装置を前記所定電圧以上の電圧に充電するように構成されると共に、前記エンジンの始動時に、前記第1の蓄電装置から前記電力変換回路を介して前記電機子コイルに電力が供給されると共に前記所定電圧以上の電圧に充電された前記第2の蓄電装置から前記界磁コイルに電力が供給されて駆動動作を行ない前記エンジンの始動を行なうことを特徴とする車両用エンジン始動装置。
  2. 回転子に設けられた界磁コイルと固定子に設けられた電機子コイルとを有し前記回転子が車両のエンジンにより駆動されることにより前記電機子コイルに交流電力を発生する発電動作を行なうオルタネータと、前記発電動作時に前記発生した前記交流電力に基づき電力変換回路を介して所定電圧に充電される第1の蓄電装置と、前記発電動作時に前記発生した交流電力に基づき前記電力変換回路を介して所定電圧に充電される第2の蓄電装置とを備え、前記オルタネータは、前記電機子コイルに変動するd軸電流が供給されることにより前記界磁コイルに誘起起電力を発生して前記第2の蓄電装置を前記所定電圧以上の電圧に充電するように構成されると共に、前記エンジンの始動時に、前記所定電圧以上の電圧に充電された前記第2の蓄電装置から前記電力変換回路を介して前記電機子コイルに電力が供給されると共に前記所定電圧以上の電圧に充電された前記第2の蓄電装置から前記界磁コイルに電力が供給されて駆動動作を行ない前記エンジンの始動を行なうことを特徴とする車両用エンジン始動装置。
  3. 前記電力変換回路に対して前記第1の蓄電装置と前記第2の蓄電装置とのうち何れか一方を接続させる切り替えスイッチを備え、前記エンジンの始動時に、前記切り替えスイッチにより前記電力変換回路を前記第1の蓄電装置から前記第2の蓄電装置に切り替えて接続するようにしたことを特徴とする請求項2に記載の車両用エンジン始動装置。
  4. 前記切り替えスイッチは、前記第2の蓄電装置が前記所定電圧以上の電圧に充電された後に前記電力変換回路と前記第1の蓄電装置との接続を切離すと共に、前記電力変換回路がスイッチング動作を停止した後に前記電力変換回路を前記第2の蓄電装置に接続することを特徴とする請求項3に記載の車両用エンジン始動装置。
  5. 前記切り替えスイッチは、前記エンジンの始動後、前記界磁コイルへの電力の供給を停止させた後に前記電力変換回路を前記第2の蓄電装置から前記第1の蓄電装置に切り替えて接続するようにしたことを特徴とする請求項3又は4に記載の車両用エンジン始動装置。
  6. 逆並列接続されたダイオードを有し第1の正極側アームを構成するスイッチング素子と、第1の負極側アームを構成するダイオードと、第2の正極側アームを構成するダイオードと、逆並列接続されたダイオードを有し第2の負極側アームを構成するスイッチング素子とからなるブリッジ回路を備え、前記界磁コイルは、前記ブリッジ回路の前記第1の正極側アームと前記第1の負極側アームの接続部と前記第2の正極側アームと前記第2の負極側アームの接続部との間に接続され、前記第2の蓄電装置は、前記ブリッジ回路の前記第1の正極側アームと前記第2の正極側アームの接続部と前記第1の負極側アームと前記第2の負極側アームの接続部との間に接続され、前記第2の蓄電装置から前記界磁コイル
    に電力を供給するときは、前記第1の正極側アームと前記第2の負極側アームを夫々構成する前記スイッチング素子のスイッチング動作により前記供給する電力を制御し、前記界磁コイルに前記誘起起電力が発生したときは、前記第1の正極側アームと前記第2の負極側アームを夫々構成する前記スイッチング素子に逆並列接続された前記ダイオードと前記第2の正極側アームと前記第1の負極側アームを夫々構成する前記ダイオードにより前記誘起起電力を全波整流して前記第2の蓄電装置を充電することを特徴とする請求項1乃至5のうち何れか一項に記載の車両用エンジン始動装置。
  7. 前記回転子は、その軸方向に対向して配置された一対の爪状磁極を有し、前記爪状磁極は、前記界磁コイルの発生する界磁磁束が前記回転子内部で飽和するのを緩和する方向に着磁された永久磁石を備えたことを特徴とする請求項1乃至6のうち何れか一項に記載の車両用エンジン始動装置。
  8. 前記電機子コイルに供給される前記d軸電流の変動は、前記電機子コイルに通電する電流の位相を前記回転子の回転速度に同期した回転速度の回転磁界を発生させる位相として前記d軸電流の値を増減することにより行われることを特徴とする請求項1乃至7のうち何れか一項に記載の車両用エンジン始動装置。
  9. 前記電機子コイルに供給される前記d軸電流の変動は、前記電機子コイルに前記回転子の回転速度に同期しない回転速度の回転磁界を発生させる位相の交流電流を通電することにより行なわれることを特徴とする請求項1乃至7のうち何れか一項に記載の車両用エンジン始動装置。
  10. 前記電機子コイルに供給される前記d軸電流の変動は、前記回転子が回転している状態に於いて前記電機子コイルに直流電流を通電することにより行なわれることを特徴とする請求項1乃至7のうち何れか一項に記載の車両用エンジン始動装置。
  11. 前記第2の蓄電装置の正極側端子は、前記第1の蓄電装置の正極側端子にダイオードを介して接続されており、前記接続されたダイオードの順方向は、前記第1の蓄電装置の前記正極側端子から前記第2の蓄電装置の前記正極側端子に向かう方向であることを特徴とする請求項1乃至10のうち何れか一項に記載の車両用エンジン始動装置。
JP2008106875A 2008-04-16 2008-04-16 車両用エンジン始動装置 Expired - Fee Related JP4478185B2 (ja)

Priority Applications (2)

Application Number Priority Date Filing Date Title
JP2008106875A JP4478185B2 (ja) 2008-04-16 2008-04-16 車両用エンジン始動装置
FR0856237A FR2930299B1 (fr) 2008-04-16 2008-09-17 Dispositif de demarrage de moteur d'un vehicule

Applications Claiming Priority (1)

Application Number Priority Date Filing Date Title
JP2008106875A JP4478185B2 (ja) 2008-04-16 2008-04-16 車両用エンジン始動装置

Publications (2)

Publication Number Publication Date
JP2009257183A JP2009257183A (ja) 2009-11-05
JP4478185B2 true JP4478185B2 (ja) 2010-06-09

Family

ID=41150421

Family Applications (1)

Application Number Title Priority Date Filing Date
JP2008106875A Expired - Fee Related JP4478185B2 (ja) 2008-04-16 2008-04-16 車両用エンジン始動装置

Country Status (2)

Country Link
JP (1) JP4478185B2 (ja)
FR (1) FR2930299B1 (ja)

Families Citing this family (5)

* Cited by examiner, † Cited by third party
Publication number Priority date Publication date Assignee Title
WO2012032585A1 (en) * 2010-09-10 2012-03-15 Three Eye Co., Ltd. High response power system for vehicle
JP6398890B2 (ja) 2014-10-21 2018-10-03 株式会社デンソー 回転電機の制御装置
JP6104225B2 (ja) * 2014-11-14 2017-03-29 三菱電機株式会社 回転電機の制御装置、及びその制御装置で制御される回転電機を搭載したエンジン制御システム
CN106677949A (zh) * 2017-03-17 2017-05-17 苏州市双马机电有限公司 一种反拖式电启动的数码发电机启动装置及其方法
CN109826723A (zh) * 2019-01-30 2019-05-31 北京星际荣耀空间科技有限公司 一种火箭发动机用涡轮泵电动启动器及涡轮泵

Family Cites Families (3)

* Cited by examiner, † Cited by third party
Publication number Priority date Publication date Assignee Title
US3816805A (en) * 1973-05-16 1974-06-11 Maremont Corp Dual battery electrical system for internal combustion engine
JP2004108226A (ja) * 2002-09-18 2004-04-08 Nissan Motor Co Ltd エンジンのアイドルストップ装置およびアイドルストップ方法
JP3783710B2 (ja) * 2003-11-04 2006-06-07 日産自動車株式会社 車両用モータ制御装置および車両用モータ制御方法

Also Published As

Publication number Publication date
FR2930299A1 (fr) 2009-10-23
FR2930299B1 (fr) 2015-12-11
JP2009257183A (ja) 2009-11-05

Similar Documents

Publication Publication Date Title
CN102470812B (zh) 车辆用电源系统
JP4116292B2 (ja) ハイブリッド車用電動発電システム
US6806687B2 (en) Vehicle motor-generator apparatus utilizing synchronous machine having field winding
JP5206130B2 (ja) コイル界磁式同期モーター回生システムおよびその制御方法
CN103026614B (zh) 永磁式交流发电机和电动机的控制器和系统
JPWO2001021431A1 (ja) ハイブリッド車における電動発電機及びその制御方法
JPS6387137A (ja) 電源装置
JP2005536975A (ja) 可逆動作可能な回転電機の制御装置
US7135784B2 (en) Fast torque control of a belted alternator starter
EP2031749B1 (en) On-vehicle rotary electric machine operating on two modes of rectification
JP2006025488A5 (ja)
US20070182382A1 (en) Alternator
CN104242521A (zh) 一种双模电动发电机
US20170207738A1 (en) Electric machine for the power supply of a motor vehicle electrical system
JP4478185B2 (ja) 車両用エンジン始動装置
US10960769B2 (en) Onboard charging apparatus
CN104753160B (zh) 一种汽车起动发电机及其控制装置
JP4950162B2 (ja) 車両用電源装置
CN103975520B (zh) 用于运行机动车中外激励的电机的方法
JPH05111110A (ja) 電気車両の電源装置
US9350280B2 (en) Method for operating a power supply unit for an electrical system of a motor vehicle
JP6645405B2 (ja) 回転電機の制御装置、回転電機ユニット
JP4306945B2 (ja) バッテリ充電装置
JP2004328911A (ja) 車両用交流発電機
JP5094748B2 (ja) 内燃機関用アクチュエータ装置

Legal Events

Date Code Title Description
TRDD Decision of grant or rejection written
A977 Report on retrieval

Free format text: JAPANESE INTERMEDIATE CODE: A971007

Effective date: 20100226

A01 Written decision to grant a patent or to grant a registration (utility model)

Free format text: JAPANESE INTERMEDIATE CODE: A01

Effective date: 20100302

A01 Written decision to grant a patent or to grant a registration (utility model)

Free format text: JAPANESE INTERMEDIATE CODE: A01

A61 First payment of annual fees (during grant procedure)

Free format text: JAPANESE INTERMEDIATE CODE: A61

Effective date: 20100312

R151 Written notification of patent or utility model registration

Ref document number: 4478185

Country of ref document: JP

Free format text: JAPANESE INTERMEDIATE CODE: R151

FPAY Renewal fee payment (event date is renewal date of database)

Free format text: PAYMENT UNTIL: 20130319

Year of fee payment: 3

FPAY Renewal fee payment (event date is renewal date of database)

Free format text: PAYMENT UNTIL: 20130319

Year of fee payment: 3

FPAY Renewal fee payment (event date is renewal date of database)

Free format text: PAYMENT UNTIL: 20140319

Year of fee payment: 4

R250 Receipt of annual fees

Free format text: JAPANESE INTERMEDIATE CODE: R250

R250 Receipt of annual fees

Free format text: JAPANESE INTERMEDIATE CODE: R250

R250 Receipt of annual fees

Free format text: JAPANESE INTERMEDIATE CODE: R250

R250 Receipt of annual fees

Free format text: JAPANESE INTERMEDIATE CODE: R250

R250 Receipt of annual fees

Free format text: JAPANESE INTERMEDIATE CODE: R250

R250 Receipt of annual fees

Free format text: JAPANESE INTERMEDIATE CODE: R250

R250 Receipt of annual fees

Free format text: JAPANESE INTERMEDIATE CODE: R250

R250 Receipt of annual fees

Free format text: JAPANESE INTERMEDIATE CODE: R250

LAPS Cancellation because of no payment of annual fees