JP4477397B2 - ドリル工具およびこれを用いた下孔の内周面の切削方法 - Google Patents

ドリル工具およびこれを用いた下孔の内周面の切削方法 Download PDF

Info

Publication number
JP4477397B2
JP4477397B2 JP2004100890A JP2004100890A JP4477397B2 JP 4477397 B2 JP4477397 B2 JP 4477397B2 JP 2004100890 A JP2004100890 A JP 2004100890A JP 2004100890 A JP2004100890 A JP 2004100890A JP 4477397 B2 JP4477397 B2 JP 4477397B2
Authority
JP
Japan
Prior art keywords
shank
peripheral surface
head
inner peripheral
hole
Prior art date
Legal status (The legal status is an assumption and is not a legal conclusion. Google has not performed a legal analysis and makes no representation as to the accuracy of the status listed.)
Expired - Fee Related
Application number
JP2004100890A
Other languages
English (en)
Other versions
JP2005280244A (ja
Inventor
和弘 槌田
Current Assignee (The listed assignees may be inaccurate. Google has not performed a legal analysis and makes no representation or warranty as to the accuracy of the list.)
SANKO TECHONO CO.,LTD.
Original Assignee
SANKO TECHONO CO.,LTD.
Priority date (The priority date is an assumption and is not a legal conclusion. Google has not performed a legal analysis and makes no representation as to the accuracy of the date listed.)
Filing date
Publication date
Application filed by SANKO TECHONO CO.,LTD. filed Critical SANKO TECHONO CO.,LTD.
Priority to JP2004100890A priority Critical patent/JP4477397B2/ja
Publication of JP2005280244A publication Critical patent/JP2005280244A/ja
Application granted granted Critical
Publication of JP4477397B2 publication Critical patent/JP4477397B2/ja
Anticipated expiration legal-status Critical
Expired - Fee Related legal-status Critical Current

Links

Images

Landscapes

  • Processing Of Stones Or Stones Resemblance Materials (AREA)

Description

本発明は、コンクリート等の躯体に形成された孔の内周面の一部を切削するためのドリル工具およびこれを用いた下孔の内周面の切削方法に関する。
コンクリート等の躯体にアンカーや異形棒鋼等の棒材を施工する方法としては、ドリルなどの穿孔機械を用いて下孔を形成し、清掃後、この下孔にモルタルや樹脂等の接着材を注入し、棒材を挿入して固着させる方法が広く用いられている。この際、下孔の内周面の一部を切削して目荒らししておけば、下孔の内周面に対する接着材の付着力が高まる。このための目荒らし用治具としては、例えば下記のものがある。
特許文献1には、回転体の半径方向に突出および退去が可能なようにブレードを配置し、ブレードの背後からクサビ状部材を当接させることで、ブレード先端が孔の内周面に圧接されるようにした拡孔器具が記載されている。
特許文献2には、棒状の本体の軸方向片側半面に切削用チップを1箇所以上備えた治具が記載されている。
特許文献3には、シャフトから半径方向に突出するよう、シャフトの長手方向に沿って配列された一連の切削要素とを具え、装着端部に近接する側で互いに隣接する一対の切削要素間の間隔を、装着端部から離間する側で互いに隣接する一対の切削要素間の間隔よりも大としたドリル工具が記載されている。
特許文献2,3に記載の工具は、切削用チップが工具本体の片側に配設されているので、工具本体を回転させた時に回転軸が揺動し、切削用チップが孔の内周面を切削するようになっている。
特許文献4には、下孔の内壁面と略同径の外周面に、螺旋軌道上に沿って複数個の超硬合金あるいはダイヤモンドからなる超硬チップを突設した施工切削ビットが記載されている。
特開昭60−247507号公報 特開平3−182305号公報 特開平10−44135号公報 特許第3404301号公報
しかしながら、特許文献1に記載の拡孔器具の場合、ブレードを孔の内周面に対して進退させる機構が複雑であり、耐久性に劣るとともに、製造が難しく、価格が高いという問題がある。
特許文献2,3,4に記載されたような工具では、せいぜいチップの突出高さ程度しか切削することができず、孔の内周面に形成される凹部の深さをあまり深くすることはできない。このため、孔が大径(例えば直径90mm)である場合に、凹部があまり浅いとアンカーなどの棒材を固着させる強度の改善効果が低くなる。しかし、チップをあまり高く突出させるとチップに加わる衝撃が大きくなり、耐久性が悪化するおそれがある。
本発明は、上記事情に鑑みてなされたものであり、孔の内周面を切削して深い凹部を容易に形成することが可能なドリル工具およびこれを用いた下孔の内周面の切削方法を提供することを課題とする。
前記課題を解決するため、本発明は、長尺棒状のシャンクの中途部の外周に前記シャンクに対して回動自在な円環状のガイドプレートが装着され、前記シャンクは、前記ガイドプレートを下孔の内周面に当接させ、前記下孔に対して前記ガイドプレートが停止した状態でも回転可能であり、前記シャンクの先端には前記シャンクより大径のヘッドが設けられ、このヘッドの側面にはヘッドの周方向に沿って形成された環状のリブが1または複数突設されており、これらのリブの突端縁には切刃が突出配置されていることを特徴とするドリル工具を提供する。
上記ドリル工具において切刃は、ヘッドの周方向に沿う角度がリブごとにずれるように配置されていることが好ましい。
また、前記切刃の前記シャンクの中心軸線からの高さが、リブごとに前記ヘッドの基端から先端に向かって大きくなっている構成を採用することも可能である。
前記ヘッドは、前記シャンクに対して着脱可能になっていることが好ましい。
また、本発明は、上記の本発明のドリル工具を用いて下孔の内周面を切削する方法であって、前記ドリル工具をヘッド側から下孔に挿入し、前記ガイドプレートを下孔の内周面に当接させ、前記下孔に対して前記ガイドプレートが停止した状態で前記シャンクを回転させながら、前記ガイドプレートを支点として前記下孔に対して前記シャンクを傾け、前記切刃によって前記下孔の内周面を切削することを特徴とする下孔の内周面の切削方法を提供する。
本発明のドリル工具によれば、ガイドプレートを下孔の内周面に当接させることにより、ガイドプレートを軸受けとしてシャンクを回転させながら下孔に対してシャンクを傾け、切刃を孔の内周面に圧接させてこれを切削することが可能となる。従って、下孔の内周面を切刃の突出高さよりも深く切削することが容易に行える。
ヘッドがシャンクよりも大径なので、ガイドプレートを支点としてヘッドを揺動させやすい。しかもシャンクを孔径よりも細く形成することができるので、治具の軽量化が可能である。リブの間が凹溝となるので、切粉の排出も容易となる。
アンカーボルト等を躯体に施工する際に、下孔の目荒らしを効率よく実施できる。工具本体に対して切刃を突出及び後退させるための機構が不要であり、構造を単純化して耐久性を向上することができる。
孔が大径(例えば直径90mm程度又はそれ以上)であっても、充分に深い凹部を形成することができ、アンカーボルトなどを施工する際に下孔の目荒らしを効果的に実施することができる。
以下、最良の形態に基づき、図面を参照して本発明を説明する。
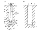
図1(a)は、本発明のドリル工具の一形態例を示す図面である。図1(b)は、本形態例のドリル工具の先端側を拡大して示した部分切欠断面図である。図2は、図1(b)のII−II線に沿う切断面からヘッドの先端側を図示した断面図である。
図3(a)は、本形態例のドリル工具の使用状態の一例を示す図面である。図3(b)は、図3(a)に示す作業によって孔の内周面に凹部が形成された様子の一例を示す図面である。
図4(a)は、本形態例のドリル工具の使用状態の第2例を示す図面である。図4(b)は、図4(a)に示す作業によって孔の内周面に凹部が形成された様子の第2例を示す図面である。
図1,図2に示すように、本形態例のドリル工具10は、長尺棒状のシャンク20と、このシャンク20の中途部の外周に装着された円環状のガイドプレート35と、前記シャンク20の先端に設けられた前記シャンク20より大径のヘッド11とを有する。ヘッド11、シャンク20、ガイドプレート35は、剛性を有する金属等から構成することができる。
ここで、シャンク20は、先端側(ヘッド11が設けられる側)の第1シャンク21と基端側(回転工具40が接続される側)の第2シャンク31とを接続することにより構成されている。第2シャンク31の基端31b側には、ハンマードリルなどの回転工具40を接続するための工具接続部37(ここでは六角棒状の継手)が設けられている。
ヘッド11の側面には、該ヘッド11の周方向に沿って形成された環状のリブ15a,15b,15cが複数突設されている。さらに、これらのリブ15a,15b,15cの突端縁には切刃16a,16b,16cが突出配置されている。環状リブ15a,15b,15c同士の間では、ヘッド11の外周面は環状の凹溝14となっている。
ここで、環状リブ15a,15b,15cは、ヘッド11の先端部11aと基端部11bとの間に複数設けられている。ここでは環状リブ15a,15b,15cの本数は3本であるが、本発明において特に限定されるものではない。また、環状リブの本数を1本とすることも可能である。
なお、図面および以下の説明では、便宜的区別のため、環状リブの符号をヘッド11の先端部11a側から基端部11b側に向かって順に15a,15b,15cとして区別した。
本形態例においては、各環状リブ15a,15b,15cは径を同じくしてあり、環状リブ15a,15b,15cの径は、図1(a)に示すように、コンクリート等の躯体1に穿設された下孔2の径(内径)よりも小さくなるように選択されている。
環状リブ15a,15b,15cの幅と凹溝14の幅との比は、特に限定されるものではないが、例えば図3に示すように段々に環状溝3を形成する場合には、環状リブ15a,15b,15cの幅:凹溝14の幅の比を比較的小さくすることが好ましい。
また、図4に示すように、それぞれの環状リブ15a,15b,15cによって切削された環状溝3をつなげて、より大きな拡径部4を形成する場合には、環状リブ15a,15b,15cの幅:凹溝14の幅の比を比較的大きくすることが好ましい。
切刃16a,16b,16cとしては、例えば超硬合金等からなる切削用チップを用いることができる。なお、図面および以下の説明では、便宜的区別のため、切刃の符号を環状リブ15a,15b,15cの符号に対応するように、ヘッド11の先端部11a側から基端部11b側に向かって順に16a,16b,16cとして区別した。
図2に示すように、切刃16a,16b,16cは、各リブ15a,15b,15cにつき、等間隔に複数(図示例では90°間隔で4個)植設されている。また、切刃16a,16b,16cは、隣接するリブ(15aと15b,15bと15c)との間で環状リブ15a,15b,15cの周方向に30°ずつずらして配置されている。すなわち、切刃16a,16b,16cはすべて回転方向に沿う角度がずれるように配置されている。これにより、ドリル工具10を回転させたときに、切刃16a,16b,16cが一個ずつ下孔2の内周面に当接されるようになり、シャンク20を介して伝達された回転工具40の駆動力を有効に利用し、切削能率を高くすることができる。
ヘッド11の内部には、先端側と基端側との間を貫通するように第1シャンク挿入穴12が形成されている。第1シャンク21の先端21a側には、ヘッド11の第1シャンク挿入穴12に挿入可能な挿入部22が形成されている。挿入部22には第1シャンク挿入穴12側の雌ネジ部12aに螺合する雄ネジ部22aが形成されている。ヘッド11と第1シャンク21とは、両ネジ部12a,22aの螺着により連結できるようになっている。
図1,図2に示すように、ヘッド11の基端部11bおよび第1シャンク21の外周には、ヘッド11と第1シャンク21とが連結された状態で露出される位置に、それぞれ一対の平面切欠部13,23が形成されている。これにより、上記ネジを締結または緩める際に平面切欠部13,23に工具(図示略)を当接させてヘッド11および第1シャンク21を挟みつけることができ、ヘッド11と第1シャンク21との脱着作業を容易に実施できるようになっている。
第1シャンク21の基端21b側には、第2シャンク31の先端31aの挿入部32が挿入可能な第2シャンク挿入穴24が形成されている。第2シャンク31の挿入部32には第2シャンク挿入穴24側の雌ネジ部24aに螺合する雄ネジ部32aが形成されている。第1シャンク21と第2シャンク31とは、両ネジ部24a,32aの螺着により連結できるようになっている。
図1に示すように、第1シャンク21の基端21b側および第2シャンク31の先端31a側の外周には、第1シャンク21と第2シャンク31とが連結された状態で露出される位置に、それぞれ一対の平面切欠部25,33が形成されている。これにより、上記ネジを締結または緩める際に平面切欠部25,33に工具(図示略)を当接させて第1シャンク21および第2シャンク31を挟みつけることができ、第1シャンク21と第2シャンク31との脱着作業を容易に実施できるようになっている。
ヘッド11と第1シャンク21と接続するネジ部12a,22aおよび第1シャンク21と第2シャンク31と接続するネジ部24a,32aにおけるネジ山の巻き方向は、回転工具40によってドリル工具10を回転させたときに当該ネジ部12a,22a,24a,32aが緩まないように、ドリル工具10の回転方向に回すことでネジが締まるような方向となっている。
第2シャンク31には、第1シャンク21と第2シャンク31とが連結された状態で第1シャンク21の基端21bとの間に間隔を隔ててフランジ部34が突設されている。
ガイドプレート35は、透孔35aを有する円環状の部材である。このガイドプレート35は、第1シャンク21の基端21bと第2シャンク31のフランジ部34との間に、多少のクリアランスを介して挟み込むことにより、シャンク20に対して回動自在に保持されている。
ガイドプレート35の透孔35aの内面と、この透孔35a内面に接触する第2シャンク31の摺り合わせ部36(フランジ部34とネジ部32aとの間)の外周面は、メタル受けにより、滑らかに回動するようになっている。
次に、本形態例のドリル工具10の作用を説明する。
図1に示すように、工具接続部37を介してドリル工具10を回転工具40に接続し、図3に示すように、躯体1に穿設された下孔2にドリル工具10をヘッド11側から挿入する。さらに、ガイドプレート35を下孔2の内周面に当接させながら、上述の回転工具40によってドリル工具10を回転させる。この際、ガイドプレート35が軸受けとなるので、下孔2に対してガイドプレート35が停止したとしても、シャンク20はガイドプレート35の透孔35a内で円滑に回転することができる。
ガイドプレート35を支点として、下孔2に対してシャンク20を傾けることにより、切刃16a〜16cを下孔2の内周面に圧接させて下孔2の内周面を切削することができる。ヘッド11先端を振り回すように揺動させることにより、下孔2の内周面を周方向にまんべんなく切削することができる。このようにして切刃16a〜16cの突出高さよりも深く切削することが容易に実施できる。
例えば、図3(b)では、下孔2の底面2aから開口2bに向かって徐々にドリル工具10の挿入長さを短くすることにより、下孔2の内周面に多数の環状溝3を段々に形成することができる。
この下孔にアンカーや異形棒鋼等の棒材を施工する方法としては、下孔の清掃後、この下孔に棒材を挿入し、下孔の内周面と棒材との隙間にモルタルや樹脂等の接着材を注入して固着させることにより実施できる。また、下孔にモルタルや樹脂等の接着材を注入した後に棒材を挿入して固着させる場合もある。
このように多数の環状溝3を形成することにより、下孔の内周面を目荒らししておけば、下孔の内周面に対する接着材の付着力が高まり、前記棒材をより強固に施工することができる。
また、図4(a),図4(b)では、ヘッド11を上下にも揺動させることにより、それぞれの環状リブ15a,15b,15cによって切削された環状溝3をつなげて、より大きな拡径部4を形成する場合には、環状リブ15a,15b,15cの幅:凹溝14の幅の比を比較的大きくすることが好ましい。
なお、この場合は、ガイドプレート35に対してシャンク20が遊動しやすいように、第1シャンク21の基端21bと第2シャンク31のフランジ部34の隙間を大きめにすることが好ましい。
本形態例のドリル工具によれば、シャンクの中途部に設けられたガイドプレートを支点としてシャンクを回転させながら下孔に対して傾けることができる。これにより、下孔の内周面を切刃の突出高さよりも深く切削することが容易に行える。
ヘッドがシャンクよりも大径なので、ガイドプレートを支点にしたヘッドの揺動が容易である。しかもシャンクを孔径よりも細く形成することができるので、治具の軽量化が可能である。リブの間の凹溝を通して切粉の排出も容易となる。
アンカーボルト等を躯体に施工する際に、下孔の目荒らしを効率よく実施できる。工具本体に対して切刃を突出及び後退させるための機構が不要であり、構造を単純化して耐久性を向上することができる。
各リブの突端縁に切刃が複数、突出配置されているので、環状溝を形成する際に、下孔の内周面の同じ部位に複数の切刃が順次圧接し、切削の能率を一層高くすることができる。
ヘッドがシャンクに対して着脱可能になっているので、下孔の径や凹部の寸法(幅や深さなど)に応じた適切なヘッドに交換することにより、種々の条件に対応して作業することができ、かつ効率的な作業が可能である。また、切刃が摩耗や折損した場合でもヘッドを交換して使用し続けることができる。
ガイドプレートも第1シャンクと第2シャンクとの接続を外すことにより、交換可能であるので、下孔の径など応じて適当なガイドプレートに交換することができる。
次に、図5を参照しながら、本発明の改変例のドリル工具を説明する。
図5(a)は、改変例のドリル工具を示す図面である。図5(b)は、図5(a)に示すドリル工具を用いて孔の内周面に形成された凹部の一例を示す図面である。
図5(a),(b)において、図1〜図4で用いた符号と同一の符号は、図1〜図4に示した構成と同一又は同様のものであることを示し、重複する説明を省略する。
図5に示すドリル工具10においては、環状リブ15a,15b,15cの半径がヘッド11の基端部11b側よりも先端部11a側に向かって大きくなるようになっている。これにより、シャンク20の回動軸線を中心とした切刃16a,16b,16cの回動半径がヘッド11の基端から先端に向かって大きくなっている。
ヘッド11が下孔2に容易に挿入されるためには、環状リブ15a,15b,15cの半径はいずれも、内周面を切削する前の直孔の段階での下孔2の内径よりも小さくなっていることが望ましい。
このように構成されたドリル工具10を用いた場合でも、ガイドプレート35を支点として、下孔2に対してシャンク20を傾けることにより、切刃16a〜16cを下孔2の内周面に圧接させて下孔2の内周面を切削することができる。ヘッド11先端を振り回すように揺動させ、さらにヘッド11を上下にも揺動させることにより、下孔2の内周面を周方向にまんべんなく切削し、さらに切削によって生じる環状溝3をつなげて、図5に示すように、下孔2の底面2a側の径が大であるテーパ状の拡径部5を形成することができる。
以上、本発明を最良の形態に基づいて説明してきたが、本発明は上述の最良の形態に限定されるものではなく、本発明の要旨を逸脱しない範囲で種々の改変が可能である。
例えば、シャンクの中途部にガイドプレートを回動自在な装着する構成としては、上記実施例のようにメタル受けとすることに限定されるものではなく、他の構成のベアリングを採用することも可能である。
本発明は、コンクリート等の躯体に形成された孔の内周面の一部を切削することに利用することができる。例えば、アンカーボルトや棒鋼、杭などを接着固定する際に、下孔の内周面の目荒らしに利用することができる。
(a) 本発明のドリル工具の一形態例を示す図面である。 (b) 図1(a)に示すドリル工具の先端側を拡大して示した部分切欠断面図である。 図1(b)のII−II線に沿う切断面からヘッドの先端側を図示した断面図である。 (a) 図1に示すドリル工具の使用状態の一例を示す図面である。 (b) 孔の内周面に凹部が形成された様子の一例を示す図面である。 (a) 図1に示すドリル工具の使用状態の第2例を示す図面である。 (b) 孔の内周面に凹部が形成された様子の第2例を示す図面である。 (a) 本発明のドリル工具の改変例を示す図面である。(b) 図5(a)に示すドリル工具を用いて孔の内周面に形成された凹部の一例を示す図面である。
符号の説明
10…ドリル工具、11…ヘッド、15a〜15c…リブ、16a〜16c…切刃、20…シャンク、35…ガイドプレート。

Claims (5)

  1. 長尺棒状のシャンクの中途部の外周に前記シャンクに対して回動自在な円環状のガイドプレートが装着され、前記シャンクは、前記ガイドプレートを下孔の内周面に当接させ、前記下孔に対して前記ガイドプレートが停止した状態でも回転可能であり、前記シャンクの先端には前記シャンクより大径のヘッドが設けられ、このヘッドの側面にはヘッドの周方向に沿って形成された環状のリブが1または複数突設されており、これらのリブの突端縁には切刃が突出配置されていることを特徴とするドリル工具。
  2. 前記切刃は、ヘッドの周方向に沿う角度がリブごとにずれるように配置されていることを特徴とする請求項1に記載のドリル工具。
  3. 前記切刃の前記シャンクの中心軸線からの高さが、リブごとに前記ヘッドの基端から先端に向かって大きくなっていることを特徴とする請求項1または2に記載のドリル工具。
  4. 前記ヘッドが前記シャンクに対して着脱可能になっていることを特徴とする請求項1ないし3のいずれかに記載のドリル工具。
  5. 請求項1ないし4のいずれかに記載のドリル工具を用いて下孔の内周面を切削する方法であって、前記ドリル工具をヘッド側から下孔に挿入し、前記ガイドプレートを下孔の内周面に当接させ、前記下孔に対して前記ガイドプレートが停止した状態で前記シャンクを回転させながら、前記ガイドプレートを支点として前記下孔に対して前記シャンクを傾け、前記切刃によって前記下孔の内周面を切削することを特徴とする下孔の内周面の切削方法。
JP2004100890A 2004-03-30 2004-03-30 ドリル工具およびこれを用いた下孔の内周面の切削方法 Expired - Fee Related JP4477397B2 (ja)

Priority Applications (1)

Application Number Priority Date Filing Date Title
JP2004100890A JP4477397B2 (ja) 2004-03-30 2004-03-30 ドリル工具およびこれを用いた下孔の内周面の切削方法

Applications Claiming Priority (1)

Application Number Priority Date Filing Date Title
JP2004100890A JP4477397B2 (ja) 2004-03-30 2004-03-30 ドリル工具およびこれを用いた下孔の内周面の切削方法

Publications (2)

Publication Number Publication Date
JP2005280244A JP2005280244A (ja) 2005-10-13
JP4477397B2 true JP4477397B2 (ja) 2010-06-09

Family

ID=35179126

Family Applications (1)

Application Number Title Priority Date Filing Date
JP2004100890A Expired - Fee Related JP4477397B2 (ja) 2004-03-30 2004-03-30 ドリル工具およびこれを用いた下孔の内周面の切削方法

Country Status (1)

Country Link
JP (1) JP4477397B2 (ja)

Families Citing this family (7)

* Cited by examiner, † Cited by third party
Publication number Priority date Publication date Assignee Title
JP4953760B2 (ja) * 2006-10-27 2012-06-13 東京電力株式会社 孔壁目荒らし装置及び孔壁目荒らし方法
JP5200236B2 (ja) * 2010-06-22 2013-06-05 田中ダイヤ工業株式会社 コンクリート穴の内面に溝を切削する内面溝切削装置
JP5797925B2 (ja) * 2011-04-15 2015-10-21 株式会社エー・ワン アンカーの施工方法
JP5877464B2 (ja) * 2011-12-21 2016-03-08 田中ダイヤ工業株式会社 切削装置、及びアンカー定着工法
JP6292832B2 (ja) * 2013-11-14 2018-03-14 サンコーテクノ株式会社 拡開アンカーの施工方法
EP3147056A1 (de) * 2015-09-23 2017-03-29 HILTI Aktiengesellschaft Werkzeug zum aufrauen einer bohrlochoberfläche
JP7486996B2 (ja) * 2020-04-08 2024-05-20 清水建設株式会社 組積造構造物の補強方法および補強構造

Also Published As

Publication number Publication date
JP2005280244A (ja) 2005-10-13

Similar Documents

Publication Publication Date Title
JP4195123B2 (ja) ドリル工具
US8157028B2 (en) Masonry drill bit
JP6330573B2 (ja) 掘削工具
JP2010223432A (ja) 固定素子を鉱物性構造物にアンカリングする方法および鉱物性構造物用固定素子構造物
AU2015241806B2 (en) Drilling tool
KR20140093690A (ko) 굴삭 공구
JPH11291236A (ja) ドリル工具
JP4014380B2 (ja) 削岩用螺旋ドリル
JP4477397B2 (ja) ドリル工具およびこれを用いた下孔の内周面の切削方法
JP4108936B2 (ja) 鉱山機械の回転可能なたがね装置
US3773122A (en) Rock drilling tool
JP4954542B2 (ja) 掘削ロッド、掘削ビット及び掘削工具
JP4809711B2 (ja) ドリル
US7540341B2 (en) Drill bit
JPH109233A (ja) セルフドリリングアンカー
US7258180B2 (en) Rotary hammerdrill bit
JP4501407B2 (ja) 掘削工具
US6405813B1 (en) Rock drill for drilling bores in reinforced concrete
JP4733406B2 (ja) 回転軸体の連結構造
JP3903876B2 (ja) 掘削工具
JP7670451B2 (ja) 穿孔拡径工具
JP2001146886A (ja) 掘削工具
JP3777890B2 (ja) 掘削工具
JP3994706B2 (ja) 掘削工具
JP5074856B2 (ja) インナービット、および、削孔機

Legal Events

Date Code Title Description
A621 Written request for application examination

Free format text: JAPANESE INTERMEDIATE CODE: A621

Effective date: 20070320

A521 Written amendment

Free format text: JAPANESE INTERMEDIATE CODE: A821

Effective date: 20070322

A977 Report on retrieval

Free format text: JAPANESE INTERMEDIATE CODE: A971007

Effective date: 20090518

A131 Notification of reasons for refusal

Free format text: JAPANESE INTERMEDIATE CODE: A131

Effective date: 20090526

A521 Written amendment

Free format text: JAPANESE INTERMEDIATE CODE: A523

Effective date: 20090713

A521 Written amendment

Free format text: JAPANESE INTERMEDIATE CODE: A821

Effective date: 20090714

TRDD Decision of grant or rejection written
A01 Written decision to grant a patent or to grant a registration (utility model)

Free format text: JAPANESE INTERMEDIATE CODE: A01

Effective date: 20100223

A01 Written decision to grant a patent or to grant a registration (utility model)

Free format text: JAPANESE INTERMEDIATE CODE: A01

A61 First payment of annual fees (during grant procedure)

Free format text: JAPANESE INTERMEDIATE CODE: A61

Effective date: 20100311

R150 Certificate of patent or registration of utility model

Free format text: JAPANESE INTERMEDIATE CODE: R150

FPAY Renewal fee payment (event date is renewal date of database)

Free format text: PAYMENT UNTIL: 20130319

Year of fee payment: 3

FPAY Renewal fee payment (event date is renewal date of database)

Free format text: PAYMENT UNTIL: 20130319

Year of fee payment: 3

FPAY Renewal fee payment (event date is renewal date of database)

Free format text: PAYMENT UNTIL: 20130319

Year of fee payment: 3

FPAY Renewal fee payment (event date is renewal date of database)

Free format text: PAYMENT UNTIL: 20140319

Year of fee payment: 4

S531 Written request for registration of change of domicile

Free format text: JAPANESE INTERMEDIATE CODE: R313531

R360 Written notification for declining of transfer of rights

Free format text: JAPANESE INTERMEDIATE CODE: R360

R350 Written notification of registration of transfer

Free format text: JAPANESE INTERMEDIATE CODE: R350

R250 Receipt of annual fees

Free format text: JAPANESE INTERMEDIATE CODE: R250

LAPS Cancellation because of no payment of annual fees